XLED PRO ONE S - Lampa STEINEL - Bezplatný návod k obsluze
Najděte návod k zařízení zdarma XLED PRO ONE S STEINEL ve formátu PDF.
Stáhněte si návod pro váš Lampa ve formátu PDF zdarma! Najděte svůj návod XLED PRO ONE S - STEINEL a vezměte svůj elektronický přístroj zpět do rukou. Na této stránce jsou zveřejněny všechny dokumenty potřebné k používání vašeho zařízení. XLED PRO ONE S značky STEINEL.
NÁVOD K OBSLUZE XLED PRO ONE S STEINEL
- K tomuto dokumentu 528
- Vseobecné bezpečnostní poukyny 528
- Popis pristroje 529
- Elektrické pripojení 537
- Montáž 539
- Funkce 549
- Príslušenství, dálkové ovladání 554
- Čistění a udrzba 557
- Likvidace 558
- Záruka vyrobce 559
- Technické parametry 560
- Odstranéní poruch 562
1. K tomuto dokumentu
- Chráněno autorským prámem. Dotisk, i Částečné, jens naším souhlasem.
- Změny, které slouží technickémuPokroku, vyhrazeny.

Varování préd ohrožením elektrickým proudem!

Varováni préd ohrožením vodou!
2. Vseobecné bezpečnostníPokyny

Nebezpeci vyplyvajici z nedodrozovani navodu k použiti!
Tento námod obsahuje duležité informace pro bezpečnou manipulaci s prístrojem. Na možné nebezpečí je upozorně-no zvlást. Nedodržování můze věst ke smrti nebo tězkým poraněním.
- Pozorné si prečíst námod.
- Rídit se bezpečnostními pokyny.
-
Musí byt stále pristupné.
-
Zacházení s elektrickým proudem může věst k nebezpečnám situacím. Pri kontaktu s vodivými díly může dojít k urazu elektrickým proudem, popálenínám nebo smrti.
- Práce na sítovém napěti může provadět pouze kvalifikovany personal.
- Je třeba dodržovat prědpísy pro instalaci elektrických zařizení a podmínky jejich prípojenídle CSN (např. DE: VDE 0100, AT:ÖVE-ÖNORM E8001-1, CH: SEV 1000).
- Používat Jen originální náhradní díly.
- Opravy mohou provadět jen specializované provozy.
3. Popis pristroje
Používáni v souladu s určením
XLED PRO ONE S / Plus S / Max S
- Reflektor LED s infracervénym pohybovym senzorem.
- Montáž na stěnu ve vnitřné a venkovní oblasti.
- Neni vchodný pro pripojení k tlumićimu regulatóru.
Princip fungce
- Infračerveny senzor zaznamenáva tepelné zárení vydávané pohybujícímì se těly (např. osob, zviřat).
Tepelné zářeni se pak elektronicky prěvátá na signal a automaticky zapíná reflektor LED. - Nejbezpečnéjsího zaznamenávání pohybu se dosáhne montáží pristroje bočné ke směru chúze.
- Dosah zachycení pohybu je omezen, kracite-li primo k pristroji.
- Překážky (napr. stromy, zdi nebo skleněné tabule)
mohou omezit nebo znemožnit zachycení pohybu. - Náhlé výkyvy teploty způsobné povětrnostními vlivy nemohou byt odlišeny od učinku zdrojú tepla.
Používáni v souladu s určením
XLED PRO ONE / Plus / Max
- Reflektor LED.
- Montáž na stěnu ve vnitřné a venkovní oblasti.
- Neni vchodný pro pripojení k tlumícímu regulátoru.
Používáni, které není v souladu s určením
- Reflektor LED bez stmívání.

Bez stmívání
Rozsah dodávky
- XLED PRO ONE S
- XLED PRO ONE Plus S
- XLED PRO ONE Max S
3.1






1x




- 1 reflektor LED s infracervenym pohybovym senzorem
-1 inbusovy klic - 1 kryci segment
- 2 šrouby
-2hmozddinky
-2 podložky
-2 stavecí srouby
-1 dalkové ovladani RC 12 - 1 bezpečnostní list
-1 rychly start
Rozsa h dodávky
-XLED PRO ONE
- XLED PRO ONE Plus
- XLED PRO ONE Max
3.2


- 1 reflectkor LED
-1 inbusovy klic - 2 stavěcí šrouby
- 2 šrouby
- 2 hmożdinky
- 2 podložky
- 1 bezpečnostní list
-1 rychly start
Rozměry vyrobku XLED PRO ONE S
- XLED PRO ONE S (a)
- XLED PRO ONE Plus S (b)
- XLED PRO ONE Max S (c)
3.3

229 mm (a)
259 mm (b),(c)
182 mm (a)
202 mm (b),(c)

Rozměry vyrobku XLED PRO ONE
- XLED PRO ONE (a)
- XLED PRO ONE Plus (b)
- XLED PRO ONE Max (c)
3.4

229 mm (a)
259 mm (b),(c)
182 mm (a)
202 mm (b),(c)

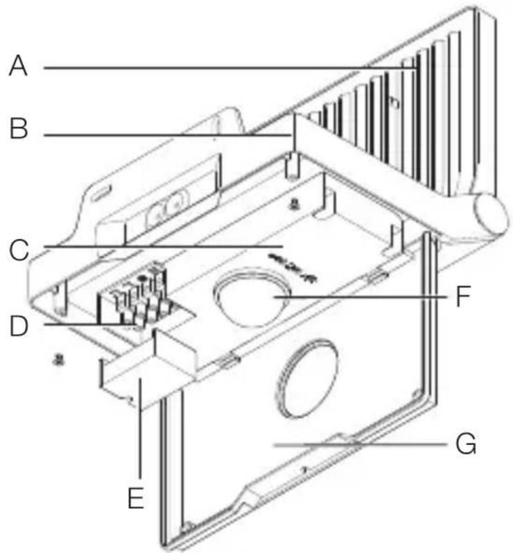
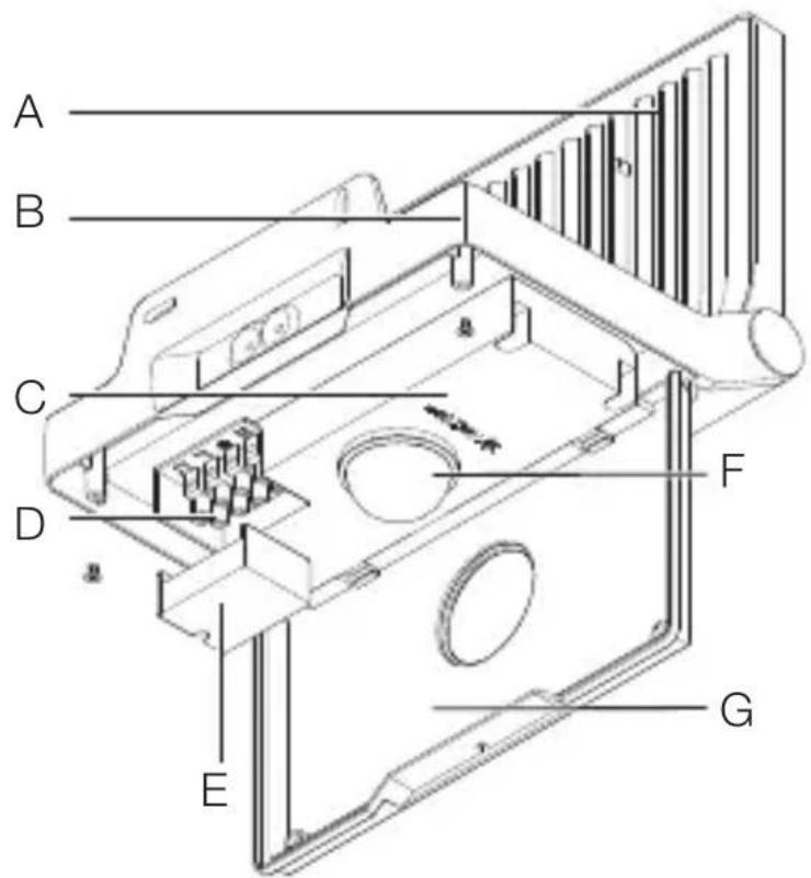
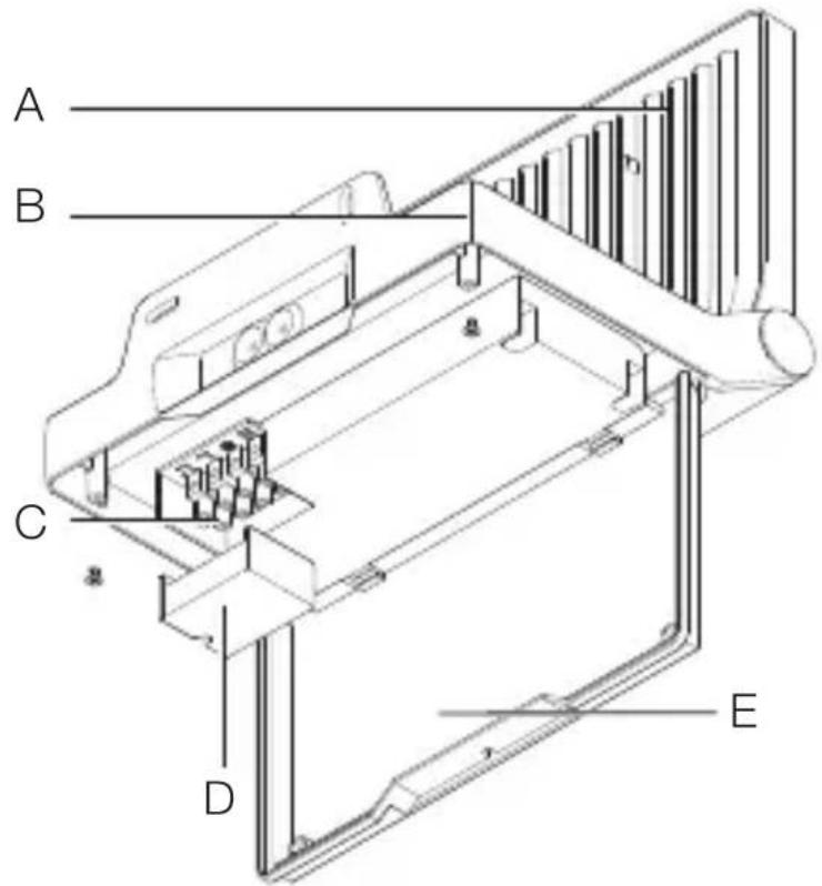
Přehled zařizení XLED PRO ONE S / Plus S / Max S
3.5

A Hlava LED reflektoru
B Montázní třmen
C Otočný regulator
D Pripojovaci svorka
E Kryt svorek
F Senzorová Jednotka
G Kryt
3.6

H Časové nastavení
I Soumradové nastavení
J Základní světlo
3.7

K Dálkové ovládání RC 12
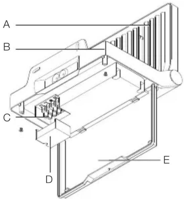
Přehled zařizení XLED PRO ONE / Plus / Max
3.8

A Hlava LED reflektoru
B Montázní třmen
C Pripojovaci svorka
D Kryt svorek
E Kryt
4. Elektrické pripojení
Schémata zapojení XLED PRO ONE S / Plus S / Max S
4.1




CZ
Schémata zapojení XLED PRO ONE / Plus / Max

4.2



K pripojení k elektrické siti použijte tripólový kabel:
L = fázový vodič (většinou Černý, hnědý nebo šedý)
N = neutrálni vodič (většinou modrý)
PE = ochranny vodič (zelenožluty)
Přistroj může BYt také elektricky pripojen po sítovém vypínači, jestliže je zajistěno, ze je sítový vypínač stále zapnutý.
Nelze vyměnit LED tohoto prístroje. V pripadě potřeby vyměnit celý prístroj.
Svetelný zdroj tohoto svítidla nelze vyměnit, jestlje musí byt světelné zdroj vyměnen (napr. na konci svéživotnosti), je třeba vyměnit celé svítidlo.

5. Montáž

Ohroženi elektrickým proudem!
Při kontaku s vodivými díly může dojít k urazu elektrickým proudem, popálenínám nebo smrti.
Vypnout proud a prerusit privod napeti.
- Zkousečkou napěti zkontrolovat, zda je vedení bez napěti.
Zajistit, aby privod napeti zustal preruseny.
Nebezpeci věcnych skod!
Zámea pripojovaciho vedení mûze vest ke zkratu.
- Zkontrolovat poskozeni u vsech konstrukcnich dilu. Pri poskozeni pristroj nepouzivejte.
- Vybrat vchodné mistro montáze.
-Pri zohledneni dosahu.
-Pri zohledneni zachycenipohybu.
-Bez otrésù.
-Oblast záchytu musí být bez prěkážek.
-Ne do oblastí ohrożenych vybuchem.
-Ne na povrchy, které patri mezi snadno vznítitelné.
-Nedívat se do světelného zdroje z kráték vzdálenosti (< 30 cm).
-Vzdálenost minimálne 50 cm od ostatních reflektorů LED.
Dosah XLED PRO ONE S / Plus S / Max S
5.1

Zaznamenávání pohybu bočné ke směru chúze XLED PRO ONE S / Plus S / Max S
5.2

Zaznamenávání pohybu ve směru chúze XLED PRO ONE S / Plus S / Max S
5.3

CZ
Vyrovnáni pristroje
5.4

Zkontrolovat, zda je vypnuty privod napeti.
Vyznačit otvory k vrtáni.

5.6


- Vyvrat otvory (Ø 6 mm) a vložit hmoždinky.
5.7

- Odšroubovat kryt.
5.8

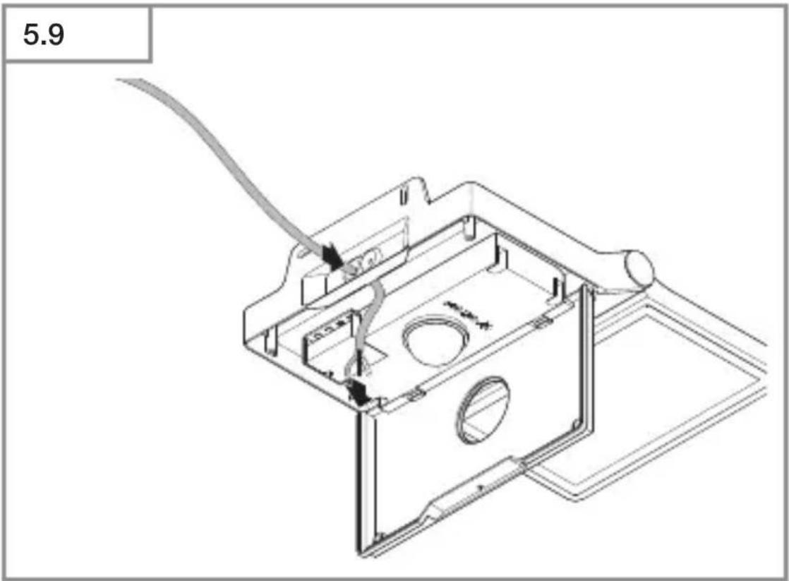
- Otevřit kryt.

- Provléct kabel otvorem.

- Našroubovat třmenový držák.
5.11


- Odśroubovat kryt svorek.
- Privodní sítové vedení pripojit podle schématu zapojeni. →,4. Elektrické pripojení
5.12

- Našroubovat kryt svorek.
5.13

Zavrit kryt.
- Našroubovat pojistné šrouby.
5.14


- Vyrovnat hlavu reflektoru a zafixovat ji stavěcími šrouby.
5.15


- Zapnout napajeni elektrickym proudem.
- Nastavit funkce. ,6 . Funkce"
6. Funkce
XLED PRO ONE S / Plus S / Max S
6.1



- Našroubovat kryt.
- Provést nastaveni.
Nastavení z vyroby
- Časové nastavení: 8 sekund
- Soumradové nastavení: provoz za Dennisho světla 1.000 lx
- Základní světlo: VYP
Časové nastavení (H)
Zpożděné vypnutí je moźno nastavit plynule v rozmézi od asi 8 sekund do max. 35 minut. Kaźdź zaznamenanź pohyb znovu zapne osvětlení.
Upozorněni: Po každém vypnutí reflektoru LED není możné opětovné zachycoványí pohybu po dobu asi 1 sekundy. Poté mûže reflektor LED pri pohybu zase zapnout světro.
K serizení oblasti záchytu a pro funkčné test se doporučuje nastavit nejkratsí Čas.
Soumrakové nastavení (I)
Reakčníhodnota jasu (stmívání) může být plynule nastavena príblízně na asi 2 až 2.000 lx.

provoz za Denniho světla (nezávisle na jasu)

provoz za soumraku (asi 2 lx)
Pri nastavovani oblasti zachytu a provadeni funkcnizzkousky za denniho svetla musi byt otochny regulator nastaven na
Základní světlo (J)
Základní jas pomoci základnich světelnych LED zajištuje nízkou úroven osvětlení.
Hlavní světlo se zapne jen u príslušného pohybu v oblasti záchytu po nastavenou dobu. Poté se světlo prěpne na zvolený základníjas.
- OFF = bez základniho světla
- 10 min = základní světlo na 10 minut po uplynuti zvolené doby doběhu.
-
30 min = základní světlo na 30 minut po uplynuti zvolené doby doběhu.
-
základní světlo po celou noc. Základní světlo, jakmile světlo prostředí klesne pod nastavenou reakčné hodnotu jasu.
Provoz trvalého osvětlení
6.2

1) Zapnutí trvalého osvětlení:
- Vypínač 2x vypnout a zapnout.
Reflektor LED se na 4 hodiny nastaví na trvalé osvětlení.
Poté opět automaticicky préjde do senzorového provozu.
2) Vypnuti trvalého osvětlení:
Svitidlo zhasne, popr. prejde do senzorového provozu.
Duležite:
Spinání musí byt provedeno v Rozmezi od 0,2 do 1 sekundy.
Nastavení oblasti záchytu
K vyloučeni nechtěného zaznamenávání nebo k cǐlenému monitoroványí určitych oblastí může byt omezena a upravena oblast záchytu krycím segmentem.
6.3


Umistit kryci segment na senzor.
- Zavréním krytu zafixovat kryci segment.
7. Príslušenství, dálkové ovládání
Dálkové ovladání RC 12
(EAN 4007841079000)
7.1

- Usnadnjuje instalaci větsich osvětlovacích zařizení.
Reflektory LED mohou být společné nastaveny po instalaci. - Dálkovým ovladáním lze rídit libovolný počet reflektorů LED.
- Kaźdź platnych stisk tlačítka je na pristroji potvrzen stavovou LED.
V dalkovém ovladání RC12 se používa baterie typu CR2032.
Dálkovým ovládámín RC 12 múžete rídit dodatečné funkce XLED PRO ONE S / Plus S / Max S:
1 Soumrakovénastaveni: Požadovaná prahová reakční doba může byt nastavena pržblžné na 2 - 2.000 lx.
„Soumrajové nastavení (l)“
2 Provoz za Dennisho svetla (nezávisle na jasu)
3 Nočníprovoz (2 lx)
4 Nastavení jasu tlacitkem ukladání / konfiguračním režimem (2-2.000 lx). U požadovanych světelnéch poměru, pri kterych má senzor zareagovat na pohyb: Stisknout tlacitko. Bude uložena aktuálné hodnota.
5 Časovénastavení: Požadovanou dobu sviceni po posledním zaznamenáni pohybu lze stisknutím tlacítek nastavit na 10 s, 1 min, 5 min, 15 min.
„Casové nastavení (H)“
6 Požadovaná doba sviceni: Nastavení doby sviceni na požadovanou dobu. Každý stisk tlačitka zvyšuje aktuálné chasové nastavení vždy o 1 min (max. 15 min).
7 Provoz trvalého osvětlení:
Po stisku tlacitka v senzorovém provozu se zapne reflektor LED 4 h (stavová LED stale svítí). Po stisku tlacitka v provozu 4 h-ON se vypne reflektor LED 4 h (stavová LED stale svítí). Provoz 4 h lze opustit po uplynuti nastaveného chasu, tlacitkem Reset nebov provozu 4 h VYP stisknutím tlacitka 4 h.
,Provoz trvalého osvětlení
8 Instalačné režim (zkusební režim): Instalačné režim ke kontrole funkce i oblasti záchytu. Nezávisle na jasu se reflektor LED Rozsvítí pri pohybu na 10 s. Pohyb je signalizován stavovou LED. Instalačné režim (Install) má prednost prěd všemi ostatními nastaveními. Po 10 min dojde k automatickému opustěné instalačného režimu. Po stisku tlacítka Reset dojde k okamžitému opustěné instalačného režimu (Install). Pozor: Současně nelze používat konfiguračné (Teach) a instaláčné (Install) režim.
9 Reset: Zpětné dosazení všech nastavení na hodnoty manuálné nastavené na reflektoru LED, popř. nastavené z vyroby.
10 Základní světlo: Základní jas pomoci základních světelněch LED zajištuje nízkou uroven osvětlení. Hlavní světlo se zapne jen u príslušného pohybu v oblasti záchytu po nastavenou dobu. Poté se světlo prepne na zvoleny základní jas. → „Základní světlo (J)"
Inteligentní dálkové ovládání (volitelné vybavení)
(EAN 4007841009151)
- Rízení prostřednictvím smartphonu nebo tabletu.
-Nahrazuje dalkové ovladani. - Zavést vchodnou aplikaci a vytvorit spojení prostřednic-tvím Bluetooth.
8. Čištěné a údržba
Přistroj je bezúdržbový.

Ohrożeni elektrickYM proudem!
Kontakt vody s vodivymi dily mûze vestre k urazu elektrickým proudem, popáleníám nebo smrti.
- Prístroj Čistěte pouze, když je suchý.
Nebezpečí věcnych škod!
Použitím nesprávného Čisticího prostředku může byt prístroj poškozen.
- Prístroi yčistěte mirné navlhcenou utěrkou bez Čisticích prostředků.
Duležite: Provozní pristroj nelze vyměnit.

9. Likvidace
Elektrická zařizení, baterie, príslušenství a obaly musí byt odvezeny k ekologickému opětovnému zhodnoceni.

Nevyhazujte elektrická zařizení a baterie do domovniho oppadu!
Dálkové ovládání obsahuje jegnu baterii typu CR 2032 Li-Mn-dioxid / organické elektrolyty.
Jen pro země EU:
V souladu s platnou evropskou směrnici oOADpadsnich elektrickych a elektronickych zařizenich a jejím prevedení do národního przyva musí byt nepoužitelná elektrická zařizení a baterie separovány a odevzdány k ekologickému opětovnému zhodnocení.
10. Záruka výrobce
Záruka vyrobce STEINEL GmbH, Dieselstrasse 80-84, DE-33442 Herzebrock-Clarholz, Německo
Jako kupujicimu vám vúči prodávajćímu prináleží zákonem predepsaná práva. Pokud tato práva ve vaší zemi existuji, nejsou našim prohlášením o záruce zkrácena ani omezena.
Poskytneme vám 5 letou záruku na bezvadné provedeni a rádnou funkčnost vašeho profesiónánlího senzorického vyrobku značky STEINEL. Ručime za to,Že tento vyrobek nemá materialové, vyrobní a konstrukční vady. Ručime za funkčnost všech elektronických součástek a kabelů, i za nezávalnost všech použitích materialů a jejich povrchů.
Uplatnováni záruky:
Chcete-li vás vyrobek reklamovat, zašlete jej nedemontovany a vyplacene s originánlím dokladem o koupi, který musí obsahovat datum koupě a název vyrobku, vašemu prodejci nebo prímo nám, na adresu STEINEL Technik s.r.o. Rumunská 655/9, 460 01 Liberec 4.
Doporucjeme vám, abyste doklad o koupi do uplynuti záručné dobny pečlive uschovali. Společnost STEINEL neruci za prepravní náklady a rizika týkajíci se zpětného zaślání.
Dalsí informace k uplatnováni záruky jsou uvedeny na naší webové stránce www.steinel.cz
Jestlje budete uplatnovat reklamaci nebo mate
nejaké dotazy tykajci se vyrobku, muzete nam kdykoli
zavolat na servisni horkou linku
+420 485 253 271.
11. Technické parametry
- Rozměry (v × š× h):
XLED PRO ONE S: 230 × 229 × 182 mm
XLED PRO ONE PLUS S / Max S: 250 × 259 × 202 mm
XLED PRO ONE: 206 × 229 × 182 mm
XLED PRO ONE PLUS / Max: 226 × 259 × 202 mm
-
Sǐtóvé napěti: 220-240 V, 50/60 Hz
-
Vykon / efektivnost:
XLED PRO ONE S: 120 lm/W
XLED PRO ONE PLUS S: 129 lm/W
XLED PRO ONE Max S: 122 lm/W
XLED PRO ONE: 126 lm/W
-Světelné tok / jas:
XLED PRO ONE S: 2.204 lm
XLED PRO ONE PLUS S: 4.370 lm
XLED PRO ONE Max S: 6.116 lm
XLED PRO ONE: 2.236 lm
- Index reprodukce barev:
R_a≥ 80
- Senzorika:
XLED PRO ONE S / PLUS S / Max S: Pasivní infracervé
- Dosah:
XLED PRO ONE S / PLUS S / Max S: Max. 10 m
- Uhel zachytu:
XLED PRO ONE S / PLUS S / Max S: 240°
- Časové nastavení:
XLED PRO ONE S / PLUS S / Max S: 8 s-35 min
- Soumrakové nastavení:
XLED PRO ONE S / PLUS S / Max S: 2-2.000 lx
Přidavný spinány vykon
XLED PRO ONE S / PLUS S / Max S:
- zatěženi Žárovky / halogenové Žárovky: 1.500 W
- zářivy elektronické prědřadné zařizení: 430 W
- zářívy nekompenzované: 500 VA
- zářívy sériove kompenzované: 900 VA
- zářivy paralelné kompenzované: 500 VA
- nízkonapětové halogenové Žárovky: 1.500 VA
-žárovky LED<2 W: 16 W - 2 W<žárovky LED<8 W: 64 W
-žárovky LED > 8 W: 64 W - kapacitné zatíženi: 88 μF
12. Odstranění poruch
Přistroj bez napěti.
-
Pojistka není zapnutá nebo je poškozená.
-
Zapnout pojistku.
Vymenit poškozenou pojistku. -
Vedení prerušene.
Zkontrolovat vedení pomoci zkousečky napěti. - Zkrat v privodním sítovém vedení.
Zkontrolovat pripojeni. - Eventuálne vypnuty stavajíci sítový vypínač.
- Zapnout sǐovy vypinač.
Přistroj nezapíná.
Znovu nastavit soumrakové nastavení.
-
Sǐtový vypínač v poloze vypnuto.
-
Nastavit sǐ'tovy vypínač.
-
Pojistka není zapnutá nebo je poškozená.
-
Zapnout pojistku.
Vymenit poškozenou pojistku.
- K minimalizaci poruch jsou potlačeny rychlé pohyby nebo je nastavena priliš malá oblast záchytu nebo není správná.
Zkontrolovat a seridit oblast zachytu.
-Světelné zdroj poskozené.
- Světelné zdroj nelze vyměnit. Vyměnit celý prístroj.
Přistroj nevypína.
- Trvaly pohyb v oblasti zachytu.
Zkontrolovat oblast zachytu.
V pripadé potreby omezit nebo zmenit oblast záchytu.
Přistroj zapíná v nevhodnou dobu.
-
Prístroi není namontován tak, aby byl zabezpečen proti pohybu.
-
Pevně namontovat prístroj.
-
K pohybu došlo, ale nebyl rozeznán pozorovatelem (pohyb za stěnou, pohyb malého objektu v bezprostředni blízkosti svítidla atd.).
Zkontrolovat oblast.
- V pripadé potřeby omezit nebo zmenit oblast záchytu.
SK
Obsah
- O tomando 565
- Vseobecné bezpečnostné poukyny 565
- Popis vyrobku 566
- Elektrické pripojenie 574
- Montáž 576
- Funkcia 586
- Príslušenstvo, dialkové ovládanie 591
- Čistenie a udrzba 594
- Zneškodnenie 595
- Záruka vyrobcu 596
- Technické udaje 597
- Odstrańovanie poruch 599
1. O tomandoe
Varovanie pred nebezpečenstvom
v dösledku zásahu elektrickým prudom!

2. Všeobecné bezpečnostné pokyny

Nebezpečenstvo v dösledku nedodržania námovu na obsluhu!
- 1 LED reflector s infracervenym pohybovym senzorom
-1imbusovykluc
-1 krytka
-2 skrutky
-2hmozddinky
-2 podložky - 2 závrtné skrutky
- 1 dialkové ovládanie RC 12
- 1 karta bezpečnostnych udajov
-1 rychly tart
Rozsah dodávky
-XLED PRO ONE
- XLED PRO ONE Plus
- XLED PRO ONE Max
3.2


- 1 LED reflektor
-1imbusovykluc - 2 závrtné skrutky
-2 skrutky - 2 hmożdinky
-2 podložky - 1 karta bezpečnostných udajov
-1 rychly start
Rozmery vyrobku XLED PRO ONE S
- XLED PRO ONE S (a)
- XLED PRO ONE Plus S (b)
- XLED PRO ONE Max S (c)
3.3

229 mm (a)
259 mm (b),(c)
182 mm (a)
202 mm (b),(c)

Rozmery vyrobku XLED PRO ONE
- XLED PRO ONE (a)
- XLED PRO ONE Plus (b)
- XLED PRO ONE Max (c)
3.4

229 mm (a)
259 mm (b),(c)
182 mm (a)
202 mm (b),(c)

Prehlad dielov vyrobku XLED PRO ONE S / Plus S / Max S
3.5

A hlava LED reflectora
B montážne rameno
C nastavovaci regulator
D pripojovacia svorka
E kryt svoriek
F senzorová Jednotka
G kryt
3.6

H nastavenieČasu
I nastavenie stmievania / svitania
J základné svetlo
3.7

K dialkové ovládanie RC 12
Prehlad dielov vyrobku XLED PRO ONE / Plus / Max
3.8

A hlava LED reflectora
B montážne rameno
C pripojovacia svorka
D kryt svoriek
E kryt
SK
4. Elektrické pripojenie
Schémy zapojenia XLED PRO ONE S / Plus S / Max S
4.1




Schémy zapojenia XLED PRO ONE / Plus / Max

4.2



PE = ochranný vodič (zeleno-žltý)
Vyrobok je mayne tripojit aj elektricky k siefovemu spinaču, ak je zaistené, ze sietový spinač bude vždy zapnutý.
LED v tomto vyrobku sa nedá vymenit. V pripadepotreby je nutné vymenit celý vyrobok.
Svetelný zdroj tohto svietidla sa nedá nahradit. V pripadenutosti výmeny svetelného zdroja (napr. na konci jehoživotnosti) sa musí vymenit celé svietidlo.

5. Montáž

Nebezpečenstvo zásahu elektrickým prudom!
- Skontrolujte, Či je odpojený privod napătia.
- Naznačte diery na vrtanie.

5.6


- Vyvrjate diary (Ø 6 mm) a vložte hmoždinky.

5.7
- Odrskrutkujte kryt.

5.8
- Otvorte kryt.

5.9
- Pretiahnite kabel cez otvor.

5.10
- Priskrutkujte rameno.

5.11

- Odskrutkujte kryt svoriek.
- Pripojte napajacie vedenie podla schémy zapojenia.
→,4. Elektrické pripojenie"
5.12

- Priskrutkujte kryt svoriek.
5.13

Zatvorte kryt.
- Naskrutkujte pointé skrutky.
5.14


- Vyrovnajte hlavu reflektora a zaistite ju závrtnymi skrutkami.
5.15


7. Príslušenstvo, dialkové ovládanie
Dialkové ovládanie RC 12
(EAN 4007841079000)
7.1

- Ulačuje instaláciu včsich osvetl’ovacích zariadení. LED reflektory je možné po instalácii spolovične nastavit.
- Pomocou dialkoveho ovladania možete ovladat 'lubovolný počet LED reflektorov.
- Kaźdé platné stlacenie tlacidla sa na vyrobku potvrduzije stavovou LED.
V dialkovom ovladani RC 12 sa použiva bateria typu CR2032.
Pomocou dialkového ovládania RC 12 možete využívat doplnkové funkcie reflektorov XLED PRO ONE S / Plus S / Max S.
Inteligentné dialkové ovládanie (volitěne)
(EAN 4007841009151)
8. Čistenie a údržba
Vyrobok nevyžaduje udrzbu.

Nebezpečenstvo zásahu elektrickým prudom!
Elektrické spotrebice a batérié nevyhadzujte do komunálneho oppadu!
Dialkové ovládanie obsahuje batériu typu CR 2032 Li-Mn-dioxid / organický elektrolyt.
Iba pre krajiny EU:
Informácie o možnostiach uplatenia záručného pripadu najdete na našej stránke www.neco.sk
Ak u vás došlo k záručnému pripadu alebo ak mate otázky týkajúce sa vyrobku, možete nás kedykolívek Telefonicky kontaktovat na našej servisnej linke: +421/42/4 45 67 10.
11. Technické udaje
- Rozmery (V × × H) :
XLED PRO ONE S: 230 × 229 × 182 mm
XLED PRO ONE PLUS S / Max S: 250 × 259 × 202 mm
XLED PRO ONE: 206 × 229 × 182 mm
XLED PRO ONE PLUS / Max: 226 × 259 × 202 mm
-Sietové napatie: 220 - 240V,50 / 60Hz
- Vykon / efektivnost:
XLED PRO ONE S: 120 lm/W
XLED PRO ONE PLUS S: 129 lm/W
XLED PRO ONE Max S: 122 lm/W
XLED PRO ONE: 126 lm/W
Vymente chybnu poistku.
-
Trvaly pohyb v oblasti snímania.
-
Skontrolujte oblast snímania.
V pripe de potreby obmedzte alebo zmeinte oblast snimania.
Vyrobok sa mimovolne zapina.
-
Vyrobok nie je namontovaný so zabezpečením protí pohybu.
-
Vyrobok pevne namontujte.
-
Pohyb sa uskutočnil, ale pozorovatel'ho nerozpoznal (pohyb za stenou, pohyb malého objektu v bezprostrednej blízkosti svietidla atd').
-
Skontrolujte oblast.
V priade potreby obmedzte alebo zmeinte oblast snimania.
PL
Spis tresci
Hämarusrežiim (u 2 lx)
→“Püsivalgustusrežiim”
Notice-Facile