XLED PRO ONE S - Lamp STEINEL - Gratis gebruiksaanwijzing en handleiding
Vind de handleiding van het apparaat gratis XLED PRO ONE S STEINEL in PDF-formaat.
Download de handleiding voor uw Lamp in PDF-formaat gratis! Vind uw handleiding XLED PRO ONE S - STEINEL en neem uw elektronisch apparaat weer in handen. Op deze pagina staan alle documenten die nodig zijn voor het gebruik van uw apparaat. XLED PRO ONE S van het merk STEINEL.
GEBRUIKSAANWIJZING XLED PRO ONE S STEINEL
- Over dit document 118
- Algemene veiligheidsvoorschriften 118
- Beschrijving van het apparatus 119
- Elektrische aansluiting 127
- Montage 129
- Werking 139
- Accessoires afstandsbediening 144
- Schoonmaken en verzorgen 147
- Verwijdersen 148
- Fabrieksgarantie 148
- Technische gegevens 151
- Verhelpen van storingen 153
NL
1. Over dit document
- Rechten uit het auteursrecht voorbehouden. Vermenigvuldiging, ook van delen van deze handleiding, is alleen met unsere toestemming geoorloofd.
- Wijzigingen in het kader van de technische vooruitgang voorbehonden.

Waarschuwing voor gevaar!
Waarschuwing voor risico's door elektriciteit!
Waarschuwing voor risico's door water!
2. Algemene veiligheidsvoorschriften

Gevaar door nicht naleving van de gebruiks-aanwijzing!
Deze gebruiksaanwijzing bevat belongingsrijke informatatie inzake een veilige omgang met het apparaat. Er worden in het bijzonder gewezen op möglichke risico's. Indien deze informatatie nicht worden nageleefd kan dit ernstig lichamelijk letsel en zelfs de dood tot gevolg hebben.
-
Gebruiksaanwijzing zorgvuldig doorlezen.
Veiligheidsvoorschriften naleven.
Toegankelijk bewaren. -
Door de omgang met elektrische stroom{kunnen gevaarlijke situatuies ontstaan. Het aanraken van stroomvoerende componenten kan een elektrische schok, verbrandingen of zelfs de dood tot gevolg hebben.
- Werkzaamheden aan de netspanning mogen uitsluitend door gekwalificeerd vakpersoneel worden uitgevoerd.
-
De nationale installmentevoorschriften en aansluitvoorwaarden要去en worden nageleefd (bijv. DE: VDE 0100, AT: ÖVE-ÖNORM E8001-1, CH: SEV 1000).
-
Gebruik uitsluitend originele reserveonderdelen.
- Reparaties mogen uitsluitend door eenvakbedrijf worden uitgevoerd.
NL
3. Beschrijving van het apparatus
Gebruik volgens de voorschriftenXLED PRO ONE S / Plus S / Max S
- Led-spot met infrarood-bewegingssensor.
- Wandmontage binnen en buiten.
- Niet geschikt voor het aansluiten van een dimmer.
Functieprincipe
- De infraroodsensor registreert de warmtestraling van bewegende lichamen (bijv. mensen, dieren). De zo geregisteerde warmtestraling worden elektronisch omgezet en schakelt hierdoor de led-spot automatisch in.
- De veiligste bewegingsregistratie ontstaat bij apparaat-montage zijdelings op de looprichting.
- Het bereik van de bewegingsregistratie is beperkt als errecht op de sensor af gelopen worden.
- Door hinderissen (bijv. bomen, muren of ruiten) kan de bewegingsregistratie gehinderd worden of zichs onmogelijk়n.
- Plotselinge temperatuurschommelingen door weersinvloeden worden nicht anderscheiden van warmtebronnen.
Gebruik volgens de voorschriften XLED PRO ONE / Plus / Max
- Led-spot.
- Wandmontage binnen en buiten.
- Niet geschikt voor het aansluten van een dimmer.
Ondoelmatig gezruik
- De led-spot kan nicht worden gedimd.

Niet dimbaar
Bij de levering inbegrepen
- XLED PRO ONE S
- XLED PRO ONE Plus S
- XLED PRO ONE Max S
3.1






1x




- 1 led-spot met infrarood-bewegingsensor
-1 inbussleutel
-1 afdekkap - 2 schroeven
- 2 pluggen
- 2 onderlegringen
-2stifttappen - 1 afstandsbediening RC 12
-1veiligheidsinformatatieblad - 1 Quick-Start
Bij de levering inbegrepen
-XLED PRO ONE
- XLED PRO ONE Plus
- XLED PRO ONE Max
NL
3.2


- 1 led-spot
-1inbussleutel - 2 stifttappen
- 2 schroeven
- 2 pluggen
- 2 onderlegringen
- 1 veiligheidsinformatieblad
- 1 Quick-Start
Productafmetingen XLED PRO ONE S
- XLED PRO ONE S (a)
- XLED PRO ONE Plus S (b)
- XLED PRO ONE Max S (c)
3.3

229 mm (a)
259 mm (b),(c)
182 mm (a)
202 mm (b),(c)

Productafmetingen XLED PRO ONE
- XLED PRO ONE (a)
- XLED PRO ONE Plus (b)
- XLED PRO ONE Max (c)
NL
3.4

229 mm (a)
259 mm (b),(c)
182 mm (a)
202 mm (b),(c)

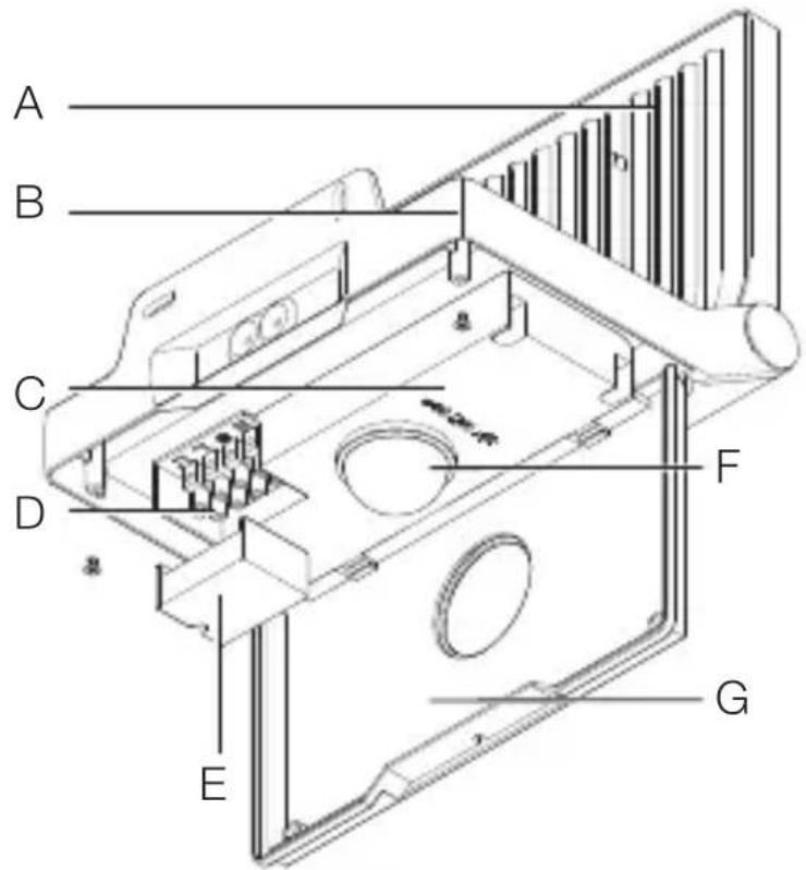
Apparaatoverzicht XLED PRO ONE S / Plus S / Max S
3.5

A Spotkop (led)
B Montagebeugel
C Instelknopje
D Aansluitklem
E Afdekking aansluitklem
F Sensorunit
G Afdekking
3.6

H Tijdinstelling
I Schemerinstelling
J Orientatielicht
3.7

K Afstandsbediening RC 12
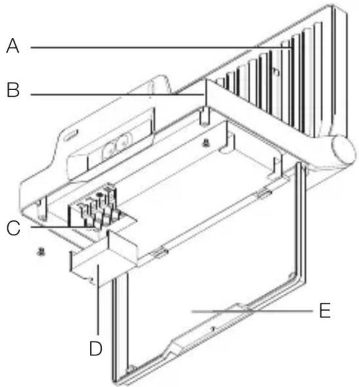
Apparaatoverzicht XLED PRO ONE / Plus / Max
3.8

A Spotkop (led)
B Montagebeugel
C Aansluitklem
D Afdekking aansluitklem
E Afdekking
4. Elektrische aansluiting
Schakelschema's XLED PRO ONE S / Plus S / Max S
4.1




NL
Schakelschema's XLED PRO ONE / Plus / Max

4.2



De stroomtoevoer besteht uit een 3-polige kabel:
L = fase (meestal zwart, bruin of grijs)
N = nuldraad (meestal blauw)
PE = aarde (groen / geel)
Het apparaat kan ook elektrisch worden aangesloten darüber een netschakelaar, indien gewaarborgd is dat de netschakelaar continu is ingeschakeld.
De led-lichtbron van deze lamp kan nicht worden verrangen.
Indien nodig,要去 de complete lamp worden verrangen.
De Lichtbron van deze lamp kan nicht worden verrangen. Mocht hetoodzakelijk worden om die te verrangen (bijv. aan het einde van zijn levensduur), dan要去 de complete lamp worden verrangen.

NL
5. Montage

Gevaar door elektrische stroom!
Het aanraken van stroomvoerende componenten kan een elektrische schok, verbrandingen of zichs de dood tot gevolg hebben.
- De stroom uitschakelen en de spanningstoevoer onderbreken.
- Controller m.b.v. een spanningstester dat er geen spanning op staat.
- Zorg ervoor dat de spanningstoevoer onderbroken blijft.
Gevaar voor beschadigingen!
Het verwisselen van de kabels kan kortsluiting tot gevolg hebben.
- Identificier de aansluitkabels.
- Aansluitkabels correct verbinden.
Montagevoorbereiding
- Alle onderdelen controleren op beschadigingen. Neem de lamp bij beschadigingen nicht in gebruik.
- Geschekte montageplaats kiezen.
- Houd rekening met het bereik.
- Houd rekening met de bewegingsregistratie.
-Trillingsvrij.
-Registrariebereik vrij vanhindernissen.
-Niet in een explosieve omgeving monteren.
-Niet oplicht ontvlambare oppervlakken monteren.
-Niet vanaf korte afstand in de Lichtbron können kijken (< 30 cm).
-Minimaal 50 cm van andere led-spots verwijderd.
5.1

Reikwijdte XLED PRO ONE S / Plus S / Max S
Bewegingsregistratie zijdelings op de looprichting XLED PRO ONE S / Plus S / Max S
5.2

NL
Bewegingsregistratie in de looprichting XLED PRO ONE S / Plus S / Max S
5.3

Afstelling van de lamp
5.4

- De lamp correct afstellen.
Montagestappen

5.5


NL
- Controller of de spanningstoevoer isuitgeschakeld.
- Boorgaten aftekenen.

5.6


- Gaten boren (Ø 6 mm) en pluggen inbrengen.
5.7

- Afdekking losschroeven.
5.8

- Afdekking openen.


5.11

- Afdekking aansluitklem losschroeven.
- Stroomtoevoer volgens schakelschema aansluiten.
"4. Elektrische aansluiting"
5.12

NL
- Afdekking aansluitklem vastschroeven.
5.13

- Afdekking sluiten.
Borgschoroeven inschroeven.
5.14


- Spotkop afstellen en met stifttappen fixeren.
5.15


Stroomtoevoer inschakelen.
- Functies instellen. "6. Werking"
6. Werking
XLED PRO ONE S / Plus S / Max S
6.1

NL


- Afdekking vastschroeven.
- Installingenuitvoeren.
Fabrieksinstellungen
- Tijdinstelling: 8 seconden
- Schemerinstelling: daglichtstand 1.000 lux
- Orientatielicht: UIT
Tijdinstelling (H)
De uitschakelvertraging kan traploos worden ingesteld van ca. 8 seconden tot max. 35 minutes. Elke geregisteerde beweging schakelt het Licht opnieuw in.
Opmerking: Na iedere uitschakeling van de led-spot is gedurende ca. 1 seconde geen neue bewegingsregistratie möglichk. Daarna kan de led-spot hetlicht waar inschakelen bij bewegingen.
Bij het instellen van het registratiebereik en voor de functie-test worden geadviseerd om de kortsteijd in te stellen.
Schemerinstalling (I)
De inschakellichtsterkte (schemering) kan traploos van ca. 2 - 2.000 lux worden ingesteld.
- daglichtstand (onafhankelijk van de Lichtsterkte)
- = schemerstand (ca. 2 lux)
Bij de instelling van het registratiebereik en voor de functie-test bij daglicht要去 indstelknop op staan.
Orientalicht (J)
De basislichtsterkte zorgt d.m.v. het led-orientatielicht voor een laag verlichtingsniveau.
Alleen wanner er bewegingen in het registratiebereik zijn worden het hoofdlicht voor de ingesteldeijd ingeschakeld.
Vervolgens schakelt hetlicht waar terug maar de ingestelde basislichtsterkte.
- OFF = geen oriëntatielicht
- 10 min. = orientatielicht gedurende 10 minutes na afloop van de gekozen nalooptijd.
-
30 min. = orientatielicht gedurende 30 minutes na afloop van de gekozen nalooptijd.
-
(C) = orientatielicht gedurende de hele NIGHT.
Orientatielicht zodra de omgevingslichtsterkte onder het ingestelde drempelniveau kommt.
Permanente verlichting
6.2

1) Permanente verlichting inschakelen:
Schakelaar 2 x UIT en AAN.
De led-spot schakelt 4aar permanent in. Vervolgens schakelt de lamp automatisch weever op sensormodus.
2) Permanente verlichting uitschakelen:
Schakelaar 1 x UIT en AAN.
De lamp gaat uit resp. schakelt over op sensormodus.
Belangrijk:
De schakelingen要去en snel worden uitgevoerd, ca. 0,2 tot 1 seconde na elkaar.
Afstelling registratiebereik
Het registratiebereik kan met de afdekkap beperkt en aangepast worden, om ongewilde registratie te voorkomen of bepaalde gebieden gericht te bewaken.
NL
6.3


- Afdekkap op de sensor plaatsen.
- Afdekkap bevestigen door het sluiten van de afdekking.
7. Accessoires afstandsbediening
Afstandsbediening RC 12
(EAN 4007841079000)
7.1

- Vereenvoudigt de installmentie van große verlichtingsinstallaties. De led-spots können na de installmentie gezamenlijk worden ingesteld.
- Met de afstandsbediening kan een willekeurig aantal led-spots worden aangestuurd.
- ledere geldige druk op de knop worden op de lamp bevestigd door een status-led-lampje.
In afstandsbediening RC12 worden een CR2032 batterij gezebruikt.
Met afstandsbediening RC 12 können aanvullende functies van de XLED PRO ONE S / Plus S / Max S worden gebruikt:
1 Schemerinstelling: het gewenste inschakelniveau kan van ca. 2-2.000 lux worden ingesteld.
→“Schemerinstelling (I)”
2 Daglichtstand (onafhankelijk van de Lichtsterkte)
3Nachtstand (2 lux)
4 Instelling Lichtsterkte met memory toets / teach-modus (2-2.000 lux). Bij de gewenstelichtomstandigheden waar bij de sensor voortaan op bewegingen要去 reageren: knop indrukken. De actuele waarde wordt opgeslagen.
5 Tijdinstelling: de gewenste brandduur na de LASTbe bewegingsregistratie kan worden ingesteld doorte drukken op de knappen 10 sec., 1 min., 5 min., 15 min.
"Tijdinstelling (H)"
6 Gewenste brandduur: de brandduur op een gewensteijd instellen. De actueleijdinstelling worden met elke druk op de knop steeds met 1 min. (max. 15 min.) verhoogd.
7 Permanenteverlichting: De led-spot worden 4aar ingeschakeld wonneer bij sensorwerking op de knop worden gedrukt (statusled-lampje brandt continu). Met een druk op de knop in de 4 h-ON-modus worden de led-spot voor 4aaruitgeschakeld (status-led-lampje brandt continu). De 4 h-modus worden verlaten door afloop van deijd, de reset-knop of in de 4 h UIT-modus door het indrukken van de 4 h knop.
8 Install-modus(test-modus): install-modus om de werkung en het registratiebereik te controleren.
De led-spot schakelt onafhankelijk van de omgevingslichtsterkte bij bewegingen voor 10 sec. aan. Bewegingen worden via het status-led-lampje aangegeven. De install-modus heeft voorrang op alle andere instellingen. Na 10 min. worden de instalmodus automatisch verlaten. Na een reset worden de install-modus onmiddelijk verlaten.
Opgelet: de teach-modus en install-modus{kennen nicht tegelijkertijd worden gebruikt.
9 Reset: alle instellingen worden gereset maar de op de led-spot handmatig ingestelde waarden, resp. de fabrieksinstelleningen.
10 Orientatielicht: de basislichtsterkte zorgt d.m.v. orientatielicht-leds voor een laag verlichtingsniveau. Alleen wanner er bewegingen in het registratiebereik zich wordt het hoofdlicht voor de ingesteldearend ingeschakeld. Vervolgens schakelt het Licht weer terug maar de ingesteldebasislichtsterkte.
"Orientalicht (J)"
Intelligente afstandsbediening (optioneel)
(EAN 4007841009151)
- Regeling met smartphone of tablet.
- Vervangt de afstandsbediening.
- Passende app downloads en via bluetooth verbinden.
8. Schoonmaken en verzorgen
Dit apparaat is onderhoudsvrij.

Gevaar door elektrische stroom!
Het contact van water met stroomvoerende componenten kan een elektrische schok, verbrandingen of zelfs de dood tot gevolg hebben.
- Reinig het apparaat alleen in droge toestand.
Gevaar voor beschadigingen!
De lamp kan door het gebruiken van verkeerde schoonmaakmiddelen worden beschadigd.
- Reinig het apparaat met een Licht bevochtigde doek zonder reinigingsmiddel.
Belangrijk: de regelaar kan nicht worden verrangen.

9. Verwijdersen
Elektrische apparaten, batterijen, accessoires en verpakkingen要去 op milieuvriendelijk wijze gerecycled worden.

Afgedankte elektrische apparaten en oude batterijen horen nicht bij het huisvuil!
De afstandsbediening bevat een batterij van het type CR 2032 Li-Mn-Dioxide / Organic Elektrolyte.
Alleen voor EU-landen:
Conform de geldende Europese richtig betreffende afgedankte elektrische en elektronische apparatuur en de implementatie hiervan in nationaalrecht要去en afgedankte elektrische apparaten en batterijen geschaden ingezameld en op milieuvriendelijk wijze gerecycled worden.
10. Fabrieksgarantie
Fabrieksgarantie van de firma STEINEL GmbH, Dieselstraße 80-84, DE-33442 Herzebrock- Clarholz, Duitsland Alle producten van STEINEL voldoen aan de hoogste kwaliteitseisen. Daarom geen wij als fabrikant u als klant graag garantie volgens de onderstaande voorwaarden:
De garantie dekt de vrijheid van gebreken die aantoonbaar te wijtenঃ aan materiaal- of fabricagefouten en die onmiddelijk na ontdekking en binnen de garantieperiode aan ons worden gemeld. De garantie geldt voor alle STEINEL Professional-producten die in Nederland worden gekocht en gebruikt.
Onze garantiediensten voor consumpenten
De volgende regelingen zijn van toepassing op consumen- ten. Een consument is iedere natuurlijke persoon die bij afsluiting van de koop Niet in uitoefening van zijn commerciele of zichstandige beroep handelt.
U heeft de keuze of wij garantie verlenen door het product Gratis te repareren, Gratis te verrangen (eventueel door een opvolgend model vandezelfde of hogere kwaliteit) of een creditnota uit te schrijven.
De garantieperiode voor het door u gekochtte STEINEL Professional-product bedraagt voor sensoren, breedstralers, buiten- en binnenarmaturen 5aar vanaf de datum van aankoop van het product.
Wij nemen de transportkosten voor unsere rekening, maar nicht de transportrisico's van de retourzending.
Onze garantiediensten voor ondernemers
De volgende regelingen zijn van toepassing op ondernemers. Een ondernemer is een natuurlijke of rechtspersoon of een personenvennootschap metrechtspersoonlijkheid, die bij afsluiting van de koop in uitoefening van zichn commerciale of zichstandige beroep handelt.
Wij hebben de keuze om de garantie te verlenen door de gebreken kostenoos te verhelen, het product Kostenloos te verwangen (eventueel door een opvolgend model van dezelfde of betere kwaliteit) of een creditnota uit te schrijven.
De garantieperiode voor het door u gekochtte STEINEL Professional-product bedraagt voor sensoren, breedstralers, buiten- en binnenarmaturen 5aar vanaf de datum van aankoop van het product.
In het kader van de garantieservice dragen wij Niet uw kosten dieoodzakelijk zijn voor de uitvoering achteraf en dragen wij Niet uw kosten voor de verwijdering van het defecte product en de installmentie van een verrangend product.
Wettelijk rechten bij gebreken, kosteloosheid
De hier beschreiben diensten gelden als aanvulling op de wettelijkke garantierechten – met inbegrip van speciale beschermende bepalingen voor consumpenten – en beperken of verrangen deze Niet. De uitoefening van uw wettelijkke rechten in geval van gebreken iskesteloos.
Uitzonderingen op de garantie
Uitdrukkelijkuitgesloten van deze garantie zichn alle verrangbarelichtbronnen.
Verder is garantie uitgesloten:
- bij een door het gebruik veroorzaakte of andere natuurlijke slijtage van productonderdelen of gebreken aan het STEINEL Professional-product, die het gevolg zijn van gebruiksslijtage of andere natuurlijke slijtage,
- bij een nicht regelconform of onjuist gebruik van het product, of indien de bedieningsinstructies Niet werden nageleefd,
- wonneer aanpassingen en andere veranderingen eigenmachtig werden uitgevoerd bij het product of de gebreken veroorzaakt worden door het gebruik van accessoires, aanvullende onderdelen of reserveonderdelen die geen originele STEINEL-delen zich,
- indien het onderhoud en de verzorging van de producten Niet conform de bedieningshandleiding werden uitgevoerd,
- wanner de montage en installationiet nicht volgens de installmentievoorschriften van STEINEL werden uitgevoerd,
-bij transportschade of -verliezen.
Geldigkeit van het Duitserecht
Op besteht voorwaarden is Duitsrecht van toepassing, het Weens Koopverdrag (CISG) wordenuitgesloten.
Garantie claimen
Indien u aanspraak wilt make op de garantie, stuur uw product dan samen met het originele aankoopbewijs met vermelding van de aankoopdatum en de productaanduiding maar uw specialzaak ofrechtstreeks waar ons: Van Spijk B.V., De Scheper 402, NL-5688 HP Oirschot. Wij adviseren u waarom uw aankoopbewijs zorgvuldig te bewaren tot de garantieperiode is verlopen.
12. Verhelpen van storingen
Apparaat zonder spanning.
- Zekering nicht ingeschakeld of defect.
- Zekering inschakelen.
Defecte zekering verrangen. - Kabel onderbroken.
- Kabel testen met spanningstester.
- Kortsluiting in de stroomtoevoer.
- Aansluitingen controlleren.
- Eventueel aanwezige netschakelaaruit.
- Netschakelaar inschakelen.
-
Schemerinstelling verkeerd gekozen.
-
Schemerinstelling opniew instellen.
- Netschakelaar UIT.
-
Netschakelaar stellen.
-
Zekering nicht ingeschakeld of defect.
-
Zekering inschakelen.
Defecte zekering verrangen. -
Snelle bewegingen worden onderdrukt om storingen te vermijden of het registratiebereik is te Klein of nicht correct.
- Registratiebereik controlleren en aanpassen.
- Lichtbron defect.
- Delichtbron kan nicht worden verrangen. Het complete apparaat verrangen.
-
Permanente beweging in het registratiebereik.
-
Registratiebereik controlleren.
- Indien nodig het registratiebereik verkleinen of veranderen.
Het apparatus schakelt ongewenst aan.
- Apparaat Niet veilig voor bewegingen gemonteerd.
- Apparaat stevig monteren.
- Er was een beweging, maar deze werd nicht als zodanig herkend (beweging anschter muur, beweging van een Klein object in de directe omgeving van de lamp etc.).
- Bereik controlleren.
- Indien nodig het registratiebereik verkleinen of veranderen.
IT
Indices
PE = conductor de protectie (verde / galben)
Reglarea zonei de detectie
Suprafata de proiectie:
XLED PRO ONE S: 180 cm²
XLED PRO ONE PLUS S / Max S: 254 cm²
XLED PRO ONE: 180 cm²
XLED PRO ONE PLUS / Max: 254 cm²
- Greunate:
XLED PRO ONE S: 1,45 kg
XLED PRO ONE PLUS S: 1,7 kg
XLED PRO ONE Max S: 1,72 kg
- Clasa de protectie IP: IP44 / I
Putere de comutare supplimentara
XLED PRO ONE S / PLUS S / Max S:
- Sarcina bec / lampa cu halogen: 1.500 W
- Lämpi cu tub fluorescent, balast electronic: 430 W
- Lämpicutubfluorescent,necompensate:500VA
- Lâmpi cu tub fluorescent, compensate in sir: 900 VA
- Lämpi cu tub fluorescent, compensate parallel: 500 VA
-Lampi cu halogen, cu voltaj mic: 1.500 VA - Lâmpi cu LED < 2 W: 16 W
- 2 W< lampi cu LED< 8 W: 64 W
-Lampi cu LED >8 W: 64 W
-Sarcinacapacitiva: 88 F
-MiScare permanenta in zona de detectie.
Notice-Facile