KDL42W706 - Телевизор SONY - Бесплатное руководство пользователя
Найдите руководство к устройству бесплатно KDL42W706 SONY в формате PDF.
Скачайте инструкцию для вашего Телевизор в формате PDF бесплатно! Найдите своё руководство KDL42W706 - SONY и возьмите своё электронное устройство обратно в руки. На этой странице опубликованы все документы, необходимые для использования вашего устройства. KDL42W706 бренда SONY.
РУКОВОДСТВО ПОЛЬЗОВАТЕЛЯ KDL42W706 SONY
YP_BPR (Videocomponente): 1080p (50, 60 Hz),
1080i (50, 60 Hz), 720p (50, 60 Hz), 576p, 576i,
480p, 480i
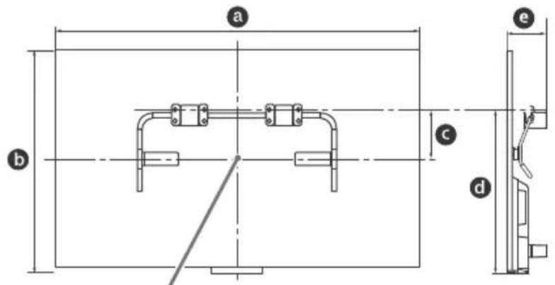
| Име на MODEЛ KDL- | Раимери на ekранa | Раимер на цentьра на ekранa | Дылхинa 3a мONTах | |||
| a | b | c | d | e | ||
| 50W82xB/ | ||||||
| 50W81xB/ | 111,6 | 65,6 | 13,0 | 46,9 | 11,8 | |
| 50W80xB/ | ||||||
| 50W70xB | ||||||
| 42W82xB/ | ||||||
| 42W81xB/ | 95,8 | 56,3 | 17,5 | 46,5 | 11,8 | |
| 42W80xB/ | ||||||
| 42W70xB | ||||||
| 32W70xB | 72,9 | 43,3 | 18,8 | 41,3 | 11,3 | |
3a6eJekka
- Yncnata B Ta6nlaT a MoKe MaNko Da ce pa3nuaBaT B 3aBNCMOCT OT HaunHa Ha n3BbPwBaHe Ha MOHTaxa.
3 Hapabete 3HaK Ha xapTneHn Ma6JIoH A, KOITo Noka3Ba ceHTbpa Ha ekpaHa Ha Baunr TeJeBn3Op.
KDL-50W82xB,KDL-50W81xB, KDL-50W80xB,KDL-50W70xB
KDL-42W82xB,KDL-42W81xB, KDL-42W80xB,KDL-42/32W70xB
JINHnHaXapTneHwa6bNoH A
Данная HabToьная ПОдТаВКа ДЯ TeleБиЗopa 6удET ИСПОЛБ3OBaTbСЯ KAK KOMПОHEHT KPOHSTeHa Дя HabTeHHOу YCTaHOBKN.
PpumeyaHne
- Ipeep MOHTaxOM KPOHHTeHa dI HaCTEHOn yCTaHOBKn cM. cTp. 3 (CbeHeHn no 6e3oNaCHOctn) n cTp. 6 (Mepb npEOCTOPOXHOCTn) B pa3dJe KPOHHTeH dI HACTEHOn YCTAHOBKn.
- EcnHacToBHaNoCTabKa NoCoEaHHeHa K TeJeBn3Opy, ee Heo6xoJMo CHrTb 3apaHee.
- IIOJXHTeJIeBn3Op 3KpaHOM BHN3 Ha yCTOuYByIO NIOCKyIO NOBepxHOCTb, 3aCTeJIeHHyIO MRAK0I NIOTHOIN KAHbIO, KOtOpA 6oNbIe erO IO pa3Mepy, pN KpeJIeHmIO nOCTaBKn IN CHrTN HAcTOLbHOI NODCTaBKn C TeJIeBn3Op aI IpeDToBpaueHn IOBpeXDeHn IOBepxHOCTn 3KpaHa XXII.
- Pocne OTOeINHeHnB BepTKaJIbHbIX KPOHHTeHOB OT NOCTaBK, XpaHNTe BepTKaJIbHbIe KPOHHTeHbI IN BnHTbl BHaJeKHOM MecTe.
- PnIOBTOHOM KpeIeHN HaCToBHO NOCTaBKn O63aTeJbHO BKpyTInTe BnHTbl (BbIKpyHeHHble paHee) BCXOHDhIE OTBepCTNu Ha 3aDHeu qACTn TeJeBn3Opa.
- IpeBkIIOueHnEM TeBn3Opa y6eNTcB, yTO OH paONIOXeH BepTKaJIbHO. TeBn3Op HeJIb3A BKIOaTb, ecNIIaHeJb KKnO6paUeHa BHN3, YTO6bI N36ExKaTb HepaBHomepHOro oPmIpOBaHnI 306paXeHnI.
OTcoeINHeHne HaCToJIbHOI NOICTaBKn OT TeJIeBN3Opa

1 NpOdrToBka Heo6xOaMbIX 3JIeMeHTOB.
PpHaJExKHOCTn KPOHHTeHa dIa HaCTeHHoYcTaHOBKn (npNaIarotc)
A ByMaXHbI WAp6JIoH
B OCHOBaHne JIa KpeJIeHna Ha CTeHy KDL-50W82xB, KDL-50W81xB, KDL-50W80xB, KDL-50W70xB (2) KDL-42W82xB, KDL-42W81xB, KDL-42W80xB, KDL-42/32W70xB
3aunthoe npncno6leHne IJnIOCTabKn KDL-50W82xB, KDL-50W81xB, KDL-50W80xB, KDL-50W70xB (2) KDL-42W82xB, KDL-42W81xB, KDL-42W80xB, KDL-42/32W70xB (1)
BnHT (+PSW6× 12) (2)




E PpoklaKa (2) F PnactHa KpbIshK
KpoHsTeHa
KDL-50W82xB,
KDL-50W81xB,
KDL-50W80xB,
KDL-50W70xB (2)
KDL-42W82xB,
KDL-42W81xB,
KDL-42W80xB,
KDL-42/32W70xB (1)
G BuHT (+PSW4× 10)
KDL-50W82xB,
KDL-50W81xB,
KDL-50W80xB,
KDL-50W70xB (2)
KDL-42W82xB,
KDL-42W81xB,
KDL-42W80xB,
KDL-42/32W70xB



Iopctabka (npnlararetca)
H

Bnhtbl nla ochoBaHna I na KpenneHna HcTeHy (nnaMeTpom 8 MM, Ha npunaotca)
KDL-50W82xB,
KDL-50W81xB,
KDL-50W80xB,
KDL-50W70xB (8)
KDL-42W82xB,
KDL-42W81xB,
KDL-42W80xB,
KDL-42/32W70xB
2 Y6eIntecb, yTo Ha cTeHe nMeetcA DOCTaTOUHO MeCTa H OHa DOCTaTOUHO npOuHa, yTo6bI BbIepXaTb BeC No KpaHHe Mpe B YeTbIpe pa3a npeBbIwaIOUsn Bec yCTaHaBJIbAmoro TeJeBn30pa.
Cm. cIeNyUOyU Ta6nUy no yCTaHOBKe TeJeBn3Opa Ha cTeHy. Bec TeJeBn3Opa cm. Ha cTp. 16-19 (TexHnueckne xapaKTepeNCTnKn).
KDL-50W82xB,KDL-50W81xB,KDL-50W80xB,KDL-50W70xB

LcHTpabHnaTOUkaKpaHa
KDL-42W82xB, KDL-42W81xB, KDL-42W80xB, KDL-42/32W70xB

LcHTpaBnaTouKa ekpana
EduHnua n3MepeHna:cm
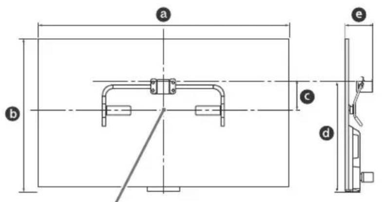
| Названные** м odeл КDL- | Разmersы зкранa | Положения центра экранa | Длина для установки | |||
| a | b | c | d | e | ||
| 50W82xB/ 50W81xB/ 50W80xB/ 50W70xB | 111,6 | 65,6 | 13,0 | 46,9 | 11,8 | |
| 42W82xB/ 42W81xB/ 42W80xB/ 42W70xB | 95,8 | 56,3 | 17,5 | 46,5 | 11,8 | |
| 32W70xB 72,9 | 43,3 | 18,8 | 41,3 | 11,3 | ||
PpimeyaHne
PncyHKn B Ta6JIue MoIYr HEMHOrO OTINuAaTbCra B 3aBcunMoCTn OT YctaHOBKn.
3 NocTaBbTe MeKy Ha 6ymaxHOM 7a6NoHe A, yKa3bBaIOuIyU cHTp 3KpaHa TeNeBn3opa.
KDL-50W82xB,KDL-50W81xB,
*Причесаиме: Масимальные 3начени дд обохи паметров Н могут 6ыт Достпгунть оDHOBpeMeHNo.
Paboya Tempeatypa: ot 0 do 40^ .Pa6oay OTHOCHTbHa BnaxHocTb:10-80%
OTHOCHTeBHaBnAaXHoCTb (6e3 KOHdEHaCunN).
3JIeKtpoNTaHne n npOee
3JIeKtpoNTaHnE
19,5 B noctoHHoro TOka c aanTeporm nepemehoro TOka
HomnHaJIbHoe 3IeKTpOnuTaHne: BxOJHoe 3IeKTpOnuTaHne 220 B-240 B nep. ToKa, 50 Tc
Klacc 3HepronoTpe6neHn
KDL-50W82xB, KDL-50W81xB, KDL-50W80xB, KDL-50W70xB: A++
KDL-42W82xB, KDL-42W81xB, KDL-42W80xB, KDL-42W70xB: A+
KDL-32W70xB:A
Pa3Mep əkpaHa (no dnaarOHaJI) (Pp6JI.)
KDL-50W82xB,KDL-50W81xB,KDL-50W80xB
Приимechаиме В OTношени Кфpoвогor TB
Bce yHKuIN,OTHOscIuecKUHPOBOMY TB(D3),6ydyT DeiCTBOBaTb TOnbKO B Tex CtpaHax INIpeNIOHAX,B KOTOpbIX BeDeTCs 3HnHaa UeHOBa TpaHCJIaCnCnHaD DVB-T/DVB-T2 (MPEG-2 nII H.264/MPEG-4AVC),INI oBeCeNuBaETcdoCTynK COBMecTmOMy Ka6eNbHOMyUHOBOMy BeuaHIO DVB-C(MPEG-2 nII H.264/MPEG-4AVC).Ipcum BacYTOHTb Y CBOero DNIEpa,MOxHO JINpINHMaTB CNrHaI DVB-T/DVB-T2 TaM,rdeBblXNBete,INI y3HaTbY CBOeronpoBaIepa Ka6eNbHOToTeVeBnDEHnJDOCTyNHa IIN PpeIOCTabLReMaIM ycNyraKa6eNbHO BeuaHna DVB-C dJa BaWeroTeJeBn3Opa.
- П ровай дер кабел bHoro TB moket yctaHOBntbdoNOLHnTeJbHbIc6op 3a TaKyu ycnyu nNotpe6oBaTb ot Bac corlaacra CO CBOUMN YCNOBnMn.
XOTYdAHHbI TeJeBn3Op yIOBJIeTBOPaRexapaKTepeNcTikam DVB-T/DVB-T2 n DVB-C, Mbl He MoXem rapaHTnpoBaTb erO COBMeCTMOCt b C6yDyUzIM UΦpOBbIM 3ΦnPbIM BeuHaHem BΦopMaTe DVB-T/ DVB-T2 n UΦpOBbIM Ka6eJbHbIM BeuaHHeM BΦopMaTe DVB-C. - HeKOTOpbIe n3 φyHKnI ΣnφpOBOrO TB B HeKOTOpbIX CtpaHax/perNoHax MOrYT 6bITb HeDOctUHbIMN, a npaBnIbHbI πpIeM CnRHaJa CtaHdApTa DVB-C MoXeT 6bITb ObecneueH HeДЯ BCex npOBaIepOB Ka6eJIbHorO TB.
HOpMaunO TOPROBIX MapKax
- TepmnbHbHDMI, HDMl High-Definition Multimedia Interface nIorotn HDMI yBJIOTcTobapHbIMn 3HaKaMn nJIN 3apeRNCtpnpOBaHHbIMn TOBapHbIMn 3HaKaMn HDMl Licensing LLC B CUSA n dpyrnx cTpaHax.
DLNA, Iorotn DLNA n DLNA CERTIFIED RABJIOTc TOBapHbIMN 3HaKaMn, 3HaKaMn 06CnyKuBaHnI Nn 3HaKaMn cepTnΦnKaunn KomnaHn Digital Living Network Alliance.
-ПюиЗВeДeно NO ЛицeH3nN Dolby Laboratories.НаЗВaHne Dolby n cIMBOJ C DBOИн 6уКВОД DЯЛЯTOс TOpROБыМИ Маркамn Dolby Laboratories. - "BRA VIBARAVIAAЯВяюТСЯTOPROBIMn Mapkamn KompanHn Sony Corporation.
TrackID YBJI IO TcT O p rOBbIMn 3aHtAMN.
IIN 3apeRnCTpnpOBaHHbIMn TOpROBbIMn
3HaKaMn Sony Mobile Communications AB. - Gracenote, Gracenote eyeQ, Gracenote VideoID, Gracenote Video Explore, Gracenote MusicID, Amblema n Iorotn Gracenote, a taKxe Iorotn "Powered by Gracenote" YBJIOTc3apernctpnpoBaHHbIMu TOBapHbIMn 3HaKaMn INI TOBapHbIMn 3HaKaMn Gracenote B CUSA n/INn dpynx cTpaHax.
- Opera® Devices SDK from Opera Software ASA. Copyright 1995-2014 Opera Software ASA. All rights reserved.
Wi-Fi, Wi-Fi Direct and Miracast ABJIOCT TOBapHbIMN 3HaKaMn ININ 3apeTnCTpnpOBaHHbIMN TOBapHbIMN 3HaKaMn Wi-Fi Alliance.
- "Sony Entertainment Network logo"и "Sony Entertainment Network"явяютая Toproвими Марками Компани Sony Corporation.
- MHL, Mobile High-Definition Link Илоготин MHL явлиются TOВарныIMN 3HaKaMaN ИЛЗаразгострпюВаHHыIMN TOBapныIM 3HaKaMaN KOMпани MHL Licensing, LLC.
CBeHeHnO nTaHTax DTS cm. http://patents.dts.com. N3roToBneHo no IuIeH3nn DTS Licensing Limited. DTS, CmBOJ, a TaKxe DTS u CmBOJ BMeCTe YBIAOTc3apeNtCPnPoBaHHbIMn TOBAPbIMn 3HaKaMn, a DTS Digital SurroundЯBJIaTeTcTOBAPbIM 3HaKOM DTS, Inc. © DTS, Inc. Bce npaba 3aunuJeHbl.
- Designed with UEI Technology™
Under License from Universal Electronics Inc. Portions © UEI 2000 - 2013
3nak Bluetooth® nIoroTnblipnHaJnEkaT Bluetooth SIG, Inc., IIO6oeHX nCnoJIb3OBAHne Sony CorporationIINcH3nPoBaHO. Bce ocTaJIbHbIETOPROBbie MapKu N TopROBbieHaUMeHOBAHNA RBLIAOTCAco6CTBeHHOCbIO COOTBETCTBYUUXBlaJeNbueB.
DiSEqCTM YBnEeTcTobapHbIM3H EUTELSAT. DaHHbI TeJeBn3Op nOJIepXnBaET npOTOKoN CBa3n DiSEqC 1.0. DaHHbI TeJeBn3Op He npedHa3NaueH dJa ynpabHeH NMOtOpn3OBaHHbIMN
RU
3MICT
BAKJIIBA INPIMITKA 2
Bidiomocti 36e3nekn 3
3aTepeXHi 3axoNi 5
HactiHHe KpinIeHHra 7
Плготовka до Всановленة Telebi3opa
1 BnKpyiTb rBnHTn 33aNy Ha TeJIeBi3opi. TpMaIte BnKpyeHi rBnHTn B 6e3neHOMy, HeIOCTynHOMy dIra diTei Micui.

2 BCTaBte cTepeXeHb (Ha npoTeKTopi InI niBicy ©) B OTBip Ha nIiBici i 3akpnIte npoTeKTop InI niBicy ©. NepekoHaItecra, lo npoTeKTop InI niBicy © HadiHo Tpmaetbcra Ha niDbici H.
KDL-50W82xB,KDL-50W81xB, KDL-50W80xB,KDL-50W70xB
KDL-42W82xB,KDL-42W81xB, KDL-42W80xB,KDL-42/32W70xB

3 Ipnkpinitb niBic H do TeIeBi3opa 3a donomoroIO rBNHTIB i3 KOMnJIeKTy noCTaHn. BCTaBTe wai6n E B OTBOpN, nO3NaueHi TpIKyTHnKamn A. Jna IInOCTpaui BnKOpNCtAoMoJeIb KDL-50W82xB, KDL-50W81xB, KDL-50W80xB, KDL-50W70xB.

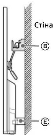
BcTaHOBJIeHHaTeJIbI3opaHa cTIHi
1 Ipeed BCTaHOBHeHnMaTeIeBi3opa Ha cTIi NiKJIouItb i 3B'JxItb Ka6eni.
2 BctaHObitb TeIeB13Op Ha cTIHi. NepeKoHaIteCra, 0io npoteKTop IJIiBicy CHaIDIHO TpIMaETbcRA B HAcTIHHI 6a3i 8, a WaIb6n E TopKaIOTBcRA Do CTIH. PpIKpyITb BEpxHIO KpnIshky KPOHHTeHa F 3a DonOMOrO rBNHTIB i3 KOMNKeTy NOCTaAHHg G.


KDL-50W82xB,KDL-50W81xB, KDL-50W80xB,KDL-50W70xB

0
KDL-42W82xB,KDL-42W81xB, KDL-42W80xB,KDL-42/32W70xB

1

2

2

Pozmipn dIy CbeplinHry OTbopib y CTiHi
HaataTeIIOIHΦOpMaζIIOJIiεH3OBAHOMYπIDpI.HNKy.
ПростаяИнструкция