KDL42W706 - Televizyon SONY - Ücretsiz kullanım kılavuzu
Cihazın kılavuzunu ücretsiz bulun KDL42W706 SONY PDF formatında.
Cihazınız için talimatları indirin Televizyon PDF formatında ücretsiz! Kılavuzunuzu bulun KDL42W706 - SONY ve elektronik cihazınızı yeniden ele alın. Bu sayfada cihazınızın kullanımı için gerekli tüm belgeler yayınlanmaktadır. KDL42W706 markasının SONY.
KULLANIM KILAVUZU KDL42W706 SONY
Güvenlik Bilgileri. 3
Uyarilar 5
Televizyonu Duvara Monte Etme 7
Aparatlari duvara monte etme 8
Televizyonun montaji[in hazirlanma .11
Televizyonu duvara monte etme. 12
Sorun Giderme 14
Sorunlar ve Czümleri 14
Spesifikasyonlar 15
Giris
Bu Sony urununu sektiginiz icin teşekür ederiz.
Televizyonyu calistirmadan once, lütfen bu kullanim talimati kitapçiginiyice okuyunuz ve de ileride kullanmak uzere saklayiniz.
Not
- Televizyonu calistirmadan once, lufen "Güvenlik Bilgileri" (sayfa 3).
- "Televizyonu Duvara Monte Etme" ile ilgili talimatlar, butelevizyonun kullanim kilavuzunda verilmistir.
- Hizli Baskiç Kilavuzu ve bu kilavuzda kullanananGORuntuler ve cizimler yalinizca bilgi incindir ve urunun asil gorumumunden farkl olabilir.
Tanim etiketinin konumu
Televizyon Model No, Uretim Tarihi (ay/yl) ve Guc Beslemesi nominal degerleri iqin etiketler televizyonun vya ambalajn arkasinda bulunur.
Elektrik adaptorörün Model No ve Seri No etiketleri elektrik adaptorörün其中之一 bulunur.
UYARI
YANGIN CIKMASINI ÖNLEMEK IÇIN, MUM VE BASKA AÇIK ALEV

KAYNAKLARINI BU URUNDEN HER ZAMAN UZAKTA TUTUN.
ONEMLI NOT
Bu urun, Sony Corporation, 1-7-1 Konan Minato-ku Tokyo, 108-0075 Japonya tarafindan veya onun adna ureilmistir. Avrupa Birigi mevzuatina dayanlarak urun uyumlulu g konusundaki sorgulamalar, Hedelfinger Strasse 61, 70327 Stuttgart, Almanya adresindeki yetkili temsilci, Sony Deutschland GmbH'ye ilgilenmektedir. Servis veya garantyle ilgili konularda, servis veya garanti belgelerinde verilen adreslere basvurunuz.
Kablosuz Sinyalle Ilgili Not
Sony Corporation, bu urün yüz gerekli tüm testleri 1999/5/EC Direktifine ve bunun ilgili diger Şartlarina gü rapmş bulunmaktadir.

Daha detayli bilgi icin luften web sayfasini ziyaret ediniz: http://www.compliance.sony.de/
Müsteriler icin not: Asagidaki bilgiler sadece AB yonetmeliklerini uygulayan ülkernde satilan cihazlar icin gecerlidir.
Televizyon kablosuz sistemi sadece aşagidaki ükelerde kullanilabilir;
AT, BE, HR, CY, CZ, DK, EE, FI, FR, DE, GR, HU, IE, IT, LV, LT, LU, MT, NL, PL, PT, SK, SI, ES, SE, GB, IS, LI, NO, CH, BG, RO, TR, AL, BA, MK, MD, RS, ME
Bu cihaz Avrupa harici ülkelerde calistinilabilir.
Güvenlik Bilgileri
UYARI
Piller gunes iisgi, ates ve benzeri asiri isi kaynaklarina maruz birakilmamaldir.
Montaj/Kurulum
Herhangi bir yangin, elektrik carpmasi vya hasar ve/veya yaralanma riskini onlemek amaciyla televizyon setini asagidaki talimatlara uygun olarak monte ediniz ve kullaniniz.
Montaj
Televizyon seti, erisimi kolay bir prisin yakinna montedilmelidir.
- Televizyonun dusup yaralanma veya maddi hasara yol acmasini onlemek icin tevizyonu sabit, diz bir yüzeye yerlestirin.
- Duvara montaj islemlerini sadece kalifiye servis personeli gereceklestirmelidir.
Emniyet nedenlerindei otur, Sony aksesuarlini kullanmaniz onmle tasyie ederiz, buna aagidaki bileşen de dahildir: Duvar Aski Aparati
Montaj kancelarini (sehpa) televizyon setine takarken Duvar Aski Aparatiyla birlikte verilen vidalari kullandiiginizdan emin olun. Birlikte verilen vidalar, montaj kancasinin (Sehpa) takilma yuzeyinden okuldugunde sekilde gosterildigi gibi tasarlannistr.
Vidalarin capi ve uzunlu, duvar aski aparatinin modeline baglolarak degisiklik gosterir. Temin edilmis vidalarin haricinde baska vidalarin kullanilmasi, TV setinin ic kisminin zarar gormesine vya dusmesine vs. neden olabilir.

Vida (Duvar Aski
Aparatiyla verilir)
Montaj Kancasi (Sehpa)
TV setinin arka tarafindaki
kanca baglantisi
Nakliye
- Televizyon setini tasimadan once, tum kabolarini dokunuz.
- Buyuk bir televizyon setini tasimak icin iki veya üç kisi gerekir.
- Televizyon elle taşınirken asagida gosterildigi sekilde tutun. LCD panele ve ekranin etrafindaki muhafaza kasasa baskı uygulamayiniz.

- Televizyon setini taşirken, sarsintilara ve asiri titresimlere maruz birakmayiniz.
- Televizyon setini tamir icin tasirken veya yerini degistirirken, original karton ve ambalaj malzemelerini kullanarak paketleyiniz.
Devrilmeyi onleme
Metal vidasini takmadan once, ekrani yuz ustu olarak saqlam ve televizyondana daha buyuk bir yuzeyin uzerine koyun.
LCD ekranin yuzeyine zarar vermemek icin, calisma yuzeyinin uzerine yumusak bir kumas koyun.
Havalandirma
- Asla havalandirma deliklerini kapatmayiniz veya kabinin icine herhangi bir sey sukmayiniz.
- Televizyon setinin etrafinda, asagida gosterildigi gibi bos alan birakiniz.
- Yeterli hava sirkulasyonu saglamak icin mutlaka bir Sony Duvar Aski Aparati kullanmani z oneririz.
Duvara monte edildiginde

Setin etrafinda en az bu kadar bošluk birakiniz.
Stand ile monte edildiginde

Setin etrafinda en az bu kadar boşluk birakiniz.
Uygun bir havalandirma saglamak ve kir ve tozlarin birikmesini onlemek icin:
- Televizyon setini diz, bas asaqi, arkaya dogru vya yana donuk sekilde monte etmeviniz.
- Televizyon setini bir raf, hal, yatak uzerine veya bir dolaba monte etmeyiniz.
- Televizyon setini perde veya gazete gibi seylerle ortmeyiniz.
- Televizyon setini asagida gosterildigi gibi monte etmeyiniz.

Hava sirkulasyonu tikali
Ana elektrik kablosu
Herhangi bir yangin, elektrik carpmasi veya hasar ve/veya yaralanma riskini onlemek amaciyla, elektrik kablosu ve fisi ile ilgili atau asagidaki hususlara riayet ediniz:
Sadece Sony tarafindan temin edilen elektrik kabolarini kullaniniz, farki tedarkilerden temin edilenleri kullanmayiniz.
Fisi elektrik prizine tam olarak Sokunuz.
- Televizyon setini sadece bir 220-240 V AC elektrik kaynagi ile calistirniz.
Kablo baglantilarini yaparken, guvenliginiz icin elektrik fisini cekmeyi unutmayiniz ve ayaklarinizin kablolara dolasmasinas dikkat ediniz.
- Televizyon seti ile ilgili bir is yapmadan veya tasmadan once, elektrik fisini prisden cekiniz.
Ana elektrik kablosunu isi kaynaklarindan uzak tutunuz.
Elektrik fisini priszen cekiniz ve fis diu zeni olarak temizleyiniz. Eger fis tozla kaplanira sa v nemlenirse, yaltimi bozularak bir yangina neden olabilir.
Not
- Ürünle birlikte verilen ana elektrik kablosunu böşka bir cihazda kullanmayıniz.
Ana elektrik kablosunu asiri derecede sikistirmayiniz, bukmeyiniz veya kivrmayiniz. Icindeki iletkenler aiga qikabilir veya kirlabitilr.
Ana elektrik kablosunda bir degisiklik yapmayiniz.
Ana elektrik kablosunun uzerine aqir bir sey koymayiniz. - Elektrik fisini prizden cekerken kablosundan tutarakcekmeyiniz.
- Birden fazla cihazi ayni prize takmayiniz.
- Gevsek durumdaki elektrik prizlerini kullanmayiniz.
GUC ADAPTORUYLE ILGILI NOTLAR
Uyari
Elektrik carpmasi riskini azaltmak icin bu cihazi yagmura veya neme maruz birakmayin.
Yangin veya elektrik carpmasi tehlikesini onlemek icin, cihazin uzerine vazo gibi icin sivi dolu nesneler koymayin. Bu cihazi kitaplik rafi ve benzeri bir unite gibi bir kapali alana monte etmeyin.
Lutfen guc prizinin cihazin yakinina bulundugundan ve erisiminin kolay oldugundan emin olun.
Birlakte verilen guc adaptororunve guc kablosunu kullandiginizdan emin olun.
- Baskar bir guc adaptor kullanmayin. Bu, anizaya yol acabilir.
- Guc adaptorunu kolay erisilebilir bir guc prizine baglayin.
- Guc kablosunu guc adaptorun un etrafina sarmayin. Kablonun icindeki teller kopabilir ve/veya medya alicisin anzalanmasina sebep olabilir.

- Guc adaptorüne islak elle dokunmayin.
Guc adaptorunde bir anormallik fark ederseniz, adaptoru derhal guc prisinden ayirin.
Cihaz kapatilmis olsa bile, guc prisine bagli kaldi ürece cihazin guc kaynagiyla baglantisi kesilmez. - Uzun sure kullanildiginda isindiigi icin guc adaptoru elle tutulduunda sicaklik hissedilebilir.
Yasaklanmış Kullanım
Televizyon setini, asagida belirtilenler gibi yerderde, ortamlarda veya durumlarda kullanmayiniz/monte etmeyiniz, aksi halde televizyon seti oriza yapabilir ve yangina, elektrik carpmasina, hasara ve/yeya yaralanmaya neden olabilir.
Yer:
Di mekanlara (direk gunesisigi altina), deniz kiyisina, bir gemiye veya baska bir tekneye, bir aracin iine, medikal kurumlara, dengesiz yerlere, suyun, yagmurun, nemin vya dumanin oldugu yerlerin yakinia.
- Televizyon bir halka açık hamamin veya kaplicanin soyunma odasin yerleştilirse, havadaki sülfur vb.sebebyle televizyon zarar gorebilir.

- En iyi resim kalitesi için, ekrani aydinlatmalara veya güneş igina dokrudan maruz birakmayin.
- Televizyonu soguk bir yerden sicak bir yere tasimaktan kaçınin. Ani oda sicakligi degisimleri nem)yogunlasmasa yol acabilir. Bu, televizyonun göruntüleri ve/veya renkleri kotu goruntülemesine yol acabilir. Böyle durumlarda televizyonu açmadan once nemin tamamen buharlasmasın bekleyin.
Ortam:
- Sicak, nemli veya aşirtozlu yerler; bóceklerin girebileçgi yerler; mekanik titresime maruz kalabilecek yerler, yanı maddelerin yani (mumlar, v.s.). Televizyon setine su damlari veya su sıçramalari gelmemelidir ve vazo gibi ici sivi dolu eşylar televizyonun üzerine konulnamaldir.
- Televizyonu nemli veya tozlu bir yere veya yağlı dumanin veya buharin bulundugu bir odaya (yemek pişirme tezgahi veya nemlendirme cihazlarin yakınina) yerlestirmeyin. Aksi+takirde yangin, elektrik carpması veya deform olma risikoluşur.
- Televizyonu dokrudan gunesi, bir radyatorun arkasi veva bir istma kanali gibi, asiri kasiklikara maruz kalacagi velerere monte etmeyin. Televizyon, kasasin deforme olmasina ve/veya televizyonunu anzalanmasna sebeb olacak kadar asiri isinabilir.



Durum:
- Elleriniz islakken, cihazin kasasi açikken veya üretici tarafindan onerilmeyen aksesuarlar takiliyken cihazi kullanmayiniz. Yildiriml havalarda televizyon setinin elektrik ve anten baglantisini cekiniz.
- Televizyonu, açık bir alana taşacak bicomde monte etmeyin. Televizonya carparak yaralanma veya maddi hasar olusibilir.

Kirik parçalar:
- Televizyon setine herhangi bir sey firlatmayiniz. Ekran cami carpma etkisi ile kurlabilir ve ciddi yaralanmalara neden olabilir.
Eger televizyon setinin yuzeyinde catlama olursa, elektrik kablosunu prisden cekinceye kadar dokunmayiniz. Aksi halde elektrik carpabilir.
Kullanilmadiğnda
Eger televizyon setini uzunca bir sure kullanmayacaksaniz, cevresel ve emniyet nedenlerinden oturu televizyon setinin fisi priszen seksilmelidir.
- Televizyon setini sadece kapatmi olduğunuzda elektrik beslemesi kasilimi olmayacàğindan, televizyon setinielektrîqīnī tamamen kesmek icin fişimi prizden cekiniz.
Bununla birlikte bazi tevizyon setleri, duzgün calisabilmesi icin beklemde durumnda birakilmasinı gerektiren özellijklere sahip olabilir.
Cocuklar icin
Cocuklarin televizyon setine tirmanmalarina izin vermeyiniz.
- Kucuk aksesuarli, cocuklarin yanliskla yutmaması icin, cocuklarin ulasamayacagi yerlere kaldiriniz.
Aşaqidaki problelmer ortaya çikarsa...
Asgidaki problemlerden birinin olmasi durumunda, televizyon setini kapatiniz ve fisini priszen cekiniz. Saticinizdan veya Sony yetkili servisinden, kalifiye servis personelence kontrl edilmesini talep ediniz.
Eger:
Elektrik kablosu hasarliysa.
Elektrik przy gezek durumdaysa.
Dusmeden, darbelerden veya bir seyin carpmasindan oturu televizyon seti hasar gormisse.
- Herhangi bir svi veya katc cisim kasadaki menfezlerden iceri dusere.
LCD Monitor Sicakligi Hakkinda
LCD Monitor uzun sure kullanildiginda panelin cevresi isnir. Ellediginizde sicutlighissedebilirsiniz.
DUVAR ASKI APARATI
Asagidaki bilgide Duvar Aski Aparatinin{nasi doogrku kullanilacaigosterilmektedir. Bu bilgiyi iyice okuduugunuzdan ve Duvar Aski Aparatini dogru kullandiginizdan emin olun.
Müsterilere:
Yangin, elektrik carpmasi, urunun devrilmesi veya urunun dusurulmesinden kaynaklanan ciddi yaralanmalar onlemek icin asagidaki emniyet uyarilaruna uyduqunuzdan emin olun.
- Montaji lisansi taseronlara yaptirin ve montaj sirasinda kucuk cocuklari uzakta tutun.
- Televizyonu taşima ve seksme,islerini lisansl taşeronlara verin.
- Televizyonu monte ettikten sonra vidalan ve benzerini sokmeyin.
Duvar Aski Aparatinin parcalari uzerinde degisiklik yapmayin.
- Belirtilen urun haricinde herhangi baska bir ekipmani monte etmeyin.
- Duvar Aski Aparatina televizyon haricinde herhangi巴斯ka bir yuk uyqulamayin.
- Televizyona yaslanmayin ve asilmayin.
- Temizleme veya bakim sirasinda televizyon üzerine aşir kuvet uygulamayin.
Sony Bayilerine ve Yüklenicilerine:
Asagidaki yonergeler sadece Sony bayileri ve yuklenicileri icindir. Asagida belirtilen emniyet onlemlerini okuyun ve bu urun umontaji, bakimi ve kontrlu sirasinda emniyete ozellike dikkat edin.
- Televizyon setini tasirken veya monte ederken, yanlarindan tutun. Televizyonu Sehpadan kaldirmayin.

Duvar Aski Aparatini, televizyon koselerinin veyakenarlinin duvar yuzeyinden disari tasti duvar yuzeylerine monte etmeyin.

-
Televizyonu bir klima cihazinin uzerine veya altina monte etmeyin.
-
Bu kullanim kilavuzundaki talimatlara uyarak Duvar Aski Aparatin dinuvara guvenli bir sekilde monte edildiginden emin olun. Herhangi bir vida gevsekse vya yerinden cikarsa, Duvar Aski Aparati dusebilir ve yaralanma vya maddi hasara yol acabilir.
-
Bu kullanim kilavuzundaki talimatlara uyarak birlikte verilen vidalari ve ek parçalarıDOGRU kullandiginizdan emin olun. Baska parçaları kullanirsaniz, televizyon扭矩bilir ve yaralan veya televizyona zar reverte bilir.

- Aparati, bu kullanim klavuzunda açıklanan talimatl prosedürleri takip ederek monte etmeye dokat edin.
Vidalarilgili konumlarda iyice sikiqinizdan emin olun.
-
Montaj sirasinda televizyonun darbeye maruz kalmamasina dikkat edin.
-
Televizyonu dikeye ve diz bir duvara monte etmeye dikkat edin.
-
Televizyonu.Doğru bir sekilde monte ettikten sonra kabolari duzgün olarak sabitleyin.
Elektrik kabolarinin veya baglanti kabolarinin ezilmese izin vermyein. Aksi faktirde kabanlon icindeki teller disi cikabilir ve kisa devreye veya elektrik kesilmese yol acabilir.

Uyarilar
Televizyonu seyretme
Bazi kisiler 3D video goruntulerini izlerken veya stereoskopik 3D oyunar oyarken rahatsizlik (gozlerin yorulmasi, bas donmesi veya mide bulantisi gibi) duyabilirer. Sony, tum izleyicilerin 3D video goruntulerini izlerken veya stereoskopik 3D oyunar oyarken duzenlin molarver mesini onerir. Gerekli alan molararin suresi ve sikligi kisiden kisiye degisir. Sizin icin hangisin en uygun olduguna kendiniz karar vermeniz gerekir. Rahatsizlik duyuduunuzda, rahatsizliginiz bona erinceye kadar 3D video goruntulerini izlemeye veya stereoskopik 3D oyunar oynamaya ara vermeniz gerekir; gerekl olduguna inaniyorsaniz bir doktora danisn. En yeni bilgiler icin, bu televizyonla kullandiginiz diger cihazlarin ve medyaralarin kulanim kilavuzlarini da okumaniz (i) ve web sitemize (http://support.sony-europe.com/) bakmaniz (ii) gereklidir. Kucuk cocuklarin (ozellile alte yasin altindakilerin) gorme duyulari halen gelismektedir. Cocuunuzun 3D video goruntulerini izlemesine veya stereoskopik 3D oyunar oynamasina izin vermeden once bir doktora (orn. cocuk doktoru veya goz doktoru) danisn. Yetiskiner yukaridaki onerilere uymaya ozen gostererek kucuk cocuklarini gozetmelidir.
3D gozluu ates yakini dokrudan gunes isigi alti veya guneste insinmi arabagibi yuksek sicakliktaki bir yerde kullanmayin, saklamayin vya birakmayin.
Simule 3D fonksiyonunu kullanirken, televizyon tarafindan gerekteletilen donusturme islemi sebebyle goruntulennen resmin onijinale gore degisik olduguna lufden dikkat edin.
- Televizyonun zayif isik altinda veya uzunca bir sure seyredilmesi gozlerinizi yoracagindan, tevizyonu orta dereceli bir isik altinda seyrediniz.
Kulaklik kullanirken, isitme hasarina neden olabileceginden sesi asiri seviyelerde olmayacak sekilde ayarlayiniz.
LCD Ekran
LCD ekran yuksek duyarllik teknojisiyle yapilmis ve pikselerin 99.99^ veya daha fazlasi etkin olmasina ragmen, LCD ekranda devamli olarak siyah noktar veya parlak isik noktarani (kirmizi, mavi, veya yesil) gorulebilir. Bu, LCD ekranin yapisalbir ozelligi olupbir ariza degildir.
- On filtrye bastirmayiniz veya Çizmeyiniz yada bu televizyon setinin üzerine esyalar koymayiniz. Göruntü dizgün gozukmeyebilir vya LCD ekran hasar gorebilir.
- Bu televizyon seti soguk bir yerde kullanillyorsa, görtunte dir lekelenme olusabilir veya görtü koyulasabilir. Bu bir ariza belirtisi degildir. Bu olay, sicutlin yuktelmesiyie birlte ortadan kalkar.
Hareketsiz grotulider devamlgrotulendiginde golgel er olusabilir. Birkac dadika sonra yok olabilir.
- Televizyon seti kullanimdayken ekran ve kasa isinabilitir. Bu, bir fonksiyon bozuklugu degildir.
LCD ekran, az miktarda bir sivikristal icermektedir. imha ile ilgili olarak yerel kanun ve tuzuklere riayet ediniz.
Ekran yüzeyi veya televizyon kasasinin kullanimi ve temizligi
Temizlik islemlerinden once, televizyon setine bagli olan elektrik kablosunun fisini prizden cekiniz.
Malzeme asinmasini veya ekran kaplamasinin asinmasini onlemek icin asagidaki onerilere riayet ediniz.
Ekrainin/kasanin tozun almak icin, yumusak bir bez ile nazikce siliniz. Eger toz cikmiyorsa, cok seyretilmis bir deterjan solusyonu ile hafficne nemlendirilmis yumusak bir bezle siliniz
Kesinlik TV'yeogrudan su ve deterjan puskurtmeyin. Ekranine ultina veya dis parcalara szabilir ve TV'ninicine girebilir, bu TV'd olasihasara neden olabilir.
- Asindirici bir bez, alkali/asitli bir temizleyici, asindirici temzik tozu veya akol, benzin, tiner veya bocek ilaci gibi uçucu bözücüler kullanmayiniz. Bu tur materyallerin kullanilmasi kauçuk ya da vinil malzemelere uzun sureli temas etmesi ekran yüzeyine veya kasa malzemese zarar verebilir.
- Uygun bir havalandirma saglamak icin havalandirma deliklerine periyodik olarakvakum uygulanmasi onerilmektedir.
- Televizyon setinin acisini ayarlarken, tevizyon setinin verinden oynamasini veya tablasindan kayip duşmesini onlemek icin yavasca hareket ettiriniz.
Opsiyonel Ekipmanlar
Elektransfizdati radyasyon yayan opsiyon bilisenleri veya herhangi bir ekipmani televizyon setinden uzak tutunuz. Aksi halde görtü bozulmasi ve/veya seste parazitlenme olabilir.
- Bu ekipman test edilmişir ve 3 metreden kisa bir baglanti sinali kablosu kullanıldigi EMC Yönetmeligiin belirledigi sinirlarla uyumlou oluguGORulm.']
F tipi fiş onerisi
ic tel, baglanti parcasindan azami 1,5 mm disari cikmaldir.

(F tipi fisin referans cizimi)
Uzaktan kumandayi kullanimla ilgili not
- Pilleri takarken kutuplari匐r yerlestirdiginizden emin olunuz.
- Farkli tipte pilleri bir arada veya eski ve yeti pilleri karistirarak kullanmayiniz.
- Pilleri, cevreye saygili bir sekilde imha ediniz. Belirli bolgelerde pillerin imhasiya ilgili duzenlemeler olabilir. Lutfen yerel makamlariniza danisiniz.
- Uzaktan kumundayi dikkatli kullaniniz. Düşürmeyiniz vya üzerine basmayiniz ya da üzerine herhangi bir sivi dokmeyiniz.
Uzaktan kumandayi bir isi kaynagi yakinina veya direk gunesi alan bir yere ya da nemli bir odaya koymayiniz.
Unitenin Kablosuz Fonksiyonu
- Tibbi cihazin calismasini etkileyebileceginden, bu uniteyi tibbi cihazlarin (kalp pili vb.) yakininda calistirmayin.
- Bu birim sifreli sinyaller gonderip/almakla birlikte, disaridan izinsiz mudahalelere karsi dikkatli olun. Bu konuyla ilgili karasilabilecek sorunlarda sirketimiz sorumluluk kabul etmemektedir.
DUVAR ASKI APARATI
- Televizyonu Duvar Aski Aparati takili olarak uzun sure kullanirsaniz, duvarin yapildigi malzemeye bagli olarak arkadaki duvara veya televizyonun ustunde renk degisimi olabilir vya duvar ka'idini yerinden ckabilir.
- Duvara Aski Aparati duvara monte edildikten sonra sökūldügunde vida delikleri kalir.
- Duvar Aski Aparatini mekanik titresimlere maruz kalacagi bir yerde kullanmayin.
Televizyon setinin imhasi

Eski Elektrik ve Elektronik Cihazlarim Imhası (Avrupa Birligi ve\ diger Avrupa ülkerinde ayrı toplama sistemleriyle uygulanmaktadir)
Urunun vya ambalaji uzerindeki bu sembol, bu urunun bir ev atigi gibi muamele gormemesigekektigini belirb. Bunun yerine, elektrkli ve elektronik cihazlarin geri donusum icin uygun
toplama noktasina teslim edilmedir. Bu urunun dogru bir sekilde elden cikarimalasi saglayaruk, uygunsuz bir elder ickarma durumunda cegrve vsin sagliqisindan dokacak potansiyel olumsuz sonuclarin onlenmesine yardimci olmus olacaksiniz.
Materyallerin geri donusturulmesi dogal kaynaklarin korunmasina yaridmi olacaktir. Bu urunun geri donusumu haknda daha detayil bilgi icin luften ilgili belediye birimi vya urun satin aldiginiz satici te temasaGPCIN.

Atik pillerin bertaraf edilmesi (Avrupa Birligi'nde ve ayri toplama systemleri bulunan diger Avrupa ülkerinde uygulanan)
Pil veya ambalajin uzerindeki bu sembol, bu urunle birlikte teslim edilen pilin evsel atik
olarak degerlendinlmemesi gerektigini belirtmektedir. Bazi piller icin bu sembol, kimyasal bir sembolle birlestirilerek kullanilmis olabilir. Eger piller % 0,0005 civa veya % 0,004 kursun'dan fazla icerikteyseler, o zaman bu kimyasal semboller civa (Hg) veya kursun(Pb) icin eklenir. Bu pillerin dokru sekilde bertaraf edilmesini saglamakla, piller uygunsuz sekilde beraraf edilmesi noticesinde cve re vs inan sagliginda meydana geblebecek alan potansiyel zararlarin engellenmesine de katkida bulunmus olacaksiniz. Materyallerin geri donusturulmesi dogal kaynaklarin korunmasina yardimci olacaktir. Urunlerin guvenlik, performans veya veri entegrasyon gibi sebeplerden dolayi beraberlerindeki pille surekli bir baglanti gerektirdikleri durumlarda pilin yalinizca kalifiye servis personeli tarafindan degistirilmesi zorunludur. Pilin uygun bil sekilde degerlendirilmesisi saglamak amacyla urunu, kullanim suresinin sonunda elektrikli ve elektronik ekipmanlarin geri donusturulmesine iliiskin yururlukte alan toplama noktasina teslim ediniz. Diger tum piller icin luften pillerin urunden guvenli bir sekilde cikarilmasina iliiskin bolumu inceleyiniz. Pili, atik pillerin geri donusturulmesine yonelik yururluktekti toplama noktasina teslim ediniz. Bu urunun veya pilin geri donusturulmesine iliiskin daha ayrintili bilgi icin luften yerel Yetkili Dairenizle, evsel atik bertaraf servisinizle veya urunu satin aldiginiz magazayla irtibat kurunuz.

Uretici Firma:
Sony Corporation
1-7-1 Konan, Minato-ku, Tokyo 108-0075 Japan
Türkiye Irtibat Numaralan: Tel: 0216-633 98 00
Televizyonu Duvara Monte Etme
Müsterilere
Bu urunu monte etmek icin yeterli uzmanlik gerekir. Montaji Sony saticilarina veya lisansi yuklenicilere yaptirin ve montaj sirasinda emniyete ozellikle dikkat edin. Sony, yanlis kullanimdan, nizami olmayan montajlardan veya belirtilenlerden farkli herhangi bir urunun montajindan kaynaklanan zararlardan veya yaralanmalardan sorumlu degildir. Yasal Haklariniz (varsa) etkilenmez.
Sony Saticlar ve Yuklenicilerine:
Bu urunu monte etmek icin yeterli uzmanlik gerekir. Bu kullanim kilavuzunu iyice okuduugunuzdan ve montaj islerini emniyetli bir sekilde yaptiiginizdan emin olun. Yanlis taşimanin veya hatali montajn neden oldugu hasar veya yaralanmalardan Sony sorumlu degildir.
Televizyonunuzun Masa Üstü Sehpasi Duvar Aski Aparatinin parçasi olarak kullanilacaktir.
Not
- Duvar Aski Aparati montaji yapmadan once DUVAR ASKI APARATI hakkinda bilgi icin 3. sayfaya (Güvenlik Bilgileri) ve 5. sayfaya (Uyarilar) bakir.
- Masa Üstü Sehpasi Televizyona takiliysa, önce Masa Üstü Sehpasini dokun.
LCD ekranin yuzeyinin zarar gormesini onlemek icin, Sehpayi sabitlerken vya Masa Üstu Sehpasini Çikarirken, televizyonu ekrani asagi bakacak sekilde, televizyondan daha genis, kaln ve yumusak bir bez ortulü, diz ve sabit bir yuzeye yerleşirin. - Sehpa Boyunlari Sehpadan sokiuldugunde, Sehpa Boyunlarini ve vidalari gvenli bir yerde bulundurdugunuzdan emin olun.
- Masa Üstü Sehpasini tekrar takarken, vidaları (öncedençikaran) televizyonun arkasindaki asil deliklerine taktıgünizdan emin olun.
- Acmadan once televizyonun dikey konumda oldugundan emin olun. Goruntude duzgunsuzluklerin olusmasini onlemek icin, televizyon LCD panel asaglya bakarken acilmamaldir.
Masa Üstü Sehpası televizyondan sökmek icin

Aparatlari duvara monte etme
1 Gerekli ögeleri hazirlayin.
Duvar Aski Aparati aksesuarlan (birlikte verilir)
A Kajit Sablon B Duvar Montaj
Tabani
KDL-50W82xB,
KDL-50W81xB
KDL-50W80xB
KDL-50W70xB (2)
KDL-42W82xB
KDL-42W81xB
KDL-42W80xB,
KDL-42/32W70xB1


Sehpa Koruyucu
KDL-50W82xB
KDL-50W81xB
KDL-50W80xB
KDL-50W70xB (2)
KDL-42W82xB
KDL-42W81xB
KDL-42W80xB,
KDL-42/32W70xB (1)

Vida
(+PSW6× 12) (2)

E Ara parca (2)
F Aparat Kapak
Plakas
KDL-50W82xB
KDL-50W81xB
KDL-50W80xB
KDL-50W70xB (2)
KDL-42W82xB
KDL-42W81xB,
KDL-42W80xB
KDL-42/32W70xB1
Vida (+PSW4× 10)
KDL-50W82xB
KDL-50W81xB
KDL-50W80xB
KDL-50W70xB (2)
KDL-42W82xB
KDL-42W81xB
KDL-42W80xB
KDL-42/32W70xB (1)



Sehpa (birlikte verilir)
H

Duvar Montaj Tabani vidaları (8 mm çapinda, ürünle verilmez)
KDL-50W82xB
KDL-50W81xB
KDL-50W80xB
KDL-50W70xB8)
KDL-42W82xB,
KDL-42W81xB
KDL-42W80xB
KDL-42/32W70xB (4)
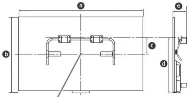
2 Duvarda yeterli alan oldugundan ve televizyonun en az dört katı agriligi destekleyebildiginden emin olun.
Televizyonu duvara monte etmeyle ilgili aşagidaki tabloya bakın. Televizyonun ağırkı icin 15-18. sayfaya (Spesifikasyonlar) bakın.
KDL-50W82xB, KDL-50W81xB, KDL-50W80xB, KDL-50W70xB

Ekran merkez noktasi
KDL-42W82xB,KDL-42W81xB,KDL-42W80xB,KDL-42/32W70xB

Ekran merkez noktası
Birim: cm
| Model adi KDL- | Görüntü boyutları Ekran merkezi boyutu Montaj uzunluğu | ||||
| a | b | c | d | e | |
| 50W82xB/ | |||||
| 50W81xB/ | 111,6 | 65,6 | 13,0 | 46,9 | 11,8 |
| 50W80xB/ | |||||
| 50W70xB | |||||
| 42W82xB/ | |||||
| 42W81xB/ | 95,8 | 56,3 | 17,5 | 46,5 | 11,8 |
| 42W80xB/ | |||||
| 42W70xB | |||||
| 32W70xB 72,9 | 43,3 | 18,8 | 41,3 | 11,3 | |
Not
- Tablodaki rakamlar kuruluma baglı olarak biraz degişebilir.
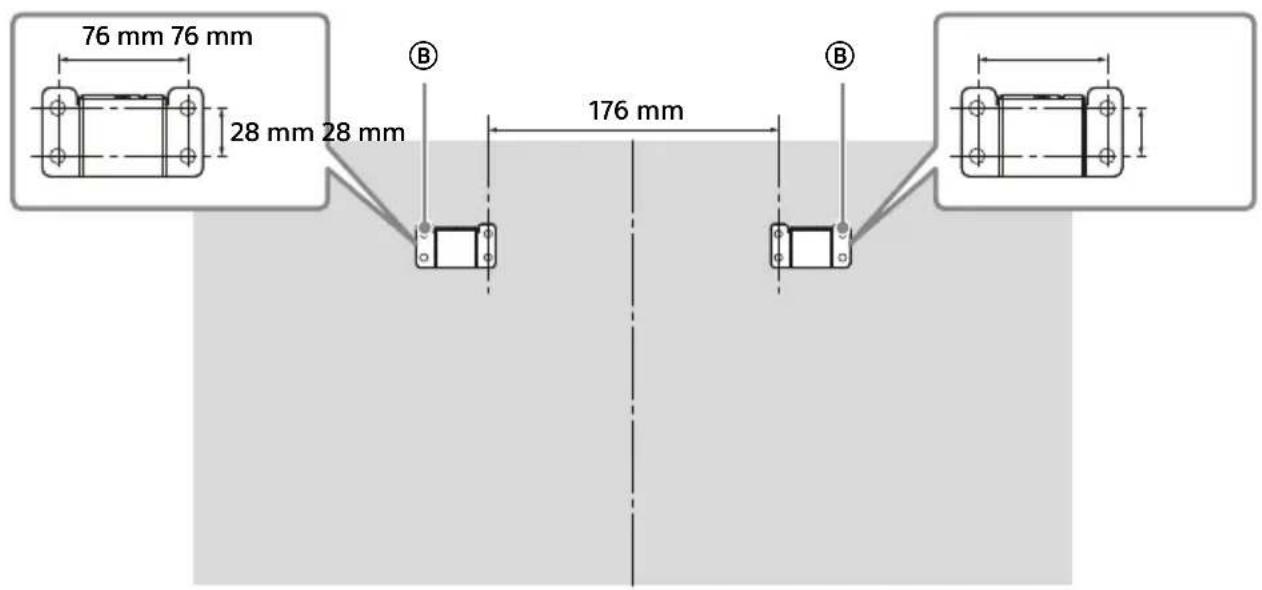
3 Kaigit Sablonda televizyonunuzun ekran merkezini gosteren bir isaret birakin.
KDL-50W82xB,KDL-50W81xB, KDL-50W80xB,KDL-50W70xB
KDL-42W82xB,KDL-42W81xB, KDL-42W80xB,KDL-42/32W70xB
Kagit Sablondaki A olcek KDL-50W82xB, KDL-50W81xB, KDL-50W80xB, KDL-50W70xB icin isaret
Kagit Sablondaki A olcek


4 Kaigit Sablonu duvara bantlayin ve elektrikli matkap kullanarak Kaigit Sablondaki @ numaralara gore delikler acin.
KDL-50W82xB,KDL-50W81xB, KDL-50W80xB,KDL-50W70xB
KDL-42W82xB,KDL-42W81xB, KDL-42W80xB,KDL-42/32W70xB


5 Kajit Sablonu duvardan gkarin.
6 Duvar Montaj Tabanini duvara vidalaria kullanarakogruksekilde takin (8 mm capinda, urunle verilmez).
KDL-50W82xB,KDL-50W81xB, KDL-50W80xB,KDL-50W70xB
KDL-42W82xB,KDL-42W81xB, KDL-42W80xB,KDL-42/32W70xB


Televizyonun montaji icin hazirlanma
1 Televizyon un arkasindaki vidaları;cikarin. Cikardiginiz vidaları;cocuklarin erisemeyeçigi, güvenli bir yerde saklamayı unutmayın.

2 Pimi (Sehpa Koruyucudaki ©) Sehpadaki H delige takin, ardindan Sehpa Koruyucuyu © yukari katlayin. Sehpa Koruyucunun © Sehpaya H sikica kenetlendiiginden emin olun.
KDL-50W82xB,KDL-50W81xB, KDL-50W80xB,KDL-50W70xB
KDL-42W82xB, KDL-42W81xB, KDL-42W80xB, KDL-42/32W70xB

3 Sehpayi birlakte verilen vidaları kullanarak televizyona takin. Ara parçaları üçgen isaretlerle gosterilen deliklere takin KDL-50W82xB, KDL-50W81xB, KDL-50W80xB, KDL-50W70xB gosterim amaciyla kullanilmistir.

TR
Televizyonu duvara monte etme
1 Televizyonu duvara monte etmeden once kabolari baglayip demetlediginizden emin olun.
2 Televizyonu duvara monte edin. Ardindan, Sehpa Koruyucunun © Duvar Montaj Tabanina ⑧ sikica kenetlendigiinden ve Ara Parçalarin ⑥ duvara temas ettiğinden emin olun. Aparat Kapak Plakasinı f birlikte verilen vidaları ⑥ kullanarak takın.

Duvardaki delik konumlarin boyutlari
Aşaqidaki bilgileri gerektiğinde lisansi yuklenicilere verin.
Duvar Montaj Tabanini duvara monte etmek icin vida kullanin (8 mm capinda, urunle verilmez). Kolay montaj icin Duvar Montaj Tabaninin asil konumunu gostenen, birlikte verilen Kaigit Sablonu A kullanmayi unutmayin.
KDL-50W82xB, KDL-50W81xB, KDL-50W80xB, KDL-50W70xB

KDL-42W82xB, KDL-42W81xB, KDL-42W80xB, KDL-42/32W70xB


TV modelinize ait Duvar Aski Aparatinin kurulumuna dair talimatlar icin 山 web sitesine basvurunuz: www.sony.eu/tv/wall-mount-bracket-manual
TR
Sorun Giderme
Aydinlatma LED'i kirmizi renkte yanip sonerken, kas kez yanip sondugunu sayin (aralik uc saniyedir).
Aydinlatma LED'i kirmizi renkte yanip sonuyorsa, guc kablosunu televizyondan iki dakika boyunca ayirarak televizyonu sifirlayin, ardindan televizyonu acin.
Sorun devam ederse, saticinizla vya Sony servis merkeziyle temasaGPCIN ve aydinlatma LED'in kirmizi renkte yanip sonne sayisi da belirtin (yanip sonne araligi uc saniyedir).
Televizyonu kapatmak icin uzerindeki I/duugmesine basin, guc kablosunu ayirin ve saticinizi veya Sony servis merkezini bilgilendirin.
Aydinlatma LED'i yanip sönmüyorsa, asagidaki tablodaki ögeleri kontrol edin.
i-Manual'de [Sorun Giderme] ögesine basvurabilir veya ? [Yardim] → [Müsteri
Destegi] [Kendini Tanilama] ögesini seçerek kendini tanilama islemini yurutülebilirsiniz.
Sorun devam ederse, televizyonunuzu yetkili bir servis personeline gosterin.
Sorunlar ve Czümleri
Görüntü yok (ekran siyah) ve ses yok.
- Anten/kabloimentarykontrol edin.
- Televizyonu AC güçüne®, baglıyan ve televizyondaki veya uzaktan kumandadaki 1/Ögesine basın.
Bazi programlar ayarlanamiyor.
- Anten veya canaigi kontrl edin.
- Uydu kablosu kisa devre olmu veya kabloda baglanti hatasi olabilir. Kablo baglantisini konrol edin ve ardindan televizyonu ana guc acma/ kapatma dugmesinden kapatin ve tekrar acin.
Girdiginiz frekans araligin disindadir. Alinan uydu yayin sirketine danisin.
Kablolu televizyon hizmeti (programlar) bulunamadi.
- Kablo böglantisini veya ayarlama yapilandirmasini kontrol edin.
- [Kablo] yerine [Karasal] seceneğini/seçerek [Dijital Otomatik Ayar] islemini deneyin.
Uzaktan kumanda calismiyor.
- Pilleri degistirin.
- Televizyonunuz SYNC modunda olabilir.
SYNC MENU Düğmesine basin, [TV Kontrolü] ögesini seksin ve ardashan televizyonu kumanda etmek icin [Home (Menü)] veya [Secenekler] ögesini seksin.
[Ebeveyn Kilidi] parolas unutulmustur.
PIN kodu olarak 9999 girin. (PIN kodu olarak 9999 her zaman kabul edilir.)
Televizyonun cevresi isiniyor.
- Televizyon uzun sure kullanildigianda, televizyonun cevresi isinir.
Buraya elle dokundugunuzda sicakligi hissedebilirsiniz.
Ses veya görtüdonuyor,ekran boş veya televizyon uzaktan kumanda veya televizyon Düğmelerinin komutlarina tepki vermiyor.
- AC guç kablosunu prizden ayirip iki dakika sonra tekrar baglayarak basit bir televizyon testi yapin.
I/O, CH+/-, +/-, /+/(+/*, ve HOME dugmeleri televizyonda bulunamiyor.
- Düğmelerin televizyondaki yeri icin asağidaki Çizime bakın.

Televizyonun arkasi
Aydinlatma LED'i yaniyor.
- Aydinlatma LED'in yanmasini istemiyorsaniz, kapatabilirsiniz.
HOMedugmesine basin, arindan [Ayarlar] [Sistem Ayarli] [Genel Ayar] [Aydinalatma LED'i] [Kapali].Ayrica OPTIONS duugmesine basip, [Aydinalatma LED'i] [Kapali] ogesini secebilirsiniz.

WPS ile bir kablosuz yönlendiriciye要考虑baglanamýor.
- WEP güvenligi kullaniyorsaniz, [Kolay] [Wi-Fi] [Tarama listedesi ile baglan] öğelerinisi seçın. Ardindan, baglanmak istediginiz ağ adini (SSID) seçın.
Ağ ayarinda gerekli adi bulunamıyor.
- [[Manuel Giri]] ögesini seçin ve ağ adini girmek icin ð dügmesine basin.
Spesifikasyonlar
Sistem
Panel Sisteml LCD (Siv Kristal Ekran) Panel, LED'li arkadan aydinlatma
Televizyon Sistemi
Analog: Ülke/alan seçiminize®, Olarak B/G, D/K, L, I, M
Dijital: DVB-T/DVB-C
DVB-T2
Uydu: DVB-S/DVB-S2
Renk/video Sistemi
Analog: PAL, SECAM, NTSC3.58, NTSC4.43
Dijital: i-Manual'e basvurun.
Kanal kapsami
Analog: Ülke/alan seçiminize®, olarak UHF/VHF/Kablolu yayo.
Dijital: Ülke/alan seçiminize®, olarak UHF/VHF/Kablolu yayo.
Uydu: IF Frekansi 950-2150 MHz
Ses cikisi 8 W + 8 W (KDL-32W70xBaric) 5 W + 5 W (sadece KDL-32W70xB)
Kablosuz teknolojisi IEEE802.11a/b/g/n protokolu
Giriş/Cişiş jakları
Anten kablosu VHF/UHF icin 75 ohm harici terminal
Uydu anteni
Dişi F tipi Konektör IEC169-24, 75 ohm.
DiSEqC 1.0, LNB 13 V/18 V ve 22 kHz ton, Tek Kablo
Dağıtmı EN50494.
AV1 21-pinli scart konektoru (CENELEC standart), ses/video girisi, RGB girisi ve televizyon ses/video cikisi da dahil.
C O M P O N E N T I YPBR (Component Video): 1080p (50, 60 Hz), 1080i (50, 60 Hz), 720p (50, 60 Hz), 576p, 576i, 480p, 480i Ses girişi (RCA jaklar)
AV2 Video girisi (Y girisi ortak RCA pini)
TR
HDMI IN 1, 2, 3, 4 (KDL-50/42/32W70xB haric)
Video (2D): 1080p (30, 50, 60 Hz), 1080/24p, 1080i
(50, 60 Hz), 720p (30, 50, 60 Hz), 720/24p, 576p,
576i, 480p, 480i, PC Formatlari
Video (3D):
MHL (HDMI IN 1 ile ortak)
(KDL-50/42/32W70xBharic)
MHL (HDMI IN 1 ile ortak)
(sadece KDL-50/42/32W70xB)
Video: 1080p (30 Hz), 1080/24p, 1080i (50, 60 Hz),
720p (30, 50, 60 Hz), 720/24p, 576p, 576i, 480p, 480i
16, 20 ve 24 bit, Dolby Digital
10BASE-T/100BASE-TX konektör (Agin calisma ortamina bagl olarak baglanti hizi degisebilir. Bu
TV için 10BASE-T/100BASE-TX iletisimHCI ve iletisim kalitesi garantī edilmemektedir.)
Diger
Opsiyonel aksesuarlar
Dokunmatik Üzeyli Uzaktan Kumanda:
RMF-ED004
Kamera ve Mikrofon Üntesi: CMU-BR200/
CMU-BR100
Kablosuz Subwoofer: SWF-BR100
MHL Kablosu: DLC-MB10/DLC-MB20/DLC-MC10/
DLC-MC20
Aktif 3D Gözlük: TDG-BT500A (sadece
KDL-50W82xB,KDL-50W81xB,KDL-50W80xB)

Pasif 3D Gozluk: TDG-500P (sadece
KDL-42W82xB,KDL-42W81xB,KDL-42W80xB)

Calisma sicakligi
0^ iIa 40^
Calisma nemi
%10 ila %80 bagil nem (yogusmasiz)
Guc ve digerleri
Gucereksinimleri
AC adaptorüyle 19,5 V DC
Nominal:Giris 220V-240VAC,50Hz
Enerji Verimlilişi Sinifi
KDL-50W82xB,KDL-50W81xB,KDL-50W80xB
KDL-50W70xB:A++
KDL-42W82xB,KDL-42W81xB,KDL-42W80xB
KDL-42W70xB:A+
KDL-32W70xB:A
Ekran boyutu (diyagonal olarak ölcülen)
(Yaklaşık)
KDL-50W82xB,KDL-50W81xB,KDL-50W80xB
KDL-50W70xB: 50 inc / 125,7 cm
KDL-42W82xB,KDL-42W81xB,KDL-42W80xB
KDL-42W70xB: 42 inc / 106,7 cm
KDL-32W70xB: 32 inc / 80,1 cm
Güç tüketimi
[Standart] modunda
KDL-50W82xB,KDL-50W81xB,KDL-50W80xB
KDL-50W70xB: 51 W
KDL-42W82xB, KDL-42W81xB, KDL-42W80xB,
KDL-42W70xB:50 W
KDL-32W70xB: 39 W
[Canli] modunda
KDL-50W82xB,KDL-50W81xB,KDL-50W80xB
KDL-50W70xB:100 W
KDL-42W82xB, KDL-42W81xB, KDL-42W80xB,
KDL-42W70xB:99 W
KDL-32W70xB:80 W
Ortalamayllikenerji tuketimi*1
KDL-50W82xB,KDL-50W81xB,KDL-50W80xB
KDL-50W70xB: 71 kWh
KDL-42W82xB, KDL-42W81xB, KDL-42W80xB,
KDL-42W70xB:69kWh
KDL-32W70xB:54kWh
Bekleme modunda güç tüketimi*2
0,5 W (Yazilim/EPG guncelleme modunda 10 W)
Göruntu Çozünurlugu
1.920 nokta (yatay) × 1.080 satir (dikey)
Boyutlar (Yaklaşik) (g × y × d)
Masa Üstü Sehpasi ile
KDL-50W82xB,KDL-50W81xB,KDL-50W80xB
KDL-50W70xB:111,6×69,3×17,9cm
KDL-42W82xB, KDL-42W81xB, KDL-42W80xB,
KDL-42W70xB:95,8×60,0×17,0 cm
KDL-32W70xB: 72,9× 46,5× 14,1cm
Masa Üstü Sehpasi olmadan
KDL-50W82xB,KDL-50W81xB,KDL-50W80xB
KDL-50W70xB:111,6×65,6×6,4cm
KDL-42W82xB, KDL-42W81xB, KDL-42W80xB,
KDL-42W70xB:95,8×56,3×6,4cm
KDL-32W70xB: 72,9× 43,3× 6,4cm
Agrlik (Yaklaşık)
Masa Üstü Sehpasi ile
KDL-50W82xB,KDL-50W81xB,KDL-50W80xB
Masa Üstü Sehpasi olmadan
^ 1 Televizyonun 365gün boyunca gunde 4 saat calistinldiğindaki ereri tuketimi baz alindiğnda enerji tuketimidir. Gergek ereri tuketimi televizyonun{nasil kullanildiğnda bagl olarak deqisecektir.
*2 Belirtilen beklemde durumundaki güce, sadece televizyon gerekli dahili islemleri tamamladiktan sonra ulasilir.
Not
- Model adinda yazili alan "x", tasarim, renk veya televizyon sistemi farki ile ilgili tek haneli numaraya karsilik gelmektedir.
- CAM'de yerlesteirilmis bir akili kart takmanin disinda TV CAM (Kosullu Erisim Modulu) yudasindaki gostemelik kartı cikarmayin.
- Opsiyonel aksesuarlar ülkeye/bolgeye/televizyon modeline/stok durumuna gore bulunur.
- Tasarim ve özelliklerde bilgi vermeksizin degisiklik yapilabilir.
- Bu televizyon MHL 2 kullanir.
Dijital TV fonksiyonu hakkinda
- Dijital TV (Dile ilgili her fonksiyon, sadece DVB-T/DVB-T2 (MPEG-2 ve H.264/ MPEG-4 AVC) dijital yer sinyallerin:yayinlandigi ülkelerde ve bölgelerde veya uyumlu bir DVB-C (MPEG-2 ve H.264/ MPEG-4 AVC) kablolu:yayin servisine erisiminizin olmasi durumunda calisir. Oturduguunuz semtte bir DVB-T/DVB-T2 sinyalini alip Alamayacağinizi yerel saticiniza veya sundugu DVB-C kablolu:yayin servisi eger bu televizyon ile entegrekullanim icin uygunsa, kablolu:yayin saglayiciniza sorunuz.
Kablolu yüzin sekslayicine verzdişi hizmet icin bir ücret talep edebilir vya ticari sart ve kosullarina uymaniz gerekebilir. - Bu televizyon seti DVB-T/DVB-T2 ve DVB-C spesifikasyonlarina uymaktadir faktat gelecekteki DVB-T/DVB-T2 dijital yerden ve DVB-C dijital kablolu yayinlara uyumluluk garanti edilemez.
- Bazi Dijital TV fonksiyonlari bazi ülkederde/ alanlarda mevcut olmayabilir ve DVB-C kablosu bazi hizmet-SAglayicilari ile uygun sekilde calismayabilir.
Ticari markaya iliskin bilgi
- HDMI ve HDMI High-Definition Multimedia Interface terimleri ve HDMI Logosu, HDMI Licensing LLC Şirketinin Amerika Birleşik Devletleri'nde ve diger ülkerde ticari markaları veya tescilli ticari markalarıdir.
- DLNA®, DLNA Logosu ve DLNA CERTIFIED®, Digital Living Network Alliance sirketin ticari markaları, hizmet markaları veya sertifikalama markalarıdir.
- Dolby Laboratories lisansi其中之一 üretilmistir. Dolby ve Çift D sembolü, Dolby Laboratories'in ticari markalarırdı.
- "BRAVIABRAVA SAony Corporation'un ticari markalaridir.
- TrackID, Sony Mobile Communications AB sirketinin ticari markasi veya tescilli ticari markasdir.
- Gracenote, Gracenote eyeQ, Gracenote VideoID, Gracenote Video Explore, Gracenote MusicID, Gracenote logosu ve logo turu ve "Powered by Gracenote" logosu, Gracenote'un Amerika Birlesik Devletleri ve/veya diger ülkelere tescillii ticari markaları veya ticari markalarıdir.
- Opera® Devices SDK from Opera Software ASA. Copyright 1995-2014 Opera Software ASA. All rights reserved.
- Wi-Fi, Wi-Fi Direct ve Miracast, Wi-Fi Alliance' in ticari markaları veya tescilli ticari markalarıdir.
- "Sony Entertainment Network logosu" ve "Sony Entertainment Network" Sony Corporation'in ticari markalaridir.
- MHL, Mobile High-Definition Link ve MHL Logosu, MHL Licensing, LLC sirketini ticari markaları veya tescilli ticari markalarıdir.
- DTS patentleri icin, http://patents.dts.com adresini ziyaret edin. DTS Licensing Limited'in lisansi其中之一 üretilmistir. DTS, Sembol, & DTS ve Sembol birlikte tescilli ticari markalardir ve DTS Digital Surround DTS, Inc.'in ticari markasdir. © DTS, Inc. Tum Haklari Saklidir.
-
Designed with U E I M T e c h n o l o g y Under License from Universal Electronics Inc. Portions © U E I 2000 - 2013
-
Bluetooth® kelime markasinin ve logolarinin sahibi Bluetooth SIG, Inc. sirketidir ve bu tip markalar Sony Corporation tarafindan lisansla kullanilmaktadir. Diger ticari markalar veticari adlar ilgili sahiplerine aittir.
- DiSEqCTM EUTELSAT sirketinin bir ticari markasidir. Bu televizyon DiSEqC 1.0' i destekler. Bu televizyon motorlu antenleri kumanda etmek icin tasarlanmamistir.
Copepkanhe
BAXHOE PUNMEUAHNE 3
CbeHnno6e3oNaChOCTn 3
MepblnpedoctopoXHoctn 6
YctahOBKa TeJIeBn3Opa Ha cTeHy. .8
Sony urunleri icin faydali bilgiler
IJIaNoJyHnI NoJe3HOuHΦOpMaun O npOdyKcNn CoHn
ДяОТРИМАнгКОриСоHoi iNФОмaцii zuOdo BИрбIB KOMnaiHII Sony
http://support.sony-europe.com/
KolayKılavuz