KDL42W706 - Fernseher SONY - Kostenlose Bedienungsanleitung
Finden Sie kostenlos die Bedienungsanleitung des Geräts KDL42W706 SONY als PDF.
Laden Sie die Anleitung für Ihr Fernseher kostenlos im PDF-Format! Finden Sie Ihr Handbuch KDL42W706 - SONY und nehmen Sie Ihr elektronisches Gerät wieder in die Hand. Auf dieser Seite sind alle Dokumente veröffentlicht, die für die Verwendung Ihres Geräts notwendig sind. KDL42W706 von der Marke SONY.
BEDIENUNGSANLEITUNG KDL42W706 SONY
Audio Output (stereo mini jack)
Headphone jack
BELANGRIJK BERICHT 2
Netspanningsvereisten
WICHTIGER HINWEIS. 2
Sicherheitsinformationen 3
Sicherheitsmassnahmen 5
Montieren des Fernsehgeräts an der
Wand. 8
Installieren der Halterungen an der
Wand. 9
Vorbereitung der Montage des
Fernsehgerats 12
Montieren des Fernsehgerats an der
Wand 13
Störungsbehebung 15
Probleme und Lösungen 15
Technische Daten. 16
Einleitung
Vielen Dank, dass Sie sich für ein Produkt von Sony entschieden haben.
Bitte lessen Sie diesen Handbuch aufmerksam durch, bevor Sie das Fernsehogerät verwenden, und bewahren Sie es auf, um später bei Bedarfarin nachschlagen zu konnen.
Anmerkung
- Lesen Sie sich vor der Bedienung des Fernsehgeräts die "Sicherheitsinformationen" durch (Seite 3).
- Anweisungen zum „Montieren des Fernsehgerats an der Wand“ sind in der Bedienungsanleitung these Fernsehgerats enthalten.
- Darstellungen und Abbildungen, die im Schnellstartleitfaden und in dieser Anleitung verwendet werden, dienen nur der Referenz und können vom tatsächlichen Produkt abweichen.
Position des Bezeichnungsschildes
Aufkleber für die Modellnummer, das Herstellungsdatum (Monat/Jahr) und die Betriebsspannung des Fernsehgerats befinden sich auf der Rückseite des Fernsehgerats oder auf der Verpackung. Die Aufkleber mit der Modellnummer und Seriennummer des Netzteils befinden sich an der Unterseite des Netzteils.
WARNING
UM FEUERGEFAHR ZUVERMEIDEN, HALTEN

SIE KERZEN UND JEGLICHE
OFFENFLAMMEN
JEDERZEIT VON DIESEM
GERÄT FERN.
WICTIGER HINWEIS
Dieses Produkt wurde von oder für Sony Corporation, 1-7-1 Konan Minato-ku Tokio,
108-0075 Japan hergestellt. Bei Fragen zur Produktkonformität auf Grundlage der Gesetzgebung der Europäischen Union kontaktieren Sieitte den Bevollmächtigten Sony Deutschland GmbH, Hedelfinger Strasse 61, 70327 Stuttgart, Deutschland.
Für Kundendienst oder Garantieangelegenheiten wenden Sie sichitte an die in den Kundendienst- oder Garantiedokumenten genannten Adressen.
Hinweis zum Drahtlos-Signal

Hiermit erklart die Sony Corporation, dass sich theseis Gerät in Übereinstimmung mit den grundlegenden Anforderungen und
den übrigen einschlädigigen Bestimmungen der Richtlinie 1999/5/EG befindet.
Weitere Informationen erhältlich unter: http://www.compliance.sony.de/
Hinweis für Kunden: Die folgenden Informationen gelten nur für Geräte, die in Ländern verkauf werden, in denen EU-Richtlinien gelten.
Das drahtlose Fernsehsystemarf in folgenden Ländern verwendet werden:
AT, BE, HR, CY, CZ, DK, EE, FI, FR, DE, GR, HU, IE, IT, LV, LT, LU, MT, NL, PL, PT, SK, SI, ES, SE, GB, IS, LI, NO, CH, BG, RO, TR, AL, BA, MK, MD, RS, ME
Dieses Gerät kann auch in Ländern außerhalb Europas eingesetzt werden.
Sicherheitsinformationen
WARNING
Batterien dürfen nicht übermäßiger Hitze, wie Sonnenlicht, einem Feuer oder Ähnlichem, ausgesetzt werden.
Installation/Einstellung
Installieren und benutzten Sie das Fernsehgerät unter Berücksichtigung der im Folgenden angegebenen Anweisungen, um alle Risiken wie Feuer, Stromschlag oder Beschädigungen und/oder Verletzungen zu vermeiden.
Installation
- Das Fernsehgerat sollte darüber frei zugänglichen Netzsteckdose installiert werden.
- Stellen Sie das Fernsehgerät auf eine stabile, ebene Oberfläche, um zu verhindern, dass es herunterfällt und Personenschäden oder Schaden am Fernsehgerät verursacht.
- Wandeinbauten sollenn nur von qualifiziertem Fachpersonal ausgefuhrt werden.
Aus Sicherheitsgründen wird dringend empfohlen, ausschließlich Sony Zubehörteile zu verwenden, inklusive: Wandhalterung - Verwenden Sie unbedingt die Schrauben im Lieferumfang der Wandhalterung, wenn Sie die Montagehaken (Ständer) am Fernsehergerät befestigen. Die mitgelieferten Schrauben sind, gemessen von der Befestigungsfläche des Montagehakens (Ständer), wie in der Abbildung dargestellt konstruiert. Durchmesser und Länge der Schrauben variieren je nach Modell der Wandmontagehalterung. Durch die Verwendung anderer als der mitgelieferten Schrauben kann das Fernsehergerät beschädigt werden oder herunterfallen.

Schaube (gemeinsam mit der
Wandmontagehalterung gefeliefert)
Montagehaken (Stander)
Hakenbefestigung an der Rückseite des Fernsehgerats
Transport
- Vor dem Transport des Fernsehgerätsziehen Sieitte alle Kabel aus dem Gerät.
- Zum Transport eines groBen Fernsehgerats sind zwei oder drei Personen nötig.
- Wenn Sie das Fernsehgerät ohne Hilfsmittel transportieren, halten Sie es wie unter dargestellt. Üben Sie weder auf den LCD-Bildschirm noch auf den Bildschirmrahen Druck aus.

- Setzen Sie das Fernsehgerät beim Transport weder Stößen noch starken Erschütterungen aus.
- Wenn Sie das Fernsehgerät für Reparaturen oder bei einem Umzug transportieren müssen, verpacken Sie es mithilfe der Originalverpackungsmaterialien im Originalkarton.
Kippschutz
- Legen Sie das Gerät, bevor Sie die Maschinenschraube einsetzen, mit der Bildschirmseite nach unter auf eine stabile Arbeitsoberfläche, die größter ist als das Fernsehgerät.
- Um Beschädigungen am LCD-Bildschirm zu vermeiden, legen Sie ein weiches Tuch auf die Arbeitsfläche.
Luftzirkulation
- Decken Sie nie die Lufungsoffnungen ab und stecken Sie nichts in das Gehäuse.
- Lassen Sie ausreichend Platz um das Fernsehgerät (siehe Abbildung).
- Es wird dringend empfohlen, die offizielle Sony Wandmontagehalterung zu verwenden, um eine ausreichende Luftzirkulation zu gewährleisten.
Installation an der Wand

Lassen Sie mindestens so viel Platz um das Gerät.
Aufstellung auf dem Standfuß

Lassen Sie mindestens so viel Platz um das Gerät.
-
Um eine ausreichende Beluftung zu gewährleisten und Stauboder Schmutzablagerungen zu vermeiden:
-
Stellen Sie das Fernsehgerät weder flach noch auf dem Kopf stehend, falsch herum oder seitwärts geneigt auf.
- Stellen Sie das Fernsehgerät weder auf einem Regal, einem Teppich, einem Bett oder in einem Schrank auf.
- Decken Sie das Fernsehgerät nicht mit Decken oder Vorhängen ab und legen Sie keine Gegenstände wie Zeitungen usw. darauf.
- Installieren Sie das Fernsehgerät nicht wie auf der Abbildung gezeigt.

Die Luftzirkulation wird unterbunden.

Netzkabel
Um alle Risiken wie Feuer, Elektroschock oder Beschädigungen und/oder Verletzungen auszuschreiben, sollen den Sie das Netzkabel und den Stecker wie hier angegeben handhaben:
-
Verwenden Sie ausschließlich die von Sony und keinen anderen Anbietern geleiferte Netzkabel.
-
Stecken Sie den Stecker ganz in die Netzsteckdose.
- Dieses Fernsehgerat ist ausschließlich für den Betrieb an 220-240 V Wechselstrom ausgelegt.
Trennen Sie das Gerät zu ihrer eigenen Sicherheit unbedingt vom Netzstrom, wenn Sie Kabel an dem Gerät anschließen, und stolpern Sie nicht über die Kabel.
Trennen Sie das Netzkabel von der Netzsteckdose, bevor Sie das Fernsehgerat reparieren oder transportieren. - Halten Sie das Netzkabel von Wärmequellen fern.
Ziehen Sie den Netzstecker aus der Steckdose und reinigen Sie ihn regelmäßig. Wenn der Stecker verstaubt ist und sich Feuchtigkeit ablagert, kann die Isolierung leiden und es besteht Feuergefahr.
Anmerkung
- Verwenden Sie das mitgelieferte Netzkabel nicht mit anderen Geräten.
Klemmen, biegen oder verdrehen Sie das Netzkabel nicht übermößig. Die blanken Adern im Inneren des Kabels konnten freiliegen oder brechen. - Nehmen Sie am Netzkabel keine Veränderungen vor.
- Stellen Sie keine schweren Gegenstände auf das Netzkabel.
Ziehen Sie nicht am Kabel, selbst wenn Sie das Netzkabel aus der Steckdose Herausziehen. - Achten Sie daraufuf, nicht zu weitere andere Geräte an dieser Netzsteckdose anzuschlieben.
- Verwenden Sie eine Netzsteckdose, in der der Stecker fest sitzt.
HINWEIS ZUM NETZTEIL
Warning
Um das Risiko eines Brandes oder Stromschlags zu reduzieren, sollen den Sie das Gerät weder Regen noch Feuchtigkeit aussetzen. Stellen Sie keine mit Flüssigkeit gefüllten Objekte, wie z. B. Vasen, auf das Gerät, um die Gefahr eines Brandes oder Stromschlags zu verringern. Stellen Sie das Gerät nicht an einem Ort auf, an dem eine ausreichende Luftzufuhr nicht gegeben ist, zum Beispiel in einem engen Regalfach oder an einem ähnliche Ort.
- Stellen Sie sichere, dass sie die Netzsteckdose in der Naze des Geräts befindet und leicht zuganglich ist.
- Verwenden Sie unbedingt das mitgelieferte Netzeil und Netzkabel.
- Verwenden Sie keine anderen Netzeleile. Andernfalls kann es zue einer Fehlfunktion kommt.
SchlieBen Sie das Netzkabel an eine leicht zugangliche Netzsteckdose an. - Wickeln Sie das Netzkabel nicht um das Netzteil. Andernfalls kann die Litze im Inneren durchtrennt werden und/oder es kann zu einer Fehlfunktion des Medienreceivers kommt.
- Berühren Sie das Netzteil nicht mit feuchten Händen
- Sollen am Netzeil irgendwelche Störungen auftreten, losen Sie das Netzeil sofort von der Netzsteckdose.
- Solang eine Verbindung zur Netzsteckdose besteht, ist das Gerät nicht vom Netzstrom getreten, auch wenn das Gerät selbst ausgeschaltet wurde.
- Da sich das Netztell erwartet, wenn es längerere Zeit verwendet wird, kann es sich sehr heißt anfuhlen, wenn Sie es mit der Hand berühren.
Verbotene Nutzung
Installieren Sie das Fernsehgerät weder an Standorten, in Umgebungen noch in Situationen wie den hier aufgeführten, die dies zu Fehlfunktionen des Fernsehgerats und Feuer, Elektroschock, Beschädigungen und/oder Verletzungen führen kann.
Standort:
- Im Freien (in direktem Sonnenlicht), am Meer, auf einem Schiff oder Boot, im Innern eines Fahrzeugs, in medizinischen Einrichtungen, an instabilen Standorten, in der Höhe von Wasser, Regen, Feuchtigkeit oder Rauch.
- Wenn das Fernsehgerät in der Umkleidekabine eines Schwimmbads oder Thermalbads aufgestellt wird, kann das Fernsehgerät durch Schwefeldampfe usw. beschädigt werden.
- Für eine optimale Bildqualität schützen Sie den Bildschirm vor direkter Beleuchtung oder direktem Sonnenlicht.
- Bringen Sie das Fernsehgerät möglich nicht von einem kalten in einen warmen Raum. Bei plottlichen Temperaturschwankungen kann sich Feuchtigkeit niederschlagen. Dies kann die Bild- und/oder Farbqualität am Fernsehgerät beeinträchtigen. Lassen Sie die Feuchtigkeit in einem solchen Fall vor dem Einschalten des Fernsehgerats vollständig verdunsten.
Umgebung:
-
An heissen, feuchten oder übermäßig staubigen Orten, an denen Insekten in das Gerät eindringen konnen; an denen es mechanischen Erschütterungen ausgesetzt ist, neben brennbaren Objekten (Kerzen usw.). Das Fernsehgerätarf weder Tropfen oder Spritzern ausgesetzt werden. Es dürfen keine mit Flüssigkeit gefüllten Gegenstände, zum Beispiel Vasen, auf dem Fernsehgerät abgestellt werden.
-
Stellen Sie das Fernsehgerät nicht an einen feuchten oder staubigen Ort oder in einen Raum mit fertigem Rauch oder Dampf (in der Höhe von Kochstellen oder Luftbefeuchtern). Andernfalls besteht Feuergefahr, die Gefahr eines elektrischen Schlags oder das Gerät kar

- Stellen Sie das Fernsehgerät nicht an Orten auf, an denen es extremen Temperaturen ausgesetzt ist, z. B. in direktem Sonnenlicht oder in der Höhe einer Heilung oder eines Warmluftauslasses. Andernfalls kann sich das Fernsehgerät überhitzen und das Gehäuse kann sich verformen und/oder es kommt zu Fehlfunktionen am Fernsehgerät.


Situation:
-
Nicht mit nassen Handen, ohne Gehäuse oder mit anderen als vom Hersteller empfohlenen Zubehor benutzten. Trennen Sie das Fernsehgerät bei Gewitter von der Netzsteckdose und der Antenne.
-
Stellen Sie das Fernsehgerät nicht so auf, dass es frei in den Raum hineinragt.
Andernfalls besteht die Gefahr, dass eine Person oder ein Gegenstand dagegenständ und es kann zu Verletzungen oder Sachscha denkommen.

Bruchstücke:
- Werfen Sie nichts gegen das Fernsehgerät. Das Glas des Bildschirms konnte durch den Aufprall zerbrechen und schwere Verletzungen verursachen.
- Falls die Oberfläche des Fernsehgerats zerspringt, ziehen Sie zuerst das Netzkabel aus der Steckdose, bevor Sie das Gerät berühren. Andernfalls besteht die Gefahr eines elektrischen Schlages.
Wenn das Gerät nicht benutzt wird
Zum Schutz der Umwelt und aus Sicherheitsgründen empfeht es sich, das Fernsehgerät vom Stromnetz zu trennen, wenn es mehrere Tage nicht benutzt wird.
- Da das Fernsehgerät auch in ausgeschaltetem Zustand mit dem Stromnetz verbunden ist, wenn es nur ausgeschelt wurde, muss der Stecker aus der Netzsteckdose gezogen werden, um das Fernsehgerät vollkommen auszuschalten.
- Bei einigen Fernsehgeräten gibt es jedoch möglicherweise Funktionen, für die das Fernsehgerät in den Bereitschaftsmodus geschählt sein muss.
Kinder
Sorgen Sie davon, dass Kinder nicht auf das Fernsehgerat klettern.
Bewahren Sie keine Zubehörteile außerhalb der Reichweite von Kindern auf, damit diese nicht irrtümlicherweise verschlucht werden.
Falls folgende Probleme auftreten...
Schalten Sie das Fernsehgerät sofort aus undziehen Sie den Netzstecker aus der Steckdose, sobald eines der folgenden Probleme auftritt.
Wenden Sie sich an ihren Handlcer oder das Sony Kundendienstzentrum, um es von qualifiziertem Fachpersonal überprüfen zu halten.
Wenn:
Das Netzkabel beschädigt ist.
Der Stecker nicht fest in der Netzsteckdose sitzt.
Das Fernsehgerat durch Fallen, StoBen oder einen geworfenen Gegenstand beschadigt ist.
Flüssigkeit oder Fremdkörper durch die Öffnungen in das Fernsehgerät gelangen.
Hinweis zur Temperatur des LCD-Bildschirms
Wenn der LCD-Bildschirm längere Zeit genutzt wird, erwartt sich der Bereich um den Bildschirm herum. Diese Bereich kann sich hei anfuhlen, wenn Sieihn mit der Hand berühren.
WANDHALTERUNG
Die unten aufgeführten Informationen zeigen die korrekte Handhabung der Wandhalterung. Lesen Sie sich diese Informationen sorgfältig durch und verwenden Sie die Wandhalterung korrekt.
An die Kunden:
Beachten Sie unbedingt die folgenden Vorsichtsmaßnahmen, um ernsthafte Verletzungen durch Feuer, Stromschlag sowie das Umkippen oder Herunterfallen des Produktes zu vermeiden.
- Überlassen Sie die Installation lizenzierten Fachleuten und halten Sie keine Kinder während der Installation fern.
- Überlassen Sie die Umpositionierung oder Demontage des Fernsehgerats lizenzierten Fachleuten.
- Entfernen Sie keine Schrauben usw., nach dem Sie das Fernsehgerat installiert haben.
- Nehmen Sie keine Veränderungen an den Teilen der Wandhalterung vor.
- Befestigen Sie außer dem angegebenen Produkt keine anderen Geräte.
- Belasten Sie die Wandhalterung nicht mit zusätzlichen Gewicht außer dem Fernsehgerat.
Lehnen und hängen Sie sich nicht an das Fernsehgerät. - Üben Sie während der Reinigung oder Wartung keine übermäßige Gewalt auf das Fernsehgerät aus.
An Sony-Handler und -Subunternehmer:
Die folgenden Anleitungen gelten nur für Sony-Handler und - Subunternehmer. Lesen Sie sich die unter beschiedenben Sicherheitshinweise durch und legen Sie insbesondere während der Installation, Wartung und Überprüfung des Produkts groBen Wert auf die Sicherheit.
- Halten Sie das Fernsehgerät an den Seiten fest, wenn Sie damit umgeben oder es befestigen. Hebben Sie das Fernsehgerät nicht am Ständer an.

- Montieren Sie die Wandhalterung nicht auf Wandflächen, an denen die Ecken oder Seiten des Fernsehgerats gegenüber der Wandoberfläche vorstehen.

- Installieren Sie das Fernsehgerät nicht über oder unter einem Klimagerät.
- Achten Sie darauf, die Wandhalterung gemäß den Anweisungen in dieser Anleitung sich an der Wand zu installieren. Wenn die Schrauben lose sind oder hersaufallen, kann die Wandhalterung herunterfallen und Verletzungen oder Sachschäden verursachen.
- Verwenden Sie unbedingt die mitgelieferten Schrauben und Befestigungsteile ordnungsgemäß gemäß den Anweisungen in dieser Anleitung. Wenn Sie Ersatzartikel verwe Fernsehgerat herunterfallen und Verletzungen oder das Fernsehgerat beschädigten.
- Achten Sie darauf, die Halterung ordnungsgemäß entsprechend den in dieser Anleitung beschrieben Schritten zusammenzubauen.
- Achten Sie darauf, die Schrauben sicher an den gekennzeichneten Positionen festzuziehen.
- Setzen Sie das Fernsehgerat während der Installation keinener Erschütterungen aus.
Installieren Sie das Fernsehgerät an einer Wand, die sowohl lotrecht als auch eben ist. - Sichern Sie nach der ordnungsgemänen Installation des Fernsehgerats die Kabel ebenfalls ordnungsgemäß.
- Achten Sie darauf, dass das Netzkabel oder die Verbindungskabel nicht eingeklemmt werden, da die innenliegenden Adern freilegegt werden konnten, was einen Kurzschluss oder eine Spanningsunterbrechung verursachen konnte.

Sicherheitsmassnahmen

Fernsehen
- Beim Anschauen von 3D-Videobildern oder beim Spielen von räumlichen 3D-Spielen versprüren manche Menschen. Unwohlsein (Überlastung der Augen, Müdigkeit oder Übelkeit). Sony empfehl't, dass alle Zuschauer beimetrachten von 3DVideobildern bzw. beim Spielen von räumlichen 3D-Spielen regelmäß Pausen einlagen. Die Länge und Häufigkeit der notwendigen Pausen variiert von Person zu Person. Sie müssen für sich entscheiden, was am besten ist. Sollen irgendwelche Beschwerden auftreten,oridae Si nicht weiter 3D-Videobildner anschauen oder räumliche 3D-Spiele spielien, bis das Unwohlsein vorüber ist. Konsultieren Si gegebenenfalls einen Arzt. Schlagen Si auch (i) in der Bedienungsanleitung von einem anderen Gerat oder Medium nach, das Si zusammen mit dem Fernsehgerat verwenden, sowie (ii) auf unserer Website (http://support.sony-europe.com/), wo Si aktuelle Informationen finden. Bei kilen den Kindern (besonders bei Kindern unter sechs Jahren) entwickelt sich das Sehvermögen noch. Wenden Si sich an einen Arzt (wie z. B. einen Kinderoder Augenorzt), bevor Si kilen den Kindern erlauben, 3DVideobildner anzusehen oder räumliche 3D-Spiele zu spielien. Erwachsene sollen den Kinder beaufsichtigen, um sanzerstellen, dass diese die oben aufgeführten Empfehlungen befolgen.
- Verwenden, lagern und belassen Sie die 3D-Brille oder die Batterie nicht in der Höhe eines Feuers oder an Orten mit hohen Temperatures, z. B. in direktem Sonnenlicht oder in durch die Sonne aufgewärmten Autos.
- Wenn Sie die simulierte 3D-Funktion verwenden, beachten Sieotide, dass das angezeigte Bild aufgrund der von dieserFernsehgerat vorgenommen Konvertierung vom Original abweicht.
- Schauen Sie bei gemäßiger Beleuchtung fern. Durch falsche Beleuchtung oder langes Fernsehen werden die Augen belastet.
- Stellen Sie beim Verwenden von Kopfhörern die Lautstärke moderat ein. Andernfalls kann es zu Gehörschäden kommt.
LCD-Bildschirm
- Obwohl bei der Herstellung des LCD-Bildschirms mit hochprüziser Technologie gearbeitet wird und der Bildschirm 99,99% und mehr effektive Pixel besitzt, ist es möglich, dass dauerhaft einige Schwarze oder leuchtende Punkte (rot, grün oder blau) sightbar sind. Es handelt sich damit um eine strukturelle Eigenschaft von LCD-Bildschirmen und nicht um eine Fehlfunktion.
- StöBen Sie nicht gegen den Filter an der Vorderseite, zerkratzen Sie ein nicht und stellen Sie nichts auf diese Fernsehgerät. Das Bild kann ungleichmäßig werden und der LCD-Bildschirm kann beschädigt werden.
- Wenn diese Fernsehgerät an einem kalten Ort verwendet wird, kommt es möglicherweise zu Schmierstreifen im Bild oder das Bild wird dunkel. Dabie handelt sich nicht um ein Versagen. Diese Effekte verschwinden, wenn die Temperatur steigt.
- Wenn Standbildern länger Zeit angezeigt werden, kann es zu Doppelbildern kommt. Diese Effekt verschwindet in der Regel nach einigen Augenblicken.
- Bildschirm und Gehäuse erwärmen sich, wenn das Fernsehgerät in Betrieb ist. Dies ist keine Fehlfunktion.
- Der LCD-Bildschirm enthalt eine keine Menge Flüssigkristalle. Befolgen Sie bei der Entsorgung die bei Ihnen geltenden Entsorgungsrichtlinien.
Pflegen und Reinigen der Bildschirmoberfläche bzw. des Gehäuses des Fernsehgeräts
Trennen Sie das Netzkabel unbedingt von der Netzsteckdose, bevor Sie das Gerät reinigen.
Um Materialschäden oder Schäden an der Bildschirm Beschichtung zu vermeiden, beachten Sieitte folgende Vorsichtsmaßnahmen.
- Entfernen Sie Staub vorsichtig mit einem weichen Tuch von der Bildschirmoberfläche bzw. dem Gehäuse. Bei stärkerer Verschmutzung feuchten Sie ein weiches Tuch leicht mit einer milden Reinigungslösung an und wischen dann über den Bildschirm.
- Sprufen Sie niemals Wasser oder Reinigungsmittel direkt auf das Fernsehgerat. Es kann bis zur Unterseite des Bildschirms oder der AuBenteile laufen und in das Fernsehgerat gelangen und so Schaden am Fernsehgerat verursachen.
- Verwenden Sie keine Scheuerschwämme, keine alkalischen/säurehaltigen Reinigungsmittel, kein Scheuerpulver oder flüchtigen Lösungsmittel wie Alkohol, Benzin, Verdünning oder Insektizide. Wenn Sie solche Mittel verwenden oder das Gerät langere Zeit mit Gummi-oder Vinylmaterialien in Berührung kommt, kann es zu Schäden an der Bildschirm- oder der Gehäuseoberfläche kommt.
- Um eine ausreichende Belüfung zu gewährleisten, wird regelmässiges Staubsaugen der Luftungsöffnungen empfohlen.
- Wenn Sie den Winkel des Fernsehgeräts einstellen, bewegen Sie das Fernsehgerät mit Vorsicht, damit es nicht verrutscht oder vom Ständer fällt.
Sonderzubehör
- Halten Sie Zusatzteile oder Geräte mit elektromagnetischer Strahlung von dem Fernsehgerät fern. Andernfalls können Bild-und/oder Tonstörungen auftreten.
- Dieses Gerät wurde geprüft und erfüllt die EMV-Richtlinie, sofern ein Signalverbindungskabel von unter 3 m Lange verwendet wird.
Empfehlung für Stecker des F-Types
Der Vorsprung der inneren Leitung ab dem Verbindungsteil darf hochtens 1,5 mm betragen.

max.7mm
max.1,5mm
(Referenzabbildung fur Stecker des F-Typs)
Vorsichtshinweis zum Umgang mit der Fernbedienung
- Achten sie beim Einsetzen von Batterien auf die richtige Polung.
- Verwenden Sie Batterien Unterschiedlicher Typen nicht
gemeinsam und auch nicht alte und neue Batterien zusammen. - Entsorgen Sie verbrauchte Batterien umweltschonend.
Beachten Sieitte geltende Entsorgsrichtlinien für Batterien. Wenden Sie sich ggf. an die zuständige Behör - Behandeln Sie die Fernbedienung sorgfältig. Lassen Sie sie nicht fallen, treten Sie nicht darauf auf und schütten Sie keine Flüssigkeiten darauf.
- Bewahren Sie die Fernbedienung nicht geben einer Wärmequelle, unter direkter Sonneneinstrahlung oder an einem feuchten Ort auf.
Drahtlosfunktion des Geräts
- Das Gerätarf nicht in der Nähemedizinischer Geräte (Schrittmacher usw.) betrieben werden, da deren Funktionswise dadurch beeinträchtigt werden kann.
- Obwohl这点 Gerat verschlüsselte Signale sendet/empfängt, müssen Sie sich vor nicht autorisiertem Empfang von Signalen schätzen. Für etwaige Probleme diesbezüglich kann keine Haftung übernommen werden.
WANDHALTERUNG
- Wenn Sie das Fernsehgerat, das an der Wandhalterung angebracht ist, langere Zeit verwenden, kann sich, abhängig vom Material der Wand, die Wand hinter oder über dem Fernsehgerat verfarben oder die Tapete kann sich loseen.
- Wenn die Wandhalterung nach der Montage an der Wand entfernt wird, bleiben die Schraubenbohrungen darüber.
- Verwenden Sie die Wandhalterung nicht an einem Ort, an dem sie mechanischen Vibrationen ausgesetzt ist.
Entsorgen des Fernsehgeräts

Entsorgung von gebrauchten elektrischen und elektronischen Geräten (anzuwenden in den Ländern der Europäischen Union und anderen europäischen Ländern mit einem separaten Sammelsystem für diese Geräte)
Das Symbol auf dem Produkt oder seiner Verpackung weist daraufhin, dass diese Produkte nicht als normaler Haushaltsabfall zu behandeln ist, sondern an einer Annahmestelle für das Recycling von elektrischen und elektronischen Geräten abgegeben werden muss. Durch ihren Beitrag zum korrekten Entsorgen these Products schätzen Sie die Umwelt und die Gesundheit ihrer Mitmenschen. Umwelt und Gesundheit werden durch falsches Entsorgen gefährdet. Materialrecycling hilft, den Verbrauch von Rohstoffen zu verringern. Weitere Informationen zum Recycling这些东西 werden harten Sie bei ihrer Gemeindeverwaltung, den communalen Entsorgungsbetrieben oder dem Geschäft, in dem sie das Produkt gkauft haben.

Entsorgung von gebrauchten Batterien und Akkus (anzuwenden in den Ländern der Europäischen Union und anderen europäischen Ländern mit einem separaten Sammelsystem für diese Produkte)
Das Symbol auf der Batterie/dem Akku oder der Verpackung weist darauf auf hin, dass diese nicht als normaler Haushaltsabfall zu behandeln sind. Ein zusätzliches chemisches Symbol Pb (Blei) oder Hg (Quecksilber) unter der durchgestrichenen Mülltonne bedeutet, dass die Batterie/der Akku einen Anteil von mehr als 0,0005% Quecksilber oder 0,004% Blei enthalt. Durch ihren Beitrag zum korrekten Entsorgen dieser Batterien/Akkus schützen Sie die Umwelt und die Gesundheit ihrer Mitmenschen. Umwelt und Gesundheit werden durch falsches Entsorgen gefährdet. Materialrecycling hilft, den Verbrauch von Rohstoffen zu verringng. Bei Produkten, die auf Grund ihrer Sicherheit, der Funktionalität oder als Sicherung vor Datenverlust eine ständige Verbindung zur eingebauten Batterie bereits, sollen die Batterie nur durch qualifiziertes Servicepersonal ausgetauscht werden. Um sicherzustellen, dass die Batterie korrekt entsorgt wird, geben Sie das Produkt zwecks Entsorgung an einer Annahmestelle für das Recycling von elektrischen und elektronischen Geräten ab. Für alle anderen Batterien entnehmer Sie die Batterieitte entsprechend dem Kapitel über die sichere Entfernung der Batterie. Geben Sie die Batterie an einer Annahmestelle für das Recycling von Batterien/Akkus ab. Weitere Informationen über das Recycling这点es Produkte oder der Batterie erhalten Sie von ihrer Gemeinde, den communalen Entsorgungsbetrieben oder dem Geschäft, in dem Sie das Produkt gekauft haben. Hinweis für Lithiumbatterien:itte geben Sie nur entladene Batterien an den Sammelstellen ab. Wegen Kurzschlussgefahr überkleben Sieitte die Pole der Batterie mit Klebestreifen. Sie erkennen Lithiumbatterien an den Abkurzungen Li oder CR.
Montieren des Fernsehgerats an der Wand
An die Kunden
Für die Montage diesen Produktes sind ausreichende Fachkenntnisse erforderlich. Überlassen Sie die Montage unbedingt einem Sony-Handler oder lizenzierten Fachleuten und legen Sie während der Montage groBen Wert auf die Sicherheit. Sony haftet nicht für Schaden oder Verletzungen durch die fehlerhafte Handhabung oder unsachgemäße Montage oder die Montage eines anderen als des angegebenen Produktes. Ihr gesetzlichen Rechte (sofern gegeben) sind davon nicht betroffen.
An Sony-Handler und -Fachleute
Für die Montage这点es Produktes sind ausreichende Fachkenntnisse erforderlich. Lesen Sie sich diese Anleitung sorgfältig durch, um die Montagearbeiten safer durchführten zu konnen. Sony haftet nicht für Schäden oder Verletzungen durch eine fehlerhafte Handhabung oder unsachgemäße Montage.
Der Tischständer des Fernsehgeräts wird als Teil der Wandhalterung verwendet.
Anmerkung
- Beachten Sie Seite 3 (Sicherheitsinformationen) und Seite 5 (Sicherheitsmassnahmen) der WANDHALTERUNG, bzw. Sie die Montage der Wandhalterung durchfuhren.
- Wenn der Tischständer am Fernsehgerät angebracht ist, losen Sie den Tischständer vorher.
- Legen Sie das Fernsehgerät mit der Bildschirmsite nach unten auf eine flache und stabile Oberfläche, die mit einem dicken und weichen Tuch bedeckt ist, das größer als das Fernsehgerät ist, wenn Sie den Ständer sichern oder den Tischständer vom Fernsehgerät abnehmer, um Schäden an der Oberfläche des LCD-Displays zu vermeiden.
- Wenn die Ständeransätze vom Ständer gelost wurden, achten Sie darauf, dass Sie die Ständeransätze und die Schrauben an einem sicheren Ort aufbewahren.
- Wenn Sie den Tischständer erneut anbringen, achten Sie daraufuf, die Schrauben (die Sie zuvor entfernt haben) in den ursprünglichen Bohrungen an der Rückseite des Fernsehgerats zu befestigen.
- Achten Sie daraufuf, dass sich das Fernsehgerät in der vertikalen Position befindet, bevor Sie es einschalten. Schalten Sie das Fernsehgerät keinesfalls ein, wenn der LCD-Bildschirm nach unten weist, um ein ungleichmäßiges Bild zu vermeiden.
So losen Sie den Tischständer vom Fernsehgerät

1 Legen Sie die notwendigen Teile bereit.
Zubehör für die Wandhalterung (mitgeliefert)
A Papierschablone B
Wandhalterungsbasis
KDL-50W82xB
KDL-50W81xB
KDL-50W80xB
KDL-50W70xB (2)
KDL-42W82xB
KDL-42W81xB
KDL-42W80xB,
KDL-42/32W70xB (1)


C Standerschutz
KDL-50W82xB
KDL-50W81xB
KDL-50W80xB
KDL-50W70xB (2)
KDL-42W82xB
KDL-42W81xB
KDL-42W80xB,
KDL-42/32W70xB1

Schaube
(+PSW6× 12) (2)

E Abstandshalter (2) F
Halterungssockelplatte
KDL-50W82xB
KDL-50W81xB
KDL-50W80xB
KDL-50W70xB (2)
KDL-42W82xB
KDL-42W81xB
KDL-42W80xB
KDL-42/32W70xB1


Schraube (+PSW4× 10)
KDL-50W82xB
KDL-50W81xB
KDL-50W80xB
KDL-50W70xB (2)
KDL-42W82xB
KDL-42W81xB
KDL-42W80xB
KDL-42/32W70xB1

Ständer (mitgeliefert)
H

Schrauben für Wandhalterungsbasis (8 mm im Durchmesser, nicht mitgeliefert)
KDL-50W82xB
KDL-50W81xB
KDL-50W80xB
KDL-50W70xB (8)
KDL-42W82xB,
KDL-42W81xB
KDL-42W80xB
KDL-42/32W70xB (4)
2 Stellen Sie sicher, dass an der Wand ausreichend Platz ist und sie mindestens das vierfache Gewicht des Fernsehgeräts/TRagen kann.
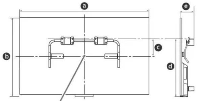
Beachten Sie die folgenden Tabelle bei der Montage des Fernsehgeräts an der Wand. Siehe Seite 16-19 (Technische Daten) zum Gewicht des Fernsehgeräts.
KDL-50W82xB, KDL-50W81xB, KDL-50W80xB, KDL-50W70xB

Bildschirm-Mittelpunkt
KDL-42W82xB, KDL-42W81xB, KDL-42W80xB, KDL-42/32W70xB

Bildschirm-Mittelpunkt
Einheit: cm
| Modellbezeichnung KDL- | Displayabmessungen | Bildschirmittenabmessung | Länge für die Montage | |||
| a | b | c | d | e | ||
| 50W82xB/ | ||||||
| 50W81xB/ | 111,6 | 65,6 | 13,0 | 46,9 | 11,8 | |
| 50W80xB/ | ||||||
| 50W70xB | ||||||
| 42W82xB/ | ||||||
| 42W81xB/ | 95,8 | 56,3 | 17,5 | 46,5 | 11,8 | |
| 42W80xB/ | ||||||
| 42W70xB | ||||||
| 32W70xB | 72,9 | 43,3 | 18,8 | 41,3 | 11,3 | |
Anmerkung
- Die Zahlen in der Tabelle können je nach der Installation gingefugig abweichen.
3 Machen Sie auf der Papierschablone ④ eine Markierung, die die Mitte des Bildschirms des Fernsehgerats kennzeichnet.
KDL-50W82xB,KDL-50W81xB, KDL-50W80xB,KDL-50W70xB
KDL-42W82xB,KDL-42W81xB, KDL-42W80xB,KDL-42/32W70xB
Skala auf Papierschablone A
Skala auf Papierschablone A
Markierung fur KDL-50W82xB, KDL-50W81xB, KDL-50W80xB, KDL-50W70xB


Markierung fur KDL-42W82xB, KDL-42W81xB, KDL-42W80xB, KDL-42W70xB
Markierung fur KDL-32W70xB
4 Kleben Sie die Papierschablone an die Wand und bohren Sie mit einer elektrischen Bohrmschine Bohrungen entsprechend der Nummerierung auf der Papierschablone .
KDL-50W82xB,KDL-50W81xB, KDL-50W80xB,KDL-50W70xB

KDL-42W82xB,KDL-42W81xB, KDL-42W80xB,KDL-42/32W70xB

5 Entfernen Sie die Papierschablone von der Wand.
6 Bringen Sie die Wandhalterungsbasis mit den Schrauben (8 mm im Durchmesser, nicht mitgeliefert) korrekt an der Wand an.
KDL-50W82xB,KDL-50W81xB, KDL-50W80xB,KDL-50W70xB

KDL-42W82xB, KDL-42W81xB, KDL-42W80xB, KDL-42/32W70xB

Vorbereitung der Montage des Fernsehgeräts
1 Entfernen Sie die Schrauben an der Rückseite des Fernsehgeräts. Achten Sie darauf, die entfernten Schrauben an einem sicheren Ort aufzubewahren und sie von Kindern fernzuhalten.

2 Führn Sie den Stift (am Ständerschutz ©) in die Bohrung am Ständer und falten Sie dann den Ständerschutz © zusammen. Überprüfen Sie, ob der Ständerschutz © fest in den Ständer eingerastet ist.
KDL-50W82xB,KDL-50W81xB, KDL-50W80xB,KDL-50W70xB
KDL-42W82xB, KDL-42W81xB, KDL-42W80xB, KDL-42/32W70xB

3 Bringen Sie den Ständer mit den mitgelieferten Schrauben am Fernsehgerät an. Bringen Sie die Abstandshalter an den Bohrungen an, die durch dreieckige Markierungen gekennzeichnet sind. Der KDL-50W82xB, KDL-50W81xB, KDL-50W80xB, KDL-50W70xB wird zu Illustrationszwecken verwendet.

Montieren des Fernsehgerats an der Wand
1 Stellen Sie sicher, dass Sie die Kabel verbinden und bündeln, bevor Sie das Fernsehgerät an der Wand montieren.
2 Montieren Sie das Fernsehgerät an der Wand. Überprüfen Sie dann, ob der Ständerschutz fest in die Wandhalterungsbasis 8 eingerastet ist und die Abstandshalter E die Wand berühren. Bringen Sie die Halterungssockelplatte F mit den mitgelieferten Schrauben G an.

DE
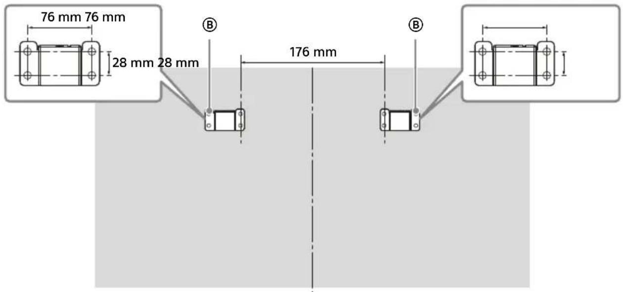
Abmessungen der Bohrungspositionen an der Wand
Stellen Sie dem lizenzierten Fachmann bei Bedarf folgende Informationen zur Verfügung.
Verwenden Sie Schrauben (8 mm Durchmesser, nicht mitgeliefert), um die Wandhalterungsbasis ⑧ an der Wand zu montieren.
Verwenden Sie unbedingt die mitgelieferte Papierschablone A, die die tatsächliche Position der Wandbefestigungsbasis für eine einfache Montage zeigt.
KDL-50W82xB, KDL-50W81xB, KDL-50W80xB, KDL-50W70xB

KDL-42W82xB, KDL-42W81xB, KDL-42W80xB, KDL-42/32W70xB


Anleitungen zur Montage der Wandhalterung für Ihr TV-Modell finden Sie auf der folgenden Website: www.sony.eu/tv/wall-mount-bracket-manual
Störungsbehebung
Wenn die Beleuchtungs-LED rot blinkt, zahlen Sie die Anzahl der Blinkvorgänge (die Intervallzeit beträgt drei Sekunden).
Wenn die Beleuchtungs-LED rot blinkt, setzen Sie das Fernsehgerät zurück, indem Sie das Netzkabel zwei Minuten lang vom Fernsehgerät trennen und dann das Fernsehgerät einschalten.
Wenn das Problem weiterhin besteht, wenden Sie sich an ihren Handler oder den Sony-Kundendienst und geben Sie an, wie früig die Beleuchtungs-LED rot blinkt (die Intervallzeit liegt bei drei Sekunden). Drücken Sie I/ am Fernsehgerät, um es auszuschalten, trennen Sie das Netzkabel und informieren Sie ihren Handler oder den Sony-Kundendienst.
Wenn die Beleuchtungs-LED nicht blinkt, überprüfen Sie die Punkte der folgenden Tabellen.
Sie konnen unter [Störungsbehebung] im i-Manual nachschlagen oder eine Selfbstdiagnose durchfuhren, indem Sie? [Hilfe] [Kundenservice & Hilfe] [Selbstdiagnose] auswahlen. Wenn das Problem weiterhin besteht, setzen Sie das Fernsehgerät von einem qualifizierten Kundendiensttechniker warten.
Probleme und Lösungen
Es wird kein Bild angezeigt (Bildschirm ist dunkel) und es ist kein Ton zu horen.
- Prufen Sie die Antennen- oder Kabelverbindung.
- Schlieben Sie das Fernsehgerät an die Netzsteckdose an und drücken Sie am Fernsehgerät oder auf der Fernbedienung auf 1/0.
Einige Programme können nicht eingestellt werden.
- Prufen Sie die Antenne bzw. die Satellitenschüssel.
Das Satellitenkabel kann kurzgeschlossen sein oder es kann sich um Anschlussprobleme des Kabels handeln.itte uberprüfen Sie das Kabel und den Anschluss und schalten Sie das Fernsehgerat mit dem Ein/Aus Schalter Aus und schalten es dann wieder Ein.
Die von Ihnen eingebene Frequenz ist außer Reichweite.itte wenden Sie sich an die zuempfangene Satellitensendeanstalt.
Es werden keine Kabelfernsehdienste (Sender) gefunden.
- Überprüfen Sie die Kabelverbindung bzw. die Tunerkconfiguration.
- Versuchen Sie [Auto. Digital-Suchlauf] durchzufahren, indem Sie [Antenne]statt [Kabel] auswahlen.
Die Fernbedienung Funktioniert nicht.
Tauschen Sie die Batterien aus.
Das Fernsehgerät befindet sich möglicherweise im SYNC-Modus.
Drücken Sie SYNC MENU, wahren Sie [TV-Steuierung] und dann [Home (Menu)] oder [Optionen], um das Fernsehgerät zu bedieren.
Sie haben das Password für [Kindersicherung] vergessen.
- Geben Sie 9999 als PIN-Code ein. (Der PIN-Code 9999 wird immer akzeptiert.)
Das Gehäuse des Fernsehgeräts erwartt sich.
- Wenn das Fernsehgerät angezeit verwendet wird, erwartt sich das Gehäuse des Fernsehgeräts. Es fuhl't sich möglichwerweise heiß an, wenn Sie es mit der Hand berühren.
Eingefrorenes Audio oder Video, ein leerer Bildschirm, oder das Fernsehgerät spricht nicht auf die Tasten an Fernseher oder Fernbedienung an.
- Führer Sie einen einfen Rücksetzvorgang des Fernsehgeräts aus, indem Sie das Netzkabel zwei Minuten lang abziehen und dann erneut einstecken.
Die Tasten I/0, CH+/-, +/-, //=//, and HOME sind auf dem Fernsehgerät nicht zu sehen.
- Beachten Sie die Abbildung unter, um die Position der Tasten auf dem Fernsehgerät zu lokalisieren.

Rückseite des Fernsehgeräts
Die Beleuchtungs-LED ist aktiviert.
- Wenn Sie nicht möchen, dass die Beleuchtungs-LED leuchtet, können Sie sie deaktivieren. Drücken Sie HOME und wahren Sie dann [Einstellungen] [Systemeinstellungen] [Allgemeine Einrichtung] [Beleuchtungs-LED] [Aus]. Sie können auch OPTIONS drucken und dann [Beleuchtungs-LED] [Aus] wahren.

Es kann über WPS keine Verbindung mit einem Wireless-Router hergestellt werden.
- Wenn Sie WEP-Sicherheit verwenden, wahlen Sie [Einfach] [Wi-Fi] [Über Suchlaufliste verbinden]. Wahlen Sie dann den Netzwerknamen (SSID), mit dem Sie eine Verbindung herstellen möchten.
Der erforderliche Netzwerkname kann in der Netzwerkkonfiguration nicht gefunden werden.
- Wahlen Sie [[Manueller Eintrag]] und drucken Sie , um den Netzwerknamen einzugeben.
Technische Daten
TV-System
Bildschirmsystem LCD-Bildschirm (Flüssigkristallbildschirm), LED-Hintergrundbeleuchtung
Fernsehnorm
Analog: Abhängig von der Landes-/Bereichsauswahl: B/G, D/K, L, I, M Digital: DVB-T/DVB-C DVB-T2
Satellit: DVB-S/DVB-S2
Farb-/Videosystem
Analog: PAL, SECAM, NTSC3.58, NTSC4.43
Digital: Schlagen Sie im i-Manual nach.
Kanalbereich
Analog: UHF/VHF/Kabel, Abhängig von der Landes-/Bereichsauswahl.
Digital: UHF/VHF/Kabel, Abhängig von der Landes-/Bereichsauswahl.
Satellit: IF Frequenz 950-2150 MHz
Tonausgänge 8W + 8W (außer Modell KDL-32W70xB) 5W + 5W (nur KDL-32W70xB)
Wireless-Technologie Protokoll IEEE802.11a/b/g/n
Eingangs-/Ausgangsbuchsen
Antennenkabel 75 Ohm, externer Anschluss fur VHF/UHF
Satellitenantenn Buchsenverbindung vom Typ F IEC169-24 75 Ohm. DiSEqC 1.0, LNB 13 V/18 V & 22kHz Ton, Unicable EN50494.
AV1 21-poliger Scart-Anschluss (CENELEC-Standard) mit Audio-/Videoeingang, RGB-Eingang und Audio-/Videoausgang fur Fernsehsignale.
/ C O M P O N E
YPBPR (Komponenten-Video): 1080p (50, 60 Hz), 1080i (50, 60 Hz), 720p (50, 60 Hz), 576p, 576i, 480p, 480i
Audioeingang (Cinchstecker) AV2
Videoeingang (gängiger Cinchstecker mit Y-Eingang)
HDMI IN 1, 2, 3, 4 (außer Modell
KDL-50/42/32W70xB)
Video (2D): 1080p (30, 50, 60 Hz), 1080/24p, 1080i (50, 60 Hz), 720p (30, 50, 60 Hz), 720/24p, 576p, 576i, 480p, 480i, Computerformate Video (3D):
Frame Packing: 1080p (30 Hz), 1080/24p, 1080i (50, 60 Hz), 720p (30, 50, 60 Hz), 720/24p
Nebeneinander: 1080p (50, 60 Hz), 1080/24p, 1080i (50, 60 Hz), 720p (50, 60 Hz)
Untereinander: 1080p (30, 50, 60 Hz), 1080/24p, 1080i (50, 60 Hz), 720p (50, 60 Hz)
Audio: 5.1-Kanal, lineares PCM: 32, 44,1 und
48 kHz, 16, 20 und 24 Bit, Dolby Digital
ARC (Audio Return Channel: Audiorückkanal) (nur HDMI IN 2)
HDMI IN 1,2,3,4 (nur KDL-50/42/32W70xB)
Video: 1080p (30, 50, 60 Hz), 1080/24p,
1080i (50, 60 Hz), 720p (30, 50, 60 Hz),
Audio: 5.1-Kanal, lineares PCM: 32, 44,1 und
48 kHz, 16, 20 und 24 Bit, Dolby Digital
ARC (Audio Return Channel: Audiorückkanal) (nur HDMI IN 2)
MHL (gängig bei HDMI IN 1)
(auBer Modell KDL-50/42/32W70xB)
Audio: 5.1-Kanal, lineares PCM: 32, 44,1 und
48 kHz, 16, 20 und 24 Bit, Dolby Digital
MHL (gängig bei HDMI IN 1)
(nur KDL-50/42/32W70xB)
Video: 1080p (30 Hz), 1080/24p, 1080i (50, 60 Hz), 720p (30, 50, 60 Hz), 720/24p, 576p, 576i, 480p, 480i
Audio: 5.1-Kanal, lineares PCM: 32, 44,1 und 48kHz 16, 20 und 24 Bit, Dolby Digital
Optische Digitalbuchse (zwei Kanäle, lineares PCM, Dolby Digital)
AUDIO OUT/
Audioausgang (Stereo-Minklinke)
Kopfhörerbuchse
(untersitzt Subwooferausgang)
1 (HDD REC),
USB-Festplatten-Geräteanschluss (nur 11)
USB-Anschluss

Einschub CAM (Zugangskontrollmodul)

DC IN 19.5 V
Netzteileingang
LAN
10BASE-T/100BASE-TX-Anschluss (Je nach Betriebsumgebung des Netzwerks kann die Verbindungsgeschwindigkeit variieren.
10BASE-T/100BASE-TX-Kommunikationsrate und
Kommunikationsqualität können für diese
Fernsehgerat nicht garantiert werden.)
Sonstiges
Sonderzubehör
Touchpad-Fernbedienung: RMF-ED004
Kamera und Mikrofoneinheit: CMU-BR200/
CMU-BR100
Drahtloser Subwoofer: SWF-BR100
MHL-Kabel: DLC-MB10/DLC-MB20/DLC-MC10/
DLC-MC20
3D-Aktivbrille: TDG-BT500A (nur KDL-50W82xB,
Luftfeuchtigkeit beim Betrieb
10% - 80% relative Luftfeuchtigkeit (nicht kondensierend)
Stromversorgung und Sonstiges
Betriebsspannung
19,5 V Gleichstrom mit Netzteil
Belastbarkeit: Eingang 220 V - 240 V
Wechselstrom, 50 Hz
Energieeffizienzklasse
Bildschirmgroße (Diagonale) (Ca.)
KDL-50W82xB,KDL-50W81xB,KDL-50W80xB
KDL-50W70xB: 50 Zoll / 125,7 cm
KDL-42W82xB, KDL-42W81xB, KDL-42W80xB,
KDL-42W70xB: 42 Zoll / 106,7 cm
KDL-32W70xB: 32 Zoll / 80,1 cm
Stromverbrauch
im Modus [Standard]
KDL-50W82xB,KDL-50W81xB,KDL-50W80xB
KDL-50W70xB: 51 W
KDL-42W82xB, KDL-42W81xB, KDL-42W80xB,
KDL-42W70xB:50 W
KDL-32W70xB:39 W
im Modus [Brillant]
KDL-50W82xB,KDL-50W81xB,KDL-50W80xB
KDL-50W70xB:100 W
KDL-42W82xB, KDL-42W81xB, KDL-42W80xB,
KDL-42W70xB:99 W
KDL-32W70xB:80 W
Durchschnittlicher Energieverbrauch im Jahr*1
KDL-50W82xB,KDL-50W81xB,KDL-50W80xB
KDL-50W70xB: 71 kWh
KDL-42W82xB, KDL-42W81xB, KDL-42W80xB
KDL-42W70xB:69kWh
KDL-32W70xB:54kWh
Stromverbrauch im Standby-Betrieb*2
0,5 W (10 W im Software-/EPG-
Aktualisierungsmodus)
Anzeigeauflösung
1.920 Punkte (horizontal) × 1.080 Zeilen (vertical)
Abmessungen (Ca.) (B× H× T)
mit Tischständer
KDL-50W82xB,KDL-50W81xB,KDL-50W80xB
KDL-50W70xB:111,6×69,3×17,9cm
KDL-42W82xB, KDL-42W81xB, KDL-42W80xB,
KDL-42W70xB:95,8×60,0×17,0 cm
KDL-32W70xB: 72,9 × 46,5 × 14,1 cm
ohne Tischständer
KDL-50W82xB,KDL-50W81xB,KDL-50W80xB
KDL-50W70xB:111,6×65,6×6,4cm
KDL-42W82xB,KDL-42W81xB,KDL-42W80xB
KDL-42W70xB:95,8×56,3×6,4cm
KDL-32W70xB: 72,9 × 43,3 × 6,4 cm
Gewicht (Ca.)
mit Tischständer
KDL-50W82xB,KDL-50W81xB,KDL-50W80xB
KDL-50W70xB:14,8kg
KDL-42W82xB, KDL-42W81xB, KDL-42W80xB,
KDL-42W70xB: 11,7 kg
KDL-32W70xB:7,9kg
ohne Tischständer
KDL-50W82xB,KDL-50W81xB,KDL-50W80xB
KDL-50W70xB:13,6kg
KDL-42W82xB, KDL-42W81xB, KDL-42W80xB,
KDL-42W70xB:10,5 kg
KDL-32W70xB:6,9 kg
^*1 Der Energieverbrauch pro Jahr wurde basierend auf der Leistungsaufnahme des Fernsehgeräts bei einer Betriebsdauer von 4 Stunden täglich an 365 Tagen berechnet. Der tatsächliche Energieverbrauch hängt von der Verwendung des Fernsehgeräts ab.
*2 Die angegebene Leistungsaufnahme im Standby-Betrieb wird erreicht, nachdem das Fernsehgerät die notwendigen internen Prozesse abgeschlossen hat.
Anmerkung
- Das „x" in der Modellbezeichnung steht für eine Ziffer, die auf das Design, eine Farbvariante oder das Fernsehsystem hinweist.
- Entfernen Sie nicht die Kartenattrappe aus dem Einsatz TV CAM (Zugangskontrollmodul), außer wenn Sie eine passende Smartcard in den CAM Einsatz einsetzen möchten.
Die Verfugbarkeit des optionalen Zubehörs hangt vom Land/der Region/dem Fernsehmodell/der Lagerhaltung ab. - Änderungen, die dem technischen Fortschnitt dieren, bleiben vorbehalten.
- Dieses Fernsehgerät umfasst MHL 2.
Anmerkungen zu Funktionen für digitale Sender
-
Alle Funktionen, die sich auf digitales Fernsehen (DBeziehen, Funktionieren nur in Ländern und Gebieten, in denen digitale terrestrische Fernsehsignale im Standard DVB-T/DVB-T2 (MPEG-2 und H.264/MPEG-4 AVC) ausgestrahlt werden oder in denen ein Zugang zu DVB-C-kompatiblen Kabeldiensten (MPEG-2 und H.264/MPEG-4 AVC) existiert.itteerkundigen Sie sich bei ihrem Fachhandler vor Ort, ob an ihrem Wohnort DVB-T/ DVB-T2-Signale empfangen werden konnen oder Fragen Sie ihren Kabelanbieter, ob dessen DVB-C-Kabeldienst mit dem Betrieb diesen Fernsehers kompatibel ist.
-
Ihr Kabelanbieter kann für seine Dienste eine Gebühr oder die Anerkennung seiner Geschäftsbedingungen verlangen.
- Dieses Fernsehgerät erfüllt die DVB-T/DVB-T2-und DVB-C-Spezifikationen. Die Kompatibilität mit zukünftigen digitaler terrestrischen DVB-T/DVB-T2- und DVB-C-Signalen ist jedoch nicht garantiert.
- In manchen Ländern/Gebieten sind u. U. einzelfte Funktionen für digitales Fernsehen nicht verfügbar, sodass die Möglichkeit besteht, dass das DVB-C-Kabelsignal bei einigen Anbietern nicht einwandfrei Funktioniert.
Information zu Warenzeichen
Die Begriffe HDMI und HDMI High-Definition Multimedia Interface und das HDMI-Logo sind Markenzeichen oder eingetragene Markenzeichen von HDMI Licensing LLC in den Vereinigten Staaten und anderen Ländern.
- DLNA®, das DLNA-Logo und DLNA CERTIFIED® sind Markenzeichen, Dienstleistungsmarken oder Zertifizierungsmarken von Digital Living Network Alliance.
- In Lizenz von Dolby Laboratories gefertigt. Dolby und das Doppel-D-Symbol sind Warenzeichen von Dolby Laboratories.
- "BRAVIA" und BsinVA Warenzeichen der Sony Corporation.
- TrackID ist ein Markenzeichen bzw. eingetragenes Warenzeichen der Sony Mobile Communications AB.
- Gracenote, Gracenote eyeQ, Gracenote VideoID, Gracenote Video Explore, Gracenote MusicID, das Gracenote-Logo und das Gracenote-Firmenlogo sowie das „Powered by Gracenote“-Logo sind entweder eingetragen Marken oder Marken von Gracenote in den Vereinigten Staaten und/oder anderen Ländern.
- Opera® Devices SDK from Opera Software ASA. Copyright 1995-2014 Opera Software ASA. All rights reserved.
- Wi-Fi, Wi-Fi Direct und Miracast sind Marken oder eingetragene Marken der Wi-Fi Alliance.
- Das „Sony Entertainment Network“-Logo und „Sony Entertainment Network“ sind Markenzeichen der Sony Corporation.
- MHL, Mobile High-Definition Link und das MHL-Logo sind Marken oder eingetragene Marken von MHL Licensing, LLC.
Die DTS-Patente finden Sie unter http://patents.dts.com. Hergestellt unter Lizenz von DTS Licensing Limited. DTS, das Symbol, & DTS und das Symbol zusammen sind eingetragene Markenzeichen und DTS Digital Surround ist ein Markenzeichen von DTS, Inc. © DTS, Inc. Alle Rechte vorbehalten.
- Designed with UEI Technology™
Under License from Universal Electronics Inc. Portions © UEI 2000 - 2013
Die Bluetooth®-Wortmarke und -Logos sind Eigentum der Bluetooth SIG, Inc. und werden von Sony Corporation unter Lizens verwendet. Andere Markenzeichen und Markennamen sind Eigentum der jeweiligen Rechteinhaber.
- DiSEqCTM ist ein Warenzeichen der EUTELSAT.
Dieses Fernsehgerät unterstützt DiSEqC1.0.
Dieses Fernsehgerät eignet sich nicht zum Steuern von Motorantennen.
Índice
AVISO IMPORTANTE 2
Informacoes de segurarca 3
Precauçôes 5
Instalacao do teilevisor na parede .7
Lösenordet für [Barnlås] har glöms bort.
- Mata in PIN-koden 9999. (PIN-kod 9999 accepteras alltid.)
Medfoljande tillbehör
Pekplattefjarrkontroll: RMF-ED004
TÄNDTE LYS ELLER ANDEN FORM FOR ÅBEN ILD FOR AT UNDGÅ BRAND.
VIGTIG BESKED
SEINÄASENNUSKIINNITIN
Sony Deutschland GmbH, Hedelfinger Strasse 61, 70327
Stuttgart, Tyskland. For service ell garanti saker, vennligst
Energieeffektivetskasse
KDL-50W82xB,KDL-50W81xB,KDL-50W80xB
KDL-50W70xB:A++
KDL-42W82xB, KDL-42W81xB, KDL-42W80xB,
KDL-42W70xB:A+
KDL-32W70xB:A
Deutschland GmbH, Hedelfinger Strasse 61, 70327 Stuttgart,
Germania. Pentru orice intrebari legate de service sau de garantie, va rugam sa consultati documentele de garantie ce inosotec aparatul.
FürhilfreicheInformationenzuSonyProdukten
EinfachAnleitung