KDL42W706 - TV SONY - Gratis bruksanvisning och manual
Hitta enhetens manual gratis KDL42W706 SONY i PDF-format.
Ladda ner instruktionerna för din TV i PDF-format gratis! Hitta din manual KDL42W706 - SONY och ta tillbaka ditt elektroniska enhet i hand. På denna sida publiceras alla dokument som behövs för att använda din enhet. KDL42W706 av märket SONY.
BRUKSANVISNING KDL42W706 SONY
Innehållsförteckning
VIKTIGT MEDDELANDE 2
Sakerhetsinformation. 3
Sakerhetsforeskrifter 5
Montera TV:n pa vaggen. 7
Montera fästena på vöggen 8
Forbereda monteringen av TV:n 11
Montera TV:n pa vaggen 12
Felsökning. 14
Problem och lösningar. 14
Specificationer 15
Inledning
Tack for att du har valt denna produit frän Sony.
Innan du anvander TV:n bör du lasaigenom den HAR bruksanvisingen noga och spara den für framtida bruk.
Anmärkning
- Innan du anvander TV:n bor du lasa avsnittet "Sakerhetsinformation" (sidan 3).
- Bruksanvisingen tillenna TV innehaller instruktioner for att "Montera TV:n pa vaggen".
- De Bilder som används i snabbstartsguiden ienna handbok ar bara referenser och kan skilja sig fran utseendet pa den faktiskaprodukten.
Identieringsetikettens placering
Etiketter med TV-apparatens modellnummer, tillverkningsdatum (mänad/är) och stromförsörningsbehov finns på TV:ns baksida eller på emballaget.
Etiketter for natadapter med modellr. och serienr. finns pa natadapterns undersida.
WARNING!
FÖR ATT FÖRHINDRA ATT BRAND SPRIDS

SKA LEVANDE LJUS ELLER
ÖPPNA LÄGOR ALLTID
HÄLLAS PÅ AVSTÄND FRAN PRODUKTEN.
VIKTIGT MEDDELANDE
Denna produit har tillverkats av ellperuppdrag av Sony Corporation, 1-7-1 Konan Minato-ku Tokyo, 108-0075 Japan. Fragor som ror produkternas overensstammelse, grundar sig pa Europeiska unionens lagstiftning skall stallas til den auktoriserade representanten, Sony Deutschland GmbH, Hedelfinger Strasse 61, 70327 Stuttgart, Tyskland. For service och garantiärenden, vänligene se de adresser som finns i de separata service och garantihandlingarna.
Anmärkning beträffandetradlös signal

Härmed intygar Sony Corporation att
donnaenet stär i överensstammelse med de väsentiga
egenskapskrav och övriga relevanta bestämelse som framgå
av direktiv 1999/5/EG.
Forytterligare information gainpafoljande hemsida: http://www.compliance.sony.de/
Meddelande till kunder: foljande information gäller endast for utrustning som salts ialandar dE-direktiv gäller.
Tradlosa TV-system kan anvandas i foljande lander:
AT, BE, HR, CY, CZ, DK, EE, FI, FR, DE, GR, HU, IE, IT, LV, LT, LU, MT, NL, PL, PT, SK, SI, ES, SE, GB, IS, LI, NO, CH, BG, RO, TR, AL, BA, MK, MD, RS, ME
Denna utrustning kan anvandas i andra icode-europeiska lander.
Sakerhetsinformation
WARNING
Batterier fär inte utsattas for hog temperatur, exemplvis fransolljus, eld och liknande.
Installation
Installera och använd TV:n enlgit följande anvisningar for att undvika brandrisk, elektriska stötar eller skador på person eller egendom.
Installation
- TV:n bör placeras nara ett lätt atkomligt eluttag.
- Placera TV-apparaten pa en stabil, plan yta for att undvika att den faller ner och orsakar personskada aller skada pa TV:n.
- Endast en behörig servicetekniker fãr utföra vagginstallatoner.
- Av sakerhetsskal rekommenderar vi bestamt att du endast anvander tillbehör fran Sony, inklusive: - Vaggfaste
Anvand de skruvar som medfoljer vaggfostet nar monteringskrokarna (stativ) fasts i TV-apparaten. De medfoljande skruvarna ar utformade som pa bilden nar de mats fran monteringskrokens (stativ) infastningsyta. Skruvarnas diameter och langd varierar beroende pa vaggfastes modell.
Använding av andra skruvar kan skada TV:n internet aller medfora att den faler ned.

Transport
- Lossa alla kablar fran TV:n innan du transporterar den.
- Det kravs tvä eller tre personer for att bara en stor TV-apparat.
- När TV:n ska transporteras bör den hällas enligt nedan. Tryck inte på LCD-panelen eller ramen rund bildskärmen.

- Se till att TV:n inte utsats for stotar eller kraftiga vibrationer nar den transporteras.
- Du bör använda originalkartongen och dess emballage nár du sänder in TV:n für reparation aller om du flyttar.
Forhindra fall
Lagg skärmen med framsidan nedat pa en stabil arbetsya som ar storre an bildskärmen innan maskinskruven fests.
For att undvika skador pa LCD-skarmens yta sha du placera en mjukduk pa arbetsytan.
Ventilation
Tack inte for och stoppa inte in nagra foremal i TV:ns ventilationshal.
- Lämna fritt utrymme runt TV:n enligt nedanstående figur.
Vi rekommenderar bestamt att du anvander Sonys vaggfaste for att sakerstalla tillracklig luftcirculation.
Monterad pa vaggren

Monterad pa stativ

For att sakerstalla korrekt ventilation och forhindra ansamling av damm eller smuts:
Lagg inte TV:n platt ned och installera den inte upp-och-ned, bakvand eller vand sidledes.
- Placerainte TV:n pa en hylla ellerm matta, i en sang eller i en garderob.
Täck inte über TV:n med tyg sösom gardiner och lagg inte tidningar och liknande på den.
- Installerainte TV:n sasom figurerna nedan visar.

Natkabel
Hantera naktabeln och eluttaget enligt foljande anvisningar for att undvika brandrisk, elektriska stotar uller skador pa person ell ergodem:
- Använd endast nätkablar frän Sony och inga andra märken.
- För in stickkontakten hela vägen i eluttaget.
Anslut TV:n till ett eluttag som levererar 220-240 volt AC.
För din egen sakerhet, lossa natkabeln fran eluttaget fere ledningsdragning och se till att du inte snavar pa kablarna. - Lossa nätkabeln fran eluttaget innan du flyttar TV:n erer utfor nagot arbete pa den.
Häll natkabeln pa avstand fran värmekällor. - Lossa stickkontakten fran eluttaget och rengör den regelbundet. Om kontakten tacks med damm och tar upp fukt kan isoleringen forsámras, vilket kan orsaka brand.
Anmärkning
- Använd inte medfoljande natkabel tillsammans med annan utrustning.
- Klam, böj erller vrid inte natkabeln for mycket. Ledarnainne i kabeln kan exponeras ell er g av.
- Modificera inte nätkabeln.
- Ställ inga tunga foremål pa nätkabeln.
- Dra inte i själva kabeln nr du losar nätkabeln frän eluttaget - ta tag i stickkontakten.
- Anslut inte alltfor manga apparater till ett och sama eluttag.
- Anvandinte eluttag som inte passar till stickkontakten.
NOTERING OM NÄTADAPTER
Vaming!
Utsatt inte den har apparaten for regn ell er fukt for att undvika risk for brand ell elstotar.
Att placera kärl med vatska, t.ex. blomvaser, pa enhances medfor risk for elektriska stotar och fara for brand. Placera inte denna utrustning i ett trangt utrymme, som till exempel i en bokhylla eller liknande.
- Se till sa att natkontakten ansluts till ett lattakomligt eluttag i narheten av utrustningen.
- Använd medfoljande natadapter och nätkabel.
- Anvand inte nagon annan natadapter. Det kan orsaka Funktionstörningar.
- Anslut natadaptern till ett lattatkomligt eluttag.
Vira inte natakabeln runt natadaptern. Det kan hända att kabeln gär sönder och/eller orsakar funktionsfel på mediamottagaren.

Vidrorte nata adaptern med vata hander.
- Om nätadaptern inte verkar fungera korrekt bör du omedelbart dra ut den fran eluttaget.
- Systemetär inte bortkopplat frän elnätet sā länge kontakten sitter iett vagguttag, även om du stängt av själva systemet.
- Det kan Handa att din hand blir varm när du rör vid natadaptern eftersom den blir varm när den används under en langre tid.
Forbjuden användning
Installera inte och använd inte TV:n på platser eller i miljoer/ situationer som beskrivs nedan. Annars kan fel Funktioner uppsta i TV:n som kan orsaka brandtillbud, elektriska stötar eller skador pa person eller egendom.
Platser:
- Utomhus (i direkt solsken), på stranden, i en båt eller nágon annan typ av fartyg, iett fordon, på sjukvardsinrättningar, på ostadiga platser, nagra vatten, regn, fukt erller rök.
- Om TV:n placeras i sett omklädesrum forett allmant bad aller varma källor kan TV:n skadas av luftburen svavel etc.

- Utsatt inte skärmen for direktbelysning aller solljus for att du ska erhalla den basta bildkvaliteten.
- Undvik att flytta TV:n fran en kall till en varm plats. Plotsliga forandringar i rumstemperaturen kan orsaka kondensbildning. Detta kan gora att TV:n visar en dalg bildkvalitet och/eller dalg farg. Om detta sker maste faktken avdunsta helt innan TV:n startas.
Miljoer:
- Platser som ar mycket varma, fuktiga aller dammiga, dar insekter kan sig in i TV:n, dare TV:n kan utsattas for mekaniska vibrationenter eri i narheten av brinnande foremal (t.ex. levande Ijus). TV-apparaten far inte utsattas for dropp erller stank och vatskebehailare sasom vaser far inte stallas pa den.
- Placera inte TV:n i ett fuktigt aller dammigt utrymme, aller i ett rum med oljig rok aller anga (nara koksbankar aller luftfuktare). Det kan orsaka elektriska stotar aller att TV:n blir skev.

- Installera inte TV:n på platser som utsats for extrema temperaturer som direkt solljus, nara en varmeradiator erler en varmeventil. TV:n kan overhettas i ett sadant forhallande vilket kan orsaka deformation av holjet och/eller fel pa TV:n.


Situationer:
- Använd inte TV:n med våta händer, Near TV:ns holje ar demonterat eller med tillbehör som inte rekommenderas av tilverkaren. Koppla loss TV:n fran eluttaget och antennen Near det öskar.
- Installera INTE TV:n sa att den sticker ut i ett oppet utrémme. Det kan leda till materiella skador aller persorskador om en person eller nagot foremål stöter in i TV:n.

Trasiga delar:
Kasta aldrig nagot mot TV:n. Skarmglaset kan g'sonder och orsaka allvarliga personskador.
- Om TV:ns holje spricker, koppla loss TV:n fran eluttaget innan du tar i den. Annars foreligger risk for elektriska stotar.
När TV:n inte används
- Om du inte tänker använda TV:n på flera dagar bör du kopla loss TV:n frän eluttaget av miljö- och sakerhetsskal.
Eftersom TV-apparaten inte koplas bort fran natspanninger när du endast stänger av den maste du även lossa stickkontakten fran eluttaget for att hell kopba bort TV:n.
Vissa TV-apparater kan dock ha Funktioner som kraver att TV:n stär kvar i standby-lage for att den skall fungera korrekt.
Barnens sakerhet
- Se till att barn inte klättrar pa TV:n.
Häll små tillbehör utom räckhäll for barn sa att de inte råkar sväljas av misstag.
Om följande problem uppstar...
Stang av TV:n och lossa omedelbart stickkontakten fran eluttaget om nagot av foljande problem uppstar. Kontakta din aterforsaljare ell erett Sony servicecenter for att fa TV:n undersokt av en behorig servicetekniker.
om:
Natkabeln skadas.
Eluttaget inte passar till stickkontakten.
TV-apparaten skadas genom att den tappas, utsats for hardsotar ell genom att foremal kastas pa den.
Vatska ell nagot foremal rakar hamna i holjets oppninger.
Om LCD-skärmens temperatur
När LCD-skärmen används under en langre tid kan området runt panelen bli varmt. Du kan kännà denna varme om du tar pa panelen med handen.
Varning!
Utrustning som ar kopplad till skyddsjord via jordat vagguttag och/eller via annan utrustning och samtidigt ar kopplad till kabelTV nat kan i vissa fall medfora brandfara.
For att undvika detta skall vid ansluting av urustningen till kabel-TV nata galvanisk isolator finnas mellan urustningen och kabel-TV naret.
VAGGFÄSTE
Informationen nedan visar korrekt hantering av vaggfastet. Läs noggrantigenomenna information och användvaggfastenetligt anvisingarna.
Till kunden:
Observera följande forsiktighetsatgärder for att forhindra allvarlig skada pa grund av brand, elektriska stotar, attprodukten valter aller faller i golvet.
- Overlät installationen till behöriga montörer och se till att små barn inte befinner sig i narheten nr installationen utförs.
- Overlät forflyttning eller nedmontering av TV:n till behöriga montör.
Ta inte ut nagra skruvar, etc., after att TV:n har monterats. - Modificera inte vaggfastets olika delar.
- Montera ingen annan utrustning an den specificerade Produkten.
- Utsatt inte vaggfustet for annan belastning an sjalva TV:n.
- Luta diginte mot ellergaTV:n.
- Hantera TV:n forsiktig nar du rengör den ell er utfor underhäll.
Till Sony-Återförsäljare och installerätörer:
Foljande instruktioner gällar bara for Sony-äterförsäljare och installeratorer. Läs noggrant igem hom sakerhetsföreskriffterna nedan och slapp aldrig tanken pa sakerheten, vare sig under installation, unterhalb eller kontroll av den harprodukten.
- Häll i TV:ns sidor när den ska hanteras eller monteras. Lyft inte TV:n i stativet.

- Installerainte vaggfastet pa en yta dar TV:ns horn ellersiderskutert franvaggen.
- Installerainte TV:n overller under en luftkonditioneringsanlaggning.
- Montera vaggfaset ordentigt i viggen i enlighet med anvisningarma ienna braupsanvising. Om nagon av skruvarna ar losa er lossar helt kan vaggfaset falla ner och orsaka skada pa person erer egendom.
- Se till att de medfoljande skruvarna och infastningsbeslagen anvands i enlighet med anvisiningarna ienna braksanvising. Om du byter beslagsdetaljer kan TV:n ramla ner och skadas ell erorsaka personskada.
- Se till att konsolen monteras ratt i enlight med det anisade forfarandet ienna braksanvisning.
- Fäst och dra at skruvarna pa den plats där de ar avsedda att sitta.
- Utsatt inte TV:n for stotar vid installationen.
- Installera TV: n p à en vagg som ār bâde lodrát och slât.
När TV:n installerats pa ratt satt fester du kablarna ordentligt.
Se till att inte stromkabel erler de ovriga kablarna blir klamda eftersom de inre ledarna kan bli exponerade och orsaka kortslutning ell erelavbrott.


Sakerhetsforeskrifter
Se pà TV
Vissa manniskor kan uppleva obehag (t.ex. anstrangda ogon, trotthet ellamaende) nar man tittar pa 3D-videobilder erler spelar stereoskopiska 3D-spel. Sony rekommenderar att alla som tittar pa 3D-videobilder erler spelar stereoskopiska 3D-spel tar regelbundna pauser medan de gor det. Langden erler frekvensen av nodvandiga pauser varierar fran person till person. Du maste sjalv avgora vad som fungerar bast. Om du upplever nagot obehag, sca du sluta titta pa 3D-videobilder erler spela stereoskopiska 3D-spel tills obehaget upphor och kontakta en lakare om du tycker att det ar nodvändigt. Du bor även granska (i) braksanvisingen for alla andra enheter erler media som anvands med TV-apparaten och gà till (ii) vär webblats (http://support.sony-europe.com/) for den senaste informationen. Synen hos barn (speiell unter sex ár alder) utvecklas fortfarande. Kontakta en lakare (t.ex. en barn- er ogonlakare) innan du later barn titta pa 3D-videobilder erler spelaa stereoskopiska 3D-spel. Vuxna ske overvaka barn och sakerstalla att de foljer rekommendationerna ovarian.
- Använd, forvara aller lamna inte 3D-glasogonen aller batteriet i narheten av oppen eld, på platser med hög temperatur, t.ex. i direkt solljus, eller i bilar som stared i solen.
- Vid anvandning av fonctionen for simulerad 3D gös en bildomvanding av denna TV fran 2D till 3D. Funktionen innebär att den visade bilden da har andrats fran originalbilden.
- Du bör titta på TV i ett rum med mättlig belysning. TV-tittende i dālg belysning eller under länga perioder pafrestar ögonen.
När du anvander hörlarur, ställ in ljudvolymen pa en mättlig niva sa att du inte skadar din hörsel.
LCD-skärm
- Trots att LCD-skärmen ar tillverkad med högstkognologisk precision och 99,99 procent erer mer av bildpunkterna ar effektiva kan svarta punkter erler fargade punkter (roda,blaEller grona) framtrada konstant pa LCD-skärmen. Detta ar en strukturell egenskap hos LCD-skärmar och indikerar inte nagot fel.
Tryck inte pachepa inte frontfiltret. Placera inte heller nagra foremal ovanpa denna TV-apparat. Bilden kan bli ojamn och LCD-skarmen kan skadas. - Om TV:n används på en kall plats kan fläckar framträda i bildenden bilden kan blmörk. Detta indikerar inte nàgon felfungn. Fenomenet forsvinner nar temperaturen stiger till normal niva.
- En spökbild kan uppsta om en stillbild ligger kvar på skärmen under en langre tid. Den forsvinner troligtvis afteren stund.
- Bildskärmen och holjet blir varma nár TV:n används. Detta ar inget fel.
- LCD-skärmen innehälter en liten mängd flytande kristaller.
Kassera TV:n entigt lokala lagar och bestämmelser.
Hantering och rengöring av TV:ns bildskärm/ hölje
Var noga med att lossa natakabeln fran eluttaget fere renrgoring. Observera foljande forsiktigetsatgarden for att undvika degradering av material ell er skarmens ytskift.
- Använd en mjuk duk'nar du dammar av bildskärmen/höljet. Smuts som ar svår att fã bort kan du avlagsna genom att fukta duken med ett milt, utspätt rengöringsmedel.
- Spreja aldrig vatten eller rengöringsmedel direkt pa TV-apparaten. Det kan droppa ner pa skarmens underkant dess yttre delar och komma in i TV-apparaten, vilket kan orsaka skador pa TV:apparaten.
Anvand aldrig skurdukar med slipmedel, alkaliska ell sura rengoringsmedel, skurpolver ell skarpa losningsmedel sasom alkohol,bensin, thinner ell insetksspray. Om sadana material anvands, ellvid langvarig kontakt med gummi- eller vinylmaterial, kan skarmens ytskikt och holjet skadas.
Vi rekommenderar att du regelbundet dammsuger ventilationsoppningarna for att sakerstalla fullgod ventilation. - När du justerar TV:ns vindel, rör den försiktigt sa att TV:n inte flyttar sig eller glider av stativet.
Extra utrusting
- Hall extra tillbehör och utrustning som avger elektromagnetisk strälning på avständ frän TV:n. Annars kan bildstörningar och/ eller akustiskt brus uppsta.
Denna utrustning har testats och befunnits folja gransvardenasom anges i EMC-directivet vid anvandning av enanslutningskabel som ar kortare an 3 meter.
Den inre traden far inte skjuta ut mer 1,5 mm fran anslutningsdelen.

Forsiktigkeit vid hantering av fjärrkontrollen
- Var noga med att satta i batterierna at ratt haill (+ / - )
- Använd inte olika typer av batterier tillsammans och blanda integ gamla och nya batterier.
Kassera batterier enigt gallande miljobestammelser. I vissa regioner kan sarskilda bestammelser galla for kassering av batterier. Radfraga de lokala myndigheterna. - Hantera fjärkkontrollen med varsamhet. Se till att inte tappa aller trampa på den och spill inga vätskor på den.
- Placera inte fjärkkontrollen i narheten av värmekällor, i direkt solljus eller i ett faktigt rum.
Trädlös Funktion
- Använd inteenna enchiet i narheten av medicinsk apparatur (pacemaker m.m.) aftersom dessa apparater dā kan upphöra att fungera.
- Åven om den här encheten sönder/tar emot kodade signaler,ör du vara försiktig med icede-auktoriserat uppsnappende. Vi kan inte hällas ansvariga for problem som uppSTAR.
VAGGFASTE
- Om du anvander TV:n monterad pa vaggfastet under en langre tid, finns det risk att vaggen bakom erer ovanfor TV:n missfargas aller att tapeten lossnar, beroende pa vaggmaterialiet.
- Om du tar bort vaggfastet fran vagen after installationen finns skruhhalen kvar i vagen.
- Använd inte vaggfastet på en plats)där det utsats for mekaniska vibrationer.
Kassering av TV-apparaten

Omhändertagande av gamla elektriska och elektroniskaprodukter (Användbar i den Europeiska Unionen och andra Europeiska Länder med separata insamlingssystem)
Symbolen på produit eller emballaget anger att produits inte fär hanteras som
hushállsavfall. Den skali stället lämnas in pa upssamingsplats for atervinning av el- och elektronikkkomponenter. Genom att sakerstalla att produkten hanteras pa ratt satt bidrar du till att forebygga eventuella negativa miljo- och halsoeffekter som kan uppsta om produkten kasseras som vanligt avfall. Atervinning av material hjalper till att bibehalla naturens resurser. For yttterligare uppliesninger om atervinning bor du kontakta lokala myndigheter aller sophamtningstjänst erller affaren dar du köpte varan.

Avfallsinstruktion rorande forbrukade batterier (galler i EU och andra europiska lander med separata insamlngssystem)
Denna symbol pa batteriet aller pa forpackningen betyder att batteriet inte skull
behandlas som vanligt hushallsavfall. Pá vissa batterier kanenna symbol anvandas i combination med en kemisk symbol. Den kemiska symbolen for kvicksilver (Hg) eller bly (Pb) lagg's till om batteriet innehaller mer an 0,0005 kvicksilver erer 0,004% bly. For att sakerstalla for att dessa batterie blir kastade p e ttt riktigt satt, kommer du att bidra till att skyda miljon och manniskors halsa fran potentiella negativa konsekvenser som annars kunnat blivit orsakit av felaktig avfallshantering. Atervinning av materialet vill bidra till att bevara naturens resurser. Nar det galler produkter som av sakerhet, prestanda erler dataintegritetsskal kraver permanent anslutting av ett inbygt batteri, bor detta batteri bytas av en auktoriserad servicetekniker. For att forsakra att batteriet blir behandlat korrekt skall det levereras till atervinningsstation for elektriska producerter naret der ardbrukat. For alla andra batterier, vänligen se avsnittet om hur man tar bort batteriet p ett sakert satt. Lamna batteriet pa en atervinningsstation forforbrukade batterier. For mer detailjerad information rorande korrekt avfallshantering av denna produit erller batterier, vänligen kontakta ditt communkontor, din avfallsstation erler din aterforsaljare dar du kopt Produkten.
Det kravs viss utbildning for att installerera denna produit. Anlita en Sony-aterforsjare erler licensierad entrepreneur for installationen och var noga med sakerheten. Sony ar inte ansvariga for eventuella material-eller personskador orsakade av felaktig ell olamplig installation, ell om en annan produit an den specificerade installereras. Dina lagstadgade rattigheter (om du har nagra) paverkas inte.
Till Sonys Återförsäljare och entrepreneurer
Det kravs viss utbildning for att installerera denna produit. Läs denna bruksanvising noga for att utföra installationen på att säkert satt. Sony ar inte ansvariga for eventuella material-ller personskador orsakade av felaktig hantering eller olåmplig installation.
Din TV:s bordsstativkommen att anvandas som en del av vaggfaste.
Anmarkning
- Se sidan 3 (Sakerhetsinformation) och 5 (Sakerhetsforeskrifter) om VAGGFASTE innan vaggfaste monteras.
- Om bordsstativet sitter monterat på TV:n skadet forst tas bort.
- Placera TV:n med skärmen vänd nedät på en plan och stabil yta som täckts med en tjock och mjuk filt större an TV:n nr bordstativ monteras eller tas bort frän TV:n, for att Förhindra skador på LCD-skärmens yta.
- När stativets fästen tagits bort frän stativet bör du Förvara stativets fästen och skruvar på en saker plats.
- När du sätter tillbaka bordsstativigen ber du se till att fasta skruvarna (som du tidigare avlågsnade) i deras ursprungliga hal på TV:ns baksida.
- Se till sà att TV:n befinner sig i vertikalt lage innan den slas pà. TV-apparaten fár inte slas pà med LCD-panelen riktad nedat for att undvika en ojämn bilduniformitet.
Demontera bordstativ fran TV:n

Montera fästena på vöggen
1 Ta fram de nödvändiga detaljerna.
Vaggfests tillbehör (medfoljer)
A Pappersmall
B Vaggbas
KDL-50W82xB,
KDL-50W81xB
KDL-50W80xB
KDL-50W70xB (2)
KDL-42W82xB
KDL-42W81xB,
KDL-42W80xB
KDL-42/32W70xB (1)


Stativskydd
KDL-50W82xB
KDL-50W81xB
KDL-50W80xB
KDL-50W70xB (2)
KDL-42W82xB
KDL-42W81xB
KDL-42W80xB
KDL-42/32W70xB (1)

D
Skruv (+PSW6× 12) (2)

E Distans (2) F Konsolplatta
KDL-50W82xB
KDL-50W81xB,
KDL-50W80xB,
KDL-50W70xB (2)
KDL-42W82xB
KDL-42W81xB,
KDL-42W80xB
KDL-42/32W70xB (1)


G Skruv (+PSW4× 10)
KDL-50W82xB
KDL-50W81xB
KDL-50W80xB
KDL-50W70xB (2)
KDL-42W82xB
KDL-42W81xB
KDL-42W80xB
KDL-42/32W70xB (1)

Stativ (medfoljer)
H

Skruvar for vaggbas (8 mm i diameter, medfoljer ej)
KDL-50W82xB
KDL-50W81xB
KDL-50W80xB
KDL-50W70xB (8)
KDL-42W82xB
KDL-42W81xB
KDL-42W80xB
KDL-42/32W70xB (4)
2 Se till att det finns tillrackligt med utrymme pa vaggen och att den haller for en vikt pa minst fyra ganger TV:ns vikt.
Se foljande tabell for montering av TV:n på vaggen. Se sidan 15-18 (Specifikationer) for TV:ns vikt.
KDL-50W82xB, KDL-50W81xB, KDL-50W80xB, KDL-50W70xB

KDL-42W82xB, KDL-42W81xB, KDL-42W80xB, KDL-42/32W70xB

Enhet:cm
| Modellnamn KDL- | Bildskärmsmätt | Avständ till skärmens mittpunkt | Monteringsländg | |||
| a | b | c | d | e | ||
| 50W82xB/ | ||||||
| 50W81xB/ | 111,6 | 65,6 | 13,0 | 46,9 | 11,8 | |
| 50W80xB/ | ||||||
| 50W70xB | ||||||
| 42W82xB/ | ||||||
| 42W81xB/ | 95,8 | 56,3 | 17,5 | 46,5 | 11,8 | |
| 42W80xB/ | ||||||
| 42W70xB | ||||||
| 32W70xB | 72,9 | 43,3 | 18,8 | 41,3 | 11,3 | |
Anmärkning
Vardena i tabellen kan variera nagot beroende pa installationen.
3 Markera TV-skärmens centrum på pappersmall A.
KDL-50W82xB,KDL-50W81xB, KDL-50W80xB,KDL-50W70xB
KDL-42W82xB,KDL-42W81xB, KDL-42W80xB,KDL-42/32W70xB
Skala for pappersmall A
Skala for pappersmall A
Markering for KDL-50W82xB, KDL-50W81xB, KDL-50W80xB, KDL-50W70xB

100 Markering for KDL-42W82xB, 150 KDL-42W81xB,KDL-42W80xB, 100 KDL-42W70xB Markering for KDL-32W70xB
4 Tejpa fast pappersmall A pa vagggen och borra hal med en elektrisk borrmaskin enligt numreringen pa pappersmall A.
KDL-50W82xB,KDL-50W81xB, KDL-50W80xB,KDL-50W70xB
KDL-42W82xB,KDL-42W81xB, KDL-42W80xB,KDL-42/32W70xB


5 Ta bort pappersmall A fran vaggen.
6 Fäst vaggbasen ⑧ korrekt på vagggen med hjälp av skruvarna (8 mm i diameter, medfoljer ej).
KDL-50W82xB,KDL-50W81xB, KDL-50W80xB,KDL-50W70xB
KDL-42W82xB,KDL-42W81xB, KDL-42W80xB,KDL-42/32W70xB


Förbereda monteringen av TV:n
1 Skruva ur skruvarna på baksidan av TV:n. Var noga med att förvara de borttagna skruvarna på en söker plats)där barn inte fär tag i dem.

2 Satt i stiftet (på stativskyddet ©) i hålet på stativet H, vik sedan upp stativskyddet ©. Kontrollera att stativskyddet © sitter ordentligt fast på stativet H.
KDL-50W82xB,KDL-50W81xB, KDL-50W80xB,KDL-50W70xB
KDL-42W82xB,KDL-42W81xB, KDL-42W80xB,KDL-42/32W70xB

3 Fäst stativet © vid TV:n med hjälp av medfoljande skruvar © . Fäst distanserna © i halen som anges med triangelmärkena . KDL-50W82xB, KDL-50W81xB, KDL-50W80xB, KDL-50W70xB används i illustrationssyfte.

1 Se till att ansluta och samla ihop kablarna innan du monterar TV:n pa vagggen.
2 Montera TV:n på vöggen. Se sedan till att stativskyddet © sitter ordentigt i väggbasen B och att distanserna E sitter mot vöggen. Fäst konsolplattan F med hjälp av medfoljande skruvar G.

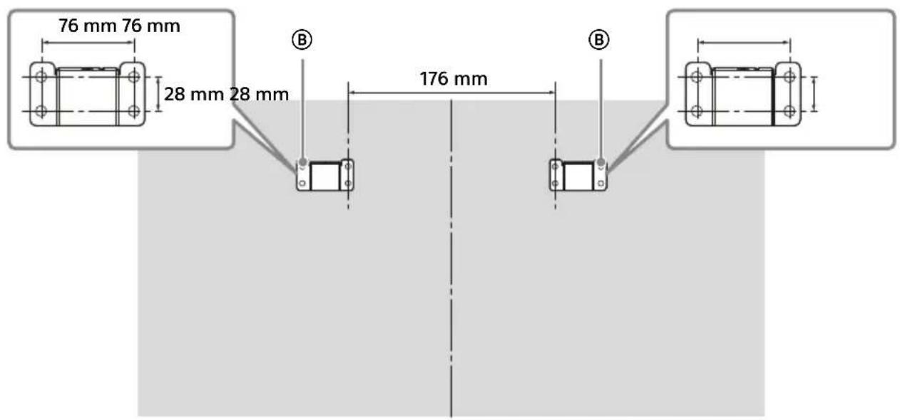
Mätt För hälens placeringar på vöggen
Ge montörerna följande information after behov.
Använd skruvar (8 mm i diameter, medfoljer ej) für att montera vaggbasen ⑧ på väggen.
Se till att anvanda den medfoljande pappersmallen A som visar vaggbasens faktiska placering for enkel montering.
KDL-50W82xB, KDL-50W81xB, KDL-50W80xB, KDL-50W70xB

KDL-42W82xB, KDL-42W81xB, KDL-42W80xB, KDL-42/32W70xB


På foljande webbplats finns det instruktioner om hur du installerar vaggfaset till din TV-modell: www.sony.eu/tv/wall-mount-bracket-manual
Felsökning
När lysdioden blinkar, räkna hur måga gänger den blinkar (intervalt ar tre sekunder).
Om LED-belysning blinkar röd, Återställer du TV:n genom att koppla frän nätkabeln frän din TV i två minutes, starta sedan TV:n.
Kontakta din Återförsäljare eller Sonys servicecenter om problemet kvarstår och ange hur på gänger LED-belysning blinkar röd (intervallet ar tre sekunder). Tryck på 1/0 på din TV for att stänga av den, koppla是从 nätkabeln och informera din Återförsäljare eller Sonys servicecenter.
När lysdioden inte blinkar kontrollerar du de olika sakerna i tabellen nedan.
Du kan även referera till [Felsökning] i i-Manual aller genomföra självdiagnostik genom att valja ? [Hjälp] [Kundsupport] [Självdiagnostik]. Om problemet kvarstår, kontakta en auktoriserad servicetekniker som kan serva din TV.
Problem och Lösningar
Ingen bild (skärmen ar mörk) och inget ljud.
- Kontrollera antenn/kabelanslutningen.
- Anslut TV:n till vagguttaget och tryck pa I/pa TV:n erler fjarrkontrollen.
Vissa program kan inte ställas in.
- Kontrollera antenn/parabolantenn.
- Satellitkabeln kan vara kortsluten erer sa kan det forekomma kontaktproblem med kabeln. Kontrollera kabeln och anslutningen och stang direfter av TV:n med Pa / Av-omkopplaren for natstrom och sla direfter pa den igen.
- Frekvensen som du har angett arutanfor omraret. Radfraga det mottagande satellitsandningsfretaget.
Det finns ingen kabel-TV-tjänst (program).
- Kontrollera kabelanslutningen eller inställningen.
- Försök med [Digital auto.kanalinst.] genom att valja [Egen antenn] istället für [Kabel-TV].
Fjarrkontrollen fungerar inte.
- Byt ut batterierna.
- Din TV kan vara i SYNC-läge.
Tryck på SYNC MENU,wälj [TV-styrning] ochwälj sedan [Home (Meny)] aller [Alternative] für att manövrera TV:n.
Det blir varmt runt TV:n.
- När TV:n används under en langre tidspiod blir det varmt runt TV:n.
Du kan kännàenna värme om du tar på panelen med handen.
Fruset ljud aller frusen bild, en tom skärm aller om TV:n inte reagerar på TV:ns aller fjärrkontrollens knappyckningar.
Genomfor en enkel Återställning av TV:n genom att dra ur natsladden i två minutes. Satt sedan i den ingen.
Det gär inte att hitta knapparna I/0, CH+/-, + / - , / / / , , och HOME pa TV:n.
Se bilden nedan for att hitta knapparna pa TV:n.

TV:ns baksida
LED-belysning ar pa.
- Om du inte vill tända LED-belysning, kan du släcka den.
Tryck på HOME,wälj sedan [Inställningar] → [Systeminställningar] → [Allmän installlning] → [LED-belysning] → [Av]. Du kan också trycka på OPTIONS,SEDAN VÄLJA [LED-belysning] → [Av].

Gär inte att ansluta till en tradlös router med WPS.
- Om du använder WEP-sakerhet, välj [Enkelt] → [Wi-Fi] → [Anslut via skanningsliste].
Välj)däfter det natverksnamn (SSID) som du vill ansluta till.
Kan inte hitta det natverksnamn som kravs for natverksinstalling.
Välj [[Manuell inmatning]] och tryck pa+for att ange nätverksnamn.
Specificationer
System
Skärmsystem
LCD-skärn (bildskärn med flytande kristaller),
LED-bakgrundsbelysning
TV-system
Analgot: Beroende på val av land/område:
B/G, D/K, L, I, M
Digitalt: DVB-T/DVB-C DVB-T2
Satellit: DVB-S/DVB-S2
Färg/videoosystem
Analogt: PAL, SECAM, NTSC3.58, NTSC4.43
Digitalt: Se i-Manual.
Kanaltackning
Analgot: UHF/VHF/kabel, beroende på ditt val av land/område.
Digitalt: UHF/VHF/kabel, beroende på ditt val av land/område.
Satellite: IF-frekvens 950-2150 MHz
Ljudutgang
8 W + 8 W (förumot KDL-32W70xB)
5 W + 5 W (endast KDL-32W70xB)
Trädlösteknik
Protokoll IEEE802.11a/b/g/n
Uttag for ingangar/utgangar
Antennkabel
75 ohms extern anslutning for VHF/UHF
Satellitantenn
Honkontakt av F-Typ IEC169-24, 75 ohm.
DiSEqC 1.0, LNB 13 V/18 V & 22 kHz-ton, Distr. via enkel kabel-TV EN50494.
AV1
21-polig scart-kontakt (CENELEC standard) inkl.
ljud/videoingang, RGB-ingang och TV-ljud/ videoutgang.
C O M P O N E N
YP_BPR (komponentvideo): 1080p (50, 60 Hz),
1080i (50, 60 Hz), 720p (50, 60 Hz), 576p, 576i, 480p, 480i
Ljudingang (phonokontakter)
AV2
Videoingäng (vanlig phonokontakt med Y-ingang)
HDMI IN 1,2,3,4 (forutom KDL-50/42/32W70xB)
Video (2D): 1080p (30, 50, 60 Hz), 1080/24p,
1080i (50, 60 Hz), 720p (30, 50, 60 Hz), 720/24p, 576p, 576i, 480p, 480i, PC-format
Video (3D):
Ljud: 5,1-kanals linjar-PCM: 32,44,1 och 48 kHz, 16
20 och 24 bitar, Dolby Digital
ARC (Audio Return Channel) (endast HDMI IN 2)
HDMI IN 1,2,3,4 (endast KDL-50/42/32W70xB)
Video: 1080p (30, 50, 60 Hz), 1080/24p,
1080i (50, 60 Hz), 720p (30, 50, 60 Hz),
720/24p, 576p, 576i, 480p, 480i, PC-format
Ljud: 5,1-kanals linjar-PCM: 32,44,1 och 48 kHz, 16
20 och 24 bitar, Dolby Digital
ARC (Audio Return Channel) (endast HDMI IN 2)
(förutom KDL-50/42/32W70xB)
Ljud: 5,1-kanals linjar-PCM: 32,44,1 och 48 kHz, 16
20 och 24 bitar, Dolby Digital
Ljud: 5,1-kanals linjar-PCM: 32, 44,1 och 48 kHz, 16, 20 och 24 bitar, Dolby Digital
T Digital optiskt kontakt (tvåkanalig linjär PCM, Dolby Digital)
AUDIO OUT/
Ljudutgang (stereo mini jack)
Hörlurskontakt
(stödsubwoofer ut)
1 (HDD REC),
USB HDD-enhetsport (endast), USB-port
CAM-plats (CA-modul)
DC IN 19.5 V
Adapteringang
LAN
10BASE-T/100BASE-TX-kontakt (Beroende på natverkets functionsmiljö, kan anslutningshestigheten avvika. Kommunikationshestighet och -krititet for 10BASE-T/100BASE-TX garanteras inte forenna TV.)
Övrigt
Kamera och mikrofonenet: CMU-BR200/ CMU-BR100
Tradlos subwoofer: SWF-BR100
MHL-kabel: DLC-MB10/DLC-MB20/DLC-MC10/
DLC-MC20
Aktiva 3D-glasögon: TDG-BT500A (endast
KDL-50W82xB,KDL-50W81xB,KDL-50W80xB)

Passiva 3D-glasogon: TDG-500P (endast KDL-42W82xB, KDL-42W81xB, KDL-42W80xB)

Driftstemperatur 0^ - 40^
Driftsluftfuktiget
10% - 80% relativ luftfuktigkeit (ickekondenserande)
Strömförsörjning och övrigt
Strömförsörjning
19,5 V likström (DC) med nätadapter
Grading: Inmatning 220 V - 240 V vãxelström (AC), 50 Hz
Energieeffektivitetsklass
KDL-50W82xB,KDL-50W81xB,KDL-50W80xB
KDL-50W70xB: A++
KDL-42W82xB,KDL-42W81xB,KDL-42W80xB
KDL-42W70xB:A+
KDL-32W70xB:A
Skärnstorlek (diagonalt uppmatt) (Cirka)
KDL-50W82xB,KDL-50W81xB,KDL-50W80xB
KDL-50W70xB: 50 tum / 125,7 cm
KDL-42W82xB, KDL-42W81xB, KDL-42W80xB
KDL-42W70xB: 42 tum / 106,7 cm
KDL-32W70xB: 32 tum / 80,1 cm
Strömforbrukning
i [Standard]-lage
KDL-50W82xB, KDL-50W81xB, KDL-50W80xB, KDL-50W70xB: 51 W
KDL-42W82xB,KDL-42W81xB,KDL-42W80xB
KDL-42W70xB:50W
KDL-32W70xB: 39 W
i [Dagsljus]-lage
KDL-50W82xB,KDL-50W81xB,KDL-50W80xB
KDL-50W70xB:100 W
KDL-42W82xB,KDL-42W81xB,KDL-42W80xB
KDL-42W70xB:99 W
KDL-32W70xB:80 W
^1 Energiförbrukning per ar, baseras på TV-apparatens strömforbrukning under 4 timmar per dag i 365 davon. Den verkliga energiförbrukningen varierar beroende på hur TV-apparaten används.
^2 Specificerad standby-effekt uppnås nar TV:n har avslutat nödvändiga interna processor.
Anmärkning
- Det "x" som visas i modellnamnet motsvarar ett siffervarde som ar relaterat till design, farg eller TV-system.
- Ta inte ut atrappkortet ur TV CAM-facket (CA-modul) om du inte sätter i ett smart-kort som sitter i CAM.
- Tillgangen på alternatively tillbehör beror på land/region/TV-modell/lager.
- Design och specificationer kan andras utan forvarning.
Denna TV-apparatharMHL2.
Anmärkningar om digital TV
- Funktioner avseende digital TV (DV3) fungerar endast i länder erler områden där DVB-T/DVB-T2 (MPEG-2 och H.264/MPEG-4 AVC) digitala marksignaler sänds eller där du har tillgang till en kompatibel DVB-C (MPEG-2 och H.264/MPEG-4 AVC) kabeltjanst. Hör med din Återförsäljare om du kan ta emot en DVB-T/DVB-T2-signal där du bor eller fråga din kabelleverantör om deras DVB-C-tjänst ar lamplig for integrerad användning medenna TV-apparat.
- Din kabelleverantor kanske tar ut en avgift for sina tjänster och du kanske maste godkännle leverantörens villkor for den aktuella tjänsten.
Denna TV foljer gällande specificationer für DVB-T/DVB-T2 och DVB-C, men vi kan inte garantera kompatilitet med framtida DVB-T/DVB-T2 digitala marksändningar och DVB-C digitala kabelsändningar. - Vissa digitala TV-funktioner kanske inte ar tillgangliga i vissa lander/områden och DVB-C-kabel kanske inte fungerar korrekt med vissa leverantör.
Information om varumärken
- Orden HDMI och HDMI High-Definition Multimedia Interface, damit HDMI-logotypen ar varumärken aller registrarade varumärken for HDMI Licensing LLC i USA och andraalander.
- DLNA®, DLNA-logotypen och DLNACERTIFIED® ar varumärken, servicemärken,eller kontrollmärken som tillhör Digital Living Network Alliance.
- Tillverkad på licens frän Dolby Laboratories. Dolby och den dubbla D-symbolen ar varumärken som tillhör Dolby Laboratories.
- "BRAVIA" och Farvarkarken tillhörande Sony Corporation.
- TrackID ar ett varumärke eller registrarat varumärke som tillhör Sony Mobile Communications AB.
- Gracenote, Gracenote eyeQ, Gracenote VideoID, Gracenote Video Explore, Gracenote MusicID, Gracenote-logotypen och "Powered by Gracenote"-logotypen ar antingen registrerade varumärken ell er varumärken som tillhör Gracenote i USA och/eller andraaland.
- Opera® Devices SDK from Opera Software ASA. Copyright 1995-2014 Opera Software ASA. All rights reserved.
- Wi-Fi, Wi-Fi Direct och Miracast ar varumärken eller registrarade varumärken som tillhör Wi-Fi Alliance.
- "Sony Entertainment Network logotyp" och "Sony Entertainment Network" ar varumärken som tillhör Sony Corporation.
- MHL, Mobile High-Definition Link och MHL-logotypen ar varumärken aller registrarade varumärken som tillhör MHL Licensing, LLC.
- För DTS-patent se http://patents.dts.com. Tillverkad under licens frän DTS Licensing Limited. DTS, symbolen & DTS och symbolen tillsammans ar registrarade varumärken och DTS Digital Surround ar att varumärke som tillhör DTS, Inc. © DTS, Inc. Med ensamrätt.
-
Designed with UEI Technology™ Under License from Universal Electronics Inc. Portions © UEI 2000 - 2013
-
Bluetooth-ordmarkt och -logotyperna® ags av Bluetooth SIG, Inc. och all användning av södana marken av Sony Corporation sker under licenses. Övriga varumärken och varunamn tillhör deras respektive ögare.
- DiSEqCTM ar ett varumärke som tillhör EUTELSAT. Denna TV stödjer DiSEqC 1.0. Denna TV bör inte användas für att manövrera motorstyrda antenner.
Indholdsfortegnelse
Gennemsnitligt Årligt energiforbrug*1
KDL-50W82xB,KDL-50W81xB,KDL-50W80xB
KDL-50W70xB: 71 kWh
KDL-42W82xB,KDL-42W81xB,KDL-42W80xB
KDL-42W70xB:69kWh
KDL-32W70xB:54kWh
1.920 punkter (vandret) × 1.080 linjer (lodret)
Mäl (Ca.) (b × h × d)
Inkl. tv-fod
KDL-50W82xB,KDL-50W81xB,KDL-50W80xB
KDL-50W70xB:111,6×69,3×17,9 cm
KDL-42W82xB,KDL-42W81xB,KDL-42W80xB
KDL-42W70xB:95,8×60,0×17,0 cm
KDL-32W70xB: 72,9 × 46,5 × 14,1 cm
Uden tv-fod
KDL-50W82xB,KDL-50W81xB,KDL-50W80xB
Dette produit er produsert av eller pa vegne av Sony
Corporation 1-7-1 Konan Minato-ku Tokyo, 108-0075 Japan.
Trädløs funksjön på apparatet
Tilbehör for veggmonteringsbrakett (medfölger)
A En papirmal B
Veggmonteringssokkel
KDL-50W82xB,
KDL-50W81xB
KDL-50W80xB
KDL-50W70xB (2)
KDL-42W82xB
KDL-42W81xB
KDL-42W80xB,
KDL-42/32W70xB (1)


Stativbeskytter
KDL-50W82xB
KDL-50W81xB
KDL-50W80xB,
KDL-50W70xB (2)
KDL-42W82xB
KDL-42W81xB
KDL-42W80xB,
KDL-42/32W70xB (1)

D
Skrue (+PSW6× 12) (2)

E Avstandsklosse (2)
F Hette for briskett
KDL-50W82xB
KDL-50W81xB
KDL-50W80xB,
KDL-50W70xB (2)
KDL-42W82xB
KDL-42W81xB,
KDL-42W80xB,
KDL-42/32W70xB (1)
G Skrue (+PSW4× 10)
KDL-50W82xB
KDL-50W81xB
KDL-50W80xB,
KDL-50W70xB (2)
KDL-42W82xB
KDL-42W81xB
KDL-42W80xB,
KDL-42/32W70xB (1)



Stativ (medfølger)
H

Angi PIN-koden 9999. (PIN-koden 9999 blir alltid godtatt.)
- Utsiden av TV-en blir varm nár TV-en har vaert i bruk for en lengreperiode.
Du kan kjenne dette varmen nár du leggerhanden der.
Frossen lyd eller video, en svart skjerm eller TV-en svarer ikke på knapper på TV-en eller fjernkontrollen.
Analog: Avhengig av hvilket land/hvilken region
du velger: B/G, D/K, L, I, M
Digital: DVB-T/DVB-C
DVB-T2
Satellitt: DVB-S/DVB-S2
Farge/bilde-system
USB HDD-enhetsport (kun1), USB-port
CAM-spor (Conditional Access Module)
DC IN 19.5 V
Adapterinngang
LAN
10BASE-T/100BASE-TX-kontakt
EnkelManual