KDL42W706 - Televisor SONY - Manual de utilização gratuito
Encontre gratuitamente o manual do aparelho KDL42W706 SONY em formato PDF.
Baixe as instruções para o seu Televisor em formato PDF gratuitamente! Encontre o seu manual KDL42W706 - SONY e retome o controlo do seu dispositivo eletrónico. Nesta página estão publicados todos os documentos necessários para a utilização do seu dispositivo. KDL42W706 da marca SONY.
MANUAL DE UTILIZADOR KDL42W706 SONY
Instalacao dos suportes na parede. .8
Preparacao da instalacao do teilevisor . 11
Instalacao do televisor na parede. 12
Problemas e soluções 14
Caracteristicassecnicas. 15
Introdução
Obrigado por escolher este produit Sony.
Antes de utiliser o televisor, leia estemanual com atencao e guarde-o para futuras consultas.
Nota
- Antes de utiliser o televisor, leia "Informacoes de seguranca" (pagina 3).
- As instruções sobre "Instalacao do teletorist na parede" são incluidas nestemanual de instruçõesdo teletorist.
- As imagens e ilustrações realizadas no Guia de Iniciação Rápida e;neste manual destinam-se a ser realizadas apenas como referencia e poder ser differsente do produits real.
Localização da etiqueta de identificacao
As etiquetas com o N.° do Modelo do televisor, a Data de Producao (mês/ano) e a classificacao de Alimentacao encontrarse localizadas na parte traseira do televisor ou da embalagem. As etiquetas com o N.° de Modelo e o N.° de Serie do transformador de corrente本站o situadas na base do mesmo.
AVISO
PARAVITAR INCENDIOS,

MANTENHA VELAS E OUTRAS FONTES DE CHAMA ABERTA SEMPRE AFASTADAS DESTE PRODUTO.
AVISO IMPORTANTE
Este produto foi fabricado por ou em nome da Sony Corporation, 1-7-1 Konan Minato-ku Tokyo, 108-0075 Japão. As quostões relativas à conformidade dos produits com base nalegiseração da Uniao Europeia devem ser dirigidas aorepresentante autorizzato, Sony Deutschland GmbH, Hedelfinger Strasse 61, 70327 Stuttgart, Alemanha. Paraqusquer assentes de service ou garantia, consulte osendereços fornecidos nos documents de service ou degarantia.
Aviso para Sinal Sem Fios

Por este meio, a Sony Corporation declara que esta unidade está conforme com os requisitos essenciais e outras disponções da Diretiva 1999/5/CE.
Para mais informações, por favor consulta o segunte URL: http://www.compliance.sony.de/
Notaparaosclientes:as seguintinesinformacoesapanase aplicam a equipamento commercializo em paises que aplicam as directivas da UE.
O Sistema sem fios de teovisor pode ser'utilido nos seguentes paises:
AT, BE, HR, CY, CZ, DK, EE, FI, FR, DE, GR, HU, IE, IT, LV, LT, LU, MT, NL, PL, PT, SK, SI, ES, SE, GB, IS, LI, NO, CH, BG, RO, TR, AL, BA, MK, MD, RS, ME
Estequipment podeserutilzado noutrospaisesnao europeus.
Informações de segurarca
ATENÇAO
As bateria não poder ser expostas a calor excessivo, como à luz do sol, perto do fogo ou situações semelhantes.
Instalacao/Programacao
Instale e utilize o tevisor conforme as instruções abaixo para fazer todo o risco de incência,acho eletrico ou avaria e/ou feridas.
Instalacao
- O teovisor deve ser instalado perto de una toma de corrente eletrica fácilmente accesivel.
- Coloque o televisor numa superficie nivelada e estavel, para fazer que caia e provoque ferimentos pessoais ou danos no televisor.
- Só&Tecnicos de assistência qualificados devem realizar as instalacoes de parede.
- Por razões de segurar, recomendamos fortemente que utilizecessórios da Sony, a inclui:
Suporte de parede
- Certifique-se de que utilizes os parafusos fornecidos com o suporte de parede quando instalar os ganchos de montagem (suporte) no teletor. Os parafusos fornecidos tem a dimensao indicaça pela ilustracao quando medidos a partir da superficie de fixacao do gancho de montagem (suporte).
O diametro e o comprimento dos parafusos são differsentes dependendo do Modelo de Suporte para montagem na parede.
Autilização de parafusos发展目标 dos fornecidos pode provocar avarias internas no teletor ou fazer com que caia, etc.

7mm
Parafuso (fornecido com o Suporte de montagem na parede)
Gancho de montagem (Suporte)
Fixação do gancho na parte de\ trás do televisor
Transporte
- Antes de transporte o televisor, deslige todos os cabos.
- São necessarias das ou mais pessoas para transporte um televator de tamanho grande.
- Ao transporte manualmente o television, segure-o conforme épresentado abaixo. Não fazercessobre o painei LCD nem sobre a moldura em redor do esra.

- Não exponha o televisor achoques ou vibrações excessivas durante o transporte.
- Se tiver que transporte o televator ou leva-lo para reparacoes, utilize a caixa e os materiais de embalagem originais.
Prevenção de queda
- Antes de colocar o parafuso de montagem, colocque a face do ecranuma superficie de trabajo estavel, maior do que o televator.
- Para evitar danIFICAR a superficie do ecra LCD, certificque-se de que coloca um pano macio na superficie de trabalho.
Ventilacao
- Nunca tape os orificios de ventilação nem introduza nenhum的对象o na caixa.
- Deixe espaço à volta do teilevisor como mostrado abaixo.
- Recomendamos fortemente que utilize o suporte para montagem na parede da Sony para permitir uma circulacao de ar adequada.
Instalacao na parede

Deixe pelo menos espeço à volta do televisor.
Instalacao com base

Deixe pelo menos este espaço à volta do televisor.
-
Para assegurar uma ventilação adequada e evaporar a Accumulation de sujidade ou poira:
-
Não instale o televisor em posicao horizontal, às avessas, paraTRS ou de lado.
- Não coloque o televisor numa estante, num tapete, numa cama ou num armário.
- Nāo tape o televisor com panos, por exemple, cortinas nem comoutsrosobjectos,comojornais,etc.
- Não instale o televisor como muito abaixo.

Cabo de alimentacao
Manipule o cabo de alimentacao e a tomada da segunte maneira para evitar todo o risco de incendio,CHOque eltrico ou avaria e/ ou feridas:
- Utilize apenas um cabo de alimentação fornecido pela Sony e não por outros fornecadores.
- Introduza a ficha na tomada até ao fim.
- Este teovisor funcia apenas com corrente alterna de 220-240 V.
Por motivos de segurar, desluge o cabo de alimentacao e evite que os seu pes pés fiquem entre os cabos quando efetuar as ligacoes. - Desligue o cabo de alimentacao da tomada eltrica antes de travaalhar com o tevisor ou de deslocaclo.
- Afaste o cabo de alimentacao de fontes de calor.
— Desligue a Fiona e limpe-a regularmente. Se a Fiona estiver humida e coberta de po, o isolamento pode fazer danificado, o que pode provocar um incendio.
Nota
- Não utilize o cabo de alimentação fornecido em qualquer outras equipamento.
- Não entale, dobre ou torca o cabo à forca. Os fios principales podem fazer descarnados ou ser cortados.
- Não modifique o cabo de alimentação.
- Não colque objetivos pesados em cima do cabo de alimentação.
- Nunca puxe peloproprio cabo de alimentacao quando o deslugar.
- Não liqueiros aparelhos à mesma tomada.
- Não utilize uma tomada de corrente que não está jaorem pressa à parede.
NOTA SOBRE O TRANSFORMADOR DE CORRENTE
Atença
Para reduzir o risco de incendio ouCHOque eltrico, nao exponha.
este aparelho ao chuva ou humidade.
Para evitar o risco de incendio ouCHOque eltrico, nao colocque recipientes com liquidos, como jarras, em cima do aparelho. Nao instale este equipamento num espo fechado, como una estante ou uma uniaidade semelhante.
- Certifique-se de que a tomada de但现在e elétrica está instalada perto do equipoamento e é de fácilAceso.
- Certifique-se de que utilizes o transformador de corrente e o cabo de alimentacao fornecidos.
- Não utilize及其他 transformador de corrente. Poderá provocar a uma avaria.
Ligue o transformador de corrente a uma tomada de corrente eletrica de fácilAceso. - Não enrole o cabo de alimentação à volta do transformador de corrente. O fio do nucleo pode quebrar e/ou provocar uma avaria no recetor multimédia.

- Não toque no transformador de corrente com as muitas molhadas.
- Se notar alguma anomalia no transformador de corrente, deslque-o imeditamente da tomada de corrente elética
- Enquanto estiver ligado à tomada de corrente electrica, o aparelho não está desligado da fonte de alimentacao, mesmo que o inicial aparelho tenha sido desligado.
- Uma vez que o transformador de corrente fica quente quando é realizado durante um longo periodo de tempo, poderá encontrar a superficie quente ao tocar com a maior.
Utilização proibida
Não instale/utilize o televisor em locais, ambientes ou situações como os listedos abaixo, ou, caso contrário, o televisor pode funcional mal e provocar um incêndio, quando eletrico, avaria e/ ou feridas.
Local:
- Ao ar livre (sob a luz solar direta), perto do mar, num navio ou outra embarçao, dentro de um veiculo, em instituções medicas, locais instáveis, perto de agua, chuva, humidade ou fumo.
- Se o televisor for colocado no balneário de uma piscina Pública ou estência termal, o televisor poderá ficar danificado pelo enxofre presente no ar, etc.

- Para uma melhor qualidade de imagem, não exponha o ecra a illuminação ou luz solar direta.
- Evite deslocar o tevisor de um local frio para um local quente. As variações de temperatura do local pode provocar a condensação da humidade. Isto pode fazer como que o tevisor aparece uma imagem de fraca qualida e/ou fraça cor. Se isto acontecer, deixe que a humidade se evaporare completeness antes de ligar o tevisor.
Ambiente:
- Locais quentes, humidos ou com muito pouco; onde possamentrar insetos;onde possa estar sujeito a vibrações mecâncias, perto de objetivos de fogo (velas, etc.). O teletor não deve ser exposto à agua ou salpços e não devem ser colocados quandoquevesse que contenham liquidos, como por exemple vasos, em cima do teletor.
- Não coloque o televisor num local humido ou com poeiras ou numa divisao com fumo gorduroso ou vapor (junto de fogoes ou humidificadores). Poder acorrer incendido,choque eletrico ou deformacao.

- Não instale o televisor em locais sujeitos a temperatas muito elevadas, como, por exemplo, expostos à luz solar direta ou perto de um radiador ou aparelho de ar condicionado. O televisor pode sobraquecer.nessa situacao, o que pode causar a deformacao da calxa e/ou umaavaria do televisor.


Situação:
- Não utilize o teletor o quando tiver as mês molhadas, com a tampa retirada, ou com acessórios não recomendados pelo fabricante. Desligue o teletor da tomada de corrente e da antenna durante as trovoidas.
- Não instale o teletór de forma a que este fique projetado para um espoço aberto. Poderão ocorro ferimentos ou danos provocados pelo facto de uma pessoa ou objeto bater no teletór.

Peças danificadas:
- Não lance nada contra o televisor. O vidro do ecra pode partir-se devido ao impacto e provocar ferimentos graves.
- Se a superficie do teovisor rachar, não toque nelà até ter desligado o cabo de alimentação. Caso contrário, pode provocar umCHO que elétrico.
Quando não estiver a ser realizado
- Se não vais'utilizar o televisor durante varios días, delve desigal do alimentação por razões ambientais e de segurar.
- Como o teletor do estado de desigão, retire a fiche da tomada para deslagur o teletor completeness.
- No entanto, algunos televisores possuem funções que precisam que o teletor fique no modo de espera (standby) para funciona correttamente.
Para as crianças
- São deixe as crianças subir para o televisor.
- Mantenha os acessosórios fora do alcance das crianças, para que não possam ser engolidos por engano.
Se ocorrerrém os seguientes problemas...
Desligue o televator e retire a ficha da tomada imeditamente se algoum dos seguintes problemas ocorro.
Dirija-se a um agente ou centro de assistência Sony para enviar o televator a um technician de assistencia qualificado para verificacao.
Quando:
- O cabo de alimentacao estiver danificado.
A tomada de corrente não estiver bem presa à parede. - O televator estiver danificado por ter caido, ter sofrido uma pancada ou ter sido lancada algoa coisa contra ele.
- Se algoql liquido ou objeto solido penetrar nos orificios da caixa.
Acerca da Temperatura do Monitor LCD
Quando o monitor LCD é utilizado durante um periodo de tempo prolongado, aarea em volta do pailé aquece. Podera sentir a superficie quente ao tocar com a ].
SUPORTE DE PAREDE
As informações abaixo aparecidas descverem a correta utilizesao do suporte de parede. Leia estas informacoes na integra e utilize o suporte de parede corretamente.
Para os pacientes:
Certifique-se de que cumpre as seguintes precauções de segurarça para evitar ferimentos graves devido a incendidio,CHOQUE elétrico ou quidas do produits.
- Certifique--se de que a instalación é efetuada por contratasentes licenciados e mantenha as crianças afastadas do local durante a instalação.
- Solicite o transporte e a desmontagem do televisor a contratantes licenciados.
- Não retire os parafusos, etc., às a montagem do televisor.
- Não efetue quaisquer alterações às peças do suporte de parede.
- Não instale outras equipos que não o produits especializados.
- Não coloque outra energia que não o teletó ron suporte de parede.
- Nao se encoste nem se pendure no televator.
- Não manusei o televisor com fora excessiva durante a limpeza ou a manutenção.
Para os agentes e contratantes da Sony:
As instruções seguições destinam-se apenas aos agentes e contratantes da Sony. Leia as precaúções de segurarça abaixo presentadas e preste especial atençao à segurarça durante a instalação, manutenção e verificação deste produits.
- Ao manusear ou montar o televisor, segure-oPEGOs Iados. Nao levante o televisor pelo suporte.

- Não instale ou suporte de parede em paredes nas quando os cantos ou os lados do teletór fisqueem salientes em relaçao à superficie da parede.

-
Não instale o televisor por cima ou por baixo de um aparecido de ar condicionado.
-
Certifique-se de que instala o suporte de parede com segurar, seguido as instruções这是我 manual de instrções. Se algoim dos parafusos estiver solto ou cair, o suporte de parede pode fazer e provocar ferimentos ou danos materiais.
-
Certifique-se de que utilizes corretamente os parafusos e acessórios fornecidos, seguido as instruções aparecidas neste manual de instruções. Se utilizear outros acessórios, o televisor pode acair e provocar ferimentos pessoas ou danos no televisor.
-
Monte o suporte corretamente, seguido o procedimento explicado neste manual de instruções.
-
Aperte firmamente os parafusos na posicao indicada.
-
Não submeta o televisor a impactos durante a instalacao.
-
Instale o teilevisor numa parede perpendicular e plana.
-
Após a correta instalação do televisor, fixe corretramente os cabos.
-
Não permita que o cabo de alimentação ou os cabos de ligaçao fiquem trilhados, uma vez que os conduutores internos poderão ficar expostos e provocar curtos-circuitoos ou cortesétricos.


Precauções
Vertelevisao
- Algunsutilizadorespodem sentiralgumdesconforto (esforcovisual,fadiga ounauseas) aquando da visualização de imagensde video 3D ou quando jogarem jogos estereoscópicos 3D.A Sony recomenda que todos osutilizadores facam paumasregulares quandovisualizamimagens de video 3D ou quandojogam jogos estereoscópicos 3D.A duracão e a frequência daspaumas necessarias irao variar de pessoas para persona.Deve decidir o que é melhor para si. Se sentiralgumdesconforto,deve parar de visualizar imagens de video 3D ou de jogar jogosestereoscópicos 3D atédeixar de sentiresse desconforto;consulte ummedico se necessario.Deve tambem consultar (i) omanual de instruções de qualisquerotirosdispositivosouaccessóriosutilizadoscomeste teilevisor e(ii) o nosso website(http://support.ory-europe.com/)paraobterasinformacoes maisrecentes.A visao dascrianas (especialmentecriançasdeidade inferiora-seisanos)ainda se encontra emdesenvolvimento.Consulte ummedico como,porexample,umpediatra ou um oftalmologista)antes de permitirque osseusfilhosvisualizemimagensde video 3Dou joguem jogostereoscópicos 3D.Osadultosdevemvigiarascriançasparaassegurarqueestasseguemasrecomendaçõesindicadasacima.
- Não utilize, guarde ou deixe os Óculos 3D ou a pilha+junto de chamas ou em locais com uma temperatura elevada, como, por exemplo, sob a luz solar direta ou num automóvel exposto ao sol.
- Quando utilizes a funcao 3D simulada, tenha em atencao que a imagem apareceu é Differente da original devido a conversao efetuada por este televisor.
- Veja televisão com uma luz ambiente adequada, às uma luz fraca ou ver televisão durante um longo periodo de tempo prejudica a vista.
- Se utilizes auscultadores, não regule o volume para um[nivel demasiado alto, para evaporar lesoes auditivas.
Ecrã LCD
- Embora o éra LCD seja fabricado com uma Tecnologia de alta precisão e 99,99% ou mais dos pixels sejam efetivos, poder aparecer/systematicamente pontos pretos ou pontos brillantes de luz (vermelha, azul ou verde). Não se tratate de uma avaria, mas sim de uma(CC) da estrutura do LCD.
- Não corregue nem risque o filtro frontal, nem coloque objetivos em cima do televisor. Pode danIFICAR o ecra LCD ou a imagem ficar irregular.
- Se utilizes o televisor num local frio, as imagens podem ficar escuras ou com manchas. Não se tratate de uma avaria. Este fenómeno desaparece logo que subir a temperatura.
- Se visualizar imagens fixas continuamente, pode produzir-se uma imagem fantasma. Essa imagem desaparece pouco(depíos.
- Durante a'utilização do teilevisor, o eça e a caixa aquecem. Isso não é sinônimo de avaria.
- O écrà LCD contém uma pequena quantidade de cristais liquidos. Para se desfazer deles, cumpra as regulamentoções e imposções locais.
Utilizar e limpar o ecra/a caixa do televisor
Desligue o cabo de alimentacao que liga o televisor a tomada de corrente eltrica antes de limpar.
Para evaporar a degradacao do material ou a degradacao do revestimento do ecr, respeite as seguintes precauções.
- Limpe o pó do ecra/da caixa com cuidado com um pano de limpeza maclo. Se não consuerimper bem o po, humedeça ligeiramente um pano macio numa solução de detergente sueve.
- Nunca pulverizeágua ou detergente diretamente sobre o televisor. Pode pingar para a base do ecra ou para as peças exterioriores e infiltrar-se no televisor, podendo fazer danos no mesmo.

- Não utilize esfregões abrasivos, liquidos de limpeza alcalinos/ acidos, pos de limpeza ou solventes voláteis, como álcool, benzina, diluente ou inseticida. Se utilizes este tipo de materiais ou mantiver um contacto prolongado com materiais de borracha ou vinil danifica a superficie do eça e o material da caixa.
- É recomendado passar periodicamente o aspiradoriros orificios de ventilação para assegurar uma ventilação adequada.
- Quando ajustar o angulo do televisor, mova-o lentamente de forma a impedir que o televisor se desloque ou se separe da base.
Equipamento optional
- Coloque os componentes.optionais ou qualquer equipamento que emita radiação eletromagnética longe do televisor. Caso contrário, pode aparecer distorção da imagem e/ou som com ruido.
- Este equipamento foi testado e verificou-se que cumpre os limites estabelecidos pela Diretiva EMC, utilizing um cabo de sinal de liação com menos de 3 metros.
Recomendação da ficha do tipo F
A projeção do cabo interno a partir da parte de ligação deve ser inferior a 1,5 mm.

1.5 mm no max.
(Desenhodeferenciadaficha do tipoF)
Cuidados ao manusear o telecomando
- Respeite a polaridade correta quando colocar as pilhas.
- Não use temas de pilhas differentes, não misture pilhas novas com pilhas usadas.
- Deite as pilhas fora respeitando as leis de protecao ambiental. Algumas regioes podem ter regulamentoacoes acerca da eliminacao de pilhas. Aconselhe-se junto das autoridades locais.
- Utilize o telecomando com cuidado. Não entorne liquidos sobre o telecomando nem o pise ou deixe cabir.
- Não coloque o telecomando num local perto de uma fonte de calor, num local exposto à luz solar direta ou numa sala humida.
Funcao Sem Fios da unidade
- Não utilize esta unidade na proximidade de equipamentos médicos (pacemakers, etc.), eles podem provocar um mau等功能amento desse equipamento.
- Embora esta unidad transmitsa/receba sinais codificados, esteja atento a possibuldade de intercecao nao autorizada. Nao nos responsabilizamos por problemas resultantes半导so这事o.
SUPORTE DE PAREDE
- Se utilizes o televisor instalado no suporte de parede durante um longo periodo de tempo, a parede porTRS ou por cima do televisor podera perdar a cor e o papel de parede poderadescolar,dependendo do material daparee.
- Se retiring o suporte para montagem na parede(before do instalar na parede, os orificios do parafuso mantem-se.
- Não utilize o suporte de parede num local sujeito à vibrações mecânicas.
Eliminação do teletór

Tramento de Equipamentos Elétricos e Eletrónicos no final da sua vidautil (Aplicável na União Europeia e em paises Europeus com sistemas de recolha seletiva de resíduos)
Este symbolo, colocado no produit ou na sua embalagem, indica que este não deve ser
tratado como resíduo urbano indiferenciado. Deve sim ser colocado num punto de recolha destinado a resíduos de equipamentos electricos e eletrónicos. Assegurando-se que este produits correttamente depositado, iapreventarocasiaincidues negativas para o ambiente bem como para a saúde,que de outra forma poderiam ocorrer pelo mau manuseamento destes produits.Areciclagem dos materiais contribuira para a conservação dos recursos naturais. Para obter informação mais detalhada sobre a reciclagem deste produits, por favor contacte um@micipioonde reside,osservicosde recolha de resíduos da suaareaoua lojaonde adquiriouproduto.

Tramento de pilhas no final da sua vidautil (Aplicavel na Uniao Europeia e em paises Europeus com sistemas de recolha seleita de resíduos)
Este símbolo, colocado na pilha ou na sua embalagem, indica que estes produits não devem ser tratados como residuos urbanos indeferenciados. Em determinadas pilhas este símbolo pode ser uso em combinação com um símbolo químico. Os símbolos químicos para o mercário (Hg) ou chumbo (Pb) são adicondidos se a pilha contiver mais de 0,0005% em mercurio ou 0,004% em chumbo. Devem antes ser colocados num punto de recolha destinado a residuos de pilhas e acumuladores. Assegrando-se que estas pilhas são corretramente deposadas, irápreventir potenciés consequências negativas para o ambiente bem como para a saüde, que de outras forma poderiam ocorrirleo mau manuseamento destas pilhas. A reciclagem dos materiais contribuiça para a conservação dos recursos naturais. Se por motivos de segurarce, desempenho ou proteção de dados, os produits necessitarem de uma ligation permanente a uma pilha integrada, esta sove de substituição por professionis qualificados. Acabado o periodo de vidautil do aparelho, colque-o no pointo de recolha de produits elétricos/ eletrónicos de forma a garantir o tratamento adequado da bateria integra. Para as restantes pilhas, por favor, consulute as instruções do equipamento sobre a remoçao da mesma. Deposite a bateria numpointo de recolhadestinadoa residuos de pilhas e baterias. Para informações mais detalhadas sobre a reciclagem deste produit, por favor contacte o municípo onede reside, os servicos de recolha de residuos da sua area ou a loja onde adquiriu o produit.
Instalacao do televisor na parede
Para os pacientes
É necessário possuir uma formação técnica adequada para instalar este produits. Solicite a instalação à agentes da Sony ou a entreprises contratadas autorizadas e preste especial atençao à segurará durante a instalacao. A Sony não se responsabiliza por quaisquer danos ou ferimentos provocados pela utilização inadverta ou instalação incorreta, nemPGA instalacao de um produit diferente dos produits especificados. Os seu direitos estatutários (caso existam) não são afetados.
Para os agentes e entreprises contratadas da Sony
É necessário possuir uma formação técnica adequada para instalar este produits. Leia atentamente este manual de instruções para efetuar a instalação com segurança. A Sony não se responsabiliza por quando danos ou ferimentos provocados pela utilização indevia ou instalação incorrente.
O suporte de fixação para mesas do seu televisor serautilizzato como parte do suporte de parede.
Nota
- Consulte a págin3 (Informações de seguranca) e a página 5 (Precauçoes) em SUPORTE DE PAREDE antes de efetuar a instalacao do suporte de parede.
- Se o suporte de fixação para mesas estiver fixado no teilevisor, retire previamente o suporte de fixação para mesas.
- Coloque o televor com o eira virado para baixo numa superficie nivelada e estavel, com um pano espesso e suave maior do que o televor, quando fixar o suporte ou quando退市ar o suporte de fixacao para mesas do televor para evacitar danos na superficie do eira LCD.
Depois deutar os braços do suporte, guarde os braços do suporte e os parafusos num local seguro. - Quando voltar a colocar o suporte de fixação para mesas, certifique-se de que aperta os parafusos (anteriormente retirados) nos orificios originais na parte traseira do televisor.
- Certifique-se de que o televisor se encontra na posicao vertical antes de o ligar. O televisor nao deve ser ligado com o ecran LCD virado para baixo para fazer uma imagem irregular.
Retirar o suporte de fixação paraesan do teilevisor

Instalacao dos suportes na parede
1 Prepare os itens necessários.
Acessórios do suporte de parede (fornecidos)
A Modelo de papel
B Base de montagem
na parede
KDL-50W82xB,
KDL-50W81xB
KDL-50W80xB
KDL-50W70xB (2)
KDL-42W82xB
KDL-42W81xB
KDL-42W80xB,
KDL-42/32W70xB1


Protetedoro
suporte
KDL-50W82xB
KDL-50W81xB
KDL-50W80xB,
KDL-50W70xB (2)
KDL-42W82xB
KDL-42W81xB
KDL-42W80xB,
KDL-42/32W70xB (1)

D Parafuso
(+PSW6× 12) (2)

E Espaçador (2) F Tampa do
suporte
KDL-50W82xB
KDL-50W81xB
KDL-50W80xB
KDL-50W70xB (2)
KDL-42W82xB
KDL-42W81xB
KDL-42W80xB
KDL-42/32W70xB1
(6) Parafuso (+PSW4× 10)
KDL-50W82xB
KDL-50W81xB,
KDL-50W80xB,
KDL-50W70xB (2)
KDL-42W82xB
KDL-42W81xB
KDL-42W80xB,
KDL-42/32W70xB (1)



Suporte (fornecido)

H
Parafudos da base de montagem na parede (8 mm de diametro, não fornecidos)
KDL-50W82xB
KDL-50W81xB
KDL-50W80xB
KDL-50W70xB8)
KDL-42W82xB
KDL-42W81xB
KDL-42W80xB,
KDL-42/32W70xB (4)
2 Certifique-se de que a parede tem esqpo suficiente e capacidade para suportar um peso.
quatro vezes superior ao peso do tevelor.
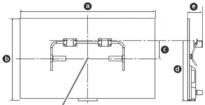
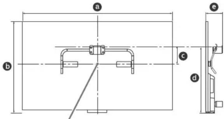
Consulte aanela segunte para obter informacoes sobre a instalação do teletor na parede. Consulte a网页 15-18 (CaracteristicasTécnicas) para obter informacoes sobre o peso do teletor.
KDL-50W82xB,KDL-50W81xB,KDL-50W80xB,KDL-50W70xB

Ponto central do ecran
KDL-42W82xB, KDL-42W81xB, KDL-42W80xB, KDL-42/32W70xB

Ponto central do ecran
Aparelho: cm
| Nome do modelo KDL- | Dimensões do visor | Dimensão do centro do eocrã | Comprimento de montagem | ||
| a | b | c | d | e | |
| 50W82xB/ | |||||
| 50W81xB/ | 111,6 | 65,6 | 13,0 | 46,9 | 11,8 |
| 50W80xB/ | |||||
| 50W70xB | |||||
| 42W82xB/ | |||||
| 42W81xB/ | 95,8 | 56,3 | 17,5 | 46,5 | 11,8 |
| 42W80xB/ | |||||
| 42W70xB | |||||
| 32W70xB | 72,9 | 43,3 | 18,8 | 41,3 | 11,3 |
Nota
- Os他们在 na lista podem variar ligeiramente consoante a instalacao.
3 Coloque unamarca no modelo de papel 已 que indica o centro do ecran do televator.
KDL-50W82xB,KDL-50W81xB,
4 Cole o Modelo de papel A na parede e efetue os orificios de acordo com a numeração do Modelo de papel A utilizing um berbequimétrico.
KDL-50W82xB,KDL-50W81xB,
5 Retire o modelo de papel @ da parede.
Fixe a base de montagem na parede ⑧ corretamente na parede'utilizing os parafusos (8 mm de diametro, não fornecidos).
KDL-50W82xB,KDL-50W81xB,
1 Retire os parafusos da parte traseira do televisor. Certifique-se de que guarda os parafusos retirados num local seguro, mantendo-os afastados de crianças.

2 Introduza o pino (noprotetordosuporte ⑥ )no orificio do suporte e, em seguida,度过o protetordosuporte ⑥ .Confirma se oprotetordosuporte ⑥ estafirmamente fixo no suporte
KDL-50W82xB,KDL-50W81xB, KDL-50W80xB,KDL-50W70xB
KDL-42W82xB,KDL-42W81xB, KDL-42W80xB,KDL-42/32W70xB

3 Fixo suporte 電 no tevisor utilizing os parafusos 電 fornecidos. Fixe os espacadores 電 nos orificios indicados pelas marcas de triangulo . KDL-50W82xB, KDL-50W81xB, KDL-50W80xB, KDL-50W70xB é utilizado para fins de ilustracao.

Instalacao do televisor na parede
1 Certifique-se de que liga e une os cabos antes de instalar o televisor na parede.
2 Instale o televisor na parede. Em seguida, confirme se o protetor do suporte 已 está firmamente fixo na base de montagem na parede 已 e os espaçadores 已 tocam na parede. Fixe a tampa do suporte 已 'utilizing os parafusos 已 fornecidos.

KDL-50W82xB,KDL-50W81xB, KDL-50W80xB,KDL-50W70xB

KDL-42W82xB,KDL-42W81xB, KDL-42W80xB,KDL-42/32W70xB





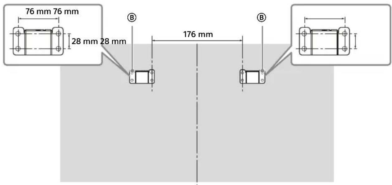
Dimensoes das posicaoes dos orificios na parede
Transmita as informações abaix o aparecidas as entreprises contratadas autorizadas, conforme necessario.
Utilize parafusos (8 mm de diametro, não fornecidos) para instalar a base de montagem na parede na parede.
Certifique-se de que utilizes o Modelo de papel (A) fornecido que aparece a posicao real da base de montagem na parede para fácil instalação.
KDL-50W82xB, KDL-50W81xB, KDL-50W80xB, KDL-50W70xB

PT
KDL-42W82xB, KDL-42W81xB, KDL-42W80xB, KDL-42/32W70xB


Para obter instruções sobre a instalação do suporte de parede do seu Modelo de televisor, consulte o website seguinte: www.sony.eu/tv/wall-mount-bracket-manual
Resolução de problemas
Quando o LED de iluminação estiver a piscar a vermelho, anote o número de vezes que piscá (o tempo de intervalo é de eles SSDs).
Se o Iluminação LED piscar a vermelho, Reinicao o teletor desligando o cabo de alimentacao do teletor durante bois minutos e, em seguida, lique o teletor.
Se o problema persistir, contacte o seu agente ou centro de assistencia Sony e indique o número de vezes que o Iluminação LED piscá a vermelho (o tempo de intervalo é deTRSsegundos).Carregue em I/ no tevisor para o desligar, desligue o cabo de alimentação e informe o seu agente ou centro de assistencia Sony.
Quando o LED de iluminação não estiver a piscar, verifique os itens constantes das URLs seguides.
Pode también consulter [Resolução de problemas] no i-Manual ou realizar um Autodiagnosticismo selecionando? [Ajuda] → [Apoio ao cliente] → [Autodiagnosticão]. Se o problema persistir, Solicite a reparação do televisor a um专业技术e de assistência qualificado.
Problemas e soluções
Não aparece imagem (o érá está escuro) e não há som.
- Verifique a ligação da antenna/cabo.
- Ligue o télévisar à currente CA e carregue em I/O no télévisor ou no telecomando.
Não é possível sintonizar algunos programas.
- Verifique a antenna ou prato.
- O cabo de satélite poderá entrada em curto-circuito ou poderá haber problemas de ligação no cabo. Verifique a ligação do cabo e, em seguida, desligue o teletvisor com o interruptor de ligar/ desligar alimentação e volta a ligar.
- A frequência que introduziu está fora do intervalo. Consulta a Empresa de transmissão de satélite recebida.
Não foram encontrados serviços (programas) de televisão por cabo.
- Verifique a ligaçao do cabo ou a configuraçao de sintonização.
- Tente a [Sintonização Automática Digital] selecionando [Antena] em vez de [Cabo].
O telecomando não funciona.
- Substitua as pilhas.
- O seu tevisor poderá estar no modo SYNC. Carregue em SYNC MENU, selección [Controlo de TV] e, em seguida, selección [Home (Menu)] ou [Opções] para controlar o tevisor.
Esqueceu aPALAVRA-PASSE de [Bloqueio Parental].
- Introduza o Código PIN 9999. (O翃 PIN 9999 é sempre aceite.)
Aarea na proximidade do televator aquece. - Quando o televisor éutilizzato durante um periodo de tempo prolongado, a area na proximidade do televisor aquece. Poderá partir a superficie quente ao tocar com a性和 meuselsons.
Áudio ou videobloqueados, um eça em branco ou o teletor não responde acos botões do teletor ou do telecomando.
- Efetue um reinicio simples do televisor, desligando o cabo de alimentacao CA durante boiscretos e, em seguida, ligue-o novamente.
Os botoes I/CH+/-, +/-, +/+/+e HOME não se encontrar no televator.
- Consulte a ilustracao abaixo para saber a localização dos botões no televisor.

Parte traseira do televator
A iluminação LED está acesa.
- Se não pretende acender a iluminação LED, pode apagá-la.
Carregue em HOME e, em seguida, selecione [Parametros] [Parametros do Sistema] [Configuração Geral] [Illuminação LED] [Desativar]. Pode tambiénregarar em OPTIONS e, em seguida, selecionar [Illuminação LED] [Desativar].

Não é possível ligar a um router sem fios através de WPS.
- Se utilizes segurar WEP, selección [Fácil] → [Wi-Fi] → [Ligar atraves da lista de pesquisa]. Em seguida, selección o nome da rede (SSID) à qual pretende ligar-se.
Não é possível encontrar o nome da rede necessária na configuração da rede.
- SeLECTIONE [[Introdução manual]] e carregue em para introduzir o nome da rede.
Characteristicas先进技术
Sistema
Sistema do ecra
Ecrà LCD (Visor de Cristal Líquido),
Retroiluminação LED
Sistema de televisao
Analogico: Dependendo da selecao do seu pais/
area:B/G,D/K,L,I,M
Digital: DVB-T/DVB-C
DVB-T2
Satélite: DVB-S/DVB-S2
Sistema de Cor/Video
Analógico: UHF/VHF/Cabo, Dependendo da
seLECTION do seu pays/area.
Digital: UHF/VHF/Cabo, Dependendo da selecao
do seu pays/area.
Satélite: Frequência IF 950-2150 MHz
Saida de som
8W + 8W (exceto para KDL-32W70xB)
5 W + 5 W (apenas KDL-32W70xB)
Tecnologia sem fios
Protocolo IEEE802.11a/b/g/n
Tomadas de Entrada/Saía
Cabo da antenna
Terminal externode 75 ohm para VHF/UHF
Antena do satélite
Conector de tipo F fêmea IEC169-24, 75 ohm.
DiSEqC 1.0, LNB 13 V/18 V & tom 22 kHz,
Distribuicao por um Cabo EN50494.
AV1
Euroconector de 21 pinos (norma CENELEC)
incluindo entrada de audio/video, entrada RGB e
saidá audio/video de TV.

C
O M
P O
N E
N T I
HDMI IN 1, 2, 3, 4 (exceto para
KDL-50/42/32W70xB)
Video (2D): 1080p (30, 50, 60 Hz), 1080/24p, 1080i
(50, 60 Hz), 720p (30, 50, 60 Hz), 720/24p, 576p,
576i, 480p, 480i, Formatos PC Video (3D):
Frame Packing: 1080p (30 Hz), 1080/24p, 1080i
(50, 60 Hz), 720p (30, 50, 60 Hz), 720/24p
Lado-a-lado: 1080p (50, 60 Hz), 1080/24p, 1080i (50, 60 Hz), 720p (50, 60 Hz)
Uma sobre a outra: 1080p (30, 50, 60 Hz), 1080/24p, 1080i (50, 60 Hz), 720p (50, 60 Hz)
Audio: PCM linear do canal 5.1: 32, 44,1 e 48 kHz, 16, 20 e 24 bits, Dolby Digital
ARC (Audio Return Channel) (apenas HDMI IN 2)
HDMI IN 1,2,3,4 (apenas KDL-50/42/32W70xB)
Video: 1080p (30, 50, 60 Hz), 1080/24p,
1080i (50, 60 Hz), 720p (30, 50, 60 Hz),
720/24p, 576p, 576i, 480p, 480i, Formatos PC
Audio: PCM linear do canal 5.1: 32, 44,1 e 48 kHz, 16, 20 e 24 bits, Dolby Digital
ARC (Audio Return Channel) (apenas HDMI IN 2)
Conector 10BASE-T/100BASE-TX (Dependendo do ambiente de operacao da rede, a velocidade de ligaacao pode variar. A taxa de comunicaao e qualidade de comunicaao do modelo 10BASE-T/ 100BASE-TX nao são garantidas no caso deste televisor.)
Outros
Acessórios.optionais
Telecomando Touchpad: RMF-ED004
Unidade de-camera e microfone: CMU-BR200/ CMU-BR100
Subwoofer sem fios: SWF-BR100
MHL cable: DLC-MB10/DLC-MB20/DLC-MC10/DLC-MC20
Oculos 3D ativos: TDG-BT500A (apenas
KDL-50W82xB,KDL-50W81xB,KDL-50W80xB)

Óculos 3D passivos: TDG-500P (apenas
KDL-42W82xB,KDL-42W81xB,KDL-42W80xB)

Temperatura de funciona 0^ - 40^
10% - 80% HR (não condensada)
Alimentação e outros
Requisitos de alimentacao
19,5 V DC com transformador de CA
Capacidade nominal: Entrada 220 V - 240 V AC, 50 Hz
Classe de eficiência energetica
KDL-50W82xB,KDL-50W81xB,KDL-50W80xB
KDL-50W70xB:A++
KDL-42W82xB,KDL-42W81xB,KDL-42W80xB
KDL-42W70xB:A+
KDL-32W70xB:A
Dimensoes do ecra (mediado diagonalmente) (Aprox.)
KDL-50W82xB,KDL-50W81xB,KDL-50W80xB
KDL-50W70xB: 50 polegadas / 125,7 cm
KDL-42W82xB,KDL-42W81xB,KDL-42W80xB
KDL-42W70xB: 42 polegadas / 106,7 cm
KDL-32W70xB: 32 polegadas / 80,1 cm
Consumo de energia
no modo [Standard]
KDL-50W82xB,KDL-50W81xB,KDL-50W80xB
KDL-50W70xB:51W
KDL-42W82xB, KDL-42W81xB, KDL-42W80xB,
KDL-42W70xB:50W
KDL-32W70xB: 39 W
no modo [Vivido]
KDL-50W82xB,KDL-50W81xB,KDL-50W80xB
KDL-50W70xB:100 W
KDL-42W82xB, KDL-42W81xB, KDL-42W80xB,
KDL-42W70xB:99 W
KDL-32W70xB:80 W
0,5 W (10 W no modo deactualização do EPG/software)
Resolução do ecra
1.920 pontos (horizontal) × 1.080 linhas (vertical)
Dimensoes (Aprox.) (larg. × alt. × prof.)
com suporte de fixação para mesas
KDL-50W82xB,KDL-50W81xB,KDL-50W80xB
KDL-50W70xB:111,6×69,3×17,9 cm
KDL-42W82xB, KDL-42W81xB, KDL-42W80xB,
KDL-42W70xB:95,8×60,0×17,0 cm
KDL-32W70xB: 72,9× 46,5× 14,1 cm
sem suporte de fixacao para mesas
KDL-50W82xB,KDL-50W81xB,KDL-50W80xB
KDL-50W70xB:111,6×65,6×6,4 cm
KDL-42W82xB, KDL-42W81xB, KDL-42W80xB,
KDL-42W70xB:95,8×56,3×6,4cm
KDL-32W70xB: 72,9× 43,3× 6,4cm
Peso (Aprox.)
com suporte de fixação para mesas
KDL-50W82xB,KDL-50W81xB,KDL-50W80xB
KDL-50W70xB:14,8kg
KDL-42W82xB, KDL-42W81xB, KDL-42W80xB,
KDL-42W70xB:11,7 kg
KDL-32W70xB:7,9kg
sem suporte de fixacao para mesas
KDL-50W82xB,KDL-50W81xB,KDL-50W80xB
KDL-50W70xB:13,6kg
KDL-42W82xB, KDL-42W81xB, KDL-42W80xB,
KDL-42W70xB: 10,5 kg
KDL-32W70xB:6,9kg
^*1 Consumo de energia por ano, com base no Consumo de energia verificado com o televisor a funciona 4 horas por dia durante 365 días. O Consumo de energia real irá depender da forma como o televisor é utilisé.
^*2 A energia em modo de espera (standby)pecifiedadaéatingidadeposdeotelevisorconcluirosprocessosinternosnecessarios.
Nota
- O "x" que aparece no nome do Modelo corresponde a um digito número relacionado com o design, a cor ou o Sistema de televisão.
- Não retire o cartão fictério da ranhura CAM (Módulo de Acesso Condiencial) do teilevisor, exceto quando para introduzir um smart card instalado no CAM.
- A disponibilitadodeaccessoipoonais dependedespaises/regiao/modelodeltelevision/stock.
- O design e as caracteristicas痫icas está sujeitos a alteracao sem aviso previo.
- Este televisor inclui MHL 2.
Aviso para a funcao de television digital
- Todas as funções relativas à televisão digital (D) estarão disponíveis apenas para os País ou和地区 em que são transmitidos sinais terrestres digitais DVB-T/DVB-T2 (MPEG-2 e H.264/MPEG-4 AVC) ou onde existe apos um服务于 cabo compatível com DVB-C (MPEG-2 e H.264/MPEG-4 AVC). Por favor, confirma com o seu agente local se pode receber um sinal DVB-T/DVB-T2 no seu local de residência ou pergunte ao seu fornecedor de cabo se o seu的服务o de cabo DVB-C é adequado para operação integradada com este tevisor.
- O fornecedor de cabo pode cobrar um preco adicional pelos他们在 termos e solicitar que concorde com os他们在 termos e condições de negócio.
- Este televisor cumpre com as espécificações DVB-T/DVB-T2 e DVB-C, mas a compatuldade com futuras transmissões terrestres digitais DVB-T/ DVB-T2 e por cabo digitais DVB-C não é garantida.
- Algumas funções de televisão digital podem não estar disponible em outros paíSES/áreas e o cabo DVB-C pode não funciona corretamente com outros fornecadores.
Informação da marca registada
- Os termos HDMI e HDMI High-Definition Multimedia Interface e o logó tipo HDMI são MARCAS comérciais ou MARCAS comérciais registadas da HDMI Licensing LLC nos EUA e noutsros países.
- DLNA®, o logólico DLNA e DLNA CERTIFIED® sãoscarcascomerciais,marcas de service ou marcas de certificacao da Digital Living Network Alliance.
- Fabricado sob licença da Dolby Laboratories. Dolby e o símbolo duplo D são MARCAS registadas da Dolby Laboratories.
- "BRAVIIBRAVAs ao marcas comerciais da Sony Corporation.
- TrackID é uma marca comercial ou marca comercial registada da Sony Mobile Communications AB.
- Gracenote, Gracenote eyeQ, Gracenote VideoID, Gracenote Video Explore, Gracenote MusicID, o logó tipo Gracenote e o logó tipo "Powered by Gracenote" são MARCAS comérciais registadas ou MARCAS comérciais da Gracenote nos Estados Unidos e/ou noutsros paises.
- Opera® Devices SDK from Opera Software ASA. Copyright 1995-2014 Opera Software ASA. All rights reserved.
- Wi-Fi, Wi-Fi Direct e Miracast são MARCAS comércios ou MARCAS comércios registadas da Wi-Fi Alliance.
- O logólico "Sony Entertainment Network" e "Sony Entertainment Network" sãoscarcas commerciais da Sony Corporation.
- MHL, Mobile High-Definition Link e o logótno MHL são MARCAS comérciais ou MARCAS comérciais registadas da MHL Licensing, LLC.
- Para obter informações sobre patentes DTS, consulte http://patents.dts.com. Fabricado sob licença da DTS Licensing Limited.DTS, o síbolo, & DTS e o síbolo em Conjunto são MARCAS commerciais registadas e Digital Surround é uma marca comercial da DTS, Inc. © DTS, Inc. Todos os direitos reservados.
-
Design with UEFI Technology Under License from Universal Electronics Inc. Portions © UEI 2000 - 2013
-
O símbolo daPALavraeoslogótipos Bluetooth®são proprietada da Bluetooth SIG,Inc.e qualquerutilizaçãodesses simuloblos por parte da Sony Corporation está sob licença.Outrasmarcas commerciais e nomescomerciais sāo proprietada dos respetivospropietários.
- DiSEqCTM é uma marca comercial da EUTELSAT.
Este teovisor suporta DiSEqC 1.0. Este teovisor nao se destina ao controlo de antennas motorizadas.
Sommario
NOTA IMPORTANTE. 3
Informação o teplote LCD monitora
Ked' LCD monitor pouzivate dlhsiu dobu, okolite casti panela sa nahreju. Mozte to citit, ked sa ho dotknete rukou.
MONTAZNA KONZOLA NA STENU
Nasledujuce informacie sa tykaju spravnej manipulacion montaiznou konzolou na stenu. Dokladne si precitajte tieto informacia a pouzivaje montaiznu konzolu na stenu spravne.
Pre zákaznikov:
Védjegyekkel kapcsolatos informaçãok
Para informaçãoutil sobre os produits Sony
ManualFácil