GBH 224 D - Trapano BOSCH - Manuale utente e istruzioni gratuiti
Trova gratuitamente il manuale del dispositivo GBH 224 D BOSCH in formato PDF.
Scarica le istruzioni per il tuo Trapano in formato PDF gratuitamente! Trova il tuo manuale GBH 224 D - BOSCH e riprendi in mano il tuo dispositivo elettronico. In questa pagina sono pubblicati tutti i documenti necessari per l'utilizzo del tuo dispositivo. GBH 224 D del marchio BOSCH.
MANUALE UTENTE GBH 224 D BOSCH
mente a una reciclagem ecologica.
Sobreshavadealteracoes.
Italiano
Avvertenze generali di pericolo per eletttroutensili
AVERTENZA
Leggere tutte le avventenze di pe-ricolo e le istruzioni operative. In
caso di mancato rispetto delle avventenze di pericolo e delle istruzioni operative si potrare create il pericolodi scosse elettriche, incendi e/o incidenti gravi.
Conservare tutte le avvertenze di pericolò e le istruzioni operative per anni esigenza futura.
Il termine «elettrotensile» utilizzato nelle avvertenze di pericolo si riferisce ad utensili elettrici alimentati alla rete (con linea di allacciamento) ed ad utensili elettrici alimentati a batteria (senza linea di allacciamento).
Sicurezza della postazione di lavoro
- Tenere la postazione di lavoro sempre pulita e ben illuminata. Il disordine oppure zone della postazione di lavoro non illuminate possono essere causa di incidenti.
Evitare d'impiegare l'electrontousile in ambienti soggetti al rischio di esplosioni nei quali si abbia presenza di liquidi, gas o polveri infiammabili. Gli elettroutensili producono scintille che possono far infiammare la polvere o i gas. - Tenere lontani i bambini ed altri persone durante l'impiego dell'elettroutensile. Eventuali distrazioni potranno comportare la perdita del controllo sull'elettroutensile.
Sicurezza elettrica
La spina di allacciamento alla rete dell'eletttroutensile deve essere adatta alla presa. Evitare assolutamente di apportare modifiche alla spina. Non impiegare spine adattatrici assieme ad eletttroutensili dotati di collegamento a terra. Le spine non modificate e le prese adatte allo scopo riducono il rischio di scosse elettriche.
Evitare il contatto fisico con superfici collegate a terra, come tubi, riscaldamenti, cucine elettriche e frigorifici. Sussiste un maggior rischio di scosse elettriche nel momento in cui il corpo èizzato a massa.
Custodire l'elettROUTensile al riparo alla pioggia o dall'umidità. La penetrazione dell'accua in un elettROUTensile aumento il rischio di una scossa elettrica.
Non usare il cavo per scopi diversi da quelli previsti ed, in particolare, non uso per trasportare o per appendere l'elettroutensile oppure per estrarre la spina alla presa di corrente. Non avvincare il cavo a fonti di calore, olio, spigoli taglienti e neppure a parti della macchina che siano in movimento. I cavi danneggiati o aggrovigiati augmentano il rischio d'insorgenza di scosse elettriche.
Qualora si voglia usare I'electrontensile all'aperto, impiegare solo ed esclusivamente cavi di prolunga che siano adatti per I'impiego all'esterno. L'uso di un cavo di prolunga omologato per I'impiego all'esterno riduce il rischio d'insorgenza di scosse elettriche.
Qualora non fosse possibile evitare di utilizzato l'ete-troutensile in ambiente umido, utilizzato un interru-tore di sicurezza. L'uso di un interru-tatore di sicurezza riduce il rischio di una scossa elettrica.
Sicurezza delle persona
E importante concentrarsi su ciò che si sta facendo e maneggiare con giudizio l'eeltroutensile durante le operazioni di lavoro. Non utilizzato mai l'eeltroutensile in caso di stanchezza oppure quando ci si trovi sotto l'effetto di droghe, bevande alcoliche e medicinali. Un attimo di distrazione durante l'uso dell'eeltroutensile cui essere causa di gravi incidenti.
- Indossare sempre equipaggiamento protettivo individuale nonché occhiali protettivi. Indossando abbigliaimento di protezione personale come la maschera per polveri, scarpe di sicurezza che non scivolino, elmetto di protezione oppure protezione acustica a seconda del tipo e dell'applicazione dell'elettrotensile, si riduce il rischio di incidenti.
Evitare l'accensione involontaria dell'eletttroutensile. Prima di collegarlo alla rete di alimentazione elettrica e/o alla batteria ricaricabile, prima di prenderlo oppure prima di iniziare a trasportarlo, assicurarsi che l'etelettroutensile sia spento. Tenendo il dito sopra l'interruttore nelle trasporta l'etelettroutensile oppure collegandolo all'alimentazione di corrente con l'interruttore inserito, si vengono a creare situazioni pericolose in cui possono verificarsi seri incidenti.
Prima di accendere l'elettROUTensile togliere gli attrezzi di regolazione o la chiave inglese. Un accessorio oppure una chiave che si trovi in una parte rotante della macchina cui provocare seri incidenti.
Evitare una posizione anomala del corpo. Avere cura di mettersi in posizione sicura e di mantenere l'equilibrio in agli situazione. In quello modo è possible controllare meglio l'elettrotensile in caso di situazioni inaspettate.
- Indossare vestiti adeguati. Non indossare vestiti larghi, né portare bracciali e catenine. Tenere i capelli, i vestiti ed i guanti lontani da pezioni in movimento. Vestiti lenti, gioielli o capelli lunghi potranno impigliari si in pezioni in movimento.




32 Italiano
In caso fosse previsto il montaggio di dispositivi di aspirazione della polvere e di raccolta, assicurarsi che gli stessi siano collegati e che vengano utilizzati correttamente. L'utilizzo di un'aspirazione polvere cui ridurre lo svilupparsi di situazioni pericolose dovute alla polvere.
Trattamento accurato ed uso corretto degli elettroutensili
Non sottoporre la macchina a sovraccarico. Per il proprio lavoro, utilizzare esclusivamente l'eletttroutensile escludimente previsto per il caso. Con un elettROUTENSE adatto si lavora in modo miglior e più sicuro nell'ambito della sua potenza di prestazione.
Nonutilizzare mai elettroutensili con interruptoridi difetosi. Un elettroutensile con l'interruttore rotto è pericoloso e delve essere aggiustato.
Prima di procedere ad operazioni di regolazione sulla macchina, prima di sostituire parti accessorie oppure prima di posare la macchina al termini di un lavoro, estrarre sempre la spina dalla presa della corrente e/o estrarre la batteria ricaricabile. Tale precauzione evitera che l'elettroutensile possa essereMESSO in funzione involontariamente.
Quando gli elettroutensili non vengono utilizzati, conservarli al di fuori del raggio di accesso di bambini. Non fare usare I' elettroutensile a persona che non siano abituate ad uso o che non abbiano fatto le presenti istruzioni. Gli elettroutensili sono machine pericolose quando vengono utilizzati da persona non dotate di sufficiente esperienza.
Eseguire la manutenzione dell'elettroutensile operando con la dovuta diligenza. Accertarsi che le parti mobili della macchina funzionino perfettamente, che non s'inceppino e che non ci siano pezzi rotti o danneggiati al punto da limitare la funzione dell'elettroutensile stesso. Prima di iniziare l'impio, far riparare le parti danneggiate. Numerosi incidenti vengono causati da elettroutensili la cui manutenzione è stata effettuata molto accuratamente.
Mantenere gli utensili da taglio sempre affiliati e puliti.
Gli utensili da taglio curati con particolare attenzione e contaglienti affiliati s'inceppano meno frequentemente e sono più facile da condurre.
Utilizzato l'elerettROUTensile, gli accessori opzionali, gli utensili per applicazioni specifiche ecc., sempre attenendosi alle presenti istruzioni. Cosi facendo, tenere sempre presente le condizioni di lavoro e le operazioni da eseguire. L'impiego di eletttroutensili per usi diversi da quelli consentiti potra dar luogo a situazioni di pericolo.
Assistenza
- Fare riparare l'elettROUTensile solo ed esclusivamente da personale specializzato e solo impiegando pezzi di ricambio originali. In tale maniera potra essere salvaguardata la sicurezza dell'elettROUTensile.
Indicazioni di sicurezza per martelli
- Portare cuffie di protezione. L'effetto del rumore può provocare la perdita dell'udito.
Utilizzato le impugnature supplementari se fornite insieme all'elettroutensile. La perdita di controllo sull'elettroutensile può causare lesioni.
Tenere l'apparecchio sull'impugnatura isolante qualora si svolgano lavori durante i quali l'accessorio oppure la vite potrebbe venire a dato con cavi elettrici nascosti oppure con il proprio cavo di alimentazione. Il dato con un dato fatto in sotienze cui mettere sono tessenze anche parti metalliche dell'apparecchio, causando una scossa elettrica.
Ulterioriindicazioni di sicurezza ed istruzioni operative
Osservare la tensione di rete! La tensione riportata sulla targhetta di identificazione dell'elettroutensile deve corrispondere alla tensione della rete elettrica di alimentazione.
Al fine di rilevare linee di alimentazione nascoste, utilizzare adatte apparecchiature di ricerca oppure rivolgersi alla locale societa erogatrice. Un contatto con linee elettriche cui provocare lo sviluppo di incendi e di scosse elettriche. Danneggiando linee del gas si cui create il pericolo di esplosioni. Penetrando una tubazione dell'acqua si provocano seri danni materiali.
Serrare bene l'impugnatura supplementare, durante il lavoro tenere saldamente l'elettROUTensile con entrambe le mani ed adottare una posizione di lavoro sicura. Con entrambé le mani l'elettROUTensile viene condotto in modo sicuro.
Assicurare il pezzo in lavorazione. Un pezzo in lavorazione cui quod sierecato con sicurezza in posizione solo utilizzando un apposto dispositivo di serraggio oppure una morsa a vite e non tenendolo con la semplice mano.
Per forature non battenti nel legname, nel metallo, nella ceramica e nei materiali sintetici nonché per l'avvitamento vengono utilizzati utensilienza SDS-plus (p.es. punta con gambo cilindrico). Per quosti utensili è necessario un mandrino autoserrante oppure un mandrino a cremagliera.
Il mandrino autoserrante si blocca automaticamente. Controllare il blocaggio tirando al mandrino autoserrante.
Montaggio dell'utensile accessorio SDS-plus: Controllare il bloccaggio tirando l'accessorio.
Fare sostituire immediatamente una protezione antipolvere danneggiata. La protezione antipolvere impedi-sce ampliamente la penetrazione della polvere di foratura nel mandrino portautensile durante il funzionamento. Applicando l'accessorio prestare attenzione a non danneggia-re la protezione antipolvere.
Polveri di materiali come vernici contententi piombo, alcuni tipi di legname, minerali e metalli sono essere dannose per la salute e sono coseare reazioni allergiche, malattie delle vie respiratoriie e/o cancro.

Italiano 33
Materiale contente amIENTo delve essere lavorato escludamente da personale specializzato.
- Utilizzare possibilmente un'aspirazione polvere adatta per il materiale.
- Provedere per una buona aerazione del posto di lavoro.
-Si consiglia di portare una mascherina protettiva con classe di filtraggio P2.
Osservare le norme in vigore nel Vostro paese per i materiali da lavorare.
Evitare accumuli di polvere sul posto di lavoro. Le polveri si possono incendiare lavorente.
Qualora l'accessorio dovesse bloccarsi, spegnere I'eeltroutensile. Sbloccare I'accessorio.
Prima dell'accensione dell'elettroutensile accertarsi dellafacilityadi azionamento dell'accessorio.In caso di accensione con un accessorio di foratura bloccato si sviluppano alto momenti di reazione.
Prima di posare l'elettroutensile, attendere sempre fi-no a quando si sare fermato completemente. L'accesso rio cui incepparsi e comportare la perdita di controlo dell'elettroutensile.
Simboli
I symboli sotto indicati sono necessari allalettura ed alla comprenzione delleistruzioni d'uso.Èimportante conoscere benei symboli ed il rispectivo significato. Un'interpretazione corretta dei symboli contribuisce adutilizzare meglio ed in modulo più sicuro l'elettroutensile.
Simbolo Significato

GBH2-24D
GBH 2-24 DF:
Martello perforatore
area marcata in grigio: impugnatura (superficie di presa isolata)

Codice prodotto

Leggere tutte le avventenze di pericolone e le istruzioni operative

Prima di tutti gli interventi all'elettroutensile staccare la spina alla presa di corrente

Mettere i quanti di protezione

Portare protezione per l'uditio.
Simbolo Significato

Indossare occhiali protettivi

Direzione di movimento

Direzione di reazione

Prossima operazione

Rotazione destrora/sinistrora

Foratura non battente

Foratura battente

Scalpellatura

Viti

Vario-Lock

Accensione

Spegnimento

Bloccare l'interrutto di avvio/arresto

Sbloccare interrupttore di avvio/arresto

Numero di giri/Numero di colpi basso

Numero di giri/Numero di colpi alto

Aspirazione

Mandrino portautensile

Ingrassare leggermente l'estremita da inserire dell'accessorio
P1
Potenza nominale assorbita
EF
correspondente alla
( x - 2x) t - xy^2 = ( x - 2x) f^ t
EPTA-Procedure 05/2009
n0
Numero di giri a vuoto







34 Italiano
Simbolo Significato
| Ø Diametro di foratura max. | |
| Calcestruzzo | |
| Acciaio | |
| Legname | |
| Muratura | |
| Corona a punta cava | |
| Peso in funzione della EPTA-Procedure 01/2003 | |
| Classe di sicurezza | |
| LwA | Livello di potenza sonora |
| LpA | Livello di pressione acustica |
| ah | Valore complessivo delle oscillazioni |
| K Insicurezza della misura | |
Volume di forniturà
Martello perforatore, impugnatura supplementare e asta di profondità.
Utensili ed altri accessori illustrati o descritti non fanno parte del volume di fornitura standard.
L'accessorio completo è contentuto nel loro programma accessori.
Uso conforme alle norme
L'elettroutensile è idoneo per forature battenti in calcestruzzo, in mattoni ed in roccia ed è adattoanche per leggeri lavori di scalpellatura. Lo stesso è inoltre adatto per forature non battenti nel legno, nel metallo, nella ceramica ed in materiali sintetici nonché per l'avvitamento.
Dati tecnici
I dati tecnici del prodotto sono indicati nella tabella a pagna 161.
I dati sono validi per una tensione nominale [U] di 230 V. In caso di tensioni differenti e di modelli specifici dei paesi di impiego,questi dati possono variare.
Si prega di tenere presente il codice prodotto applicato sulla targhetta di costruzione del Vostro elettrotensile. Le descrizioni commerciali di singoli elettrotensili sono variare.
Dichiarazione di conformità
C
Assumendone la piena responsabilità, dichiariamo che il prodotto descritto nei «Dati tecnici» è conforme alle seguenti nominative ed ai relativi documenti: EN 60745 in base alle prescrizioni delle direttive 2004/108/CE, 2006/42/CE.
Informazioni sulla rumorosità e sulla vibrazione
I valori di misura del prodotto sono indicati nella tabella a pagina 161.
Valori complessivi di rumorosità ed oscillazioni (somma vettoriale in tre direzioni) misurati conformmente alla norma EN 60745.
Il livello di vibrazioni indicate nelle presenti istruzioni è stato rilevato seguito una procedura di misurazione conforme alla norma EN 60745 e più essere utilizzato per confrontare gli elettroutensili. Lo stesso è idoneoanche per una valutazione temporanea della sollecitazione da vibrazioni.
Il livello di vibrazioni indicate rappresenta gli impieghi principali dell'eletttroutensile. Qualora l'eletttroutensile venisse utilizzato tuttavia per altri impieghi, con accessori differenti oppure con manutenzione insufficiente, il livello di vibrazioni cui spessoare sensibilmente la sollecitatione da vibrazioni per l'intero periodo di tempo operativo. Per una valutazione precise della sollecitatione da vibrazioni bisognerebbe considerare ancchi tempi in cui l'apparecchio è spento oppure è acceso ma non è utilizzato effettivamente. Questo cui ridurre chiaramente la sollecitatione da vibrazioni per l'intero periodo operativo.
Adottare misure di sicurezza supplementari per la protezione dell'operatore dall'effetto delle vibrazioni come p.es.: manutenzione dell'elettroutensile e degli accessori, mani calde, organizzazione dello svolgimento del lavoro.
Montaggio ed uso
La tabella che segue illustra gli scopi delle operazioni per il montaggio ed il funzionamento dell'elettrotensile. Le istruzioni degli scopi delle operazioni vengono illustrate nella figura indicata. A seconda del tipo dell'impio sono necessarie combinazioni differenti delle istruzioni. Osservare leindicazioni di sicurezza.
| Scopo dell'operazione | Figura | Osservare | Pagina |
| Selezionare il mandrino (GBH 2-24 DF) | 1162 |

Italiano 35
| Scopo dell'operazione | Figura | Osservare | Pagina |
| Rimozione del mandrino autoserran- te (GBH 2-24 DF) | 2 162 | ||
| Inserimento del mandrino autoser- rante (GBH 2-24 DF) | 3 163 | ||
| Montaggio dell'utensile accessorio SDS-plus | 4 163 | ||
| Smontaggio dell'utensile accessorio SDS-plus | 5 164 | ||
| Inserimento del mandrino a crema- gliera (GBH 2-24 DF) | 6 164 | ||
| Inserimento dell'inserto cilindrico (GBH 2-24 DF) | 7 164 | ||
| Selezionare il modo operativo ed il senso di rotazione | 8 165 | ||
| Modifica della posizione per scalpel- latura (Vario-Lock) | 9 166 | ||
| Orientare l'impugnatura supplemen- tare | 10 166 | ||
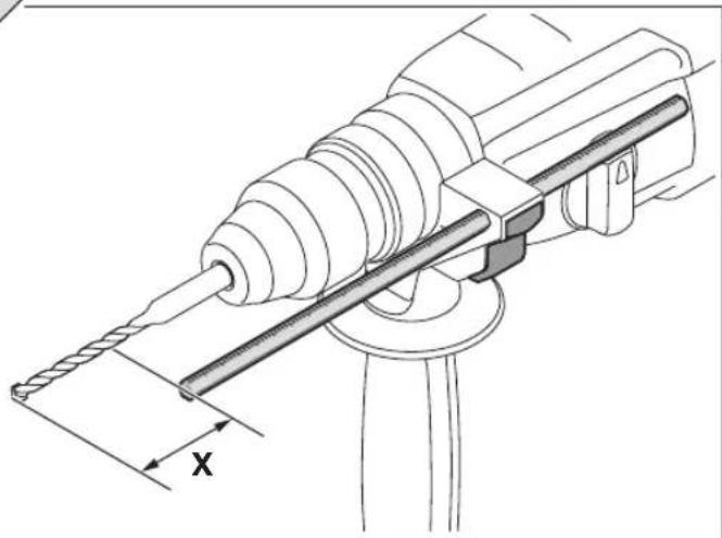
| Regolare profundità di foratura X | 11 167 | ||
| Montare aspirazione (Saugfix) | 12 167 |

36 |Nederland|
| Scopo dell'operazione | Figura | Osservare | Pagina |
| Accensione/spegnimento e regola-zione del numero di giri | 13 168 | ||
| Bloccare interrettore di avvio/arresto | 14 168 | ||
| Sbloccare interrettore di avvio/arresto | 15 168 | ||
| Selezione accessori | - 169 |
Manutenzione e pulizia
Per poter garantire buone e sicure operazioni di lavoro, tenere sempre puliti l'elettroutensile e le prese di ventilazione.
Servizio di assistenza ed assistenza clienti
Il servizio di assistenza risponde alle Vostre domande relative alla riparazione ed alla manutenzione del Vostro prodotto nonché concernenti le parti di ricambio. Disegni in vista esplosa ed informazioni relative alle parti di ricambio sono consultabili ancche sul sito:
www.bosch-pt.com
Il team assistenza clienti Bosch è a Vostra disposizione per rispondere alle domande relative all'acquisto, impiego e regolazione di apparecchi ed accessori.
In caso di richieste o di ordinazione di pezzi di ricambio, comunicare sempre il codice prodotto a 10 cifre riportato sulla targetta di fabbricazione delle eletttroutensile!
Italia
Officina Eletttroutensili
Robert Bosch S.p.A. c/o GEODIS
Viale Lombardia 18
20010 Arluno
Tel.: +39 (02) 36 96 26 63
Fax: +39 (02) 36 96 26 62
Fax:+39(02)36968677
E-Mail: officina.elettroutensili@it.bosch.com
Svizzera
Tel.: +41 (044) 847 15 13
Fax:+41(044)8471553
Smaltimento
Avviare ad un ricicaggio rispettoso dell'ambiente gli imballaggi, gli elettrotensili e gli accessori dismessi. Non gettare elettrotensili dismessi tra i rifiuti domestici!
Solo per i Paesi della CE:

Conformmente alla direttiva europea 2002/96/CE sui rifiuti di apparecchiature elettriche ed elettroniche ed all'attuzione del recepimento nel diritto nazionale, gli elettroutensili diventati inservibili devono essere raccolti separatamente ed essere in
viati ad una riutilizzazione ecologica.
Con ogni riserva di modifiche tecniche.
Nederlandss
Deblocati intrerupatorul pornit/oprit

Turatie/numar percutii micl

Turaitie/numarpercuti mare

Aspirare

Blocati intrerupatorul pornit/oprit

14 168


Deblocati intrerupatorul pornit/oprit

15 168
Alegerea accesorilor
-169

112|Баагскn
Intretinere si curatare
Pentru la lucra bine si sigur pasta curate scula electrica si fantele de aerisire.
1jg j 1j 1j 1j 1j 1j 1j 1j 1j 1j 1j 1j 1j 1j 1j 1j 1j 1j 1j 1j 1j 1j 1j 1j 1j 1j 1j 1j 1j 1j 1j 1j 1j 1j 1j
jLgii jy b y 11 jy L a s o0s o0o 1
y b y jy b y 1s as 00000000000000000000000000000000000000000000000000000000000000000
j 1 j 1 j 1 j 1 j 1 j 1 j 1 j 1 j 1 j 1 j 1 j 1 j 1 j 1 j 1 j 1 j 1 j 1 j 1 j 1 j 1 j 1 j 1 j 1 j 1 j 1 j 1 j 1 j 1 j 1 j 1 j 1 j 1 j 1 j

161
| GBH 2-24 D Professional | GBH 2-24 DF Professional | |
| BOSCH xxxxxxx | 3611 BA0 0..3611 BA0 1.. | |
| P1 | W | 7 9 |
| E | J | 2 , |
| n0 | min-1 | 1300 1300 |
| Ø max. | ||
| mm | 24 24 | |
| mm | 13 13 | |
| mm | 30 30 | |
| mm | 68 68 | |
| kg 2,8 2,9 | ||
| II II | ||
| LWA | dB(A) 102 102 | |
| LpA | dB(A) 91 91 | |
| K | dB 3 3 | |
| ah IT | m/s2 | 17 17 |
| ah IT | m/s2 | < 2,5 < 2,5 |
| ah T | m/s2 | 13 13 |
| ah T | m/s2 | < 2,5 < 2,5 |
| K | m/s2 | 1,5 1,5 |

162

1


2






4





164
5





6



7



8










166
9





10



11



12

168
13




14




15





1613001010

2605438098

1617000132 SDS-plus
1608571062 01,5-13mm

2608550057 SDS-plus
2608596157 (08mm)

2608572213
SDS-plus
050mm

1607950045
Notice-Facile