1860 AA - Milling machine SKIL - Free user manual and instructions
Find the device manual for free 1860 AA SKIL in PDF.
User questions about 1860 AA SKIL
0 question about this device. Answer the ones you know or ask your own.
Ask a new question about this device
Download the instructions for your Milling machine in PDF format for free! Find your manual 1860 AA - SKIL and take your electronic device back in hand. On this page are published all the documents necessary for the use of your device. 1860 AA by SKIL.
USER MANUAL 1860 AA SKIL
Router 1860 INTRODUCTIO
- The tool is intended to route grooves, edges, profiles and elongated holes in wood, plastic and light building materials as well as to copy-route
- This tool is not intended for professional use
- Read and save this instruction manual ③
TECHNICAL DATA①
TOOLELEMENTS ②
A Shaft lock
B Collet nut
C Wrench
D Depth gauge
E Fine-adjustment knob
F Fine-adjustment scale
G Depth stop turret
H Adjustment knob (depth gauge)
J Locking lever
K Speed selection wheel
L Vacuum cleaner adapter
M On/off trigger
N Safety switch
P Adapter plate
Q Parallel guide
R Base plate
S Ventilation slots
T Sliding bars
V Protective cover
W Curve buffer
Y Parallel guide rods
Z Knob for adjusting parallel guide
AA Parallel guide pin
AB Parallel guide nut
AC Depth visor
AD LED-light
SAFETY
GENERAL POWER TOOL SAFETY WARNINGS
WARNING Read all safety warnings, instructions, illustrations and specifications provided with this power tool. Failure to follow all instructions listed below may result in electric shock, fire and/or serious injury.
Save all warnings and instructions for future reference.
The term "power tool" in the warnings refers to your mains-operated (corded) power tool or battery-operated (cordless) power tool.
1) WORK AREA SAFETY
a) Keep work area clean and well lit. Cluttered or dark areas invite accidents.
b) Do not operate power tools in explosive atmospheres, such as in the presence of flammable
c) Keep children and bystanders away while operating a power tool. Distractions can cause you to lose control.
2) ELECTRICAL SAFETY
a) Power tool plugs must match the outlet. Never modify the plug in any way. Do not use any adapter plugs with earthed (grounded) power tools.
liquids, gases or dust. Power tools create sparks which may ignite the dust or fumes.
Unmodified plugs and matching outlets will reduce risk of electric shock.
b) Avoid body contact with earthed or grounded surfaces such as pipes, radiators, ranges and refrigerators. There is an increased risk of electric shock if your body is earthed or grounded.
c) Do not expose power tools to rain or wet conditions. Water entering a power tool will increase the risk of electric shock.
d) Do not abuse the cord. Never use the cord for carrying, pulling or unplugging the power tool. Keep cord away from heat, oil, sharp edges or moving parts. Damaged or entangled cords increase the risk of electric shock.
e) When operating a power tool outdoors, use an extension cord suitable for outdoor use. Use of a cord suitable for outdoor use reduces the risk of electric shock.
f) If operating a power tool in a damp location is unavoidable, use a residual current device (RCD) protected supply. Use of an RCD reduces the risk of electric shock.
3) PERSONAL SAFETY
a) Stay alert, watch what you are doing and use common sense when operating a power tool. Do not use a power tool while you are tired or under the influence of drugs, alcohol or medication. A moment of inattention while operating power tools may result in serious personal injury.
b) Use personal protective equipment. Always wear eye protection. Protective equipment such as a dust mask, non-skid safety shoes, hard hat, or hearing protection used for appropriate conditions will reduce personal injuries.
c) Prevent unintentional starting. Ensure the switch is in the off-position before connecting to power source and/or battery pack, picking up or carrying the tool. Carrying power tools with your finger on the switch or energising power tools that have the switch on invites accidents.
d) Remove any adjusting key or wrench before turning the power tool on. A wrench or a key left attached to a rotating part of the power tool may result in personal injury.
e) Do not overreach. Keep proper footing and balance at all times. This enables better control of the power tool in unexpected situations.
f) Dress properly. Do not wear loose clothing or jewellery. Keep your hair and clothing away from moving parts. Loose clothes, jewellery or long hair can be caught in moving parts.
g) If devices are provided for the connection of dust extraction and collection facilities, ensure these are connected and properly used. Use of dust collection can reduce dust-related hazards.
4) POWER TOOL USE AND CARE
5) SERVICE
h) Do not let familiarity gained from frequent use of tools allow you to become complacent and ignore tool safety principles. A careless action can cause severe injury within a fraction of a second.
a) Do not force the power tool. Use the correct power tool for your application. The correct power tool will do the job better and safer at the rate for which it was designed.
b) Do not use the power tool if the switch does not turn it on and off. Any power tool that cannot be controlled with the switch is dangerous and must be repaired.
c) Disconnect the plug from the power source and/ or remove the battery pack, if detachable, from the power tool before making any adjustments, changing accessories, or storing power tools. Such preventive safety measures reduce the risk of starting the power tool accidentally.
d) Store idle power tools out of the reach of children and do not allow persons unfamiliar with the power tool or these instructions to operate the power tool. Power tools are dangerous in the hands of untrained users.
e) Maintain power tools and accessories. Check for misalignment or binding of moving parts, breakage of parts and any other condition that may affect the power tool's operation. If damaged, have the power tool repaired before use. Many accidents are caused by poorly maintained power tools.
f) Keep cutting tools sharp and clean. Properly maintained cutting tools with sharp cutting edges are less likely to bind and are easier to control.
g) Use the power tool, accessories and tool bits etc., in accordance with these instructions, taking into account the working conditions and the work to be performed. Use of the power tool for operations different from those intended could result in a hazardous situation.
h) Keep handles and grasping surfaces dry, clean and free from oil and grease. Slippery handles and grasping surfaces do not allow for safe handling and control of the tool in unexpected situations.
a) Have your power tool serviced by a qualified repair person using only identical replacement parts. This will ensure that the safety of the power tool is maintained.
SAFETY INSTRUCTIONS FOR ROUTERS
- Hold the power tool by insulated gripping surfaces, because the cutter may contact its own cord (cutting a "live" wire may make exposed metal parts of the power tool "live" and could give the operator an electric shock)
- Use clamps or another practical way to secure and support the workpiece to a stable platform (holding the workpiece by hand or against your body leaves it unstable and may lead to loss of control)
GENERAL
- This tool should not be used by people under the age of 16 years
Always disconnect plug from power source before making any adjustment or changing any accessory
ACCESSIONS
- SKIL can assure flawless functioning of the tool only
when original accessories are used
- Use only accessories with an allowable speed matching at least the highest no-load speed of the tool
- Do not use damaged or deformed router bits
- Only use sharp router bits
- Protect accessories from impact, shock and grease
- Only use high speed steel (HSS) or carbide-tipped (CT) router bits with this tool
BEFORE USE
- Avoid damage that can be caused by screws, nails and other elements in your workpiece; remove them before you start working
- Always check that the supply voltage is the same as the voltage indicated on the nameplate of the tool
- Do not work materials containing asbestos (asbestos is considered carcinogenic)
- Do not clamp the tool in a vice
- Use completely unrolled and safe extension cords with a capacity of 16 Amps (U.K. 13 Amps)
- The noise level when working can exceed 85 dB(A); wear ear protection
- Dust from material such as paint containing lead, some wood species, minerals and metal may be harmful (contact with or inhalation of the dust may cause allergic reactions and/or respiratory diseases to the operator or bystanders); wear a dust mask and work with a dust extraction device when connectable
- Certain kinds of dust are classified as carcinogenic (such as oak and beech dust) especially in conjunction with additives for wood conditioning; wear a dust mask and work with a dust extraction device when connectable
- Follow the dust-related national requirements for the materials you want to work with
- Be sure tool is switched off when plugging in DURING USE
- Always keep the cord away from moving parts of the tool; direct the cord to the rear, away from the tool
- Never use the tool when base-plate R ② (=protective guard) is damaged; have it replaced by a qualified person
- Never use the tool when the cord is damaged; it must be replaced by a specially prepared cord available through the service organization.
- Keep hands and fingers away from router bit when tool is switched on
- Never exceed maximum cutting depth of router bit while cutting
- In case of electrical or mechanical malfunction, immediately switch off the tool and disconnect the plug
- In case the router bit is blocked, resulting in jerking forces on the tool, immediately switch off the tool
- In case of current interruption or when the plug is accidentally pulled out, immediately switch off the tool in order to prevent uncontrolled restarting
- Do not apply so much pressure on the tool that it comes to a standstill
AFTER USE
After finishing the work, loosen lever J ② , guide the tool back into the upper starting position, and switch off the tool
EXPLANATION OF SYMBOLS ON TOOL
③ Read the instruction manual before use
Double insulation (no earth wire required)
Do not dispose of the tool together with household waste material
WHEN CONNECTING NEW 3-PIN PLUG (U.K. ONLY):
- Do not connect the blue (= neutral) or brown (= live) wire in the cord of this tool to the earth terminal of the plug
- If for any reason the old plug is cut off the cord of this tool, it must be disposed of safely and not left unattended
USE
- Mounting/removing router bits 6
! switch off the tool and disconnect the plug
! ensure that router bit shaft is perfectly clean
! ensure that collet size (6 mm, 6.35 mm, 8 mm) corresponds with shaft size of router bit
-turn tool upside down
-lock shaft by pushing shaft lock A (rotate collet nut B, if
necessary) and hold it while you
FOR MOUNTING:
-loosen collet nut B with wrench C
-insert bit with a little space x in collet ⑦
-tighten collet nut firmly with wrench C
-release shaft lock A
FOR REMOVIDING:
-loosen collet nut B with wrench C
-remove bit
-release shaft lock A
! for loosening router bit it may be necessary to tap at the top of the router bit, using hammer and piece of wood to protect the bit
! never tighten collet nut, if there is no router bit in collet; collet may be damaged
- Changing collets ⑦
! switch off the tool and disconnect the plug
! ensure that collet shaft is perfectly clean
-loosen collet nut B 2 or 3 turns
-tap collet nut B with wrench C
-remove collet nut B and collet (lock shaft)
-turn tool upside down
-insert new collet in collet shaft
-mount collet nut B (lock shaft)
! never tighten collet nut, if there is no router bit in collet; collet may be damaged
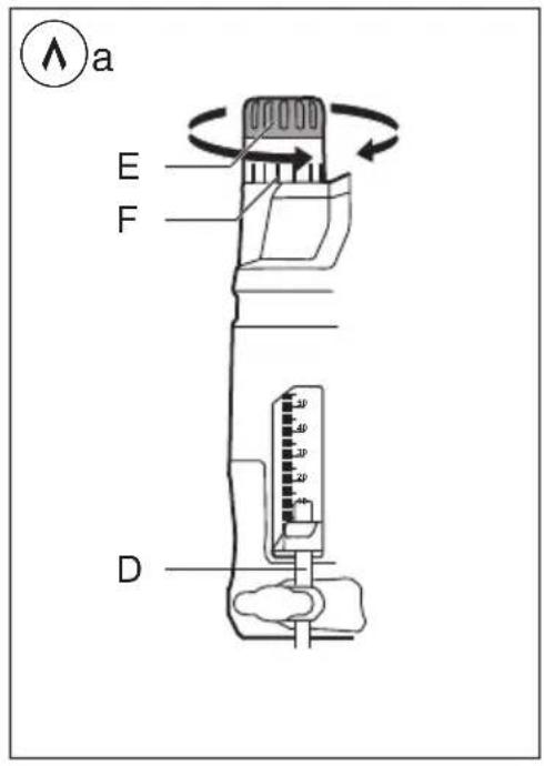
Adjusting routing depth ⑧
! switch off the tool and disconnect the plug
-set the fine-adjustment to its center position by turning knob E until the end, then turn back 4 full turns and set the scale F to 0 ⑧ a
-rotate turret G so that its lowest position clicks into place right under depth gauge D (for zeroing) ⑧b
-loosen knob H so that depth gauge D drops onto depth stop turret G ⑧ b
-place tool on workpiece
-loosen locking lever J@c
-push tool down until router bit is in contact with workpiece 8d
-release and tighten locking lever J ⑧ e
-move depth visor AC to 0mm 8f
-raise depth gauge D as many mm as the desired routing depth, and tighten knob H ⑧ f
-loosen locking lever J and guide the tool back up again
-use fine-adjustment knob E for setting the routing depth more precisely (0..± 8mm) ;the marks on the scale F correspond with 0.1mm 1 full turn corresponds with 2.0mm
-with depth stop turret G the routing depth can be increased by steps respectively (recommended for deep cuts)
! re-adjust the routing depth after having changed router bits
- Speed control ⑨
For optimal routing results on different materials
-select routing speed with wheel K (also while tool is running)
-use table 10 as reference for determining the right routing speed
- before starting a job, find the optimal speed by testing out on spare material
! after longer periods of working at low speed, allow the tool to cool down by running it for approximately 3 minutes at high speed with no load
LED-light AD ⑪
-LED-light AD automatically lights on when activating trigger M
Dust suction
mount vacuum cleaner adapter L as illustrated 12a
-connect vacuum cleaner hose to vacuum cleaner adapter L 12b
- Operating the tool 13
! always hold the tool firmly with both hands
! while working, always hold the tool at the greycoloured grip area(s)
-place tool on workpiece
-switch on tool by first pressing knob N (= safety switch which cannot be locked) and then pulling trigger M
! before the router bit reaches the workpiece, the tool should run at full speed
- loosen locking lever J and slowly push tool down until depth gauge D reaches depth stop turret G
-tighten locking lever J
- carry out the routing procedure with uniform feed rate
-use the tool with its base-plate flat on the workpiece
-as a general rule one should pull the tool, not push it
-after finishing the work, loosen lever J and guide the tool back into the upper starting position
-release the trigger M
- Proper guiding 14
-keep in mind that router bit turns clockwise
-guide tool so that bit turns into the workpiece, not away from it
-
Mounting adapter plate P (for copying with a template) 15
-
Mounting parallel guide Q 16
-insert parallel guide rods Y through holes in base-plate R
--slide parallel guide to desired width and fasten it with 2 knobs Z
-fasten pin AA with nut AB as illustrated
-insert rods Y into base-plate R
-pierce pin AA into marked centre of circular arc
-fasten parallel guide with 2 knobs Z
-guide the tool with consistent feed across the workpiece
Using the parallel guide as a circular guide 17
! reverse parallel guide first
Using the parallel guide with curve buffer W 18
- mount curve buffer W (with guide roller mounted) as illustrated
-guide the tool along the workpiece edge with light sideward pressure
APPLICATION ADVICE
- For cuts parallel with the side of your workpiece use parallel guide
- For making parallel cuts in a workpiece far from the edge 13
-fasten a straight piece of wood on the workpiece by means of 2 clamps
-guide tool with base-plate along edge of wood which now functions as a parallel guide
- When using bits with a pilot or ball bearing, the pilot or ball bearing should slide along the edge of the workpiece which should be perfectly smooth 19
- For larger routing depths, it is recommended to carry out several repetitive cuts with lower removal rates
For more information see www.skil.com
MAINTENANCE / SERVICE
- This tool is not intended for professional use
Always keep tool and cord clean (especially ventilation slots S ②) - Lubricate sliding bars T ② occasionally
-
If the tool should fail despite the care taken in manufacturing and testing procedures, repair should be carried out by an after-sales service centre for SKIL power tools
-
send the tool undismantled together with proof of purchase to your dealer or the nearest SKIL service station (addresses as well as the service diagram of the tool are listed on www.skil.com)
-
Be aware that damage due to overload or improper handling of the tool will be excluded from the warranty (for the SKIL warranty conditions see www.skil.com or ask your dealer)
ENVIRONMENT
- Do not dispose of electric tools, accessories and packaging together with household waste material (only for EU countries)
-in observance of European Directive 2012/19/EC on waste of electric and electronic equipment and its implementation in accordance with national law, electric tools that have reached the end of their life must be collected separately and returned to an environmentally compatible recycling facility
-symbol ⑤ will remind you of this when the need for disposing occurs
NOISE/VIBRATION
Measured in accordance with EN 60745 the sound pressure level of this tool is 91.0dB(A) and the sound power level 102.0dB(A) (uncertainty K = 3dB ),and the vibration 3.0~m / s^2 triax vector sum; uncertainty K = 1.5m / s^2)
- The vibration emission level has been measured in accordance with a standardised test given in EN 60745; it may be used to compare one tool with another and as a preliminary assessment of exposure to vibration when using the tool for the applications mentioned
-using the tool for different applications, or with different or poorly maintained accessories, may significantly
increase the exposure level
the times when the tool is switched off or when it is running but not actually doing the job, may significantly reduce the exposure level
! protect yourself against the effects of vibration by maintaining the tool and its accessories, keeping your hands warm, and organizing your work patterns
F
Défoncuse 1860
INTRODUCTION
WAARSCHUWING Lees alle
1) SIKKERHET PÅ ARBEIDSPLASSEN
a) Hold arbeidsområdet rent og ryddig. Rotete arbeidsområder eller arbeidsområder uten lys kan fere til ulykker.
VEDLIKEHOLD / SERVICE
-He HcNoIb3OBAbT pN IIOBLeHn CINbHO Bn6paun
Kpntepn npedeIbHbIX coCToHn
-NepeTept NIN NOBpeKdEHN 3JIeKTPnueckn Ka6eNb -NOBpeKdEN KOpNyc N3dEIny
Tn n nepnoDnHocb TexnueChoro 06cnynHaHHaPeKoMeHdyETcO uNCTntb HnCTpymeHT OT nbIIN noCJIe KaXdOrO hCNoB3OBaHHa.
XpaHeHne
-Heo6xOaHMo XpaHnTb B CyXOM MeCTe
-Heo6XoDIMO XpaHnTb BdaI NOT HcToHnKOB IOBblueHHbIX TEMpePaTyP IN BO3deNCTBnA COJIHeHbIX lyuei
-πρι xρaHEHn HEO6xOdHMo n36eRaTb pe3KOro nepenada Tempepatyp
-xpaHeHHe 6e3 ynaKOBKn He dOnyckaetc
-ПОДРОБНБЕТpeбованн КуСЛВОВИМхpaHEHNA cmOTpnteВFOCT15150(YcNoBne1)
TpaHcnpToPobKa
-KaTeOpnueckNe He DonyUcKaeTcnaDeHne nIIObIe MExaHnueckNe BO3dEiCTBnHa yNaKOBky npu TpaHCnpTnpOBke
-рп раэгузke/норузke He ДonyчкaeTcR IICNoJIb3OBAHne IIO6O BnDa TExHnKn, pa6ToaIooe Np npHcNpy 3aJHmA yNaKOBKn
-ПОДРОБНБЕТPEбOBаHЯКУСЛВИМТраHCпорТирOBи CMOTpHTeВ FOCT 15150 (YcIobNe5)
BHIMAHNE!
B clyuae BO3HKnHOBeHH nepe6oB pa6ote 3JeHTpOHnCTpyMeHa BCJeDCTBnE NOHoro Hn YactNtHOrO npekpaueHH 3HeproCha6HeHH NIOBpeXeHHI cENy npabLeHH 3HeproCha6HeHHEM
yctaHOBHTe BbIKHIOUaTeIb B NOLOHeHne BbIHJI, y6eHNBWHscb, YTO OH He 3a6JIOHnpOBaH (pni erO HaHnHH) N OTHIOUHTe CeTeByIO BnHy OT pO3eTHN HIN OTcoEHNHTe CbEMhBI aHHMyJrTOp (3TNM npedOTBpaaaetcH HeKoHTPOIpnyEmBI NOBtOPHI 3aIyck)
BBEDEHNE
HCTpymEnIpeHa3HaueHnBbINnBaHHaKaHaBOK,KpOMOK,IpoΦJIeN ydINHHeHHbIX OTBePCTN B DepeBE,IIaCTMaCCe NJIerKHX CTPONTeJIbHbIX MaTePnaJax,a TaKHe IJa KOnIpOBaIbHOHΦpe3epOBHn
- DaaHbI INHCTpyMeHT He IOxOaNT dJa IpnMbIJIeHHORIO HCPOJb3OBAHnA
- PpoHTaHTe n coXpaHTe C daHHoN HnCTpyKneE ③
TEXHnueCHe DAHHbIE ①
CTPAHA N3ΓOTOBJEHIN
CdeIaHO BHTae
DETAJIHHCTPYMEHTA②
A 3amokBaJa
B TaikaaHaHn
C HIOH
D PeryIaTOp rIy6nHbI
E PyuKa ToUHoN peryIInpObKn
F 乌kaTouHOnperyInpOBKn
G TOnOBKa KOHTPOJrIy6HbI
H Pyka perylnpoBk (peryIaTOp rny6nHbI)
J 1KcnpyiooepbH
K KoJIecnKO dIpeRyIpOBAHcNCKOpocTn
L AanTep nbIeCoca
M BbIKIOuOaTeIb
N 3aunTHbI BblKIOUOaTeIb
P IepexoHa nlaactHa
Q PpOdoBHaHnPaBnaIaIInHeKa
R OchoBaHne
S BeHTnJIaUIOHHbIe OTBepCTNIA
T CkOJIb3AJIuNE cTepeHHI
V 3aunTHaKpbIiKa
W KpINBOJHHeHbI 6ydep
Y CTepeHHn HappaBJIIOUeI IHaHKN
Z TOnOBKa DnpeRyJInpOBKn HnPaBIAIOuee INaHKn
AAΦHKcaTop HnpaBraIooJIe INaHKn
AB Taika HanpaBraIooe IlaHKn
AC Yka3aTeIb rny6nHbl
AD CBeTOBOn HnDnKaTOp
BE30NACHOCTb
OBUHNEYHA3AHNIO TEXHNKE B3ONACHOCTN OB-PAUENC 3JEKTPOHNCHTPMENTAMN
BHHMAHNE! Cneayet O3HaHOMNtbcr CO BCEMN npabnIaMn TexHHn 6e3oNaCHOCTn, HNCTpyKunm, NJIIOCTpaunm N TexHnuecHm DaHHbIMn, CODepHaumncB nPnlaRaembIX K 3TOMy 3JeHTponHCTpyMeHTy MaTepnaJax. HecobJeHne HHepepeuNCleHHbIX INCTpyKUnB NOJHom O6beMe MOHeT NOBLeYb IopaeHne 3JeKTPnuEChm TOkOM, NOJap N/INn cepBe3HyTOpaBMy.
CoxpaHnTe 3TN HnCTpyKuHn yHa3aHnA n8dyuero hCNoIb3OBAHHa.
IcnoB3OBAHHOB B HAcTOraUHX HNCTpyKUHX yKa3AHNX IOHrTne "JIeKTPoHnHCTpymENT"pacnpoctpaHReTCHa 3JIeKTPoHnHCTpymENT C NITaHnEM OT cETn (C Ka6eJem NITaHnOT 3JIeKTPocTeN) n Ha aKKyMylTophBn 3JIeKTPoHnHCTpymENT (6e3 Ka6eJnNTaHnO T 3JIeKTPocTeN).
1) 5E3ONACHOCTb PABOUYERO MECTA
2) 3JIeKTPnueCKA B3ONaCHOCTb
a) Co6IIOdaIte YnCTOTy HnoIdepHnBaIte HaIeKaUIO OCeUeEHNOCTb Ha pa6OeM MeCTe. BeCnpAIOK Ha pa6OeM MeCTe IIN erO IIIOXoe OCBeUeHHe MOrT npNBecTn K HeCuaCTHbIM ClyuAAM.
b) He ИспόЛьзунTe c ЗлЕКТРОИСТPyМeHTOM BO B3рьIBOONaCHO CpeDE, T.e. B HENOCpeДCTBeHHOH 6ЛиЗоCTn OT IeRHOBOCSIIaMehHIOxHcR HNДкОTeI, ra3OB nIIN nbIIn. B npOceCE pa60TbI 3ЛeKТРОИСТPyМeHT NcKpIT N NcKpbI MOryT BOCПЯMeHITb Ra3bl NII nbIb.
c)Пи pa6ote c 3JIeHTponHCTpyMeHTOM He dOnychaIte DeTeN HIN NoCTopOHNHX Ha BaWe pa6ooye MeTO. OTBLeueHne BaWero BHMaHnRA MOKeT npNBecrK NOTepe KOHTpOJa HAd pa6Toi 3JIeKTPOINHCTpyMeHTa.
a) 3JIeHTPOHCTpyMeHTa DOJIHHa COOTBeTCTBOBaTb PO3eTHe 3JIeHTPOcETn. He BHOcHTe HnKaHIX N3MeHnB KOHCTpyKuHIO BVKn. He nCNoJIb3yIte aAnTOPbI DnA 3JIeHTPOHCTpyMeHTa C 3aUHTbIM 3a3eMJIeHHeM. 3aOoDcHne 3JIeTcJIbHbIe BVKnN COOTBeTCTByIOUe IM CeTeBble PO3ETKn CyUeCTBeHHO CHnJaOT BepoarTHOcTb 3JIeHTPOwoka.
b) N36eraIte MexaHnueChnx HOHTaHTOB C TaHIMN 3a3eMJIeHHbIMN NOBepXHOCTaMNI, HAn Tpy6oPBOdbl,CnCTeMbI OTOpJIeHNIA NNtBI IN XOJODINbHNNI. PnCOnpNIKOCHOBeHNu YELOBEKa C 3a3eMJIeHHbIMN IpeDMETAMN BO BpEMr pa60tBI INHCTpyMeHToM BepoTHOCTb 3JIeHTPOWOHa CyUeCTBeHNO BO3paCTaET.
c) 06epaIte 3JIeKtpOnHCTpymeHT OT BO3dEINCTBnA DOHH N BlaH. IonaDaHne BObI B 3JIeKtpOnHCTpymeHT NOBbIaET BepoTHOCTb 3JIeKtpUHeCKOrO yDapa.
d) NcnoJb3yIte Ka6eJIb cTpO rNo Ha3HaueHIO. He dOnychaetc TnHytB n NepeDburatb 3JeHTPOHHCTpyMeHr 3a Ka6eJIb HnN HCNOJb3OBaTb Ka6eJIb DnRA BbITARHBaHnBnHn H3 pO3EtHN. O6eperaIte Ka6eJIb HnCTpyMeHrTa OT BO3DeHCTBnR BBICOHX TempeAtyp, MacJa, OCTpbIX KpOMOK HnDnKHyUxxCr qAteT eJeHTPOHHCTpyMeHr. IOBpeJxHeHbI hnn CnyTaHbI Ka6eJIb NOBbIuaeT BO3MOHXOCTB 3JeHTPnueeCKrO yIapa.
e) Pnp pa6ote Ha yInce nCnoJb3yIte ydInHntelb, npedHa3NaueHHbI dIpa6ToB I BHe NOMEeHn. HcnoJIb3OBAHHe TaKOrO ydInHntErl CHNkaet BepoAHTHOCTb 3JIeKTPnueCKoro yDapa.
f) EcIn HeBO3MOHHO H36EHaTb npMHeHnnaHTPOHHCTpyMeHtA B cbIpOM NOMEueHn, TO yCTaHaBnBaIte yCTpOiCTBO 3aunTbI OT yTeHN B 3emlIO. IcnoJIb3OBaHne yCTpOiCTBa 3aunTbI OT yTeKN
B 3eMIIO ChnKaeTpck 3JIeKtpueckoro npaKeHHa.
3) JIYHAR BE3ONACHOCTb
4) 3KCNJLYATAUNI NYXOD 3A 3JEKTPONHCTPYMEHTOM
a) BydTe BHNMaTeIbHbI, cIeIte 3a TeM, yTo Bbl DeIaeTe N BblIOJIHnIe pa6Oy 06dymaHNo. He nOJIb3yInTecb 3JIeKTPoHHCTpymeHTOM, ecN Bbl YcTaII HAXODNTecb NOd BO3JeIcTBHeM TpaHKnIIN3aTOPOB, aIKOROJIa HNI MeDnIHCHNX npenapaTOB. CeKHyIHaJ noTEpR KOHcEHTpaUIN B pa6Ote C 3JIeKTPoHHCTpymeHTOM MOKeT npINBeCTN K cepBe3HbIM TpaBMam.
b) IcnoIb3yIte CpeICTBa HnHnBnDyAIBHO 3aunTbI. 3aunTHIe OCHN O6ra3aTeJbHbI. CpeIcTBA INHnBnDyAIBHO 3aunTbI, TaHne KaK IpOTnBOJIeBOI peCnnpaTOp, HeCKoJIb3aUa 3aunTHaN O6yBb, 7JIeM-KACKa, CpeIcTBa 3aunTbI opraHOB Clyxa npImeHIOITc B COOTBeTCTByOuX YcNOBnM pa60TbI 06CToRrTeJIbCTBax N MInHMn3HpyIOT BO3MOxHOCTb IOnyuEHn TpaBM.
c) PpeodTbpaaIte HnpeDHaMepeHHoe BkHIOueHne 3JeHTponHCTpymehTa. Npeep NoDHLIOueHem 3JeHTponHCTpymehTa K 3JeHTponNTaHHIO n/nnn H aHHyMylAToPy y6eINTEcb B BbIHIOueHHOM COCTOHN 3JeHTponHCTpymehTa. EcnBbl npn TpahCnpOpTupOBke 3JeHTponHCTpymehTa DepHInTe NaIeuc Ha BbIKIOUaTele IINn BKIIIOueHHbI 3JeHTponHCTpymehT NOdHIIOuaeTe K CeTu NITAHN, TO 3TO MOKeT pINBeCTn K HecCaCTHOmy Cnyauo.
d) Bo n36eHahne TpaBM nepeB BkIIOueHHeM 3JIeKTPoHHCTpyMeHTa ydaJInte peryIINpOBOHybI IIN raeHbI HIIQU h3 BpaauOSeJcYacTN 3JIeKTPoHHCTpyMeHTa.
e) He nepeoueHbAte cBOH BO3MOHocTH. TBePOCTOHTe Ha Horax H yepHNBaTe paBHOBecne. B TAkOM IIOLOXeHN BBI CMOKeTe LyUWe KOHTpOJInpOBaTb 3JIeKTPoINHCTpyMeNT B HEOJNdaHHbIX CNTyaUNx.
f) IcnoIb3yIte noxOaIyO pa6oyU OeHdy. He naeBaIte cbo6oHyIO oEHy u yKpaSeHnA. DepeHTe BOLOcbl N OeJMy BdaII N OT DBNHyuxxCaacte.N Cbo6oHaJ OeJda, yKpaSeHnI N IINHHbIE BOLOcbl IerKO MOrT IOnaCTb B DBNKyuHeCra Yactn 3JIeKTponHCTpyMeHTa.
g) Pn HAnuHn NbIeOTcabBaIOxN nBle6OpHbIX npncocO6JeHn y6eINTecb B TOM, YTO OHN NOCoEHNHeHbI NcNoJIb3yOTcra HaJekauM 06pa3OM. PnpMeHHe NbIeOTcoa MOKeT CHN3NTb ONaCHOCTN, CO3DaBaEMbie NbJIbIO.
h) XopoOoee 3HaHHe 3JeHTpOHnHCTpyMeHToB, NOJyUeHHoe B pe3yIbTaTe qAcTOrO Hx NCNoJIb3OBaHH, He DoJIHHo pNBoDnTb K CaMOyBepeHHocTH u NrHOpHpOBaHHo TexHHn 6e3OnacHocTH o6paueHHc 3JeHTpOHnHCTpyMeHtAMn. OdHO He6peKHOe DeiCTBVe 3a DIOJIIO CeKHyNDbI MOKeT pINBeCTn K CepBe3HbIM TpaBMam.
a) He neperpykaite 3JeHTponHCTpymeHT. NcnoIb3yIte TOT 3JeHTponHCTpymeHT, KOTOpbi npedHa3NaueH dJaDaHHo pa6Otbl. C NOxOJaUM 3JeKTPOINHCTpymeHTOM Bbl BbINOHNTe pa6Oty LyuWe HnadeKHei, INcNoIb3yR BeCb Dnana3OH erO BO3MOXHOCTe.
b) He nCnoB3yIte 3JIeHTpOHHCTpyMENT C
HEnCnpaBbIM BByIIOUaTeJeM. INcTpymeT C HEnCnpaBbIM BByIKIOUaTeJeM OIaceH IIOJIeKHT peMOHTy.
c) Do haçaλa hαlaδHn 3neKtpOHCTpyMeHTa, 3aMeHbI npHaadJIeKHOCTe HIN ppeKpaUeHN pa60TbI OTHIOuayTe wTeNCelbHyO BnIKy OT PO3ETN CetH N/IN BbIHbTe, ECIN 3TO BO3MOXHO, AKNMyJlTOP. DaHHa Mepa npedocTopoKHOCTn npedOTBpaUaET clyuaHoe BkIIouHeHne 3neKtpOHCTpyMeHTa.
d) XpaHHTe HeHCNoB3yEmbI 3JeHTPOHHCTpyMeHT B HeOCTyHOM Ira DeTeMce H He N03BOJHrTe HcNOJb3OBaTb erO IuCaM, He yMeIOUHM C Hm O6paTaBcHnn He O3HaHOMJIeHHbIM C HHCTpyKUnEe NO 3KcNlyaTaUHN. 3JeHTPOHHCTpyMeHTbI ppeCTabJIaOT c6oB ONaCHOCTb B pyKax HeONbITbIX NoJIb3OBaTeJIeN.
e) TuaTeBHO yXaHnBaIte 3a 3JeHTPOHCTpyMeHTOM n npHaJdJIeHXOCTMn. IpOBepaIte 6e3ynpueHocTbФyHHcunn NOdBnHHbIX qAcTeN, JErHOCTb Hx XoJa, ceIOCTHOCTb BCex qAcTeN OTCyTCTBHe IOBpeHKeHn, HOtOpBe MOryt HERaTHBHO cHa3aTbcra Ha pa6ote INHCTpyMeHTa. PnO 6hApYHeHN NObpeKDeHn CdaIte INHCTpyMeHT B peMOHT. BoJIbWoE YNClo HeCuaCTbIX CNYaEB CBra3aHO C HeyDoBJIeTBOPHTeJIbHbIM yXoDM 3a 3JIeKTPOHNCPTpyMeHTOM.
f) Pekyuue qactn HNCTpymeHa Heo6xOIMO NOdepKHBaTb B 3aTooyehHom NcHCTOM COCTOHH. Ipn HaJIeKaUe m yXoe 3a peKyuImn IprHaJIeKHOCTaMn C OCTpbIMn KpOMkAmn OHN peKe 3aKlinHBAIOTcR INHCTpyMeHT Lyuwe NoDdaETcR KOHTPOJIO.
g) NcnoJb3yIte 3JIeHTpOHCTpyMeHT, npHnHaJIeJIHHOCTH, 6HTbI I T.D. B COOTBETCTBnC DaHHbIMN IHCTpyKUHMN, HCXoJr H3 ocObeHHocTeY cIOBn H xapaHTepa BblNOJIHReMoI pa60tI. NcnoJIb3OBAHHe 3JIeHTpOHCTpyMeHTa He No Ha3NaYeHIO MOKeT pINBeCTn K ONaChbIM NocJIeDCTBnM.
h) DepeHnTe pyHn HOBepxHOCTn 3axBaTa cyXHMn HnCtBIMn, CLeIeNTe YTO6bHa HNX YTO6bHa HNX He 6blIO HNDHO HNHOHCnCTeHTHO m3Kn. KcOJIb3KHe pyHn HOBepxHOCTn 3axBaTa npenrTCTByOT 6e3oNaChOMy obaeHNIO C INHCTpyMeHToM n He daIOT HaJeHHo KOHTPOJnPoBaT bero B HenpeDbNeHHbIX CNTyaUnx.
5) CEPBnCHOE OBCJyHINBAHNE
a) NpepaBaiTe 3JeKtpOnHcTpymeHT Ha cepBnChoe 6cbnyHbAHne ToIbHO HbAInHnHnpOBaHHOMy nepcoHaY, HCNoIb3yUoEMy ToIbKO NOINHHbIE 3anachbIe YacTH. 3To o6ecneHT coXpAHHe 6e3OpaCHocTn 3JeKtpOnHcTpymeHTa.
YHA3AHNIO B6E3ONACHOCTNДЯФPE3EPA
CBeTOBOHnHnKaTOpAD ⑪
-CBeToDIOHbI INHINKaTOp AD BkIOUOaETcABTOMaTHueCKn pN BkIOUeHNB bIKIOUaTeJI M
OTcacbBAHneIbIIN
-ycTaHOBnTe aadantep Iy noDcoeHHeHH nblncoca L
KaK NOKa3aHO ⑫a
-NotCOeHNHTe ⅢaHr NbJIeOCa K nepexOHNKy
nbinecoca L 12b
- IcnoIb3OBAHHe INHCTpyMeHTa 13
!BcerdaepKHTeHCTpyMeHTdByMa pyKaM
! BO Bpempa60tbl, BcerdaepHHTe HHCTpyMeHT 3a MeCTa npabHbHoro XbTa, KOTOpbie
0603HaueHbI cepbIM UBeTOM
-ycTaHOBHTe HNCTpyMeHnHa N3dJIeIe
-BKJIIOUHTe HNCTpyMeH,ДЯ YeRo Chaayala HaKMITE
60JIbWIMKHOHNYN(=3aUNTHbINBbIKIOUaTeJIb6e3
fHKcaTopa), a 3aTe m nepeBnHbTe nepeKIOuataIb M
I INCTpymeHT OJKeH pa6oTaB Ha noJHo
CHOPOCTN DO TORO, KAN Φpe3a KOCHETCA N3dJIIN
-OTNCTHTe fHKcnpyUOu np bIur J MeJeHHO
PpOToJIKHHTe HhCTpyMeHT BHN3, TTO6bI N3MepeNTeJIb
rIy6HbD DoCTn rOIOBKn OOrpaHnHTeJe rIy6HbG
-3aTHe TcKcnpyoun pyuar J
-OCyueCTBJIaHTeΦpe3HPOBaHHe PJIaHBbIMN
DINHKeHHaM
-6a3OBaI\PHTa INHCTpyMeHTa DOJIHKHa ONIPAbCHa Hn3dJIe
-B OCHOBHOH HyKHO TAYHyb INHCTpyMeHT Ha Ce6a, a He
TOLKaTb OT ce6a
-nocne OKOHuaHnpa6oTbI OTNyCTte pbuhar Jn
yCTaHOBHTe HNCTpyMeHT B BepXHee HaayalbHoe
IIOJOKeHHe
-OTNYCTNTE KypOK BbIKHouTeMaM
- PpaBnIbHa pa6oTa ⑭
-ПOMHHTe,чToфpe3a NOBopauNBAETcNo YacBOB
CTpeIke
-HanpaBnIe HhctpyMeHTaK,TObIΦpe3a
NOBOPaHbAlaacB N3dJIne, a He OTHero
-
YctaHOBka nnTbI aanTepa P (nra konnpoBaHna no 1w6noHy) ⑮
-
YctaHObKa HnpaBnaIooJe nnAHHQ 16
-ycTaHOBNTe CTePKNH HAnpaBIAIOUeI IlaHKn Y B
OTBepCTNBA30BOI INTE R
-yCTaHOBNTe HnpaBJIIOyIO IlaHHy Ha HyKHyIO
rnybHy n 3aKnpeNte DByMa pyKamn Z
IcnoJb3yIte HnpaBIAIOUyIO nlaHky KaK KpyROByO HnpaBIAIOUyIO17
!chayana noBepHHTe HanpaBIAOyIO nnAHHK
-3aФИССИРУTe 7A TnФТ AA raiKoN AB KaH nOKa3aHo HaJIJIIOCTpaUIN
-ycTaHOBNTe CTePHHY B pIHTy OCHOBaHnR
-ycTaHOBNTe 7TNΦT AA B OTMeueHHbI ζeHTp DyH
-3aKpeHnTe HappaBIAIOUyIO nlaHHky DByMa pyuKaMz
COBETbI NO HcNoJIb3OBAHnIO
-ДлЯ phezepeOBaHnna napaJIleJIbHbIX KaHaBOK B 60KOBOCTOpOHe H3DeJIINn HCNoJIb3yIte HAnpaBIAUOyIO nlaHky
-Дяфpezeровипааллельных KaHaBOK daleko OT Kpar n3dEJIIN ⑬
-3aKpeNTE npMOn OTpe3OK DepeBa Ha n3dJIIN C
IOMObIO DByX 3aHIMOB
-нарравлие 6аоую плту по краю образик,
KOTOpbI CnyHHT HanpaBIAIOUe INaHKOJ
-ПиИСПОЛБ3OBAHINФpe3СКНТрOLHbIMИЛN
IAPINKOBbIM NODUHHNKOM 3TOT NODUHHNK DOJIHEH
COKJB3NtB BDOJb KpOMKn N3dEJIIN, KOTOPaI DOJIHHa 6aTb NdealbHO rAdkoN
-ДяболггубokoroppesepoBaHnpeKOMeHdyetyC
BbIIOJIHHTb HECKOJIbKO IOBTopHbIe pe3aHn C Hn3KoN
CTeENbIO cpe3a
- Pónpo6Hee Ha caIte www.skil.com
TEXO6CJIYKINBAHNE/CEPBNC
JaHHbI INHCTpyMeHT He IIOxOJNT dIa IIPOMblJIeHHORIOcNoJIb3OBAHHI
Bcerda coepKHTe HNCTpyMeH n erO shyp B uHCTOTE (oco6eHHo BEHTnIaIIOHHbIe OTBepCTNA S ②)
BpeMa OT BpeMeHn Cma3bIbAaTe cKoJIb3aIuNe cTePHHN T②
EcnHCTpyMeHT,HeCMOTpHa TuaTeIbHbIe MeToDbI H3ROBLeHnI NcblTaHnB, BbiJETn3CTPOA,TO peMOHT CJeDyET PPOIN3BOIDnTb CNlAmn ABTOPn3OBaHHoCepBnCHOn MaCTepCKoN DnA 3JIeKTPoHNCTpyMeHTOB fnpMbI SKIL
-OTnPaBbTe Hepa3o6paHHbINHCTpyMeHT CO
CBNDTeBCTBOM NOKyNk BaWemy dIlepy nIN B
6nKaIyO cTahuO oBcnyKbAHnA hPmbi SKIL
(aDpea n cxema o6cIyKbAHn HhCTpyMeHtA
http://pmbedehebI B Be6caiTe www.skil.com)
- PpIMTe K CBeDeHIO, YTO NOBpeKHeHNA BcIeCTBHe
peperpy3kn nn HehaJeHaaeOo6paueHnC
INHCTpymehTOM He 6ydyT BKNIOUoyHeB I rapaHTNIO
(ycnoBra rapaHTn SKIL cm. Ha caTte www.skil.com nn
y3haIte y dJIepa B BaWem perNohe)
OXPAHA OKPYKHAIOUeN CPeIbI
He BbIKNbIBaIeTe 3JeHTponHCTpyMeHT,
npuHaJIeKHOCTN ynaKOBHy BmecTe c 6bITOBbIM
Mycopom (ToJIbKO dIa CTpaH EC)
-BO INCNOHHe NcE BPOeNCKO DNpeKTHBb 2012/19/
EC 06 yTnH3aunn OTCnyKHBwero CBOI cPO
3JIeKTPnueckoroH 3JIeKTPoHHOrO O6OpydoBaHnI B
COOTBETCTBUN C DEICTBYQUHIM 3aKOHODATEJIbCTBOM.
VTINH3aUNA
OTDeJIbHOOTDVPVNXOTXOIOB HAIPEIINPMHTRX.
COOTBETCTBVIOUHXVCLOBMMAHOJOMHHeCKO
6e30naCHOCTN
-3HaOH ⑤ HANOMHHT Bam 06 3TOM, KORda NOBNTCR
HEO6XODIMOCtB CnAeTb 3JIeKTPoHCTPVMeHT Ha
yTnIIN3aunIO
UYM/BNBPACnA
Corlacho H3MepeHnB B COOTBeTCTBnC EN 60745
VPOBEHb 3BYKOBOrO DAJIeHnI 3TOrO INHCTpyMeHTa
coCTaBlaet 91.0I5(A),yPOBeHb3vkoBOMouHOCTn
102.0 ΦB(A) (norgueHocTb K = 3 ΦB), a Bv6paunia
3.0 m/c² (REKTOPHAR CVMMA NO TPEM OCSM: NORPEUHOCTb
K = 1,5M / c^2
- UpoBHeHb Bn6paunu 6bIIN H3MepeH B COOTBETCTBUN CO
CTaHdapTn3npoBaHHbIM NcblTaHHem, CoedePkaUIMCRA
EJIEMHTH IHCTPymeHTA ②
A ΦikcaTopBaIy
B Taika natapoHa
C KJIIOU
D O6MeKHyBaH rIi6BnH CBePdInHH
E PyuKa ToUHOHaCTpoKn
F PyuHa ToUHOI HAcTpOHN
G TOnOBKa 06MeHHNkraIINHNI
H PeryIIOBaJIbHa pyUka (O6MeKHyBaYrJIb6HHn CBePdJIHHa)
J CTonophe BaXinb
K HoIeCo Bn6Opy WbNdkOcTi
L AanTep nIIOOCy
M KypkoBNIpeemKauKnBHeHH
N AbapiHnBmKau
P IlaactnHa-nepexidHnK
Q HanpaBnaOua nlaHka
R OchOBHa nHaJIb
S BeHTnIauiHi OTBOpN
T IOB3yHn
V 3axncha KpnuHa
WΦacOHn6byep
Y UTIpi HAnpMaHHOI IaHaKn
Z Pyka IBACTaHOBIOBaHHHaHpaBIAHOOoiIaHKn
AAΦikcaTop HanpmaHoi nlaHKn
AB Taika HappaBnaHoyoi nlaHn
AC Bka3iBHHK rIi6HnH
AD CbitIOIOHN iHikatop
BE3NEKA
3AΓΑЛbHI BKA3IBKN 3 TEXHIK NBE3NEHNIOBODXEHHH 3 EJEKHTPOIHCTPYMENTAMN
NIOPEDEHEHHYBaHNO BnBcIb 3aNo6iHni 3axoHa Ta iInocTpaui, a TaOH npOHTaTe BkA3IBKn TaTexHiYMOB, uO BXoJrB B HOMJIeHT NOCTABHN cBoro eJeHTpoIHcTpymEtHy. HeOpTpMaHHH NHepepeJIeHnx BkA3iBOK y NobHOMy o6c3i MoHe CnpuHHNTu ypaHexHH eJeHTpnuHm cTpymOM, NoHexKy Ta / a60 cepno3Hy TpaBMy.
Dó6pe 36epiraTe Ha MaI6yTHc i nonepeJHHeHHa Bka3iBn.
ПиД NOHЯТТМ "eLEKТponpILAД"ВЧИ NONepeJxHeHHx MaETbCSHa yBa3i eLEKTPponpILAД, lo npaIoe BiD MepeXi (3 eLEKTPoka6eJIem) a60 BiD aKymyIaTPOHOI 6aTapei (6e3 eLEKTPoka6eJIIO).
1) B63NEHA HA POBOOYMICU
a) PpMaIte cBcE po6Oe Micce B YnCTOTi Ta np6paTe Noro. Be3naI a6o noraHe ocBITJeHHa Ho p6OChy Micci MoKHTb PpN3BOdHTn Do HeuacHnx BnPaIkiB.
b) He npaioIte 3 npuIadom y cepeoBnui, de icHye He6e3neHa Bn6yH BnacIIOH npCuTyHocTi ropUOxPiHN, ra3iB a60 nHy. EJeKToPonpuaMoHyTb nopOJkyBaTu iCKpn, BiD RAHX MoHe 3aMmATncr nn a6o napn.
c)Пдчac npaцOBaHH3 npHJaOM He niDnycHaTe Do po6oYoro Micza dite Ta iHxN IIOeB. BmOKeTe BTPaTHTN KOHTpOJIb NaI npHJaOM, RaIoo Ba7a yBaRa 6yde BiDbepHyTa.
2) ENEKTPNHA BE3NEHA
a) 7TeNcIb npnlaNy noBHeH nacyBaTu Do po3eTH. He do3BoIaETbcra 0o-He6ydb MiHaTn B wTeNceI. Dnpo6OTn 3 npnlaadam, 0o MaHOb 3axnche 3a3emJIeHH, He BNkopNCTOByte aadantepn. BHKOpNCTaHH opriHaJIbHOrO wTeNceI Ta HaJIeHHo' po3eTKI 3MeHwE pnsIK ydApy eJekTpnuHIM CTpyMOM.
b) YHnKaIe KOHTaKrTy YaCTeT TiJa i3 3a3EmLeHMM NOBepxHAMn, Hn HAp., Tpy6amn, 6atapeMn ONaJIeHH, neaMn Ta XOJIoNJIbHNHaMn. KoJI BaWe TiNo 3a3eMHe, icHyE 36IbSeHa He6e3NeHa ydApy eJIeKTPuHIM CTpyMOM.
c) 3axuatae npnaad BiD douy Ta BOIorn. IonaadaHHBODIN B eJekTpoIHCTpyMeHT 36ilbUye pn3NK yIapy eJekTpHNM CTPymOM.
d) He BnHOpncToByIte Ka6eJIb IJIЯ nepeHeceHH npHaJy, niDiBiWyBaHHa 6o BNTaRyBaHH wTeNcEJIa 3 po3EtNI. 3axuJaTe Ka6eJIb BiJ hap, oni, roctpIX KpaIB Ta Detalei npHaJy, zo pyXaOTbc. PoIkoJKeHm a6o 3aKpyeHm Ka6eJIb 36ilb7yE pnsIK yIapy eIeKTPnHm CTpyMOM.
e)ДЯЗOBHixpo6itO6OB'3HOBOBHKOpNCTOByTe Inue TaHnNoDBHyBaU,0doNyueHnIra 3OBHixpo6it.BHKOpNCaHHnoDBKyBaHa,
po3paxoBaHn Ha 3OBHiUH i po60Tn, 3MeHsUe pN3NK ydapyeEJIeKTPnUHM CTpyMOM.
f) HsO He MoKHa 3aNo6irTH BHKOpNCTAHHIO eHTponpnaIy y BOIoromy cepeoBnui, BHKOpNCTOByIte npncpti 3axncty BiD BNTOKy B 3emLIO. BHKOpNCTaHHra 3pncptpo 3axncty BiD BNTOKy B 3emLIO 3MeHJye pnsIK ydpay eHTpnHMM CTpyMOM.
3) B63NEHAJIIODEI
a) Bydte yBaHmM, cIiHynte 3a Tm, uo Bn po6nte, ta po3cyIINBO NOOBbTeC nI qac po6OTn 3 eIeHTpOpnpIaOM. He KopNCTyIteC npIaOM, IKIO Bu CTOMJIeHi a60 3haxOITeC nI d iEIO HApKOTnKIB, CNHPTHx HANOIB a60 liK. MItb HeyBaXHoCTi pni KopNCTyBaHHi npIaOM MoHe npN3BOuNTn Do cepNo3Hnx TpaBM.
b) BdraTe OcO6NCTe 3axnche cnopnJKeHH Ta 06OB'3HOBO BdraTe 3axnChi OKyIrpH. BdraHHooc6nctoro 3axnCHoro cnopnJKeHHaHK HAp..-B 3aneKHeOCTi BiD BuNy po6it - 3axnCHOI MaCKn, CneuB3yTTT, 10 He KOB3aETbcR, KaCKn a6o HaByuHNkIB,3MeHwye p3NCK TpaBM.
c) YHnHaTe HeHaBMnCHOrO BMnHaHH. Nepw HIX BMnHaTN eJeHTpOpnHaB eJeHTpOMepeHy a6o BCTpOMJrN anMyIaTOpHy 6aTaPeIO, 6patn Horo B pyKn a6o nepeHocHTN, BneBHITbcR B TOMy, 0eJeHTpOpnJaad BmKHyTn. TpMaHH naJIbca Ha BMnKaHi niD yac nepHeceHH eJeHTpOpnHaNy a6o BCTpOMJHn B po3eTKy YbIMKHyTORO npHaMy MoKe npn3BOdHTn Do TpaBM.
d) Ipepe THM, RA BMHaTHn npHJaD, npH6epiB HalaRoJHyBaJIbHi IHCTpyMeHTn Ta raHOBn KIOU. 3HaxOJKeHHaIaOJHyBaJIbHOrO IHCTpyMeHTa a6o KIOUca B DeTalI, 10 O6ePTaCTbCra, MoHe npH3BOdHTN Do TpaBM.
e) He nepeoiciHoiTe ce6e. 36epiraTe ctiHe noLoHenHa Ta 3aBKn 36epiraTe pIBHObary. Lcdo3BOiHTb Bam kpaue 36epiratn KOHTpoIb HaI npHiaOM y HecnoiBaHnx CNTyauiX.
f) BdraTe npaTnOJr. He BdraTe npocToPi OJr Ta npHpaN. He ndTabJe T BoLocCn OJr Do DeJaE, 0p pyxaOTbc. IpocToPi OJra, PnKpaCn Ta DOBRe BOLOCC MoKyb nonaATn B deTaJI, 0p pyxaOTbc.
g) RaHIO icHye MOHINBicTh MoHTyBaTHn HNOBIcMOHTyBaJIbHI a6O NIIOyoNBoIIOBaJIbHI npNCtpoi, nepeKoHaIteC, 06 BOHn 6yJn Do6pe nID'cDnHi Ta npaBnJIbHO BHKOpNCTOBYBaIHC.BHKOpNCTAHnRA NIOBIDCMOKTyBaJIbHO rnpNCtpoMoKe 3MeHUnr He6e3IeK, 3ymOBJIeHI nIOM.
h) Do6pe 3HaHH eIeKtpoiHcTpymeHTiB, OTPMaHe B pe3yIbTaTI qACTORO IX BNHOpNCaHH, He NOBHHo npn3BOJNTu DO CAMOBneBHeHOCTi I rHOpYBaHH npnHcNIIb TexNIk6e3NeHN. Heo6peKHa dIra MoKe B ONDy Mntb pN3BecTn DO BAKKOI TpaBMn.
4) INPABINbHE NOBOJXEHHRA TAHOPNCTYBAHH EJEKTPONPNIAADAMN
a) He nepeBaHTaHyTe npHa. BnKOpncToByte TaHn npHa, 0c cneuaIbHo np3HaueHn dIe neBHOi po6oTn. 3 npDtaTHm npHaIaOM Bn 3 MeHsIM pN3HKOM OTpMaTe Kpaui pe3yJbTaTH po6oTH, RaHIO 6yJeTe npauOBaTH B 3a3HaueHomy diaNa3OHi noTyXHocTi.
b) He KopnctyItec npnaJOM 3 noHODHeHHM
BmHaem. PpnaIa, Jn He MoKHa yBIMKHyTn a6o BmKHyTN, E He6e3neuHm i NOro Tpe6a BiDpEMOHTyBaTN.
c) Ipepe THM, AOK peryIIOBAtn 10-He6yDb Ha npHnadi, Minrtn npHnadn a6o XOBaTH npHnad, BHTARHITb wTeNceIb i3 po3ETn Ta/a6o BHTARHITb anMyJLTOPHy 6aTapeO, HkTO BOHa 3Himaetbc. Li nonepeJxVBaJIbHi 3axOJn 3TexHInK 6e3neKn 3MeHsuOTb pN3NK HeHaBMCHORO 3anycky npHnady.
d) 36epiraTe eIeHTpOpiNlaHn, RHMn Bn came He HOpNCyTEcB, daJIeHO bID dITEH. He do3BOJnTe HOpNCYBaTHcE IeHTpOpiNlaDOM Oco6am, 0o He 3HaIOMi 3 NOro pObToIO a6o He YHTaIN cI BHa3IBHN. y pa3i 3actOCyBaHHr HeDCBIduEHNMn Oco6amn npIaHn HecytB C6bi He6e3neKy.
e) CtapaHNO DOrJaAte 3a eJenKtpoiHCTpyMeHTamn i npHaIaI. IpeBipTe, uo6 pyxomi detani npHaIy 6e3dorAHNO npauOBAIu Ta He 3aiJaH, He 6yIi noIamaHmN a6o HactIbHN NOWKOHeHMM, uo6 ue Morlo BnInHyTu Ha yHKnioHyBaHH npHaIy. NOnHOJHeni Detani Tpe6a BiDpemOHTyBaTHn ABTOPIN3OBaHIM MaICTePHi, nepu HIX HUM MoXHa 3HOBy HOpNCTyBaTcR. BeIIka KIlbKiCTb HeueacHX BnAdKIB cnpUHHReTBcra NorAHM DOrJaDM 3a eJeKTPoPiHaIaMn.
f) Tpmaite pi3aIbHI iHCTpyMeHTn do6pe HaroctpeHIMN Ta B uHcTOTi. CtapaHHo dOgJIaHyTi pi3aIbHi iHCTpyMeHTn 3 roCTpM p3aJIbHM KpaEM MeHwe 3acTprIOb Ta ix IerIe BEcTH.
g) BnHOpncToByTe eJeHTponpnaIaI, npJauIaIdo Hnx,po6oqi IHCtpymeHTn T.i. BiIIOBIDHO do cIHX BHa3IBOH. Bepitb Do yBaH npu cboMy yMOBn po60Tu ta CneunphiKy BnHOHyBaHOI po6OTn. BnKOpncTaHH eJeKTponpnaIadIB dIra po6IT, dJIa RKnX BOHN He nepeAd6aueHi, MoHe npN3BOUHTn Do He6e3NeuHx cnTyaui.
h) TpmaTe pyKoTn i nobepxHi 3axBaTy cyXmN i HCTHMn, CIIHyIe, 06 Ha Hnx He 6yIo OINBn a6o rycToRo MaTnla. CIn3bKi pyKoTn i nobepxHi 3aXBaTy yHEMOHJIIBIOJb 6e3neUHe NOBOJKeHH 3 eJeKTPOiHCTpyMeHTom Ta NOrO KOHTPOIIOBAHH B HeOuyBaHnx CNTyaIqIax.
5) CEPBIC
a) BiDaaBaiTe cBi npHa Ha peMOHT IiWe KBaIiΦIOBAHm faxiBzam Ta IiWe 3 BnKOpNCTaHHM opRHaIbHnx 3aNaactH. Lc 3a6e3neuTb 6e3neuHicTb npHaNy Ha doBrn Yac.
INPABNIA TEXHIK INEHN JIAPPE3APOH
TpmaTe eIeHTpnHn IHcTpymENT 3a iOJbObaHi pyKoRTn, TOMy IIO HIX MOHe MOHe 3aYeHNTBlaChn Whyp KINBLeHH (nepepi3aHH npOty nHa npYro npu3BeDe Do npoxOKeHH eJeKTpnHoro cTpyM Cype3 MeTaJIeBi DeTaJI IHCTpymEHT Ta do ypaKeHH onepaTopa CtpymOM)
3actocobyte 3atncahi a60 iHwi 3ac06n fikcaqii Ta onopn Bnpo6y h cta6ilbhi nllatfopmi (3aTnchann H Bnpo6y pykami a60 3 npntncahnnm do Tila po6ntb Noro HectaibHm Ta MOKe pnp3BecTN Do BtpaTN KOHTpOJIIO 3a IHCTpyMeHTOM)
3AΓΑΙbHE
Ley iHCTpyMeHT He MOxHa BnKOpNCToBbATn Oco6aM BIKOMdo16pOKIB
Ipepe npyHOBaHHa 603amHO npnna 06OB'RAKOBO BnMIb BNlHy i3CtboOi po3ETN
AHCECYAPH
SKIL rapaHTye HadiHy po6Oy IHCTpymeHTa TIlbKn npn BHKOpncTaHHI BiINOBiHOro npna
BnKOpNCToBynte Iiue npnaIaI, npnycTIma WbNdkictb o6epTaHHraKOrO KMIHIMyM BiINOBiJaC HauBnui WbNdkocTi IHCTpyMeHTa 6e3 HaBaHTaKeHHA
HeKOpNCTyIeTecr DeΦopMOBaHmMn a6o NOnKoJKeHmMn φpe3amn
BukopncToByTe Inue roctpiΦpe3n
- BepeKItb HacaKn BiD yApiB, Ctpyci I mactnla
3 cIM npicTroEM BHKOPNCOTByTe IInue 0pe3n 3 WbNdkopixyoi CTaJI a6o 3 TBepdocnlaABHMM NaKOHeHHKAMN
NEPEBVKOPNCTAHH
He donyckaIte nowkOJKeHb, kI MOHyTb HaHeCTn 乌pynn, cBaxn iHni eIemEHn BaWOMy Bnp6y; BNdaJIiTb ix neped noaTkom po6OTn
- Ipeepo60toIO nepeBipTe BiINOBiHicThc Tpy My B MepeKl i3 CTpyMOM, No3HaueHi Ha IHCTpyMeHTI
He 6o6o6bIte MaTepiA, 10MiCTb ac6eCT (ac6eT BBaHaTbcra KaHcpeOReHHM)
He 3aTnckaiTe iHCTpyMeHT y TnCKax
BnKOpNCToByyTe NOBHiCTIO PO3rOpHeHm shHyp nooBHyBaHa, kH MoKe BHTpIMyBaTn HabaHTaKeHHB 16 AmneP
PIBeHbIymy npn po60ti moKe nepeBnUyBaTu 85 d(b(a); BHKOPNCOTByTe HabyuHnKn
ПИЛ BID TAKHx MaTepiAIB, RA CBINuOBoYTpmyUOy a phap6a, DeaKi npoDi NpeBa, MiHepaIIMeTal, MOKe 6ByTH WkIdINBIM (KOHTaKT i3 TaKIM NlOM a60 NOro BAnxAHH MoKe CTaTH pNCHIO BHNKHeHH B OnepaTopa a6o ocio, 10 nepe6yBaIOb Iopyu, anepriHnx peakui i/a6o pecnipaTopnix 3axBopIOBaHb); HndraIte pecnipatop i npauOte 3 INIOBuaJIOUcM npncTpoem nid qac yBimHeHH IHCTpyMeNTa
- Deяki BnI Nny KlaacnphiKiyOtbcra JK KaHcpeoreHHI (Ha npKlaid, dyobBni a6o 6yKOBni nll), Oco6blBO B CNOJyHeHHi 3 Do6aBkAmn IJI KOnDnizIOBaHHA HepeBnH; HndraTe pecnipatop i npauOte 3 NIOBdaIauOum npncTpoem niq YbIMKnHeHHI hCTpyMeHTa
CiiyTe iHCTpyiAm no po6oTI 3 MaTePiaIaMn, npOduyUOuHMN nII
- Ipekehohntecb B, TOMy IIO IHCTpyMeHT BHMKHeHO, nepeTMMAKIINKIOHHTNHO DO PO3eTKU
IⅡA C BHKOPNCTAHH
He Do3BolnTe UHpy KINBHeHH CTnKaTnC3 pyXOMMn YactnHaMn IHCTpymeHTy; 3aBKnBnBnJaDaTe UHyp 3a 3aHbOIO YactnHOIO IHCTpymeHTy
HikoJHe KOpNCTyIeTcIpnCTpoEM 3 N0WkoDHeHOO OCHOBOIO R ② (3axnCHmOropOHeHHaM);3BepHiTbcA Do KBaJIphiKOBaHOI OcO6n Ioo6 II 3amIHHTn
Hateropnno 3abopohreTbcKOpncTyBaTnC HcTpymeHTOM npn noHOKHeHHI eKeKTPnuHOro shypa; 3amHa Ha aHaIogHn nnroTOBLeHn shHyp nobHHa npOBODNTNcR opraHIsaueH 06cLyroByBaHH.
He TpmaIe pyu i naIbci 6IIN3bKO do fpe3n KOn npucTpiy yBIMKHyTO
Hikoln He npeBnuyte MaKcmaIbHy rIi6Hy piaHHa Hpe3n npn fpe3epybaHHI
Y pa3i eIeKTpNHO i 60 mExaHiHoi HecnpaBHOcti, HeraHIO BiHKIOHTe IHCTpyMeHt I BHMKHITb 3 po3ETK
- Y BUNaDky 6IOnkyBaHHy φpe3n, ΜO BUNBIAErc pi3KIM
CinahHnMpNCToIO, HeraHO BmKHiB nPncTpi
- Y pa3i BUMKHeHH CTPMy a60 BnnaIKOBO RINMaHH BUNK 3 PO3eTK, HergaHOBUMKHITb IHCTpyMeHT, Oo6 yHKHyTN HeKOHTpOJIbOBAHOrO BMKAHH
HeDOKlaJaIteHaIHCTpymeHTHaMipHOrO3ycnJIa, KHe MoKe BnKJlnKaTH NOro 3aKJInHOBaHH
NICJI BHKOPUCTAHH
Picra3aKHHHPO6OTn,BIDnyCTITbBaXilbJ ② ,BIDBeiTb npncptiHa3aY BepxHe CTapTOB eNoIOXeHHI BUMKHITb Horo
IORCHEHHI DO yMOBHX IO3HAYOK HA
IHCTPYMEHTI
③Перд ВИКОРИСТАНДМпочитЕИСТPyKцIOI3aCTOCYBaHH
④ПодбиHa i3oJaIg(3a3eMIOUOHy npOBiHneNoTpi6eH)
⑤ He BnKndaIte iHCTpymeHT pa3OM 3I 3BnauHm CMITTAM
BHKOPNCTAHH
MoHTyBaHHI BnMaHH qpe3 6
!BMMKHiTb IHCTpymeHT Ta BnMItB BNJHy 3 PO3ETH N! yneBHItbcra, lo XBOCTOBuK fpe3n a6COJIOTHO UcHcTn
!yneBHITbcra, 0o diaMeTp cahroBoro natpoHa (6 MM, 6,35 MM, 8 MM) Biinobidae diaMeTp y XBOCTOBHnHa φpe3n
-ηpeBepHtB iHCTpymeHT dOropn dHOM
-ⅢO6 3a6b0kyBaTN BaI, HATNCiHb fIKcATOp BAly A (Akuo Heo6xidno, noBepHItb raHy naTpoHa B) yTPmMyTe NOro nOKn Bu
ДЛЯ MOHTYBAHHЯ:
-ocla6Te raKy naTpoHa B 3a donomoroIO KInOua C
-BCTABTe 6iT 3 HeBENIKOIO BiDCTAHHIO X B NaTPoH
-MiUHO 3aTARHITb rAky naTpOHa 3a DOnOMoTOIO KIOUc C
Bidnyctitb fikcatop Bany A
ДЛЯ ВИМАHHЯ:
-ocla6te raikny naTPOHa B 3a donomoroKnHoua C
-BHIMiTbΦpe3y
-BiDnycTiB fikCaTOp Bany A
!o6nocla6ntuΦpe3y,iHOi Tpe6a CtyHHTU NO Bepxhi yactHHIΦpe3n 3a DonomorO MOJIOTHa;ДЯ 3axHCTyΦpe3N BHNOpHcTOByeTbcA DepeB'HN6pycoK
!HIOJIHe 3aTAYIe raHy naTPOHa JHKU O y ZaHROBOMy naTPOHi HEmac φpe3n; MOXHa NOOHODHT NaTPOH
3amihanatpoHIB ⑦
!BMMKHiTb IHCTpymeHT Ta BnMItB BNJHy 3 pO3eTHN! yneBHITbcra, 0o BaI zAHROBO nATPOHa a6COJIOTHO uHCTHNI
-ocla6Te raiky naTpoHa B Ha 2-3 o6epTu
-nocTykaTe no raui niatpoha B Kliouem C
-3HimItbraHy npToHa B i zauHroBn natoH (3a6loKnyTe BaI)
-ηepeBepHitb IHcTpymEnT dOropn dHom
-BCTaBTe HOBN LAnHroBN NaTPOH y BaI ZaHn
-BCTaHOBIbraHyNaTpoHaB(3a6loKOBaHnBaJ)
!HIOJI He 3aTaryIe raHy naTPOHa JHIOy ycaHROBOMy naTPOHi HEmae φpe3N; MOXHa NOOHODHTn naTPOH
- PeryIIOBaHHraIINHnHΦpe3epyBaHHa 8
!BnMkhHt bInctpymEnTa BnMmitb BNJHy 3 PO3eTHN
-BCTaHOBIb pyKu ToUHoi HAcTpoiKn B II ceHTpaIbHe
noIOXeHHra, noBepHyBwn pyHcy E do KInu, a notim noBepHITb Ha3aHa 4 nobHnx o6epTu BCTaHOBiTb Ha shkani F0 8a
-NoBepHItb roIOBky G B KpaHHe HnKHe NOLOKeHH TaHIM YINHom, 106 BOHa BCTaHOBNlaC3 KlaCaHHM BiIPA3y NiI rNIn6HOMipom D (dIra BCTaHOBJeHHa Ha HyJIb) 8b
-ocna6Te pyky H, 06n rIn6Homip D onyctnbca Ha roJOBHy o6MeKyuBaayrIn6HnG⑧b
-po3aunTe iHcTpymeHT Ha Bnpo6i
-BiDnyCtiB CTOnOpHn BaKInJb J@C
-HaTNCHTb Ha npctpi BHN3 TaK, 0o6 fpe3a TOpKHyJnac6o6bIOBaHOi d
-BiDnCyTITbI 3aTARHITb CTONOpHnBaxInbJ@e
-inepeMicitb Bha3iBHHK rIi6HHN AC B noJooKeHHa 0 MM 8f
-niHIMITb rI6HOMip D ha noTpi6Hy BnCOTy fpe3epyBaHH i 3aTHiB pyHu H ⑧f
-BiDnycITb CTOnOpHn BaXilb J I BiDBeDiTb 3HOBy iHCTpyMeHT Doropn
-3a donomoroIpykToHoi HAcTpoKn E MoXHa ToHnE BiDperyIIOBaTHrNbHy (0±8MM); BiIMtKN Ha shaJI F BiINoBIdaOTb 0,1 MM, Tomy I NOBHN oBept BiINOBiDa e 2,0 MM
-3a DOnOMoTOI RoIOBKn O6MeKByBaHa rIn6Hn G rIn6Hy fpe3epyBaHHa MOHHa nOKpOKOBO 36iJbUnTH (peKomeHdyETbcra Ira rIn60kHX po3pi3iB)
!nicra 3amini hpe3n rni6nHy fpe3epyBaHHcIiBidipepyIIOBaTu HHOBO
- PerylaTOp WbNdkocTi ⑨
IpymaHHOITMaJIbHxpe3yJIbTaTIBΦpe3epyBaHHpiHnx MaTepaJIb
-Bn6paTe WbNkICTb fpe3epyBaHHa 3a DOnOMoTO KoiIaTuK (TaKoH iNiD yac po6Otu npucTpoU)
-BNKOPNCOTByTe TaBnHIOYAK DOBIDHNK DnBn3HaueHH npaBnIbHoI WnDkOcTi Φpe3epyBaHH
-NePw HIX Noatn po6Oty, 3HaIITb ONTImaJIbHy WBNKICTB WJXOM Bnnp6yBaHH Ha HeNoTpioHOMy MaTepiJI
!nicra DOBunx nepioiB po60n Ha MaIiWNbHIOCTi daIte npncTPOeBi OxOHOHTn npnpo60ti Ha BnCOKi WBnHOCt i 6e3 HabaHTaKeHHNpN6NJ3HO 3 XBNIHN
CbITIOJIOHN iHdiKaTOp AD ⑪
-CBITIOIDHn iINKaTOp AD 3aropReTbcr aBTOMaTHHO npN BKNUeHHI nepemKaya M
-ПИЛOBЛОВЛЮВаHHA
-BCTaHOBIb aadTep IJI INJIeBCMOKTyBaYa L TaK, JIK NOKa3aHO Ha MaJIIOHKy ⑫a
MoHTyBaHHHaHpMaHHOI NaHKnQ 16
-BCTaBTe ⅢTnpi HnnpMHOI NlaHKn Y B OTbOpN OCHOBn R
-BiDperyIIOHe HApMHy INaHky Ha notpi6Hy uHpyH y 3aKpinItb II 3a DonomoroDBox pyOK Z
BnKOpNCtAHHaHpMaHHOI PAnHKn YK CpKyIpaHOrO HApRmHnKa ⑦
! cnoaTHy nepeBepHITb HnnpMHy nnaHKy
-3akpinitb unnibky AA 3a donomoroio raikn AB, knoka3aHO ha iIOCTpaui
-BCTaBTe UTHpi Y B OCHOby R
-πpokoiitb uHnIbKOIO AA no3HaueHn ceHtp KOla
-3aKpinitb HnpanMHy nlaHky Dboma pykaZ
-BeiTb npicTpni 3 pIBHomipHOIO noaueio no Detani, 10o o6pO6IeTbcra
BnKOpNCTaHHHaHpMaMHoI PAnHKn 3 facoHHM 6yepom W18
-BCTaHOBIb foacOHn 6byep W (3 BCtAHOBJIeHnM HAnpMaHm polnKOM) kNOKa3aHo Ha pncyHky
-BeiTb npncTpri B3doBk KpaIO DeTaJI 3 JeKIM HAHNCOM B6IK
IOPADNI NO BHKOPNCTAHIO
-Дяпpopиib,napailebHnx3KpaemdeTani, BnKOpNCToByTe HAnpMaHy PnaHky
ДяВиконаннларальнхпpopi3IBдalekoBIDКраio DeTani 13
-3aKpinITb npMn6pycOK DepeBa Ha Detani 3a DONOMOIO DOX CTpy6uH
-BeiTb npicptpi OCHOBOO B3doBHKpao 6pycha, kHn y cboMy BNpaKy CnyKHTb K HaprrMaPiHaKa
- Pn BHKOpCTaHHi Φpe3 3 HappMHKOM a6o
SHAAPHKONIUDHNNHKOM, TaKNI HANPMAHNI K a6o
SHAAPHKONIUDHNNK NOBHNNI KOB3aTN Kpaem DeTANI,
JKNI NOBHNH 6yTN a6COJIOTHO rJaDeHbKIM 19
ДябьшиглбинфpeepyBaHHpeKOMeHdyETbca npoBOaHTN KIbHa NOBtOpHnx npoxOIB 3 HeBeJIHKIM 3arIIN6JIeHHM KOHHORpa3y
-ДИВИТБСАДОТКOBУ iHФOPmaцю Ha caNTi www.skil.com
DOrJIaOBCJyROByBAHHa
LcIiHCTpymeHT He npuaTHn IJI npomncIOBOB0 BHKOpNCtAHJ
3aBHKn TpMaTe IHCTpyMeHT Ta NOro WHyp B YNCTOTI (ocO6bNOBBeHTnJIaHi OTBOpN S ②
- Yac BiD yacy 3mauynTe NOB3yHnT ②
-Якшо He3BaJauOHa peTeIbHy TexHOrIIO BnroTOBLeHHI I nepeBipKn IHCTpyMeHT BCE-TaHn BnIe 3 LaNy, Ioro pEmoHT Do3BOJIaEtbcR BnKOHyBaTH IInuWe B aBTOpN3OBaHi cepBicHi MaIcTepHi dJa eNeKtponpniladIB SKIL -HaIIiNilb Hepo3i6paHni IHCTpyMeHT pa3OM 3doKa3OM KyniBNI do BaWoro DnIepa a6o do Na6bnKUHO zENTpy o6cnyROByBaHNr SKIL (aDpech, a TaKoJdiarpama O6cnyROByBaHHI npIcTpoH, NodaIOTBcHa caTI www.skil.com)
Bi3bmitbdoBidoma,0yWkoDkeHHBhacnIOK nepeBaHTaKeHH a6o HeHaJIeHHoro NOBKeHH 3 iHcTpymeHtOM He6dyTb BKNUChEi BRapaHTIO (ymOBn rapaHTTI SKIL dN. Ha caNTi www.skil.com a6o doBiaaTeCBA DInepa y Baowomy perioHi)
OXOPOHA HABKOLINHbOI CEPEdN
-He BnHnDaIte eJekTpoIHcTpymENT, npHnAdJeKHoCTa yNakOBky pa3om 3i 3BnuaHm CmitTAM (TilbKn dIra KpaIH EC)-BiIOBIAIDHO do EbponeYcbKOI dIpeKTBN 2012/19/CC 7oDo yTNlI3auCi CTapNX eJekTpruHNx Ta eJekTPOHHX npInaIB,B 3aJIeXHocTI 3 MlcueBIM 3aKOHOdaBCTBOM, eJekTpoIHcTpymENT, kHNIpe6yBaB B EKcnlyataii NOBHeH 6TyNtU3OBAHNI OKpEMo, 6e3neHm DnA HABKOLINHbOro cepedOBuHaOWa IJAXOM -MaIIOHOK⑤ HaraDaE Bam npo ce
WYM/BIBPAU
3a Bmipamn BiINOBiHO do EN 60745 pIBEh 3ByKOBOrTO nCKy zuoro iHCTpyMeHTy cTAHOBIIoe 91,0 dE(A) Ta pIBeHb NOTyHKHOCTI 3ByKy DOpIBHOE 102,0 dE(A) (KeoiieHT HeoctOBipHOCTi K = 3 dE), a Biopaia 3,0 M/c² (TpncekuiHa BeKTOpHa cyMa; KoepicieHT HeoctOBipHOCTi K = 1,5 M/c²)
PibeHb Bi6paui 6ylo BmipraHo y BiNobiHocTi 3i CTaHdaptn3OBaHM BInpO6yBaHHM,IO MICITbcB EN 60745; daHa xapaKTepcntKa MOHe BnKOpNCOTByBaTncI dIa NopIBHnHr ODoHO IHCTpyMeHTa 3 IHsMM,a TaKoJ dIa NopepeHboOI OuIHKn BnLHy B6paui iIq Yac 3actocyBaHHa DaHO IHCTpyMeHTa IBA3AHx CIJIe -pn BnKOpNCtAHHi IHCTpyMeHTa B IHsX CJIax a6o 3 IHsMM/HEcnpaBHMM DoNOMIXHHM INPCTOcYBaHHMaPiBeHb BnLHy B6paui MoKe 3HaHNO iINBuYBaTncr -y nepioDi, KOJI nHCtpyMeHT BIMNKHeHn A6o FYNKIOHyE 6e3 PaKTNUHO BVKOHAHH Po6OTn, pIBeH bNlHy B6paui MoKe 3HaUHO 3HNKyBaTncr! 3axuatae ce6e Bid BnLHy B6paui, NiIDTPMMyOnu HcTpyMeHT I Ioro DonomixHi PnCTOCyBaHHB CnpaBHomy CTAHI, NiIDTPMMyOnu pyuB TepNI, a TaOH KpabNbHO OrpaHH3OBYOnC BiPo6ouH npoc

PouTερ 1860
EIEAΓΩΓH
To epyaiaio npoopicieta ia to ppezapioua auakwoewv,akwv,biatouwv kai eniunkwv onwv oE 5uO, nlaotikacai elambdapa domuka uikac aTheta cai yia apiaataavtipapn (anotpov)
AutoToepyaaleiodeltaipocetaiyiaenayveaataknxpon
-△iaβaOTe kai pfuaAeTae autec tic odnyiec xnpoewc ③
TEXNIKA XAPAKTHPIIKA ①
MEPH TOY EPTAAEIOY②
A Aospaaleia tou aEova
B NaEmuaduXavioouoOooEns
C Kλειδι
D
E 1aikoTtnspuOioncakpiBiaas
F Klauka μkpopθμon
G IepioTpeoEv opuoiotn
H Koupi puOuOnc (eTpntnC baouc)
J MoXaOc aOaAioNc
K TpoXiaKoc EINAOyNc TaXutnTaC
L PpOaapoooTko nCn aeKtpknc oKaountas
M ΣΚανδάλη εκκίνησος/σταός
N 1aikontns aphialeia
P Iλακα προσαμογης
Q O8nyoc npapaaannKoTns
R Iλακα βαης
S 2xioe aepioou
T Pa8oioiao
V IpooTaTeuKo KaUmuA
W AnoosnpacKaumuans
Y Pa8oi oynonnpaalnnc konns
Z Ietaoδa puθμiαns oδγou npapaaλnακ κοπης
AA Ieipoc oynou npapaaanns konns
AB NaEmuabiOdyou npaalnnaKoHc
AC ik ba0ouc
AD Aqntaki LED
AΣΦΑΛΕΙΑ
TENIKEZ YINOAEIEEIA AΦAΛEIA ΣI A HΛEKTPIKA EPRAAEIA
NPOEIOINIH AiaβaOTE oAεTIC npoeioiαic aαphaεiac kaθωc kai Tc odnyieC, EIKoVc kai npoiaypaocnou napexovtau e auTo nAektpkoεpyaεio. Aéλia thponnc oλwv Twv odnyiw nou npatiatewtari papaKTw mtopei va npokaεoi nAekpoinηia, npkayia n/Kai oβapo tpaumaio.
ΦuáéTe oæc TIC unoδeixEic aαφaλeiaC kai TIC odnyie c yia to μελλov.
O oipouc "nAektpko epyaieo" nou xpnoonoiietai otic
dB(A);HOCTe aHTnfoHN
- PpaxbT OT HЯКО MaTePHaJI, KaTO HanpHmep CbIbprJhaa OLOBO 608, HЯKON BnIOBE DbPBeCnHa, MHepaJI N MeTaJI MoKe Da 6bDe BpeDeH (KOHTaHT IIN BdNWBaHe Ha TaKbB npax MoRAT Da npuHnRT aIePrUHN peAkUHN U/II IN pecnnpaTopHn 3a6OJIbAHHa Ha ONEpApota NN CTOruNTe Ha6JIIn3O IIna); H3NoJ3BaIte npOTHBonpaxoBA MacKa n pa6OTeTe c acnnpaAsO npaxTa yCTpoiCTBO, KOrato TAKOBa MOKe Da 6bDe CBbP3aHo
-Опразделени ВИДINBE npax ca KlaacnФицранн KaTO KapuzHOREHN(KATO npax OT db6и 6yK)OCO6eHO KOraTO ca KOMbHnpaHn Cdo6aBKn 3a noOp6pBaHe Ha cStOHRHNeTO HaDbPBeCnHaTata; N3NoJ3BaIte npOTNBONpaxOBa MaCA n pa6oTe c acnHpauo npaxTa yCTpoiCTBO, KORATo TaHOBA MoHe da 6bDe CBbp3aHO
CneBaTe DeHnHpaHnTe No BDC n3ncBHaHn OTHOCHOaPaueHoCTTa 3a MaTePnaHnTe, KOHT HeLaeTe da o6pa6oTBaTe - PnB KIOUbaHe B KOHTaKt Ce yBepeTe, Ye eJIeKTPoHHCTpyMeHTa e N3KIOUeHa
INPNYNOTPEBA
BnHaOn OTBeXdAaTe 3axpaHbAunr Ka6eI daley OT DBnKeUInTe ce 3BeHa Ha eJeKtpoHcTpymeHTa; npexBbPte Te Ka6eLa O3aD, daNeu OT eJeKtpoHcTpymeHTa
Hikora He n3no3BaIte HnCTpyMeHTa, KOrato OCHOBHaTnA R (2) = npedna3eH npoTeKTOp) e NOBpeDeHa; 3amHaTa nCleDba Da ce N3BbPUn OT KBaINHnpuHaNo IInCe
HnKora He n3noJ3BaIte HNCTpyMeHTa,aKO Ka6eJIbTe NOBpeDeH;TOI TPr6Ba Da 6bJe 3aMeHeH CbCcneuaJIHO NoIgrotBeH Ka6eI,HaJIuYe Hpe3cepBn3HaT aOraHn3aun.
- PanaTe pBcTe n npCTnTe Cn OT fpe3Obaun Hox, KOrato INHCTpyMeHTa e BKNIOueHa
- Ppi pa6oTa He npeBnIaBaIte MaKcImaJIHaTa DbIbOuHnHa HaΦpe3OBaH
BcnyaHa eJektpnuecka HmMexaHnHa He3npabHocT, H3JIouyTe He3a6abHO anapaTa nIpeKbcheTe KOHTaKTa c JektpnueckKaTa MpeKa
BcnyaHa 3aknHbHe Ha HOka, npedn3BNKBaO Bn6paunn, He3a6abHO N3KIOUeTe HNCTpyMeHTa
BcnyaHa npekcbaHe Ha 3axpaHbAHeTo nn cnuyaHNO n3dbpNaBe Ha uenceJa He3a6abHO, BeHara n3KIOUeTe IHCTpyMeHTa, 3a Da n36eHETe clyaHPO pectapTnpaHe HA IHCTpyMeHTa
-При спране на Иструмента, He пилагаite сILA CLEД PABOTA
CneI npKIOUbaHe Ha pa6Ota pa3XJa6eTe J ② nocTaBeTe HnCTpyMeHTa B rOpHO cTapTOBO noJIOKeHne Hn3KIOUte 3axpaHbAHeTo
OBACHEHNE HA CUMBOJNTE NO IHCTPYMEHTA
③ ΠpeπуnoTpe6a npoHTeTe pBkoBOcTBOTO c yka3aHn
4 BoHa n3oJaHn (He ce n3nCKBa Ka6eJ 3a 3a3EmBaHe)
He n3xBpIyTe HnCTpyMeHTa 3aeHcO C 6ntOBn OTnabu
YNOTPEBA
-ПoctabraHe/chemaHaФpe3ObaunHOK 6!n3KIOUe HNCTpyMeHTa N3BaTe UeNCeJaOT KOHTaTa!npOBepe DaIIN BaJIbT HaΦpe3ObaunHOH e
IdeaJIHO YIcT
!npOBepTe daHn pa3MepbT Ha BtUHa (6 MM, 6,35 MM,8MM)cbOTBeTcTBaHa pa3Mepa Ha BaJa Ha fpe3Obaun HOK
-ObbPhe HcTpyMeHaJIoY
-3acToOpTe BaIa Ype3 36yTbaHe HaΦHKcaTop AHa BaIa (aKo e Heo6xOIMO, 3aBbPTeTe NaTpOHHNK B) n 3aIpbHKe, DOKaTO
NOCTABRHE:
-pa3xla6eTe naTpoHHK B c Klnou C
-NOCTaBeTe HOK C MaIko IpoCtpaHCTBO X B NaTPOHHKa ⑦
-3aterheTe 3dpaBO ntpoHHnka C kllou C
-ocbo6oTe ΦnKcaTopa Ha Bana A
CBAJHHE:
-pa3xa6eTe naTpoHHK B c HIOU C
-MAXHETe HOHa
-ocbo6oTeTe hKcaTopa Ha Bana A
13a pa3xla6baHe Ha HoHa 3a 0pe3a MoHe Da e Heo6xOdHMo Da ce YKHe JIeHO NIO BbPxA Ha HoHa 3a 0pe3a, H3NoJ3BaHn YH n Napue DbpBO 3a 3aHTa Ha HoHa
!He 3aTraIte NaTPOHHNka,aHO B Hero HMa NOCTaBeH HOH;TOBa MoKe Da IOBeDe Do NOBpeDa Ha BTyJHa
- CmraHa Ha naTpoHHnUte ⑦
I n3HIOUeTe HnCTpyMeHTa N n3BaTe Te eNceTa O T KOHTaKTA
!npoBepete daHn BaIbT Ha NaTpOHHHa e HdeaHNo
-pa3BnIte naTpoHHNK B c 2 nII 3 o6oPoTa
-укнete natpoHHNK B c KIIIOU C
-maxHete naTpoHHNK B n Btynkata (3actonopete BaJa)
-06bPheIHCTpyMeHTaHaDOny
-IOCTaBeTe HOBA BtYnka BbB BaIa
-MoHTnpaIe NaTpoHHnKa B (3acToOpTe BaJa)
!He 3aTraIte NaTPOHHKa, aHO B Hero HMa NOCTaBeH HOH; TOBa MOHe Da IOBeDe Do NOBpeHa HA BTyJHa
- Perynpahe Ha nb60uHa Ha ppe3oBahe 8
I n3HIOUeTe HnCTpyMeHTa Hn3BaTe Te eNceTa O T KOHTAKTa
-3aainTe HINOTOp epynnpaHcMb HerOBaTa ceHTpAlHa nO3nUg, KaTo 3aBbPTNTe KIOUca Edo Kpa, CneD KoETo 3aBbPTNTe o6paTHo 4 nbInn 3aBbPTAHN N 3aJaTe cKaIata F Ha 0 a
-3aBbPTePeBOLBepHaTa rIaBa G TaKa,Ye HaINoHata N O3nna Da upaKHe HA MRCTO TOHO NOd b60komepa D (3a 3aHyIraBe) 8b
-pa3xna6eTe KIOHa H, TaHa Ye nbIb6OkomepbT D anaHe KbM rIaBaTa Ha orpaHnHTeHa BnCOunHa G 8b
-IOCTaBeTe INHcTpymEnTa Bbpxy IbpbEHHaMaTePnA
-OCB06oTeTe3aHIOUBaUNJNoCTJc
-πpntncheTe HnCtpymeHTa HaOJy,doKaTo
Φpe3OBaUHrT HOX DoNpe 06pa6oTBaHHMaTePnaI
⑧d
-OCB06oTeTe 3aTeRHeTe 3aKJIIOuBaunra loCT J8e
-πpemeceTe Bn3bopa 3aДьl60uHa AC Ha 0 mmf
-BINHHeTe IbIbOHomepa D Ha ToIbKOBA MInImeTp a, KOJIkoTo e JeHaHaTa IbIbOuHa Ha Ope3ObaHe n 3aTERHeTe HIOUa Hf
-OCBO6OeTe 3aKIOUoBaUNI IOCT J N OTHOBo HAcOyTe
HHTpymeNTaB O6paTHa Nocoka
-иллваite KIOUa 3a ΦHNo peYInpaHe E 3a 3aIaBaHe Ha MappyTHaTa DbIbOCHHa NO-IpeuN3Ho (0..±8 mm); МаркИрOBKIne Ha ChAlaTa F OTROBapr Ha 0,1 mm, 1 nbJIHO 3aBbPtaHe OTROBapr Ha 2,0 mm
-cpeBOJIbepHa rIaBa 3a orpaHuaBaHe Ha bIbOCHnHaTa G mappyTHaTa IbIbOChHa MoKe Da 6bJe yBeJIuHauBaHa CTbNkA NO CTbNkA peCneKtNBHO (npenOpBcBa ce 3a dbl60Kn cpe0Be)
!perynpaTe OTHOBO bIb6oHnHaHaΦpe3OBaHe, cIeK KaTO CTe CMeHNJNΦpe3OBaUNTe HOKObE
- YnpaBJIeHHe Ha CKOpocTta ⑨
3a onTnMaJIHn pe3yIaTn npn fpe3ObaHe Ha pa3JIuHn MaTePnAJIH
-и36epeTe cHOpocT ha fpe3oBaHe ue3 perylaTop K (cbIIOdoKaTO INHCTpyMeHTa E B DeIcTBne)
-ИЗПОЛЗВАЛТЕТаБлИЦA13aСпраВka,3aДaonpeДELIte NOxOДЯtsaTcKopoCtHaФpe3OBaHe
-преши за започеюраза, Намерешonsималнату,
сторост урети пpoбвах вьрху неотpeбен
матерш。
!cneIbIgnpnoHa pa6oTa Ha Hncha
chopocT daIte Bb3MOHHOCT Ha IHCTpyMeHTa
da Ce Oxlanu, KaTO B npOdbJIKeHne Ha
pnp6ln3nteH0 3 MNHyr nychete Ha BncoHa
chopocT 6e3 TOBap
CBeToIOHa CBeTInHa AD 11
-CBetoHnOHaTa lamna AD aBTOMaTHuHO CBETBa npiaKTbIpaHe Ha KIOUaM
- 13cmykbaHe Ha npaxa
-MOHTIpaIte aIaIaTopa 3a npaxocmyKaUkata L, KaKTo e NOKa3aHO 12a
-CBbpxKeTe Mapkya Ha npaxocMykaKaTa KaM aanTepa 3a npaxocMykaKaL
Pa6oTa CnHCTpyMeHTa 13
!dpbHTe HhCTpyMeHa 3dpaBO C DBeTe pbcue!no BpeMe Ha pa60ta, BnHArn dpbHTe ypeDa 3aouBteHeNa(HTe) BCNBO 3OHa(1) 3a XBaUaHe
-NotabeTe HNCTpyMeHTa Bbpxy DbpbEHHaMaTePnA
-BKIOUHe TE HNCTpyMeHTa, KaTO IbPBO HaTnCHeTe KOHcTeO N (= 3aIHTeH npeBkIOuBaTeI, KOITo He MOKe da ce 6IOKnpa) a CNeD TOBA dpbHHe TcNyCbKa M
!npéHn HOHbT da dOpne pa6oTHna MaTepHaJI, HnCTpyMeHTa TPr6Ba Da e DoCTnHaJa MaKCHMaJIHNTe cn O6OpOTn
-ocbo6oedeTe 3aKnUoyBaunia JIOCT Jn 6abHO cnycheTe N 6abHO cnycheTe HNCTpyMeHTa HaOny DoKATO Dbl6okomepa D doCTnHre Do orpaHnHteHa Dbl6OuHa G
-3aterheTe 6loKupaunna loct J
-ИЗВьршеTe Фpe3OBaHETO paBHomepHa ChKOpocT ha NOДаВанe
-ПОВЕМЕHa pa6Ota C ИСТPyMeHTa OCHOBHnTБLOK Tp6BaДа ЛEXN ПьTHO Вьрxу pa6OTHnMaTePnA
-kaTO npaBnIO nHCTpyMeHTa ce npnIbPnBa, a He cE 36yTBA
-Слд пинлочан ha pa60Ta, pa3xla6eTe loCT JиnoctaBeTe INHcTpymeHTa B rOpHo cTapTOBO noloxhene
-otnycheTe cnycbka M
-ПраВип рпnpдвнкBaHe Ha ИНСТPyMeHTa 14
-ИмайтЕ прEDВи, Ye HOжБТ Се ВьрТи NO ПОСОКа Na
ЧасOBнIKOBaTа CTpeЛКa
-НацраВлЯВаITE ИНСТPyMeHTa Taka, Ye HOжБТ Да Сe
ВьрТи B pa6OTHЯ MaTePиА, a He ИЗВьH Hero
- MoNTnpaHe Ha peryInpaUaTa IIOuA P (3a konnpaHe c 15
- MoHTnpaHe Ha HAnpaBnBaUaTa nlaHka Q 16 -BkapaTte npbTnte Y Ha HAnpaBnBaUaTa nlaHka B OTBOpHTe Ha OCHOBnra 6Iok R -npnJIb3Hete HAnpaBnBaUaTa nlaHka Do JKeJaHaTa WInpoUHa n a 3aTeHete c 2 KIIouca Z
-Ⅲπολ3BaHe Ha HαnpaBλBaAμTa ΠλaHκa KaTo KpβbI BODaY ! npbPO 6ObpHete HαnpaBλBaAμTa ΠλaHκa -3aterHeTe ΣηΦTa AA c rαHκa AB, KaHTo e nKa3aHo -noCTaBeTe npbTnte Y B OCHOBnγ 6lOK R -npokapaiTe npbT AA ppe3 MapKnpaHγ ζeHTbp Ha Kpbro06pa3HaTa apka -3aterHeTe HαnpaBλBaAμTa ΠλaHκa c 2 KlnOγ Z -HαnpaBλBaIte INcTpymEHTa C NOcTOHεH haTtck N0 6pa6oTBaHγ DeTaII
-Излбван ha HanpaBЯBaJaTa nlaHka c orpaHnHTeJ 3a n3BnBKn W 18 -MOHTnpaIte orpaHnHTeJЯ 3a n3BnBKn W (c MOHTnpaHa HapBaJIBaJaPoJka), KaTo e noka3aHO -PpUdBnKBAIte INHCTpyMeHTa NO p6a Ha o6pa6OTbAHn JdeTaN, KaTo npIlaIaTe Jek HaTnCK OTCTpaHn
YKA3AHN3A PABOTA
3aфpezeOBaHe Ha npoФиIy,ycnpeDnHa cTpaHnHnKpaHa pa6OTHMaTePnaI,13noJI3BaIteHaipabJIbBa7a BTVJka
3a n3pa6oTbAHe Ha ycnpoeHn npoHn B MaTePnHa, OTCTOaHn Ha pa3CToHnE O T p6a My ⑬-3akpenete npaBO napye DbpBO Bbpxy pa6oTHna MaTePnA1 C NOMOHTa Ha 2 CkO6n -PnDnBnKBaIe HNCTpyMeHTa TaKa, Ye OCHOBnRT 6lOK Da ce DnHN No Pb6a Ha DpbTO, KOETOB ClyuHa Irgae PoJrTa Ha HApBaJIraBaUa B TyJa
Iprn H3noJI3BaHe Ha HOKOBc HAnpaBIAuHIN caMhen IaRepe HAnpaBIAaunr HIn caMhen IaRep Tp6Ba Da ce DnKnNo p6bHa pa6oTHna MaTePnA, YnraTO NOBbpxHOCT Tp6Ba Da e CbBbPseHo rJaKa
3a no-rolemn bIb6OuHHn Ha fpe3oBaHe ce npenopbUyBa n3IbJIHeHHeTo Ha HraKoJIIOncJeIOBaTeJHiN hpe3oBAHnC No-6aBHa CKOpocT Ha OTHeMaHe Ha MaTePnA
3a noBee HeHΦopMaζη BnKTe www.skil.com
IODAPbJXHA/CEPBn3
To3n HNCTpyMeHT He e npedHa3HaueH 3a npocecnoHaHa ynoTpe6a
IopbpaHnBaHn eJIeKtpoHCTpyMeHTa n 3axpaHbauuHa Ka6eJ uCTn (OCO6eHO BeHTnlaUOHHTe OTBOpN S ②)
- OT BpeMe Ha BpeMe Cma3BaIe T nIb3raIHTe T ②
AkoBbnpekn npeun3HOTnpoN3BOcTBO N BHMaTeJHO 3nNTBaHe Bb3HNKHe NOBpeJa, INCTpyMeHTa Da ce 3aHece 3a peMOHT B OTOpN3IpaH cepBu3 3a eJeKtpoHcTppyMeHTHa SKIL
-3aHeceTe HnCTpyMeHTa B Hepa3rI06eH Bu3aeHo
cdoka3aTeJICTBO 3a NOHyNkTa My B TbpROBcHn
ObeK,OTkbDeTo CTe FO 3aHyNnIIN,INB Hn-6n3Kn
cepBn3Ha SKIL (adpecnte,KaKTo n cxemata 3a
cepBn3HO o6cnyKBaHe Ha eJeKtpOnHCTpyMeHtA,
MOKeTe Da hamePte Ha adpec www.skil.com)
- ImaIte npedBnD, ye nobpeDa nopaDi npetobapBaHe nn HnnpaBnHO MaHnyLnpaHe C nHCTpyMeHTa Ue 6bDat N3KluOeHN OT rapaunra (3a ycNoBnTa Ha rapaunraOT SKIL BnK Ha nHTepHet aDpec: www.skil.com nn nonntaTe Baunr DnIbP)
ОПАЗВАЕ HA OKOLHATA CРEDA
-He n3xBpIyTe eIeKtpoypeHITe, npncnocO6JIeHNrTa n OAnKOBHTe 3aEHO C 6bTobn OTnabu (cAmo 3a cTpaHn ot EC) -cb06pa3Ho DnpeKTHBaTa Ha EC 2012/19/EG oTHOCHO H3HOCEH N ELEKTPnueCKN n ELEKTPoHNn ypeDNOTpa3RAHeTO N B NaOnOHAnHO T3AOHOdAteLCTBO H3HOceHtE eIeKTPoYpeDN CneBb Da ce cb6npaT OTDeHNO I Da CE pPeDaBt 3a peuKnIpaHne CnopeD H3NCKBaHnraTa 3a ONa3BaHe Ha OKJHaTa CpeDa -3a TOBA yKa3Ba CNMBoJbT ⑤ TORaba KOraTo Tp8Ba da 6bDat YHHIOKeHN
WYM/BNBPACIN
- I3mepeHO B cBoTBcTcBHe c EN 60745, HNBOTo Ha 3ByKOBOTo HAJIraHe Ha TO3n INHCTpyMeHT e 91,0 dB(A), a HNBOTo Ha 3ByKOBaTa MoIHCOT 102,0 dB(A) (HeonpeJeHocT K = 3 dB), n Bn6paJyTa 3,0 m/s² (TpnaKcnHa BeKTOpHa cyMa; HeonpeJeHocT K = 1,5 m/s²)
HnBoto Ha npdaeHnte Bn6paun e n3mepeHo B cbOTBeTCTBne cbc TaNdapTN3npaHnre TcT, ONpeJeH B EN 60745; To moKe da ce n3noJ3Ba 3a cpaBHeHne Ha eIN HnCTpymeHT C dpyr N KaTO ppeBapNTeHa OceHka Ha NOJaRaHETo HA Bn6paun npn IN3NoJ3BaHeTo Ha IHCTpymeHTa 3a nocOeHnte npnloKHeHn
-ИЗПОЛЗВАБЕТОHaИНСТPyМЕNTa3a pa3ДИЧИOTe3NпрложенЯИИСДугИ,ИИЛLOSOПДьрЖАнahCCECoApnMOKe 3HaUHTeIHOДа NOBиHNBOTOHaKOETOCTeNOДLOЖEH
-ηρηούπε Θ ΒPeme, KOraTo HnHcTpymeHTa e N3KlHoueH NIN CbOTBETHO BKLHoueH, HO C Hero He Ce pa60TH B MOMeHTa MORat 3HaUHTeJIHO Da HamaJIAT HNBOTO Ha KOETO CTI NOLOKeHN
!npedna3BaIte ce ot efeHTnte OT Bn6paunnte, KaTO NOdBpHAte HNCTpyMeNTa n Ancecoapnte My, na3nte pbcTe cT TOnnnn OprraHn3npuTe BaWnte MoJeHN Ha pa6ota
SK
Hornáfreza 1860
UVOD
APKALPOŠANA / APKOPE
- Sis darbariks nav paredzets profesionalai lietošanai
- Uzturiet tiru instrumentu un elektrokabeli (ipasi ventililacijas atveres S ②)
-
Laiku pa laikam ieellojiet instrumenta biddtienus T ②
Ja, neraugoties uz augsto izgatavošanas kvaliti un rupigo pecražošanas parbaudi, instruments tomér sabojajas, tas jánogādā remontam firmas SKIL pilvarota elektroinstrumentu remonta darbnica -
nogadajiet instrumentu neizjaukta veida kopa ar iegades dokumentiem tuvakaja tirdzniecibas viet a vii firmas SKIL pilnvarotapeciegades apkalposanas un remonta iestade (adreses un instrumenta apkalposanas shema ir sniegta interneta vietne www.skil.com)
-
leverojiet, ka garantija neietilpst parslodzes vai nepareizas instrumenta eksplaatacijas izraisi tie bojajumi (SKIL garantijas noteikumus skatiet www.skil.com vai versietenie pie izplatitaja)
APKÄRTEJAS VIDES AIZSARDZIBA
- Neizmetiet elektroiekartas, piederumus un iesainojuma materialus sadzives atkritumos (tikai ES valstim)
TECHNINIAI DUOMENYS ①
PRIETAISO ELEMENTAI②
A Blokatoriaus svirtele
B Ivores verzié
C Raktas
D Gylio ribotugas
E Tikslaus nustatymorankenèle
F Tikslaus nustatymo kalè
G Pakopine atrama
H Reguliavimo rankenèle (gylio ribotuvas)
Uzrako svirtelé
K Greicio pasirinkimo ratukas
L Dulkiu nusiurbimo atvamzdj
M Jungimo / ijsungimo jungiklis
N Apsauginis jungiklis
P Adapterio ploksté
Q Lygiagreti atrama
R Pagrindo ploksté
S Ventiliacines angos
T Kreipianciosios
V Apsauginis dangtis
W Kreiviu frezavimo atrama
Y Soninés atramos strypai
Z Rankenèle lygiarecios atramos nustatymui
AA Sonines atramos kaistis
AB Lygiagreti kreipiamoji verzlé
AC Gylio stikliukas
AD Sviesos diodas
SAUGA
BENDRIJE ELEKTRINIJ I RANKIJA SAGOS ISPEJIMAI
- MeHyBaHé Ha o6paHOT ⑦
I ncknyeTe ro aIaTOT n H3BleyeTe ro od npnKnyoKOT
!npOBepTe daHn BpaTnIoto 3a cTerata e COBpSeHO YnCTO
-pa3na6abete ja hABpTKaTa 3a cTerata co B 2 nIi 3BpTeHa
-NothykHeTe ja HabpTkata Ha cTerata B co KnyC
-и3BaIeTe rH HabpTKaTa 3a cTerata B n cterata (3aHlyyeHO bpaTnlo)
-CBPTeTe ro aIaTOT Haonaky
-CTABETE HOBA CTERA BO BpATNIOTO 3a CTERATA
-NotabeTe HABpTKa 3a cTeraTa B (3aknyeHO bpaTnIO)
! HNOraw He cTerajte ja Habptkata Ha cTerata aHO Hema 6yprnja; cTerata MOHe da ce OWTeH
- PpnaIaOyBaHbe Ha dIa6OuHnHaTa 3a pa60Ta 8
I ncknyeTe ro aIaTOT n 3BleyeTe ro od npnKlyyOKOT
-NotabeTe ro peryIaTOpOT 3a FOHO npnlaRoDyBaHBe Ha Herobata ceHTpAlHa no3uNJa npEky BpTeHe Ha peryIaTOpOT E do KpaJot, a notoa 3aBpTeTe Hana3aIe IeIN 4 BpTeHa nocTabeTe ja cKaIaTa F Ha 0 8a
-cBpTeJa KyrIaTa G TaKa ITo HajdoHnHaT aNo3uJia Ke KInKHe Ha CBOeTO MeCTo NOp MepaOT 3a Dla6OuHa D (3a nopamHyBaHe) 86
-pa3na6abeTe ro peryataTopoT H taKa uTo MepaOHT 3a
Dna6oHnHa DKe naHe Bp3 KyrIaTa 3a orpaHnYBaHbE Ha dna6oHnHaTa G⑧6
-IOCTaBeTe ro aIaNToT ha pa6OThaTa IOBpUHa
-pa3na6abete ja paKaTa 3a 3aKnlyyBaHbe J@B
-πpntncheTe ro aIaTOT haoJy 3a da moKe 6yprjnaTa Da dojde BO KOHTaKT co napyeTo 3a o6paobTkα
-ocno6oTe n 3aTeHHeTe ja paKaTa 3a 3aKnIyBaHBe J⑧
-nomectete ro mepaot 3a nlaobounha AC ha 0 mmf
-NotraTe ro mepaOT 3a Ina6oUHa D 3a OhoNHy MNIMETPN KaHO uTo e cakHaTa Ina6oUHa N noToa 3aTeHHe ro perylaTopoT H8f
-pa3na6abete ja pa4kata 3a 3aknyBaHe Jn Hocete ro aIaTOT OndHOHarope
-KopncTe ja paKaTa 3a fHNO npnilarOyBaHe E 3a nonpeun3HO nocTabyBaHe Ha Ila6OuHaTa (0..± 8 mm); O3HaKIne Ha cKaIata F odroBapaat co 0,1 mm,
1 ueNo BpTeHe oDroBaHa 2,0 mm
-cO KyrglaTa 3a orpaHnUyBaHe Ha dIa6OuHaTa G, dIa6OuHaTa 3a pa6To MaKe da ce 3roJeMn 3a yeKOpnte cooDBeTHo (npenopauHo 3a dIa6OKn 3aceu)
! npnlaorodeje ja oDHO BO Ia6ounHata 3a pa6oTa OTHako He rncmeHNte 6yprHnTe Ha phe3aTa
KoHTpOHa Ha 6p3nHaTa 9
3a onTImMaJIHn pe3yIITaTI Kaj pa3JIuHn MaTePnJaJI
Ggacpbiy0s gD ciw gac liis JHAs -bys
-
A J Ldpa 0a
A 1
A J 1a
A 1000000000000000000000000000000000000000
Haaosg.02s auiy JLo as jao 1D qin gac -1
f( 2) = 2^2 + 12 = 3
yLg0jglg 1
gaaai jlaaia aai
iiin jiaoloo.1 Ljblio F sai aao yg slc oolae iis olaie E
a1s0g0g0g0g0g0g0g0g0g0g0g0g0g0g0g0g0g0g0g0g0g0g0g0g0g0g0g0g0g0g0g0g0g0g0g0g0g
j 1
( 1 - ) J ≤ J ≤ J
1Jg2jSjLj 00000000000000000000000000000
[ = \frac{1}{2}\left\lbrack {{\left( 3 - x\right) }^{n} + {x}^{n}}\right\rbrack - 1]
1gga 1j jy jy y g0 y jg xg0 g0 j !g2
LEDAD 1
g 100
a1 < a < a5 且 a_i = 2
aJgLJg-Lo-Lg≤JgJgJgJgJg
1b JgLgJgJgJg
1 1
1
i j s i wsl (s) 1 j j 1 k p
-△
1j1j()
1 M 100g
gJLs gJyLs aBcAaCzj1 juLyj!
DgacL 111111111111111
Ggac aibio
15gLgS,
25 15 a e b 89 14 a 40 40 40 40 40 40 40 40 40
a 1
1a
1gao 2y 80 aai 1, j 1j 1j 1j 1j 1j
M 1 L,1,2,L
1
a 1000000000000000000000000000000000000000
jai jie aee bae aee aee aee 1
allso
10(gJLgSjP
Q 1
2R4y 100 y
a 120000000000000000000000000000
10 ggsolgolg 2jglz jyj
S OBC = S COD + S BOC - S BOC
aR aL aL aL 1
a03j0j0j0j0j0j0j0j0j0j0j0j0j0j0j0j0j0j0j0j0j0j0j0j0j0j0j0j0
S ACD = S COD + S BDO - S CDA
1 1
A a
B a
C b
D a
E a
F a
G a
H a
I a
J a
K a
L a
M a
N a
O a
P a
Q a
R a
S a
T a
U a
P. A1 = 90^
Jgall Jll JQ
aWw21 aagjR
aagaii ciis 8
aIiIol
[ = \lg \frac{b}{a} \cdot \ln c \cdot c]
wagai CooaJI Jzso W
y
gall gall JlJn Jn Jn Z
JgblglaljLAA
jglal jgaljL aJgolw BA
CA
DADELC
JLo
a
Lg 1g Lg JLSg Cg Lg Aoslll 1j j 1
J 1
111 111 111 111 111 111 111
JooLoo
J 100000000000000000000000000000000000000000000000
J 1
Jooiui Lioic 1c ooi i 1000g Jiaobie 1e jlc bol ( C gllj ic jgl 1c oohu u aas d aulgrs ldo
(f









| 1. | ∅ | |
| hard | 4-10 mm | 5-6 |
| 12-20 mm | 3-4 | |
| 22-40 mm | 1-2 | |
| soft | 4-10 mm | 5-6 |
| 12-20 mm | 3-6 | |
| 22-40 mm | 1-3 | |
| 4-10 mm | 3-6 | |
| 12-20 mm | 2-4 | |
| 22-40 mm | 1-3 | |
| PLASTICS | 4-15 mm | 2-3 |
| 16-40 mm | 1-2 |














JL
FA
EasyManual