1860 AA - Fresadora SKIL - Manual de uso y guía de instrucciones gratis
Encuentra gratis el manual del aparato 1860 AA SKIL en formato PDF.
Preguntas de los usuarios sobre 1860 AA SKIL
0 pregunta sobre este aparato. Responde a las que conoces o haz la tuya.
Hacer una nueva pregunta sobre este aparato
Descarga las instrucciones para tu Fresadora en formato PDF gratis! Encuentra tus instrucciones 1860 AA - SKIL y toma tu dispositivo electrónico nuevamente en la mano. En esta página están publicados todos los documentos necesarios para el uso de su dispositivo. 1860 AA de la marca SKIL.
MANUAL DE USUARIO 1860 AA SKIL
GB ORIGINAL INSTRUCTIONS 11
F NOTICE ORIGINALE 14
D ORIGINALBETRIEBSANLEITUNG 18
NL ORIGINELE GEBRUKSAANWIJZING 23
S BRUKSANVISNING I ORIGINAL 27
DK ORIGINAL BRUGSANVISNING 30
(N) ORIGINAL BRUKSANVISNING 34
FIN ALKUPERAISET OHJEET 38
E MANUALORIGINAL 41
P MANUALORIGINAL 46
IISTRUZIONI ORIGINALI 50
EREDETI HASNZALATI UTASITAS 54
CZ PUVODNIM NAVODEM KPOUZIVANI 58
TR ORIJNAL ISLETME TALIMATI 62
PL INSTRUKCJA ORYGINALNA 65
RU NOДИNHINK PYKOBODCTBA NO 70
3KCNJYATAUIN
UA OPINIHABHAIHCTPYKIZ 75
3 EKCNJYATAUJI
GR IPOTOTYIO OADHIGXPHSE79
RO INSTRUCTION DE FOLOSIRE 84
ORIGINALE
BG OPINHAIHO PbKOBOCTBO 88
3A EHCJIIOATAUIN
SK PÖVODNY NÁVOD NA POUŽITIE 92
HR ORIGINALNEUPUTEZA RAD 96
SRB) ORIGINALNO UPUTSTVO ZA RAD 100
SLO IZVIRNA NAVODILA 104
EST ALGUPARANE KASUTUSJUHEND 108
LV ORIGINALA LIETOSANAS PAMACIBA 111
LT ORIGINALI INSTRUKCIJA 116
MK I3BOPHO YNATCTBO 3A PAEBOTA 120
AL UDHEZIMET ORIGJINALE 124
AR JaaXJ 136
FA

EAC
www.skil.com

| GB | EU Declaration of conformity | We declare under our sole responsibility that the stated products comply with all applicable provisions of the directives and regulations listed below and are in conformity with the following standards. |
| Router Article number | Technical file at* | |
| F | Déclaration de conformité UE | Nous déclarons sous notre propre responsabilité que les produits décrits sont en conformité avec les directives, règlements normatifs et normes définirés ci-dessus. |
| Défoncuse Numéro d'article | Dossier technique auprès de:* | |
| D | EU-Konformitätserklärung | Wir erklären in alleiniger Verantwortung, dass die genannten Produkte allen einschlädigten Bestimmungen der nachfolgenden aufgeführten Richtlinien und Verordnungen entsprechen und mit folgenden Normen übereinstimmen. |
| Oberprüse Sachnummer | Technische Unterlagen bei* | |
| NL | EU-conformiteitsverklaring | Wij verklaren op eigengerichted dat de genoemde producten voldoen aan alle desbetreffende bepalingen van de hierna genoemde richtijnen en verorderingen en overeenstemmen met de volgende normen. |
| Bovenfrees Productnummer | Technisch dossier bij* | |
| S | EU-konformitetsförklaring | Vi fōkrlarar under eget ansvar att de námnda produktura uppfyller kraven i alla gällande bestämmler i de nedan angivna direktiven och förordningarnas och att de stämmer överens med följande normer. |
| Handöverfräs Produktnummer | Teknisk dokumentation* | |
| DK | EU-overensstammelseserklärung | Vi erklærer som eneansvallige, at det beskreveProductet i overensstammelse med alle gändende bestemmler i ffolgende direktiver og forordninger og opfylder ffolgende standarder. |
| Overfræser Typenummer | Tekniske bilag ved* | |
| N | EU-samsvarserkläring | Vi erklærer under eneansvar at de nevnte Produktene er i overensstammelse med alle relevante bestemmler i direktivene og forordningen nedenfor og med folgende standarder. |
| Fres Produktnummer | Teknisk dokumentasjon hos* | |
| FIN | EU-vaatimustemmukaisuusvakuutus | Vakutamme täten, etta mainitut tuotteet vastaavat kaikkia seuraavien direktivien ja asetuten asiaankuuluvia vaatimuksaia j ovat seuraavien standardien vaatimusten mukaisia. |
| Yläjyrsin Tuotenumero | Tekniset asiakirjet saatavana* | |
| E | Declaración de conformidad UE | Declaramos bajo这是我们 excluiva responsabilidad, que los produits nombrados cumplen con todas las dispositions correspondientes de las directivas y los relogimientos Mentionados a continuación y está en conformidad con las sigüentes normas. Documentos tíncicos de:* |
| Fresadora Número de articulo | Documentos tíncicos de:* | |
| P | Declaração de conformidade CE | Declaramos sob这是我们 excluiva responsibiliade que os produits Mentionados cumprim das asdisposções e os regulamentos indicados e estao em conformidade com as seguições normas. |
| Tupia Número do produits | Documentação Tecnica pertencente à:* | |
| I | Dichiarazione di conformità UE | Dichiariamo sulla nostra piena responsabilità che i prodotti indiciati sono conformi a tutte le dispositions pertinenti delle direttive e dei regolamenti elencati di seguito, nonché alle seguenti normative. |
| Fresatrice Codice prodotto | Documentazione technica presso* | |
| H | EU konformità niyilatkozat | Egyedūl felelo ségel kijelentjuk, hógy a megnevezett termékek megfeilenek az alábbiakban felsorolásra keruló irányelvek éns rendeletek valamennyi idevágó elórisainak é megefeilenek a követkežo szabványoknak. |
| Felsómaro Cíkkszám | Muszaki dokumentumok megörzési pontja:* | |
| CZ | EU prohläseni o shodè | Prohrašujeme na výhradni zodpovednost, ze uvedeny výrobek splùñue všechna príslušná ustanoveni niže uvedenyuch smérnic a naízeni a je v souladu s nasledujicimi normami. |
| Horní frédzka Objednaci Čslo | Technické podklady u:* | |
| TR | AB Uygunluk beyani | Tek sourmlu olarek, tanilmanan urūn un asağidaki yönnetmelik ve direktiflerin geceri būtūn hūkūlmerine ve asağidaki standartlara uygun oldugunu beyan. |
| Freze Ürün kodu | Teknik belgelerin bulunduŋ yer:* | |
| PL | Deklaracja zgodnosci UE | Oswiadczamy z pelna odpopiewdiazionalnoscią, ze niniejsze produkty odpopiwiedaj wszystkim wymaganium ponižej wyszczególioniych dyrektwy i rozporzędzni, oraz ze są zgodne znestepujacymi normami. |
| Frezarka Numer katalogowy | Dokumentacja techniczna:* | |
| RU | 3aavbllene O cootbctbn EEC | Mbl 3aavbllene pod náhuу edinnoLynchnyo OTBETCTBEHOCSTb,чTO Na3BaHbIbe IprodnykTb cootbctbYOT BcEM DeiTEBUTUQUIMI PprodINCAHNIM HInKeYKa3AHbIX DInPeHTNIM PaCnOPRAKHeN, a TAKJHE NINKeYKa3AHbIX HOpM. |
| Φpe3ep Tobarhni Hoomer | Texhmeckaydo kouymentaizni xpaanhTcR y:* | |
| UA | 3aavba proo VbIDNoDnCtB EC | Miz3aavbllene MNDa HbUdhyu ODoONocoboyu BiDNOIdaJIbNcTb, ilOHa3BaHbIbIbIbIbIbIbIbIbIbIbIbIbIbIbIbIbIbIbIbIbIbIbIbIbIbIbIbIbIbIbIbIbIbIbIbIbIbIbIbIbIbIbIbIbIbIbIbIbIbIbIIbIbIbIbIbIbIbIbIbIbIbIbIbIbIbIbIbIbIbIbIbIbIbIbIbIbIbIbIbIbIbIbIbIbIbIbIbIbIbIbIbIbIbIbIbIbIbIbIbIbITb, a TAKOH NINKeHcO3AChHbINH DInPeKTIVB i |
| Φpe3apka Tobarhni Hoomer | TexhNuHa dokuymentaizni 3ebipiraTcR y:* |
| GR | Δηλωοῦπισότητας EE | Δηλωνουμε με αποκλειούτις ευθύνη, στι τα αυαφέρομενα προίντα συντοιαχούν Εδλες τις σχετικες διαταξεις των πία κάτωναναφέρομενων oθηγών κα κανονιαμύν κα ταιτίονται με τα ακόλουθα πρότημα. | |
| Pouτερ | Τέχινα ἐγγράσα στή.* | ||
| RO | Declaraţie de conformance UE | Declarăm pe proprie raspundere că produselementionate corespund tuturor disposziților relevante ale directivel si reglementărilor enumerate in cele ce urmezaţă si sunt in conformitate cu urmâtoarele standarde. Documentaţie tehnică Ia:* | |
| Maşini de frezat | Număr de identificare | ||
| BG | EC dehnapacțna 3a cboTbctCTBnE | С пьліна оттоворностпіе Dehnapacțnaху мач, чі посоченихпірожукін оттварот на BCNUHи валдійи ИзінCKВИні на Діректугіпі разретбініпі по-dоліи сboTbctCTBA на Слendпіte CTANdAPIТ. | |
| Осярфраза | Тechиніся дokUMENTAZUI prin:* | ||
| SK | EU vyhlasenie o zhode | Vyhlasujeme na vyhradnu zodpovednost, ze uvedeny výrobok spína všetky prislušné ustanovenia nižsie uvedenych smernic a nariadeni a je v súlade s nasledujičimi normami. | |
| Horná fréza Vecné cislo | Technické podklady má spolocnost:* | ||
| HR | EU izjava o sukladnosti | Pod punom odgovornósci uzjavljemo da navedeni proizvodi odgovaraju svim relevantim odredbama direktiva i propisima navedenina u nestavku i da su sukladni sa sljedecim normama. | |
| Glodalica Kataloški broj | Technicke dokumentacișa se moze dobiti kod:* | ||
| SRB | EU-izjava o usaglašenosti | Na sorstvenu odgovornost izjavljemo, da navedeni proizvodi odgovaraju svim doticihnom odredbama naknadno navedenih smernica u ureduba i da su skladu sa sledecim standardima. | |
| Glodalica Broj predmeta | Technicke dokumentacișa kod:* | ||
| SLO | Izjava o skladnosti ES | Izjavljamo pod izklučno odgovornostj, da je omenjen izdelek v skladu z vsemi relevantnimi dolecili direktiv in uredb ter ustreza naslednjim standardom. | |
| Stružnica Številka artikla | Technicna dokumentacișa pri:* | ||
| EST | EL-vastavusdeclararatsion | Kinnitame ainuvastutajatena, et nimetud tooted vastavad järgnevalt loetletud direktivide ja măruste kokiidele asjaomastele nõutele ja on kooskolas jargmiste normidega. | |
| Ülafrees Tootenumber | Tehnilised dokumendid saadaval:* | ||
| LV | Deklaracija par atbilistibu EK standartiem | Mész ar pilnu atbildibu pazinojam, ka šeit aplukotie izstradājumi atbilist visiem tālák minētajás direktivas un rikojumos ietvertajām saistosajām nostadnēm, kã ari sekojsiem standartiem. | |
| Virsfraze Izstradājuma numurs | Techniskà dokumentăcîa no:* | ||
| LT | ES atitikties declaracija | Atsakingai paireiškame, kad išvardti gaminai attinka visus privalomusŽemiaiu nurotydu direktvyu ir reclamation reikalavimus ir siuos standartus. | |
| Vertikalojo frezavimo mašina Gaminio numeris | Techniche dokumentacișa saugoma:* | ||
| MK | EU-Nizaba 3a coobpa3nOCT | Coцелесна одговорностпзаваме,.Decka опишанITE позивodyи сьо cóгл�сост со сидаюпіпіспіпіпіпіпіпіпіпіпіпіпіпіпіпіпіпіпіпіпіпіпіпіпіпіпіпіпіпіпіпіпіпіпіпіпіпіпіпіпіпіпіпіпіпіпіпіпіпіпіпіп? Hacouybaч Бpoj на aptrinkl | EN 55014-1:2006 + A1:2009 + A2:2011 EN 55014-2:2015 EN 61000-3-2:2014 EN 61000-3-3:2013 EN 50581:2012 |
| AL | EU Deklarata e konformitetit | Ne deklarojmë me përgejësinë toneë të vetme se produktet e paraqutura janëné përputhje me të giitha disposititat e zbatushme të direktivave dhe regulloreve të listuara të poshë të janëné përputhje me standdeti të më poshë. | |
| Freze shkallëzuese Numri i nenit | Dosja teknike në:* | ||
| 1860 VA1*1860** | 2006/42/EC EN 60745-1:2009 + A11:2010 | ||
| 2014/30/EU EN 60745-2-17:2010 | |||
| 2011/65/EU EN 55014-1:2006 + A1:2009 + A2:2011 | |||
| EN 55014-2:2015 EN 61000-3-2:2014 EN 61000-3-3:2013 | |||
| EN 50581:2012 | |||
| SKIL * Skil BV Konijnenberg 62 4825 BD Breda The Netherlands | |||
| Olat Dijkgraaf Approval Manager | |||
| Skil BV, Konijnenberg 62, 4825 BD Breda, NL 06.09.2018 | |||












| 10 | ∅ | |
| hard | 4-10 mm | 5-6 |
| 12-20 mm | 3-4 | |
| 22-40 mm | 1-2 | |
| soft | 4-10 mm | 5-6 |
| 12-20 mm | 3-6 | |
| 22-40 mm | 1-3 | |
| 4-10 mm | 3-6 | |
| 12-20 mm | 2-4 | |
| 22-40 mm | 1-3 | |
| PLASTICS | 4-15 mm | 2-3 |
| 16-40 mm | 1-2 |










GB
- La herramiento está destinada para fresar ranuras, cantos, perfiles y agujeros rasgados en materiales de madera, sintéticos y de construction ligeros y para fresar con copiador
-Esta herramienta no está concebida para uso profesional
Leay conserve estemanual de instrucciones ③
DATOS TECNICOS①
ELEMENTOS DE LA HERRAMIENTA ②
A Bloqueo del eje
B Tuerca de la pinza de sujec tion
C Lhave
D Tope de profundidad
E Mando de ajustefoil
F Escaladeajuste fino
G Torrecilla revolver con topes de profundidad
H Botón de ajuste (tope de profundidad)
J Palanca de bloqueo
K Rueda de seleccion de velocidad
L Adaptador para aspirador
M Gatillo de encendido/apagado
N Interruptor de seguidad
P Chapa adaptadora
Q Guia paralela
R Placa base
S Ranuras de ventilacion
T Barras deslizantes
V Cubierta de proteccion
W Tope de curvas
Y Varillas de guía paralela
Z Botón para ajuste de la guía paralela
AA Clavija de guia paralela
AB Tuerca de guía paralela
AC Visor de profundidad
AD Luz LED
SEGURIDAD
ADVERTECIAS DE PELIGRO GENERALES PARA HERRAMIENTAS ELECTRICAS
ADVERTENCIA Lea todas las advertencias de seguidad, instrucciones, ilustraciones y specifications relacionadas con esta herramipta electrica. El incumplimiento de una de las instrucciones que figuran a continuacion possible ser causa de descargas electricas, incendios o lesiones graves.
Guardar todas las advertencias depeligore e instrucciones para futuras consultas.
ElTERMINO "herramienta eletrica" Employment in las seguides advertencias depeligro se refiere a herramentas elctricas de conexion a la red (con cable de red) y a herramentas elctricas actionadas por accumulator (o sea, sin cable de red).
1) SEGURIDAD DEL PUESTO DE TRABAJO
a) Mantenga limpia y bien iluminada su area de trabajo. El desorden o una iluminacion deficiente en las areas de trabajo能把 provocar accidentes.
b) No utilise la herramienta electrica en un entorno con peligro de explosión, en el que se encuentren combustibles liquidos, gases o material en polvo. Las herramrientas electricas producen chispas que puedaURTAR a inflamar los materiales en polvo o vapores.
c) Mantenga alejados a los niños y otheras personas de su area de trabajo alemployar la herramienta electrica. Una estracion le pueda hacer perderal control sobre la herramienta.
2) SEGURIDAD ELECTRICA
a) El enchufe de la herramienta electrica debe corresponder a la toma de corriente aplicada.No es admissible modifier el enchufe en forma alguna. Noemployar adaptadores en herramientos electricas dotadas con una toma de tierra.Los enchufesin modifier adecuados a las respectivas tomas de corriente reducen el riesgo de una descarga electrica.
3) SEGURIDAD DE PERSONAS
b) Evite que su cuerpo toque partes conectadas a tierra como tuberías, radiadores, cocinas y refrigeradores. El riesgo a quedar expuesto a una descarga electrica es mayor si su cuerpo tiene contacto con tomas de tierra.
c) No exponga las herramrientas electricas a la lluvia o a conditiones de humedad. Existe el peligro de recibir una descarga electrica si penetran liquidos en la herramipta electrica.
d) No utilise el cable de red para transporte o colgar la herramienta electrica, ni tire de el para sacar el enchufe de la toma de corriente. Mantenga el cable de red alejado del calor, aceite, esquinas cortantes o piezas moviles. Los cables de red dañados o enredados peuvent provocar una descarga electrica.
e) Al trabajo con la herramipta electrica en la intemperie utilise solamente cables de prolongacion homologados para su uso en exteriores. La realizacion de un cable de prolongacion adecuado para su uso en exteriores reduce el riesgo de una descarga electrica.
f) Si el funciona de una herramenta electrica en un lugar humedo fuese inevitable, utilise un cortacircuito de fuga a tierra. El uso de un cortacircuito de fuga a tierra reduce el riesgo de descarga electrica.
a) Este atento y emplee la herramienta electrica con prudencia. No utilise la herramienta electrica si estuviese cansado, ni bajo los efectos de alcohol, drogas o medicamentos. El no estar atento durante el uso de una herramienta electrica pueda provocarles serias lesiones.
b) Utilice un equipo de proteccion personal y en todo casounas gafas de proteccion. El riesgo a lesionarse se reduce considerablemente si,dependiendo del tipo y la aplicacion de la herramienta electrica empleada, se utilizes un equipo de proteccion adecuado como una mascarilla antipolvo, zapatos de segundad con suela antideslizante, casco, o protectores auditivos.
c) Evite una puesta en marcha fortuita. Asegurarse de que la herramienta electrica está desconectada antes de conectarla a la toma de corriente y/o al montar el accumulator, al recogerla, y al transportejarla. Si transporte la herramienta electrica sujetandola por el interruptor de connexion/desconexión, o si introduce el enchufe en la toma de corriente con la herramienta electrica conectada, elo peut dar lugar a un accidente.
d) Retire las herramrientas de ajuste o llaves fjias antes de connectar la herramipta electrica. Una herramenta o llave colocada en una pieza rotativa puede producir lesiones graves al acontecer la herramipta electrica.
e) Sea precavido. Trabajo sobre una base firme y mantenga el equilibrio en todo momento. Ille le permitirá controlar mejor la herramienta electrica en caso de presentarse una situacion inesperada.
f) Lleve esta una vestimenta de trabajo adecuada. No utilise vestimenta amplia ni joyas. Mantenga su peso y vestimenta alejados de las piezasVRTles. La vestimenta suela, las joyas y el peso largo se pueda enganchar con las piezas en movimiento.
g) Siempre que sea possible utiliser equipos de
aspiración o captación de polvo, asegúrese que"Theseestén montados y que seanutilizadoscorrectamente.Elempleo de这些equipos reduce losriesgos derivados delpolvo.
h) No permitted that the familiaridad ganada por el uso deleras, y no se quiebece o no se quiebece.
i) No permitted that the familiaridad ganada por el uso deleras, no se quiebece o no se quiebece.
ii) No permitted that the familiaridad ganada por el uso deleras, no se quiebece o no se quiebece.
4) CUIDADO Y UTILIZACION DE HERRAMIENTAS ELECTRICAS
a) No sobrecargue la herramienta electrica. Use la herramienta electrica prevista para el trabajo a realizar. Con la herramienta electrica adecuada podra trabajo mejor y con mayor seguridad bajo del margen de potencia indicado.
b) No utilise herramrientas électricas con un interruptor defectuoso. Las herramrientas électricas que no se pueda conectar o desconectar son peligrosas y deben repararse.
c) Saque el enchufe de la red y/o retire el accumulator desmontable de la herramienta electrica, antes de realizar un ajuste, Cambiar de accesorio o al guardar la herramienta electrica.Esta medidapreventiva reduce el riesgo de conectar accidentamente la herramienta electrica.
d) Guarde las herramrientas electricas fuera del alcance de los niños y de las personas que no estén familiarizadas con su uso. Las herramrientas electricas realizadas por personas inexpertas son peligrosas.
e) Cuide la herramienta electrica y los accesorios con esmero. Controle si funciona correctamente, sin atascarse, las partes moviles de la herramienta electrica, y si existen partes rotas o deterioradas que pudieran afectar al funciona del la herramienta electrica. Si la herramienta electrica estuviese defectuosa haga repararla antes de volver a utiliser. Muchos de los accidentes se deben a herrimantas electricas con un mantenimiento deficiente.
f) Mantenga los utiles limpios y afilados. Los utiles mantenidos correctamente se DEAjan guiar y controlar mejor.
g) Utilice herramrientas electricas, accesorios, utiles, etc. de acuerdo con estas instrucciones, teniendo en cuenta las conditiones de trabajo y laarea a realizar. El uso de herramrientas electricas para problemas differentes de aquellos para los que han sido concebidas pueda resultar peligioso.
h) Mantenga las empuñadas y las superficies de las empuñadas secas, limpias y libres de aceite y-grasa. Las empuñadas y las superficies de las empuñadas resbaladizas no permiten un manejo y control seguro de la herramienta electrica en situaciones imprevistas.
5) SERVICIO
a) Unicamente haga reparar su herramienta electrica por un profesional,employando exclusivamente piezas de repuesto originales.Solamente asi se mantiene la seguridad de la herramienta electrica.
INSTRUCCIONES DE SEGURIDAD PARA FRESADORAS
- Sujete la herramenta por las superficies de agarre
aisladas, ya que es posible que la cucilla haga contacto con su propio cable de alimentacion (cortar un cable bajo tension también puede conectar las partes metálicas expuestos de la herramienta, con el consiguiente riesgo de sacudida electrica al operario)
- Utilice abrazaderas u otheroistema practico para asegurar y soportar la pieza de trabajo en una plataforma estable (si la sujeta con la mano o contra el cuerpo, queda inestable yuedeperderelcontrol sobre ella)
GENERAL
-Esta herramienta no debeutilizarse por personas menos de 16 años
Desenchufar siempre la herramienta antes de realizar cualquier ajuste oCambiaralgún accesorio
ACCESORIOS
- SKIL únicamente puede garantizar un funcionaatorio correcto de la herramienta alemployar accesos originales
- Utilice únicamente accesossoles yude revoluciones permitted sea como minimum igual a las revoluciones en vacio的最大as de la herramienta
- No实用性 brocas dañadas o deformadas
- Utilice unicamente brocas afiladas
Proteja los accesos de golpes, choques y grasa. - Utilice siempre brocas de HSS o de widia con esta herramienta
ANTES DEL USO
- Evite los días que pueda causar los tornillos, clavos y otros objetivos sobre la pieza de trabajo; retirelos antes de empezar a trabajo
- Compruebe siempre que la tension de alimentacion es la misma que la indica en la placac de caracteristicas de la herramienta
- No trabajo materiales que contengan amIENTo (el amIENTO es cancerigeno)
- No sujete la herramienta a un banco
- Utilice cables de extension seguros y Completely desenrollados con una capacité de 16 amperios
- El nivel de ruido, con la herramienta trabajando, podra sobrepasar 85 dB(A); usable protectores auditivos
- El polvo del material, como la pintura que contiene plomo, algunos espécies de madera, minerales y metal podrián ser dañinos (el contacto o inhalación del polvo podría producir reactivaciones alergicas y trastornos respiratorios al operador o a另一边 personas que se encontraran en la zona); utilise una máscara contra el polvo y trabajo con un dispositivo de extracción de polvo cuando lo conecte
- Ciertos temas de polvo están catalogados como cancerígenos (por exemple el polvo de roble y de haya) especialmente jusqu'ào con aditivos para el acondicionamento de la madera; utilise una máscara contra el polvo y trabajo con un dispositivo de extracción de polvo cuando lo conecte
- Siga la normativa nacional en cuando a extracción de polvo, en función de los materiales que vayan a ser realizados
- Asegürese de que la herramienta está apagada cuando la enchufe
DURANTE EL USO
- Mantenga siempre el cable lejos de las partes mviles de la herramienta; mantenga el cable detrás de usted, lejos de la herramienta
- No usar la herramienta cuando la base R ② (= guarda de proteccion) este danada; hagala cambiar por una
persona提供优质
- Nunca utilizes la herramienta si el cable está dañado; debe ser sustituido por un cable especialmente preparado disponible a性和 de la organized de asistencia.
- Aparte las manos y los dedos de la broca al conectar la herramienta
- Nunca exceeda de la profundidad maxima de corte de la broca de ranuradora cuando corte
- En el caso de que se produjera un mal funciona eléctrico o mecanico, apague inmediamente la herramenta y desconecte el enchufe
- En caso de que se bloqueara la BROCA, obteniendo como的结果ado que la herramienta funciona a trompicones, apague inmediamente la herramienta
- En caso de producirse un corte de corriente o cuando el enchufe se desconecta accidentamente, desactive inmediamente la herramienta para evitar que se ponga en marcha accidentamente
- No aplique mucha presion sobre la herramenta para evaporar que separe
DESPUÉS DEL USO
- Tras finalizar el trabajo, afloje la palanca J ②, guie la herramienta a la posicion de partida y desconectela
EXPLICACION DE LOS SIMBOLOS DE LA HERRAMIENTA
(3) Lea elmanualde instruccionesantesdeutilizarla
Doble aislamento (no requirec cable de tierra)
⑤ No deselecte la herramienta junta con los residuos domesticos
USO
Montaje/desmontaje de las brocas ⑥
! apague la herramenta y desconecte el enchufe
! compruebe que el eje de la broca estáperfectamente limpio
! compruebe que la medida de la pinza (6 mm, 6,35 mm, 8 mm) corresponda con la medida del eje de la broca
-ponga la herramienta del revés
-bloquee el eje empujando el cierre A (girar la tuerca
B de la pinza, si es Neededo) y mantengalo@mantras tanto
PARAMONTAR:
-suelte la tuerca B de la pinza con la llave C
-inserte la broca dejando poco espacio x en la pinza ⑦
-apriete bien la tuerca de la pinza con la llave C
-suelte el cierre A
PARADESMONTAR:
-suelte la tuerca B de la pinza con la llave C
-retire la broca
-suelte el cierre A
! para aflojar la broca, puede ser besoino dar unos golpes en su parte superior employando un martillo y una pieza de madera para proteger la broca
! nunca apriete la tuerca de la pinza si no tiene esta la broca, ya que se podra darar la pinza
- Cambio de pinzas de sujeción ⑦
! apague la herramienta y desconecte el enchufe! compruebe que el eje de la pinza estáperfectamente limpio
-afloje la tuerca de la pinza B 2 0 3 vueltas
-de unos golpecitos en la tuerca de la pinza B con la Ilave C
-retire la tuerca de la pinza B y la pinza (bloquee el eje)
-pongla herramienta del revés
-inserte una nuevo pinza en el eje de la pinza
-monte la tuerca de la pinza B (bloquee el eje)
! nunca apriete la tuerca de la pinza si no tiene puesta la broca, ya que se podra darar la pinza
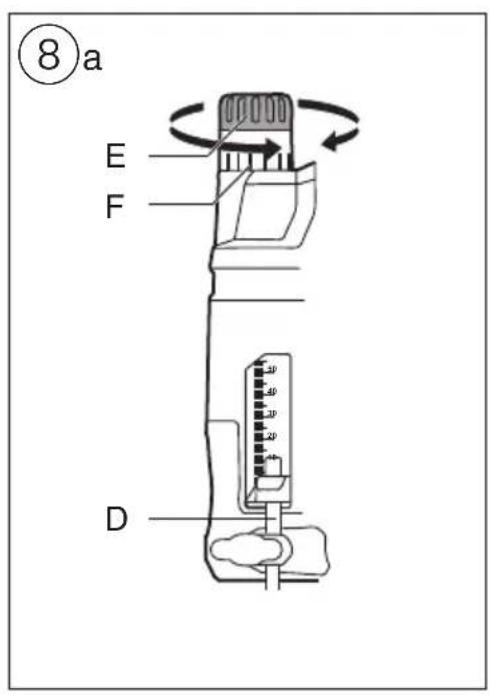
- Ajustar la profundidad de fresado ⑧
! apague la herramienta y desconecte el enchufe
-lleve el ajuste bajo su posicion central girando el mando E hasta el final, bajo gire 4 vueltas completas en sentido invenso y lleve la escala F a 0 ⑧ a
-gire la torrecilla revolver G de modo que su posicion mas baja encaje en su lugar solo de bajo del tope de profundidad D (para ajuste a cero) 8b
-afloje el mando H de modo que el tope de profundidad D caiga sobre la torrecilla revolver con topes de profundidad G 8b
-coloque la herramienta sobre la pieza de trabajo
-afloje la palanca de bloqueo J 8c
-apriete la herramienta hacer abajo hasta que la broca toque la pieza de trabajo ⑧ d
-suelte y apriete la palanca de bloqueo J 8e
-mueva el visor de profundidad AC a 0 mm ⑧
-eleve el tope de profundidad D los mm efectentes a la profundidad de fresado deseada y apriete el mando H 8f
-afloje la palanca de bloqueo J y guie la herramienta de nuevo hacer arriba
-utilice el mando de ajuste fino E paraJKLM a la profundidad de fresado con mas precision (0..± 8mm) las marcas de la escala F corresponden a 0,1mm 1 vuelta completa corresponde a 2,0mm
-con torrecilla revolver con topes de profundidad G, la profundidad de fresado se puedaacular de modo escalonado respectivamente (recomendado para cortes profundos)
! reajuste la profundidad de fresado tras haber燮ado las brocas
Control de velocidad ⑨
Para Obtener Resultadosolestimos de fresado en differentes materiales
-Selección la velocidad deVESADO mediatinga rueda K (tambienpuedehacerlo,minteraslaherramienta funciona)
-utilice la tabla 10 como referencia para determinar la velocidad de presado correcta
-antes de empezar un trabajo, encontrar la velocidad optima experimentando en material sobrante
! después de largos periodos de trabajo a baja velocidad, permita que la herramienta se enfrie haciendo的功能ar durante 3关键时刻approximamente a alta velocidad y sin carga
Luz LED AD ⑪
-La luz LED AD se enciende automatamente cuando se activa el gatillo M
- Aspiración de polvo
-monte el adaptor para el aspirador L de la forma ilustrada ⑫ a
- connecte la manguera del aspirador al adaptor del aspirador L12b
- Utilización de la herramunta 13
!mantenga siempre firme la herramienta con ambas manos
! durante el trabajo, sujeta siempre la herramienta por la(s) zona(s) de empañadura de color gris
-coloque la herramienta sobre la pieza de trabajo -poner en marcha su herramienta primero apretando el boton N (= interruptor de seguridad que no pueda bloquearse) y bajo tirando del gatillo M
! antes de trabajo sobre una pieza, la herramientadefería alcancar su velocidad Tmaxima
-afloje la palanca de bloqueo J y lentamente empujé hacía abajo la herramienta hasta que el tope de profundidad D alcance la torrecilla revolver G
-apriete la balanca de bloqueo J
-frese con un avance uniforme
-utilice la herramienta con la base plana sobre la pieza de trabajo
-como regla general, se debe trabajo tirando la herramenta, no empujando
-tras finalizar el trabajo, afloje la palanca J y guie la herramienta a la posicion de partida
-suelte el gatillo M
Guia correcta 14
-tenga en cuenta que la broca gira en el sentido de las agujas de reloj
-gue la herramienta de forma que no se salga de la pieza al trabajo
- Montaje de la plancha de adaptación P (para hacer copias con un patrón) ⑤
Montaje de la guía lateral Q 16
-introduzca las varillas Y de la guía lateral a工程技术 de los agujeros en la base R
-deslice la guia lateral al ancho deseado y sujétela con 2 perillas Z
- Uso de la guía lateral como guía circular 17
! en primer lugar, invierta la guía lateral
-sujete la espiga AA con la tuerca AB como se muestra en la ilustracion
-inserte las varillas Y en la placac base R
-perfore con la espiga AA el centro marcado del arco circular
-sujete la guía lateral con 2 perillas Z
-gue la herramienta mediante una alimentacion constante a trovés de la pieza de trabajo
- Uso de la guia lateral con el amortiguador curvo W 18
-monte el amortiguador curvo W (con el rodillo guia montado) de la forma ilustrada
-guie la herramienta a lo长大o del borde de la pieza de trabajo aplicando ligera presión lateral
CONSEJOS DE APLICACION
-
Para cortes paralelos en el borde de su pieza de trabajo, utilise la guía lateral
-
Para cortes paralelos en una pieza de trabajo lejos del borde de la mesma ⑬
-sujete con 2 abrazaderas una pieza recta de madera a la pieza de trabajo
-guie la herramienta con la base a lo长大o del borde de la pieza de madera sutetada de modo que esta sirva de guia lateral
- Cuando use brocas con un vástago guía o rodimiento de bolas, cuide que el vástago guía o rodimiento de bolas
se deslice a lo长大o del borde de la pieza a trabajo que doit ser perfectamente lisa 19
- Para Fresados profundos se recomienda trabajo en varias pasadas ajustando un espesor de viruta reducido
- Si desea más información, visite www.skil.com
MANTENIMIENTO / SERVICIO
-Esta herramienta no está Concebida para uso profesional
- Mantenga limpio el cable来电lectrico y la herramienta (sobre todo las ranuras de ventilacion S ②)
Lubrificar occasionalmente las barras moviles T ②
- Si a pesar de los esmerados procesos de fabricación y control, la herramientaledgeaseaveriarse,la reparaciondeferabencargarsea un serviceo的技术ico autorizzato paraherrimentaselectricasSKIL
-
envíe la herramánta sin desmontar jusqu'à un prueba de su compra a su distribuidor o a la estación de servicios más cercana de SKIL (los nombres asi como el despiece de piezas de la herramánta figuran en www.skil.com)
-
Tenga presente que los días deben a sobrecargar o al manejo inadequado de la herramienta seran excluidos de la garantía (consulte las conditiones de garantía de SKIL en www.skil.com o consulte a su distribuidor)
AMBIENTE
- No deseche las herramrientas electricas, los accesorios y embalajes+junto con los residuos domesticos (solo para paises de la Unión Europea)
-de conformidad con la Directiva Europea 2012/19/CE sobre residuos de aparatos electricos y electrónicos y su aplicación de acuerdo con la legislación nacional, las herramrientas electricas cuya vidaCTLHaya llegado a su fin sedeferan recoger por分开ado y trasladar a una planta de reciclaje que cumpla con las exigencias ecologicas
-simbolo ⑤ llamará su atencion en caso de necessities de tirarlas
RUIDOS / VIBRACIONES
Realizando medicaciones segun EN 60745, el nivel de presion acustica de esta herramienta es 91,0 dB(A) y el nivel de potencia acustica es de 102,0 dB(A) (incertidumbre K = 3 dB), y la vibracion 3,0m / s^2 suma vectorial triaxial; incertidumbre K = 1,5m / s^2
- El nivel de emisión de vibraciones ha sido medido según una prueba estándar proportionada en EN 60745; pueda utiliser para comparar una herramipta con otra y como valoración preliminar de la exposión a las vibraciones al utilizing la herramipta con las aplicaciones Mentionadas
-al utilizes para distinguas aplicaciones o con accesos differentes o con un mantenimiento deficiente, podriaacular de forma notable el nivel de exposicion-en las occasions en que se apaga la herramipta o cuando está的功能ando pero no está realizando ningún trabajo, se podra reducir el nivel de exposión de forma importante
! protejase contra los efectos de la vibracion realizando elostenimiento de la herramienta y sus accesorios,manteniendo sus manos calientes y organizando sus patrones de trabajo


P
Tupia 1860
INTRODUÇÃO
2) SEGURANCA ELETRICA
4) SVÉDOMITE ZACHÁZENÍ A POUŽIVÁNÍ ELEKTRONÁRADI
3) SIGURIA PERSONALE
gai gai jai jai jai jai jai jai jai jai jai jai jai jai jai jai jai jai jai jai jai jai jai jai jai jai jai jai jai jai jai jai jai jai jai jai jai jai jai jai jai jai jai jai jai jai jai jai jai jai jai jai
1
aegg aaii iiaaii iaii iaii iaii iaii iaii iaii iaii iaii iaii iaii iaii iaii iaii iaii iaii iaii iaii iaii iaii iaii iaii iaii iaii iaii iaii iaii iaii iaii iaii iaii iaii iaii iaii i
JL L 1 JL L 1 JL 1 JL 1 JL 1 JL 1 JL 1 JL 1 JL 1 JL
pssssssssssssssssssssssssssssssssssssssssssssssssssssssssssssssssssssssssssssssssssssssssssssssssssssssssssssssssssssssssssssssssssssssssssss
glggbjLsJoo jIg aaii
JlalJol Jol 10o gJol Joocogjoa plaoiWie
Lol slwlo jGj jy jol Jolell aeB ad Jgblc lJol G
19
allj yoe oSio glb cIoc bplal yos yj Bglac Jol
aiaia
www.skil.com Liego j Logle nn
aai1ai
1 S aaggl lalag Lgag gllg alal 1e Lla 2a 3
2 8 0 T aalall aal 4
3 Jn 2g nnnnlll 1y 1 y 1 1 1
4 1 1 1 1 1 1 1 1
5 SKIL aS
6 g 1 g 1 g 1 g 1 g 1 g 1 g 1 g 1 g 1 g 1 g 1 g 1 g
7 le jolaoa oia jolaoa oia jolaoa oia jolaoa oia
8 (www.skil.com
9 www.skil.com jai SKIL jai jai jai jai jai jai jai jai jai jai jai jai jai jai jai jai jai jai jai jai jai jai jai jai jai jai jai jai jai jai jai jai jai jai jai jai jai jai jai jai jai jai jai jai jai jai jai jai jai jai jali
ab( a + b) = a^2 + b^2
aaii i 100000000000000000000000000000000000000000000000000000000000000000000000000000
j1jio81/sLg0
- go o281 oio gio sgsu y 7.V20 EN go golgill jull iic . (Jusssy r = K aJlaoz21) (I) Jusso 1. f. aalbll gos gsiagog (1) Jusssy (2) /p 1,0 = K aJlaoz21 aggall cayssll acgao) 2/1o r. jjiaolg
5c:1.V20 EN go dals lglall jiai21 go golgill cayssll aggaiol goi wae p
plaswic n ic jiaolll gaae gaiol gaiol alaol alaol alaol
iagaiol calaill gaiol
clgaiol ao ciaao Igo gai aaliso caiabai ge ai21 plaswic wgai
iy6s aybsy gaii ggiwo doj jilai dy
dy ogki loaic gaioljiaow glai! lgdiy qaiy all aiojial ayiall
aygwiuy eil gsiimoo jiai! gaio ai gds2 Lgisi Jiaiill
ayis
LgilaLag o381 ai yjiaol81 cyjaiy o Cwaiy Alaay
iLi JauJI bLi peyigjngdls
FA
17.
zj0s
A
Jg Jg Jg Jg Jg Jg Jg Jg Jg Jg Jg Jg Jg Jg Jg Jg Jg Jg Jg Jg Jg Jg Jg Jg Jg Jg Jg Jg Jg Jg Jg Jg Jg Jg Jg Jg Jg Jg Jg Jg Jg Jg Jg Jg Jg Jg Jg Jg Jg Jg Jg
ManualFácil