FS DRW 14 - Warming drawers and cabinets FRANKE - Free user manual and instructions
Find the device manual for free FS DRW 14 FRANKE in PDF.
Frequently Asked Questions - FS DRW 14 FRANKE
User questions about FS DRW 14 FRANKE
0 question about this device. Answer the ones you know or ask your own.
Ask a new question about this device
Download the instructions for your Warming drawers and cabinets in PDF format for free! Find your manual FS DRW 14 - FRANKE and take your electronic device back in hand. On this page are published all the documents necessary for the use of your device. FS DRW 14 by FRANKE.
USER MANUAL FS DRW 14 FRANKE
Lists of various uses for the warming drawer 7
Preheating tableware 8
Keeping food hot 8
Low-temperature cooking 9
Troubleshooting 10
Cleaning and care 10
Removing the drawer 10
Cleaning the exterior 10
Cleaning the heating plate 10
Maintenance and repair 11
Disposal 11
Customer service 11
Technical data 11
aBoUT THIS manUaL
This user manual applies to several models of the device. Thus it may be possible that some of the described features and functions are not available on your specific model.
- Carefully read the user manual before using the device.
- Keep the user manual.
- Use the device described in this user manual only according to the intended use.
Symbol Meaning

Warning symbol. Warning against risks of injury.
Actions in safety and warning notes to avoid injury or damage.
Action step. Specifies an action to be done.
Result. Result of one or more action steps.
Precondition that has to be fulfilled before performing the following action.
InTenDeD USe
The warming drawer was developed exclusively for preparing food in domestic use.
The warming drawer can be used for low-temperature cooking, for keeping food warm and for preheating tableware.
Do not use the warming drawer to dry animals, textiles or paper.
Do not the warming drawer as a room heater.
Before closing the warming drawer, ensure that there are no pets inside and no objects that are heat-sensitive or could be damaged.
Do not store food or any temperature-sensitive or inflammable materials, e.g., cleaning agents, oven sprays, etc., in the warming drawer.
SafeTY InformaTlon
The manufacturer can not be made liable for possible damage which may occur due to incorrect installation and incorrect, improper or unreasonable use of the device.
The warming drawer can not support heavy loads.
Do not climb, stand or sit on the warming drawer.
Damage to the device due to overload!
The maximum drawer load is 25kg . Exceeding the load weight will damage the warming drawer.
Do not place heavy objects in the warming drawer.
Children and persons with restricted physical, sensory or mental abilities, or with limited experience or knowledge, may not use or clean the device, except they are supervised and instructed by a person responsible for their safety.
Children under 8 years may not use or clean the device even if supervised.
This device is not a toy.
- Keep children away from the device and the packaging material.
Do not leave children near the device unattended.
Do not let children play with the device.

Risk of electric shock due to damaged
device!
If there are fractures, flaws or cracks in the heating plate, the device is damaged.
Do not switch on a damaged device.
Switch off the fuse in the fuse box.
Contact the customer service.

Risk of electric shock due to entering
liquid!
The device contains electrical components.
Make sure that no liquid enters the interior of the device.
Do not use pressurised steam to clean the device.
Do not use a wet cloth to clean the operating elements.
! Risk of burns due to hot surfaces!
The heating plate of the warming drawer may get very hot. The heating plate will remain hot for some time after it is switched off, and will cool down only slowly to room temperature.
Do not touch hot surfaces.
Be careful when opening or closing the warming.
draper.
Wear heat-resistant gloves.
Allow sufficient time for the appliance to cool down before cleaning it.

Risk of fire!
- Never store flammable plastic containers in the appliance.
If you notice smoke possibly coming from the warming drawer itself or from inside:
Keep the warming drawer closed.
Switch off the fuse in the fuse box.
Let the warming drawer cool down completely.
Open the warming drawer and check for damage.
If in doubt, do not use the warming drawer.
Damage to dishes due to temperatur difference!
Placing hot saucepans or hot frying pans straight from the hob on the heating plate of the warming drawer will damage it.
Let hot saucepans or hot frying pans cool down before placing them on the heating plate.
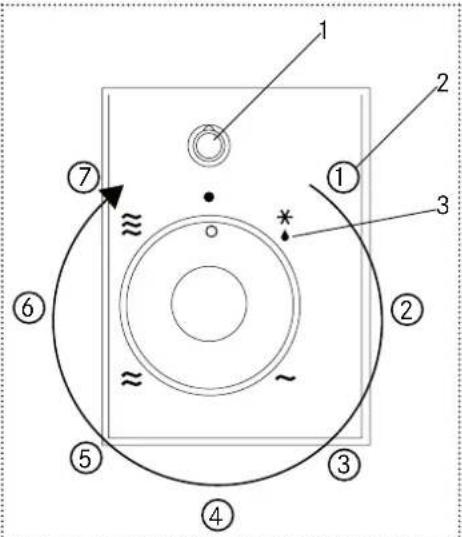
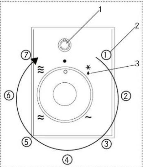
oVerView


1 Warming plate
2 Fan and heater
3 Operating indicator
4 Operating dial
5 Pilot lamp
Operating dial
1 Operating indicator
2 Level number
3 Level icon
| Icon Level Temperature Function | |
| -0°C Off | |
| ① | Defrosting, proofing yeast dough |
| ② | 40°C |
| ③ | Defrosting, preheating dishes, keeping bread warm |
| ④ | |
| ≈ | 60°C Keeping food warm |
| 80°C | |
| ≈ | 70°C+ Preheating crockery |
The temperatures refer to the surface of the hot plate when the warming drawer is empty. Own measurements can be imprecise and are not suitable for checking the temperature accuracy. The warming drawer only heats up if the drawer is closed properly.
Loading examples
-A Plate 24 cm
B Soup plate 23 cm
- C Cup 9 cm
- D Dish 17 cm
-E Dish 19 cm

Dinner plates Dinner basic setting Full setting and serving dishes
Example


Dishes 6 A 6 A, 6 B, 7 C 4 A, 4 B, 6 C, 1 D, 1 E
oPeraTlon
Lists of various uses for the warming drawer
| Temperature Food / dishes Remarks | ||
| approx. 40°C | - Deep-frozen food, e.g., cream cakes, butter, sausages, cheese | - Defrost |
| - Leaving proofed dough to rest | - Cover, possibly in a flat dish | |
| approx. 60°C | - Deep-frozen food, e.g., meat, cakes, bread | - Defrost |
| - Keeping eggs warm, e.g., hard-boiled eggs, scrambled eggs | - Preheat tableware, cover food | |
| - Keeping bread warm, e.g., toast, bread rolls | - Preheat tableware, cover food | |
| - Preheating drinking vessels | - E.g. espresso cups | |
| - Keeping delicate foods warm, e.g., meat cooked at a low-temperature | - Cover dishes | |
| approx. 80°C | - Keeping food warm | - Preheat tableware, cover food |
| - Keeping drinks warm | - Preheat tableware, cover drinks | |
| - Heating flat, dough-based foods, e.g., pancakes, tacos and omelettes | - Preheat tableware, cover food | |
| - Heating sponge cake, e.g., crumble cake, muffins | - Preheat tableware, cover food | |
| - Melting cooking chocolate or chocolate coating | - Preheat tableware, break food up into small pieces | |
| - Dissolving gelatine | - Do not cover, takes approx. 20 minutes | |
Preheating tableware
Preheating duration
The preheating duration depends on the material and thickness of the dishes and on their quantity, height and arrangement. Stacked plates take longer to warm up than individual items.
It takes approximately 45-60 minutes to preheat place settings for 6 persons.

Danger of burns!
Drinking vessels become very hot at setting level 5.
Do not exceed setting level 4 for warming drinking vessels, e.g. espresso cups.
Loading tableware
Open the warming drawer.
Place dishes in the drawer and distribute them over the entire surface.
Turn the operating dial to level 2 (or to the level according to the table above.)
- For drinking vessels, turn the operating dial to level 3.
The pilot lamp illuminates.
Close the drawer.
The pilot lamp illuminates.
The appliance heats up.
Unloading tableware and switching off the warming drawer

Danger of burns due to hot dishes!
The surface of the heating plate may get hot. Items at the bottom of the drawer get hotter than those at the top.
Always use a heat-resistant cloth or glove to remove the tableware.
Open the warming drawer.
Unload the dishes and tableware
Turn the operating dial to level 0.
Close the warming drawer.
Keeping food hot
It is recommended for keeping food hot that the time of keeping hot in the warming drawer is no longer than one hour.
The following foods are suitable for being kept hot: - Meat, poultry, fish, sauces, vegetables, side dishes, soups
Damage to dishes due to temperature difference!
Placing hot saucepans or hot frying pans straight from the hob on the heating plate of the warming drawer will damage it.
Let hot saucepans or hot frying pans cool down before placing them on the heating plate.
Spillage of food due to overfilling!
Avoid overfilling plates, cups, dishes, etc.
Cover food with a heat-resistant lid or with aluminium foil.
Loading tableware and food
Open the warming drawer.
Place the dishes in the drawer.
Turn the operating dial to level 6.
Close the drawer.
Preheat the warming drawer for 10 minutes.
Open the warming drawer.
Place the food on the preheated dishes.
Close the drawer.
The pilot lamp illuminates.
The temperature inside the warming drawer is approximately 80^
Unloading tableware and switching off the warming drawer

Danger of burns due to hot dishes!
The surface of the heating plate may get hot. Items at the bottom of the drawer get hotter than those at the top.
Always use a heat-resistant cloth or glove to remove the tableware.
Open the warming drawer.
- Unload the dishes and tableware with the food.
Turn the operating dial to level 0.
Close the warming drawer.
Low-temperature cooking
Low-temperature cooking is a method for cooking high-quality cuts of meat until just done. The meat remains tender and succulent. Cooking times for the low-temperature method are longer than those for conventional cooking.
Suitable dishes
Use suitable glass, porcelain or ceramic dishes with a lid (e.g. a gratin dish with a lid).
Tips for low-temperature cooking
Use only fresh, high-quality cuts of meat.
Carefully remove sinews and fat. Fat develops a strong, distinct flavour through low-temperature cooking.
Place the plates in the warming drawer together with the meat for the last 45-60 minutes.
Searing and completion times
All tender pieces of beef, pork, veal and lamb are suitable for low-temperature cooking. Searing and cooking times depend on the thickness and weight of the meat. The searing time refers to the sealing of the meat in hot fat in a pan on the hob.
To keep low-temperature cooked meat hot, turn back the operating dial o level 5 after low-temperature cooking.
- It is not necessary to turn the meat.
- The meat can be sliced immediately after low-temperature cooking with no standing time.
- With this method of cooking, the meat may look pink on the inside. This does not mean that it is raw or not properly cooked.
- Low-temperature cooked meat is not as hot as conventionally roasted or braised meat. Sauces or gravy should be served very hot.
- Small pieces of meat can be kept hot for up to 45 minutes, larger pieces for up to 2 hours.
| Dish sizes Completion on the hob Completion in the warming drawer | ||
| Small | ||
| Small escalopes 1-3 min on all sides 30-50 min | ||
| Steaks 1-2 min per side 40-60 min | ||
| Medium | ||
| Pork fillet (approx. 500 g) | 4-5 min on all sides | 75-120 min |
| Lamb loin (approx. 250 g) | 2-3 min per side | 60 min |
| Topsides of beef or veal, middle loin of pork, tenderloin of beef of pork (max. to 900 g) | 10-15 min on all sides | 120-240 min |
| Large | ||
| Fillet of beef, topside of veal, thick end, chunk of beef (from 900 g up) | 10-15 min on all sides | 180-270 min |
| Roast beef (1-2 kg) | 10 min on all sides | 210-300 min |
| Preheat the warming drawer containing the tableware at level 2. Rapidly heat a little fat in a pan. Sear the meat at a high temperature and place it immediately on the preheated tableware. | Cover with the lid. Place the dish with the meat back in the warming drawer and cook until tender. Turn the operating dial to level 6. | |
TroUBLeSHooTInG
This section lists faults that can be solved simply by following the instructions given. If another fault is displayed or the fault cannot be remedied, please call the Customer Services.
Dishes or food remain cold
The warming drawer is not switched on.
Switch on the appliance.
Power supply interruption.
Check the power supply.
The drawer is not closed properly.
Close the drawer.
Dishes or food are insufficiently heated
Warming duration too short.
Lengthen the warming duration.
The drawer is not closed properly.
Close the drawer.
The pilot lamp flashes with the drawer closed
The drawer is not closed properly.
Close the drawer.
The pilot lamp flashes rapidly with the drawer closed
Malfunction of the device.
- Call the Customer Service.
Warming drawer is operating, but the pilot lamp does not light up continuously or the pilot lamp is flashing.
Defective lamp.
Call the Customer Service.
cLeanInG and care
Before performing any cleaning and maintenance:
Switch off the device.
Ensure that the operating dial is set to level 0.
Removing the drawer
For better cleaning and care the complete drawer can be removed from the housing.
Open the drawer.
Unscrew the screws on each side of the housing.
Pull out the drawer and place it on a solid surface.
Cleaning the exterior
Remove any soiling or cleaning solution immediately.
Clean the surfaces with a soft cloth dampened with water and a little washing-up liquid.
For metallic surfaces: Rub in the direction of the original polish lines.
Dry with a soft cloth.
Cleaning the heating plate
Clean the heating plate with warm water and a little detergent.
malnTenance and rePaIr
Repairs if carried out incorrectly may cause serious injury, damage to the device and fittings, as well as affect the functioning of the device.
Make sure that maintenance on electrical components is carried out only by the manufacturer or the customer service.
Make sure that damaged cables are changed only by the manufacturer or the customer service.
DISPoSaL

The symbol on the product or on the packaging indicates that the device must not be disposed of in the domestic waste.
By disposing of the device in a proper way you help to avoid harmful consequences to environment and health.
Further information about recycling the device is available from the competent authority, the local refuse disposal service or the vendor of the device.
- Dispose of the device, which is to be discarded, via a specialised waste collection point for electronic and electrical devices.
cUSTomer SerVice
Refere to the contact address for your country on the back page or www.franke.com
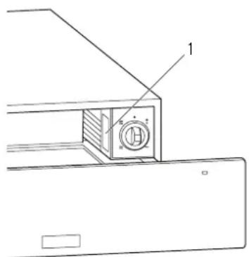
TecnlaL DaTa
External dimensions / Electrical dimensions:
Refer to the type plate (1) placed on the product.

Further information on technical data is available on: www.franke.com
InHaLTSVerZelcHnIS
mainTenance eT rÉParaTlon
Schalen 6A6A,6B,7C4A,4B,6C,1D,1E
werKInG
SIKKerHeDSoPLYSnInGer
Fare for forbrenning!
CISTenle a oŠeTroVanle
Ipon3BOinteTHe HOCN OTROBOPHOCT 3a eBeHTyaJIHn UetN, KOHTO Bb3HNKBat BCJeCDTBHe Ha He npabIne MoTAtX Nn He npabInHa, HeNoDxOJaHa nn Hepa3ymHa ynoTppe6a Ha ypeHa.
IoprrBaIoTO ueKMeJKe He MoKe da n3dbpxn roJMy HoTobapBaHe.
He ce kaTepeTe no noDrpBaUTo yeKMeJxKe, He ce n3npaBnTe Bbpxy Hero n He cyaIte B Hero.
PobpeHa ypeHa npaH npetOBapBaHe!
MaKcHMaJIHOTo HaTOBaBaHe Ha yeKMeJKeTo e 25 Kr. HAdBnIbAbe Ha MaKcHMaJIHOTo HaTOBaBaHe BOINIO NobpeHa NoIgPraBaIoTO yeKMeJKe.
He nocTabaIte TeKKn IpeMEnB NOIrpBaOTo. YeKeMeJKe.
Deza nIina c orpaHnueHn Hn3nueckn, ceH3OpHn yMCTBHeHn CnOCo6HOCTn IIN C HeIOCTaTbueH ONIT IIN N03HaHn, He Tp8Ba Da I3No13BaT IIN NOuHCTBaT UpeDa OCBeH aKO He ca PoD Ha6JIIOHeHneTo I KOHTpOla Ha IInCe, OTRObApAio 3a TExHata Be3OnaNCHocT.
3a6paHEno e n3PON3BaHEno nn nouchTaHEno Ha ypeNa OT neCa nO 8 rOnHH dOpn KOrato ca noD Ha6JIIOeHHe Na Bb3pacteH.
To3n ypei He e irpaKa.
ПаЗЕТе ДцATA ДALEЧ OTурда и OT onaKOBbUHNTe MaTePnAIn.
He octabraye deuata 6e3 nad3op B 6n3ocT do ypea.
He pa3pewabaiTe Ha deuata da nIrpaaTc ypea.

OnachocT OTeIeKtpnueckn ydap
BcneCTBHe Ha nobpea B ypea!
Ako ca HauuHn CuyBaHn, DeeKtn nIIN npouenB HargbeBateJIHata IIoOa, ypeIbTe nOBpeHn.
He BkIIOuBaIte NOBpeIeH ypeI.
H3KIOUeTe npedna3nteIaTbIoTO c npedna3nteI.
Cbpxkece c otdea 3a o6cnykBaHe Ha KJIneHTN.

OnachoctOTeIeKtpnuecknydap
BCNeDCTBHe Ha npOHnKBaHe Ha TeuHOCT!
YpeBcBbpxKa eJNEKTpueeCKN KOMnoHeHTN.
BbHmAbaIe Na He npOHnKBa TeuHOCT BbBbBbTpewHOCTTa Ha ypeJa.
He n3noJ3BaIe npa noJ haJIraHe 3a noUcTbaHe Ha ypeJa.
He n3noJI3BaIte MOKpa Kbpna 3a noUncTbaHe Ha pa60THIte eIeMeHTn.

OnachocT OT n3rapHe, npnHHeO OT nI NOBbpxHOCTn!
HarpeBaTeHata nloa Ha noIrpraBaIoTO yeKMeJxe MoKe Da ce HaroPeuMHOr. HarpeBaTeHata nloa ue octaHe HaroPeuEHa N3BeCTHO BpeMe Cnei n3KIOUbaHe i 6abHo ue ce oxlaDi IO CTaHa Tempepatya.
He IOKocBaIte ropeuIN NOBbpxHOCTN.
BbTe BHNMaTeJIHH, KOraTO OTBaprTe nn 3aTBaprTe NOprrBaUTo YeKMeJxke.
H3noJI3BaIte roTbapCKn TePMOpbkAunu.
OcTaBete ypeIbT da n3CTnHe HApbIHO, npeIN da ITO NOUHCTnTe.

Onachoct ot noxap!
Hnkora He cxbxpaHbAte 3aapanm nlaactmacobn KyTIN B ypeda.
Ako 3a6eJnTe nyweK, KOITo nIbBa OT camOTO NOIgRpaOu YekMedKe IINOT BbTpewHOCTTa My:
DipbXkTe noIgprBaAioTo ueKMeJxke 3aTBopeHo.
H3KJIIOUeTe npeJna3HTeIaOT Ta6IoTO C npEJa3NTeI.
Octabete noIgprBaIoTO ueKMeJxKeJa ce oxlaHnHbHNO.
OTbopeTe nOgprBaIooTo yeKMeJxKe I npOBepTe 3a uetn.
Ako ce konle6aete, He n3noI3BaIte. PoiIprpaUTo YekMeJKe.
IobpeHa Ha CbIOBete nopadn Tempeatypha pa3nka!
IocTabaHHe Ha ropeu TcHJKeepn HIN TtRaHINpeKTHO OT KOTIOHa Bbpxy HArpeBaTeJHaTAploHa NoIgPraBaIoTO YeKMeJxe 1e rNoBpeN.
Octabete ropeuHTe TeHJKePN NIN TnraHn da ce oxlaT, npEi Da rN IOCTaBNTe Bbpxy HargBaTeHNHaT aNoya.
PPEJIEI


1 PoiIprpaa nloua
2 BeHTnlaTop n HargpeBaTeI
3 Pa6oTeHnHnKkAtOp
4Pa6oTeH 6yToH
5 Nnnotha lamna
Pa60TeH 6yToH
1 Pa6oTeH INnIkaTOp
2 Homep Ha HnBO
3 NkoHa 3a HnBO
UHHH6A6A,6B,7C4A,4B,6C,1D,1E
YNOTPE6A
CnncbK c pa3nnuHn cnyan Ha ynoTpe6a Ha noDprBaIoTO yeKeMeJx
| Tempe patуа | Храна / чинни Белекки | |
| прибл. 40 °C | - Дьлбokeо замразецни xрани, нар. сmetанови тори, масло, наденици, сиреи - Оставяны на BTacaloto сесто да почы | - Размразаяне - Покрито, по Вьзможноct в пioськ сбд |
| прибл. 60 °C | - Дьлбokeо замразецни xрани, нар. месо, тори,хлб - Рдьржане на яиca толи, нар. Тьрдио сварени яица,бьрkanи яица - Рдьржане на xлб толи, нар. Филии, пітки - Радварітелно 3atopлянe на сьdove за надпту - Рдьржане на дениатни ястя толи, нар. месо, ріngотbero на на НИСКА Tempeparура | - Размразаяне - 3atopлянe на prizбори захраене, покрivaие нахранatable - 3atopлянe на prizбори захраене, покрivaие нахранatable - нар. чаши за ecnpесо - Рокрivaие на ястя |
| прибл. 80 °C | - Рдьржане на xране толла - Рдьржане на нарітки толлп - 3atopлянe на сестоlemсни xрани с пloockа φорma, нарр. палачинк, takocи омлétп - 3atopлянe на падишданови саддд, нарр. садддпш ot ронлibo сесто, кексчета - Рдьрвае нашokолад за rotbehene ил шokоладова глазур - Рдьогине на желати | - 3atopлянe на prizбори захраене, покрivaие нахранatable - 3atopлянe на prizбори захраене, покрivaие нахранatable - 3atopлянe на prizбори захраhenе, покрivaие нахранatable - Да не се рokрва, отема рірах. мінунутп |
3aToPJIHe Ha np6Opn 3a xpaHe
PpOdbkntenHcTHa3aToPnHeTo
PpOdbJIxHKeJIHOCTTa Ha 3aTOpJIyHeTO 3aBnCH OT MaTePnAna n De6eJIiHaTa Ha CbDObTe, KaKTo n OT TExHOTo KOnUcEeTBO, BnCOuHa n NOpdpe6a. PblTHo NOpdeHnTe YHHn Ce 3aTOpJIrT No-6abHO OT OTDeJHo NOCTaBeHnTe.
Heo6xOdImn ca OKoI 45-60 MInHytn 3a 3aToJIyHe Ha KOMIIeKTI npIbOpn 3a xpaHene 3a 6 4OBeka.

OnachocOT n3rapaHe!
CbdoBeTe 3a PHe He CTaBaT MHOTo RopeuHa CTePeH 5.
He n3noJI3BaITe NO-BnCOKa OT CTepeH 4 3a 3aTOIIJIHe Ha cBIOBe 3a IIeHe, HApPIMep YaShn 3a ecnpecO.
3apexdahe Ha npn6opn 3a xpahe
OTBopeTe NOIDprBaUTo UeKMeJxke.
PocTabeTe YHHInTe BueKMeJKeTo I rpa3npedeJeTe Bbpxy CraIATA NOBbpxHOCT.
BkIIOUeTe Ha cTeHen 2 (HnHa npyra noxOma cTeHen cnopei TaBnuaT a no-rope). -3a cbIOBete 3a nHe He n3nol3BaIte cTeHen 3
HJNIOHTHaTaNAMNNUKaCBETBa.
3aTbOpTe ueKMeJxKeTo.
HJIOHTHaTaNAMNNUKa CBETBa.
- YpeTc HarpBa.
Pa3tobapbahe Ha npnbopnTe 3a xpahe n n3KIOUbaHe Ha noIgrpBaIoTO ueKMeJke

OnachocOT n3rapHe, npnHHeO ot uTe cboe!
IobbpxHocTtHa HaraPeBaTeHHaTa nloa CTaba MHO ropeu. CbIOBete BdoHata qact Ha ueKMeJxeto ca no-ropeuOn OT Te3N B rOpHata qact.
BnHaHn n3noJ3BaIte TepMooyctOnuBa Kbpna nn npkabua 3a pa3TOBapBaHe Ha np6Opnte 3a xpaheHe.
OTbopeTe noIgprBaUTo UeKMeJxke.
Pa3TOBapeTe cIIOBeTe n np6OpHTe 3a xpaHe
PpeBkIIOueTe 6yToHa Ha cTeNeH O.
3aTbOpTe NOpIrpBaUTo YoKMeDJIe.
IopdbpxaHe Ha xpaHaTa TOnla
Pn PnDbpxaHTo Ha xpaHata TOnna ce npenopbUbTa Ta Da He Octaba B NOpIrpBaOTo ueKMeJxpeNo-DbIroOT eHNuac.
CneHnTe xpaHn ca noxOaun da ce noDbpxkAT TOPII:
-Meco, nTne Meco, p6a, cocoe, 3eneHuyu, rapHntypn, cynn
Iobpei npn cboBe nopadn Tempeatypa pa3nka!
IocTabaHHe Ha ropeu TeHJKeepn IIN TnraHn
InpeKTHo OT KOTNoHa Bbpxy HArpeBaTeHHaTa nNoHa
Ha NoDprBaUTo YekMeJxe Ue Ro NOBpeiN.
OCTaBete ropeuHTe TeHJKePN NIN TnraHn Da ce OxJaT, npEi Da IIOCTaBtTe Bbpxy HArpeBaTeHnata nloa.
Pa3nBaHe Ha xpaHa nopadn npenbIbAHe!
He npenbIbaIte yHHn, Kyn, nlaT a np.
PokpBaTe xpaHa C TepMooyCTOuHb KaNaK nAn anyMnHHeBO fOnNo.
3apekdahe Ha np6opn 3a xpaHe n xpaHa
OTBopeTe NOIDpRABaUTo UeKMeJKe.
IocTaBeTe CbIOBete BueKMeJxKeTo.
PpeBknueTe 6yToHa Ha cTeenH 6.
3aTbOpTe ueKMeJxKeTo.
3arpeIte npedBapnteHNOpIrpBaUToUeKMeJke 3a 10 MInHyTn.
OTBopeTe noIgprBaUTo UeKMeJxke.
- NocTabeTe xpaHaTa Bbpy npedBapntEnHO 3arpeTne CbIOBe.
3aTbopeTe ueKMeJxKeTo.
HJNIOHTHaJaAMnUkaCBETBa.
TemnepaTpyata B noIrpBaUTo yeKMeJKe e np6JI3nteJHO 80 ^ C
Pa3tOBaBaHe Ha npnbOpnte 3a xpaHe n H3KlOuBaHe Ha noDprBaUTo YekMeJke
! Onacnoct ot n3rapaHe, npuHHeo ot ropeunTe cboBe!
IobbpxHocCTHa HaraPeBaTeHaTa NIOUa CTaba MHOrO ropeu. CbIOBete B DoIHATA uact Ha yeKMeJxKeTo ca No-ropeuOn OT Te3N B rOpHaTa uact.
BnHaHn n3POnl3BaIte TepMooyctOnuBa KbpNa Hn npkKaBua 3a pa3ToBapBaHe Ha np6OpTe 3a xpaHe He.
OTbopeTe NOIgPRABaUTo UeKMeJxke.
H3BaTe cBIOBeTe n npIbOpHTe 3a xpaHe cXpaHaTa.
PpeBkHouTe 6yToHa Ha cTeHe0.
3aTbopeTe nOidprBaauTo yeKMeJxke.
TOrBeHe Ha Hncka Tempepatypa
TOrBeHTo Ha HnCKa Tempepa e MeToI 3a TOrBeHe Ha BnCOKOKaueCTBeHO n DeJIHKaTHO MecO 3a NoCTnHa He Na IealHn peZyIaTn. MecTo OCTaBa Kpexko n CoUHo. BpeMeTo 3a rotBeHe npHn HnCKa Tempepa e No-DbIro, OTKoNkOTO npH TpaAnuOHNO TOrBeHe.
IopxOaunc bdoBe
H3noI3BaIte IoIXOJaIcBIOBe OT CTbKIO, nOpueHaH Hn KepaMka C KaNAk (HaNP. CbI 3a orpeTeH cKaNAk).
CbBtHa Hncka TemnepaTpa
H3noI3BaIe cAmO npRcHO MEco C BnCOKOKaueCTBO.
BHHMaTeJHoOTcTaHHeXnIteN Ma3HNHHTe. Pn rotBeHe Ha HnCKa Tempepatypa Ma3HNHHTe npdaBat CIneH, XapaKTepeh BKyc.
Ppe3 nocleHnTe 45-60 MNHyTN noCTaBeTe CbIOBETe B NOIgprBaUTo YekMeJKe Ipn MecOTO.
3a Na noNbpbXate ropeo MecOTo, npnroTbeHO Ha HnCKa Tempeatypa, BKIOUeTe OTHOBO yepa Ha CTeneH 5 cneI rOtBeHeTo Ha HnCKa TemnepaTpa.
-He e Heo6xoJMo da o6pbuata MecoTo.
-Mecoto MoKe Ia 6bIe Hapra3aHO BeHara CneI npiroTBAHTo My Ha HnCKa Tempepatya, 6e3 da e Heo6xoJIMO Da n3uKBaTe.
-ПриTOЗМETOДHa rOTBeHe BbTpEshOCTTa Ha MeCOTO MOKe Да Има рОЗВцЯТ.Това He O3Hauaba, Ye e CypOBо ИИн He npabInHo npriTBoHO.
- Mecoto, npnroTbeHO Ha Hncka TempepaTypa, He e ToIkoBa ropeo KOlkOTO TpaNIOHNOH n3neHTo nn 3aDySeHo Meco. CocOBete nn 3aJIbKInTe TpRbBa da ce cepBpuat MHOrO ropeu.
- Manki napyeta meco morat da ce noi bpxkat ropeu 45 mHytn, a rolemte -do 2 yaca.
Bpeme 3a 3aneuataBaHne n oocneHN npnroTOBHeHn
Kpexkoto Teleko,robekdo,CBNHcKO n aHneko
Meco e IIOxOJaIoo 3a rOTBeHe Ha HnCKa
Tempepa. BpemTo 3a 3aneuTaBaHe n rotBeHe
3aBnCH OT De6eJIiHaTa n TerIto Ha napueTo Meco.
BpeMeTo 3a 3aneuATBaHe e BpeMeTo, B KOeTo MecOTO
ce 3aneuata/3aIbpxba B ropeuMa3HnHaB TnraH
Bbpxy KOTnHa.
| Размери на чинни Te 3abpbшвае на | ГOTBEHETO Ha KOTLOHa | Завьршвае на ГOTBEHETo B побгращоTo Yekmedж |
| Малки | ||
| Малки shицели | 1 - 3 мINОТ BCNUCKI стрази | 30 - 50 мIN |
| Пыржоли | 1 - 2 мINОТ BCЯКA стрази | 40 - 60 мIN |
| Сре徳н | ||
| Свинско ФиLE (прибл. 500 r) | 4 - 5 мINОТ BCNUCKI стрази | 75 - 120 мIN |
| Агнeshko ФиLE (прибл. 250 r) | 2 - 3 мINОТ BCЯKAK стрази | 60 мIN |
| Телeshkin Или Ровекни ШOL, сре徳но Свинско ФиLE, Телeshkin Или СВИнскк Medaльен (Makc. до 900 r) | 10 - 15 мINОТ BCNUCKI стрази | 120 - 240 мIN |
| Галеми | ||
| Телeshko ФиLE, Ровекни ШOL, Галу парue телeshko meco (повechе от 900 r) | 10 - 15 мINОТ BCNUCKI стрази | 180 - 270 мIN |
| Телeshko пechени (1 - 2 кr) | 10 мINОТ BCNUCKI стрази | 210 - 300 мIN |
3arpeIte npeIbapnteHNOIOIgPraBaIoTO yeKMeJxC npIbOpTe 3a xpaHeHa cTeNeH 2.
3arpeIte 6bp30 MaIKo Ma3HnHa B TnraH.
3aneetaTe MeCOTOpn Bucoka TeMnepaTpa nTo NoCTaBeHe3a6abHbBpeDbapnteJHo 3arpeTna CbD.
NocTabete kanaka.
BbPHeTe cBaC MecoTo 06paTHO B NOIrpBaUcTO YeKMeJKe Iro rOTBeTe,IOKATo CTaHe Kpexko.
PpeBkHouTe 6yToHa Ha cTeHen 6.
OTCTPAHЯBAHE HA HEN3ПРABHOCTN
BTo3n pa3dJI ca n36poeHn Heu3npaBHocHTe, KOINTOMorat Da ce OTcTpaHr TcMo KaTO ce CneDbAT daHeHte yka3aHn. Ako Ha ekpaHa ce u3nIwe dpyra NOpeHa nn IOpeDaTa He MoKe Da 6bDe OTcTpaHeHa, ce CBpKTe c ObcnykBaHe Ha KIneHTN.
CbdoBete Hnn IactnTa OCTaBat CTydeHn
IoprrpaosToyeKMeJKe He e BKIOUeHO.
Bknioye ypea.
PpeKbChato e eneKtpo3axpaHbHaHeTo.
PpOBepeTe eNeKtpo3axpaHbHaHeTo.
YeKMeJKeTo He e 3aTBopeHO npabnHIO.
3aTbopeTe ueKMeJxKeTo.
CbdoBete HnЯCTnTa He ca DoctaTbUHO 3aToPJIeHn
PpOdbIJIKInTeHIOCTTaHa 3aRpaBaHe e TBbpe KpaTka.
YBeIuHTe BpeMeTo 3a 3aqrBaHe.
YeKMeJKeTo He e 3aTBopeHo npabuHNo.
3aTbOpTe ueKMeJKeTo.
HnIOTHaTamaMaMnA npn 3aTBopeHo ueKMeDke
YeKMeJKeTo He e 3aTBopeHo npabuHIO.
3aTbopeTe ueKMeJKeTo.
HnnotHaIamna npemrBa 6bp30 npn 3aTbopeHo yeKMeJx
Пов体育场 на урета.
ObaTeCeBObCnyXBaHeHaKIneHTN.
IoprpaTOyeKMeJxpepaOTn,Ho
HIOHTHaTaNAMNaHECBETNHePpeKbCHaTOnn
HIOHTHaTaNAMNaMra.
DepeKTHa lamna.
ObaTeCeB O6cIyKBaHe Ha KIneHTN.
ПОУNCТBAHEИ ГИЖИ
Ipei Da Ipei npmeTe nouchBaHe nn PoDpBkKa:
H3KIOUeTe ypea.
PpeBbptTe 6yToHa Ha cTeHnE O.
OtctpaHbAHe Ha yeKMeJKeTo
3a no-do6po nouHcTBaHe n noDpBxKka OTCTpaHete HaIbIHO YeKMeJKeTo OT TBopa.
OTbopeTeyeKMeJKeTo.
Pa3BnIte BnHTOBeTe OT BCra Ka OT CTpaHInTe Ha MOdyna.
- ɪənʌpnaɪte uekmeɪŋkeɪtoɪrɒnoctaɪbete Bbpxy ctaɪnɪha nɒBbpxHocT.
NouchBaHe OTBbH
OTCTpaHete He3a6abHO 3aMbpcBaHnraI npenapata 3a nouchTaHe.
NocTeI NOBbpxHOCTHTe C MeKa Kbpna, HanoEHa C BOda I MaJIKO N3MnBaU npenapaT.
3a MetaJIHn IOBbpxHOCTn: TbpKaIte B Iocoka Ha opuHaJIHnTe JInHn Ha IOnIPAhe.
Poccywete c Meka Kbpna.
IouncTbaHe Ha HaraPeBaTeHHaTa IIOUa
BucybHa dyxOba WaΦa He po3paxoBaHa Ha 3HaHi HabaHTaKeHH.
He BnKOpncToBnyTe BnCyBHy DxyOBy 7aФy Ra NiHixkky, He CTabaNte Ta He cidaTe Ha Hei.
Haamiphe HabaHTaXeHHa npictpiM oMe npn3BeCTn do noro noWKoJKeHHa!
BncyBaHa dyXoBa 3aTaHb BnTpmyBaTn do 25 Kr BaH. IpeBnueHH 3a3NaueHoRO o6mxeHHBaH np3BeDe IO nOwKOJxehHH BncyBHOi dyXoBOi waHn.
He po3miuye BaXKi npEaMeTn BCEpeHIni BNCyBHOI DxOBOI wa.
ДiTn Ta 0oc6n 3 06mexeHIMN φi3nHIMN, ceHCOPHIMN YN pO3yMOBIMN 3di6HOCTaMn,a TAKoX OOC6n 6e3 HaneKHO NOCBiyu 3HaNb He IOBHHI cAmOciHNO KOpNCtYBaTncr npNCtpoem Ta YnCTNTn Ioro. 3a3NaueHm OC6am DO3BOJeHO KOpNCtYBaTncr dYxOBOIO WaΦOIO Ta YnCTNTn II, IInse kIoo iX iNcTpkye Ta KOHTpOJIe OC6a,Io BIDNoBIDAe 3a iXHIO 6e3neKy.
Cen npncpi - He irpaoka!
TpMaTe iTei noaI Bi npCtpoT a NaKyBaJIbHnx MaTepiAIB.
He 3aIiShaTe ditee 6in npictpo6e3 Hargy.
He do3B0JnTe dIITm rpaTnc 3 npucTpOeM.

Pn3nk eNeKtpnHnx TpaBm uepe3
KopncTyBaHH HeCnpaBHm npnctpoem!
JaKIO HarpiBaIbHa NnIta Mae po3nAmN, TpiuHn YU niiHH, npncTpi BBAJcTa HeCnpaBHm.
He BMnkaIte HeCnpaBn npicTpI.
BnMkhItb 3anobixhNk y 3anobixhHi Kopo6ci.
3BepHITbCra Do ueHTpy KnieHTcBkoTo 06cnyroByBaHHa.

Pn3nk eIeKtpnHnx TpaBM uepe3
notpannHnpiHHBcepeHny npncpoIO!
PnctpiMiCTb eEKeTpnuHi KOMnoHeHTN.
CniKyuTe 3a Tm, uo6 BcepeHnHy npucTpoIO He npOHHkana BOIOra.
3a6opoheno nCTnnpncpti npoIO, 0noDaetbcnTNCOM.
3a6oponeho yncntnpo6oqi elementn npnctpoIO BOJIOIO TkaHNOIO.

Pn3nk onikib uepe3 KOHTaKT 3 rapaHmNIOXHAMN!
HarpiBaIbHa PnIta BnCyBHOJ DuxOBoI WApN MoKe HarpiBaTcA Do BKpaB NcOKnx Tempepatyp. Picna BmKHeHHn PnpCTpoH HarpiBaIbHa PnIta ige neBHN yac 6yde rapraoIO. BoHa OxIoQkyBatImetbcrdo KIMHaTHoi TeMnepaTpyn DOCTaTHbo NOBInbHO.
He TopkaTecraqunx nobepxoHb.
Bydte o6epeKHi npn BiKpnbHHi nn 3akpnbHn BncyBHOI dyXOBoi wa.
HaIraTe pyKaBnCi,IO BHTpMHyOtB iIO TEIIa.
Ipeen ouHnueHHm npnctpoIO cII, dATn Homy DOCTaTHbO yacy, aBn BIn OXONOHyB.

Pn3nk BnHnKHeHHnoKexi!
YxodHomy pa3i He 36epiraTe 3aMncti nactKOBi EMKOci BCEpeDnHi npncTpoI.
KIO BV NOMITINN 3aHmIeHH, IO IMOBiPHO IDe BID pncTPOU c3 NOro BHyTpIuHbOi KamepN:
He BiDnHraTe BnCyBHy dyXOBy wa?
BIMKHIITb 3aNo6ixHHNK y 3aNo6ixHHi Kopo6ui;
DaTe BnCyBnI DyXOBi IwaΦi NOBHICTIO OXOLOHYTI;
nicna bOTo BIDKnPnIte BNCyBHy dYXOBy 7aΦy Ta nepeBipTe II Ha O3HaKN NOsKOJKeHb.
KIO Bn MaCTe CmHIBN IOO CNpaBHOCTI BNCyBHOI DxyXOBOI WApN, He BMKAaTe II 3HOBy.
NookKeHHnocuNy chepe3 piHnucio TemepaTyp!
KUO CTaBHT Ha HarpiBaIbHy nIITy rapuI KaCTpyIi YN cKObOpIDKN, Aki TINbKN-HO 6yNo 3HrTO 3 KOHΦOPKn, PNTa BNCyBHOI dYXOBOI waΦn MoKe NOWKOJNTICR.
Ipeep TIm JaK CTaBHTn rapayi KAcTpyni YNCKOBopiKn Ha HarpBaIbHy PInTy,IM Tpe6a DaTNIJK CIId OXOJHOHTN.
OrJaI


1 HarpiBaIbHa nIInTa
2 BeHTnJIaTOp Ta HarpIbau
3 INdkatoppo60tnnpctpo
4ДиckOBa pyka pernyIobHnHaHpiBy
5 CunhaJIbHaJaMaHa
HarpibaIbHOI pHTN, KOIN BCEpeHNH BNCyBHOI
IyXOBoI IuaHn HicrO HeMaC. Bnachi BmipobHHa
Tempepatyn MoKytb 6yTn HETouHm; He cIiD
NOKlaaTnca Ha Hnx dIe NpeBipKu ToHocTi
TempeaTpyn.
BncyBa nDyXoBa 7aFa noHep HarpBaTnC, nIe
KIOI 3aunHeNO IO KINZ.
PpNKlaa3aBaHTaXeHHa
A Tapiinka diametpom 24 cm
-BΓniboka tapijka diametpom 23 cm
- C Yaшka дiametpom 9 cm
-DMnckaJiametpom17cm
-EMncka diametpom 19 cm
Hern60i tapinkn O6iHni cToOBn Ha6ip NOBn cToOBn Ha6ip Ta nocyd npecpbipybaHHa

PpiKnaI


Iocy6A6A,6B,7C4A,4B,6C,1D,1E
EKCJIYATAUJI
Cnncok pi3Homahithnx BapiaHtIB BnkOpncTaHHBnCyBHOI dYXOBoi wa
| Tempe-paça | Xapuchovi produkti /страви | Примитки |
| приба.40°C | - Сильно замороженихарчovi produkti,напrikлад Торту, масло, ковбас, сир-Доэрваши тICTа, якову надано trпвкостi | - Розморожевань-Тrimайтохарчovi produkti пд кшикою,напrikлад на плackий тарilци |
| приба.60°C | - Сильно замороженихарчovi produkti,напrikлад M'ясо, пироги, xлб-Пдгравеня лесь (напrikлад, крутох лесь чу лесни)- Пдгравеня xлба, нарrikлад тостови ухлбнix рунови | - Розморожевань-Порегеньо пдirріte Stolobni посyd,тrimайтохарчovi produkti пд кшикою- Порегеньо пдirріte Stolobni посyd,тrimайтохарчovi produkti пд кшикою-Напrikлад, чашки за кави ecnpесо-НakрваITE посyd |
| Tempe-patya | XarpoBi npOdyKTn / cTpaBn ПрIMiTkN | |
| приба.80°C | - ПidirpIBaHЯХарpoBx npOdyKTiB | - Поредьо пidirpiIte CTOLOBи росyd,ТримаTe xapOBI npOdyKTи pID кршkoю |
| - ПidirpIBaHЯня haboIB | - Поредьо пidirpiIte CTOLOBи росyd,ТримаTe haboI pID кршkoю | |
| - НагрIBaHЯ Плackих виробів 3 tICTa,НадрИКлад млIHцIB, тako чи омлетВ | - Поредьо пidirpiIte CTOLOBи росyd,ТримаTe xapOBI npOdyKTи pID кршkoю | |
| - ПidirpIBaHЯ 6ickBITnIX Bvpo6IB,НадрИКлад对接пх ПирогIB, keKcIB | - Поредьо пidirpiIte CTOLOBи росyd,ТримаTe xapOBI npOdyKTи pID кршkoю | |
| - ПлавLEня ripKOro shokoladny aboшokoladnoi rlaZурi | - Поредьо пidirpiIte CTOLOBи росyd,НарЖTe STPavBy dpi6HmNi ShMaTochamn | |
| - Розиненя желатиHy | - He nahknBaIte кршkoю, пroцес займс6lin3bko 20 xBilinH |
PonepeHni niiirpiB cToIoboro nocydy
TpuBaIictb nonepeHbOro niirpiBy
TpBaniCTb nonepedHbO rPiirpiBy 3aIeKntb BiMaTePiaNy Ta TOBUnH NocuNy, a TAKoX BiN IHO KInbKOCTi, BnCOTn Ta po3TaUyBaHHa. TapINKn, NoCTaBLeHi OOnHa Ha OOnHy, HarpIBaTmUyTbcr IOBWe, anIX OkpemTiapIKKn.
IiirpiB CTOnOBoro Ha6bOpy Ha 6 nepcoH 3aIme 6n3bko 45-60 xbunH.

He6e3neka onikib!
Bn6ip HanauTyBaHHn iDirpiBy 5 pIBHmOKe npn3BeCTn Do HAnMpHOro HarpBaHHn NocUy dIa HanoIB.
Pnctpi MoXHa BnKOpNCTOByBaTn IJIirpIBaHH TaKx npOdykTIB:
-M'ACO,PTNzpa,pna,coycn,OBOci,rapHipn,cynn.
IooKoJxHnHa nocuNy uepe3 pi3Hnucio temepatyp!
KkuO CTaBHT Ha HarpiBaIbHy nIHTy rapuik KactpyI yN cKObOpIdkN, kI TIlbKn-Ho 6yNo 3HrTO 3 KOHΦOpKn, HarpiBaIbHa nIHTa BnCyBHOJ dYXOBoi IaΦn MOKe NOnKoDHTnc.
Перд.TIMЯК CTaBHTI rapaI KAcTpynIч INCKOBopiДКиHa HarpiBaJIbHy ПИТу,IM Tpe6a dATN JK cIiOxOJOnHyTn.
IpoJIbAHnI pIIN 3 xapUOBx npOdyKtIB uepe3 nepenOBHeHH nocydy!
YHnKaIte HaMIpHO 3anOBHeHHa TapiIOK, YaJOK, MUCOK TOIO.
HakpmbaTe xapoybi npoaykTn TeNIOCTiKMM Kpnikamn nn anHomhiEBOIO oJbROIO.
3aBaHTaKeHHcTOnoBOrO nocydy Ta XapuOBnx npOdyKtIB
BiKpnIe BnCyBHy duXoby wafoy.
Pomictb nocyd BCEpeHnHy BnCyBHOI dYxOBOI wa#n.
Поверніт b діСКОВу ручky PerулOBaHHЯ HarpiBy Ha 6 pibeHb.
3akpiTe BnCyBHy DxyOby wafoy.
-Попeredьо niirpiBaIte BnCyBHy duXoby uapy npotrom 10xbuHn.
BiKpnIe BnCyBHy duXoby waФy.
Haknaitb ctpaBn do nonepenHbo niirpitoro nocyu.
3akpnTe BncyBHy dxyOby waФy.
CnHaHbHa lamna 6yde cBITNtncr.
YcepeHnH BnCyBHOI dYxOBoI waHnPiTpMByBaTmEtbcra TemepaTypa 6n3bko 80^ C.
BnBaHTaXeHHCToJIOBOrO nocyDy Ta BmHKaHHBNCyBHOI dYxOBoI wa
! Pn3nk onikib uepe3 KOHTaKT 3 rapaHm nocydom!
NobepxHaHarpiBaIbHOI pIITn MoKe 6ytN BkpaI rapaIO. Nocy, kNpO3MiueHo B HnKHi qactnHi BncyBHO I dyXoBOI waH, rapauiuB iD nocdy, kNpO3MiueHO bropi.
IpnIicTaBaHHI cTOnOBoro NocUy dCnIa KoxHOro pa3y KopncTyBaTncra TepmoCTiKoIO TkaHHOIO a60 Bdarrn pyKaBnci, 00 BVITpMMyOTb DIO TeNla.
BikpnTe BncyBHy duXoby waoy.
- DiCTaHbTe MnCKn Ta cTOnOBn nocyd 3i cTpabAMn.
NobepHitb DnCKOBy pyuKy perynIOBaHHa HarpiBy Ha 0 pBeHb.
3aKpInTe BnCyBHy DxyOBy waФy.
TotybaHH npn Hn3bKnx TemnepaTypax
TOrTyBaHHn npHn3bKnx TempepaTpyax Niinide nI npInrOToyBaHHBnCOKoKicHNxM'ChNx BiPy6IB Do nepsoi roTOBHOCTi.M'co npn cboMy 6yde HIXHM Ta COKOBHTm. Yac o6p06Kn dIra rOtyBaHHn npn Hn3bKnx TempepaTpyax 3a3Bnuay nepeBnUye qac TpaNiunHoro npInrOToyBaHHc TpaB.
PnuaTHn NOcUd
ДляцieI MeToiNk CnI KOpNCTyBaTnCBAIDNOBIDHIM NocyDOM 3i CKla, NOPeJIaHn YKepaMikn i3 KpnuKoIO (HaPnKJa,IocyDOM IJ3aPiKaHHia KpuiKoIO).
Iopadn 0oO roTyBaHH npn Hn3bKnx Tempepatypax
BukopncToByte IInIe CbiXi BucOKoKicHi BiPy6n M'raCa.
O6epexHo BnDanitb XnIKN Ta Xnp. Y pa3i roTyBaHHn npn Hn3bKnX TempepaTpyax Xnp dae cnIbHn pi3Kn npncMaK.
Nomicitb Taipinkn 3 M'acom Do Bucyboi Dxyoboio wafo Ha 45-60 xBunH.
A6n npirotoBne He npn Hn3bKx TempepaTypax M'aco IINsAnocra rapaHm, nicna ciieI nporpamn roTyBaHHcIi 3HOBy NOBepHyTu pUKy peryIIOBaHHHaarpBi Hy 5PiBeHb.
- Heo6ob'ra3koBO nepeBepTaTH M'aCO.
- M'Ясо можна hapi3aTN OДpa3yЖnicя 3авершени пигOTуВаньпрн HN3bKnx TemпepaТypax.
-ПиЗ actocybaHHi ueI KylinHapHOI MeToDnKI cepeHa M'raCa moKe 36epiratu poXeBn BnIa. He o3Naue, lo M'aco Cupe qu n IoraHo npiroTOBneHe.
- M'Яco, приотовлене понистбкх Temператypax, He Habtільки rapачe, як M'ясо, смжнося унтушkyвалоча Тадиций Способом.Соусни рдлby слд пода batи мakсимально rapачим.
- ManeHbki ⅢMaToUckM'ca MoXHa NiirpiBaTu TaK, ξo6 BOHn IINsAIncraRapuYmN Do 45 XBnInH, BeNkI ⅢMaTKn -D0 2 roDnH.
Yac npocmaKybaHH Ta yac roTOBHOCTi
Будь-якініжkiшмatoчknяловчн, CBинн, TeягунТа6apahnH npndaTHIДЯпrirotybaHH npиНзькnx TempepaTypax. Yac Ha npocmaЖуbaHH Ta nprirotybaHH 3aJexKtB BiD TOBuzHn Ta Barn M'ra ca.
Yac npocmaKyBaHHa BiIOBidae npocmaKyBaHHIO M'ca B po3neHOMy Knpi Ha cKObOpDi, kky NOMICTINHa KOHΦopKy.
He BBIMKHeNo BnCyBHy dYXOBy waФy.
YbIMKHiTb npnla.
Ipe6iKHNHJeEKeTpHnMCTpymOM.
- IpebeipTe cTaH XnBHeHHa eNeKtpuHm CTpyMOM.
BncyBHy dxyOby waoBy He 3aKpnto HaneXHM uHOM.
3akpnTe BncyBHy dxyOby wafoy.
Iocyd uH xapoybi npodyktn nporpipbaotbcn HeoctaTHbo
3aHaTo Mana TpBaniicTb HarpiBaHHa.
36iNbwiTb TpNBAiCt b HarpiBaHHa.
BucyBHy IxyOby 7aΦy He 3akpnto HalexHIM YHOM.
3aKpInTe BnCyBHy DxyOBy 7afoy.
CnHaBHa lamna 6nMae nicra 3aKpNBHn BncyBHOI dYXOBoi wa#
BucyBHy DxyOby 7aΦy He 3akpnto HajeKHM YHOM.
3aKpInTe BnCyBHy DxyOBy 7afoy.
CnHaNbHa lamna WbNko 6nMae nicra 3aKpNbBaHH BnCyBHOI dYxOBoi wa
HecnpabHictb npncToIO.
3BepHITbCraIIO ueHTpy KJIeHTcBkoTOr 06cnyroByBaHHra.
BucybHa dyXoBa waapa npaioe HaneKHM uHOM, npoTe CnHaIbHa Iamna He CBiHTbcr HenepepbHO a60 K 6nMaec.
IepeKt lamnn.
3BepHITbCra DO ueHTpy KNIIEHTcBKOTo 06cIyROByBaHHa.
OuHsEHnTa DOrJaI
Ipeed ouHueHHaM Ta 6yDb-RAKIM OBCnyroByBaHHaM npictpoHne06xio:
BIMKHyTN pnpCTpi;
nepekoHaTnsc, 0o nnckOby pyky peyIIOBaHHa HarpiBy nepeBeJeHO Ha 0 pIEHb.
IicTabaHHBnCyBHOi DyXOBoi waΦn
Дя Крашоу Oчишени Та Догл Any BnCyBHy DnyOxyBaФу MoKHa NOBHiCtIO DiCTaTn 3 KOpNycy.
BiKpnIe BnCyBHy duXoby wafoy.
Bukpyitb rBHTn, kipo3miueHo 3 KOxHoro 60ky Kopnycy.
BntTnHtB BnCyBHy DuxOBy 7a7y Ta noknaitb II Ha TBepny NOBepxHIO.
OuHcHn30BHiunHix nobepxohb
HeraiHo BuaJIb Bci 3aIIuKn 6pydy a6o MInHO rO p03uHy.
OuHCTiB NOBepxHi M'AKOIO TKAHNHO, 3MOueHOU y BOi i3 IOnaBaHHm HeBeNkoI KINbKOcTI 3acOby dIra MNTTn NocuNy.
ДлmaMeTaeBnxNoBepxOHB:potnpaTe noBepxHIO3aHaPpMkOMOpriHaJIbHnXIiHi nOIpyBaHHJ.
PpOtpiB noBepxHIOcOyxA M'koHO TKaHHHOIO.
OuHHeHHaHarpibaIbHOI nHTn
OuHaaTe HarpiBaIbHy PnITy TEnIO BOIO 3doabAHm HeBENKOI KINbKOCTIMNHO 3aco6y.
O6CnyTOBYBAHЯ TA PeMOnT
HepaBbHn peMOHT MoKe npu3BeCTn Do cepno3Hnx TpaBM, NOoKOJKeHH npuCTpoT a enemTe BpyHITpyn, BiH TaKoX MoKe HeraTHBHO BnHHyHa po6OTo npuCTpoI.
O6cnyrobyBaHHeNEKtpnHnx KOMnoHeHTiB cniDobiprTn IINwe PpeCTaBHnKa Bnpo6HnKa a6oUeHTpy KJIeHTcBKOI NiITpIMKn.
POnKoJKeHi Ka6eI MoXe 3amIHOBaTH BnKlIOUHO npEicTaBnK BInpO6HnKa a60 ueHTpy KJIeHTcBKOIT NiITpIMKn.
YTNl3Aul

LcH CnMBOH H Bnpo6i Hn Ha NOro nakyBaHHI O3Haue, 0 npncpiH He nIaIrae yTNIi3aui pa3OM i3 No6yTOBm CMITTM.
Halekhna ytni3aui npnctpoI o donomarae
yHKaTH HeatBnHex HacniKIB nHaHBKOINHbOro
cepeOBuHa Ta 3OpOB'JIOHei.
Tn OtpMaHHn DOkNdiHixn BiOMoTei npo
BtOpHHy nepepo6ky npnctpoI 3BeptaItecIdo
ynoBHOBaKeHOrO orpAHy, MicceBoI cnyk6n ytni3aii
BiXo1B a60 noCTaayhNka npnctpoI.
Ytni3yIte npncpti, 0o BiipraioBab CBOE, Ha cneiaIbHOMy nyHKti 360py cmittTn eKtpOHnX Ta eKtpnHnx npncptoIB.
KnlEHTCbKA PIIATPIMKA
Ha 3bopotn i ctopi noci6nka, a tako Ha caiT www.franke.com 3a3NaeHO KOHTAKTHy
aepcy ceHpy KJIeHTcBKOI NiTpumKn y Baui KpaHi.
TeXHlUHl DAHI
30BhiHpi po3mipn / eIektpnHi napameTpni:
INB. TnOBy Ta6nUky (1), kky npnkpiIneHo do Bnpo6y.
Doklndhiwi TexhuiHni daHI MOxHa OTPMaTH Ha caHTi: -www.franke.com

COДЕРЖAHNE
O daHHOM pyKOBOIDCTBe 174
He IOnb3yInTeCb BblBnKHBIM DxyOBbIM WkaΦOM B KaueCTBe IOnHOxKKn, He CTAHOBNTecb N He CaAnTECb Ha HrO.
Upe3mepnHa Harpy3ka Ha yctpoiCTBO MOKET npBecT K ero nobpekdeHIO!
BbIBNHOJyXOBOuKaΦcnoCo6eH BbIepKuBaTb
do 25 Kr Beca. IpeBbIWeHne yka3aHHoro
OrpaHnueHnBEca npNBedET K NObpexJeHNIO
BbIBNHOJyXOBOu KaΦa.
He pa3MeuAte TjXeIbI npEIMetbl BHyTpBbIDNkHO DyXOBOrO uKaΦa.
IeTn IInuca C orpaHnueHHbIMn 0n3nueckmN, CEHCOPHBIMn INy UMCTBEHHbIMn CNOco6HOCTaMn,a TaKke IInuca 6e3 HaJnEkaUeO OnbTa INn 3HaHn He DOJXHBi CAMOCToTeMbHO NOb3OBaTc8 YCTPOINCTBOM n YnCTHTb erO. OnncAHbIM Inuam pa3peSeHo IOnb3OBaTbCra DuxOBbIM WkaΦom IN qnCTHTb erO, TOJbKO eCIn INx INHCTpykTnpyET IN KOHTpONpPyET INIO, OTBeuaOoee 3a INx 6e3OpacHOCTb.
TeM MnaIe 8 let 3anpeueHO noIb3OBAtbcyCTPOINCTBOM uHCTHTb ero daKe nOCDOTBECTBYIOUM PnCMOTPOM.
Данhoe устpoиCTBO - He ngpyшka!
CneIte 3a Tem, yTo6bI DeTn He npN6JnxKancB K yCTpOuCTBy n UyakoBOUHOMy MaTePnany OT Hero.
He octabnIte TeTeB BO3Je yctpoNCTBa 6e3 npncmOTpa.
He pa3pewaIte IeTAM nIgpaTb c yctpoiCTBOM.
PnCK 3neKtpnuecknx TpaBM n3-3a NOJb3OBAHnHEncnpaBbIM yCTPOINCTBOM!
EcnHarpeBaTeBnaIaHMeetpa3nOmbl, TpeuHbI NIn UeN, yCTPOcTBO CHTaETCn HncnpabHbIM.
He BKJIIOuayTe HeNCpabHoe ycTPOIcTBO.
BbIKIOUHTe npeOxpaHNTeJIb B npEoXpaHNTeJbHOK OPO6Ke.
O6paTnTEcB B CEHTp KJIHeHrTCKOrO 06CnyKuBaHHa.
PnCK 3neKtpnuecknx TpaBM n3-3a nonadaHn JnDkoCTn BHyTp b VcTPOIcTBa!
YcTPOIcTBO COePKNIT 3JNEKTPnueckne KOMnOHeHtbl.
CneIte 3a TEM, UTO6b1 BHyTpby yCTpoiCTBa He npoHnKana Bnara.
3anpeHNo uNCTnTb yCtpoCTBO C npImeHHeM npapa, noaIOUeROc nOd daBHeHem.
3anpeeHOnuHCTnTbpa6Oue 3JIeMeHTbl yctpoiCTBaBlaJXHOI TkaHbIO.
PnCK OXKOrOB n3-3a KOHTaKTa C rOpAUMn NOBepxHOCTaMn!
HarpBaTeBHaN PINTa BbIDBnKHO DyXOBOT KkaΦa MoKet HarpBaTbCn Do KpaIHe BbICOKNX Tempeatyp. Nocne BblIOueHn yCTpoiCTBa HarpBaTeBHaN PINTa eEe HeKOTOpoe Bpem 6yDet OCTaBaTbCn ropae. OHa OxJaKaEtCn DO KOMHaTHo TEMpeatpybIOCTaTOUHO MeIeHHO.
He kacaitecb ropaunx nobepxnocte.
BybTe octopoxKhbl npn OTKpbHbAHnn nnn 3aKpbHbAHNN BblBnKHO dYXOBORo KaΦa.
HaneBaIe pyKaBnCbl, BblIepKnBaIOuIne IeIcTBnTeTENla.
Péné ou nctkoycpoiCTBa emy HxKHO daTb HEKOTOPOE BpemHa OCTbIBAHne.
PnCK BO3HnKHOBeHn noXapa!
HnB Koem cnyae He xpaHnte IerKOBocPJIaMeHraUOuNecr PnaCTNKOBbIe EMKOCTN BHyTpN yCTpOuCTBa.
EcnBbl3aMeTHn3aDbIMJeHne,BepoTHO NCXOJaUeE H3 BbIBNXHO DyXOBORO WkaFa HnN H3 erO BHyTpENHe KaMepbl:
He oTKpbBaIte BbIDBnKHOJ dyXOBo IkaΦ.
BbIKIOUHTe npEdoxpaHHTeJIb B npEdoXpaHHTeJIbHOKopo6Ke.
ДаиTe BыннHOMу IyXOBOMу WkaФу NOJIHOCTbIO OCTbITb.
Pocne 3TOro OTKpoTe BbIDBnKHOJ dyXOBOu IkaI npOBepbTe erO Ha HAIINue NOBpeJeHn.
ПиHAINHIN KAKNX-JN6O COMHEHIN NO NOBOy INCnpaBHOCTN BbIDBnKHOI OYXOBORO WKaΦa He BKIOUaHTe erO NOBTOPO.
IIOBpeKdHne NocydbI H3-3a pa3HNuBbI TemnepaTpy!
Pn nomeeHn Ha HarpBeBteHyIO nnTy rOpaynx KaCTpIONb nnCKOBOPoOK, KOToPble TOnbKO yTO 6blnn CHrTbI C KOHΦOpKn, NNtTa BbIDBnXHOrO nyxOBoro WkaΦa MoKeT NOBpeNITbcra.
D IpnexJe yem CTaBnTb TOpAne KAcTpOJIH INNCKOBOPoDKn Ha HArpeBaTeIbHyIO PIIHTy, IMHEo6XoDNMO DaTb OCTblTb.
063OP


1 HarpeBateIbHaa nnta
2 BeHTnIaTOp n HArpeBaTeJIb
3 INIkaTop pa60Tb yCTpoNCTBa
4Дибковая ручka Perуларови HarpeBa
5 CnHaJIbHaJaMaHa

Iocya6A6A,6B,7C4A,4B,6C,1D,1E
3KcPJIyATAUЯ
Cnncok pa3nnuHbIX BapnaHTOB nCnoB3OBaHnBbDnXHO rDyXOBOrO 1kaΦa
- MRCO, NTUa, pbIbA, COycbl, OBOuN, rapHnpbl, Cynbl.
IobpeJeHne nocybln3-3a pa3HNuIbI temepaTyp!
Pn NOMEeHn Ha HArpeBaTeIbHyIO nnITy rOpAUXKacTpOJIb nII CNKO BOpOIOK, KOToPbIe TOnBko UTO6bln CHaTbIC KOHΦOpKN, PnHTa BblDnXHOROdyxOBOrO WkaΦa MoKeT NOBpeNTbcr.
ПрждчemCTaBnTb ropayneKaCTpIOnnИNCKOBOPoDKHa HaIarpeBaTeNbHyIOПNTy,IMHEO6xOIMO DaTb OCTblTb.
IpoHbAHne XnKocTei n3 NiueBbIX npOdyKTOB n3-3a nepenonHeHH nocydb!
ИзбeraиTe Upe3МерHOrO HAnOnHeHnTapeNOK, YaWeK, MInCOK N T.П.
HaKpbBaIte NnUeBbIe npOdyKTbl TeNIOyCToUHbIMKpbIShkAMN IIN aIOMHHeBOI OJbroi.
3arpy3ka cTOnOBoN nocydbI nHnueBbIX npOdyKTOB
OTKpoTe BbIDBHXHOJdyXOBOuKaΦ.
IomeCTnte nocyu BHyTpB BblBHXHOrO dYXOBORO kaΦa.
ПовернITE дисковую ручку ретунювки наразва на 6 уровен.
3aKpoIe BbIDBHXHOJyXOBOu KaΦ.
- Ппебарпельно поррейт e BblBnKHOДуховшkaфВ teueHne 10 MInHyT.
OTKpoTe BbIDBHXHOJdyXOBOuKaΦ.
BbIIOXHTe 6JIHOHa npEaBapNTeHbNoDOrpeTuO nocu.
3aKpoIe BbIDBnKHOJyXOBoIuKaΦ.
CnHaJIbHnJaMnA 6yDetCBETNbCra.
TemnepaTpa BHyTpN BbIDBnKHO DyXOBORO shkaΦa 6yJeT NOdEprKnBaTbcr Ha ypOBHe OKoNo 80^ C.
BbIpy3Ka cTOnOBo Nocydbi N BbIKIOueHne BblBnXHO DxyOBOrka
PnCK OXKOrOB n3-3a KOHTaKtac rOpayeH nocydoi!
NobepxHocTb HarpeBaTeIbHOI pJIITbIMoKet 6bITb KpaIHe ropuee. Nocya, pa3MeUeHHaB HnXHeuactn BblDnXHOrO dYXOBOrO uKaΦa, rOpuee, yem Nocya, pa3MeUeHHaCBepxy.
Ipn H3BJIeueHnn CToIIOBOI NocyIbI Heo6xOIMOKaJbI pa3 NOJIb3OBaTbcr TepMOYcTOINHBOITKaHbIO nIIpyKaBnCeI.
OTKpoTe BbIDBHXHOJdyXOBOu KaΦ.
13BleKeNTe MnCKN n CTOnOByIO nocdy c nIuei.
NOBepHnTe DnCKOByO pyuKy peryInpOBKn HarpEba Ha 0 ypoBeHb.
3aKpoIe BbIDBHXHOJ dyXOBO WkaΦ.
IpnroToBneHne npn Hn3Knx Temnepaypax
PnIroTOBHeHne npn Hn3Knx Tempepatypax
NooienTe IJRA FOToBKN BbICOKOKaueCTBeHHbIX MrcHBIX
OTpy6OB Do nepBOr FOToBHOCTN. MxO pni ATOM
6yEt HeXhBM N COuHBM. Bpem O6pa6OTKn IJI
PnIroTOBHeHn PnHn3Knx TEMpepatypax O6bUHO
PpeBbIwaet Bpem TpaINcIOHOrO PnIroTOBHeHn
6liou.
PooxOoJaa nocya
ДлЯ ЭTOМETOДИКN CJIeIyET NOLb3OBaTbc8 COOTBETCTByIOUeIN OcyDoN I3 CTeKna,ФapΦopa HnKepAMNK C KpbIuKOi (HaNPmEp, NocyDoN DnAzeKaHnC KpbIuKO).
CobetbI no npnroTOBneHIO npn Hn3Knx TemnepaTypax
HcnoJb3yIeToJIbKOCBexKHe BBICOKOKaueCTBeHHbleOTpy6blMca.
OctopoKHO ydaIte KnIKn n Knp. B cnyaepnpiroTOBneHn np Hn3Knx TempepaTpyax Knp daet cnIbHbI pe3Kn npNBkyc.
IomeCTnTe TapeKn C MAcOM B BblBnKHOJdyXOBoN WkaΦ Ha 45-60 MNHyT.
YTO6bl npnroTOBHeHoe npn Hn3Knx TemnepaTypax MRCO OCTaBAIOCB rOpAUM, NocJe 3ToI npoPAMMbI rTOBKN Heo6xOIMO ONrTb NOBepHyTB IINCKOByIO pyky peYInpOBKn HArpeBa Ha 5 yPoBeHb.
- Het Heo6xOuMoCTn nepeBopauBaTb MrcO.
-Мясо можно наразу ще по заBEReHnnpiroTOBHeHn npn Hn3Kx TempepaTypax.
-При пrimеондадног Кунарно MeTOДИКВHyTpN MRCOMOKeT 6bITb PO3OBblM. 3To He 3NaHT,чTO MRCO cbIpoe NnN PINOxO nprirotobJeHO.
-Мясо,пригOTOBJIeHHoe пи Hn3Knx TempepaTpax, He HabToIbKO ropayee, KaK MЯсO, KOTOpoe JapNIOcB nII TTyUINOCb TpaIuIcHOBHbIM cNoCo6oM. CoycsblnnnoIbBy cIeJyET noJaBaTb MaKcImaJIbHO ropauHM.
- ManeHbKne KycOuKn Mrca MoXHo NpOOrpeBaTb TaK, YTo6 OHN OCTaBaNcB TropaUM 45 MnHyT, a 6oJIbWne Kyckn - Do 2 yacOB.
Bpem npoxkapn n Bpem rTOBOHOCTH
IIO6bIe HexHbIe KycOuyKn TOBaINHbI, CBINHbI, TeJIaTHbI I bapaHNbI NOxOJr dJa npiroTOBHeHn npN H3KNX TemnepaTypax. BpemHa npoxkapky I rOTOBKy 3aBNCIT OT TOJIuHNbI IN BECa Mra ca.
Bpem npoxkapn COOTBeTCTByeT npoxkapke Mca BpackaJIeHHOM Xnpe Ha cKOBOpOe, NOMEuHHOHa KOHOpKy.
B 3TOM pa3dene ocBeuHbI HeNCnpaBHOCTN, KOToPbE MoKHO yCTpaHtB, pOcTO BblONHra PnIBeEHhIE HnCTpyKUHN. EcNI pN tOM nOBnRETCa Dpyra HeNCpapBHOCTb Nn ecNI HeNCpapBHOCTb He ydaetcay YcTpaHtB, o6paTntecb B ceHTp KJIHeHTCKOTO O6CnyKBAHn.
Iocya nn nueBbI npOyKtbi OCTaOTcXoJOnHbIMN
BbDnKHOJdyXOBOu KaΦ He BkIoueH.
BkIIOUHTe npi6Op.
Ipebeo nHTaHn 3JKeKTPnueCKnM TOKOM.
PpOBepeTe COCToHHe NITaHnE 3JIeKTpueeCKm TOKOM.
BbINHNOIyXOBIOHKaΦ He 3akpyT HAnEkaM o6pa3OM.
3aKpoIe BbIDBHXHOJyXOBOu KaΦ.
Iocya nn nueBbI npOyKtbn porpeBaOTc HnOCTaTOUHO
CnHsKOM MaJr dNITeNbHOCTb HaPpeBa.
YBeNnUyTe JInnteHbHOCTb HArpeBa.
BbINHHoJdyXOBOIkaΦHe3aKpbITHaJIeKaUIM 06pa3OM.
3aKpoIe BbIDBHXHOJ dyXOBO WkaΦ.
CnHaJIbHnaIaMna Muraet noCne 3aKpbITnBblBnXHOrO dyXOBOro wkαfa
BbIbNtHOn DyXOBoI uKaΦ He 3aKpbT HaJIeKaIIM o6pa3OM.
3aKpoIe BbIDBHXHOJdyXOBO WkaΦ.
CnHaBna naMa 6bIcTpo Mraet nocne 3aKpbITNa BblBnxHoro DyXOBOro WkaΦa
HeuCnpaBHOCTb yCTpoiCTBa.
06paTntecbBueHTpKInHeNTCKOTo6cnyKnBaHna.
BbDnXHOn dYxOBoI kKaΦ pa6oTaET HaJIeKAsIM O6pa3OM, OndaKO cHHaJIbHaJ IaMna He CBETcH HenpepbIBHO Hm Muraet.
Depekthna lamna.
06paTnTeCbBueHTpKIneHTCKOTo 06cnyKuBaHna.
OuNTKA IYXoI
Ipeen ounctko n IIObIM o6cnykBaHneM yCTpoiCTBa Heo6xoDIMO:
OTKJIIOHTbYCTPOHCTBO.
Y6eHtbc8, yTO nCKOBa pyka peylnpOBKn HarpBa nepeBedeHa Ha 0 ypOBeHb.
N3BneueHne BbIDBHXHOryXOBORO ⅢkaΦa
IyuyuHnOuNcTKn IyxOa BbIDBHXHO JyXOBn KkaMOxHO NlHOCTbIO DOCTaTb N3 KOpnyca.
OTKPOIe BbIDBHXHOJdyXOBO WkaΦ.
BbIKpyTnTE BnHTbIC KaKdoCTopoHbI Kopnyca.
BbITAHTE BbIDBnKHOJ DyXOBOu KaΦ n NOMeCTHTe eRo HA TBepDyIO NOBepxHOCtB.
OuNCTKa BHeuHnx NOBepxHOCTeI
HemeIeHHo ydaIte BCE octaTKn rpa3n nn MOIOUeO pactbopa.
OuHCTnTe NOBepxHOCTM MfKoN TKaHbIO, CMOueHHo B BOe C IO6abNeHem He60JIbWoTO KOINueCTBa CpEiCTBa IIN MaITbI NOCybl.
ДлЯmetаллнuecknx nobepxHocte:Пртпаite NOBepxHOCTbNoHaNPaBJIeHNIOOpnIHNaIbHbIX LINHIN NOINPOBKN.
Ptoptte NOBepxHocTH Docyxa MraKoT KaHbIO.
OuHCTka HArpeBaTeJbHOI NHTbI
YnCTHHe HArpeBaTeBHyIO PnHTy TeNIOB ODoON Cdo6aBJIeHNEm He6OJIbIwO KOINueCTBa MOIOUeero CpeDCTBa.
O6CnYxNBAHHe N PeMOnT
HepaBnIbHbIpeMOHTMOKeT npINBeCTN K cepbe3HbIM TpaBMam, NOBpeJdeHIO yCTpOiCTBa H 3JIeMeHToB fypHNTpybl, OH TaKxE MoKeT OTpuCaTeMbHO NOBnIaTb Ha paBoTy yCTpoiCTBa.
O6cnykBaHne 3JKeKtpnuecknx KOMNoHETOB CJeNyET IOBepaTb TOnbKO PpeICTabNTeJAM PpOu3BOUInTeJI NII UeHTpa KJIHeHTCKO IOpDnepxKn.
Повржденныкави можетЗаменть NCKNIOUHTeJIbHOпpeДCTaBHTeЛь пОИЗВОДNTeJIЯ NNI ueHTpa KIneHTCKO NOДDEpЖК.
YTNIN3AuHЯ

TOT CUMBOJ Ha H3delen HnHa eO ynapOBKe O3HauaET, YTO yCTpoiCTBO He NOJIeXHT yTIIN3aUN BmEcTe C 6bIToBbIMN OTXoAMN.
HaJIeKaIaIyTnIIN3aIyUcTpOInCTBa NOMoRaET
H36eRtB OTPuIateIbHbIX NocIeIcTBn IJRA
OKpyKaIOSe CpeDbI N 3OpOBBy IIOJeI.
IJa IOnyuEHH6 BoIee NOpPo6hIX CBeDeHn O
BToPunHn Nepepa6OTKe UcTpOInCTBa ObaPaauTeCb
B yNoIHNOMouEHbI OPraH, MeCTHyIO Cnyk6y
yTnIIN3aIIN OTXODOB INN K NOCTABUINKy UcTpOInCTBa.
Ytunn3npyIte yctpoiCTBO Ha cneuaHOM nyHKTe c6opa Mycopa IJIA 3eKtpoHHbIX IN 3eKtpuuecknx yctpoiCTB.
KnHeHTCKOe O6CnYxINBAHNe
Ha o6paTHoI cTpaHnue HacToaIe rO nocobna, a TAKKe Ha caIte www.franke.com yka3aH
KoHTaKTbIy aIpec ceHTpa KJIneHTCKOJ NOndepxKN B BaWei CTpaHe.
TeXHnueCKHe DAHHbIe
BHeuHne pa3Mepe / əJIeKtpnueckne npaMeTpbl:
CM. TINOBYIO Ta6NIuKy (1), npKpeHnEHHyIO K n3JeNIO.
Bolee noipo6HbIe texHueckne daHHbIe MOxHO nOlyuHTb Ha caIte:
- www.franke.com

iCInDeKILer
Bu kilavuz hakkinda 184
Kullanim amaci 184
6A6A,6B,7C4A,4B,6C,1D,1E
操作
电暖抽屉多种用途列表
温度 食物/碗碟 备注
Franke Kindred Canada Limited
Midland, ON L4R 4K9
Phone +1 705 526 5427
Czech Republic
Franke s.r.o.
190 00 Praha 9
Phone +420 281 090 411
Denmark
Franke Kitchen Systems Denmark
8520 Lystrup
Phone +45 8624 9024
Egypt
Franke Kitchen Systems Egypt S.A.E.
6th of October City
Phone +202 3828 0000
Finland
Franke Finland Oy
76850 Naarajärvi
Phone +358 15 341 11
France
Franke France S.A.S.
60230 Chambly
Phone +33 130 289 400
Germany
Franke GmbH
79713 Bad Säckingen
Phone +49 7761 520
Greece
Franke Hellas S.A.
19003 Markopoulos Attikis (Athens)
Phone +30 22991 500 00
Hong Kong SAR
Franke Asia Hong Kong Office
Causeway Bay
India
Franke Faber India Limited
Aurangabad-431136
Phone +91 240 2556697/98
Italy
Franke S.p.A.
37019 Peschiera del Garda
Phone +39 045 644 9311
Kazakhstan
Franke Kazakhstan Ltd.
040918 Almaty City
Phone +7 727 297 3812
Morocco
Franke Kitchen System SARL
21 000 Casablanca
Phone +212 522 674 200
Norway
Franke Kitchen Systems Norway
8520 Lystrup, Denmark
Phone +47 35 566 450
P.R. China
Franke (China) Kitchen Systems Co., Ltd.
Heshan, Guangdong, 529700
Phone +86 750 841 9288
Shanghai office +86 215 150 6715
Poland
Franke Polska Sp. z o.o.
05-090 Raszyn
Phone +48 227116700
Portugal
Franke Portugal S.A.
2735-531 Cacém
Phone +351 21 426 9670
Romania
Franke Romania SRL
Pantelimon 077145
Phone +40 21 350 1550
Russia
Franke Russia GmbH
199106 St. Petersburg
Phone +7 812 703 1503
Singapore
Franke Singapore Pte. Ltd.
068811 Singapore
Phone +65 67095608
Slovak Republic
Franke Slovakia s.r.o.
010 01 Zilina
South Africa
Franke Kitchen Systems (Pty.) Ltd.
Durban 4052
Phone +27 31 450 6300
Spain
United Arab Emirates
Franke LLC
Ras Al Khaimah
Phone +971 7 203 4700
United Kingdom
Franke UK Ltd.
Manchester M22 5WB
Phone +44 161 436 6280
USA
Franke Kitchen Systems
Smyrna, TN 37167
EasyManual