FS DRW 14 - Cassetti e armadi riscaldati FRANKE - Manuale utente e istruzioni gratuiti
Trova gratuitamente il manuale del dispositivo FS DRW 14 FRANKE in formato PDF.
Domande frequenti - FS DRW 14 FRANKE
Domande degli utenti su FS DRW 14 FRANKE
0 domanda su questo apparecchio. Rispondi a quelle che conosci o fai la tua.
Fai una nuova domanda su questo apparecchio
Scarica le istruzioni per il tuo Cassetti e armadi riscaldati in formato PDF gratuitamente! Trova il tuo manuale FS DRW 14 - FRANKE e riprendi in mano il tuo dispositivo elettronico. In questa pagina sono pubblicati tutti i documenti necessari per l'utilizzo del tuo dispositivo. FS DRW 14 del marchio FRANKE.
MANUALE UTENTE FS DRW 14 FRANKE
Informazioni sul libretto di uso 44
Utilizzo 44
Informazioni per la sicurezza 45
Vista d'insieme 46
Esempi di caricamento 47
Funzionamento 47
Elenco dei vari utilizzi del cassetto scaldavivande 47
Preriscaldamento delle stoviglie 48
Mantenimento in caldo del cibo 48
Cottura a bassa temperatura 49
Risoluzione dei problemi 50
Pulizia e cura 50
Estrazione del cassetto 50
Pulizia dell'esterno 50
Pulizia della piastra riscaldante 50
Manutenzione e riparazione 51
Smaltimento 51
Servizio di assistenza 51
Dati tecnici 51
InformaZlonI SUL LIBreTTo DI USo
Questo libretto di uso è valido per diversi modelli del disposativo. è quindi possibile che alcune delle caratteristiche e funzioni qui descripte non siano disponibili nel modello specifico acquistato.
- Leggere attendamente il libretto di uso prima di utilizzato il dispositivo.
Conservare il libretto di uso.
Utilizzare il dispositivo descritto in quello libretto di uso solo conformamente all'uso previsto.
Simbolo Significato

Avviso di pericol. Avviso di pericolò di lesionsi.
Azioni in sicurezza e awertenze per evitare lesioni o danni.
Azione. Specifica un'azione che deve essere compiuta.
Risultato. Risultato di una o più azioni.

Presupposto che deve essere soddisfatto prima di eseguire l'azione successiva.
UTILIZZo
Il cassetto scaldavivande è stato progettato esclusivamente per uso domestico per la preparazione di cibi.
Il cassetto scaldavivande può essere utilizzato per cucinare a bassa temperatura, per tener il cibo in caldo o per preriscaldare le stoviglie.
Non usare il cassetto scaldavivande per asciugare animali, tessuti o carta.
Nonutilizzareilcassettoscaldavivandeperscaldared'ambiente.
Prima di chiudere il cassetto scaldavivande, accertarsi che all'interno non vi siano animali ne oggetti sensibili al calorie che potrebbero restare danneggiati.
Non conservare cibo nel cassetto scaldavivande, né qualiasi materiale sensibile alla temperatura o inflammabile, tipo detergenti, spray perorno ecc.
InformaZlonl Per La SlcUreZZa
Il produttore non risponde dei danni che possono verificarsi a causa di un'installazione non corretta e di un utilizzo del disposativo non corretto, non adeguato o irragionevole.
Il cassetto scaldavivande non può sostenere carichi pesanti.
Non salire, non stare in piedi né sedersi sul cassetto scaldavivande.
Danni all'apparecchio provocati dal sovraccarico!
Il carico massimo sostinabile dal cassetto è 25kg . Un carico di peso superiore danneggerà il cassetto scaldavivande.
Non collocare oggetti pesanti nel cassetto scaldavivande.
I bambini e persone con capacité fisiche, sensoriali o mentali limitate o con esperienza o conoscenza limitate non possono utilizzato né pulire il dispositivo, tranne nel caso in cui siano sorvegliati e struiti da una persona responsabile della loro sicurezza. Bambini di età inferiore a 8 anni non possono utilizzato né pulire il dispositivoanche se sorvegliati. Questo dispositivo non è un giocattolo.
Tenere il dispositorio e il materiale di imballaggio lontani alla portata dei bambini.
Non lasciare bambini incustoditi nelle vicinanze del dispositivo.
Non consentire ai bambini di giocare con il dispositivo.
! Rischio di scossa elettrica a causa del dispositivo danneggiato!
Se la piastra riscaldante presente fratture, difetti o incrinature, il dispositivo è danneggiato.
Non accendere un dispositivo danneggiato.
Disattivare il fusabile nella scatola dei fusibili.
Contattare il servizio di assistenza.
Rischio di scossa elettrica a causa della penetrazione di liquidi!
Il dispositivo contiene componenti elettrici.
Accertarsi che non penetrino liquidi all'interno del dispositivo.
Nonutilizzarevaporepressurizzato per pulire il dispositivo.
Nonutilizzare un panno umido per pulire gli elementi di dato.
Pericolo di uszioni a causa di superfici ad alte temperature!
La piatra riscaldante del cassetto scaldavivande cui raggiungere temperature molto elevate. La piatra riscaldante resta calda per quale tempo dopo essere stata spenta e si raffredda fino a temperatura ambiente solo molto lentamente.
Non toccare le superfici calde.
Prestare molta attenzione nell'apertura e nella chiusura del cassetto scaldavivande.
Indossare guanti resistenti al calorie.
Prima di pulire il dispositorio, attendere che si sia raffreddato.
! Rischio di incendio!
Non conservare mai contentitori di plastica infiammabile all'interno del dispositivo.
Se si osserva del fumo provenire dal cassetto riscaldante o dal suo interno:
Tenere chiuso il cassetto scaldavivande.
Disattivare il fusabile nella scatola dei fusibili.
Lasciare raffreddare completeness il cassetto scaldavivande.
Aprire il cassetto scaldavivande e verificare i uomini.
Se in dubbio, non utilizzato il cassetto scaldavivande.
Danni ai piatti per via della differenza di temperatura!
Tegami o padelle calde posati sulla piatra riscaldante direttamente dal fornello possono provocare danni alla piatra stessa.
Lasciare raffreddare i tegami o le padelle calde prima di posizionarli sulla piastra riscaldante.
VISTa D'InSleme


1 Piastra riscaldante
2 Ventola ed elemento riscaldante
3 Indicatore di funzionamento
4 Manopola di comando
5 Luce pilota
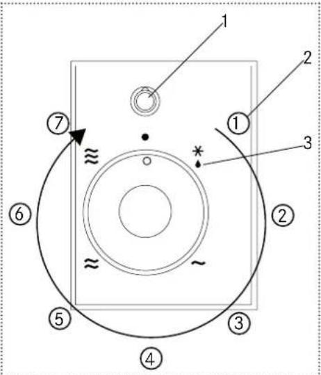
Manopola di comando
1 Indicatore di funzionamento
2Numero livello
3 Simbolo livello
| Simbolo | Livello | Temperatura | Funzione |
| ● | -0 °C Off/spegnimento | ||
| * | ① | Scongelamento, lievitazione di impasti con lievito | |
| ▲ | ② | 40 °C | |
| ~ | ③ | Scongelamento, preriscaldamento piatti, mantenimento di pane in caldo | |
| ④ | |||
| ≈ | ⑤ | 60 °C | Mantenimento in caldo di cibi |
| ⑥ | 80 °C | ||
| ≈ | ⑦ | 80°C+ Preriscaldamento di stoviglie | |
Le temperature sono riferite alla superficie della piatra riscaldante con il cassetto scaldavivande vuoto. Le misurazioni effettuate dall'utente possono essere imprecise e non sono idonee a verificare l'accuratezza della temperatura. Il cassetto riscaldante si riscalda solo quando è correttamente chiuso.
Esempi di caricamento
-A Piatto 24 cm
B Piatto fondo 23 cm
- C Tazza 9 cm
D Piattino 17 cm
-E Piattino 19 cm

Piatti da portata
Stoviglie base per coperto
Stoviglie complete e piatti da portata
Esembio


Piatti 6 A 6 A, 6 B, 7 C 4 A, 4 B, 6 C, 1 D, 1 E
fUnZlonamenTo
Elenco dei vari utilizi del cassetto scaldavivande
| Temperatura Cibo/piatti Osservazioni | ||
| ca. 40 °C | - Cibi surgelati, per es. torte alla crema, burro, salsicce, formaggio | - Scongelamento |
| - Per lasciare riposare gli impasti livvitati | - Coprire, se possibile su un piatto piano | |
| ca. 60 °C | - Cibi surgelati, per es. carne, torte, pane | - Scongelamento |
| - Per tenere in caldo uova, per es. uova sode, uova strapazzate | - Preriscaldare il piatto o il contentatore, coprire il cibo | |
| - Per tenere in caldo il pane, per es. pane tostato, panini | - Preriscaldare il piatto o il contentatore, coprire il cibo | |
| - Preriscaldamento di contentitori per bere | - Per es. tazzine da caffe | |
| - Per tenere in caldo cibi delicati, per es. carne cotta a bassa temperatura | - Coprire i piatti | |
| ca. 80 °C | - Mantenimento in caldo di cibi | - Preriscaldare il piatto o il contentatore, coprire il cibo |
| - Mantenimento in caldo di bevande | - Preriscaldare il contentatore, coprire la bevanda | |
| - Riscaldamento di piatti a base di pastella, per es. crespelle, tacos e omelette | - Preriscaldare il piatto o il contentatore, coprire il cibo | |
| - Riscaldamento di pan di Spagna, per es. crumble, muffin | - Preriscaldare il piatto o il contentatore, coprire il cibo | |
| - Per fondere il cioccolato da cucina o la glassa di cioccolato | - Preriscaldare il contentatore, spezzare il cioccolato in piccoli pezzi | |
| - Per scogiere la gelatina | - Non coprire, tempo necessario ca. 20 minuti | |
Preriscaldamento delle stoviglie
Durata del preriscaldamento
La durata del preriscaldamento dipende dal materiale e dallo spessore dei piatti, nonché alla loro quantità altezza e disposizione. I piatti impilati uno sull'altro impiegano più tempo a riscaldarsi dei singoli piatti. Occorroono all'incirca 45-60 minuti per preriscaldare le stoviglie necessarie per i coperti per 6 personne.

Pericolo di ustioni!
Le stoviglie utilizzate per bere divertano molto calde se riscaldate al livello 5.
Non superare il livello 4 per riscaldare le stoviglie utilizzate per bere, come per es. le tazzine da caffe.
Caricamento delle stoviglie
Apriere il cassetto scaldavivande.
- Posizione i piatti nel cassetto distribuendoli sull'intera superficie.
- Ruotare la manopola di lavoro fino al livello 2 (o al livello indicate nella tabella precedente).
- Per le stoviglie utilizzate per bere, impostare la manopola di lavoro sul livello 3.
La luce pilota si accende.
Chidere il cassetto.
La luce pilota si accende.
Il dispositivo si riscalda.
Estrazione delle stoviglie e spegnimento del cassetto scaldavivande

Pericolo di uszioni per via dei piatti caldi!
La superficie della piastra riscaldante cui raggiungere temperature molto elevate. Gli articoli sul fondo del cassetto divertano più caldi di quelli situati più in alto.
Utilizzato sempre un canovaccio o un quanto resistenti al calore per estrarre le stoviglie.
Apriere il cassetto scaldavivande.
Rimuovere i piatti e le altre stoviglie
▶ Ruotare la manopola di comando sul livello 0.
Chidere il cassetto scaldavivande.
Mantenimento in caldo del cibo
Quando si mantiene in caldo il cibo, si consiglia di non lasciarlo nel cassetto scaldavivande per più di un'ora.
E possible mantenere in caldo i seguenti cibi:
- Carne, pollame, pesce, salse, verdure, contorni, minestre
Danni ai piatti per via della differenza di temperatura!
Tegami o padelle calde posati sulla piatra riscaldante direttamente dal fornello possono provocare danni alla piatra stessa.
Lasciare raffreddare i tegami o le padelle calde prima di posizionarli sulla piatra riscaldante.
Versamento di cibi nel cassetto per via di contentitori troppo pieni!
Evitare di riempire eccessivamente piatti, tazze, ecc.
Coprire il cibo con un coperchio resistente al calore o con la pellicola di alluminio.
Caricamento delle stoviglie e del cibo
Apriere il cassetto scaldavivande.
Posizionare i piatti nel cassetto.
▶ Ruotare la manopola di lavoro sul livello 6.
- Chiudere il cassetto.
Preriscaldare il cassetto scaldavivande per 10 minuti.
Apriere l cassetto scaldavivande.
Disporre il cibo nei piatti preriscaldati.
Chiudere il cassetto.
La luce pilota si accende.
La temperatura all'interno del cassetto è di ca. 80^
Estrazione delle stoviglie e spegnimento del cassetto scaldavivande

Pericolo di ustioni per via dei piatti caldi!
La superficie della piastra riscaldante cui raggiungere temperature molto elevate. Gli articoli sul fondo del cassetto divertano più caldi di quelli situati più in alto.
Utilizzato sempre un canovaccio o un dato resistenti al calore per estrarre le stoviglie.
Apriere l cassetto scaldavivande.
Estrarre i piatti e le stoviglie contenti il cibo.
▶ Ruotare la manopola di lavoro sul livello 0.
Chidere il cassetto scaldavivande.
Cottura a bassa temperatura
La cottura a bassa temperatura è un metod per cuocere tagli di carne di alta qualità fino alla cottura completa: in quello modo la carne resta tenera e succulenta. I tempi di cottura del metod a bassa temperatura sono più lunghi di quelli della cottura tradizionale.
Piatti e stoviglie adatti
Utilizzare piatti e stoviglie in vetro, porcellana o ceramicica con un coperchio (per es. piatti gratin con coperchio).
Consigli per la cottura a bassa temperatura
Utilizzare unicamente tagli di carne freschi di alta qualità.
Eliminare accuramente nervi e grasso. Con la cottura a bassa temperatura il grasso sviluppa un sapore caratteristico molto intenso.
Posizione are piatti nel cassetto scaldavivande insieme alla carne per gli ultimi 45-60 minuti.
Per mantenere calda la carne cotta a bassa temperatura, dopo la cottura riportare la manopola di lavoro sul livello 5.
- Non è necessario girare la carne.
- La carne può essere affettata subito durante la cottura a bassa temperatura perché rispetto un tempo di riposo.
- Con quello metododi cottura, la carne più rimanere rosa all'interno. Ciò non significica che sia cruda o non correttamente cotta.
- La carne cotta a bassa temperatura non è calda come la carne arrostita o brasata nel modo tradizione. Le salse o gli intingoli devono quando essere serviti molto caldi.
- I pezzi di carne più piccoli possono essere mantenuti in caldo fino a 45 minuti, i pezzi più grandi fino a 2 ore.
Tempi di scottatura e di completeness
Tutte le parti più tenere di manzo, maiale, vitello e agnello sono adatte alla cottura a bassa temperatura. I tempi di scottatura e di cottura dipendono dallo spessore e dal peso della carne.
Il tempo di scottatura si riferisce alla „sigillatura“ della carne a fuoco vivo con olio o burro, ecc. caldi in un tegame sul fornello.
| Dimensione piatto Completamento sul fornello | Completamento nel cassetto scaldavivande | |
| Piccolo | ||
| Piccole scaloppine 1-3 min su tutti i lati 30-50 min | ||
| Bistecche 1-2 min per lato 40-60 min | ||
| Medio | ||
| Filetto di maiale (ca. 500 g) | 4-5 min su tutti i lati | 75-120 min |
| Lombata di maiale (ca. 250 g) | 2-3 min per lato | 60 min |
| Controgirello di manzo o vitello, lombo di maiale, filetto di manzo o maiale (fino a 900 g max) | 10-15 min su tutti i lati | 120-240 min |
| Grande | ||
| Filetto di manzo, controgirello di vitello, scamone, taglio di carne (a partire da 900 g) | 10-15 min su tutti i lati | 180-270 min |
| Arrostoto di manzo (1-2 kg) | 10 min su tutti i lati | 210-300 min |
IT
- Preriscaldare il cassetto scaldavivande contente il piatto o il contentatore che si desidera utilizzato al livello 2.
Scaldare velocemente un po' di olio, burro, ecc. in un tetgame. - Scottare la carne ad alta temperatura e collocarla immediamente nel piatto o contentatore preriscaldato.
Coprire con un coperchio.
Collocare il piatto o il contentatore con la carne nuovamente nel cassetto scaldavivande e cuocere finché la carne non sare tenera.
▶ Ruotare la manopola di lavoro sul livello 6.
rIsoLUZlone Del ProBLeml
Questo capitolo riporta i guasti che possono essere risolti simplicamente seguendo le istruzioni fornite. Se si riscontra un guasto diverso oppure non si riesce a porre rimedio al guasto, si prega di contattare il Servizio di assistenza.
I piatti o il cibo restano freddi
Il cassetto scaldavivande non è acceso.
Accendere il dispositivo.
Interruzione dell'alimentazione di corrente.
Controllare l'alimentazione di corrente.
Il cassetto non è chiuso correttamente.
Chidere il cassetto.
I piatti o il cibo non sono sufficientemente caldi Durata del riscaldamento troppo breve.
Aumentare il tempo di riscaldamento.
Il cassetto non è chiuso correttamente.
Chiudere il cassetto.
La luce pilota lampeggia con il cassetto chiuso Il cassetto non è chiuso correttamente.
Chidere il cassetto.
La lampada pilota lampeggia velocemente con il cassetto chiuso
Malfunzionamento del dispositivo.
Contattare il servizio di assistenza.
Il cassetto scaldavivande funzione, ma la luce pilota non resta accesa in continuo oppure lampeggia.
Lampada difettosa.
Contattare il servizio di assistenza.
PULIZla e cUra
Prima di effettuare qualsiasi intervento di pulizia e cura:
Specnere il dispositivo.
Accertarsi che la manopola di lavoro sia impostata su 0.
Estrazione del cassetto
Per una migliorie pulizia, è possible rimuovere il cassetto completo dall'alloggiamento.
Apire il cassetto.
Svitare le viti sui due lati dell'alloggiamento.
Estrarre il cassetto e posizionarlo su una superficie solida.
Pulizia dell'esterno
- Eliminare subito lo sporco o la soluzione detergente.
▶ Pulire le superfici con un panno morbido inumidito con acqua e un po' di detersivo liquido per i piatti.
Per le superfici metalliche: Strofinare nella direzione delle linee di lucidatura originali.
Asciuagare con un panno morbido.
Pulizia della piastra riscaldante
▶ Pulire la piastra riscaldante con acqua calda e un po' di detersivo.
manUTenZlone e rIParaZlone
Se eseguite in modo non corretto, le riparazioni possono provocare gravi lesioni, danni al dispositivo eagli accessori e promiettere il funzionamento del dispositivo.
Accertarsi che la manutenzione dei componenti elettrici sua effettuata unicamente dal produttore o dal servizio di assistenza.
Assicurarsi che i cavi danneggiati siano sostituiti unicamente dal produttore o dal servizio di assistenza.
SmaLTImenTo

Questo symbolo sul prodotto o sulla confezione indica che il dispositivo non deve essere smaltito con i normali rifiuti domestici.
Lo smaltimento adeguato del dispositivo contribuisce a evitare consequences dannose per l'ambiente e la salute.
Maggiori informazioni sul ricericlaggio del dispositoro possono essere ottenute dall'autorità competente, dal servizio di smaltimento rifiuti locale o dal fornitore del dispositorio.
Smaltire il dispositivo presso un punto di raccolta rifiuti specializzato per dispositivi elettrici ed elettronici.
SerVIZlo DI aSSISTenZa
Contattare I'indirizzo per il proprio paese riportato sul retro o sul sito www.franke.com
DaTI Tecnlcl
Dimensioni esterne/dati elettrici:
- Consultare la targhetto di identificazione (1) applicata sul prodotto.
Maggiori informazioni sui dati tecnici sono disponibili sul dato:
- www.franke.com

ManualeFacile