FS DRW 14 - Opvarmede skuffer og skabe FRANKE - Gratis brugsanvisning og manual
Find enhedens vejledning gratis FS DRW 14 FRANKE i PDF-format.
Ofte stillede spørgsmål - FS DRW 14 FRANKE
Brugerspørgsmål om FS DRW 14 FRANKE
0 spørgsmål om dette apparat. Besvar dem du kender, eller stil dit eget.
Stil et nyt spørgsmål om dette apparat
Download vejledningen til din Opvarmede skuffer og skabe i PDF-format gratis! Find din vejledning FS DRW 14 - FRANKE og tag din elektroniske enhed tilbage i hånden. På denne side er alle dokumenter nødvendige for brugen af din enhed offentliggjort. FS DRW 14 af mærket FRANKE.
BRUGSANVISNING FS DRW 14 FRANKE
Tilsigtet anvendelse 84
Sikkerhedsoplysninger 85
Oversigt 86
Eksempler pà isætning 87
Bettjing 87
Liste over varmeskuffens forskellige anvendelser 87
Forvarmning af service 88
Hold maden varm 88
Madlavning ved lav temperatur 89
Fejlfinding 90
Rengoring og pleje 90
Sadan fjernes skuffen 90
Sadan udfores udvendig rengoring 90
Sadan rengores varmepladen 90
Denne brugervejledning gelder for flere Produktmodeller. Det er derfor muligt, at nogle af de beskrevne Funktioner ikke er gældende for din specifikke model.
Laes brugervejledningen grundigt, for du bruger enheden.
Gem brugervejledningen.
▶ Brug udelukkende enheden, som er beskrevet iijke brugervejledning, til den tilsigtede anvendelse.
Symbol Betydning

Advarselssymbol. Advarsel om risiko for personskade.
Handlinger i sikkerheds- og advardsbemærkninger for at undgå personskade ellerprodukskade.
▶ Handlingstrin. Angiver en handling, der skal udfores.
Resultat. Resultat af et uller flere handlingstrin.
Forudsætning, der skal opfyldes, ffor følgende handling kan udfores.
TILSIGTeT anVenDeLSe
Varmeskuffen er udviklet udelukkende til tilberedning af mad til husholdningsbrug.
Varmeskuffen kan bruges til madlavning ved lave temperaturer, til at holde maden verm eller til at opvarme service.
Varmeskuffen må ikke anvendes til at tøre dyr, tekstiler eller papir.
Varmeskuffen mä ikke anvendes som rumopvarmer.
For varmeskaffen lukkes, skal man sikre, at der ici er nogen kaeledyr aller andre genstande, der kan vare varmefolsomme aller som kan blive beskadiget.
Der må ikke opbevares madvarer eller temperaturføl somme eller brændbare materialer f.eks. rengøringsmidler, ovnspraymidler osv. i varmeskuffen.
Producenten er ikke ansvarlig for eventuelle skader, der kan opstå som fjle af forkert montering og forkert, ukorrekt eller urimelig anvendelse af enheden.
Varmeskuffen kan/DD ke klare tungbe belastninger.
Man mä ikke kravle op på, stå på eller sidde på varmeskuffen.
Der kan ske skade pa enheden pga. overbelastning!
Den maksimale skuffebelastning er 25kg .Hvis man oversiger belastningsvægten, kan der ske skade pa varmeskuffen.
Anbring ikke tunge genstande i varmeskuffen.
Børn og personer med begrænsede fysiske, motoriske eller mentale evner eller med begrænset erfaring eller kendskap på ikke bruge eller rengore encheden, undtagen hijs de supervisereres og instrueres af en person med ansvar for deres sikkerhed.
Børn under 8 År må ikke bruge eller rengore
enheden, selvom de bliver superviseret.
Denne encheder er ikke et legetoj.
Hold boern væk fra enheden og emballeringsmaterialiet.
Efterlad aldrig boRN uden opsyn i nærheden af enheden.
Lad ikke boːn lege med enheden.

Risiko for elektrisk stød, hvis enheden er diget!
Hvis der er brud, fejl eller revner i varmepladen, er enheden beskadiget.
Tend畸形的定义
Sluk for sikringen i sikringsskabet.
Kontakt kundeservice.

Risiko for elektrisk stød, hvis derkommen. Be ind i enheden!
Enheden indeholder elektriske componenter.
Sorg for, at der/DDke kOMmer vAske ind i enheden.
Anvend ikke damp under tryk til at rengøre enheden.
Anvend ikke en våd klud til at rengør betjeningselementerne.

Risiko for forbstrandinger pga. varmeader!
Varmeskuffens varmeplade kan blive meget varm.
Varmepladen vil vare varm et stykke tid after,
at den er blevet slukket, og afkøles langsomt til stuetemperatur.
Rr畸形 de varme overflader.
Vær forsigtig, nár du abner eller lukker varmeskuffen.
Baer varmebestandige handsker.
Giv enheden tilstrækkelig tid til kole af, for den rengøres.

Brandfare!
Opbevar aldrig brændbare plastikbeholderere ienheden.
Hvis du opdager, at der muligvis kommt røg fra delve varmeskuffen eller indefra skuffen:
Hold varmeskuffen lukket.
Sluk for sikringen i sikringssskabet.
Lad varmeskuffen kole helt af.
Abn varmeskuffen, og undersog den for skader.
Hvis du er i tvivl, sa lad vare med at bruge varmeskuifen.
Skade på service pga. temperaturforskel!
Hvis du anbringer varme gryder eller pander direkte fra kogepladen til varmepladen i varmeskuffen, kan den blive beskadiget.
Lad varme gryder eller pander kole af, for de anbringes pa varmepladen.
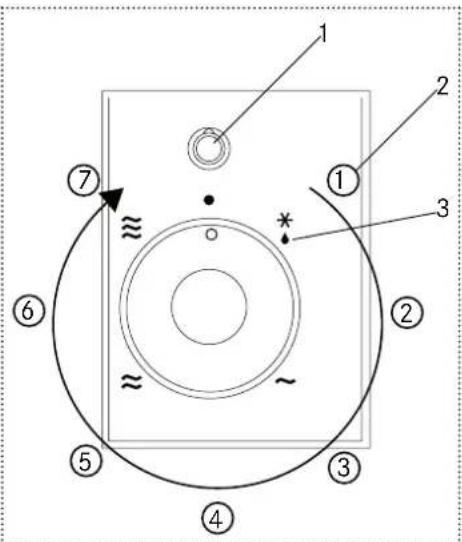
oVerSIGT


1 Varmeplade
2 Blaeser og varmedel
3 Driftsindikator
4 Betjeningsknap
5 Pilotlampe
Betjeningsknap
1 Driftsindikator
2 Niveaunummer
3 Niveauikon
| Ikon Niveau Temperatur Funktion | ||
| ● | -0 °C Fra | |
| * | ① | |
| ◆ | ② | 40 °C |
| ● | ③ | |
| ● | ④ | |
| ≈ | ⑤ | 60 °C |
| ⑥ | Hold mad varm | |
| ≈ | ⑦ | 80 °C+ Forvarmning af fajance |
Temperatures refererettilvarmepladensoverflade,
nár varmeskuffen er tom. Egne málinger kan
temperaturenogjagtigt.
Varmeskuffen bliver kun varm, hvis skuffen er lukket
korrekt.
Eksempler på isætning
-A Tallerken 24~cm
-B Suppetallerken 23~cm
- C Kop 9 cm
- D Skal 17 cm
- Eskai 19 cm

Middagstallerkner Almindelig middagsservice Fuld service og serveringservice
Eksempel


Service 6 A 6 A, 6 B, 7 C 4 A, 4 B, 6 C, 1 D, 1 E
BeTJenInG
Liste over varmeskuffens forskellige anvendelser
| Temperatur | Mad/service | Bemærkninger |
| ca. 40 °C | - Frossen mad, f.eks. flødekager, smør, pølser, ost | - Optø |
| - Lad hævetøj hvile | - Tildæk, om muligt på en flad tallerken | |
| ca. 60 °C | - Frossen mad, f.eks. kød, kager, brød | - Optø |
| - Hold øg varme, f.eks.Hardkogte æg, røræg | - Forvarm service, tildæk mad | |
| - Hold brød varmt, f.eks. ristet brød, boller | - Forvarm service, tildæk mad | |
| - Forvarmning af kopper | - F.eks. pressokopper | |
| - Hold delikat mad varm, f.eks. kød tilberedt ved lav temperatur | - Tildæk service | |
| ca. 80 °C | - Hold mad varm | - Forvarm service, tildæk mad |
| - Hold drikkevarer varme | - Forvarm service, tildæk drikkevarer | |
| - Opvarmning af flade, dejbaserede madvarer, f.eks. pandekager, tacos og omeletter | - Forvarm service, tildæk mad | |
| - Opvarmning af sandkage, f.eks. smuldrekage, muffins | - Forvarm service, tildæk mad | |
| - Smelting af kogechokolade eller chokoladeovertræk | - Forvarm service, del mad op i minde stykker | |
| - Opløsning af gelatine | - Tildæk ikke, tager ca. 20 minutter |
Forvarmning af service
Varighed af forvarmning
Forvarmningens varighed afhanger af materialet og hvor tykke tallerkenerne er samt deres kvalitet, hjoje og placering.Det tager laengere tid at opvarme stablede tallerkner end individuelle genstande. Det tager ca.45-60 minutter at forvarme service til 6 personer.

Fare for forbrændinger!
Kopper bliver meget varme ved indstilling til niveau 5.
Overstig ikke indstellingsniveau 4 til opvarmning af kopper, f.eks. effskopper.
Isætning af service
Abn varmeskuffen.
Anbring skåle i skuffen, og fordel dem over—hele overfladen.
- Drej betjeningsknappen tiliveau 2 (eller til det niveau,der svarer til ovenstaende tabel). -Drej betjeningsknappen tiliveau 3 til kopper.
Pilotlampen lyser.
Luk skuffen.
Pilotlampen lyser.
Enheden varmer op.
Afsæting af service og slukning af varmeskuffen

Risiko for forbstrandinger pga. varmt
service!
Varmepladens overflade kan blive meget varm.
Genstande i bunden af skuffen bliver mere varme
end dem, der er overst.
Brug alto en varmebestandig grydelap aller handske til at fjeme servicen.
Abn varmeskuffen.
Afsaat kopper og tallerkner
Drej betjeningsknappen tiliveau 0.
Luk varmeskuffen.
Hold maden warm
Det anbefales, at maden i varmeskuffen ikke holdes verm i mere end'en time.
Folgende madvarer egner sig til at holdes varme: -Kod, fjerkrae, fisk, saucer, grontsager, sideretter, supper
Skade på service pga. temperaturforskel!
Hvis du anbringer varme gryder eller pander direkte fra kogepladen til varmepladen i varmeskuffen, kan den blive beskadiget.
Lad varme gryder eller pander kole af, for de anbringes på varmepladen.
Spild af mad pga. overfyldning!
Undgå at overfylde tallerkner, kopper, skåle osv.
Dæk maden med et varmebestandigt lag ellermed solvpapir.
Isætning af service og mad
Abn varmeskuffen.
Anbring tallerenerne i skuffen.
Drej betjeningsknappen til niveau 6.
Luk skuffen.
Forvarm varmeskuffen i 10 minutter.
Abn varmeskuffen.
Anbring maden på de forvarmede tallerkener.
Luk skuffen.
Pilotlampen lyser.
- Temperaturen i varmeskuffen er ca. 80^ C .
Afsætning af service og slukning af varmeskuffen

Risiko for forbstrandinger pga. varmt
service!
Varmepladens overflade kan blive meget varm.
Genstande i bunden af skuffen bliver mere varme
end dem, der er overst.
Brug altid en varmebestandig grydelap aller handske til at fjerne servicen.
Abn varmeskuffen.
Afsæt skåle og tallerkner med maden.
Drej betjeningsknappen tiliveau 0.
Luk varmeskuffen.
Madlavning ved lav temperatur
Madlavning ved lav temperatur er en maje at tilberede k od af hoj kvalitet, indtil det er korrekt tilberedt. K odet forbliver mort og saftigt. Tilberedningstider til madlavning ved lav temperatur er laengere end ved almindelig tilberedning.
Egnet service
Brug egnede glas-, porcelaen-ller keramikservice med et lag (f.eks. en gratinskål med lag).
Tips til madlavning ved lav temperatur
Brug kun frisk kød af høj kvalitet.
Fjern forsigtigt tener og fedt. Fedt udvikler en sterk, udpræget smag ved madlavning ved lav temperatur.
Anbring tallerkenerne i varmeskuffen sammen med kdet i mindst 45-60 minutter.
Alle more stykker okse-, svine-, kalve- og lammekød egner sig til tilberedning ved lav temperatur.
Drej betjeningsknappen tiliveau 5 after tilberedning ved lav temperatur for at holde det tilberedte kød varmt.
Det er ikke ndvendigt at vende kdet.
- Kødet kan skæres direkte after tilberedning ved lav temperatur.uden hviletid.
- Ved delle tilberedningsmetode kan kodet vaere lyserdt i midten. Det betyder ici, at kodet er rata aller ici tilberedt korrekt.
- Kød, der er tilberedt ved lav temperatur, er/DD varmt som konventionelt stegt eller braseret kød. Saucer eller sovs skal serveres meget varmt.
- Små stykker kød kan holds varme i op til 45 minutter, større stykker i op til 2 timer.
Brunings- og tilberedningstider afhænger af kødets tykkelse og vægt. Bruningstider svarer til forsegling af kødet i varmt fedtstof på en pande på kogepladen.
| Størlse på service | Færdiggørse på kogeplade | Færdiggørse i varmeskuffe |
| Lille | ||
| Lille schnitzel 1-3 min. på alle sider 30-50 min. | ||
| Steak 1-2 min. pr. side 40-60 min. | ||
| Medium | ||
| Svinekotelet (ca. 500 g) | 4-5 min. på alle sider | 75-120 min. |
| Lammemørbrad (ca. 250 g) | 2-3 min. pr. side | 60 min. |
| Øverste side af oksekød eller kalvekød, midterste svinekam, svine- uller oksemørbrad(maks. 900 g) | 10-15 min. på alle sider | 120-240 min. |
| Stor | ||
| Oksefilet, kalvefilet, skank, okseklump(fra 900 g op) | 10-15 min. på alle sider | 180-270 min. |
| Roastbeef (1-2 kg) | 10 min. på alle sider | 210-300 min. |
Forvarm varmeskuffen med servicet til niveau 2.
Opvarm hurtigt en smule fedtstof pa en pande.
Brun kodet ved hoj temperatur, og anbring det straks pa det forvarmede service.
Læg laget pa.
Saat tallerkenen med kodet tilbage i varmeskuffen, og tilbered, indtil det er mort.
Drej betjeningsknappen til niveau 6.
feJLfInDInG
Dette afsnit indeholder en liste over fejl, der kan loses ved at folge instruktionerne. Hvis en anden fejl opstår, eller fejlen ikke kan udbedres, skal du ringe til kundeservice.
Service ell er mad forbliver kold
Varmeskuffen er/DDt.
Tænd for encheden.
Strømafbrydelse.
Kontroller strormforsyningen.
Skuffen er/DDke Iukket helt.
Luk skuffen.
Service aller mad er ikke opvarmet tilstrækkeligt
Opvarmningsvarigheden er for kort.
Forlaeng opvarmningsvarigheden.
Skuffen er/DDke lukket helt.
Luk skuffen.
Pilotlampen blinker, nár skuffen er lukket
Skuffen er/DDke lukket helt.
Luk skuffen.
Pilotlampen blinker hurtigt, nár skuffen er likkket
Fejlienheden.
Varmeskuffen er i gang, men pilotlampen lyser\ ikke konstant, aller den blinker.
Defekt lampe.
Ring til kundeservice.
renGØrlnG oG PLeJe
För der udföres rengöring ell er vedligeholdelse:
Sluk for enheden.
Sorg for, at betjeningsknappen er sat tiliveau 0.
Sadan fjernes skuffen
Abn skuffen.
- Skru skruerne ud på haver side af kabinettet.
Træk skuffen ud, og anbring den pa en fast overflade.
Sādan udføres udvendig rengøring
Fjern straks eventuel snavs ell rengøringsmiddel.
Rengør overfladerne med en blod klud fugtet med vand og en smule opvaskemiddel.
Til metaloverflader: Gnub i retning af de oprindelige poleringslinjer.
Tor af med en blod klud.
Rengør varmepladen med varmt vand og en smule rengøringsmiddel.
VeDLIGeHoLDeLSe oG reParaTlon
Hvis reparationer udfores forkert, kan de forarsage alvorlig personskade, skade pa enheden og fittings samt pavirke encheds fungktonalitet.
Sorg for, at vedligeholdelse af elektriske komponenter kun udfores af producenten eller kundeservice.
Sorg for, beskadigede kabler kun udskiftes af producenten eller kundeservice.
BorTSKaffeLSe

Symbolet pà produitet elleraemballagen angiver, at eheden ilke mabortskaffes med husholdningsaffaldet.
Ved at bortskaffe eheden korrekt kan du vare med til at undgå skadelige miljo- og helbredsmaessige konsekvenser.
Yderligere oplysninger om genanvendelse af eheden fas fra den kompetente myndighed, den lokale genbrugsstation aller ehedens forhandler.
Enheden skal bortskaffes som elektronisk og elektronik affald pa en genbrugsstation.
KUnDeSerVice
Der henvises til dit lands kontaktadresse på bagsden eller www.franke.com
TeKnlISKe DaTa
Ydre mal/elektriske mal:
Der henvises til typepladen (1), som er anbragt pä produitet.
Der fas yderligere oplysninger vedrorende tekiske data pa:
- www.franke.com

InnHoLDSforTeGneLSe
Omdenne manualen 94
Tiltenktbruk94
Ikke klatre, stä aller sitt på varmeskuffen.
Om du plasserer varme panner eller stekepanner rett fra platetoppen på varmeskuffens varmeplate vil den bliskadet.
La varme panner eller stekepanner kjole ned for de plasseres på varmeplaten.
oVerSIKT


1 Varmeplate
2 Vifte og varmer
3 Betjeningsindikator
4 Betjeningshjul
5 Pilotlampe
Betjeningshjul
1 Betjeningsindikator
2 Niva-nummer
3 Niva-ikon
Det anbefales at for Å holde mat varm, er tiden i varmeskuffen ikke mer enn en time.
Folgende matvarer er egnet til a holdes varm:
Om du plasserer varme panner eller stekepanner rett fra platetoppen på varmeskuffens varmeplate vil den bliskadet.
La varme panner eller stekepanner kjole ned for de plasseres på varmeplaten.
Lavtemperatursteking er en metode for a tilberede hovykvalitets kjottstykker til de er perfekt. Kjottet forbli mørt og saftig. Koketider for lavtemperaturmetoden er lengre enn for vanlig matlaging.
Egnede fat
Skuffen er ikke skikkelig lukket.
Lukk skuffen.
Pilotlampen blinker nár skuffen er lukket Skuffen er/DDke skikkelig lukket.
Lukk skuffen.
Pilotlampen blinker raskt nár skuffen er lukket Funksjonsfeil på encheten.
Ta Kontakt med kundeservice.
Varmeskuffen er i drift, men pilotlampen lyser\ ikke kontinuereg, aller pilotlampen blinker.\ Defekt lampe.
Ta Kontakt med kundeservice.
renGJØrInG oG VeDLIKEHoLD
Se typeskiltet (1) som er plassert pä produitet.

NemManual