FS DRW 14 - Podgrzewane szuflady i szafki FRANKE - Bezpłatna instrukcja obsługi
Znajdź bezpłatnie instrukcję urządzenia FS DRW 14 FRANKE w formacie PDF.
Często zadawane pytania - FS DRW 14 FRANKE
Pytania użytkowników dotyczące FS DRW 14 FRANKE
0 pytanie dotyczące tego urządzenia. Odpowiedz na te, które znasz, lub zadaj własne.
Zadaj nowe pytanie dotyczące tego urządzenia
Pobierz instrukcję dla swojego Podgrzewane szuflady i szafki w formacie PDF za darmo! Znajdź swoją instrukcję FS DRW 14 - FRANKE i weź swoje urządzenie elektroniczne z powrotem w ręce. Na tej stronie opublikowane są wszystkie dokumenty niezbędne do korzystania z urządzenia. FS DRW 14 marki FRANKE.
INSTRUKCJA OBSŁUGI FS DRW 14 FRANKE
Szuflada do podgrzewania
Ohrievacia zásuvka
Sertar termic
PoiIrpRbAaO ueKMeDxke
BncybHa dyxoba waΦa
BbDnKHOyXOBOu KaΦ
Isitma Cekmecesi
电热屉
TaBLe of conTenTS
About this manual 4
Intended use 4
Safety information 5
Overview 6
Loading examples 7
Operation 7
Informacoes o instrukcji 124
Przeznaczenia 124
Uwagi dotyczbepezecenstwa 125
Opis 126
Przykładowe spoosoby załadunku szuflady 127
Obstuga 127
Listazastosowanszufladydo podgrzewania 127
Podgrzewanie zastawy stołowej 128
Podgrzewanie potraw 128
Pieczenie w niskiej temperaturze 129
Rozwiagywanie problemów 131
Czyszczenie i pielegnacja 131
Wyjmowanie szuflady 131
Czyszczenie elementów zewnetrznych 131
Czyszczenie pty grzejnej 131
Konserwacja i naprawa 132
Utylizacja 132
Serwis 132
Dane techniczne 132
InformacJe o InSTrUKcJI
Niniejsza instrukcja obstugi obowyche dla kilku modeli urzadzenia. Wzwiazku z tym nichtore opisanew niej funkcjemoga byc niedostepne w przypadku konkretnego modelu.
Przed Rozpoczeciem korzystania z urzadzenia zapoznać sie z instrukcja obshugi.
Zachowac instrukcjegobstugi.
Uzywać urzadzenia opisanego w instrukcji obstugi wyłącznie zgodnia z przyeznaczenia.
Symbol Znaczenie

Symbol ostrzeżenia. Ostrzega o ryzyku obrażen.
Opisy czynnosci i uwagi pozwalajace uniknac obrażeni i uszkodzenia urzadzenia.
Dziafanie. Opis koniecznej czynnosci.
- Reztat. Reztat jeder lub kilkuczynnosci.
Warunek, kóry musi zostac speñniony przed wykonaniem opisanej dalej czynnosci.
PrZeZnacZenle
Szuflada do podgrzewania przyznaczona jest wyłącznie do uzytku domowego.
Szuflade przy wykorzystwyac do pieczenia w niskiej temperaturze oraz do podgrzewania potraw i ogrzewania zastawy stołowej.
Szuflady nie nalezy uzywac do suszenia zwierzat, tekstyliow i papieru.
Nie uzywać szuflady do ogrzewania pomieszczemu.
Przed zamkiemiciem szuflady do podgrzewania upewnicie, ze wewnatrz nie znajduja sie zdne zwierzeta ani przydmioty wraiwiwe na dziatanie mysokich temperatur lub takie, ktore moglyby ulec uszkodzeniu.
Nie wykorzystywać szuflady do przechowywania zwywnosci ani materiały wrażliwych na dziatanie wysockich temperatur i latwopalnych, np. srodków czyszczących, srodków do czyszczenia piekarników itd.
UwaGI DoTYcZAcce BeZPiecZeNSTwa
Producent nie ponosi odpowiedzialnosci za ewentualne uszkodzenia winikajace zNieprawidowego montazu lub niewaosciwego i niedgodnego z przyznaczeniem uzytkowania urzadzenia.
Nie obcięzac szuflady do podgrzewania.
Niewspinac sie na szuflade,nie stawac i niesiada c na niej.
Przech)iagenie moze doprowadzić do uszkodzenia szuflady!
Maksymalne obciążenie szufladyDynosi 25kg Przekroczenia tej wartosci moze doprowadzic do uszkodzenia szuflady do podgrzewania.
Nie umieszczac w szufladzie cięzkich przyzemiotów.
Dzieci oraz osoby o ograniczonych zdolnosciach ruchowych, czuciowych i umysłowych lub nieposiadajace odpowiedniego doświadczenia lub wiedzyNie moga obstugiwacicysci urzadzenia bez nadzoru odpowiedzialnej za ich bezpieczenstwo osoby, kóra udzieli im instrukcji. Dzieci ponizej 8 roku zyciaNie moga obstugiwacicysci urzadzenia nawet pod nadzorem. Urzadzenia nie jest zagawka.
Uniemozliwić bzw.进展情况 do urzadzenia i opakowania.
Nie pozostawiać bez nadzoru daneci znajdujćych sie w povlizu.
Nie pozwalac daneciom bawić sie urzadzeniem.

Rzyko porazenia pradem w przypadku zudzenia urzadzenia!
Pęknięcia, rysy i szczeliny wychycie grzejnej oznaczą, ze urzadzenia jest uszkodzone.
Nie wączać urzadzenia, jestli jest ono uszkodzone.
Wyętczyc bezpiecznik w skrzynce bezpiecznikowej.
Skontaktowacsi z dziatem obstugi klienita.

Rzyko porazenia pradem w przypadku, portania sie cieczy do wnetrza!
Urzadzenie zawiera podzespoły elektryczne.
Zapobiegać przygodostawaniu sącieczy do wnętrza urzadzenia.
Nie czyscić urzadzenia para wodna pod ciszniem.
Nie czyszcie elementów ukuadu sterowania mokra sciereczka.

Rzyko poparzenia wwyniku dotknięciarych powierzchni!
Plyta grzejna szuflady do podgrzewania要去 nagrzewa csi do wysokiej temperatury. Plyta grzejna pozostaje goraca przyez pewien czas po wylaczeniu szuflady i powoli ochladza sie do temperatury otoczenia.
Nie dotykać gorących powierzchni.
Zachowac ostroznosc podczas otwierania i zamykania szuflady do podgrzewania.
Nosić rrekawice termoochronne.
Przed przystapieniem do czyszczenia zaczekać,ź urzadzenia ostygniie.

Rzyko pozarul
Zabrania sie umieszczania w urzadzeniu pojemnikow z latwopalnego tworzywa.
W razie zauwazenia dymu wydobywajacego sie szuflady do podgrzewania:
Nietowiera szuflady.
Wyłaczyc bezpiecznik w skrzynce bezpiecznikowej.
Zacekacz, aż szuflada calkowicie ostygniie.
Otworzyc szuflade i sprawdzić ja pod katem uszkodzen.
Wrazie watapliwosci nie uzywac szuflady.
Istnieje ryzyko uszkodzenia naczn z powodu roznicy temperatury!
Umieszczenie na płycie grzejnej szuflady gorących patelni lub garnków bezposrednio po ich zdjeciu z palnikaMZe doprowadzić do uszkodzenia płty.
Przed umieszczemien goracych patelni lub garnkow na plicie grzejnej szuflady zaczekać aż nieco ostygną.
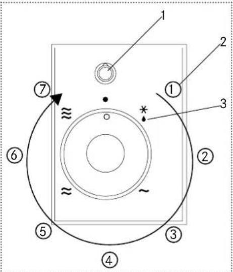
oPIS


1 Pfyta grzejna
2 Wentylator i grzalka
3 Wskaznik pracy
4 Pokretto
5 Kontrolka
Pokretto
1 Wskaznik pracy
2 Numerpoziomu
3 Ikona poziomu
| Ikona Poziom Temperatura Funkcja | |
| ● -0°C Wymiarczenia | |
| * ① | Rozmrażanie, wyrastanie cias- ta drożdźowego |
| 2 | |
| 3 40°C | Rozmrażanie, podgrzewa- nie naczyń, podgrzewanie pieczywa |
| 4 | |
| 5 60°C | Podgrzewanie potraw |
| 6 80°C | |
| 7 80°C+ Podgrzewa-Nie zastawy stołowej | |
Wartosci temperature dotycz powierzchni goracej pły grzejnej pustej szuflady. Pomiary metodami domowymi moga nie byc preczyjne i nie są odpowiednie do kontrl temperature.
Szuflada do podgrzewania nagrzewa sie wyłącznie jest jest prawidłowo zamkieta.
Przykladowe spojob zaadunku szuflady
-A Talerz 24~cm
-B Talerz gleboki 23 cm
- C Filizanka 9 cm
- D Naczynie 17 cm
- E Naczynie 19 cm
Talerze obiadowe Podstawowy komplet obiadowy
Peten komplet obiadowy wrazznaczyniami do podawania

Przyktag


Naczynia 6 A 6 A, 6 B, 7 C 4 A, 4 B, 6 C, 1 D, 1 E
oBSLUGa
Lista zastosowan szuflady do podgrzewania
| Temperatura | Potrawy/naczyna | Uwagi |
| ok. 40°C | - Zywność glówno mrożona, np. ciasta z kremem, maslo, kiełbaski, ser - Pozostawianie wyrośćtego ciasta drożdźowego do odporȩcie | - Rozmrażanie - Przykroc, najlepiej plaskim talerzem |
| ok. 60°C | - Zywność glówno mrożona, np..mięso, ciasta, pieczywo - Podgrzewanie jajek, np.ugotowanych na twardo czy jajecznicy - Podgrzewanie pieczywa, np.tostów, bułek - Podgrzewanie nacZYń na napoj - Podgrzewanie delikatnych potraw, np.mieśpieczzonego w niskiej temperaturze | - Rozmrażanie - Podgrzać zastawość stołowa, przykroc danie |
| - Podgrzać zastawość stołowa, przykroc danie | ||
| - Np. filizanki do espresso | ||
| - Przykroc naczyna | ||
| ok. 80°C | - Podgrzewanie potraw - Podgrzewanie napojów - Podgrzewanie plaskich dań zi ciasta, np.nalejsników, taco i omletów - Podgrzewanie ciast biszkoptowych, np.z kruszonka lub babeczek - Rozpuszczanie czekolady lub polew czekoladowych - Rozpuszczanie zelatyny | - Podgrzać zastawość stołowa, przykroc danie - Podgrzać zastawość stołowa, przykroc napoj - Podgrzać zastawość stołowa, przykroc danie - Podgrzać zastawość stołowa, przykroc danie |
| - Podgrzać zastawość stołowa, przykroc danie | ||
| - No przykrywc, podgrzewać przy bez ok. 20 min |
Podgrzewanie zastawy stołowej
Czas podgrzewania
Czas podgrzewaniaazoley od materiau i grubosci naczyn, a takze ich liczby, wysokość i rozmieszczenia. Podgrzanie stosu talerzy trwa dlüzej niz podgrzewanie pojedynczych sztuk. Podgrzanie zastawy dla 6 osob zajmuje okofo 45- 60 minut.

Rzyko oparzen!
W przypadku podgrzewania na poziomie 5 naczynia na napoje moga byc HARDzo gorace.
W przypadku podgrzewania naczyn na napoje, np. filizanek do espresso, stosowac maksymalnie poziom 4.
Załadunek zastawy stojowej
- Otworzycz szuflade do podgrzewania.
- Rozmieść naczynia na czaje powierzchni szuflady.
UstawicPokretlo na poziom 2 (lub inny poziom zgodnie z tabela powyzej).
-W przypadku naczyn do napojów ustawicPokretto na poziom 3.
- Kontrolka zastawicy sie.
Zamknac szuflade.
- Kontrolka zastawiecie sie.
Urzadzenie zacznie sie nagrzewa.
Wyjadunek zastawy stołowej i wyluczania szuflady do podgrzewania

Rzyko poparzenia wwyniku dotkniecia
goracych naczyn!
Powierzchnia ptyty grzejnej nagrzewa sie do wysokiej temperature. Przedmioty ustawione na dnie szuflady nagrzewaja sie bardziej niz te umieszczone wyzej.
Do wyjmowania zastawy zawsze uzywacziereczuk lub rekawic opornych na dziatanie wysockiej temperatury.
- Otworzycz szuflade do podgrzewania.
Wyjac naczynia i zastawe stołowa.
UstawicPokretto na poziom 0.
Zamknac szuflade do podgrzewania.
Podgrzewanie potraw
Zaleca sie, aby czas podgrzewana potraw w szufladzie do podgrzewania nie przyekraczał jeder godziny.
W szufladzie podgrzewać moins nastepujuce dania: - Potrawy z.mięsa, drobiu, ryb i warzyw, sosy, zupy i przystawki
Istnieje ryzyko uszkodzenia naczyn z powodu roznicy temperatur!
Umieszczenie na płycie grzejnej szuflady gorących patelni lub garnków bezposrednio po ich zdjeciu z palnikaMZe doprowadzić do uszkodzenia pplyt.
Przed umieszczemien goracych patelni lub garnkow na pplycie grzejnej szuflady zaczekać aż nieco ostygną.
Rzyko wylania lub wysypania sie dania w przypadku przypełnienia naczyna!
Unikać przypełniania talerzy, filizanek, naczn itd.
Przykroc dane pokrywkz materiahu odpornego na dziatanie wysokiej temperatury lub folia aluminiowa.
Załadunek zastawy stojowej i potraw
- Otworzycz szuflade do podgrzewania.
Umiesci naczynie w szufladzie.
UstawicPokretto na poziom 6.
Zamknac szuflade.
Nagrzewaśczuflade przyez 10 minut.
Otworzyc szuflade do podgrzewania.
Umieśćdanie w podgrzonym naczyniu.
Zamknac szuflade.
Kontrolka zastawiecie.
- Temperatura wewnatrix szuflady do podgrzewania winosi okato 80^ .
Wyjadunek zastawy stołowej i wyluczania szuflady do podgrzewania
!Rzyko poparzenia wwyniku dotknięcia gorących naczyn!
Powierzchnia pfyty grzejnej nagrzewa sie do wysokiej temperature. Przedmioty ustawione na dnie szuflady nagrzewaja sie bardziej niz te umieszczone wyzej.
Do wyjmowania zastawy zawsze uzywacziereczuk lub rekawic opornych na dziatanie wysockiej temperatury.
- Otworzycz szuflade do podgrzewania.
Wyjáć naczynia i talerze z potrawami.
UstawicPokretto na poziom 0.
Zamknac szuflade do podgrzewania.
Pieczenie w niskiej temperaturze
Pieczenia w niskiej temperaturze to doskonały sposob przygotowywania porcji wysokiej jakosci mięs do miękkosci. Mięso pozostanie delikatne i soczyste. Czas pieczenia w niskiej temperaturze jest dźuszy nied w przypadku normalnépieczenia.
Odpowiednie naczyna
Uzywac odpowiednich naczyn ze szkta, porcelain lub ceramiki zPokrywkq (np. naczyna do zapiekania zPokrywkq).
Wskazówki dotyczpieczenia w niskiej temperaturze
Uzywać wyłacznie swiezych porcji mięsa dobrej jakosci.
Starannie usunac sciegna i tuszcz. Tuszcz pieczony w niskiej temperaturze nabiera mocnego, wyrażné smaku.
Mięs o wraz talerzem powinno przywać w szufladzie do podgrzewania przyznajmiej 45-60 minut.
Aby utrzymać temperaturę miṣa upieczonego metoda niskotemperaturowa, po zakończeni u pieczenia ustawicPokretto na poziom 5.
- Nie ma potrzeby odwracania mięsa.
- Mieśo przyna kroić tź po upieczeniu, bez koniecznosci odstawiania miṣa do odpopoczecia.
- Przy pieczeniu są metodamięsło要去 pozostarczość. Nie oznacza to"Justak,źmięs jest surowe lub niedopieczone.
- Mięso pieczone w niskiej temperaturze nie osiaga takiej temperatury jak mięso pieczone tradycyjniie lub mięso duszone. Sosy do tych mięs naleź podawać bardzo gorace.
- Małę porcie mięsza现阶段 podgrzewość zęje 45 minut, za sąwcze – do 2 godzin.
Czas obsmazania i pieczenia
W niskiej temperaturze maya piec wzystkie delikatne kawalki wołowiny, wieprzowinyczy jagneciny. Czas obsmażania i pieczenia zalezy od grubosci i masy mięsa. Czas obsmażania oznacza czas smazenia mięsa w gorącym tłuszczu na patelni.
Wielkość dania Obsmażanie na patelni Pieczenie w szufladzie do podgrzewania
Mate
Maßeskalopki 1-3 min z kazdej strony 30-50 min
Steki 1-2 min z obu stron 40-60 min
Srednie
Poldehyiczka wieprzowa (ok. 500 g) 4-5 min z kazdej strony 75-120 min
Schab jagniecy (ok. 250 g) 2-3 min z obu stron 60 min
Zrazy wołowowe lub cielege, schab 10-15 min z kaźdej 120-240 min
wieprzowy, polędwica wołowowa lub strony
wieprzowa
(maks. do 900 g)
Duze
Polédwiczki wolowe, zrazy ciecle, 10-15 min z kaźdej 180-270 min
głowa polędwicy, sztuka mięsazrony
wołowo (powyzej 900 g)
Pieczén wołowa (1-2 kg) 10 min z kazdej strony 210-300 min
Nagrzać szufladę wraz z naczyniem do poziomu 2.
Mocno podgrza tuszcz na matej patelni.
Obsmazyc mięs o w Rozgrzonym tłuszczu i od razu umieszcie je w podgrzonym naczyniu.
Przykroc Pokrywka.
Umieść naczynie z mięsem z powrotem w szufladzie i(PC do miękkosci.
UstawicPokretto na poziom 6.
roZwiAZYwanle ProBLemÖw
W tej.czeci opisano problemy, któ maya
fatwo rozwiazać zgodnie z podanymi instrukcjami.
W przypadku innych problemów lub braku czlowiosci
ich rozwiazania nalezy skontaktoać sie z serwisem.
Naczyna lub potrawy pozostaja zimne
Szuflada do podgrzewania nie zostafa wączona.
Właczyc urzadzenia.
Brakzasilandia.
Sprawdzić zródko zasilania.
Szuflada nie zostafa prawidlowo zamknieta.
Zamknac szuflade.
Naczynia lub potrawy nie są wystarczajaco podgrzane
Zbyt krótki czas podgrzewania.
Wyduzyc czas podgrzewania.
Szuflada nie zostafa prawidlowo zamknieta.
Zamknac szuflade.
cZYSZcZenle I PleLEGnacJa
Przed przystapieniem do czyszczenia i konserwaczji:
Wyłaczyc urzadzenia.
Upewnić sie, zePokretto jest ustawione na poziom 0.
Wyjmowanie szuflady
Celem lepszego wyczyszczenia:nożna wyjacć cala szufladę z obudowy.
Otworzyszuflade.
Wykrećić s Ruby po obu stronach odudowy.
Wyciagnac szuflade i umiecić na stabilnej powierzchni.
Kontrolka miga przy zamkniętej szufladzie
Szuflada nie zostafa prawidlowo zamknieta.
Zamknac szuflade.
Kontrolka miga szybko przy zamknietej szufladzie
Usterka urzadzenia.
Skontaktowac sie z serwisem.
Szuflada do podgrzewania dzia, ale kontrolkanie swieci lub tylko miga
Usterka kontrlki.
Skontaktowac sie z serwisem.
Czyszczenie elementów zewétrznych
Niezwlocznie usuwac wszelkie zadrudzenia oraz pozostaosci srodkow czyszczacych.
Powierzchnie wyczyscic miękka sciereczka nasaczona woda z niewielka iloscia plynu do mycia naczyn.
Powierzchnie metalowe: Przechierac zgodnia z kierunkiem ufozenia linii na powierzchni.
Wytrzećsucha sciereczka.
Czyszczenie płyty grzejnej
Plyte grzejna nalezy czysci ciepla wodz niewielka iloscia detergentu.
KonSerwacJa I naPrawa
Wykonywanie napraw w nieprawidów spośob sąs obć z do powaznych obrażen oraz uszkodzenia urzadzenia i połaczenia,atakège negatywnie wptywać na dziatanie urzadzenia.
Prace konserwacyjne na podzespołach elektrycznych要去 wykonywać wymiącznie producent i pracownikicy serwisu.
Uszkodzone kable moga byc wymieniane wyłacznie przyez producenti i pracowników serwisu.
UTYLIZacJa

Ten symbol na produktie lub opakowani informuje, ze urzadzenia nie nalezy utylizowac z odpadami z gospodarstwa domowego.
Prawidłowa utylizacja urzadzenia pozwala uniknac wywierania negatywnego wptywu naŚrogowisko naturale i zdrowie.
Dalsze informacja na temat recyklinger urzadzenia mayna uzyskać,kontaktujac sie z odpowiednimi wladzami, moejscowa firma zajmujacsi utylizacja oepadów lub spreżawca urzadzenia.
Przeznaczone do utyilizaci urzadzenie przykazacdo specjalnégo punktu zbiórki odpadow elektronicznych i elektrycznych.
Serwis
Skorzystać ze znajdujćego sie na okładce adresu kontaktowej dla danego kraju lub strony internetowej www.franke.com.
Dane TechHnlcZne
Wymiary zewnetrzne/parametry elektryczne:
Zob. tabliczka znamionowa (1) na produitie.

Dalsze informacja na temat danych technicznych dostepne są stronie internetowej:
- www.franke.com
oBSaH
O toto návode 134
Zamyslané pouzitie 134
ProstaInstrukcja