FS DRW 14 - Ohřívané zásuvky a skříně FRANKE - Bezplatný návod k obsluze
Najděte návod k zařízení zdarma FS DRW 14 FRANKE ve formátu PDF.
Často kladené otázky - FS DRW 14 FRANKE
Dotazy uživatelů ohledně FS DRW 14 FRANKE
0 otázka o tomto zařízení. Odpovězte na ty, které znáte, nebo položte vlastní.
Položte novou otázku o tomto zařízení
Stáhněte si návod pro váš Ohřívané zásuvky a skříně ve formátu PDF zdarma! Najděte svůj návod FS DRW 14 - FRANKE a vezměte svůj elektronický přístroj zpět do rukou. Na této stránce jsou zveřejněny všechny dokumenty potřebné k používání vašeho zařízení. FS DRW 14 značky FRANKE.
NÁVOD K OBSLUZE FS DRW 14 FRANKE
Bezpečnostní informace 115
Prehled 116
Příklady plnéni 117
Provoz 117
Výčet rúzních zpúsobů použití ohřívací zásvuky 117
Predehřivani stolního nádobí 118
UdrzovaniPokrmu v horkem stavu 118
Příprava jédel pri nizké teploš 119
Rešeni problemu 120
Cisténia pece 120
Vyjmuti zasuvky 120
Čišění zevnějšku 120
Čistění topné desks 120
Udrzba a opravy 121
Likvidace 121
Zakaznicky servis 121
Technické udaje 121
o TomTo nÁVoDU
Tento námod pro uživatele je určen pro několik modelů daného zařizení. Proto se může stav, ze některé z popisovanývlastnosti a funkci nejsou vašeho konkrétniho modelu k dispozici.
- Před použitím zařizení si pozorně prečtěte námod pro uživatele.
Uschovejte navod pro uživatele.
Zaízení popisované v tomto návodu pro uživatele použivejte pouze k určenému účelu.
Symbol Vyznam

Vystrañnysymbol.Vystraha pred nebezpecim zraneni.
Ukony v bezpečnostnich a vystrazenych upozorněncich, jejichž učelem je predejit zraněni nebo škodě.
Krok ukonu. Urcuje ukon, ktery se ma provest.
Vysledek. Vysledek jegnoho nebo vice kroku ukonu.
Predpoklad, ktery musi byt splnen prd provedenim nasledujicho ukonu.
UrČený UČeL
Ohrivaci zasuvka byla vyvinuta vyhradne k priprave jidel v domacim prostre.
Ohrivaci zasuvku lze pouzivat k priprave jidel pri nizke teplote, udrzovaniPokrmu v teplem stavu a predehrivani stolniho nadobi.
Nepoužívejte ohřivací zásuvku k suseni zviřat, textilu nebo papíru.
Nepoužívejte ohřivací zásuvku k vytapěné mistnosti.
Pred zavrenim ohrivací zásuvky se ujistete, ze uvnitř nejsou zádná zviřata ani predměty, které jsou citlivé na teplo nebo které by se mohly poskodit.
V ohrivací zásuvce neskladujte potraviny ani zádné materialy, které jsou citlivo na teplo nebo hořlavé, napr. Čisticí prostředky, spreje na trouby atd.
BeZPeČnoSTnÍ Informace
Vyrobce nemuže nást odpovednost za priadné skody v dusledku nesprávní instalace a nesprávného, nevhodného nebo nerozumného používání.
Ohrivací zásuvka neunese tězká břemena.
Nepoužívejte ohřivací zásvuk k lezení, ani si na ni nestoupejte a nesedejte.
Poskození zařizení v dusledku pretižení!
Maximánlí nosnost zásuvky je 25 kg. Při prekrocení uvedene hmotnosti naplne se ohrivací zásuvka poškodi.
Nevkladejte do ohrivací zasuvky těžké predměty.
Toto zařizení nesmí používat ani Čistit déti a osoby s omezenými fyzickými, smyslovými nebo duševními schopnostmi Či s nedostatečnými zkušenostmi nebo znalostmi,Pokud nejsou pod dohledem a nebyly poučeny osobou odpovědnou za jejich bezpečnost. Děti mladží osmi let nesmí používat ani Čistit zařizení, a to ani pod dohledem. Toto zařizení není hračka.
Zabrainte pristupu detí k zařizení a obalovému materiálu.
Nenechávejte déti bez dozoru v blízkosti zařizení.
Nedovolte detem hrát se zarizenim.
! Nebezpeci urazu elektrickym proudem pri poskozeni zaizeni!
Pokud jsou v topné desce zlomy, trhiny nebo praskliny, zařizení je poskozené.
Nezapinejte poskozené zařizení.
Odpojte pojistku v pojistikovskiri.
Kontaktujte zákaznicky servis.
! Nebezpeci urazu elektrickym proudem pri vniknuti tekutiny!
Zařizení obsahuje elektrické současti.
Zajistete,aby dovnitzarizeni nevnikla zadna tekutina.
K cište nizi arizeni nepouzivejte tlakovou páru.
K cišěné ovládacích prvků nepoužívejte mokroulátku.
! Nebezpeci popaleni o horké povrchy!
Topná deska ohrivací zásuvky můze být velmi horká.
Zústane horká i po určitou dobu od vypnutí a pouze pomalu se ochladi na pokojovou teplotu.
Nedotykejte se horkych povrchu.
Při otviráni a zavirán ohrivací zasuvky postupujte opatrně.
Pouzivejte tepeln' izola'ni rukavice.
Pred cistenim pokejte dostatecn deluho, nez zaizeniy vychladne.
! Nebezpeci požáru!
Ve spotbrebiči nikdy naskladujte hořlavé plastové nádoby.
Pokud zaznamnéte kour, ktery by mohl vycházet z primo z ohrivací zásuvky nebo zevniř:
Nechte ohrivaci zasuvku zavrenou.
Odpojte pojistku v pojistikové skříni.
Nechte ohrivací zásuvku úplné vychladnout.
Otevřete ohrivací zasuvku a zkontrolujte, zda není poskozená.
MATE-li pochybnosti, ohrivac zasuvku nepouzivejte.
Poskozeni nádobí zpúsobene rozdǐlem teplot!
Jestlize polozte horké hrnce nebo pânve primo z plotny na topnou desku ohrivací zásuvky, poškodite ji.
Než položite horké hrnce nebo pânve na topnou desku, nechte je vychladnout.
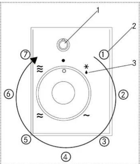
PReHLeD


1 Topná deska
2 Ventilator ohrivač
3 Indikator provozu
4 Otočný ovladač
5 Kontrolka
Otočný ovladač
1 Indikator provozu
2 Cislo urovné
3 Ikona urovné
| Ikona Üroveč Šteplota Funkce | ||
| ● | -0 °C Vypnuto | |
| * | ① | |
| ◆ | ② | 40 °C |
| ~ | ③ | |
| ≈ | ④ | |
| ⑤ | 60 °C | |
| ⑥ | 80 °C | |
| ≈ | ⑦ | >80 °C Předehrživánekého námobí |
Hodnoty označují teplotu povrchu horke desky pri prázdné ohrivací zasuvce. Vlastni měrení nemusi byt presná a nejsou vchodná ke kontrole prěsnosti teploty. Ohrivací zasuvka se zahriva pouze v pripadě, ze je správně zavřena.
Příklady plnéni
-A Talir 24 cm
B Hluboky talir 23 cm
C Hrnek 9 cm
- D Misa 17 cm
-E Misa 19 cm

Jidelní talíre Základníjídelníní souprava Kompletní souprava a podávací mísy
Přiklad


Nadobí 6A 6A, 6B, 7C 4A, 4B, 6C, 1D, 1E
ProVoZ
Vycet ruznych zpusobpuoziti ohrivaczasuvky
| Teplota Jídlo/nádobí | Poznámky | ||
| přbl. 40 °C | - Hluboce zmrazené potraviny, např. šlehačkový dort, maslo, párký, sýr | - Rozmrazte | |
| - Ponechání vykynutého těsta v klidu | - Přikryjte,Pokud možno v mělké nádobě | ||
| přbl. 60 °C | - Hluboce zmrazené potraviny, např. maso, koláče, chléb | - Rozmrazte | |
| - Udržoványí vajec v teplém stavu, např. vařenych natvrdo nebo michaních | - Předehřejte stolní nádobí, prřikryjte jídlo | ||
| - Udržoványí chleba v teplém stavu, např. toustů, vek | - Předehřejte stolní nádobí, prřikryjte jídlo | ||
| - Předehřiványí hrnků a šálků | - Např. šálky na espreso | ||
| - Udržoványí vybraních tokrmů v teplém stavu, např. masa prípraveného pri nizké teplotě | - Přikryjte nádobí | ||
| přbl. 80 °C | - Udržoványí tokrmů v teplém stavu | - Předehřejte stolní nádobí, prřikryjte jídlo | |
| - Udržoványí nápojů v teplém stavu | - Předehřejte stolní nádobí, prřikryjte | ||
| - Ohřiványí těstových placek, např. palacinek, tacos a omelet | napojé | ||
| - Ohřiványí piškotových Buchet, např. koláčůs drobenkou, vdolků | - Předehřejte stolní nádobí, prřikryjte jídlo | ||
| - Rozpoustěné Čokolády nebo Čokoládové polevy | - Předehřejte stolní nádobí, rozděllejte jídlo | ||
| - Rozpoustěné Želatiny | na kousky | ||
| - Nepříkrývejte, trvá příbl. 20 minut | |||
Předehrívání stolního nádobí
Délka predehrivání
Délka predehrivani závisi na materialu a tloustce nadobí a na jeho množstvi, vysce a rozmisteni. Naskladané talre se ohrivaji déle než Jednotlivé kusy. Předehrátj jidelni soupravy pro šest osob tvá príblžné 45-60 minut.

Nebezpeć popálen!
Při nastavení na uroven 5 budou hrnky a šalky velmi horke.
Při ohřivani hrnků a šalků, např. šalků na espreso, nepřekracujte uroven nastavení 4.
Vkladani stolniho nadobí
Otevretehrivacízasuvku.
Vlozte nádobí do zásuvky a Rozloztejej po celém povrchu.
- Otočte otočné ovladac na uroven 2 (nebo na uroven podle vyše uvedené tab bulky).
- V pripadě hrnků a šalků otočte otočné ovladac na uroven 3.
- Rozsviti se kontrolka.
Zavreté zasuvku.
- Rozsviti se kontrolka.
Spotbrebi se ohrivá.
Vykladání stolniho nádóbi a vypnutí ohrivací zásuvky

Nebezpeć popálení o horké nádobi!
Povrch topné desky mûze byt velmi horký. Kusy na dne zásvky se ohřivaji vice než kusy umistěné nahore.
Kvyjimani stolniho nadobí vždy používejte tepelné izolačné utěrku nebo rukavici.
Otevretehovrivacizasuvku.
Vyjměte stolní nádobí.
Otocte otochny ovladač na uroven 0.
Zavretehohrivacizasuvku.
UdržovániPokrmu v horkém stavu
Pri udržovaniPokrmu v horkem stavu se doporučujenechávat je v ohrivací zasuvce déle než jestnu hodinu.
K udžováni v horkém stavu jsou vchodné následujíciPokrzy:
- Maso, drubez, ryby, omáčky, zelenina, prilohy, polévky
Poskozenia nádobí zpúsobé rozdǐlem teplot!
Jestlize polozte horké hrnce nebo pânve primo z plotny na topnou desku ohrivací zásuvky, poškodite ji.
Než položite horké hrnce nebo pánve na topnou desku, nechte je vychladnout.
Rozlití v dusledku preplnéni!
Nepreplnujte talife, salky, misy atd.
PrikryvejtePokrmyPoklickou odolnou proti teplnebo alobalem.
Vkladani stolniho nadobi a jidla
Otevretehrivacízasuvku.
Vlozte nadobí do zásuvky.
Otočte otočné ovladač na uroven 6.
Zavreté zasuvku.
Pridehrivejte ohrivaciz zasuvku po dobu 10 minut.
Otevretehrivacízasuvku.
Vlozte jidlo do predehratého nadobí.
Zavreté zasuvku.
- Rozsviti se kontrolka.
Teplota uvnitr ohrivací zásuvky je príblízné 80 °C.
Vykladani stolniho nádobi a vypnuti ohrivací zasuvky

Nebezpeci popalenio horké nadobil!
Povrch topné desky muze byt velmi horky. Kusy na dne zásuvky se ohrivají vice než kusy umistěné nahore.
K vyjímáni stolniho námobí vždy použivejte tepelné izolačné utěrku nebo rukavici.
Otevretehrivacízasuvku.
Vyjměte stolní nádobí s jídlem.
Otocte otochny ovladač na uroven 0.
Zavreto ohrivaczasuvku.
Příprava jídel pri nízké teplote
Připrava jidel pri nizké teplatě predstavuje zpʊsob
pripravy kusu vysoce kvalitniho masa. Maso zustane
krehká a stavnate. Připrava jidel pri nizké teplatě trvá
déle než priprava běznám zpʊsobem.
Vhodné nadobí
Používejte vchodné skleněné, porcelánové nebo keramické nádobí sPoklickou (např. gratinovámi su sPoklickou).
Používejte pouze kusy Čerstvého, vysoce kvalitního masa.
Pečlive odstrante šlachy a tuk. Když se maso priapravuje pri nizké teplote, tuk vytváři silnou, charakteristickou chut.
Doby opékaná a dokončování
K priprave pri nizke teplote jsou vhodne vsechny krehke kusy hoveziho, veproveho, teleciho a jehneciho masa. Doby opekani a dokoncovani jsou zavislé na tloustce a hmotnosti masa.
Na poslednich 45-60 minut vlozte do ohrivací zásuvky s masem také talîre.
Po dokončeni pripravy pri nízké teplote otočte otočné ovladač zpět na uroven 5, aby maso zústalo horké.
- Maso není tbreba obracet.
- Po dokončeni prípravy pri nízké teplote lze maso ihned nakrajet, nemusi se nechávat odstát.
- Pri toto zpusobu pripravy muze byt maso uvnit ruzové. Neznamena to, ze je syrove nebo nespravne pripravené.
- Maso pripravené prí nízké teplote není tak horké jako bežné pečné nebo dušné maso. Omácka nebo šťáva by se měla podávat velmi horká.
- Male kusy masa lze udrozovat horké až 45 minut, větsí kusy až dve hodiny.
Dobou opékány se Rozumi prudké osmażení masa v pánvi s horkým tukem na plotné.
| VelikostiPokrmù | Dokončeni na plotné | Dokončeni v ohřívací zásuvce |
| Malé | ||
| Malé Žíky 1-3 min ze všech stran 30-50 min | ||
| Bifteky | 1-2 min na každou stranu | 40-60 min |
| Střední | ||
| Vepřová roláda (přibl. 500 g) | 4-5 min ze všech stran | 75-120 min |
| Jehněčí hřbet (přibl. 250 g) | 2-3 min na každou stranu | 60 min |
| Hoveží nebo telecí vrchní šál, vepřový střední hřbet, hoveží nebo vepřová svčková (max. 900 g) | 10-15 min ze všech stran | 120-240 min |
| Velké | ||
| Hoveží filet, telecí vrchní šál, kýta, špalek hovežího masa (od 900 g výše) | 10-15 min ze všech stran | 180-270 min |
| Hoveží pečeně (1-2 kg) | 10 min ze všech stran | 210-300 min |
Predehreje ohrivac zasuvku se stolnim nadobim na uroven 2.
Rychle ohrejte trochu tuku v pani.
Opečte maso prviysoké teplote a ihned ho položte na predehráté stolní nadobí.
Prikryje hoPoklickou.
Vložte nádobí s masem zpět do ohřivací zásuvky a pripravujte ho, dokud nezkřehne.
Otocte otochny ovladač na uroven 6.
ReSení ProBLÉmÜ
V toto oddilu jsou popsany zavady, ktere lze\ jednoduse vyresit podle uvedenychPokynu. Pokud\ je signalizovana jina zavada nebo nelze zavadu\ odstranit, obratte se na zakaznicky servis.
Nadobí neboPokrmyzustavaji studené
Ohrivaci zasuvka neni zapnuta.
Zapněte spotřebič.
Bylo prerušeno napajeni.
Zkontrolujte napajen.
Zásvka není správně zavřena.
Zavreté zasuvku.
Nádobí neboPokrmynejsou dostatečné ohráte
Doba ohřevu je prilíš krátka.
Produzte dobu ohrevu.
Zásuvka není správné zavřena.
Zavreté zasuvku.
Po zavrení zásuvky bliká kontrolka
Zásvka není správně zavřena.
Zavretezasuvku.
Po zavreñí zásuvky rychle bliká kontrolka
Závada zářizení.
Obratte se na zákaznický servis.
Ohrivaci zasuvka funguje, ale kontrolka senerozsvitnebo bliká.
Vadnákontrolka.
Obratte se na zákaznický servis.
CISTEni a PECe
Před zahájením jakéhokoli Čištěné á udžrby:
Vypněte zařizení.
Ujistete se, ze otočné ovladac je nastaven na uroven 0.
Vyjmutí zásuvky
Zásvuku Ize vyjmout z pouzdra, aby se usnadnilo Čištění a udžržba.
Otevretezasuvku.
Odrsoubujte srouby na obou stranach pouzdra.
Vytáhněte zásuvku a položte ji na pevný povrch.
Cisteni zevnejsku
- Ihned odstrańte veškéré necistoty nebo Čisticí prostředky.
Vycistete povrchy mekkou latkou navlhcenou vodou a trochou myciho prostredku na nadobi.
Pro kovové povrchy: vydrhněte povrchy ve směru původniho lešěné.
Vysuste je měkkou látkou.
Čistěni topné desky
Vycistete topnou desku teplou vodous trochou saponatu.
UDrZBa a oPraVY
Nesprávné provedené opravy mohou zpùsobit vázný uraz, poskodit zaízeni i montázní privky a rovněž ovlivnit funkčnost zaízení.
Zajistete, aby udrzbu elektrickych soucasti provadel pouze vyrobce nebo zakaznicky servis.
Zajistete,abyvymenu poskozenych kabelu provadel pouze vrobcne nebo zakaznicky servis.
LIKVIDace

Tento symbol na produktu nebo obalu znamená,Že zařizení se nesmi vyhazovat do domovniho odpadu.
Zařazení určene k vyřazení zlikvidujte prostřednictvim specializované sběrný odpadniche elektrickůch a elektronickůch zařazení.
Naležitou likvidací zaizení pomužete predejít skodlivým dopadum na zivotné prostřéá lidské zdravi.
Dalsi informace o recyklaci zaireni jsou k dispozici u kompetentniho uradu, mistn spolecnosti zajistujici odklzeni odpadu nebo dodavatele zaireni.
ZÁKaZnlcKÍ SerVIS
Kontaktni adresu pro vaši zemi najdete na zadni straně nebo na stránkach www.franke.com
TecHnIcKÉ ÚDaJe
Vnejsrozmery/elektricke parametry:
Viz typovy stitek (1) umisteny na produktu.

Dalsi informace o technickych udajich jsou k dispozici na strankach:
- www.franke.com
SPIS TreŚci
Ohrevná zásuvka bola vyvinutá vylučne na prépravu jegál v domácich podmienkach.
Nezapínajte poškodené zariadenie.
Vypnite poistku v poistkovej skrinke.
Spojte sa so zákaznickym servisom.
! Riziko urazu elektrickym prudom pri vniknuti tekutiny!
Zariadenie obsahuje elektrické componenty.
Ubezpečte sa, ze sa do zariadenia nedostane ziadna tekutina.
Na cistenie zariadenia nepouživajte natlakovanu paru.
Na cistenie pracovnych prvkov nepouživajte mokru handru.
! Riziko popalenia pri kontakte s horucimi pourchmi!
Ohrievacia doska ohrevnej zasuvky moze byt veImi horuca. Ohrievacia doska ostane horuca urcity cas po vypnuti a iba pomaly vychladne na izbovuteplotu.
Nedotykajte sa horucich povrchov.
Pri otvarani alebo zatvarani ohrevnej zasuvky budte opatrní.
Používajte rukavice odolné voci teplu.
Pred cistenim zariadenia nechajte uplynut urcity cas na jeho vychladnutie.
!Riziko požiaru!
V spotrebici nikdy neskladujte hor'avé umelohmotné nádoby.

Plytké taniere Základná obedová dostava Üplná dostava riadu na servírovanie
Priklad


Nadoby 6 A 6 A, 6 B, 7 C 4 A, 4 B, 6 C, 1 D, 1 E
PreVÁDZKa
Pri zavrejet zásuvke kontrlka bliká
Pri zavretej zásuvke kontrolka rychlo blíká
Porucha zariadenia.
Volajte zákaznicky servis.
Volajte zákaznicky servis.
Ocistenie vonkajsej strany
- Okamžite odstrante akúkolvek špinu alebo Čistaci prostriedok.
Ocistite povrchy navlhcenou makkou handrou a malym mnozstvom cistiaceho prostriedku na riady.
Pre kovové povrchy: Utierajte v smere origináneho lestenia.
Osuste makkou handrou
Cistenie ohrievacej dosky
- Ohrievaci dosku očistite teplou vodou a malým množstvom Čistaceho prostriedku.
UDrZBa a oPraVY
Ak sa opravy nevykonaju spravne, mozu mat za nasledok vazne poranenie a poskodenie zariadenia a prislustenstva, a tiez negativne ovplyvni' fungovanie zariadenia.
Príslušné symbol na zariadení alebo obale znamená, ze sa zariadenie nemože vyhodit do domaceho opadu.
SnadnýManuál