FS DRW 14 - ısıtmalı çekmeceler ve dolaplar FRANKE - Ücretsiz kullanım kılavuzu
Cihazın kılavuzunu ücretsiz bulun FS DRW 14 FRANKE PDF formatında.
Sık sorulan sorular - FS DRW 14 FRANKE
Kullanıcıların soruları hakkında FS DRW 14 FRANKE
0 soru bu cihaz hakkında. Bildiklerinizi cevaplayın veya kendinizinki sorun.
Bu cihaz hakkında yeni bir soru sor
Cihazınız için talimatları indirin ısıtmalı çekmeceler ve dolaplar PDF formatında ücretsiz! Kılavuzunuzu bulun FS DRW 14 - FRANKE ve elektronik cihazınızı yeniden ele alın. Bu sayfada cihazınızın kullanımı için gerekli tüm belgeler yayınlanmaktadır. FS DRW 14 markasının FRANKE.
KULLANIM KILAVUZU FS DRW 14 FRANKE
Güvenlik bilgileri 185
Genelbakis 186
Cekmece doldurma ornekleri 187
Calistirma 187
Isitma cekmecesinin ceseitli kullanim alanlartin listesi 187
Sofra gereclerini on isitma 188
Yemeigi sicak tutma 188
Temizlik ve bakim 191
Cekmecenin cikarilmasi 191
Dis yüzeylerin temizlenmesi 191
Isitma plakasin temizlenmesi 191
Bakim ve tamir 191
Elden cikarma 192
Müsteri hizmetleri 192
Teknik veriler 192
BU KILaVUZ HaKKInDa
Bu kullanim kilavuzu urunun ceşitli modelleri icin geçerlidir. Dolayisiyla açıklanan özellik ve islevlerin bazilar sahip oldugunuz urunde bulunmayabilir.
- Ürünü kullanmadan önce kullanım kilavuzunu dokkatlice okuyun.
Kullanim kilavuzunu saklayin. - Bu kullanim kilavuzunda açiklanan ürünü sadece kullanim amacina uygun sekilde kullanin.
Sembol Anlami

Uyari sembolü. Yaralanma risklerine karı uyari.
Yaralanma veya hasardan kaçınmak iar Güvenlik ve uyari notlarinda belirtilen eylemler.
Eylem basamagi. Yapilmasi gereken bir eylemi belirtir.
Sonuc. Bir veya birden fazla eylem basamaginin sonucu.
Sonraki eylemgereklestirilmeden onceyerine getirilmesi gereken on kosul.
KULLanIm amacl
Isitma cekmecesi, evde yemek hazirligi icin ozel olarak gelistirilmistir.
Isitma cekmecesi duşuk sicutkta yemek pişirmek, yemeşi sicut tutmak ve sofra gereçlerini on isitmak,—in kullanilabilir.
Isitma cekmecesini hayvan, tekstil urunu veya kagit isitmak icin kullanmayin.
Isitma cekmecesini oda isiticisi olarak kullanmayin.
Isitma cekmecesini kapatmadan once, herhangi bir zarara yol açmamak icin cekmecenin icinde herhangi bir hayvan veya isiya duyarli herhangi bir nesne olmadigindan emin olun.
Isitma cekmecesinde yiyecek, sicakliga duyarli.
made veya yanici madde (orn. temizlik
maddeleri, firin spreyleri vb.) saklamayin.
GüVenLIK BILGISerl
Urünün yanlış kurulmasindan ve yanlış, uygunsuz veya makul olmayan bir bucimde kullanımasindan kaynaklanabilecek olası hasarlardan üretici sorumlu tutulamaz.
Isitma cekmecesi agir yukleri taşiyamaz.
Isitma cekmecesine tirmanmayin, cekmecenin uzerinde durmayin veya cekmecenin uzerine oturmayin.
Asiri yuklemeden oturu urunde hasar!
Maksimum cekmece yuku 25 kg'dir. Yuk aigriliginin uzerine cikilmasi, isitma cekmecesinde hasara yol acar.
Isitma cekmecesine agir nesneler koymayin.
Urun, güvenliklerinden sorumlu bir kisinin
gözetenliginde ve talimatı altinda olmadiklan
takdirde;cocuklar, fiziksel,duyusal vya zihinsel
engelliler vya sinirldenyimi ya da bilgisi alan kisiler
tarafindan kullanilmamalı veya temizlenmemelidir.
Sekiz yasin altindaki;cocuklar gozetim altinda olsalar
dahi urunu kullanmamalı veya temizlememelidirler.
Urun oyuncak degildir.
Cocuklari urunden ve ambalaj malzesinden uzak tutun.
Cocuklarin yanlarinda bir yetiskin olmadan urunun yanina yaklasmalarina izin vermeyin.
Cocuklarin urunle oynamalarina izin vermeyin.

Hasarli urun nedeniyle elektrik carpmasi
risk!
Isitma plakasinda kirk, catlak veya baska bir defo varsa, urun hasarlidir.
Hasarli urunu calistirmayin.
Sigortayi sigorta kutusundan kapatin.
Müsteri hizmetleriyle irdibata gecin.

Sivirigiñedeniyilelektrikcarpmasiriski!
Urun elektrik bilisenler icermektedir.
Urunun icine sivi girmediginden emin olun.
Ürünü temizlemek icin basinçli buhar kullanmayın.
Calisan elemanlari temizlemek icin islak bez kullanmayin.

Sicak yüzeyler nedeniyle yanik riski!
Isitma cekmecesinin isitma plakasi cok sicak hale gelebilir. Isitma plakasi, kapatildiktan sonra bir sure daha sicutligini korur ve yavaş yavaş soguyarak oda sicutligina gelir.
Sicak yüzeylere dokunmayin.
Isitma gezmecesini aqip kapatirken dikkatli olun.
Isiya dayanikli eldivenler giyin.
Ürünü temizlemeden once soguması icin belli birsure bekleyin.

Yangin riski!
Yanici plastik kaplari asla urunun icinde saklamayin.
Bizzat isitmacekmecesinden veya iceriden gelmesi mumkun alan bir duman fark ederseniz:
Isitma cekmecesini kapali tutun.
Sigortayi sigorta kutusundan kapatin.
Isitma cekmecesinin tamamen sougumasini bekleyin.
Isitmacekmecesini acin ve hasar olup olmadigi nki kontrl edin.
Emin olamiyorsaniz, isitmacekmecesini kullanmayin.
Sicaklik farkı nedeniyle kaplarda hasar risik!
Sicak tencereliner veya sicak tavalarin ocaktan alinip dokrudan isitma cekmecesindeki isitma plakasinin uzerine yerlestirlimesi, isitma plakasinda hasara yol acar.
Sicak tencereleri ve sicak tavalari istmopalakasinin uzerine yerlestirmeden oncesogumalarini bekleyin.
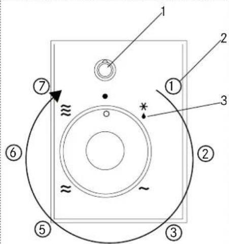
GeneL BaKIs


(4)
1 Isitma plakasi
2 Fan ve isitici
3 Calistirma gostengesi
4 Calistirma kadrani
5 Kontrol lambasi
Calistirma kadrani
1 Calistirma gostengesi
2 Seviye numarasi
3 Seviye imgesi
| Simge | Seviye | Sıçakkı | İşlev |
| ● | -0°C Kapali | ||
| * | ① | Buzatózme, mayali hamuru kabartma | |
| ▲ | ② | 40°C | |
| ③ | Buzatózme, kaplari on isitma, ekmeği sicals tutma | ||
| ~ | ④ | ||
| ⑤ | 60°C | ||
| ≈ | ⑥ | 80°C | Yemeği sicals tutma |
| ≈ | ⑦ | 80°C+ | Sofra takimi alanı on isitma |
Sicakliklar, isitma seksmecesi bosken isitma
plakasinin yüeyinin sicakligidir. Kullanicinin
kendi olçüm alelteriyle yapacagl olçümler hassas
olmayabilirvesicakliginogrulugunukontroletmek
icin uygun degildir.
Isitma cekmecesi ancak cekmece duzgün sekilde
kapatildiginda isinir.
Çekmece doldurma örnekleri
-A Tabak 24~cm
- B Corba kasesi 23 cm
-C Bardak 9 cm
- D Kap 17 cm
- E Kap 19 cm
| Yemek tabakleri Akşam yemeği ana yemek takimi | Komple yemek takimi ve servis tabakleri | |||
| Örnek | A A | A C B | C A D E C B | |
Kaplar 6 A 6 A, 6 B, 7 C 4 A, 4 B, 6 C, 1 D, 1 E
ÇaLIŞTİrma
Isitmacekmecesinin cesisli kullanim alanlarinin listesi
| Sicaklik Yiyecekler / kaplar | Notlar | |
| yakl.40°C | - Derin dondurulmugsgidalar; orn.kremalipasta,tereyağı,sosis,peynir- Kabarmş hamuru dinlenmeyebirakma | - Buzlarini yüzün- Kapaçını kapatın,mümkıncse dizbir kaba koyun |
| yakl.60°C | - Derin dondurulmugsgidalar; orn.et,pasta,ekmek- Yumurtaları sicut tutma; orn.lop yumurta,yağda yumurta-Ekmeşis icak tutma; orn.tost,hamburger ekmeigiçme kaparınön,isitma-Hassas yiyecekleri icak tutma; orn.düşuk sicutlkipta pismiş et | - Buzlarini yüzün- Sofra gereçeleri on isitn,yemeşin üstünu kapatın- Sofra gereçeleri on isitn,yemeşin üstünu kapatın- Örn. Kahve fincanları- Kapların kapakları kapatın |
| yakl.80°C | - Yemeşis icak tutma- İçecelere icak tutma-Düz,hamur tabanlıyiyecekleri,isitma; orn.pankek,taco,omlet-Pandispanya isitma; orn.kırntl Pastasi,muffin- Yemeklik çikolatayı veya çikolata kaplamayi eritme-Jelatini yüzme | - Sofra gereçeleri on isitn,yemeşin üstünu kapatın- Sofra gereçeleri on isitn,içecelerin üstünu kapatın- Sofra gereçeleri on isitn,yemeşin üstünu kapatın- Sofra gereçeleri on isitn,yemeşin üstünu kapatın- Sofra gereçeleri on isitn,yiyeçigiufak parçalara ayırın- Üstünu kapatmayın,yakl.20 dakika)sürer |
Sofra gereçlerini on isitma
Ön isitma suresi
Ön isitma suresi, kaplarin yapildiklari malzemelere ve kalinlikarina, sayilarina, yuksekliklerine ve yerleştilme sekillerine baglidir. Istiflenen tabaklarin isinmasi, tek tek yerleştilen parçalara kiyasla daha uzun sürer.
Alti kisilik yemek takiminin on isitmasi yaklasik 45-60 dakika surer.

Yanik riski!
Icme kaplari 5. ayar seviyesinde cok sicak olurlar.
Icme kaplar (orn. kahve fincanlar) icin 4. ayar seviyesinin uzerine cikmayin.
Sofra gereçlerini doldurma
Isitma cekmecesini acin.
Kaplari tum yuzeye dagitarak cekmeceye yerleştin.
- Calistirma kadranin 2. seviyeye (veya yukaridaki tabloda yazan seviyeye) cevirin.
- Içme kaplari,—çalistirma kadranı 3. seviyece)—cevirin.
Kontrol lambasi yanar.
Cekmeceyi kapatin.
Kontrol lambasi yanar.
- Ürün isinir.
Sofra gereçlerini çikartma ve isitmaçekmecesini kapatma

Sicak kaplar nedeniyle yanik riski!
Isitma plakasinin yüzeyiçok sicak hale gelebilir.
Cekmecenin dibindeki esyalar usttekilere kiyasla daha fazla isinirlar.
Sofra gereçlerini Çıkartırken daima isiya dayaniklbir bez veya eldiven kullanin.
Isitma cekmecesini acin.
Kaplari ve sofra gereçlerini seksartin.
Calistirma kadranini 0. seviyeye cevirin.
Isitma qekmecesini kapatin.
Yemeigi sicut tutma
Yemeklerin sicut tutulmasi icin, isitma cekmecesinde sicut tutma suresinin bir saati aasmamasitavsiye edilmektedir.
Aşaqidaki g_idalar s_icak tutulmaya uygundur:
- Et, tavuk, balik, soslar, sebzeler, mezeler, corbalar
Sicaklik farkı nedeniyle kaplarda hasar risik!
Sicak tencerelerin veya sicak tavalarin ocaktan alinip dokudan isitma cekmecesindeki isitma plakasinin uzerine yerleşirilmesi, isitma plakasinda hasara yol acar.
Sicak tencereleri ve sicak tavalari isitmaplakasinüzerine yerleştimeden once sagumalarini bekleyin.
Asiri doldurma nedeniyle yemek ta'masi!
Tabaklari, bardaklari, kaplari vb. asiroldurdurmaktan kacinin.
Yemeklerin üstünü isiya dayanikli bir kapakla veya aluminyum folyoyla kapatin.
Sofra gereçlerini ve yemekleri doldurma
Isitma gekmecesini acin.
Kaplari gekmeceye yerlestirin.
Calistirma kadranini 6. seviyeye cevirin.
Cekmeceyi kapatin.
Isitma cekmecesini 10 dakika boyunca on isitn.
Isitma gekmecesini acin.
Yemekleri on isitilmis kaplara koyun.
Cekmeceyi kapatin.
Kontrol lambasi yanar.
■ Isitma seksmecesinin icindeki sicutlik yaklaik 80^' dir.
Sofra gereçlerini Çikartma ve isitmacekmecesini kapatma

Sicak kaplar nedeniyle yanik riski!
Isitma plakasinin yüzeyi cok sicak hale gelebilir.
Çekmecenin dibindeki esyalar üsttekilere kiyasla daha fazla isinlar.
Sofra gereçlerini Çikartirken daima isiya dayanikli bir bez veya eldiven kullanin.
Isitma cekmecesini acin.
- Içinde yemek olan kaplari ve sofra gereçlerini Çikartı.
Calistirma kadranini 0. seviyeye cevirin.
Isitma gekmecesini kapatin.
Dusuk sicutlkta pisirme
Dusuk sicaklikta pisirme, kaliteli etleri istediginiz kivama gelene kadar pisirme yontemidir. Et yumusak kalir ve kurumaz. Dusuk sicaklikta pisirme sureleri klasik pisirme yontemlerine kivasla daha uzundur.
Uygun kaplar
Uygun, kapakli cam, porselen veya seramik kaplar (orn. kapakliguvec kabil) kullanin.
Dusuk sicaklikta piirme icin ipuçları
Sadece taze, kaliteli etler kullanin.
Sinirleri ve yaglan dikkatlice alin. Yag, duşuk sicutlka piirme boyunca kuvvetli, belirgin bir tat gelistirir.
Etlerin piimesine 45-60 dakika kala tabaklar etlerle beraber isitma cekmecesine yerlestirin.
Dusuk sicaklikta pisirilen etleri sicak tutmak icin dusuk sicaklikta pisirmeden sonra calistirma kadrann 5. seviyeve getirin.
-
Etleri cevirmenize gerek yoktur.
-
Düşük sicutlukta pişirilen etler, bekletmeye gerek olmadan derhal kesilebilirler.
- Bu piisirme yontemi kullanildiginda etlerin ici pembe görunebilir. Bu, etin cig veya duzgün pismemis oldugu anlamina gelmez.
- Düşük sicutlukta pişirilen etler, klasik yontemlerle kizartilan veya kavrulan etler kadar sicut olmaz. Soslar ve kivamlı et suyu (gravy) çok sicut sunulmaldir.
- Kusbaşi etler maksimum 45 dakika, buyuk parçalar ise maksimum 2 saat boyunca sicak tutulabilir.
Kizartarak mühürleme ve tamamlama sureleri
Tüm yumuşak.siğir,domuz,dana ve kuzu eti kismari duşuk sicutlkita pişirme icin uygundur. Kizartarak mühürleme ve pişirme sureleri etin kalınligina ve agirligina baglidir. Kizartarak mühürleme suresi, etin ocakta, kizgin yagli tavadamuhürlenme suresidir.
| Yemek boyları Oćaktaş tamamlanması Isihtarıçekmecesinde tamamlanması | ||
| Küçük | ||
| Küçük eskalop | Her iki tarafinda 1-3 dak | 30-50 dak |
| Biftek Tarafbara 1-2 dak 40-60 dak | ||
| Orta | ||
| Domuz fileto (yakl. 500 g) | Her iki tarafinda 4-5 dak | 75-120 dak |
| Kuzu fileto (yakl. 250 g) Tarafbara 2-3 dak 60 dak | ||
| Sigr veya dana dokum, domuz kontrfile,.siigr veya domuz bonfile (maks. 900 g) | Her iki tarafinda 10-15 dak | 120-240 dak |
| Büyük | ||
| Sigr fileto, dana dokum,yumurta, kontrfile,irisigr eti parçasi(en az 900 g) | Her iki tarafinda 10-15 dak | 180-270 dak |
| Rozbif (1-2 kg) | Her iki tarafinda 10 dak | 210-300 dak |
Kabin oldugu isitma cekmecesini 2. seviyede on isitin.
Bir tavadacabucak biraz yag kizdirin.
Eti yuksek sicaklikta kizartarak muhurleyin vederhal on isitulan kaba yerleşirin.
Kapagini kapatin.
Etin oldugu kabıyeniden isitmaçekmecesine koyup etyumusayana kadarpisirin.
Calistirma kadranini 6. seviyeye cevirin.
SorUn GIDerme
Bu bolümde, verilen talimatlarin yerine getirilmesyle kolaylɪklaoczülebilecek arizalar siralanmɪstɪr. Başa bir ariza görtündenirse veya ariza giderilemezse lütfen Müsteri Hizmetlerini arayɪn.
Kaplar veya yemekler soguk kaliyor
Isitma cekmecesi aik degildir.
Urunuaçn.
Guc kaynagikesintisi.
Güç kaynakınti kontrol edin.
Cekmece duzgün sekilde kapatilmamistani.
Cekmeceyi kapatin.
Kaplar veya yemekler yeterli olcude isitilmyor
Isitma suresi yok kisadir.
Isitma suresini uzatin.
Cekmece duzgün sekilde kapatilmamistani.
Cekmeceyi kapatin.
TemIZLIK Ve BaKIm
Herhangi bir temizlik veya bakim islemigiGeorgeklestirmeden once:
Urunukapatin.
Calistirma kadraninin 0. seviyede oldugundan emin olun.
Çekmecenin Çikarilması
Temizlik ve bakim islemlerinin daha iyi gereklekestirilebilmesi icincekmece mahfazadan tamamen ickarilabilmektedir.
Cekmeceyi açın.
Mahfazanin her iki tarafindaki vidalari dokun.
- Cekmeceyi cekip cikarin ve saglam bir yüzeyin üzerine koyun.
BaKIm Ve Tamlr
Tamir islemleri, yanlş yapildiklari takdirde ciddi yaralanmalaru, ürunde ve parçalarinda hasara yol acabilir veya ürünün isleyisini etkileyebilir.
Kontrol lambasi cekmece kapaliyken yanip sonuyor
Cekmece duzgün sekilde kapatilmamistr.
Cekmeceyi kapatin.
Kontrol lambasi cekmece kapaliyken hizlcayanip sonuyor
Urunde aniza.
Müsteri Hizmetlerini arayin.
Isitma cekmecesi calisiyor ancak kontrl lambasi devaml suretle yanmiyor veya kontrl lambasi yanip sonuor.
Bozuk lamba.
Müstperi Hizmetlerini arayin.
Dis yüzeylerin temizlenmesi
Kirleri ve temizlik solusyonlarini derhal giderin.
▶ Su ve az miktarda sivi bulasik deterjaniyla hafif islatilmis yumusak bir bezle yüzeyleri temizleyin.
Metalik yüezyler icin: Original cila Çizgilerinin yönunde ovun.
Yumusak bir bezle kurulayin.
Isitma plakasinin temizlenmesi
Isitma plakasinlik su ve biraz deterjanlatemizleyin.
Elektriki bileşenlerin bakimın sadece üretici vya Müsteri hizmetleri tarafindanGPCkelestirildiginden emin olun.
Hasarli kabolarin sadece uretici veya musteri hizmetleri tarafindan degistirildiginden emin olun.
eLDen ÇIKarma

Urun veya ambalaj uzerindeki sembol, urunun evsel atiklarla beraber atilmaması gerektigini gosterir.
Urunu uygun bir yolla elden cikararak, cevre ve saglik uzerindeki zararl etkilerden kaçınilmasini saglamis olursunuz.
Urunun geri donusturulmesi hakkinda ayrintili bilgi yetkili makamlardan, yerel cop toplama hizmetlerinden veya urunu satan bayiden elde edilebilir.
Atilacak urunu, elektrik ve elektronik urunlere ozel atik toplama noktasi yoluyla elden icarin.
mÜSTerl HIZmeTLerl
Arka sayfada ülkeniz icin verilen irtibat adresine veya www.franke.com sitesine basvurun
TeKnIK VeriLer
Dis boyutlar/Elektrikl parca boyutlan:
Ürünün ustündeki tip plakasin (1) bakin.

Teknik verilerle ilgili daha fazla bilgi icin: - www.franke.com
目录
关于本手册 194
设计用途 194
安全信息 195
概述 196
装载示例 197
操作 197
电暖抽屉多种用途列表 197
预热餐具 198
保温食物 198
低温烹饪 199
故障排除 200
清洁和护理 200
拆卸电暖抽屉 200
清洁外部 200
清洁加热板 200
维护和维修 201
废弃处置 201
客户服务 201
技术数据 201
关于本手册
Franke Mutfak ve Banyo
Sistemleri Sanayi ve Ticaret A.S.
41400 Gebze Kocaeli
Phone +90 262 644 6595
Ukraine
Franke Ukraine LLC
02081 Kiev
Phone +38 044 492 0015
KolayKılavuz