FS DRW 14 - Vyhrievané zásuvky a skrine FRANKE - Bezplatný návod na obsluhu
Nájdite návod k zariadeniu zdarma FS DRW 14 FRANKE vo formáte PDF.
Často kladené otázky - FS DRW 14 FRANKE
Otázky používateľov k FS DRW 14 FRANKE
0 otázka o tomto zariadení. Odpovedzte na tie, ktoré poznáte, alebo položte vlastnú.
Položte novú otázku o tomto zariadení
Stiahnite si návod pre váš Vyhrievané zásuvky a skrine vo formáte PDF zadarmo! Nájdite svoj návod FS DRW 14 - FRANKE a vezmite svoje elektronické zariadenie späť do rúk. Na tejto stránke sú zverejnené všetky dokumenty potrebné na používanie vášho zariadenia. FS DRW 14 značky FRANKE.
NÁVOD NA OBSLUHU FS DRW 14 FRANKE
Tipy pro prípravu jidel pri nizké teplotě
Bezpečnostné informácie 135
Prehlad 136
Priklady nalozenia 137
Prevádzka 137
Zoznam roznych použiti ohrevnej zásuvky 137
Predohrev riadu 138
Udrziavanie jedla v teplom stave 138
Varenie pri nizkej teplate 139
Riesenie problemov 141
Cistenie a osetrovanie 141
Vybratie zásuvky 141
Ocistenie vonkajsej strany 141
Čistenie ohrievacej dosky 141
Udrzba a opravy 142
Likvidácia 142
Zakaznicky servis 142
Technické udaje 142
o TomTo nÁVoDe
Tento námod na používanie sa vztáhuje na niedkol'ko modelov zariadenia. Móze sa teda stat, ze niedtore opisané vlastnosti a funkcie nebudú v určitom modeli k disposzicii.
Pred použivanim zariadenia si dokladne precitajte námod na použivanie.
Navod na použivanie si uchovajte.
Zariadenie opisané v tomto navode na pouzivanie pouzivaje vylucne v sulade so zamysl'anym pouzitim.
Symbol Vyznam

Varovny symbol. Varovanie proti nebezpečenstvu urazu.
Kroky, ktoré treba vykonat v bezpeci, a varovné poznámky na zabranychie urazu alebo poškodeniu.
Krok. Určuje akciu, ktorá sa má vykonat.
Vysledok. Vysledok jederho alebo viacerych krokov.
Predbezné podmienka, ktoru trebsplinit pred vykonanim následnej akcie.
ZamYŠL'ané PoUŽITle
Ohrevná zásuvka sa použiva na varenie pri nízkej teplote, udržiavanie jedla v teplom stave a predohrev stolového riadu.
Nepoužívajte ohrevnú zásuvku na sušenie zvierat, látok alebo papiera.
Nepoužívajte ohrevnú zásuvku na vykurovanie miestnosti.
Pred zatvorenim ohrevnej zasuvky sa uistite, ze v zasuvke neostali domace zvierata ani predmety, ktoré su citlive na teplo alebo by sa mohli poskodit.
V ohrevnej zásuvke neskladujte ziadne materiały citlivé na teplo alebo horťave materiały napr. Čistace prostriedky, spreje na Čistenie rúry atd.
BeZPeČnoSTnÉ InformÁcle
Vyrobca nemoze byt volany na zodpovednost za pripadne skody, ku ktorym dojde v dosledku nespravnej instalacie a nespravneho, nevhodného alebo neprimeraného použitia zariadenia.
Ohrevná zásuvka nemoźne niest tazké bremená.
Na ohrevnú zásuvku sa neshplhajte, nestojte na nej ani si na nu nesadajte.
Hrozi poskodenie zariadenia v dosledku nadmerného zaă Zenia!
Maximalna nosnost zasuvky je 25kg .Prekrocenie nosnosti ohrevnuzasuvku postkodi.
Nevkladajte do ohrevnej zásuvky tázéké predmety.
Deti a osoby s obmedzenymi fyzickymi, senzorickymi alebo duševnám schopnostami nesmú zariadenie používat bez dozoru a pokynov osoby zodpovednej za ich bezpečnost.
Deti mladsie ako 8 rokov nesmu zariadenie pouzivat alebo cistit ani pod dozorom.
Toto zariadenie nie je hračka.
Udrziavajte zariadenie a jeho balenie mimo dosah deti.
Nenechajte deti pohybovat sa v blizkosti zariadenia bez dohladu.
Nedovol'te detom hrat sa so zariadenim.
!Riziko urazu elektrickym prudom pri poskodenom zariadeni!
Ak su na ohrevnej doske prasklyn, skvrny alebo trhlyn, zariadenie je poskodené.
Ak si všimnete,Že z ohrevnej zásuvky alebo jej vnútorného priestoru vychádza dym:
Nechajte ohrevnú zásuvku zatvorenú.
Vypnite poistku v poistkovej skrinke.
Nechajte ohrevnú zasuvku uplny vychladnuf.
Otvorte ohrevnú zásuvku a skontrolujte pripadné poskodenie.
V pripe de pochybnosti ohrevnú zásuvku nepoužívajte.
Poskodenie riadu v dosledku teplotného rozdielu!
Vlozenie horúcich hrncov alebo panvic zo sporáka priamo na ohrievaciu dosku ohrevnej zásuvky poskóźásuvku.
Pred polozenim horucich hrncov alebo panvic na ohrievaciudosku nechajte hrnce a panvice vychladnut.
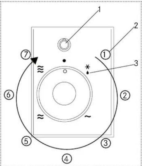
PreHL'aD


1 Ohrievacia doska
2 Ventilator a ohrievacie teleso
3 Indikator cinnosti
4 Otočný volic
5 Kontrolka
Otočné volč
1 Indikator cinnosti
2 Cislo urovne
3 Ikona urovne
| Ikona Ürovečn Teplota Funkcia | ||
| ● | -0 °C Vypnuté | |
| * | ① | |
| ● | ② | 40 °C Rozmrazovanie, vykysnutie cesta s kvasnicami |
| ● | ③ | |
| ● | ④ | |
| ● | ⑤ | 60 °C Udržiavanie jegla v teplom stave |
| ● | ⑥ | 80 °C |
| ≈ | ⑦ | 80 °C+ Predohrev porcelánovych a hlinenych námob |
Teploty sa tykaju povrchu horucej dosky, ked je ohrevna zasuvka prazdna. Vlastne meranie moze byt nepresne a nie je vchodne na kontrolu presnosti teploty. Ohrevna zasuvka ohrieva iba vtedy, ked je spravne zatvorená.
Priklady nalozenia
-A Tanier 24~cm
B Polievkovy tanier 23 cm
C Salka 9 cm
- D Nádoba 17 cm
- E Nadoba 19 cm
Zoznam roznych použití ohrevnej zásuvky
| Teplota | Jedlá/nádoby | Poznámky |
| priblíne 40 °C | -Hlboko zmrazené potraviny, napr. šl’ahačkové torty, maslo, klobásy, syr- Odpočivanie vykysnutého cesta | -Rozmrazovanie- Zakrytie, možné na plochom riade |
| priblíne 60 °C | -Hlboko zmrazené potraviny, napr. mâso, koláče, chleba-Udržiavanie vajíčok v teplom stave, napráklad vajíčok natvrdo, miešaných vajíčok-Udržiavanie chleba a pečiva v teplom stave, napráklad toastov, rožkov-Predohrev nádob na pitie-Udržiavanie jemných Jedál v teplom stave, napráklad mäsa vareného pri nizkej teplate | -Rozmrazovanie-Predohrev riadu, zakrytjuredoPredohrev riadu, zakrytjuredo-Napr. šálky na espresso-Zakryt'riad |
| priblíne 80 °C | -Udržiavanie Jedla v teplom stave-Udržiavanie nápojov v teplom stave- Ohrievanie tenkých Jedál z cesta, napr. palaciniek, placiek taco a omeliet- Ohrievanie piškótvych koláčov, napr. koláčov s posýpkou, mafinov-Roztápanie Čokolády na varenie alebo Čokoládovej polevy-Rozpúštanie Želatíny | -Predohrev riadu, zakrytjuredo-Predohrev riadu, zakrytánpoje-Predohrev riadu, zakrytjuredo-Predohrev riadu, zakrytjuredo-Predohrev riadu, zakrytjuredo-Predohrev riadu, zakrytjuredo-Predohrev riadu, zakrytjuredo-Predohrev riadu, zakrytjuredo-Predohrev riadu, zakrytjuredo-Predohrev riadu, zakrytjuredo-Predohrev riadu, akúskov- Predohrev riadu, akúskovjodji, trvá asi 20 minút |
Predohrev riadu
Trvanie predohrevu
Trvanie predohrevu závisi od hrúbky a materialu riadu a na jeho množstve, výške a usporiadani. Ohriatie nastohoványch tanierov trva dlhsie ak ohratie samostatnych položiek.
Predohrev stolného riadu pre 6 osôb si vyžiada príblízne 45 až 60 minút.

Nebezpečenstvo popálenia!
Pri nastavenej urovni 5 sa nadoby na pitie mozui velmi zahriat.
Pri ohrievani nadob na pitie, napriklad salok na kavu, neprebrocte uroven nastavenia 4.
Nalozenie stolného riadu
Otvorte ohrevnuzasuvku.
Vložte riad do zásuvky a Rozložte jegnotlivé kusy po celej ploche.
- Otočte otočné volč na uroven 2 (alebo na uroven podla tabulky vyšsie).
-
Pre nádoby na pitie otočte otočné volic na uroven 3.
-
Rozsvieti sa kontrolka.
Zatvorte zásuvku.
- Rozsvieti sa kontrolka.
Zariadenie sa zahreje.
Vylozenie riadu a vypnutie ohrevnej zasuvky

Nebezpečenstvo popálenia pri kontakte s
horucim riadom!
Povrch ohrievacej dosky moze byt veImi horuci. Kusy riadu v dolnej casti zasuvky mozu byt viac horuce aka kusy v hornej casti.
Na vyberanie riadu vždy použivajte latku alebo rukavice odolné voči teplu.
Otvorte ohrevnuzasuvku.
Vyložte stolny riad a nádoby
Otočte otočné volč na uroven 0.
Zatvorte ohrevnú záuvku.
Udržiavanie Jedla v teplom stave
Pri udrziavani Jedla v tepom stave sa odporuča nenechat jeglo v ohrevnej zásuvke dlhsie ako hodinu. Na udrziavanie v tepom stave su vchodné nasledujuce potraviny:
- mäso, hydina, ryby, omáčky, zelenina, prílohy, polievky
Poskodenie riadu v dosledku teplotného rozdielu!
Vlozenie horucich hrncov alebo panvic zo sporaka priamo na ohrievaciudosku ohrevnej zasuvky poskodi zasuvku.
Pred polozenim horucich hrncov alebo panvic na ohrievaciudosku nechajte hrnce a panvice vychladnut.
Rozliatie jegla v dösledku nadmerného naplenia!
Nepreplnajte taniere, salyk, nadoby atd.
Jedlo zakryte vekom odolnym voci teplu alebo alobalom.
Nalozenie stolného riadu a jegla
Otvorte ohrevnú zasuvku.
Vlozte nádoby do zásuvky.
Otočte otočné volč na uroven 6.
Zatvortezasuvku.
Zahrievajte ohrevnú zásuvku 10 minút.
Otvorte ohrevnuzasuvku.
Vlozte jedem do predhriatych nadob.
Zatvorte zásuvku.
- Rozsvieti sa kontrolka.
Teplota v zásuvke je približne 80^
Vylozenie riadu a vypnutie ohrevnej zasuvky

Nebezpecenstvo popálenia pri kontakte simi riadom!
Povrch ohrievacej dosky moze byt horuci. Kusy riadu v dolnej casti zasuvky mozu byt viac horuce aka kusy v hornej casti.
Na vyberanie riadu vždy používajte latku alebo rukavice odolné voči teplu.
- Otvorte ohrevnú zásvuku.
Vyložte stolny riad a nádoby s jedlom.
Otocte otochny volic na uroven 0.
Zatvorte ohrevnú zásuvku.
Varenie pri nizkej teplate
Varenie pri nizkej teplate je metoda varenia
vysokokvalitnych kusov masa, až kým nie su práve
hotove. Máso ostane mäkké a štavnate. Časy varenia
pri nizkej teplate su dlhsie ako pri konvenčnom
vareni.
Vhodné nádoby
Používajte vchodné sklené, porcelánové alebo keramické nádoby s vekom (napr. zapekacia misa s vekom).
Tipy pre varenie pri nizkej teplate
Používajte iba Čerstve a kvalitné kusy mäsa.
Dokladne odstrante slachy a suk. Pri nizkoteplotnom vareni ziska tuk siln, vyraznuchut.
Vložte taniere s māsom do ohrevnej zásvky na posledných 45 - 60 minút.
Aby ste urzali maso uvarene pri nizkej teplote v teplom stave, otocte po ukoneni nizkoteplotného varenia otočný volic spa' na uroven 5.
- Mäso nie je treba otočit.
- Mäso sa dá krájat okamžite po ukončeni nízkoteplotného varenia bez Času potrebného na odležanie.
- Pri tejto metóde varenia je mäso vnútri ružové. To neznamená, ze je surové alebo nesprávné uvarené.
- Mäso varene pri nizkej teplate nie je tak horuce ako tradicne peçene alebo duseni maso. Omácky alebo štava by sa mali podávat velmi horuce.
- Male kusy masa sa mozu udrziavat teplé 45 minut, vel'ke kusy až 2 hodiny.
Casy opecenia a dokcnenia
Na nízkoteplotné varenie su vhodné akékol'vek mäkké kusy hovádzieho, bravcového, tel'aceho a jahnacieho masa. Časy opečenia a dokončenia závisia od hrúbky a hmotnosti masa. Čas opečenia sa vztahuje na zatiahnutie masa v horúcom tuku na panvici na sporák.
| Ve'l'kosti kusov riadu Dokončovanie na | sporáku | Dokončovanie v ohrevnej zásuvke |
| Malé | ||
| Malé rezne | 1 - 3 minúty na každej strane | 30 - 50 minút |
| Steaky | 1 - 2 minúty na každej strane | 40 - 60 minút |
| Stredne ve'l'ký | ||
| Plát bravčového mäsa (priblížne 500 g) | 4 - 5 minút na každej strane | 75 - 120 minút |
| Jahřacia kotleta (priblížne 250 g) | 2 - 3 minúty na každej strane | 60 minút |
| Ve'l'ké kusy hovadzieho alebo tel'acieho mäsa, stredne ve'l'ké bravčové karé, bravčová panenská sviečková a hovadzia sviečkovica (max. 900 g) | 10 - 15 minút na každej strane | 120 - 240 minút |
| Ve'l'ké kusy | ||
| Plát hovadzieho mäsa, vysoký kus tel'acieho mäsa, vysoký koniec, ve'l'ký kus hovadzieho mäsa (900 g a viac) | 10 - 15 minút na každej strane | 180 - 270 minút |
| Rozbif (1 - 2 kg) | 10 minút na každej strane | 210 - 300 minút |
Zahrejte ohrevnú zásuvku obsahujúcu stolny riad na urovni 2.
Rychlo zahrejte trocha tuku na panvici.
Maso opeche pri vysokej teplate a hned'ho prelozte na zahriaty kus riadu.
Zakryte vekom.
Umiestnite nádobu s māsom spāt do ohrevnej zásvuky a varte, kym nie je māso mäkke.
Otocte otochny volic na uroven 6.
rleŠenle ProBLÉmoV
Tato Čast obsahuje zoznam poruch, ktoré sa dajú)\ jednoducho vyriešit dodržaním poskytnutych\ pokynov. Ak sa zobrázi nejaká ina porucha alebo ak\ sa porucha nedá opravit, obratte sa na zákaznicky\ servis.
Riad alebo potraviny ostanu studené
Ohrevná zásuvka nie je zapnutá.
Zapnite spotrebič.
Prerusenie napajania
Skontrolujte napajanie
Zásvuka nie je správne zatvorená.
Zatvorte zásuvku.
Riad alebo potraviny nie su dostatočne ohriate
Ohrievanie je prilis krátke.
Predlztce cAs ohrievania.
Zásvúvka nie je správné zatvorená.
Zatvortezasuvku.
Zásvúká nie je správne zatvorená.
Zatvortezasuvku.
Ohrevná zásuvka je v chode, ale kontrolkanevesvi t nepretržite alebo bliká.
Chybná kontrlka.
Pred vykonanim akéhokol'evk Čistenia alebo udžby:
Vypnite zariadenie.
Zabezpečte, ze otočné volic je nastavený na uroven 0.
Vybratie zásuvky
Pre lepsie cistenie a osetrovanie sa cela zasuvka davytiahnutz osadenia.
Otvorte ohrevnú zásuvku.
Odskrutkujte skrutky na kaźdej strane osadenia.
Vytyihnite zásuvku a položte ju na pevný povrch.
Ubezpečte sa, ze udžbu elektrickych komponentov vykonáva iba vyrobca alebo zákaznicky servis.
Ubezpečte sa, ze výmenu poskodenych káblov vykonáva iba vyrobca alebo zákaznicky servis.
LIKVIDÁcia

Správnym odstráninem zariadenia pomóžete zabrànít
skodlivým vplyvom naŽivotné prostredie a zdravie.
Dalsie informácie o recykláci zariadenia vám moze
poskytnút zodpovedný organ, miestna služba
likvidácie opadu alebo predajca zariadenia.
Vyradené zariadenia odstrante na spezialnom zbernom mieste pre elektrické a elektronické zariadenia.
ZÁKaZnÍcKY SerVIS
- Pozrite si kontaktnu adresu pre vašu krajinu na zadnej strane navodu alebo na stranke www. franke.com
TecHnIcKÉ ÚDaJé
Vonkajšie rozmery/rozmery pre elektrické zapojenie:
- Pozrite si typovy stitok (1) umiestnén na produits.
Dalsie informácie o technickych udajoch su k dispozicii na:
- www.franke.com

cUPrInS
Informati privind manualul 144
JednoduchýManuál