FS DRW 14 - Värmelådor och skåp FRANKE - Gratis bruksanvisning och manual
Hitta enhetens manual gratis FS DRW 14 FRANKE i PDF-format.
Vanliga frågor - FS DRW 14 FRANKE
Användarfrågor om FS DRW 14 FRANKE
0 fråga om denna apparat. Svara på dem du kan eller ställ din egen.
Ställ en ny fråga om denna apparat
Ladda ner instruktionerna för din Värmelådor och skåp i PDF-format gratis! Hitta din manual FS DRW 14 - FRANKE och ta tillbaka ditt elektroniska enhet i hand. På denna sida publiceras alla dokument som behövs för att använda din enhet. FS DRW 14 av märket FRANKE.
BRUKSANVISNING FS DRW 14 FRANKE
Ikke slå på en skadet enchet.
Sla av sikringen i sikringsboksen.
Ta Kontakt med kundeservice.

Risiko for elektrisk stot som folge av ate dekommen inn!
Om denna bruksanvisning 104
Avsedd användning 104
Sakerhetsinformation 105
Oversikt 106
Placeringsexempel 107
Anvandning 107
Listor over olika anvandninger av varmeladan 107
Förvärmning av tallrikar 108
Halla mat varm 108
Tillagning vid lag temperatur 109
Felsökning 110
Rengöring och skötsel 110
Tautladan 110
Underhäll och reparation 111
Kassering 111
Kundtjänst 111
Tekniska data 111
om Denna BrUKSanVISnInG
Den har bruksanvisingen gäller for flera modeller avprodukten. Därfor ar det möjlg att en del av de beskrivna Funktionerna inte ar tillgangliga på just din modell.
Läs noggrant bruksanvisningen innan du använder Produkten.
Spar bruksanvisingen.
Använd Produkten som beskrivs i den har bruksanvisingen endast for avsett ändamål.
Symbol Innebord

Varningssymbol. Varning mot skaderisker.
Åtgärder i sakerhets- och varningsan-märkningar for att undvika personskador och materiella skador.
Atgardssteg. Anger en atgard som skavidtas.
- Resultat. Resultatet av ett erler flera Åtgårdsteg.
Förutsätting som måste ha uppfyllts innan följande Åtgård utförs.
aVSeDD anVÄnDnInG
Värmelådan har tagits fram uteslutande for matlagning i hushäll.
Varmelådan kan användas for tillagning vid lag temperatur, for att hälla mat varm och forvarma tallrikar.
Använd inte värmelådan För att torka djur, textilier eller papper.
Använd inte värmelådan som en rumsvärmare.
Innan du stänger värmelådan, se till att den inte innehäller nagra husdjur eller foremål som ar värmekänsliga eller kan skadas.
Fövara inte mat ihrer nagra temperaturkänsliga ihrer antänd Liga material, t.ex., rengöringsmedel, ugnssprejer, etc., i värmelådan.
SÄKerHeTSInformaTlon
Tillverkaren kan inte hällas ansvarig für möglicskada som kan uppsta p.g.a. felaktig installation och felaktig, olämplig aller orimlig användning avprodukten.
Varmeladan ar inte avsedd for tung belastning.
Klättra, stä aller sitt inte på värmelådan.
Skada på produkten på grund av überbelastning!
Maximal belastning pa Iadan ar 25 kg. Om lastvikten. overskridskommen detta att skada varmeladan.
Placera inte tunga foremål i varmelådan.
Barn och personer med begränsad fysisk, sensorisk erler mental formåga, aller med begränsad erfarenhetller kunskap, fär inte använda aller rengöraproducten, medindre an att de overvakas och handleds av en person som ansvarar for deras sakerhet.
Barn under 8 År fär inte använda eller rengöräprodukten, inte ens under uppsikt.
Den harprodukten ar inte en leksak.
Häll barn borta frän Produkten och Förpackningsmaterial.
Lämna inte barnutan tillsynnaraprodukten.
Låt inte barn leka medprodukten.
! Risk for elchockPGA ground av skadad produit!
Om det finns brott, brister aller sprickor i varmeplattan ar Produkten skadad.
SIa inte pa en skadad produit.
Stang av sakringen i sakringsdosan.
Kontakta kundtjänsten.
Produkten innehäller elektriska komponenter.
Set till att ingen vätskaträger in i Produkten.
Använd inte trycksatt Ånga För att rengöräprodukten.
Använd inte en vát trasa für att rengörada driftselementen.
Varmeladans varmeplatta kan bli mycket het.
Värmeplattan Förblir het en stund after att den stängts av, ochkommen bara längsamt att svalna till rumstemperatur.
Ror inte vid heta ytor.
Var forsiktig när du öppnar eller stänger varmelådan.
Bär grytvantar.
Ge apparaten tillrackligt med tid for att svalna fore rengoring.
! Risk for brand!
Förvara aldrig antänd Liga plastbehällare i apparaten.
Om du noterar att rök möjligenkommen fransjälva värmelådan eller inifrän:
Häll värmelådan stängd.
Stang av sakringen i sakringsdosan.
Lat varmeladan svalna helt.
Oppna varmelådan och kontrollera med avseende på skador.
Använd inte värmelådan om du ar osäker.
Skador pa tallrikar pa ground av temperaturskillnad!
Om heta kastruller eller stekpannon flyttas direkt franspishallen till varmeladans varmeplattakommen denatt skadas.
Låt heta kastruller eller stekpannon svalna innan de placeras på värmeplattan.
ÖVerSIKT


(4)
1 Värmeplatta
2 Fläkt och värmare
3 Funktionindikator
4 Funktionsvred
5 Kontrollampa
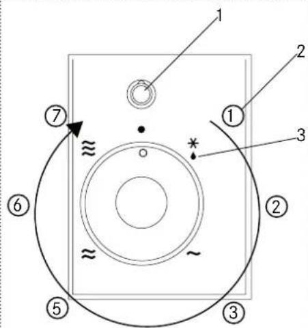
Funktionsvred
1 Funktionindikator
2 Nivanummer
3 Nivasymbol
| Symbol | Nivå Temperatur Funktion | |
| -0 °C Av | ||
| * | ① | |
| Upptining, degjäsning | ||
| ② | 40 °C | |
| Upptining, förvärmning av tallrikar, hölla bröd varmt | ||
| ③ | ||
| ④ | ||
| 60 °C | ||
| ≈ | ⑤ | |
| Hälla mat varm | ||
| ⑥ | 80 °C | |
| ≈ | ⑦ | >80 °C Förvärmning av tallrikar |
Temperaturerna avser den heta plattans yta nar varmeladan ar tom. Egnamatingar kan vara oprecisa och ar inte lampliga for att kontrollera temperaturprecision. Varmeladan varms bara upp om ladan har stangs ordentligt.
Placeregexempel
-A Tallrik, 24 cm
-BSopptallrik,23cm
- C Kopp, 9 cm
-D Tallrik, 17 cm
-E Tallrik, 19 cm

Tallrikar Basdukning for middag Full dukning och serveringsfat
Exempel


Tallrikar 6 A 6A, 6 B, 7 C 4 A, 4 B, 6 C, 1 D, 1 E
anVÄnDnInG
Listor over olika användninger av varmelådan
| Temperatur | Mat / tallrikar | Anmärkningar |
| ca 40 °C | -Djupfryst mat, t.ex. grädbakelser, smör,korv, ost- Låta jäsande deg vila | -Tina-Täckt, möligen på en platt tallrik |
| ca 60 °C | -Djupfryst mat, t.ex. köttt, kakor, bröd-Hålla agg varma, t.ex. hårdkokta agg,aggröra-Hålla bröd varmt, t.ex. rostat bröd, frallor-Förvärmning av drykeskäl-Hålla känslig mat varm, t.ex. köttt tillagatvid lög temperatur | -Tina-Förvärm tallrikar, täck över matT.ex. effesssokoppar-Täck tallrikar |
| ca 80 °C | -Hålla mat varm-Hålla drycker varma-Värma platt, degbaserad mat, t.ex.pannkakor, tacos och omeletter-Värma sockerkaka, smulpaj, muffin-Smälta matlagningschoklad ellerchokladbeläggning-Lösa upp gelatin | -Förvärm tallrikar, täck över mat-Förvärm tallrikar, täck över drycker-Förvärm tallrikar, täck över mat-Förvärm tallrikar, täck över mat-Förvärm tallrikar, dela upp maten i smàbitar-Täck inte över, tar ca 20 minuter |
Förvärmning av tallrikar
Förvarmningslangd
Forvärningslangden beror på tallrikarnas material och tjocklek och deras antal, höjd och placering.
Det tar langre tid att varma upp staplade tallrikar an enskilda foremål.
Det tar cirka 45-60 minutes att forvärma kuvert for 6 personer.

Fara for brännskador!
Dryckeskär blir mycket heta vid inställningsnivå 5.
Overskrid inte installningsniva 4 for uppvärmning av dryckeskär, t.ex. expressokoppar.
Insättning av tallrikar
Oppna varmeladan.
- Placera tallrikar i lådan och fördela dem över helaytan.
Vrid functionsvredet till niva 2 (eller till nivan enligt tabellen oven.)
-
For dryckeskärl skafunktionsvredet vridas till niva 3.
-
Kontrollampa tänds.
Stangladan.
- Kontrollampa tänds.
Apparaten varmsupp.
Uttag av tallrikar och avstängning av varmelådan

Värmeplattans yta kan bli het. Föremål på lådans botten blir hetare an de som är overst.
Använd alltid en värmetälig trasa eller vante für att ta ut tallrikarna.
Oppna varmeladan.
Ta ut tallrikarna och övrig servis
Vrid Funktionsvredet till niva 0.
Stang varmeladan.
Halla mat varm
Det rekommenderas for varmhallning av mat att tiden for varmhallning i varmeladan inte overstiger entimme.
Foljande mat ar lamplig for att hallas varm:
- Kott, fagel, fisk, saser, gronsaker, smärätter, soppor
Skador pa tallrikar pa ground av temperaturskillnad!
Om heta kastruller eller stekpannon flyttas direkt franspishallen till varmeladans varmeplattakommen denatt skadas.
Låt heta kastruller eller stekpannon svalna innan de placeras på värmeplattan.
Undvik überyllning av tallrikar, koppar, skålar, etc.
Täck over mat med att värmebeständigt lock eler aluminiumfolie.
Insattning av tallrikar och mat
Oppna varmeladan.
Placera skalarna i ladan.
Vrid Funktionsvredet till niva 6.
Stang ladan.
Forvarm varmeladan i 10 minuter.
Oppna varmeladan.
Placera maten pà de Förvarmda skálarna.
Stang ladan.
- Kontrollampa tänds.
- Temperature in uti varmeladan ar cirka 80^
Uttag av tallrikar och avstängning av varmelådan

Värmeplattans yta kan bli het. Föremål pa lådans botten blir hetare an de som År overst.
Använd alltid en värmetålig trasa eller vante für att ta ut tallrikarna.
Oppna varmeladan.
Ta ut tallrikarna och övrig servis med maten.
Vrid functionsvredet till niva 0.
Stang varmelådan.
Tillagning vid lag temperatur
Tillagning vid lag temperatur ar en metod for
tillagning av kottbitar av hog kvalitet tills de
är precis klara. Kottet forblir mort och saftigt.
Tillagningstiderna med ltagtemperatursmetoden ar
langre an dem for konventionell matlagning.
Lampliga skalar
Använd lampliga glas-, porslin- aller keramikskålar med att lock (t.ex. en gratängskål med att lock).
Tips for tillagning vid lag temperatur
Använd bara färsa kottbitar av hög kvalitet.
Avlagsna noggrant senor och fett. Fett faren kraftig, distinct smak genom tillagning vid lag temperatur.
Placera tallrikarna i varmeladan tillsammans med kottet under de sista 45-60 minuterna.
Brynings- och fardigstallandetider
Alla mora bitar av notkott, flask, kalvkott och lamm passar for tillagning vid lag temperatur. Brynings- och tillagningstider beror pa kottets tjocklek och vikt. Bryningstiden galler for forsegling av kott i varmt fett i en panna pa spishallen.
For att halla kott som tillagats vid lag temperatur varm sha functionsvredet vridas tillbaka till niva 5 after matlagning vid lag temperatur.
- Du masteinte vanda kottet.
- Kottet kan skivas omedelbart after tillagning vid lag temperaturutan nagon statid.
- Med denna matlagningsmetod kan kottet se rosa ut på insidan. Detta betyder inte att det är rätt eller felaktigt tillagat.
- Kott som tillagats vid lag temperatur ar inte likahett som konventionell genomstekt erler braserat kott. Saser erler sky bör serveras mycket varmt.
- Små kottbitar kan hällas varma i upp till 45 minutes, större bitar i upp till 2 timmar.
| Tallriksstorlekar Färdigställande på spishällen | Färdigställande i värmelådan | |
| Små | ||
| Små Schnitzlar 1-3 min. på varje sida 30-50 min. | ||
| Stekar 1-2 min. per sida 40-60 min. | ||
| Mellanstora | ||
| Fläskfilé (ca 500 g) | 4-5 min. på varje sida | 75-120 min. |
| Lammfransyska (ca 250 g) | 2-3 min. per sida | 60 min. |
| Nött-ller kalvinnanlår, fläskkarré,ött-eller fläskfilé (max. 900 g) | 10-15 min. på varje sida | 120-240 min. |
| Stora | ||
| Oxfilé, kalvinnanlår, sidfläsk,öttbog (900 g aller mer) | 10-15 min. på varje sida | 180-270 min. |
| Rostbiff (1-2 kg) | 10 min. på varje sida | 210-300 min. |
| Förvärn värmelådan, med tallrikarna i, på nivå 2. Värn kvickt lite fett i en panna. Bryn köttet på hög temperatur och placera det omedelbart på de förvärmda tallrikarna. | Placera tallriken med köttet i värmelådan ivgen och tillaga det tills det är mört. Vrid funktionsvredet till nivå 6. | |
| Täck med lock. | ||
feLSÖKnInG
Detta avsnitt ar en lista over fel som enkelt kan atgårdas genom att folja givna anvisningar. Om ett annat fel visas eller felet inte kan atgårdas, ring kundtjänst.
Tallrikar aller mat forblir kalla
Varmeladan har inte slagits pa.
SIa pa apparaten.
Avbruten strömförsjnng.
Kontrollera strömförsörjningen.
Ladan har inte stängts ordentligt.
Stangladan.
Tallrikar aller mat värms upp otillräckligt
Uppvärmningstiden ar for kort.
Förlang uppvärmningstiden.
Ladan har inte stängts ordentligt.
Stangladan.
Kontrollampan blinkar med ladan stangd
Lådan har inte stängts ordentlich.
Stangladan.
Kontrollampan blinkar snabbt med ladan stangd
renGÖrInG och SKÖTSeL
Färe rengöring och underhäll:
Stang av Produkten.
Set till att Funktionsvredet ar ställt på niva 0.
Ta ut Iådan
For bättre rengöring och skötsel kan hela lådan tas ut ur höljet.
Oppna Iadan.
Lossa skruvarna pa varje sida av höljet.
Dra ut ladan och placera den pa en stadig yta.
Ta bort all smuts aller rengöringslosning omedelbart.
Rengör ytorna med en mjuk trasa som fuktats med vatten och lite diskmedel.
För metalltytor: Gnugga i de ursprungliga putsningslinjernas riktning.
Torka med en mjuk trasa.
Rengöring av varmeplattan
Rengör varmeplattan med varmvatten och lite rengöringsmedel.
UnDerHÄLL ocH reParaTlon
Reparation kan, om den utfors felaktigt orsaka allvarlig skada, skada på Produkten och beslag, samt paverka produktens Funktion.
Se till att unterhäll på elektriska komponenter endast utförs av tillverkaren eller kundtjanst.
Se till att skadade kablar endast byts av tillverkaren aller kundtjänst.
KaSSerInG

Symbolen på produit eller på forpackningen indikerar att produits inte fär kasseras bland hushållsavfall.
Kasseraproduktenpaaettspecialiserat insamlingsstalleforelektroniskaochelektriska produiter.
Genom att kasseraprodukten pa ratt satt bidrar du till att undvika skadliga konsekvenser for miljon och halsan.
Mer information om hur man Återvinnerprodukten finns tillganglig frän behörig myndighet, den lokala avfallschanteringstjänsten ellerproduktns försäljare.
KUnDTJÄnST
Hänvisa till kontaktadressen for ditt land pa baksidan eller www.franke.com
TeKnISKa DaTa
Yttermatt / elektriska dimensioner:
Se typskylten (1) på Produkten.

Mer information om tekiska data finns pä:
- www.franke.com
oBSaH
O toto nadvodu 114
Urcenyucel 114
EnkelManual