RSH2455 - Mechanical chipper RYOBI - Free user manual and instructions
Find the device manual for free RSH2455 RYOBI in PDF.
Frequently Asked Questions - RSH2455 RYOBI
Download the instructions for your Mechanical chipper in PDF format for free! Find your manual RSH2455 - RYOBI and take your electronic device back in hand. On this page are published all the documents necessary for the use of your device. RSH2455 by RYOBI.
USER MANUAL RSH2455 RYOBI
It is essential that you read the Instructions in this manual before mounting and operating this machine.
C









Fig. 9
Important! It is essential that you read the Instructions in this manual before mounting and operating this machine.
TnTeKHa TExHueck MoHpKaHn
FGBDEI PNLSSDKN FINGRHU CZRUROPLSLOHRESTLTLVSKBG
Français
CONSIGNES DE SECURITE GENÉRALES

AVERTISSEMENT
When using electric gardening appliances, basic safety precautions should always be followed to reduce the risk of fire, electric shock and personal injury, including the following:
READ ALL INSTRUCTIONS
■Be familiar with the controls and proper use of the product.
- Clear the work area before each use. Remove all objects, such as rocks, broken glass, nails, wire that can lead to accidents.
Wear heavy, long trousers, boots and gloves. Do not wear loose fitting clothing, shorts or go bare foot. Do not wear jewelry of any kind.
- Secure hair above shoulder level to prevent entanglement in moving parts.
Do not allow children or untrained individuals to use this product.
Keep all bystanders, especially children and pets, at least 15m from the operating area.
Do not operate this product when you are tired, ill or under the influence of alcohol, drugs or medication.
Do not operate in poor lighting. Use the unit only in daylight or good artificial light.
Keep firm footing and balance. Do not overreach. Overreaching can result in loss of balance or exposure to hazards.
- Keep all parts of your body away from moving parts.
Inspect the product before use. Replace any damaged parts before use.
Do not operate the product in damp or wet locations.
Do not use the product in the rain.
Wear safety glasses or goggles when operating this product.
Use the right product. Use the product for the intended purpose only.
Do not handle the product with wet handles.
Do not use the product if the switch does not turn the product on or off. A product that cannot be controlled with the switch is dangerous and must be repaired.
Avoid accidental starting.
Stay alert and pay attention to what you are doing. Use common sense when using this product.
Do not force the product. It will do a better job with less likelihood of a risk of injury when you operate it at the rate for which it was designed.
Pull the plug out immediately if the mains or extension lead is damaged or severed.
- Disconnect the product from the power supply when it is not in use, before servicing and when changing accessories.
- Read and understand the instructions carefully before using the shredder. Keep instructions for future reference.
- Never attempt to use an incomplete machine or one fitted with an unauthorised modification.
Use only original accessories provided by the manufacturer.
The user is responsible for the safety of other people and their property.
SPECIFIC SAFETY RULES
SPECIFIC SHREDDER SAFETY RULES
Always ensure all parts are properly fitted when using the shredder. Ensure all screws and nuts are properly tightened before use.
Before starting the machine, always make sure the feed hopper is empty.
Before cleaning the shredder, switch off the tool and unplug from the mains.
Do not allow children to operate this shredder.
- Ensure both the shredder and the user are standing on a flat, steady surface. Do not stretch towards the shredder. Never stand at a higher level than the machine during use.
Hard objects such as stones, bottles or pieces of metal can cause damage to the machine and must never be fed into the feeding hopper.
Make sure there are no nails or foreign objects in the twigs or branches to be shredded.
If the machine becomes blocked, stop the motor and disconnect the plug from the mains. Pull out any blockages and check the machine for damage.
Do not pull the machine using the cable or place pressure on it in any way.
Keep hands, face and the rest of the body away from the hopper and the discharge chute.
Keep away from the discharge chute when switching on the motor.
-Do not allow the discharge chute to become stacked with debris. This blocks new material coming down the chute and can cause the shredder to change its direction of rotation.
The machine must not be moved when the motor is running.
FGBDEI PNLSDKNNFINGRHUZZRUROPLSLOHRESTLTLVSKBG
English
SPECIFIC SAFETY RULES
Never leave the machine unsupervised. First switch off the motor and disconnect from the mains.
ELECTRICAL SAFETY RULES
Make sure the cord is located so that it will not be stepped on, tripped over or otherwise subjected to damage or stress.
-Do not abuse the power cord. Never carry the product by the cord. Never pull the plug out of the power point by the cord. Keep the cord away from heat, oil and sharp edges.
For outdoors work use only suitably approved extension cables with a min. conductor cross section of 1.5mm^2 . The plug connectors must have earthing contacts and be rain-waterproof.
Inspect extension cords for deterioration, cuts or cracks in the insulation. Repair or replace the cords if any defects appear.
A nameplate on the product indicates the unit's voltage. Never connect the product to an AC voltage that differs from this voltage.
If the power cord or extension cable becomes damaged during use, disconnect the cord from the supply immediately. DO NOT TOUCH THE CORD BEFORE DISCONNECTING THE SUPPLY.
Electrical power should be supplied via a Residual Current Device (RCD) with a tripping current of not more than 30mA .
MAINTENANCE RULES
Maintain the product with care. Follow instructions for changing accessories. Keep the product dry, clean and free from oil and grease.
Unplug the product before making adjustments or repairs.
-Do not use the product if parts have been damaged. Check the product regularly to make sure that it will operate properly and perform the intended function. Check for alignment of moving parts, binding of moving parts, breakage of parts and any other condition that may affect the unit operation. Inspect the unit's power connection. Any part that is damaged should be properly repaired or replaced by a Ryobi authorized service centre.
- Never douse or squirt the product with water or any other liquid. Do not use detergents or solvents. Keep handles dry, clean and free from debris. After each use, clean with a soft, dry cloth.

WARNING
Before carrying out any maintenance operations, cut off electric power supply by disconnecting the plug from the mains.
SERVICE RULES
Service on this product must be performed by qualified repair personnel only. Service or maintenance performed by unqualified personnel could result in injury to the user or damage to the product. Such service may also void your warranty.
Use only identical replacement parts when servicing the product. Follow the instructions in the Maintenance section of this manual. Use of unauthorized parts or failure to follow maintenance instructions may create a risk of shock, serious injury to the user or damage to the product. Such use may also void your warranty.
STORAGE AND TRANSPORTATION RULES
Store the product inside a dry place.
Lock it up to prevent unauthorized use or damage. Keep the product out of the reach of children.
- Secure the product when transporting it.
Save these instructions. Refer to them frequently and use them to instruct others who may use this product. If you loan someone this product, loan these instructions also.

English
SYMBOLS
Some of the following symbols may be used on your tool. Please study them and learn their meaning. Proper interpretation of these symbols will allow you to operate the tool more safely and effectively.
| SYMBOL NAME EXPLANATION | |
|  | Safety Alert |
|  | Eye Protection |
|  | Keep Bystanders Away |
|  | Wet Conditions Alert |
|  | Read the operator's manual |
|  | Electric Shock Precaution |
|  | Wear Gloves |
|  | Keep Hands And Feet Away |
|  | Keep Hands Away After Stopping |
|  | Ricochet |
The following signal words and meanings are intended to explain the levels of risk associated with this product
| SYMBOL | SIGNAL | MEANING |
| A | DANGER | Indicates an imminently hazardous situation, which, if not avoided, will result in death or serious injury. |
| A | WARNING | Indicates a potentially hazardous situation, which, if not avoided, could result in serious injury. |
| A | CAUTION | Indicates a potentially hazardous situation, which, if not avoided, may result in minor or moderate injury. |
| CAUTION | (Without Safety Alert Symbol) Indicates a situation that may result in property damage. |
FGBDEI PNLSDKNNFINGRHUZZRUROPLSLOHRESTLTLVSKBG
English
SERVICE
Servicing requires extreme care and knowledge and should be performed only by a qualified service technician. For service we suggest you return the product to your nearest AUTHORIZED SERVICE CENTRE for repair. When servicing, use only identical replacement parts.

WARNING
Observe all normal safety precautions related to avoiding electrical shock.

WARNING
To avoid serious personal injury, do not attempt to use this product until you read thoroughly and understand completely the operator's manual. Save this operator's manual and review frequently for continuing safe operation and instructing others who may use this product.

WARNING
The operation of any power tool can result in foreign objects being thrown into your eyes, which can result in severe eye damage. Before beginning power tool operation, always wear safety goggles or safety glasses with side shields and a full face shield when needed. We recommend Wide Vision Safety Mask for use over eyeglasses or standard safety glasses with side shields. Always use eye protection.
SAVE THESE INSTRUCTIONS.
SPECIFICATIONS
RSH-2455
Voltage 230-240 V (AC) / 50 Hz
Power 2400W
Max cutting diameter Max. 40 mm
Notes: The Max Cutting Diameter depends on the hardness of the wood.
DESCRIPTION
a. Feed Hopper
b. Switch Panel
c. Handle
d. Discharge Chute
e. On/Off switch
f. Forward/Reverse Selection Knob
g. Live Tool Indicator
h. Over-load Protector
1. Main Body
2. Axle
3. Supporting Leg
4.End Frame
5.Wheel
6. Saddle Washer 8
7. Hex socket screw M855
8. Round Screw M58
9. Flat Washer
10. Hitch Pin
11. Allee
12. Adjusting Hole
13. Lock Washer
14. Spring Washer 8
ASSEMBLY

CAUTION
Assembly of your shredder requires two people.
Insert the axle (2) through the holes in each leg (3).
Note: The legs should be angled outwards (Fig. 3)
and the pin holes on the legs should face inside.
Turn the shredder upside down (Fig. 4).
Insert the leg frame onto the motor housing (Fig. 5).
- Attach the end frame (4) onto the leg frame.
■Secure the legs with hex screws (7), spring washer
(14) and a saddle washer (6) for each leg and secure
the end frame with round screws (8) and washers
(13) (Fig. 6). Tighten all nuts and screws.
Insert wheels (5) onto the ends of the axle and secure
with washers (9) and hitch pins (10) (Fig. 7).
Your shredder is now ready for use.
OPERATION
-Your shredder is designed to shred organic garden waste in a private garden. It is not suitable for shredding glass, metal, plastic or fabric. It should also not be used for other very hard or very soft material or for professional use.
Plug the shredder into the mains supply. The Live Tool Indicator (g) will lit. Select forward rotation by turning the forward/reverse selection knob (f) to the right. Turn on using the on/off switch (e).
To get the maximum service from your shredder, we recommend that you do not attempt to shred any twigs or branches over 40mm in diameter.
FGBDEI PNLSDKNNFINGRHUZZRUROPLSLOHRESTLTLSKBG
English
OPERATION
Feed the material to be shredded into the hopper (a). Material will be automatically pulled through the blades and emerge at the discharge chute (d).
To prolong the life of the hopper, wood should be fed into the hopper with branches pointing upward. See figure 8
If the shredder becomes jammed by foreign bodies or by branches which are too thick or hard, the shredder will most of the time release itself automatically. The rotating direction of the shredder will automatically reverse thereby releasing the material back through the top. To return the shredder rotation to normal, press the OFF switch and wait until the cutting blade has stopped completely. Then switch the machine on again with the ON switch and the shredder will be back to forward rotation.
If the shredder does not automatically unblock itself, turn the machine off and turn the forward/reverse selection knob to the left. Then turn the shredder on again. This should clear the blockage. Once the blockage is free, turn the shredder off and turn the forward/reverse selection knob to the right (forward rotation) before turning the shredder back on.
If the machine is overloaded, the circuit breaker will cut off the shredder. Leave it for about 5 minutes, then press the over-load protector (h), followed by the On switch. The shredder should then start.

CAUTION
Do not operate the Knob/switches in sequence using abrupt motions. Sudden switching may generate current spikes potentially damaging the shredder.
MAINTENANCE
SHAVING PLATE ADJUSTMENT
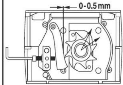
If the shredder fails to shred material, the shaving plate may need adjusting. Note: Adjusting the shaving plate should only be attempted when deemed totally necessary. Adjusting the shaving plate too often or too far could cause your shredder to cease working completely.
Ensure the shredder is turned on and working in normal forward direction. Adjusting the shaving plate while the motor is turned off could lead to serious damage of your shredder (Fig. 8-9).
Turn the screw inside the adjusting hole (12) with the allen key (11) very slowly and very slightly in a clockwise direction with the motor running until fine
aluminium chips fall out of the discharge chute.
Your shredder requires very little maintenance.
WARNING
Always disconnect the plug from the socket before carrying out any maintenance or cleaning procedures.
Ensure the air openings are kept clean and free of obstructions.
Check all nuts and screws are tight.
Spray the cutting wheel after each use with a biodegradable oil via the feed hopper at the top to protect it against corrosion.
To clean the shredder, brush away dirt and waste residue that may be caught in the cutter. Wipe clean the motor housing with a damp cloth. DO NOT use running water, solvents, strong detergents or a high pressure washer to clean your shredder.
If a foreign object comes into contact with the cutting wheel or the machine starts to judder or produce abnormal noises, switch off the motor immediately. Disconnect the plug and check for damage.
DISPOSAL


Waste electrical products should not be disposed of together with household waste. Please recycle where facilities exist. Check with your local authority or retailer for recycling advice.
WE RESERVE THE RIGHT TO MAKE CHANGES AT ANY TIME WITHOUT NOTICE.

English
TROUBLESHOOTING
| PROBLEM | POSSIBLE CAUSE | SOLUTION |
| Motor won't start. | 1. No main voltage. 2. Power cord/plug coupling faulty. 3. Material was hold/jammed in blade. | 1. Check fuse. 2. Check, replace. 3. Reversal, take out the material. |
| The machine cut off suddenly. | 1. Overload protector cutoff because materials was jammed in a long time. 2. Motor thermo-protector cutoff. | 1. Wait for 5minutes,press the overload protector, reversal and take out the material. 2. Wait for 5 minutes, switch it on again. |
| Material not being drawn down into the machine. | Cutting blade running backwards. | Change direction of rotation. |
| Material not properly separated when it has been shredded. | A big clearance between shaving plate and blade. | Readjust the clearance to 0-0.5 mm. |
| Direction of rotation changes automatically. | Material blockage. | Switch off, wait until it has stopped completely and then switch it on again. |
FGBDEI PNLSDKNNFINGRHCUZRUROPLSLOHRESTLVLSKBG
Deutsch
FÖRVARING OCH TRANSPORT
ELHELYEZÉS A HULLADEKBAN

PRECTETESNASLEDUJICIPOKNY!
PROBÉMY A JEJICH RESENI
BcERNa BbIKIOaHTe HHTpyMeHT HcETH.
IIpOBePbTe, TTOBbBEHTTHHIOHOHHe KaIOHH He BcIIN PrrnHbHH HUNH 3aOHbTn.
11poBcpe 3aHkky Bcx BnHTOB.
IockeKaJIOHOHOBaHHO npbckHBaHTe ⅢHINd6HONOHueCKn paaHaoHHMc MaLOMpeep36yHKep,TO6b43aHHITbEOTKOPPO3HH.
OuHnHae HnnHep MeKoHOr TnBnH nckonHneroc Mycopa. IpotnpaTc KOpHc MOpTa BnKaHoi TpNkoH. HE POJIb3yHTECb pactBopHTeMaH, BOJHO HOIOCTpyHmAnHapatamH bAcOKoTO RaIeHHnI JINTHCTKN HmCleBHTeL.
FenB PexyHIN HINHINP NOAN NOCTOPOHN INPEETM HIN H3MC,HTCHN HAAH BHOHPOBATN HCHOPMAIHO 1WYMCtB, HEMCCHIOO OCTAHOBITC MOTOP. BIKOHHTI 13MeJIHTeTb I3 cTHN pOBepTe erio NIOCTHOCTb
OBPAHEHNE COTXOJAMN


He bIb6paCbBaHrTe AekTpHnckKn HnctpyMeHT BmEcTe C xOaJIcTHeHHMaN OTXoJAMn! CZanBHe rero n CneuHaJIbHe uHrtpNo HcpepBoKre. OSHakomTcBc hpoUcyPam CauHa Na HepepBoKy MeChhX Blacte Hn yItnepa
HHΦOPMAHHACTOHERTO PYKOBODTBA IIO OKCIUYATAAHMOKET BHTB H3MEHEIIA BE3IPEDMPEKDEHIN.
CAMOCTORTEJBHOEYCTPAHEHNEHEIIOJAIDOK
| HEПОЛДКА ПИР | ИHA CHIOCOБ YCTPAHEHЯ | |
| MOTOR He zanyckaetс. | 1. Het toka.2. CeteBOI IIHyp HII INB.TKAIIOBpejKJIeHb.3. B pcJyIcM II.IIINIIpc 3aCtprA.I Mycop. | 1. Пироьрьтpeпeoхрангели Na злжтучесkomIIHTKc.2. Пироьрьт coocToHne ceteBOrO II.Hypa II B.NTKn IIpy IIC6OxIMMOCTN ZAMCHITc IIx.3. Вьбрпсп санрансIHнс bprSСнHу nIbIbIc 3aCtprBIIHm Mycop III ByHkepa. |
| ИзмeelчITEь peZkoocTahONHnIe. | 1. BKIOUHIIacB ChTeMa 3aIHTb otpeperpyakn, T.K. B IIINIIHpe 3aCtprA.Mycop.2. BKIOUHIIacB ChTeMa TcIIIOBOI 3aIHTb MToPа. | 1. ПIoOJKeIb5 MHHyt, NaЖыт Na KhoIGNky c6poca,pepeKJIIOuHTb HapraJIeHne bprAeHnHЯЗд, qTObIbOCBo6OJIHb 3aCtprHIIHm Mycop.2. ПIoOJKeIb5 MHHyt II ChOBA BKIOUHTbIIIMeJIbYHTEJIb. |
| Mycop He IocTyPaET BpejKUYII INIINIIHр. | IIINIIHp BpaIaCtce NaIaI. | IIpeKJIIOuHTb HapraBIeHne BpaIeHnH IIINIIHpaIIpepeI. |
| Mycop IIIOXOnIIIMeJIbHaeTc. | CIIINIIKOM 60JIbIIb 3aOp MeJHypejKUYIIHm IIINIIHpOM II pRiKIMHOrIIInactHIOI. | OTopeYIIHpyTe pRiKHMHyTO IIaCtHHy, qTObIb 3aOp6bIOT 0do0,5MM. |
| HappanJIeHHe IpaIeHnEMCHAcTcABTOMATHIeCKH. | B IIINIIHpe 3aCtPrA.I Mycop. | OctaHOBHITc IIcMJIbUHTcII, IIIOJOKJIHte, IIoKa IIINIIHdIPOIIHOCTbI OTOAIOHITc II ChOBA BKIOUHTcIIMeJIbYHTEJIb. |
FGBDEI PNLSDKNNFINGRHUCZRUROPLSLOHRESTLTLVSKBG
Româna
MÁSURI DE SIGURANTA GENERALE

AVERTISMENT
In timplutilizaril aparotelor de gradina elecrice, trebuie sa respectati masurile de siguranta de bazapentru a reduce riscurile de incendii, electrocutare si ranir corporale.
CITITI TOATE INSTRUCTIUNILE.
Obrisnuiti-va cu aplicatie aparatului si cu functionare acestula.
Curata zona de lucru inante de ficare utilizezare. Indepartati pietrelo, cioburile de stida, cuiele, caburile metalice si alte obiecte care ar putea provoca accidente.
Purati un pantalon lung si gros, cizme si manusi. Nu purati haine largi, pantoloni scurti si nu lucrati niciodata descult. Nu purati niciodata bijuterii.
Dacá aveti párul lung, prindetí-1 deasupra nivelului umerilor pentru a evito prinderea párulin elementele in miscare.
Nu lasati copii tau personale core nu au experientà sà utiliseze acest aparat.
Mentineti vizitatorii, sīn special copii si animalele, la o distantá de cel putin 15 m de zona de lucru.
Nuutilizati aparatul dacsa sunteti obosit, bolnav, ati baut alcool sau ati consumat draguri, sau daca luati medicamente.
Nuutilizati acest aparat daclumina estinsuficienta Asigurat-va ca spatul de lucru este bine lluminat (de lumina zilei sau lumina artificiala).
Avet grjä sa fiti tot timpu in positie de echillbr. Jinei-va bine pe piciore si nu intindei bratu preca departe. In caz contrar, ati putea cadea sau atinge piesele fierbinti.
Mentineti-va corpul la distanta de elementele in miscare.
Verificati starea aparatulinante deutilizare.Inlocuti orice piesa deteriorata inante deutiliza aparatul.
Nuutilizati aparatul in apaaou in locuri foarte umede.
Nuutilizati aparatul pe ploie.
Purata ochelari de siguranta sau ochelari de protectie otunci candutilozit acest aparat.
Utilizati unoltele adecvafo. Folosi aparatul numai pentru aplicatile pentru care a fost conceput.
HOIDKE NEED JUHISED ALLES!
TEHNILISED OMADUSED
RSH-2455
Pinge 230-240 V (AC) / 50 Hz
Vöimsus 2400 W.
Maksimaalne Iokiediameeter Max 40 mm
Markused: Maksimaalne Iokeidiameeter soltub pudutugevusest.
KIRJELDUS
a. Taiteanum
b. Lultipaneel
c. Kaepide
d. Valjalaskeava
e. SISSE/VALJA Iuliti
f. Edasi/tagasi-valimine
g. Pingeindikaator
h. Ulekoormuskaitse
- Kere
-
Telg
3.Tugijalg
4.Raam
5.Ratas -
Kumer seib 8
- Kuuskantkruvi M8*55
- Umarkruvi M5*8
- Seib
- Polt
- Alleni voti
- Seadistusava
- Lukustusseib
- Vedruseib 8
KOKKUPANEK

ETTEVAATUST
LOIKEPLAADI SEADISTAMINE
BEZPECNOSTNE POKNY PRE PRACU S DRVICOM
Pri pouzivani drvica vzy skontrolujte, ci su vsetky casti spravne pripvene. Pred pouzitim skontrolujte, ci su dobre prritahnute vsetky skrutky a malice.
Pred spustenim stroja si overte, ze je plniaca nasypka prazdna.
Pred cistenim drvič vždy vypnite a odpojte z elektrickej siete.
Nedovolte detom pouzivat tento drvič.
Dričaj používatě musa stav na rovnom a pevnom povrchu. Nemafahujte sa smerom k drviču. Nikdy nestojte pri používani stroja vyssie ako samotny stroj.
Tvrdé predmety, áku sū kamene, flase alebo kusy kovu, mozu stroj poskodit a preto ich nikdy nevkladajte do pniacej nasypky.
Skontrolujte, ci vo vetwickach alebo konaroch nie suk lince alebo cudzie predmety.
Ak sa stroj zablokuje, zastvete motor a odopjte zastrku z elektriekje siete. Vytiahnite zablokované predmety a skontrulujle, c stroj nie je poskodeny.
Slovencina
FGBD E I P NL S DK N FIN GR HU CZ RU RO PL SLO HR TR EST LT LV SK BG
BEZPECNOSTNÉ POKNY PRE PRÁCU SO STROJOM
Netahajte stroj za kabel ani nań nijako netačte.
Ruky, tvár a zvyšok tela musia byt v dostatočnej vzdialenosti od nasypky a vyhadzovacieho olvoru.
Pri zapinani motora sloje v dostatočnej vzdialenosti od vyhadzovacieho olvoru.
Nedovolte,aby sa vyhadzovaci otvor upchal spracovanym materiAlom. ZabraniI by sa tak prechod noveho materiAlu cz otvor a to by mohlo sposobit zmenu smeru olacania dvrica.
Strojsnesmie premiestnovat, ked bez motor.
Nikdy nenechavajte stroj bez dozoru. Najpriy vypnite motor a odpojte kabel z elektrickej siete.
BEZPECNOSTNE POKNY TYKAJUCE SA ELEKTRINY
Skontrolujte, āj e napajaci kabel umiestnery tak, aby po nom nikto neşilapal, aby sa nikmo nemoh on potknut, alebo aby sa inak nemoh poskodif alebo napnuf.
Nezaobchodzajte s napajacim kablom hrubo. Nikdy neprenasajte vyrobok za napajacikabel.Pri odpajani vyrobk zu siete nikdy nefahajte za napajacikabel. Napajacikabel musi byt v dostatonej vdialenosti od zdrojov tepla, od oleja a ostrych hrn.
Pouzivajte len predllovacie kable urcene na vonkajse pouzitie a srierezom minimale 1,5mm^2 Zastrcky musia byt uzemene a vodotesne.
Skontrolujte, ci ne je predlžovaci kabel opotrebovarny, prerezanyl alebo ci ne su v izolacil thriny. Poškodený kabel opravte alebo vymtene.
Napatie stroja je uvedene na typovom stifiku vyrobku. Nikdy nepripajate vyrobok do siete sinym striedavym napatim nez napatie uvedene na stifiku.
Ak sa napajaci alebo predlžovaci kabel poskodi poças pouzivania, odpoje ho okamzite z elektrickej siete. NEDOTYKAJTE SA NAPAJACIEHO ALEBO PREDLZOVACIEHO KÁBLA, KYM NEBUDE ODPOJENZYELEKTRICKEJ SIETE.
Pripojenie do siete by sa malo urobit cz prudovy chranic, ktory prerusi prud, ked presiahne 30 mA.
UDRZBA
S vyrokom zaobchodzajte opatrne. Pri yvmene prisluensstva dodrižavajte uvedene pouny. Dbajte na to, aby bol vrobok suchy, cisty a bez zvyskov oleja alebo maziva.
Pred kazdym nastavovanim alebo opravou odpoje vyrobok zo siete.
Nepouzivaje vyrobok, ak su niedtore jheo casti poskodene. Vrobok pravidene kontrlujte, aby ste sa uistili, ze spravne funguje a plni svju funkciu. Skontroljte zarovnanie a spoje pohyblivcchasti, ci nie su ziadne casti zlomene alebo ci sa nevysktyuje iny stav, ktory moze ovplyvnicin cinnost vrobku. Skontroljte, ci je zastroka vrobku v dobrom stave. Kazdu poskodenu suciastku nechajte opravit alebo vymenit prostreductnVom niedtareho autorizanovahe servisu spolocnosti Ryobi.
Vyrobok nikdy nestriekajte vodou alebo inou tekutinou ani ho do rich neponarajte. Nepouzivaje ropzustaclani cistace prostriedky. Rukovate udrziavaje suche, cisté a bez zvyskov odrezkov. Po každom pouzitf yrobok vycistiteSuchou a makkou handrou.
UPOZORNENIE
Pred každou udžbou odpojte vyrobok z elektrickej siete.
OPRAVY
Opravy vyrobku mozy vykonavat len kvalifikovani technici. Udrzba alebo opravy, ktoré vykonajnukevalifikovane osoby, mozy spoosobit vaze n urazy alebo poskodenie vyrobku. Takato oprava moz esposobit upine zruenie zaruky.
Prioprave vyrobku pouzivajte len originalne nahradne diele. Dodrziavaje pokynt, ktoe sa nachadzaju vcasti "Udrba" tohto navodu. Pouzitim neshvalenych suciastok alebo nedodrzanimPokynov pre udrzbu moze vzniknuf riziko urazu elektrickym prudom, vazny uraz alebo poskodenie vyrobku. Tako pouzitie moze sposobit uplne zruanse zaruky.
SKLADOVANIE A PREPRAVA
Vyrobok skladujte naSuchom mieste.
Uzamknite ho, aby ste zabrani neopravnenemu pouzitiu alebo poskodeniu. Vyrobok uchovavjte mimo dosahu deti.
Pri preprave vyrobok zaistite.
Odlozte si tietoPokyny. Pravidelne si ich citalaje a informujte o nich pripadnych dalsich pouzivatefov. Ak tento vyrobok niekomu pozi cate, pozicajte aj tietoPokyny.

Slovenčina
SYMBOLY
Na vyroku mozu byt vyznacene niedkorz uvedenych symbolov. Prestudjte si ich a naucte sa ich vyznam. Spravny vklad tychto symbolov vam umozni pouzivaf vrobok bezpechniejsie a efektivnejsie.
USCHOVAJTE SI TIETO POKNY.
TECHNICKÉ UDAJE
RSH-2455
Napatie. 230-240 V (AC) / 50 Hz
Vykon 2400 W
MaximányPriemer konárov max.40 mm
CNEIINHIN HPNABNJ3A 6E3- OHACHOCT INP PABOTAC IIIPEDEPA
IpiHa npHCTbHHTc KbM cKcHIOaTauHH Ha BaHIN HApeep, Ybepece, Te BCHNKH qactn ca npabHNO MOHTHPaHH. IpnJa npHCTbHHTe KMb EekHOATAuHH Ha BAHN HpOcP, YbcpcTe CC, BCNHBBHTOBC IIaHOn Ca No6pe3aTeHaTH.
IpeHnHa nycheTe Hpcepa, npopepe Ta. 3axpaHbAHT ByKep e npaeH.
IpeH noHCTBaH He Hmpeepa ro cnpere H CnTora H3KIOHcEOT 3axpaHbHaero.
He nonyckaIte nua Ia H3no.3BaT mpeepa.
Ynepete ce, Ye HIO.3NaTe Hipepea Bpxy Cta6HnHa PABaH IOBpXoCt. He cc HAJIHHIrc KbM UpcOpa II npeme Ha pabota HNKORA He 3acTaBaHte No-BHcKO OMaHHNATA.
IIHKORA He NoctabaiBe 3axpaHbAunH6yHKeP TBpHIN npdMeTH KATO KAmbHb,6yTHTKn H MetaHH npdMeTH, aHOTo MOrT JNoBpeHTMHNHATA.
Yepere ce, ne bpy npayera, KOIOIe ce pekar, HMAHPOHHJpyHHPcIMTH.
FGBD E I P NL S DK N FIN GR HU CZ RU RO PL SLO HR TR EST LT LV SK BG
Бьтaramн
CIEUINPHHHIPABHJA 3A BE3OIIACHOCT
AkoIppePbTc3aPbCTH,ChpTeaBHrATc.Hn H3KIOeTeMaHHHaTaOT3axpaHBAHeTo.3BaAnete HCHK3acc/HaHnHpcjMeTHnHPOBepcTeJAHmAHHHHATA He cOOBepEHa.
HnKora He HpnaHre 3a 3axpaHnHaHnKa6en, HanPnHep aKe HcKte Ha PcMcCTHe MAnHHaTn HJn Da H3KIOHTe OT MpeXaTa.
Pnase phe, HneTo H nchuk qactn Ha TnIOTo cH daenOT 3axpaHbuaa6yHKep H OT hnyckateTINH yIeN.
Tane ce or HnyckateHHy yien, KORATO BKnHOBaTe MaHHnata.
Ile IonyckaTe H3NyckAteHnHrT yEn Ja ce 3anyuH, Tki Kato HOBHTe OCTaTc HmHa JMa MORat Ja 6bJAT HxHpENH, pN HKOEt Ie CpeHnHka OpbHane Ha HOCOKaHa H BpivcHc Ha PcKcHm DHHHbP.
He npemeeetbaire npeneepa nppaoboteen nnnraretn.
Hikorae Hc octabnre upeepa 63 hauoep. Cnpete nnrare, cne koero nKIOepe Hpenepa or xappanheero.
EJEKTPHUECKA BE3OINACHOCT
YBepete ce, 3aXpaHbAunnKabEpeanIOJKeTAKa, 1e da HMaONaOHcT HKaOI da HOaCTbHI, da cIe CIIbHe B 100 HnI aI ONONPENIO INHKaIKbHauHH.
HoubpKaHc3axpaHaBua Ka6n HyblKHTCn B HnpabHO cctoHHe. Hkora He nppehacrte MaHHata 3a 3axpaHaBua Ka6n. Hkora n HsKIOuBaHT C npOyKTA OT 3axpaHaBHeTo, KATO r O bPnate 3a 3axpaHaBua Ka6n Hn yblKHTeN. IpTKe 3axpaHaBua Ka6cn HyblKHTCn DaIcOT HTOUHHn Ha ToTINHA, MACNo HOCTPH pEymTH.
HNO.3BHTC CnHCTBCHO OIOOPCHYJNJKTHIN, HIIpeBENHH 3a paOba THa OIKPHTO, cbc ceHeHOT 1,5 MM. HENCEHTTE PBOBA da ca BOyOCToHN H N3eMeHN.
Ako hnoon3nate yIbnJnnte.IynepeTe ce,ye he HsHOCCH,cpBaan HnHnanyKan,AKO 3axpaHBnHHT Ka6c1 Hn HynjKnTaeTc a NOBpeHHn HnHnHOceHH,Tp8Ba Hc3a6abHIO da CCnHOmEBHT HnHnONpaBBT.
YBepcCe CC He HAppeKHeHTo B eKeKtpHeeckata MpeKa OTnOrapa Ha Yka3AHOTo Bpxy f6pHuaTAt Ta6EJa HA HHTpymCHTa. HkORA h BC KIOBaNTc MaHHATA B eKeKtpHeecka MPeka C HAppeKHeH, pa3HIO HO T TOBA 3 KaOeTO c 6bHa ppa6oTCHa.
Ako no npeme Ha ekcnnoataa H3xpanhaanr Ra6eHn HyybIKHTCnH NOKKAT HCINHPBHO,HC3abABNO H3KIOOCCT MAHHATAOT MPcKaTA. HE JOKOCBAITE KAEJIJAHH YIbIXHNTEJI,IIPEJN DA H3KJHOHTMaHHATAOT MPEKATA.
Tahm MAnHHa TpRbA Na ce NoCTAB CHaHHTe Hpckcbaa 3a OcTATyBHO CCKTPHcTBGO, C HOMHHaHCH HA 3aTeCTBaHE He NO-TOMANOT 30mA
IOADPbKKA
IToaraiTe rpnKHa 3a MaHHHATA. HpHnAeXHoCTHe TpBnHa 2a CmHHT BCHOTBCTBEHC HcHTpyKINTE B TOBA pKBoBOCTBO.YBepeCe,teMaHHHATA BIIHAr cCyua NCTHaNbpy Hema HnKaKBO MAnO HnCMzA.
BHHHn H3KJIOHAAHTc MaHHHATAOT 3axpaHbAHTO, npaHn Da H3BpIbATE HaCTPOHNNONPAKN.
He pa6oTe c MaHHHATA, aKHO HMA HOpeHEN qACTH. Bcckn IBT pncpa6OaTOIeJdAHTMC MaHHHATA, 3a Da CC yepHTe, He yHKINHOHPa HcHPTPAHO. IponepeTe NaH BnIKCmHTC Cc qactn Ca HcTHPpAHN. YBCPCtCC. He HMA cyIeHN hAcTH. IponepeTe cHIObKaTA, KAKTo H BCIKO OCTAHNO, KoETo MOKe JIA NOBIIHRe HA HINPAHOTO phyHKINOHpAHne. IIponepTe dAI INHcNT, Tc E HINPAHEn. HcH3HpABHHTE IACTH Tp6BaJa CC pcMOHTHPaH NIOmeHATCAYO OIO6ePH cepHs HA Ryobi.
Hrkora Hc HOTAHHTHC Hc npckaiHc MaHHaTc BOHa Hn C pyra TeHocr. He nno3BaIe pa3bOpRteHN H eTepeHTH. PpOepnaiRe TaHnpKkara c BHHaCyxa H nCTa Hc Tam He ce HATpyBAT oTaTBuON OT pBAHeTO. CJIen BCKa yNtpeba HaBpcnBe MAHHaTc mMeKa H cyxa Kpbna.
IPEYTIPEXJEHHE
BHHH H3KHOHBAIe IHHCTpyMeHTa OT 3axpaHbaHcTo npnnnoTpKa.
PEMOHT
PemOHTHpAHcTo HA npOyKTA Tp6Ba JAcce H3BbPHBa cAmoOT KBAHnPHaTcXHHK. IIOuIbKa HnH pEmOHr, H3BbPbBAHNOT HcKBaHnHnPHaHnHa,MOKeJa NOeNATNo PCHk OT TeKka TneCha NnonPeHa Ha npOyKTA. IIpn HcCn3BaHCn Ha Ta3n HnCTpyKnra rapAHnTa Bn CnIO Taka ce 063cnBa.
Pn NpIpbKka TpBbHa HnHO.TBaTe cHHeHo pe3epBHH HactH, HneHTHnC oHPTHnHTe. Cn3aBtRe HHCTpyKuHnTHe, JAEHN B paAeTa "POJpbKa" Ha HACTOMIO POKBOKCTBO. ITOsH aHNN HC OPAHNTc PHCKa OT KOKB yAp n TeKKn TEeCNH NOBpeH, KaKTo HOT NOBPeHa No pOpyKTA. Pn Hecn3aBAHe HA TeHn HICTpyKuHHraPaAHnHTBaCHaTc CC 06c3h.HA
Бьтaramн
CIEUINPHHHIPABHJA 3A BE3OIIACHOCT
CBXPAHEHHTPAAHCHOPT
PnphpaTHeHCTpyMeHTaHa3akpHTo,cyxMoAeTO.
3aKaHOuBaHTcMaHnHATA,3aJaHCIOyChCTe HEno3B0EHaYOnpTaEAHINOBpeA.IIPOhpaTe IPOyDaHaHJIOCTHmIO 3aJEHMACTO.
3akpenere no6pe npoykra npnnrpanncnnpane.
3aHa3CTc pkoBOCTBTO 3a yNtPC6a.Pc0OBHO CC KOHCYTHPAHTe C Hero H rO npEOCTABAAHr HA npyHn Hua, KOHIO HnHOHNAT npOyKTA. AKO nE npEOCTABAE MauHHATA hApyoHnE, cHIO TAKA daHTe H cHIO TCHANOTo pkoBOCTBO 3a yNtP6a.
CHMBOJH
HIAKOHOTNOCOHTHE NO-DIy CHMBOH MOrAT Da Ce BnRr Bbpy MaHHaTt. Paayte Tn 3aONMHeTe Oo3HaeyHHeTo H. Kato SAOMHHTTE PAnHHIO CHMOHTHE, He MoKETe Na HNO3BATE IpOyKTa No 0630aceH epeKTHHe HauHH.
MaKcHMaJIck HJAMcTbP Ha MaTePha.IIITc,
KoHTO IIE ce 06pa6oTBA. 40 MM
BeJekn:MAKCHMAJIHHHITIAMCTbPHaIbPcHNA MATCPHA, KOITO CC 06pa6oTBA,3aBnCHOTbPdoCTTa HA IpipeChHATA.
OIIHCAHHE
a.3axpaHbau6byHKep
b. Ta610 3a ynpabJIeHc
c. Jpnjckn
d.ⅡxOyIy.IcI
e. ByToH 3a nycKaHe/cnnpaHe
f. PpeBknKnHare Hn Nocokara Ha nPpreHe (HaHpe/na3a)
g. Hnikatop 3a HanpeKeHne
h.1IpeiaaHTeI cpeu npTeoBaPahe
1.Ochonen Kopnyc
2. Ba1
3.Ctofka
4. JOnna qact na pamkata
5. Kone.to
6.Ce10o6pa3na Hn8a 8
7. BUR INECTORPAM M8*55
8.BHHT Kpblna M5*8
9.Плоскama6a
10.CBp3BaH uHΦT
11. KJIOHIEcTOrpam
12. Ornop sa pernae
13.3actonopbaauaa
14.3actonopbaaamaa8
FGBD E I P NL S DK N FIN GR HU CZ RU RO PL SLO HR TR EST LT LV SK BG
Бьтaramн
MOHTHPAHE

BIHMAIINE
3a crno6baHc Hnpcpa ca hco6xOHHn Dbama nn.
TbXHETBnA(2)NOTPBHTHEcTOKATA(3). BcHexKc:CTOKATA Tp6BaJa eOsbPHTARope (qHr.3) aOTPBHTeTIP6BaJa ca pa3ntnoLooEHH EHH KmIpyr.
O6b.pheTcIpcpepaHnAnaKn(Φn4).
11bxheCTOKAraBkopnyaHaDBHrAte.(Hr.5)
3aKpHcTe JOHHTA HA pAMKaT4 (4) KLM KpHnHaTa Hs cHtKaT4.
3akpenerte nckn kpaia h ctoiKaTc no bHHT HecToRpam (7), 3actonopmaa mba (14) n cednoobpaia mba (6), cctoBa ndoHa tact Ha pAMkata C BHHTOBcC Kpbra rnaa (8) nactonopmaa maa (13) (fHr.6). 3atCTTCTC BCHIK BHITOBc
11bHexeteKoIeNata(5)OTDbete cTpaHnHaBalaIIH3akpeneteCIOOcknMaH6n(9)HcHp3nnHnΦrone(10)(qH.7).
Manihata e rotora 3a pabota.
HAHHHAPABOTA
IipcpbTcnpnnaHauHc3paapop6baHcHaOpraHHuOCTaTBH B HAcTHN rpaHH.1leepnaHaueHpaJp06Ba cT,Kn,moTaj,nnactMaHa TeKCTH.B HnKaBcayHc Tp6Ba da cc HHOHBA 3a npyHmHO TbpHn MH MHOReMk MaTePnHn HHTo Nk3a npocchHOHnHc.H
BKnHIOeTe 7peepa83axpaHBaHETo. HnHKaTOpBT 3a HanpeKeHeHe (g) CEBTNa. N36peTe IocOKATA Ha BpTne HA pcKeeHHuHHbP (IHH KcTO cOCTaBHTnc CE HACoUAT KbM HcTO), KATO 3ABPTNTIc pCBKHOUBATcHn HnoCOKATA (f) no YacOBHHKOBA TcpeTKA. BKnHIOeTe WpcNpO r6yToHa 3a NyckAIC (-) (c).
3a MaKCHMaJIHO epeKTTHBpa paOta Bn IInpIopbYBaMe na He o6paobntare KIOHN cJHAmETbp H4 40 MM.
11bXHCOTCTAHTBNTBCB3XPANBAHNN6yHKep(a).Tece HAPARBATABTOMATTHNOOTPEKENIINITNtBp,ctE KOTo CC 3xHBnPTNPc3HxOHNHnYicd(d).
3a ca ce ytbKHN KHBota Ha xpaTomeTaKaTa, IpbOTOr Tp6bna da c noJana c knoHrre coeHHn Harope. Bk qHr.8
AkoBbtpc3accnHrTbpiocfONmHHTBpHKnHOH HTHyKTeJa, B NOBeTeo cnyan IIpeepbI aromatnnno 0cc ocbokkana. IocOKaHa HbptreHa pcKcHn uHnHbPc 06bpHaa OATOMATHNO, npHe KcOTo Ipe3 3axpaHbaHaa 6yHKcp 13xHBpIIT 3aceHaHHTe octarH.3a Ja 3aJanaTe OTHO NOcKaHa NpTrne Haipc, cnpctc npcaopra or 6ytoHa 3cnpuHC (O) H
H3aKaHBe pexenHHT HHHHb HnHnHO a cnpE. HcyHCt OHBOH Upcpa C 6yToHa 3a HycKcC (-) H HmHnHpRbPnKne CeBpHnHapEn.
Ako HpeepTHe ce ochoobOHH AHTOMATHNO, cHpeTe ro 3aBbPTeTe IpeBkIOVAteTn Ha NocOKa THa BpTne O6paTHo HA xacOHINKOBATA cTpeKa, 3a Ha 36bepeTe bIpcHe HCaH (HXbBpIHc H a 3accHAAH INPcMCTHn Hc3 3axpaHbAunh 6yHKcp).OTHOBO hycHcTe Wpcepa. Beue TpBa Ta ce e otynuH. Cten Kato ce otynuH, cHPCTe MaHHATA H 3abbPTc Tc PcBkIOHuaBcTa H naNOCO Ka no AcOBHNKOBATA cTpeKa (Hanpe), ppei OHBO Ja NKIOHHTe.
Ipn npctOBaBaHc 3aHHHTnHn npckcbn ABTOMATHIO cnnpa MaHHATA. NauKaHte OKoJ0 5 MHN, npde na HATHCHe TpCnHa3rEIN pOTHN npctOBaHc (h), CTei KoTo 6yToHa 3a NyckaHe (-); nppepeBt Beue TpaBa n TpBHe.
BHIMAHHE
He HATNCKaTne npOJIbIKNTeJIHO pR3KO IpcBHKIOUHcIHa HocOKaHa HbPTICn 6yToIIa 3Ba KJIIOUBAe/CINPAhe.ToBa MoKeJa NOBeJe Do TOKOBYAPnNoONPeNa INpEepa.
HIOJIPTbKKA
PEJIAK HA PEKEIIATAIIOHA
AkoIpept He paobn KAKTO Tp6Ba,MOKe na ce Hauokn Jpa cyuHparc pckcnatra nnoya. BneKka: perna Hpa pekeiata nnoa Ce HbPnna camo akoe a 0bcOIOHTHO heo6xOIMO. IpeepT MoKe Ja OTkKaC Ha paobn, Ako pcrNaBt ha pckcnata nnoa CC HbPnna IpekaTeHo hcto MHNOrO
YBepcC,HC HPCpBcHcyHnHcHbpaHocoka HanpeA.AKOcePnBPERaKaHa peKeMaTaIIOuaPiH cPiH ABHrAeT,TOBA MoKe NaIOBeNe IO cepHO3Ha nonpeHa Hnpenera (phr.8-9).
11pn pa60eTc 4BHTC3A8bPTCTc 6ABHO BHTA, paoNIOKeH BOTOPa 3peTJAK (12), cKIOUIEcTOrpAM HO YAcOBHHKOBA TcPcJIa, JOKATO OT HxOBUHIN yIcH 3AnOHTa DA H3H3AT aYIMHHBCTpyKK.
IOIUPbKKA
IIIpeepbT He H3HcKba Oco6eHO rOraMa IIOIpaBka.
IPENYIPEXJEHNE
BHHH N3KNOynaHTe MAnHHaT oT mpeXaT ppeTHIOJpIbKa HIN HOHCTBaHC.
IPOBepaBaaTe BeHTNaHOHHTe OTbOPH Ja ca HcTHn Jha HC ca 3anyHCHN.
YBepere ce,IE BCHNBHHTOBc 3a JOp6pe 3aTeHaHn.
Бьтaramн
IIOJPTBXKA
CnpaTaHaNPckAHTpeKeHHHHTp npes 3axpaHbauHHbYHKp C6HopaHpaKaaO CC MNCIO,3a Da ro ppeHbAAHTre OTKOp03H.
3aHaNoHCTHTHeHpeepaCnHOHTHa HcTkaOTcpaHete npaxa HocTaBHTe OT pKeXeHHaUHHbP. H6bpHne Kopnyca Ha JINrAtee CnJAAHk Hpna. 3aNoHCTBaHae Ha HcTpyMeHTa HE H3IOJ3BAHTE TcHaa BOa,PaTbOPHTcHn,CnHHNcTprCHTHnHn CHHbBOHCTPYR.
AkoHKAKbHpEmETBc3E B KOHTaKTcpeKeHHn HINHHbpHn AIOIpeepbT 3AnOHe BA BIOHPa HnHa H3nA HeOBuAeHN 3yK, He3a6abHO cnpTe nHrAte. H3KnOCTe MaHnHATAOT 3xpaHBAHcTO H CC yBCPcT, ne He e NOBpeHa.
TPETHPAHE HA OTIIJbH
HnKoA IC HxHpIyNC CcKtPcCckN HcIpyMCHH 3a,IIIO cOMaKnckHTe OtnaBTH. IpeJaTRe T B NyKKT 3a peHKuHpaE.
3a NOBey HNOOPMaIIra 3a CIOBTBHTAra PnOENypa 3a PCINHINPHC CC6bPcHcK bM IpKaBHITc HcHTIyHH NkHMPOTABAA.

3AIIABAME CH IIPABOTO IA BIIACAME IIPOMEHH BOTA PBKOBOCTBO IO BCKOKBPEME H6E3IPIEYIPIEKEJHEHNE.
PA3PEIIIBAHE HA IIPOBJEMH
| ПОНБЛЕМ | BEPOЯTHA ПИПУИHA | РАЗPEИЕНЕ |
| Диогателей не трува. | 1. НаяТOK. 2. Захсангий Кабел Нли Ренийсь саловсяп. 3. В рсжшдддддддддддддддддддддддддддддддддддддддддддддддддддддддддддддддддддддддддддддддддддддддддддддддддддд徳 octaыл. | 1. Пювсрете Бушонитс на слес- тураската мреса. 2. Порлеладу Кабел И пениета и в нокимспес, поспес. 3.Обрпс tc посokота на вьртс: назади Изарайо octatьшte поз эхаганьшьб buiksp. 4. Ичakайтse 5 мин'tун, на trushnete пссддддддддддддддддддддддддддддддддддддддддддддддддддддддддддддддддддддддддддддддддддддддддддддддддддд пссгдддддддддддддддддддддддддддддддддддддддддддддддддддддддддддддддддддддддддддддддддддддддддддддддддддd 2. Ичakайтse 5 мин'tун и hyсп: OTHOBO IIpepepa. |
| Манина снира визаши. | 1. Зашитныа сисема сpen псгсторогаимс сс с влочида заши заседалы octatьш. 2. Влочида сс с тершунота зшига надыгатя. | 3. Ичakайтse 5 мин'tун, на trushnete пссдддддддддддддддддддддддддддддддддддддддддддддддддддддддддддддддддддддддддд пссгдддддддддддддддддддд 2. Ичakайтse 5 мин'tун и hyсп: OTHOBO IIpepepa. |
| Остаын'tс, конт noлесенат на образотka, не трува Кьм рекени плесни. пссгддддддддддддддддддддддддддддддддддддддддддддддддддддддддддддддддддддддддддддддд пссгддддддддддддддд Остаын'tс не с добе образотец плесни. пссгдддддддддддддддддддд пссгдддддддддддддд Посоката на вьртөе спомета авTomathию. | Рсжштп пллпьр сс вьрtn Haizan. | 3. Ичаду посokа на вьртс: пссгддддддддддддд пссгдддддддддд Perулрайтse рекени: плесен�а пллпьр. плесен�а пллпьр. пссгдддддддд пссгддддддд пссгдддддд пссгддддд пссгдддд пссгдд пссгд пссг пссг пссг пссг пссг пссг пссг пссг пссг пссг пссг пссг пссг пссг пссг пссг пссг пссг пссг пссг пссg пссg пссg пссg пссg пссg пссg пссg пссg пссg пссg пссg пссg пссg пссg пссg пссg пссg пссg пссg псс g пссg пссg пссg пссg пссg пссg пссg пссg пссg пссg пссg пссg пссg пссg пссg пссg пссg пссg пссg пссc пссg пссg пссg пссg пссg пссg пссg пссg пссg пссg пссg пссg пссg пссg пссg пссg пссg пссg пссg пссq пссg пссg пссg пссg пссg пссg пссg пссg пссg пссg пссg пссg пссg пссg пссg пссg пссg пссg пссg псс.g пссg пссg пссg пссg пссg пссg пссg пссg пссg пссg пссg пссg пссg пссg пссg пссg пссg пссg пссg пссG пссg пссg пссg пссg пссg пссg пссg пссg пссg пссg пссg пссg пссg пссg пссg пссg пссg пссg пссg пссy пссg пссg пссg пссg пссg пссg пссg пссg пссg пссg пссg пссg пссg пссg пссg пссg пссg пссg пссg пссь пссg пссg пссg пссg пссg пссg пссg пссg пссg пссg пссg пссg пссg пссg пссg пссg пссg пссg пссg псс#g пссg пссg пссg пссg пссg пссg пссg пссg пссg пссg пссg пссg пссg пссg пссg пссg пссg пссg пссg пссf пссg пссg пссg пссg пссg пссg пссg пссg пссg пссg пссg пссg пссg пссg пссg пссg пссg пссg пссg пссг пссg пссg пссg пссg пссg пссg пссg пссg пссg пссg пссg пссg пссg пссg пссg пссg пссg пссg псс g псс g пссg пссg пссg пссg пссg пссg пссg пссg пссg пссg пссg пссg пссg пссg пссg пссg пссg пссg псс g пссc пссg пссg пссg пссg пссg пссg пссg пссg пссg пссg пссg пссg пссg пссg пссg пссg пссg пссg псс g пссG пссg пссg пссg пссg пссg пссg пссg пссg пссg пссg пссg пссg пссg пссg пссg пссg пссg пссg псс g пссS пссg пссg пссg пссg пссg пссg пссg пссg пссg пссg пссg пссg пссg пссg пссg пссg пссg пссg пссg пссS пссg пссg пссg пссg пссg пссg пссg пссg пссg пссg пссg пссg пссg пссg пссg пссg пссg пссg пссS пссS пссS пссS пссS пссS пссS пссS пссS пссS пссS пссS пссS пссS пссS пссS пссS пссS пссS пссS пссg пссS пссS пссS пссS пссS пссS пссS пссS пссS пссS пссS пссS пссS пссS пссS пссS пссS пссS псс S пссS пссS пссS пссS пссS пссS пссS пссS пссS пссS пссS пссS пссS пссS пссS пссS пссS пссS пссS псс S псс S пссS пссS пссS пссS пссS пссS пссS пссS пссS пссS пссS пссS пссS пссS пссS пссS пссS пссS псс S пссС пссS пссS пссS пссS пссS пссS пссS пссS пссS пссS пссS пссS пссS пссS пссS пссS пссS пссS пссS пссС пссS пссS пссS пссS пссS пссS пссS пссS пссS пссS пссS пссS пссS пссS пссS пссS пссS пссS пссС пссC пссS пссS пссS пссS пссS пссS пссS пссS пссS пссS пссS пссS пссS пссS пссS пссS пссS пссS пссS пссC пссS пссS пссS пссS пссS пссS пссS пссS пссS пссS пссS пссS пссS пссS пссS пссS пссS пссS пссС пссС пссS пссS пссS пссS пссS пссS пссS пссS пссS пссS пссS пссS пссS пссS пссS пссS пссS пссS пссC пссC пссS пссS пссS пссS пссS пссS пссS пссS пссS пссS пссS пссS пссS пссS пссS пссS пссS пссS пссC пссС пссS пссS пссS пссS пссS пссS пссS пссS пссS пссS пссS пссS пссS пссS пссS пссS пссS пссS пссP пссS пссS пссS пссS пссS пссS пссS пссS пссS пссS пссS пссS пссS пссS пссS пссS пссS пссS пссS пссP пссC пссS пссS пссS пссS пссS пссS пссS пссS пссS пссS пссS пссS пссS пссS пссS пссS пссS пссS пссP пссС пссS пссS пссS пссS пссS пссS пссS пссS пссS пссS пссS пссS пссS пссS пссS пссS пссS пссS пссSJ пссS пссS пссS пссS пссS пссS пссS пссS пссS пссS пссS пссS пссS пссS пссS пссS пссS пссS пссS пссSJ пссSJ пссSJ пссSJ пссSJ пссSJ пссSJ пссSJ пссSJ пссSJ пссSJ пссSJ пссSJ пссSJ пссSJ пссSJ пссSJ пссSJ пссSJ пссSJ псс SJ пссSJ пссSJ пссSJ пссSJ пссSJ пссSJ пссSJ пссSJ пссSJ пссSJ пссSJ пссSJ пссSJ пссSJ пссSJ пссSJ пссSJ пссSJ пссSJ пссS пссS пссS пссS пссS пссS пссS пссS пссS пссS пссS пссS пссS пссS пссS пссS пссS пссS пссSJ псс SJ пссSJ пссSJ пссSJ пссSJ пссSJ пссSJ пссSJ пссSJ пссSJ пссSJ пссSJ пссSJ пссSJ пссSJ пссSJ пссSJ пссSJ пссS пссS пссSJ пссSJ пссSJ пссSJ пссSJ пссSJ пссSJ пссSJ пссSJ пссSJ пссSJ пссSJ пссSJ пссSJ пссSJ пссSJ пссSJ пссS пссSJ пссSJ пссSJ пссSJ пссSJ пссSJ пссSJ пссSJ пссSJ пссSJ пссSJ пссSJ пссSJ пссSJ пссSJ пссSJ пссSJ пссSJ пссS псСS пСС ПСС ПСС ПСС ПСС ПСС ПСС ПСС ПСС ПСС ПСС ПСС ПСС ПСС ПСС ПСС ПСС ПСС ПСС ПСС ПСС ПСС ПСС ПСС ПСС ПСС ПСС ПСС ПСС ПСС ПСС ПСС ПСС ПСС ПСС ПСС ПСС ПСС ПСС ПСС ПСС ПСС ПСС ПСС ПСС ПСС ПСС ПСС ПСС ПСС ПСС IIHIVIYIYIYIYIYIYIYIYIYIYIYIYIYIYIYIYIYIYIYIYIYIYIYIYIYIYIYIYIYIYIYIYIYIYIYIYIYIYIYIYIYIYIYIYIYIYIYIYIYIYI YIYIYIYIYIYIYIYIYIYIYIYIYIYIYIYIYIYIYIYIYIYIYIYIYIYIYIYIYIYIYIYIYIYIYIYIYIYIYIYIYIYIYIYIYIYIYIYIYIYIYYIYIYYIYYIYYIYYIYYIYYIYYIYYIYYIYYIYYIYYIYYIYYIYYIYYIYYIYYIYYIYYIYYIYYIYYIYYIYYIYYIYYIYYIYYIYYIYYIYYIYYIYYIYYIYYIYYIYYIYYIYYIYYIYYIYYIYYIYYIYYIYYIYYIYYIYYI YYIYYIYYIYYIYYIYYIYYIYYIYYIYYIYYIYYIYYIYYIYYIYYIYYIYYIYYIYYIYYIYYIYYIYYIYYIYYIYYIYYIYYIYYIYYIYYIYYIYYIYYIYYIYYIYYIYYIYYIYYIYYIYYIYYIYYIYYIYYIYYIYYIYYIyyIYYIYYIYYIYYIYYIYYIYYIYYIYYIYYIYYIYYIYYIYYIYYIYYIYYIYYIYYIYYIYYIYYIYYIYYIYYIYYIYYIYYIYYIYYIYYIYYIYYIYYIYYIYYIYYIYYIYYIYYIYYIYYIYYIYYIYYIYYIYYIYYIYYIYYYIYYIYYIYYIYYIYYIYYIYYIYYIYYIYYIYYIYYIYYIYYIYYIYYIYYIYYIYYIYYIYYIYYIYYIYYIYYIYYIYYIYYIYYIYYIYYIYYIYYIYYIYYIYYIYYIYYIYYIYYIYYIYYIYYIYYIYYIYYIYYIYYIYYIZZ |

GARANTIE - CONDITIONS
All Ryobi products are guaranteed against manufacturing defects and defective parts for a period of twenty four (24) months from the date stated on the original invoice drawn up by the retailer and given to the end user.
Deterioration caused by normal wear and tear, unauthorized or improper use or maintenance, or overload are excluded from this guarantee as are accessories such as battery packs, light bulbs, blades, fittings, bags, etc. In the event of malfunction during the warranty period, please take the NON-DISMANTLED product, along with the proof of purchase, to your retailer or nearest Authorized Ryobi Service Centre.
This warranty in no way affects your legal rights concerning defective products.

Measured sound power level: 92 dB (A)
Guaranteed sound power level: 94 dB (A)
Date of issuance: 11/2005
issued by: Intertek Testing Services Shanghai Ltd., PRC
Izdal: Intertek Testing Services Shanghai Ltd., PRC
HR Gcronrana raizna jaine zvka 94 dB (A)
Dctum isdoyanig:
Izdo:Intertek Testing Services Shanghai Ltd.,PBC
Olculan ses gucu duzeyi: 92 dB (A)
Garantii ses gucu duzeyi: 94 dB (A)
Yavin tarjhi 11/2005
Yayunlavan: Intertek Testing Services Shanghai Ltd., PRC
Moodetud mufatase: 92 dB (A) Gerapteeriud mufatase: 94 dB (A)
Garantenteed madatase:
Väljaskeukupäny: 11/2005
Vollmerandport:Intertek TestingScaynesShanghaiLtd.PBC
Valja and Hoo: Interek testing Services Shanghai Ltd., PRC 10000, China
Ismatuotas garso galingumo lygis: 92 dB (A)
Garantuojamas garso galingumo lygis: 94 dB (A)
Iseidimo data
Isdave: Intertek Testing Services Shanghai Ltd., RPC
Skanas stiprma izernitias limenis: 92 dB (A)
Skanas stipnnae garamilatm limenis: 94 dB (A)
Skanas suprma garantetals imbens: 94 dB (A) Indefence datum: 11/0005
12005
Izdevis: Intertek Testing Services Shanghai Ltd., (Sanhaja, KTR)
Namerana hiadna akustickeno vykonu: 92 dB (A)Garapattanad bladingakutistkehwenko: 94 dB (A)
Garantova mala akusticknoVykon. 94 (B) Datum yudpania: 11/2005
Batum yvana.
Vydala: Intertek Testing Services Shanghai Ltd., PRC
BG 9216(A)
JIATAHANMUBAHCE:11/2005
H3naba cc or: InteTek Testing Services Shanghai Ltd., RPC

DECLARATION DE CONFORMITE CE
CE DECLARATION OF CONFORMITY
We declare under our sole responsibility that this product is in conformity with the following standards or standardized documents: 2004/108/EC, 98/37/EC, 2006/95/EC, EN 60335-2002; A11:2004+A12:2004+A12:2006+A2:2006, EN 13683:2003, EN 13686:2005; S5014-1:2006, EN 55014-2:1997; A1:2001, EN 61000-3:3:1995A+1:2001:A2:2005.
We declare this product complies to the requirements of the noise emission directive 2000/14/EC.
This product has been assessed to conform to the relevant noise limit by means of unit verification (annex E) by Intertek Testing Services Shanghai Ltd., PRC.

IpyoynHbBnBnBnBnBnBnBnBnBnBnBnBnBnBnBnBnBnBnBnBnBnBnBnBnBnBnBnBnBnBnBnBnBnBnBnBnBnBnBnBnBnBnBnBnBnBnBnBnBnBnB n Bx Bx npoebpck (cm, npnoKcH) E. npoepeHH oomnnnnne Interiek Testing Services Shanghai Ltd., PRC.

DECLARATIE DE CONFORMITATE
Declaración, cu totala responsables a cα esté produc este conform cu nombrese su documente umfórco:
2004/108/EC,98/37/EC,2006/95/EC,EN 60335-1:2002+A11:2004+A1:2004+A12:2006+A2:2006,EN 13863:2003,EN 50366:2003+A1:2006,EN 55014-1:2006,EN 55014-2:1997+A1:2001,EN61000-3:2:2006,EN 61000-3-3:1995+A1:2001+A2:2005
Déclararà ac est produs esta conform cu carinente stipulate in directiva 2000/14/CE privid emishe scorsa.
Acrest produs a fost evolut ca filnd conform cu limitele sonore imouse in timul unei verifican apacrotul Ianexa EI realizzado de Intertek Testing Services Shanghai Ltd., PRC.

DEKLARACJA ZGODNOSCICCE
H H H H H O B O P H O C E T K J E A P A P R I M E, C T O T H O P O Y K T S O T B E P T C H A C H D H T E C H A T H A P P R I M E D F U N C F E L F
2004/108/EC 98/37/EC 2006/95/EC EN60335-1:2002+A11:2004+A1:2004+A12:2006+A2:2006 EN13683:2003,EN50366:2003+A1:2006. EN55014-1:2006, EN55014-2:1997+A1:2001. EN61000-3-2:2006. EN61000-3-3:1995+A1:2001+A2:2005
KeIaJIpHMe, fo ToTH 10nOyIKe y C bCLOTBCTCHN C H3K2KARHTA B IJAPKcKHe 2000/14:OTHEIOH HHOIOH HUHYMN CHIN
TINI npOyIK c oneHc 3a CtoBcTeTbc c JocTBnHTBE orOpAHmHa 3a NIOncpCTbOM bepHnKHaHa Ha ypeA (aeke E) or InteTEk Testing Services Shanghai Ltd., RPC.
RYOBI TECHNOLOGIES (UK) LIMITED.
Medina House,
Fieldhouse Lane, Marlow,
Buckinghamshire,
SL71TB
UNITED KINGDOM
Tel: +44 (0) 1628 894400
Fax: +44 (0) 1628 894401
Technical Helpline: +44 (0) 800 389 0305
TECHTRONIC INDUSTRIES FRANCE SAS
388 Castle Peak Road
Tsuen Wan, Hong Kong.
Tel: +852 2402 6888
RYOBI TECHNOLOGIES GMBH
Itterpark 4
D-40724 Hilden
DEUTSCHLAND
Tel: +49 (0) 2103 2958-0
Fax: +49 (0) 2103 2958-29
RYOBI TECHNOLOGIES GMBH
Building B, Rosehill Industrial Estate,
3 Shirley Street,
Rosehill NSW 2142
AUSTRALIA
Tel: (02) 8892 1800 or 1300 361 505
Fax: 1800 807 993
TECHTRONIC INDUSTRIES (NZ) LIMITED.
27Clemow Drive, Mt Wellington
PO Box 12-806, Penrose, Auckland
NEW ZEALAND
Tel: +64 (0) 9573 0230
Free Call: +64 0800 279 624
Fax: +64 (0) 9573 0231
A&M MIDDLE EAST FZCO
P.O.Box 61254
Jedel Ali, Dubai
UNITED ARAB EMIRATES
Tel.: +9714 8861399
Fax: +9714 8861400
TECHTRONIC INDUSTRIES DENMARK APS
Stamholmen 147, 4.
DK-2650 Hvidovre
Denmark
TIf 4356555.Fax 43565556
E-mail: kundeservice@tti-emea.com
TECHTRONIC INDUSTRIES NORWAY AS
TIf.: 800 12 493, Faks: 800 12 492
E-mail: kundetjeneste@tti-emea.com
TECHTRONIC INDUSTRIES SWEDEN AB
Tel (+46) 08 24 60 30. fax (+46) 08 24 60 31.
E-mail: kundtjanst@tti-emea.com
TECHTRONIC INDUSTRIES FINLAND OY
Tel. 0800 1 09000, Fax 0800 1 09001
Email: asiakaspalvelu@tti-emea.com
Machine: ELECTRIC QUIET SHREDDER
Name of company: Homelite Far East Co., Ltd.
Address: 24/F, CDW Building,
388 Castle Peak Road,
Tsuen Wan Hong Kong.
Type: RSH-2455
Name / title: Andrew Eyre
Vice President, Engineering
Signature:

06/2009
ManualGo.com