LFG335S - Basket ELECTROLUX - Free user manual and instructions
Find the device manual for free LFG335S ELECTROLUX in PDF.
Download the instructions for your Basket in PDF format for free! Find your manual LFG335S - ELECTROLUX and take your electronic device back in hand. On this page are published all the documents necessary for the use of your device. LFG335S by ELECTROLUX.
USER MANUAL LFG335S ELECTROLUX
OBCJNYXBAHE HA KJINEHTN
BnHaHn n3noJ3BaIte opuHnaJIHn pe3epBHN qactN.
Korato ce cBbP3BaTe c Haunr OToPn3npan OToDen „ObcnyXBaHe“, Tp6Ba Da NMaTe noD pka cIeHaTa HOpmaunr: Moden, PNC, cepneH Homep.
HΦopMaζηraTMOKe Da 6bIe OTkpNTa Ha Ta6JIkKaTa C OCHOBHN daHHN
IpeDynpexKdEHNe/BHmMaHne-HPopMaun 3a6e30nacHOCT
① Ośza uHΦopMaζη n CbBeTn
HΦopMaζηa 3a OKoJHaTa cpea
3ana3BaMe cn npaBOTO Ha n3MeHeHn.
CbIbPjKAHNE
- INHOPMALLA 3A BE30NACHOCT.. 2
- INHCTPYKUN 3A BE30PACHOCT
- INHCTAJINPAHE 7
- ONICAHNE HA YPEDA 7
5.BCEKnDHEBHA YIOTPEBA. 7
6.ΓPUNI INIOUHCTBAHE 8 - OTCTPAHRAHE HA HEN3INPABHOCTN 10
- ONA3BAHE HA OKOJIHATA CPEDA 10
1. HΦOPMauŋa 3A B63OηACHOCT
Ipei moHTnpaHTo n ynoTpe6aTa ha ypeHa BnMaTeJIHO npOyeTe IpeoocTaBeHnte uHcTpkyu. IpOn3BoInTeJIr T He e OTROBOpEh 3a HapaHbAHnI NII NOBpeDN B pe3yJITaT Ha He npaBnJIHa IHCTaIauzna IIN yNoTpe6a. BnHaN dpBXKe
INHCTpyKcHnTe Ha 6e3OpaCHO n IeCHO DoCTbPiHO MЯCTO 3a cnpaBka B 6bDeue.
1.1 Be3opacnoct 3a Deca N Iuca B HepaBHOCTOHO NOJoxHe
To3n ypei moKe da 6bJe n3noJ3BaH ot Deca na 8- roDnHa Bb3pact, KaKTo I OT IuCa C HamaJIeHi fN3nueckn, cETNBn I yMCTBeHn Bb3MOxHOCTn IIN OT IuCa 6e3 OINT N IO3HaHnra, cAmO aKO Te ca IOD Ha6JIoHeHne IIN 6bDaT INHcTpkykTnpaHn OTHOcHO 6e3OpacHata yNoTpe6a Ha ypea n pa3bnpaT Bb3MOxHnte pIckOBe. Deca Iod 8-roDnHa Bb3pact n Xopa C TeJKN IIN KOMPLeKCHn YBpejdaHn Tp8Ba Da ce DbpJkaT daJeUOT ypea, OCBeH aKO He ca IOD NoCToJHHo Ha6JIoDeHne.
- DeçaTa TpЯБВa Да Быдат пон Habлюдене, 3a Дa ce rapaHTnpa, Ye He си ИграТс урEDA.
- ДръжтЕ BCичКи ONaKOBКи дaleue OT Deça и n3XBbРЛeTe ONaKOBKNTe NO MecTHNte npabuJa.
- Па3eTe DecaTa I DomaShHnTe JIObUmCn ДaJIeU OT ypeDa, KOrato ToI pa6OTn.
- Deça He Tp86Ba Da n3BbPWBaT NOUcTBAHe IJIIN PoiIrpBXKa Ha ypeDa, KOraTo ca 6e3 HaN3Op.
1.2 Ośza 6e3oNaChocT
To3n ypeE npeHa3NaueH 3a domaKInHcKa ynoTpe6a Hnd PnOTOBe, cyprHn IpoO6Hn ycTPOiCTBa 3a rotBeHe.
To3n ypeE npedHa3NaueH 3a domaunHa ynotpe6a B 3aTBOpeHn PomeeHn.
To3n ypei MoKe Da Ce n3NoJ3Ba B Oocn, CTan B XOTeI, CTan B MOTeI, KbU 3a RoCTn I dpyrN POno6Hm MeCTa 3a HactaHaBe, KbDeTO TOBa n3NoJ3BaHe He HaDbuShaBa (CpeiHO) HNBOTO Ha DomaShHa ynotpe6a.
- Прази n3BbPшВаHeTO Ha KaKbBTo Ида e peMOHT, n3KJIIOyTe ypeda OT eNeKtpo3aXpaHBAHeTO.
BHIMAHNE: OocbHnTe yactn Morat da ce haropeaT no BpeMe Ha ynotpe6a c rotBapcKn ypeiN.
- Използвашие само Фикшисте винтоBE, дoctаBERHСураза, a akO Лпсват takINBA, ИЗПОЛ3ВайтпрелорьанITE B INHCTpyKцINTE 3a INHCTaJIaцЯ.МоHTИрашte ураза на бezOTаСнОи NOДхODЯso мястО, KOETO OTROВаря на моHTАЖНITE ИЗИСКВанЯ.
- ПЕДУПЕЖДЕHINE: Ако He моHTираTe BИNTOBeTe Илп ФИКсИрашOTO устpoйСТВОВ CBOTВETCTBVE C Te3ИнСТPyKцИ, TOBa може дa Довед edo ONaCHOCT OT eJIeKTPnueCTBO.
He n3noI3BaIte IeIIa, 3a da 3akpeIte ypeia.
MHHMaJIHOTO pa3CTOJHHe MeJdy NOBbpxHOCTTa Ha IIOTa, Bbpy KOYTO Ce NocTABrT TnraHInTe, IN DOJIHaTa YacT Ha ypeDa Tp6Ba Da e Hau-MaIKo 65 cm, OCBeH aKO He e IocOueHo Dpyro B IHcTpyKcIHTe 3a IHcTalaun Ha ypeDa IIN IILOTA. - Изховът 3а Вьздух Трябва Да OTROВаря на мecтнITE нараздби.
-Погрижete ceда осигурпгдобра BeHTиlaцяв NOMEseHneTO,В Koeto e MOHTnpaH ypeDbT,3a Da n36eHrTe ObpaTeH NOTOK Ha ra3OBe B NOMEseHnETo OT ypeDN, KOnTO rOpA rDpyrN ra3OBe nIIN rOpNBa, BKJIIOuHTeJIHO OTKpNT OfBH. - YBepete ce, Que BeHTnlaZnoHHnte OTbOpn He ca 3aNyWeHn IN Bb3dYxbT, KoITo ce Cb6npa OT ypeDa, He ce npeHaC8 B KaHaJ 3a n3PnCKaHe Ha dIm n napa OT dpyRn ypeDi (cEHTpAlHn OTOpJIteJIHn CNCTeMn, TepMOcNΦOHN, BoJnepn i T.H.).
Korato ypeiT pa6Ou C npUy upeH, MaKcMaJIHnA T reHepuAn B nOmeueHneTo BaKyUm He Tp86Ba da HaDbNsaBa 0,04 mbar. - YBepete ce, ye HЯMa da NOBpeIte 3axpaHbauJn Ka6eJ. CbpxKeTe ce c HaSiy OToPn3npaH cepBn3eH ueHTbp nIIn eJIeKTPoTEXnK 3a CMHaT a Ha IOBpeJeH 3axpaHbauJ Ka6eJ.
Ako ypeBt e CBbp3aH dIpeKTHO KbMeIeKtpo3axpaHbaHeTo, eIeKtpnueckaTa nHCTaJaun
Tp6Ba Da 6bDe O6OpUdBaHa C n3OJnPaIoo yCTpoIcTBO, KOeTO N03B0JRA Ba n3KJIIOUVAHe Ha ypeDa OT mpeXaTa OT BCNUKn PONOCn. N3KJIIOUVAHeTo Tp6Ba Da OTROBapr Ha YCNOBnra, NocOueHn B Kateropn I1 3a CBpbxHaPpeXeHne. KIIoYbT 3a n3KJIIOUVAHe Tp6Ba Da 6bDe CBbp3aH C eIeKTPnuecka MpeXa, B CbOTBETCTBne C npabnata npn OKa6eJRAhe.
He pfambnpaTe npd ypeDa.
He n3no3BaTe ypeDa 3a n3nyckaHe Ha onaChn nnEKCnlo3NBH MaTePnaJI N n3napeHnA.
- Почистваиме рedingовно урEDA с meka Кьрпа, 3a за празOTВразиTe увржданe на поьрхнocTHИЯ MaTeprnaI.
He n3noJ3BaIte 3a noUcTbaHe napOuNCTaUka, BODHa cTpya, TeKKn a6pa3nBHN noUcTbaU niPepapatNi OCTPN MeaJIHn CTbprAJIKN. N3noJ3BaIte camo HeyTpapani npenapatN.
- Почистваіte Фпілtpіte 3a Ma3HHH peIDOВHO (най-малко
На Всеки 2 мecеца) и OTстраняваіte натуунbaIGNЯта на
Ma3HHH ot урEDA, 3a за n36eгнete рпска OT пожар.
- Изполизвайта Кьрna 3a поочстваце на Вьтpeшнатуactivна урEDA.
2. INHCTPYKUN 3A BE3ONACHOCT
2.1Инстация

BHIMAHNE!
Onachoct ot hapaHbAHe, TOKOB yIap, noXap, n3rapaHe nn NobpeHa Ha ypeDa.
-
Camo KBaIINΦnIpaHO JIe MoKe Da N3BbPm MOHTaKa Ha ypeDa.
He mONTpaTne Hn He n3noJ3BaITe NOBpeDeH ypeI.
CneIbainHe nHCTpyKunTe 3a IHCTaIInpaHe, npJIIOKeHN KbM ypeJa.
BnHaN BnHmBaIe, KOraTo MeCTnte ypeDa, Tb' KaTo e TeKbK. BnHaN n3NoJ3BaIe npEJa3Hn pKkABuCi n 3aTBopeHn O6yBKn. -
Праздд моHTираTe урда, OTCTpaHete BCnUKN ONaKOBKn, ETNUKETN 3aUNTHOTO NOKPITNe.
He MoHTnpaIte n3XoJa 3a Bb3dUx B KuxHa Ha CTeHaT, OCBeH aKO Ta He e npedHaueHa 3a Ta3n ceJ.
2.2 EneKtpnuecko CBbp3BaHe

BHIMAHNE!
PnCK OT noXap nIIN TOKOB yIap.
- BcunK en. Bpb3Kn Tpr6Ba da ce HappaT OT KBaIINФИцпаH eJektpotexHnK.
- YBepete ce, Ye napameTpnte Ha Ta6eIkaTa C TexHnueckn DaHHn ca
CbBMeCTUMC eNEKtpnueCKNte DaHHn Ha 3axpaHbAaTa MpeKa.
Ako cIMBOJbT ()NCBa Bbpxy Ta6eIkaTa C daHHN, yCTpOInCTBOTO Tp8Ba Da ce 3a3emN.
BHHarn n3noJ3BaIte npaBnHIO MOHTnpaH KOHTaKT CbC 3aUNTa OT TOKOB yDap.
He no3BOJBAaIe eJIeKTPuYeCKnTe Ka6enn da ce npenntat.
He n3noJ3BaIte pa3KNOHITeIN nn aadantepn C MHORo BXOIOBe.
Ako KOHTaKTbTe pa3xna6eH, He CBbp3BaIte 3axpaHbauu nueNCen.
He n3dbpnbaiTe 3axpaHbauJa Ka6eJ, 3a da n3knouHTe ypeJa. BnHaHn n3dbpNbaiTe uencela Ha 3axpaHbAheTo.
3aunataOTTOKOByapHa ropeuNTe n 30nnpaHn yactn Tp6Ba da 6bde 3aTeHaTaNtKaBb HauHH,ye Da He MOKe Da ce OTCTpaHn 6eMHCTpyMeHTN.
- YBepTe ce, ye ypeIbT e nHCTaIIpaH npabnIHO. Xna6ab Nnn He npabnJIeH eJeKtpnueckn Ka6eJ MoKe da DoBeDe do nperepBaHe Ha KneMnte.
CbpxeTe ypea B kpaHa HnHctanaunra.YBepete ce,ye nMa DOCTbI Do Mpekata cnei HnHctanaunra.
2.3 V3noJ3BaHe

BHIMAHNE!
Puck OT HapaHbAHe, n3rapaHnI TOKOB yap.
To3n ypeE npeHa3NaueH caMo 3a roTBeHe. He n3noJ3BaIte ypeDa 3a npyru ceJIi.
He npomehyTe npedHa3HaeHneTo Haypeda.
He pa6oTeTc ypeDa c MOKpn Pbue NJI KOrato NMa KOHTaKT C BODa.
- INoJ3BaIe cMo akcecoapnte, OocTaBeHc cypeJa.
- Na3eTe NnAmbK nnn HArOpEueHn npedmetn daJIeY OT Ma3HNHaTa nnn OJNOTO NO BpeMe Ha rotBeHe n nbpKeHe.
He n3noJI3BaIte HeNOKpNTn eJekTpueckn peWetKn.
He n3non3BaIte ypeJa KaTo NOBbpxHocT 3a CbXpaHeHne.
He n3noI3BaIte lynn, 6nHoknn nn npoobn ONTnHy nCtpoNCTBa 3a dInpeKTHO BRJExJaHe B OCBETJeHHeTo Ha ypeDa.
- Ako ypeDbT pa6OTn C npyrn ycTpoiCTBa, MaKcImaJIHTo pa3pa6OteHo HAnraHe He Tp8Ba Da NaBnUwAba 4 Pa (4x10-5 bar).
2.4 O6cJnyKbaHe
3a nonpaBka Ha ypeDa ce CbbpXeTe c OTOpn3npaH cepBn3eH ueHTbp. 3no3BaIte camo opuRHaHn pe3epBn Yactn.
OTHOCHO JAMnata(HTe) BbTpE B TO3n npOdyKT n pe3epBnTe JAMn, npOdaBaHn OTdEnHo: Te3n JAMn ca npedHa3HaueHn Da n3DbpxkT Ha ekCTpeMHn cN3NuYeCKn ycNoBnB DOMaKnHcKn ypeNi, KaTO TempePaTypa, BV6paun, BlaXHoCT nIi Ca npedHa3HaueHn Da CNrHaJIu3npaT HOpMaun 3a pa6oTHOTO cbCToHHe Ha ypeDa. Te He ca npedHa3HaueHn 3a INoJ3BaHe B dpyr n pniJIOxEHn n He ca NODxoJU3a OCBETBAHe Ha NOMeJeHHBTO.
2.5 IV3XbpynHe

BHIMAHNE!
Pnck OT hapaHbAHe nJIN 3aDywaBaHe.
CbpxKeTe ce c 6uHcknte BlaCTn 3a HOpMaun KaK da N3XBpNtE ypeJa.
- N3KJIIOUeTe ypeDa oT eJekTpO3aXpaHbaHeTo.
- ɪəBaʌdTe 3axpaHbʌŋa en. Ka6eB B
6nɪzOCT do ypeə n ro nɪzXbɒpneT.
3.ИHCTAJINPAHE

BHIMAHNE!
Bx. rnaBa "Be3oNaCHocT".
IpeMeCTe IpeBKnIOvBaTeIa CkOPOCT Ha BeHTnIaTopa Ha HrKoe OT Hbata Ha CKOPOCTTa.
A6cop6batopt3aNoyBa da pa6oTu. Ako e Heo6xOdImO, CMeHeTe cKOpocTtA, KaTo npemecTnte npeBKnIOuBaTeJI.

OcbTJIeHHeTo Ha acnnpaTopnte pa6OTn He3aBNCmIO OT dpYrIte 0yHKcNn Ha acnnpaTopa. 3a da ocBETnTe NOBbpxHOCTTa 3a rotBeHe, n3NoJ3BaIte npEBKnIOuBaTeNa Ha NaMnUkata
3a da n3KJIIOUHTe ypeDa, npemeCTeTe npebKJIIOUbaTeJra 3a cKOpocTTa Ha BeHTnIaTopa Ha no3nua 0.
6. Глии NGOYNCCTBAHE
6.1 Belejekn OTHOCHO NOUcTBaHeTo

Ppenaptn 3a no- uHCTBaHe
He n3non3BaIte a6pa3nBHN nouchTbaun npenapatn Yetkn.
IOnuCTe IInueBaTa YacT Ha cyphata C MeKa Kbpna C TOnJa BOda N Iek npenapat 3a noUcTBaHe.
Cnei roTBeHe HAKOn Yactn Ha ypeHa Morat Da ce HarpeT. 3a da n36erHete neTHa, ypeBb Tpr6Ba Da ce oxnaIu I3cyu C uHCTa Kbpna nn CanpETkn.
Nochte Te nThata c Jek NouchBaau npenapat.

PondbpxkaTe a6-cop6aTopa uCT.
IOnuCTBaIte ypea nΦnItpTe 3a Ma3HnHn BceKn Meceu. BHmAteJHo NoUcTbaIte Ma3HnHn NO BbTpewHocTtHa ypea nΦnItpTe 3a Ma3HnHn. HatpynBaHn Ha Ma3HnHn IIN DpyrO octaBtuMOrat da DoBeDat do noxap.
ФИПТРNTe 3a Ma3HINMOrTaДа Се NOYNCbTВСБДOMNJIHa.
CbdomnHaTa Tpr6Ba Da e HacTpoEHa Ha Hncka TemnepaTy a KpaTbK uKbI. FInTbPbT 3a Ma3HmH MoKe Da 3ary6uCBeta Cn, HO TOBa He BnIe Bbpy pa6oTaHa ypeJa.

ΦnITbp cakTNBEH BbIeH
Bpemeto 3a Hacnlahe Ha cKnTbpa C AKTNBEH BByIeH 3aBNCn OT Tnna rotBeHe n peDoBHOCTTa Ha noYcTBaHe Ha cKnTbpa 3a Ma3HNH. FNITbPbT C AKTNBEH BByJIeH He MoKe Da ce Mne, He MOKe da ce pereneepnpa I Tp6Ba da Ce NOpMeHa npN6JIn3NTeHn Ho Ha BCEK4/6 Mececa pa60ta nn No-yeCTo npn Ooc6Ho TeKka yNoTp6a.
6.2Почиствае на сиптбра 3a Ma3нHHN
ФИПТРИЕ CE MOHTINPAT C NOMOUITа Ha CKOБи N UΦTOBE, pa3NIOJXeHn OT obpaTHaTa CTpHa.
3a da nouchte fHITbpa:
- Hatahe Te npkkaTa Ha cko6aTa 3a MOHTax Bpxy NaHeHa hФnITbpa noa6cop6aTopa.

2.Лeкногепедачсн
ФИNTbpaHaOJy,CneД KoETo DpbHHeTe.
ПОВTOpeTe ПьрВITE DBe CTbNKn 3a BCNUK
ФИNTpN.
3.Почистефпгпссnomоцт ha Ib6aИ Hea6pa3nBn Ирета nIIN B CbdommaJIHa.

CbdomnHaTa Tp6Ba Da e HacTpoHa Ha HnCKa Tempeatpa N KpaTBK uKbI. FNITbPbT 3a Ma3HnH MoKe da 3ary6u CBeta CN, HO TOBA He BnRe Bbpxypa6oTaHa ypeDa.
- 3a MOHTnpaHe Ha qnItpnte o6paTHO, n3PbJIHHeTe nbpBNTe DBe CTbIKN B o6paTeH pei.
IobopeTe CTbKNTE 3a BCNUKn QnIITpn, aKO e npNJIOXIMO.
6.3 CmHa Ha ΦnTbpa cakTNBeH BbIeH

BHIMAHNE!
ФИNTbPbT cakTNBeH BblJeH He Tp6Ba Da ce Mne!ФИNTbPbT He MoKe da 6bDe perehepupaH!
3a cMaHa Ha qnTbpa c aKTNBeH BblneH:
1.ИЗваде TeФиNTpNTe 3a Ma3HINH OTOypeda.
BnKTe ,IOnuNCTBaHe Ha qHNTbpa 3a Ma3HNH“ B Ta3N rnaBa.
2. 3aBbptTe ΦnTbpa o6paTHo Ha yacOBHnKOBaTa cTpeJka (1) n ro dpbNHte (2).

3a MOHTnpaHe Ha cHITpIte n3bJIHeTe CTbIKTe B O6paTeH pei.
Pn BCnKn CnyaH e Heo6xOdmo Da CMeHrTe FnIITpIte NoHe Ha BCEKn YeTnpi Meceua.
6.4Смяна налампаТa

BHIMAHNE!
PnCK OT n3rapaHnI n TOKOB ynap!
N3KnIOUeTe ypeDa oT
eNEKTPo3axpaHbAHeto npEi pa6Ota!
YBepTe ce, ye KpyuKaTa e n3CTnHaIa,
npEi Da J DOKOChTe.

BHIMAHNE!
PnCK OT HapaHbAHn! N3noJ3BaITe 3aUNTHn PbKaBnU, 3a Da CMeHInTe IamNkata.

Pnck ot nobpeda ha ypeda! He n3noJ3BaIe HNCTpyMeHTN C oCTpn KpaIa!
CmeheTe n3ropaNaTkpyuKa B cbOTBeTCTBnE CbC CneuNkaunTE:
MOUHOCr(W)4
ГнэздОЕ14
WE'RE THINKING OF YOU
Thank you for purchasing an Electrolux appliance. You've chosen a product that brings with it decades of professional experience and innovation. Ingenious and stylish, it has been designed with you in mind. So whenever you use it, you can be safe in the knowledge that you'll get great results every time.
Welcome to Electrolux.
Visit our website to:

Get usage advice, brochures, trouble shooter, service and repair information: www.electrolux.com/support

Register your product for better service: www.registerelectrolux.com

Buy Accessories, Consumables and Original spare parts for your appliance: www.electrolux.com/shop
CUSTOMER CARE AND SERVICE
Always use original spare parts.
When contacting our Authorised Service Centre, ensure that you have the following data available: Model, PNC, Serial Number.
The information can be found on the rating plate.
Warning / Caution-Safety information
General information and tips
Environmental information
Subject to change without notice.
CONTENTS
1.SAFETY INFORMATION. 45
2.SAFETYINSTRUCTIONS 48
3. INSTALLATION 49
4.PRODUCT DESCRIPTION 49
5.DAILYUSE 50
6.CARE AND CLEANING 50
7.TROUBLESHOOTING 52
8. ENVIRONMENTAL CONCERNS 52
1. SAFETY INFORMATION
Before the installation and use of the appliance, carefully read the supplied instructions. The manufacturer is not responsible for any injuries or damage that are the result of incorrect installation or usage. Always keep the instructions in a safe and accessible location for future reference.
1.1 Children and vulnerable people safety
-
This appliance can be used by children aged from 8 years and above and persons with reduced physical, sensory or mental capabilities or lack of experience and knowledge if they have been given supervision or instruction concerning the use of the appliance in a safe way and understand the hazards involved. Children of less than 8 years of age and persons with very extensive and complex disabilities shall be kept away from the appliance unless continuously supervised.
-
Children should be supervised to ensure that they do not play with the appliance.
- Keep all packaging away from children and dispose of it appropriately.
- Keep children and pets away from the appliance when it operates.
- Children shall not carry out cleaning and user maintenance of the appliance without supervision.
1.2 General Safety
- This appliance is intended for domestic use above hobs, cookers and similar cooking devices.
- This appliance is designed for single household domestic use in an indoor environment.
- This appliance may be used in, offices, hotel guest rooms, bed & breakfast guest rooms, farm guest houses and other similar accommodation where such use does not exceed (average) domestic usage levels.
- Before carrying out any maintenance, disconnect the appliance from the power supply.
- CAUTION: Accessible parts may become hot during use with cooking appliances.
-
Use only the fixing screws supplied with the appliance if not supplied, use the screws recommended in the installation instructions. Install the appliance in a safe and suitable place that meets installation requirements.
-
WARNING: Failure to install the screws or fixing device in accordance with these instructions may result in electrical hazards.
- Do not use adhesives to fix the appliance.
- The minimum distance between the hob surface on which the pans stand and the lower part of the appliance shall be at least 65~cm , unless otherwise specified in the installation instructions for the appliance or hob.
- The discharge of air must comply with local authorities regulations.
- Ensure good air ventilation in the room where the appliance is installed to avoid the backflow of gases into the room from appliances burning gas or other fuels, including open fires.
- Make sure that the ventilation openings are not blocked and the air collected by the appliance is not conveyed into a duct used to exhaust smoke and steam from other appliances (central heating systems, thermosiphons, water-heaters, etc.).
- When the appliance operates with other appliances the maximum vacuum generated in the room should not exceed 0.04 mbar.
- Make sure not to cause damage to the mains cable. Contact our Authorised Service Centre or an electrician to change a damaged mains cable.
- If the appliance is connected directly to the power supply, the electrical installation must be equipped with an isolating device that allows to disconnect the appliance from the mains at all poles. Complete disconnection must comply with conditions specified in the overvoltage category III. The means for disconnection must be incorporated in the fixed wiring in accordance with the wiring rules.
- Do not flambé under the appliance.
-
Do not use to exhaust hazardous or explosive materials and vapours.
-
Clean the appliance regularly with a soft cloth to prevent the deterioration of the surface material.
- Do not use a steam cleaner, water spray, harsh abrasive cleaners or sharp metal scrapers to clean the surface of the appliance. Use only neutral detergents.
- Clean grease filters regularly (at least every 2 months) and remove grease deposits from the appliance to prevent the risk of fire.
- Use a cloth to clean the interior of the appliance.
2. SAFETY INSTRUCTIONS
2.1 Installation

WARNING!
Risk of injury, electric shock, fire, burns or damage to the appliance.
- Only a qualified person must install this appliance.
- Do not install or use a damaged appliance.
- Follow the installation instructions supplied with the appliance.
- Always take care when moving the appliance as it is heavy. Always use safety gloves and enclosed footwear.
- Before installing the appliance remove all the packaging, the labelling and the protective film.
- Do not install the exhaust air into a wall cavity, unless the cavity is designed for that purpose.
2.2 Electrical connection

WARNING!
Risk of fire and electric shock.
- All electrical connections should be made by a qualified electrician.
-
Make sure that the parameters on the rating plate are compatible with the electrical ratings of the mains power supply.
-
If the symbol () not printed on the rating plate, the appliance must be earthed.
Always use a correctly installed shockproof socket. - Do not let the electricity mains cable tangle.
- Do not use multi-plug adapters and extension cables.
- If the mains socket is loose, do not connect the mains plug.
- Do not pull the mains cable to disconnect the appliance. Always pull the mains plug.
- The shock protection of live and insulated parts must be fastened in such a way that it cannot be removed without tools.
- Make sure the appliance is installed correctly. Loose and incorrect electricity mains cable can make the terminal become too hot.
- Connect the appliance at the end of the installation. Make sure that there is access to the mains after the installation.
2.3 Use

WARNING!
Risk of injury, burns and electric shock.
- This appliance is for cooking purpose only. Do not use the appliance for other purpose.
- Do not change the specification of this appliance.
-
Do not operate the appliance with wet hands or when it has contact with water.
-
Use only the accessories supplied with the appliance.
- Keep flames or heated objects away from fats and oils during cooking and frying.
- Do not use uncovered electric grills.
- Do not use the appliance as a storage surface.
- Do not use magnifying glasses, binoculars or similar optical devices to look directly at the lighting of the appliance.
- If the appliance works with other devices, the maximum developed pressure must not exceed 4 Pa (4x10-5 bar).
2.4 Service
To repair the appliance contact the Authorised Service Centre. Use original spare parts only.
- Concerning the lamp(s) inside this product and spare part lamps sold separately: These lamps are intended to withstand
extreme physical conditions in household appliances, such as temperature, vibration, humidity, or are intended to signal information about the operational status of the appliance. They are not intended to be used in other applications and are not suitable for household room illumination.
2.5 Disposal
WARNING!
Risk of injury or suffocation.
- Contact your municipal authority for information on how to dispose of the appliance.
- Disconnect the appliance from the mains supply.
- Cut off the mains electrical cable close to the appliance and dispose of it.
3. INSTALLATION

WARNING!
Refer to Safety chapters.
3.1 Installation instructions

For complete information about the installation of the appliance refer to a separate installation booklet.
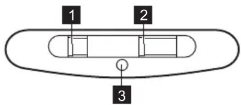
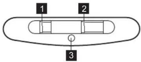
4.PRODUCT DESCRIPTION
4.1 Control panel overview

Function Description
1 Light switch To switch the light on and off.
2 Fan speed switch To switch between fan speed level.
Indicator Indicates if the hood operates.
5. DAILY USE
5.1 Using the hood
Check the recommended speed according to the table below.
| 1 | While heating up food, cooking with covered pots. |
| 2 | While cooking with covered pots on multiple cooking zones or burners, gentle frying. |
| 3 | While boiling and frying big quantities of food without a lid, cooking on multiple cooking zones or burners. |
i It is recommended to leave the hood operating for approximately 15 minutes after cooking.
To operate the hood:
Move the fan speed switch to one of the speed levels. The hood starts to operate. If needed, change the speed by moving the switch.
The hoods light works independently to other hood functions. To illuminate the cooking surface use the light switch
To turn off the appliance move the fan speed switch to the 0 position.
6. CARE AND CLEANING
6.1 Notes on cleaning
| Cleaning Agents | Do not use abrasive detergents and brushes. Clean the surface of the appliance with a soft cloth with warm water and a mild detergent. |
| After cooking some parts of appliance can get hot. To avoid stains appliance must be cooled down and dried with clean cloth or paper towels. | |
| Clean stains with a mild detergent. | |
| Keep the hood clean | Clean the appliance and grease filters each month. Clean the interior and grease filters carefully from fat. Fat accumulation or other residue may cause fire. |
| Grease filters can be washed in a dishwasher. The dishwasher must be set to a low temperature and a short cycle. The grease filter may discolour, it has no influence on the performance of the appliance. |

Charcoal filter
The time of saturation of the charcoal filter varies depending on the type of cooking and the regularity of cleaning the grease filter. The activated charcoal filter is not washable, cannot be regenerated and must be replaced approximately every 4/6 months of operation, or more frequently for particularly heavy usage.
6.2 Cleaning the grease filter
Filters are mounted with the use of clips and pins on the opposite side.
To clean the filter:
- Press the handle of the mounting clip on the filter panel underneath the hood.

- Slightly tilt the front of the filter downwards, then pull.
Repeat the first two steps for all filters. - Clean the filters using a sponge with non abrasive detergents or in a dishwasher.
i
The dishwasher must be set to a low temperature and a short cycle. The grease filter may discolour, it has no influence on the performance of the appliance.
- To mount the filters back follow the first two steps in reverse order.
Repeat the steps for all filters if applicable.
6.3 Replacing the charcoal filter

WARNING!
The charcoal filter is NON-washable! The filter cannot be regenerated!
To replace the charcoal filter:
- Remove the grease filters from the appliance.
Refer to "Cleaning the grease filter" in this chapter. - Turn the filter counterclockwise (1) and then pull (2).

To mount the filters back follow the steps in reverse order.
In any case, it is necessary to replace the filters at least every four months.
6.4 Replacing the lamp

WARNING!
Risk of burns and electric shock! Disconnect the appliance from the electricity before the operation! Make sure that the light bulb has cooled down before touching it.

WARNING!
Risk of injury! Use protective gloves to replace the lamp.

Risk of damage to the appliance! Do not use sharp edged tools!
Replace the burnt light bulb in accordance with the specifications:
Power (W) 4
Socket E14
Voltage (V) 220 - 240
Dimensions (mm) 37 × 100 (diameter x length)
ILCOSDCode(accord DRBB/F-4-220-240
ingIEC61231) E14-37/100

To replace the lamp:
- The lamp cover has two slots on each side. Use a flat non sharp plastic tool. Gently remove the lamp cover from the appliance.
- Replace the lamp.
- Mount the lamp cover.
7. TROUBLESHOOTING

WARNING!
Refer to Safety chapters.
7.1 What to do if...
Problem Possible cause Remedy
| You cannot activate the appliance. The appliance is not connected to a power supply or it is connected incorrectly. | Check if the appliance is correctly connected to the electrical supply. | |
| You cannot activate the appliance. The fuse is blown. Make sure that the fuse is the cause of the malfunction. If the fuse is blown again and again, contact a qualified electrician. | ||
| The lamp does not operate. The lamp is defective. Replace the lamp. Refer to the "Care and Cleaning" chapter. | ||
| The appliance does not absorb enough vapours. | The motor speed is not adequate to the appearing vapours. | Change the speed of the motor. |
8. ENVIRONMENTAL CONCERNS
Recycle materials with the symbol Put the packaging in relevant containers to recycle it. Help protect the environment and human health by recycling waste of electrical and electronic appliances. Do not dispose of
appliances marked with the symbol with the household waste. Return the product to your local recycling facility or contact your municipal office.
PENSAMOS EN USTED
6.3 Söeffiltri vahetamine

HOIATUS!
Söefilter EI OLE pestav! Filtrit ei saa regenererida!
Söeffiltri asendamiseks:
5. SVAKODNEVNA UPORABA
5.1 Uporaba nape
Provjerite preporucenu brzinu prema tablici u nastavku.
| 1 | Prilikom zagrijavanja hrane, kuhanja sPokrivenim posudama. |
| 2 | Prilikom kuhanja sPokrivenim posudama na više zona kuhanja ili plamenika, lagano prženje. |
| 3 | Prilikom ključanja i prženja velikih količina hrane bezPoklopca, kuhanja na više zona kuhanja ili plamenika. |
i Preporuca se ostaviti napu da radi okay 15 minuta nakon kuhanja.
Za upravljanje napom:
Pomaknite prekidač brzine ventilatora na\ jednu od razina brzine.\ Napa počinje raditi. Ako je potrebno,\ promijenite brzinu pomicanjem prekidača.
1.2 Kaalnbikayinci3dk
-Бул Курьлфы.Yиde neштетрдн,Таfram NicipriштетрднжэнecoI Tepi3di 6acka da nicipy KypaДapbHbH yCTiHe opHaJnactbIPbIn KOndahyFa apHaJFaH.
- Бул курсынсы iшki opтада бip обасын TурmbICTык падалануына apHaIFaH.
- ByI KypblfblHbI KeHcEJIepDe, KOHaKyI 6eJlmEJIepiHde, TceK XHe TaHfbl ac KaMTaMaCbI3 eTIneTIn KOHaK 6eJlmEJIepiHde, fepma yJnEpiHde JxHe MYNdaI naJaIaNHy (opTaWa) TyPMBICTbIK naJaIaNHy DeHreJnEpiH en acNaIbIH backa YKcac TyPfblN JkaJaIa naJaIaNHyfa 6oJaIbI.
- KaHdai da 6ip XeHdey XyMbIcbln OpbIHap aIdbIHda KypblfblHbl Kyat Ke3iHeH axbIpaTbIHbI3.
- CAKTbIK ECKEPTY: Алмалы 6ешекерд Nicipy Курьлfbларыmen 6ipse паданFaHda bICbIN KeTyi MymKiH.
KypbIbImeH 6ipre XeTki3iInreH 6ekity 6ypaHaJapbIH FaHa KOJaHbIHbI3, erep XeTki3iInmeC, opHaTy HYCKayJapbIHda YcBbINFaH 6ypaHaJapDbI naJaIaHaHbIHbI3. KypbIbIHbI opHaTy TaJaIaTpBaHa ceykec bIHfai JxHe Kayinci3 Xepre opHaTbIHbI3. - ECKEPTY: Бураздалар Немеся减免 Кубынбсь осы hyckaynapfa сөнkeс ophaылмаça, TOK COfy kayintepihe ekenyi Mymkih.
KypbIbHbI 6eKiTy ywiH XeJIIMdePdi naJaIaHa6aHbI3. - Tabanap Koynbifan neuTih 6eti MeH KypblfBHBn TEmehri 6oJIirHe deinHri eH a3 KaushbIKTBk, NeWke Hemece KypblfBaFa apHaJFaH opHaTy HcKaynapbIHda 03reWe KepcetimCe, Kem dereHde 65 cm 60nyfa Tnic.
AyaHBI ShbIFapy KeprilikTI HopMaTnBtIK aKTIpeH TaJaanTapbHa caikec kenyi kepek. - Ra3 Hemece 6aca JkaHapMa KOndaHaTbIH Kypblfblapdah, CohBMeH KaTAP aMbIK OTTaH 6eJIHeTIH ra3Iap 6eJMeRe KaTAta KIpMec yWih, KypblfblOpHaTbIJaH 6eJMeHiXaKcbI XeJDeTIyIn KaMTaMaCbI3 etiH3.
KeIeTeTy caHbIayIapbIHbIH 6iTeJIIn KaJMaFaHbIH XHe Kypblfbl XINHaFaH aya 6aCKa KypblfblIapdAn KeJIeTIH TYTlH MeH 6yDbI TapTaTBH XyIeRe (OpTaJIbIKTaH XbIJbITy XyIeIepi, TepMocnfoHdAp, cy XbIJbITKbIUtap XHe T.6.) TaCbIMaIIaH6aFaHbIH TekcepiHi3.
KypbIbIbI backa KypblfblapMeH 6ipre icke KocblfHaHa, 6eImedeeri en yIKeH BaKyum 0,04 m6ap-dan acnay kepek.
KocbIbIM ka6eJIHe ew6ip 3aKbIM KeIITipMeHi3. 3aKbIMdaIaNfAH JeJIiIK ka6eJIbdi aybICTbipy ywiH yekilETTI Kbl3MET KOpCETy opTaIbIFbIHHa Hemece 3JKeKTp MAmahbIHa xa6apnacbl3.
KypbIfbl Kyat Ke3iHe Typa Kocblfah 60nca, KypblfblHbI 3neKtp Jeicihh baplki NIOHCTepiHe n Axbipatyfa MymkHdiK bepeTih TynbIKtaFbiW KypblfImeH Xa6dbIKTaJybl
KepeK. TokTah TOnbIK aIbIPy KymbICTapBIn III-1Wi acKbH KepeH caHaTbIHda KepcetINReH KaFdaJnAPFa cai icKe acbIPy KepeK. AxbipatY KypaIbH cbIMdApDbI eTKi3y epexeJIepiHe cai bekITINReH cbIMdAPFa biPikTipy KepeK.
KypbIbIbIH actbHa qIaMbe TacijimeH ac nicipyre 6oImaIdbI.
Kayinti Hemece XapbIFbI MATEpnaIapDbI XHe 6ynapdbI naJaIaH6aHbI3.
KypbIbHbIH 6eIHderi MaTePnAldbIH canacbl TycneC ywiH KymCaK Wy6epeKneH Me3rIn-Me3rIn Ta3aHaHbI3.
KypbIbHbIH 6eTih Ta3aJaiy uin 6ymeH Ta3aJaiy KypaJIbH, cyIbI cnpei, KaTbI Xemiprii 3aTTapDbI Hemece eTKip Temip KypaIpaDbl naJaIaN6aHbI3. BeiTapan JyfbIw 3aTTapDbI FaHa KoIdaHbIHbI3.
- Θρт šыкпасушин май кинайтбин сузглерді (keMiHne 2 aиda bip pet) khe He Kypblfba Fa KINHaJFaH MaJnapdby Ta3aJaHbI3.
KypbIINfbIHbIH iwiH wy6epeKeH Ta3aHaHbI3.
2. KAYINCI3IK HYCKAYAPbl
2.1 Ophaty

ECKEPTY!
KapaKaT any, 3neKtp KaTepi, Kyin Kany, opt Kayni, KypblfBihb6yndipin any Kayni 6ap.
OcbI KypblfblHbI TEK 6iJIkTI MaMaH FaHa opHaTyFa Tnic.
- ByniHren KypblfHbOpHaTnah3 Hemece icke KocnaHb3.
KypbIFbIMeH 6ipre XeTkiIInreH opHaTy HcaynapbIHOpbIHdAhl3.
Kypblfbyaybip6oIFaHdbiKaTH,OpHbHaH XblXbITkAHKe3De apkaWah a6aB 6oJIbIHbI3. OpkaWah Kayinci3dk KOnFa6bl MeH 6itey aAKnIM KniHi3.
KypbIFbHbOpHaTnac6ypbH6apNbIK opam MaTePnaJdApbIH, XancbipMaCbIH XHe KOpFaHbIu Yndipih anBhl3.
Aya tapTkbl W KypblfblHbI, erep Ka6bIpfa opHaTyfa apHaBbl pyKcat bepiImece, OHda opHaTnaHbI3.
2.2 ΘηεκTpTofblHa Kocy

ECKEPTY!
JaKTapdbj KymcaK Kyfbll 3aTneH Ta3aJhaHbI3.

TyTIN WbIFapFbIWTbI Ta3a yCTAhbl3
KypbIfnHbI JxHe MaI cy3riIepiH aI caBH Ta3anaHbI3. IuHderI xHe MaI cy3riinePiHer iMaIbI MyKnT Ta3anaHbI3. KInHaNfA H MaI Hemece 6acka KaIdbIK eptKe eKeNyI MymkiH.
MaCy3rinepiHbIDbcKyyMaunHaCbIHdaKyyFa60nabl.
blblic kkyfbiMaunHada TMeH TemnepaTypaHbI XaHe KbICKa uKnDi opHaTy kepk. Man cy3ricih TYci e3repyIMKIn, 6yN KypblfBiHbIH Kymbic ICTeyiHe acep etneid.

Kemip cy3rici
Kemip cy3ricihn Tony yaKbTb TaFAM NicipyDIn Typi MeH MaCy3ricih KauHaJbIKbTx Kni Ta3anaHaBbHa 6aNaHaBcTb 60aNb. BeNceHdiPjIReH Kemip cy3ricih Kyy MyMKin EmeC, perehepaunay MymkH eMeC XHe OHb WAmamEn 4/6 aai naJaanFaH caBH Hemece eTe aybp nainanany ywiH Kniipek aybcTbPbIn Typ KepeK.
6.2 Man cy3ricin Ta3anay
Cy3rinepDi opHaTy ywiH Kapama-Kapcbl KaKTapbIHda KbICbIHTap MeH KaDaaybIHTap NaIaIahBfHaH.
Cy3riHITa3anay ywiH:
- Aya tapTkblw KypandbH actbHaFbI cy3ri naHeJIiHderi 6ekity KbickblWBHbIH YCTaFblWBH 6acbHbI3.

2.Cy3riHn aIbHfbl XaFbIH TeMeH Kapaa a3an eHKeNtIH3, cOdaH KeiH TaPbHbI3.
Bapnbck cy3rinep ywiH anFaWkbl eki Kaadamdbi KaIraHaHbI3.
3. Cy3rinepdi jxemipriu emec xyfbi 3aTTapdbI KOJdaHbIN Xekemeh Hemece bIDbc JyfbiIM MaunHaDa Ta3anaHbI3.

blbic Kyfbu MaunHada TeMeH TemnepaTypaHb JxHe Kbicka uKndi opHaty Kepek. Ma cy3ricih Tyci e3repyi Mymki, 6yn KypblfbiHbIH xMybcI icteyihe acep etneid.
- Cy3riHi KaIHa opHbHa KOIO yuHn aJFaWKbEki KaamDbI KepicInHe opbIHdaHbI3. KaKet 6oJCa, 6apNbIK cy3rInep yuHn KaamdApDbI KaTanaHbI3.
6.3 Kəmip cy3riciH aybictbipy

ECKEPTY!
Kemip cy3ricin xyyfa BOJMAIdb! Cy3rihi kalbHa KeTtipy MymkIn emec!
Kemip cy3ricih aybictbipy yuH:
- Mai cy3rinepiH KypbIINfbIDaH WbIFapBIn aNbIHbI3.
OcbI TapaydaBi «MaJ cy3rinepiH Ta3anay»
6eJIIMn KaPAHbI3. - Cy3riHicafat tinihe Kapcbi 6aftta 6paHb13 (1), codan Kein TapTbIHb13 (2).

Cy3rHi KaIHa opHbHa KOIO ywiH KaIaMdapdbI KepiciHwe opbIHdaHbI3.
Ke3-KeIreH KaFdaJa cY3rInepdi KEM DeReHDe TOpT aN caBbN aybICTbpy KepeK.
7. AKAYJIbIKTbI TY3ETY

ECKEPTY!
Kayinci3ik TapaynapbIH KapaHbI3.
6.4 WamdblyaybICTbipy

ECKEPTY!
Kynin kany xhe 3neKtp kaTepeihe ybipay kayni 6ap! KypblfBihb icKe kipicy andbHda TOkTaH axbipaTbHb3! WamDbI yCTamac 6ypbH cybifaHbHa Ke3 XeTKi3H3.

ECKEPTY!
KapaKat any kayini 6ap! Wamdbiyabictbipy yuH KOPFaHbIC KOJFa6bIH naDaHaHbIb3.

KypbInfbira 3aKbIM Keny Kayni 6ap! OTkip Kblpbl KypanDapdbi naJaIah6aHb3!
Kyin KeTKeH WAmDbI TexHnKaIbIK CInaTTaMaJapFa cOKeC ayBcTbIPbIHbI3:
KyaT (Bt) 4
¥AUBK E14
Kephey (B) 220 - 240
Eπwemepi (MM) 37 x 100 (dnaameTpix y3blHdbIfbl)
ILCOS D KOДы (IEC 61231 cαйкес)
DRBB/F-4-220-240-E14-37/100

UamDbI aybIcTbIpy ywiH:
- WAMHbIH KaKNaFbIHbIH ap XaFbIHda eki caHbIay 6ap.Teric,etkip emec nlaCTnKaJIbIK KypaIbI KOJaHaBbI3. WAMHbIH KaKNaFbIH KypbIbIaH a6aJnAn aJIbIHbI3.
- 甲ambl aybictbpbHb3.
- WAMHbIH KaIINaFbIH OPhbHa OPhaTbIHbI3.
7.1 He ictepci3, erep...
| Акayльк bіltимал ceбentерi Шewim | ||
| Курьлфыны icede кosa anma'dbɪhɒ. Курьлфы Kyaat KeəiHe Косылган Jok Неме Тepic Косылган. | Курьлфынын эл ektp KeəiHe Дурьс Косылгани Kaəжтki3iH. | |
| Курьлфыны icede кosa anma'dbɪhɒ. Са'taн'dbɪpfblsh Jɑанbln KeTkeH. Акayльikkа са'taн'dbɪpfbltsbln себen 6oJImafahн In TeKcepiH3. Са'taн'dbɪpfblsh Ka'nta-Kaɪta Jɑанbln ketce, bɪlɪktɪ Šеaktrpшire хаБaplacbɪhɒ. | ||
| Шam жанбайы. Шamda akay 6ap. Шam'dbɪ aúbICTbɪрblɒ. "Кутɪn | устay_Jо He Ta3aNay" taraybɪn Каранɒ. | |
| Курьлфы 6уды-JeТкilikti Tурde Таftпайы. | КоЗfantКыш_JыДмдыIFbl Naйда БоЛГан 6уларra сөйес келмeidɪ. | КоЗfantКышИн,ЖыДмдыIFbln e3reptɪH3. |
8. KOPSHAFAH OPTAFA KATbICTbl JAFDAIAP
Benri caIbIHraH MaTePnAldapDbI KaTAt HdeyDen ETKi3yre TaNCbIPbIHbI. Opam MaTePnAldapbIH KaTAt HdeyDen ETKi3y WsiH TnicTI KOHTeINHePJIepre CaIbIHbI. 3NeKtpNIk XHe 3NEKTPOHnKaJIbIK KypblfblnapdIH KaNbIFbIH KaTa eHDeyDen ETKi3y apKbINbI, KopwafAH opTaFa XHe aAMHBiH DeHCaylbIFbHa 3NbIH KeNTipeTiH
XaFdaInapfa KonI 6epMeyre e3 yneciHizdi KocbIbI3. BEnri TaIbIHFaH KypblfblapdbI TypMbICTbIK KaIdbIKTapMeH 6ipre TacTaMaHbI3. OhIMdi JKeprinikTi KaI Ta eHdey opTaIbIFbHa oTKi3H3 Hemece JKeprinikTi MEkemere xa6apnacblbI3.
MES GALVOJAME API JUS
IocToOn onaCHOCT OJ NOBpeJa, I3ropeHnI nn CTpyeH ydap.
- Oboj anapat e Hamehet cmo 3a rotBehe. He ro KopncTeTe anapatot 3a dpyra ynoTpe6a.
He mehybajte ja cneuФkauijata Ha OBOJ anapaT. - He pakyBaJte co anapaTOT co MOKpn paue INI KORA IMA KOHTaKT CO BOJa.
- KopncTeTe cAmo DoaToCu KOn ce daeHn co anapaTOT.
-Држete ro orhot nIIM 3arpeaHnTe npedMeTN NOdaJIeKy OJ MacHOHTnITE mMacnata KORA rOTBnTe I npxNte CO HNB.
He KopncTeTe HEnokpneHn eJeKtpnuHn peWetKn.
He ynoTpe6yBajTe ro anapaTOT kako rpejHo TeNo.
He KopncTe Te Lynn, DbOrnEn nn npyrn cnuHn ypei 3a da TneDte NipeKTHO Kora ce naHn anapatOT.
- Ako anapaTOT pa60TN co dpyrN ypeDN, MAKCImaJIHNO T CO3daJeH pIPTUCOK He cMee da NaDMnHe 4 nackaJI (4x10-5 bar).
2.4 CepBncupaHe
3a da ro nonpaBnte anapatoT, KOHTaKTnpajTe co ObnaCTeHnot cepBnceH ueHTap. KopncTe cmo opunHaJIHn pe3epBn DeJIOBn.
Bo ODHOC Ha CBETNJITE BO BHaTpeWHOCTa Ha OBOJ npoIN3BOID n pe3epBHTe CBETNKN WTO CE npOdaBaAT noce6Ho: OBne CBETNIKn Ce npEdbNdeHn Da n3dpXkat EKCTPemHN n3uKN yCNOBN BO anapatnte 3a DomaknHCTBO, KaKO wTO ce TemnepaTypa, Bn6paun, BnaXHOCT nnCe npEdbNdeHn 3a DaBaHe cInHaJI 3a pa60THata cocToj6a Ha anapatOT. Tne He ce npEdbNdeHn Da CE KOpNCtAT 3a Dpyn HameHn Hc Ce NOrOHN 3a OCBETnyBaHe npocTOPIN BO DOmot.
2.5 OTeTpaHyaHe

PPEyPENEYBAHbE!
Pn3nk oJ noBpea nIIN 3aIySuBaHbe.
- KoHTaKTnpajTe co BaUInTe OINTHNCKn oprAHn 3a Da Do6NeTe INHΦOpMaunn 3a Toa KaKo Da ce OcNo6OOnTe OD anapatOT.
- Ncknyte ro anapaTOT od npNKnyOKOT 3a ctpya.
- I3BaTe ro eIeKtpnHnot Ka6eI 6IIncky do anapaTOT n φpIeTe ro.
3. MOHTAXKA

PENEYNPENYBAHBe!
BnTe BO norgabjata 3a 3aHTnta n cnrgpHocT.
3.1 YnataCTBa 3a MoHTnpaHbe

3a cHTe INHOpMaUu 3a MOHTnpaHe Ha anapatOT BNDTe BO 3ace6HaTa 6poUpa 3a MOHTnpaHe.
4.ОПИС HA ПОНЗВОДOT
4.1 Перлед на koHTpoJHaTа6la

| Функциja Onис | |
| 1 | Прешинывача сбетно 3а да ща вклоче и nckлоче с Bretпката. |
| 2 | Прешинывача за брзига на 3a дa пеминовate на paэлочиьрзига на BeHTилатор. |
| 3 | Показател Рokожва дади работи acnPapotot. |
5. CEKOДHEBHA YNOTPEBA
5.1 KopncTeHe Ha acnnpaTopoT
IpoBepTe ja npenopaHaTa 6p3nHa cnopei Tabenata npkaKaHa noDony.
| 1 | Kora ja 3a rgpeBaTe xpaHaTa, rotBeHe co nokpneHn caDobn. |
| 2 | Kora rotBite co nokpneHn TeHncepiHb a iln Ha nobeKe pIHrIi nll nIaMeHnci, HeXHo npJxHe. |
| 3 | Kora bapITE i npknte norolema kOJIuHnHa Ha xpaHa 6e3 kaIak, rotBeHe Ha nobeKe pIHrIi nll nIaMeHnci. |
i
Ce npenopayBa da ro octaBnte acnnpatopot da pa6oTu OKony 15 MNHyTN NO rOTBeHbeto.
3a da pa6oTnte co acnnpaTopoT:
Iomectete ro npeknHyBaoy 3a 6p3nHa Ha BENTnlaTopoT Ha eHNO od HnBOaTa 3a 6p3nHa.
AcnnpaTopoT 3anOuHyBa da pa6oTu. DOKoNky e nTope6Ho, CmeHete ja 6p3nHaTa co NomeCTyBaHBe Ha npeKInHyBaQOT.
i
CBeTnKataHa acnpaTOPte pa6oTH He3aBnCHO Od npynte yHKun Ha acnpaTopOT. 3a da ja ocBETnTe IOBpHnHaTa 3a rotBeHe KOpNCTe Ro npeKNHyBaOT
3a Da ro NCKnyuTe anapaTOT nomecTeTo npeKnHyBaUOT 3a 6p3nHa Ha BEHTnIaTOP Ha no3njuJa 0.
6. HEGA UN YNCTEHBE
6.1 Beleškn Okoly uncTeheTo
| Средства 3a чисhevе | He Корис teа бразвни detepreни и чеки. Повшина на нечka差别чис teja co Meka крпа натосяа co ТОпla ВODа и средстvo За чисе. |
| Пос говьeto,hekон делови od anapatot може за с Zarpeат.За за Избегн по JAVA На дамки, anapatot мора за с олади и суши co чис ta крпа плхартуен крпи. | |
| Чис teг Дамкite co 6mar deteprent. | |
| Одджевajte ja чисвахayбatable | Чис teу anapatotи и Филь trpitote 3a machotni секoj месц.Чис teу винатшноcta и Филь trpitote за масоти вимателно od machotni. HacobpaheTo Мрсоти пл Друго octatoци od xpaHa може за pezutnpa co noxkap. |
| Филь trpitete 3a machotni може за с міяат bo машина за міясы ce calobn. Машина за міясы садови мора за сиide поставе Na НИСКА Temпера typa и краtok цИКлUC. Филь trpitot за масоти може за ИЗгБИ BoJA, Нма ВлиданeВр перформансите на anapatot. | |
| Филь trpêзогун | В��емето на застениста на Филь trpitot за щаген варURA BO 3abuchoct od bivodot Na �овьeto и рedingноста на чисе超出ну на Филь trpitot за масоти. Актувиранnot Филь trpêзогун не се м�, He може за с рereнерURA и мора за с замен приблжно на секо 4/6 месц od paBOTATA, пл поcento рпс оcoбенчесу Корисе. |
6.2 YncteBe Ha ΦnItepot 3a MPCHOTn
Фиntpnte ce moHTnpaaT co ynotpe6aHa CTern n Cnojkn Ha cnpoTNBHaTa CTpaHa.
3a da ce nchctn fHJTepoT:
1.ПиТиСHTe ja paKaTa Ha cTeraHa nNoyata HaФИNTepOT NOd acnnpatopOT.

- Manky habaTe ro npedHnot deH naΦnTepoT haDony, a noToa nobNeueTe.
IobopTe r npBnTe Dba ueKOpn 3a cnTe dunTp.
3.Исчпстete Гфнгtpnte co cyнгep co Hea6pa3nBn DeTepeHTN NIN BO MaunHa 3a MneHbe caIOBn.

MaunHaTa 3a MneHe caOBOm Opa da 6nnde nocTaBeHa Hncka TempePaTpa n KpaTOK uNKlyc. NHTepOT 3a MaCHOTnM MoKe Da n3ry6oJa, Hema BnJaHne Bp3 nepOpMaHCnte Ha anapaTOT.
4.3a da rnt CTABNTe pntnTne Ha3a n3BpweTe rnpBNTe Dba yeKOpn o6paTeH peOcneI.
Iobopete ruekopnte 3a cnte qnntpn aKe moXHO.
6.3 3aMeHa Ha ΦnItepoT co jarJeH

PENEYNPENEYBAHBe!
Фиntepot 3a jarneH HE CMEE da ce Mne! Фиntepot He moKe da ce pereHepupa!
3a 3aMeHa Ha qnItepoT 3a jaJIneH:
1.ИЗbaДeTe rH ΦиПТрпTe 3a MaCHOTи OД anapatOT.
IorneHHe Bo, YnCTeHe Ha qntep 3a MaCHOTN BO OBA nOrnaBje.
2. Cbptete ro fntepot haneBO (1), a notoa nobneyeTe ro (2).

3a da r n CTabnte fuiTpnte Ha3a,
n3BpuTe r n Yekopnte BO obpaTeH peoocne.
Bo cekoj cnuyaj, noTppe6Ho e da rH 3aMeHnTe.
fHnTpnte Ha hajMaJkU yEtnpu Meceu.
6.4 3aMeHa Ha CBeTnIkaTa

PENEyPENEYBAHbE!
Pn3nk od noxap n ctpyeh yap! Ncknyche Te ro anapatot od ctpya nped pa60tata! PpOBepTe daJI cnJaniuata ce onaIina nped da ja donpeTe.
7. PEWSABAHBE HA ПОБЛЕМИ

PENEYNPENEYBAHBe!
BnTe BO norgabjata 3a 3aHTnta n cnrypHOCT.

PPEyPENEYBAHbE!
Pn3nk od noBpea! KopncTeTe 3aHTNTH paKaBnU 3a da ja 3ameHnte CBETnIkata.

OnachocT od owTeTyBaHe Ha anapatot! He KopncTeTe octpn anaTkn!
3aMeHete ja nperopehata cnjaNua 7TO ce 3anaIcnopeI cneuKauNTe:
Jaunna (Batu) 4
PnKnyok E14
HanoH(V)220-240
ДиMeH3m (mm) 37 x 100 (ДиJaMeTap x DOJxHa)
ILCOSD Ko( cnopeIIEC 61231)
DRBB/F-4-220-240-E14-37/100

3a da ja 3aMeHnte cnjaJIucaTa:
- Kanakot Ha lamnata mma DBe DynkHa cekoja ctpaHa. KopncTepe pameH HeocTap nactueh anat. HexHo 3BaTeTo KanakOT Ha lambaTa oAnapaTOT.
2.3aMeHeTe ja CBeTnIkaTa. - Ctabete ro kanakot Ha lam6ata.
7.1 WTo Da Ce HappaBn ako...
| ПюбLEM Можна ручна Peшениe | ||
| He можete заゴ akтувирате anapatot. | Anapatot He e NOBp3ан ha eNEKtpuHa Мржа яи e NOBp3ан HeprabuHNo. | Пювэрете дали anapatot e правлино NOBp3ан Ha eNEKtpuHnata Мржа. |
| He можete заゴ akтувирате anapatot. | OcNIGrpyBauch e nperepen. YBepete ce Deka ocNIGrpyBauch e PruNHaTa 3a HeNCnPaBnocTa. ДOKOLky ocNIGrpyBauch nperepyBa noctoJahO, KOHTaKtupajTe co KBaIINΦnKvBaH eNEKtpuHap. | |
| СBetилкata He paBOTи. СBetилкata e HeNCnPraBHa. 3amEnete ja sbetilkata. BVDete BO NOrIaBjeTo „Грижи и чИстен“. | ||
| Anapatot He ancopbupa доBoJHo napen. | БрзIHATA Ha MOTOPOT He e coODBeTHa Ha napente коя сe nojabybaat. | Пюмэне ja 6рзIHATA Ha MOTOPOT. |
8.ΓP涅KA 3A OKOJIINHATA
Peunknpajte rMaTePnjaJnte co cmm6oJOT
Ctabete ja am6aJaxata BO COOdBETN KOHTeJHepn 3a da ja peuKnpate. IOMorHeTe BO 3aHTiTata Ha JKNBTHaTa CpeINHa N OOBekOBTo 3dpaBje N peuknpajTe ro OTnadoT od eJeKtpnHn n EneKtpoHcN anapatn. He pPnajTe rN
anapatnte 03aHcHn CO Cm6oNt BO OTnaDOT OJ DOMaKInHCTBOTO. BpaTe ro npOn3BOJOT BO BaIINOT NOKaJIeH KanaUHTet 3a peuKInpAHe IIN KOHTaKTnpajTe ja BaWata ONTINHcKa KaHcJIapJa.
WIJ DENKEN AAN JOU
7. PROBLEEMOPLossing

WAARSCHUWING!
1. CBEDEHNO TEXHnke B3OpACHOCTN
Ipeed yctaHOBkoN n 3KcPnyataunei np6opBa BHMaTeNbHO O3HaKOMbTEcB C HactoJeuHnCTpyKUeN. N3rOToBNTeJIb He HecET OTBeTCTBeHHOCtB 3a TpaBMbl/yuep6, Bbl3BaHHbIe
HenpaBnIbHOJ yCTaHOBKOJ n 3KcPnyatauNei. O6aTeJIbHO XpaHnte daHHyU INCTpyKcNIO BMeCTe C npnbOpom dJa NCNoJIb3OBaHnRA B 6yDyUeM.
1.1 Be30napocObTb DeTei N IInC C OrgaHnueHHbIMN BO3MOxHOCTaMn
- 3TOT npi6op MOKET nCNOJb3OBaTbcra DeTbMn cTapwe BOCbMn IeT n JIuCaMn C OrpaHnueHHbIMN Qn3NuYeCKIMN, CEHCOPHbIMN IJIY UmCTBeHHbIMN CnOcO6HOCTaMn N C HeIOCTaTOUHbIM ONbITOM IJIY 3HaHHaMMN TOJbKO pRyUCOBHn HAXOJDeHnRA NOI PrNCMOrPOM JIua, OTBeuaIOoTeo 3a INX 6e3OpacHOCTb, IJIY IocJIe IOlyueHnRA COOTBcTCTByIOuzNX IHCTpyKzni, PO3BOJIAOzIX IM 6e3OpACHO 3KcIIyAtnpOBaTB n3dEJIne IN DaIOzIX IM PpeIcTaBLeHne o6 OnaChOCTn, CBa3aHHoN C eRO 3KcIIyatauJeN. DeTAM MnaDwe 8 Iet n JIuam C yapko BbIPaxKeHHbIMN IN KOMJIeKCHbIMN HApUSeHnA M N 3dOpOBbY 3aIpe7aEtCra HaxODNTbcra Pardom C npi6Opom 6e3 IOCTOAHHO rPncMOrPa.
- Дети должны находntься по писмотром дя He donnyшени ngp c npnbopom.
XpaHnte BCE ynapoBOUhble MaTePnaIbI BHe DoCraeMOCTn Detey n yTnIn3npyTe Ix NaJIeJkaUm 6pa3OM.
He npdnyckaite deteHn domaunx XNBOTbIX K npnbopy BO BpeMa erO pa60tbl.
OuNTka I DoCTyHoe NOIb3OBaTeJIIO TexHnueCKoe 6cnyKNaHne np6opa He DOJXHbIB BbINoJIHrTbcra DeTbMn 6e3 npncmOTpa.
BkIoueHne BbITaKKN,:
NpeBnHbTe nepeKIOuateIb cKOpocTn
BeHTnJIaTOPa Ha OJHO n3 NOnOKeHn
CKOpocTn.
BbITxKa hauhet pa6oTaTb. Ppi
Heo6XoIMOCtN n3MeHIne cKOpocTb,
peBnHyB nepeKIOuataIb.
i OcBeueHne BbITJxKn pa6Otae T He3aBnCnMo OT dpynx yHKn BbITJxKn. YTo6bl BKInouHTb BapOCHyIO NaHeJIb, KHOKNy
YTo6bI BbIKNoHTb npu6op,pepeBnHbTe nepeKNoHaTeNb CKOpOCTN DnRaTeJHa OTMeTky «0».
6. YXOD IN OUNCTKA
| Чinctая сред-ства | He是我国32年6月1日颁布的五年规划,旨在加强我国社会主义市场经济基础。它提出了一系列重要战略任务,包括以下内容: |
| He is the most important thing in China. It is important to have a strong economic基础. | |
| We are working hard to improve our business and market performance. We will work hard to make more profits and sales growth. | |
| We will work hard to improve our business and market performance. | |
| We will work hard to improve our business and market performance. | |
| We will work hard to improve our business and market performance. | |
| We will work hard to improve our business and market performance. | |
| We will work hard to improve our business and market performance. |

YrOJIbHbI ΦnJIbTp
BpemHaCbIeHnYrOlbHO rOpMbtpa BapbnpyETcB 3aBNCMOCtN OT BnDa npnroTOBHeHn I peryIpaHocTn OunchK JnpoynablnBaHooero FnbTpA. Nltpn3 akTNBpuBaHHoro yrr He RaBJeTc MOUImcR, He noDneKnt perEhepaun n Tpe6yeT 3aMeHbI npimepHo kackblie 4/6 MecaueB paobtbI nn Yaue B cnyae oco6o nHTeHCNBHO kCnIpyatau.
6.2 OuInCTka XInpoYnabNBAIOUeRoФиNbTpa
Фильстby ФнксриOTс рп пOMоци 3ацелOKишплесНа пOTиВОпОжHо CTopoHe.
OuncKa qnIbTpTa:
- Haxmte Ha pykortky fncnpyioe 3aueKn Ha nane nn npbtpa noB BbITXKOI.

-
Hemhoro HaKIOHnTe nepeHIOU qactb Hbtpa Bn3, a 3aTeM NotHnTe. NobTopHe nepBbIe Dba DeIcTBnC dpyrIMn HbTpamn.
-
OuHCTHTe 6nBtpbl r6koi C Hea6pa3NBbIM MOUcIM CpeICTBOM NJI BbIMoITe INB NOcydOMOeH0M aUNHe.
i
NocydomoeHna MaunHa DoJXHa 6bITb HactpoeHa Ha Hn3KOTemepaTyphyIO MOky N KOPOTKN UKN. XkpoyJaBnBaIOuMn FmIbTp MoKeT N3MeHHTb CBeT; 3TO He NOBnReT Ha npOn3BOIDNTeJIbHOCTb Pn6Opa.
4.ДЯ yctaHOBKnФиьТpoB Ha MecTo BbINONHte ONICAHHbIe BblIe DBa Wara B O6paTHOM NoprKe.
NoBTopnTe DaHHbIe ⅢaRn CO BcEMN ΦnIbTpamN,ecn3TO npIMHeHMO.
6.3 3aMeHa yroIbHoro qnIbTpTa

BHIMAHNE!
YrOJIbHbI ΦnIbTp HE rBnIeTcMoUoIIMc! FnIbTp He nOIIeXHTpeReHaepaun!
CyuectByet onaCHOCTb TpaBmbl! Jnna 3aMeHbl NaMnbl NcNoJIb3yIte 3aUHTbIe nepuATkn.

CyuectByeT pNCK NOBpeXdEHHn np6opa! He nCnoJb3yIte INHCTpyMeHTbIC OCTpbIMKpaAMN!
Pn 3ame He lambli nCnoB3yIte lamny, OTBeuaOuSyIO CNeDyUoUm CneUFOkaUaM:
MoUHoctb (Bt) 4
ГнэздОЕ14
Hapjkehe(B)220-240
Pa3mepbl (MM) 37 x 100 (dnaMeTp x dnnHa)
KoIILCOSD(BcoOTBeT- DRBB/F-4-220-240CTBnncIEC61231) E14-37/100

ДлЯЗамны ЛаMuNы:
1.ПафонлamnbI IMeET NO ODHOMy na3y c kaxdoi CTopoHbI.ИспоьзуITE nIOCKN IJIaCTIKOBII shaTeJIb 6e3 octpbIX KpaEB.OcToPOxHO CHIMITE ПАФОнлamNbI npn6opa.
2. 3aMeHnTe JAmny.
3.YcTaHOBnte nnaΦOH.
7. ПОИСК И YYSTPAHEHNE HENCПРABHOCTEД

BHIMAHNE!
CM. rnaBbl, copejkaune CbeeHnno texhne 6e3oNaCHOCTn.
7.1 YuTo deNaTb, ecn...
HencnpabHocTb Bo3MoxnHa npuHa PeweHne
MaTePnAblc CmBOnom eNe dyet cDaBaTb Ha nepepa60Ky. NoJoxnte
yNaKOBky B COOTBETCTByIOUne KOHTeHepbI dna c6opa BTOpUHoro cbIpBa. PpHmMa
yuaTne B nepepa6oTke cTaporo 3NeKtpo6bIToBOrO o6OpydoBaHnA, Bbl NOMaTe 3aUnTtB OkpykaHou CpeDy n 3dopOBbe yenobeka. He BbIbpaCbIbaNte BMeCTe C 6bITOBbIMN OTXoJamN 6bITOByTOxHnky, NOMEueHHyIO CNMBOJOM
PpIbOp cJeDyEt DOCTaBnTb B MeCTO pa3dJIbHOro HAKONJIeHnI n C6opa OTXODOB NOTpe6JIeHnI INN B NYNKT C6opa IcNoJIb3OBAHHo 6bITOBoi TexHnKn dJa IocJIeDuOuSei yTuIN3aCnn.
NAVRHNUTÉ PRE VÁS
KOPINCHNUYKA NOIDPIJKA IN CEPBNC
YBeK KopnCTte opnHaJIne pe3epBHe JeIOBE.
Kaanda KonhtaKtupate ObnaWheHn cepBnCHn ceHTap, BoNTe paUHa da KOD c6e HMaTe cIeDeHe noDatke: MoDen, 6poj npOn3BoDa, cepNJcKn 6poj.
IopauMory da ce npohhy Ha nnouyn ca TexnHcKm KapaKTepncTKkama.
Uno3opehe/onpe3- nHΦopMaunje o 6e36eHocTn
① OnuTe HOpMaunje n cabetn
HOpMaunjeOJNBOHTHOJ CpeINH
3aDpxaHo npaBO n3MeHa.
CAДРЖAJ
- INHOPMALIJE O B6E3BEdHOCTN 226
- YIyTCTBA O B6E3BEOHOCTN 229
- INHCTAIIAUJIA 230
- ONIC PPOU3BOIDA 231
5.CBAKOJHEBHA YIOTPEBA. 231 - HEGA N U N W T E H B E 232
7.PeIABAHe IPOBJIEMA. 233 - EKOLOWKA PINTAHBA 234
1. HOPMAUJJE OBE3BEOHOCTN
Ipe nHcTalaunje n Kopnshheha ypehaja, naKbNBO npouHTajTe npINOxKeHO uNytCTBO. Ipon3Bohau Hnje odroBopan 3a 6nlo KaKBe NOBpeDe nll stety Koje cy pe3yIITat HeNCnpabHe nHcTalaunje nll ynoTpeBe. CyBaJTe
ynytCTBO 3a ynoTpe6y Ha 6e36eHOM I npNCTyNaHOM MeCTy 3a 6dyne Kopnshene.
1.1 Be36eHocT deue n ocetJBnBnx oc06a
Obaj ypehaj mory da kopncte deca stapna od 8 roDnHa n ocObe ca cMaHBeHIM qn3nukm, yUHNm nIIM MeHTaHIM cnOCo6HoCTnMa, kao ocObe kojma HeIOCTajy NCKyCTBO n 3HaJbe, yKoJIko nM ce obe36eDi Ha3Op nIIM Ce dajy uNytCTBa y Be3n ca yNoTpebom ypehaja Ha 6e36eDaH Naun H yKOJIko CXBaTajy moryhe onaChoctn. Deuy mlaHa oD 8 roDnHa, kao n ocObe ca Beoma TeWKIM n CLOXeHm INHBaJINDITetOM, Tpe6a dpxatn daJIbe od ypehaja, OcIm aKO cy noi CTaJIHIM HaD3OpOM.
- Д ecу Tpe6a KoHTpOlncAtn KaKo ce He 6n nIrpana ca ypehajem.
- ДожиTe cBy ambaJaxy daJIbe od Deue n OndnojTe je ha odroBapajyHn HaunH.
- Deu n Kyhne lybimnce dpxnte noaJIbe od ypehaja da Ka paI.
- Deça He cmejy da obaBbajy yniShneHbe n KOpncnUko odpxkabHe ypehaja 6e3 HaD3opa.
1.2 Onstemepe 6e36eHoctn
Obaj ypehaj je hamehen 3a kyhny ynoTpeby n3naI pNoa 3a KyBaHbe, npopeTa i cnuHnx ypehaja 3a KyBaHbe.
Obaj ypehaj je Hamehen 3a ynoTpeby y jeHOM domaHnCTBy y 3aTBOpeHm npocToPIma.
- Ypehaj ce moke kopnCTHTy KaHcJIapnJaMa, XOTeJCKM c6aMa, MOTEJIMa, NaHCNOHMa, CEOCKM TpynCTNkM DOMaHNCTBIma n CInuHm ObjKTIma 3a CMeUThaj rIe yNoTpe6a He 6n npEBA3nla3nla (npoceuH) HnBO NOTPOShBe NO DomaHNCTBy.
- Пр чишени в оджаваь, Искльчітіе урійaj n3 Hanajaьа.
- ONPE3: Доступни.Deюви могу посту врел.TOKOM ynotpebe ca урегajima 3a Кубе.
KopnCTnte cmo 3aBpTHe 3a npuBpuHnBaHne Koje cTe doBn y3 ypehaj, a aKO HnCy nCnpuyehn, KopnCTnte 3aBPTBe npenOpyuhe y unyTCTBy 3a INHCTaJaunjy. MoHTnpajTe ypehaj Ha cnrgpHo n npNKpaIaNHO MeCTo Koje nCnyHaba 3axTeBe 3a MOHTaJy.
-УПОЗОРЕ: Ако He поста впге за впге плн He
ФИКСИРATE урегaj y скаду са OBиM уптCTВИМа, може
Дондо onасноctи od CTpyjHOr уdapa.
- HemojTe KOpNCTHTIJIeNKOBe 3aФИKcHpaJIbe ypeJaja.
MnHmHa ydaJIbeHoCT n3MeHy NOBpUInHe pIoue 3a KyBaIbe Ha KoJoJ ce Hana3e NocUde N DoHer DeJa ypeJaja Mopa 6HTN HajMaIbe 65 cm, OcIM aKO HNe DpyraUnje HabedeHO y uNTCTBy 3a INHCTaJauJy ypeJaja IIN pIoue 3a KyBaIbe.
- Исpenштабе ВаЗдухамора БИТи y ckладу ca npОпсима Лokалнх Вlaactи.
- Obes3beDnte do6py BeHTnlaunjy y npocstopnju y kojoj jeypehaj nHcTalnpan kako 6ncTe n36erIa da ce y npocstopny Bpate n3dyBn racOBn dpynx yehaja HactaIIx caOpeBaBeM HeKnx dpynx BpCTa TropBa, ykbuyjhyn i caropeBaHe OTbOpEHm PnaMeHom.
- Пocтapajte ce Да BeHTnlaциоHи OTBOPи He 6ydy 6IoknapHи Ида ce Ba3dUx KoJn caKynJa obaj ypehaj He npeHocn y KaHaI KoJn ce KopnCTn 3a nCnyuSTaHbe dIma n nape n3 dpyrnx ypehaja (cncTeMn ueHTpaJHor rpejaHb a, TepmocnfoHn, 6oJnepn, nTd.).
- Kad obaj ypehaj paDN C dpyrHM ypehajnMa, MaKcIMaJIHn BAKyyM KoJN Ce CTbapa y npocstopnJn He 6n TpeBaNo da npehe 0,04 mbar.
Bodnte paulyha da He owTeTnte ka6I 3a HanajaHe. O6patnte ce haem OBnaawheHom cepBnCHOM cHTpy nIeKtpnayp a4n 3ameHe owTeHcHor ka6la 3a HanajaHe.
Ako je ypehaj npNKbuyeH dIpeKTHo Ha eIeKtpuHo Hanajahe, eIeKtpuHa nHcTaJauJa Mopa 6ntn OnpemJbeHa n3OlaaOnHm ypehajem KoJn omOryhaBa NCKJbuyBaHe ypehaja n3 eIeKtpuHne MpeXe Ha CBUM
IIOJOBIMa. IOTnyHO NCKbUyeHe Mopa 6nTu y cKnaDy ca ycIOBIMa HabeJeHm 3a npehanoHcKy KaTeOpnju III. MexaHn3am NCKbUyeHa Tpe6a Da 6yde ygpaJen y qNKChy eJIeKTPnHy MPexKy y cKnaDy C npabNIma O eJIeKTPnHm MpexKaMa.
- Hemojte pfam6npatn ncpoJypehaja.
- HemojTe KOpNCTnTn 3a nCnyuTaHbe ONaChnx nIeKcPINO3NBHX MaTepnjaIa I nCnpapeHa.
- PeioBHO uHCTnte ypehaj MeKOM TKaHHOM KaKO 6nCTe cnpeuJI npOpaIaHe NOBpUHcKOr MaTePnJaIa.
- HemojTe KopnCTiTn napoNcTaU,BoDeHn cnpej,OwTpa abpa3nBHa cpeiCTBa 3a YniShHe IIn OwTpe MeTaJIHe ctpyraue 3a YniShHe NOBpShHe ypeJaja.KopnCTIte NCKbYuNBO HeyTpalne DeTepeHTe.
- PeioBHO uHCTHTe qnItepe 3a macHohe (6apem Ha cBaKa 2 Mececa) n yKIOHITe MacHe HacIare n3 ypejaja kaKo 6nCTe cnpeuJn pN3NK od noJkapa.
3a yniushene yHytpaunboctn ypejaja Kopnctnte Kpny.
2.УNTCTBA OBE3BEOHOCTN
2.1 MoHTaKa

YNO3OPEHe!
Ioctoj np3nk od ctpyjHor ydapa, noxapa, onekOTnHa nIn oWteheba ypehaja.
- Camo KBaJIHΦNKOBaHa ocOba MoKe da HCTaJInpa OBaj ypehaj.
- HemojTe da nHctaInpate nn KOpNCtnte oWtehenypehaj.
- Пидржавajte ce ynytctaba 3a монтуралье koje cte doбилуз уз уpe Haj.
- YBek BoDInTe paUHa npiJnKOM
nomepaHa ypehaja 3aTo uTo je TeXaK.
YBek KOpNCHTe 3aUHTHe pyKaBnCe n
3aTBopeHy o6yhy.
-Пре Инстациje ypeйaja, уклонITE komпету amбалaxy, habелнице и заштуну Фол尼j.
He nHCTaInpajTe OJBOID n3dyBHor Ba3dUxa y 3nDHy wynbiny,OCIM aKO je WynbHa npojeKToBaHa y Ty CBpxy.
ELECTROLUX APPLIANCES AB
BUSINESS SECTOR EMA-EMEA (SEE)
ST GÖRANSGATAN 143
SE-105 45 STOCKHOLM
SWEDEN
TEL: +46 (8) 738 60 00
FAX: +46 (8) 738 63 35
www.electrolux.com
Ithalatci:Electrolux Dayanikli Tuketim Mamulleri San. ve Tic. AS.
TR-34435 Taksim-Beyoglu-Istanbul
Müsteri Hizmetleri: 0 850 250 35 89
musteri_hizmetleri@electrolux.com
WEB: www.electrolux.com.tr
ΦiNbTpN BCTaHOBNeHO 3 BNKOpNCtAHHЯ M 3aTnCKaYIB i WNTnΦTiB Ha npOTnJIeXHi CTopoHI.
Uo6 ouhctnTn fIbTp,BNKoHaTe HabeDeHi HxKYe iI.
- HatnchItb pyky 3aTnckaya kpinneHna naHeJI φinbTp a niD BnTAAKOIO.

- 3nerka haxnilitb nepeHIO qactHy fInbTpbaBn3,NOTIM NOTARHITb.
Iobtopitb nepwi Dba KpOKn dna BCix fInbTpib.
3.OuNCTIbΦINbTpN r6koIO 3 Hea6pa3NBHMn MmHMM 3ac06amn a6o BmMnte B nocydomnHi MaunHi.
i
Дя NOcydOMnHOI MaunHnNotpi6Ho BCTaHOBHTN H3bky TempepaTyu KopoTkn UkKn MmTT. XkpOBuФiNbTp MOKe 3He6apBNTncA, 10 He BnNBaE Ha eΦeKTHBhICTb po6Otn npnnaDy.
J 1
J 1
J 1
J 1
J 1
J 1
J 1
J 1
J 1
J 1
J 1
J 1
J 1
J 1
J 1
J 1
J 1
J 1
J 1
J 1
J 1
J 1
J 1
J 1
J 1
J 1
| العربية الحرفية 6.2 |
| العربية الحرفية 6.3 |
| العربية الحرفية 6.4 |
| العربية الحرفية 6.5 |
| العربية الحرفية 6.6 |
| العربية الحرفية 6.7 |
| العربية الحرفية 6.8 |
| العربية الح註冊 6.9 |
| العربية الح註冊 6.10 |
| العربية الح註冊 6.11 |
| العربية الح註冊 6.12 |
| العربية الح註冊 6.13 |
| العربية الح註冊 6.14 |
| العربية الح註冊 6.15 |
| العربية الح註冊 6.16 |
| العربية الح註冊 6.17 |
| العربية الح註冊 6.18 |
| العربية الح註冊 6.19 |
| العربية الح註冊 6.20 |
| العربية الح註冊 6.21 |
| العربية الح註冊 6.22 |
| العربية الح註冊 6.23 |
| العربية الح註冊 6.24 |
| العربية الح註冊 6.25 |
| العربية الح註冊 6.26 |
| العربية الح註冊 6.27 |
| العربية الح註冊 6.28 |
| العربية الح註冊 6.29 |
| العربية الح註冊 6.30 |
| العربية الح註冊 6.31 |
| العربية الح註冊 6.32 |
| العربية الح註冊 6.33 |
| العربية الح註冊 6.34 |
| العربية الح註冊 6.35 |
| العربية الح註冊 6.36 |
| العربية الح註冊 6.37 |
| العربية الح註冊 6.38 |
| العربية الح註冊 6.39 |
| العربية الح註冊 6.40 |
| العربية الح註冊 6.41 |
| العربية الح註冊 6.42 |
| العربية الح註冊 6.43 |
| العربية الح註冊 6.44 |
| العربية الح註冊 6.45 |
| العربية الح註冊 6.46 |
| العربية الح註冊 6.47 |
| العربية الح註冊 6.48 |
| العربية الح註冊 6.49 |
| العربية الح註冊 6.50 |
| العربية الح註冊 6.51 |
| العربية الح註冊 6.52 |
| العربية الح註冊 6.53 |
| العربية الح註冊 6.54 |
| العربية الح註冊 6.55 |
| العربية الح註冊 6.56 |
| العربية الح註冊 6.57 |
| العربية الح註冊 6.58 |
| العربية الح註冊 6.59 |
| العربية الح註冊 6.60 |
| العربية الح註冊 6.61 |
| العربية الح註冊 6.62 |
| العربية الح註冊 6.63 |
| العربية الح註冊 6.64 |
| العربية الح註冊 6.65 |
| العربية الح註冊 6.66 |
| العربية الح註冊 6.67 |
| العربية الح註冊 6.68 |
| العربية الح註冊 6.69 |
| العربية الح註冊 6.70 |
| العربية الح註冊 6.71 |
| العربية الح註冊 6.72 |
| العربية الح註冊 6.73 |
| العربية الح註冊 6.74 |
| العربية الح註冊 6.75 |
| العربية الح註冊 6.76 |
| العربية الح註冊 6.77 |
| العربية الح註冊 6.78 |
| العربية الح註冊 6.79 |
| العربية الح註冊 6.80 |
| العربية الح註冊 6.81 |
| العربية الح註冊 6.82 |
| العربية الح註冊 6.83 |
| العربية الح註冊 6.84 |
| العربية الح註冊 6.85 |
| العربية الح註冊 6.86 |
| العربية الح註冊 6.87 |
| العربية الح註冊 6.88 |
| العربية الح註冊 6.89 |
| العربية الح註冊 6.90 |
| العربية الح註冊 6.91 |
| العربية الح註冊 6.92 |
| العربية الح註冊 6.93 |
| العربية الح註冊 6.94 |
| العربية الح註冊 6.95 |
| العربية الح註冊 6.96 |
| العربية الح註冊 6.97 |
| العربية الح註冊 6.98 |
| العربية الح註冊 6.99 |
| العربية الح註冊 7.00 |
| العربية الح註冊 7.01 |
| العربية الح註冊 7.02 |
| العربية الح註冊 7.03 |
| العربية الح註冊 7.04 |
| العربية الح註冊 7.05 |
| العربية الح註冊 7.06 |
| العربية الح註冊 7.07 |
| العربية الح註冊 7.08 |
| العربية الح註冊 7.09 |
| العربية الح註冊 7.10 |
| العربية الح註冊 7.11 |
| العربية الح註冊 7.12 |
| العربية الح註冊 7.13 |
| العربية الح註冊 7.14 |
| العربية الح註冊 7.15 |
| العربية الح註冊 7.16 |
| العربية الح註冊 7.17 |
| العربية الح註冊 7.18 |
| العربية الح註冊 7.19 |
| العربية الح註冊 7.20 |
| العربية الح註冊 7.21 |
| العربية الح註冊 7.22 |
| العربية الح註冊 7.23 |
| العربية الح註冊 7.24 |
| العربية الح註冊 7.25 |
| العربية الح註冊 7.26 |
| العربية الح註冊 7.27 |
| العربية الح註冊 7.28 |
| العربية الح註冊 7.29 |
| العربية الح註冊 7.30 |
| العربية الح註冊 7.31 |
| العربية الح註冊 7.32 |
| العربية الح註冊 7.33 |
| العربية الح註冊 7.34 |
| العربية الح註冊 7.35 |
| العربية الح註冊 7.36 |
| العربية الح註冊 7.37 |
| العربية الح註冊 7.38 |
| العربية الح註冊 7.39 |
| العربية الح註冊 7.40 |
| العربية الح註冊 7.41 |
| العربية الح註冊 7.42 |
| العربية الح註冊 7.43 |
| العربية الح註冊 7.44 |
| العربية الح註冊 7.45 |
| العربية الح註冊 7.46 |
| العربية الح註冊 7.47 |
| العربية الح註冊 7.48 |
| العربية الح註冊 7.49 |
| العربية الح註冊 7.50 |
| العربية الح註冊 7.51 |
| العربية الح註冊 7.52 |
| العربية الح註冊 7.53 |
| العربية الح註冊 7.54 |
| العربية الح註冊 7.55 |
| العربية الح註冊 7.56 |
| العربية الح註冊 7.57 |
| العربية الح註冊 7.58 |
| العربية الح註冊 7.59 |
| العربية الح註冊 7.60 |
| العربية الح註冊 7.61 |
| العربية الح註冊 7.62 |
| العربية الح註冊 7.63 |
| العربية الح註冊 7.64 |
| العربية الح註冊 7.65 |
| العربية الح註冊 7.66 |
| العربية الح註冊 7.67 |
| العربية الح註冊 7.68 |
| العربية الح註冊 7.69 |
| العربية الح註冊 7.70 |
| العربية الح註冊 7.71 |
| العربية الح註冊 7.72 |
| العربية الح註冊 7.73 |
| العربية الح註冊 7.74 |
| العربية الح註冊 7.75 |
| العربية الح註冊 7.76 |
| العربية الح註冊 7.77 |
| العربية الح註冊 7.78 |
| العربية الح註冊 7.79 |
| العربية الح註冊 7.80 |
| العربية الح註冊 7.81 |
| العربية الح註冊 7.82 |
| العربية الح註冊 7.83 |
| العربية الح註冊 7.84 |
| العربية الح註冊 7.85 |
| العربية الح註冊 7.86 |
| العربية الح註冊 7.87 |
| العربية الح註冊 7.88 |
| العربية الح註冊 7.89 |
| العربية الح註冊 7.90 |
| العربية الح註冊 7.91 |
| العربية الح註冊 7.92 |
| العربية الح註冊 7.93 |
| العربية الح註冊 7.94 |
| العربية الح註冊 7.95 |
| العربية الح註冊 7.96 |
| العربية الح註冊 7.97 |
| العربية الح註冊 7.98 |
| العربية الح註冊 7.99 |
| العربية الح註冊 8.00 |


4.1
gglgagallj g jgeJlS Jg 1gllgglglllllglg 1gglgglgglgglgglgglgglgglgglgglgglgglgglgglgglgglgglgglgglgglgglgglgglgglgglgglgglgglgglgglgglgglgglgglgglgglgglgglgglgglgglgglgglgglgglgglgglgglgglgglg
JJI 2.2
y
aJoo JooJooJooJoo
2.1
auiuueo ooggl aU U uull 1jgllgl ggljg
Jggo yI jgeJIi IIO CG ggyy Jy B . aolzswgl alljgeBg y . jgeJg oO OJgBcRgJgEg i . pssw.ajg JeJgJgJgJgJgJgJgJgJgJgJgJgJgJgJgJgJgJgJgJgJgJgJgJgJgJgJgJgJgJgJgJgJgJgJgJgJgJgJgJgJgJgJgJgJgJgJgJgJgJgJ
scll lI g Jb1 1.1
laagw 8 nn no Jlalbll aJgJlal Idoa Jsw Jn
aJgJlal dJyIaJyIaJyJyJyJyJyJyJyJyJyJyJyJyJyJyJyJyJyJyJyJyJyJyJyJyJyJyJyJyJyJyJyJyJyJyJyJyJyJyJyJyJyJyJyJyJyJyJyJyJyJyJ y J
.
.
.
.
.
.
.
.
.
.
.
.
.
.
.
.
.
.
.
.
.
.
.
aolJI aOJU1 1.2
aIgJzIyI yIyI I 1. aIyI yIyI yIyI yIyI yIyI yIyI yIyI yIyI yIyI yIyI yIyI yIyI yIyI yIyI yIyI yIyI yIyI yIyI yIyI yIyI yIyI yIyI yIyI yIyI yIyI yIyI
. 111111111111111111111111111111111111111111111111111111111111 000000000000000000000000000000000000000000000000000000000000000000000000000000000
J>ll klll g o 1g cia aiaa aai jge > dal .sglgjckll jge > sllksw
il dkay aodw g g l J. aclg acj prnssg g f il aaaas xic jiey f liqogd
.0r J5 jf jf jf jf jf jf jf jf jf jf jf jf jf jf jf jf jf jf jf jf jf jf jf jf jf jf jf jf jf jf jf jf jf jf jf jf jf jf jf jf jf jf jf jf jf jf jf jf jf jf j
ManualGo.com