LFG335S - Mutfak davlumbazı ELECTROLUX - Ücretsiz kullanım kılavuzu
Cihazın kılavuzunu ücretsiz bulun LFG335S ELECTROLUX PDF formatında.
Cihazınız için talimatları indirin Mutfak davlumbazı PDF formatında ücretsiz! Kılavuzunuzu bulun LFG335S - ELECTROLUX ve elektronik cihazınızı yeniden ele alın. Bu sayfada cihazınızın kullanımı için gerekli tüm belgeler yayınlanmaktadır. LFG335S markasının ELECTROLUX.
KULLANIM KILAVUZU LFG335S ELECTROLUX
Bir Electrolux cihazi satin aldiginiz icin teşekür ederiz. Beraberinde onlarca yllik mesleki deneyim ve yenilik getiren bir urün seçtiniz. Sizi duşunerek tasarlanan yaratı ve Şık urününüz hizmetinizdeder. Bu nedenle, her seferinde;cok iyi sonuçlar elde edeceginizi bilerek onu her kullandiginizda güvende olabilirsiniz.
Electrolux'e hos geldiniz.
Asağidakiler ilen web sitemizi ziyaret edin:

Kullanim onerileri, brosürler, sorun giderme bilgileri, servis ve onarim bilgileri: www.electrolux.com/support

Daha iyi servis almak icin urununuzun kaydini yapin: www.registerelectrolux.com

Cihaziniz icin Aksesuarlar, Sarf Malzemeleri ve Orijnal yedek parçalar satin alin: www.electrolux.com/shop
MÜSTERİ HIZMETLERİ
Daima orijinal yedek parçalar kullanin.
Yetkili Servis Merkezimizle görtusmeniz sirasinda aşagidaki verileri elinizin altinda bulundurun: Model, PNC, Seri Numarası.
Bu bilgiler, bilgi etiketinde bulunabilitir.
Uyar / Dikkat-Guvenlik bilgileri
i Genel bilgiler ve ipuçları
Cevre ile ilgili bilgiler
Önceden haber verilmeksizin degişiklik yapma hakki sak;lir.
ICINDEKILER
1.GUVENLIK BILGILERI 243
2.GUVENLIK TALIMATLARI 246
3.MONTAJ. 247
4. URUN TANIMI 247
5.GUNLUK KULLANIM 248
6.BAKIM VE TEMIZLIK 248
7.SORUN GIDERME. 250
8. TUKETICININ SEÇİMLİK HAKLARI 250
9. CEVREYLE ILGILI BILGILER 251
1. AGUVENLIK BILGILERI
Cihazın montaj ve kullanımindo nce, verilen talimatlari dikkatlice okuyun. Üretici, yanlış kurulum veya kullanımdan kaynaklanan yaralanma ya da hasarlardan sorumlu degildir.
Talimatlari, ileride kullanabilmeniz icin her zaman güvenli ve kolay ULAŞilabilitir bir yerde tutun.
1.1 Çocukların ve teh都喜欢yekışilerin güvenligi
- Bu cihaz, gozetimALTHinda bulunmaları veya cihazıngüvenlşekilde kullanimi ve olusabilecek tehlikeler hakinda bilgi verilmesi kaydiryla 8 yaş ve üzeri;cocuklar ile fiziksel,duyusal veya zihinsel kapasitesithusuk ya da bilgi ve deneyimi olmayan kisiler tarafindan kullanilabilir.8 yaşindan kucuk;cocuklar ve ilerithusey zihinsel ile fiziksel engellere sahip kisiler gozetimALTHinda bulunmadiklari muddetçebu uruntek basina kullanmamalidir.
- Cihazla oynamamalarinı-SAğlamak icin;cocuklarin gozetim altinda bulundurulması gerekmektedir.
- Tüm ambalajlari Çocuklardan uzak tutun ve uygün sekildeBERTaraf edin.
- Cihaz calisirken;cocukları ve hayvanlari cihazdan uzak tutun.
- Temizlik ve kullanı tarafindan.Sinceleşirilenbakimislemleri,gözirim altinda olmadiklari,surece;cocuklar tarafindan.Sinceleşirilmemelidir.
1.2 Genel Güvenlik
- Bu cihaz oçak, fırın ve benzer pişirme cihazlarınin üzerinde ev;iç kullanım,—çın tasarlanmistr.
- Bu cihaz tek bir evde kapalı bir ortamda ev)iç kullanım icin tasarlanmistr.
- Bu cihaz; ofislerde, otel misafir odalarinda, oda-kahvalti misafir odalarinda, Çiftlik konukevlerinde ve bu Tür kullanın (ortalama) ev;iç kullanım seviyelerini aşmadıdliger benzer konaklama yerlerinde kullanilabilir.
Herhangi bir bakim yurutmeden once cihaz fisini prisden cekin. -
DİKKAT: Erişilebilirkısmilar, pişirme cihazlarınin kullanı esnasindo sicodek olabilir.
-
Yalnizca cihazla verilen sabitleme vidalarinı kullanın, aksi halde kurulum talimatlarindo onerilen vidaları kullanın. Cihazi, kurulum gereklilikerini karşilayan güvenlı ve uygün bir yere yerleştinir.
- UYARI: Vidalarin veya sabitleme tertibatinin, bu talimatlara gore takilmaması, elektrik tehlikelerine neden olabilir.
- Cihazi sabitlemek ilen yapistircilar kullanmayin.
- Cihaz veya ocağın kurulum talimatlarinda aksi belirtilmedikçe, tavaların durduğu ocak yüzeyi ve cihazın alt tarafaarasindaki minimum mesafe en az 65 cm olmalidir.
- Hava tahliyesi yerel makamlarin yönetmeliklerine uygun olmalidir.
- Cihazdan Çikan gazların odada bulunan dheyakıtlari atesleme veya azık alevle etkileşime girme risikoz konusu olabileceğinden, montajın yapildigi odanın yeterince havalandirildigindan emin olun.
- Havalandirma deliklerinin açık Olduğundan ve cihaz tarafindan toplanan havanın dioer cihazlardan (merkezi isitma sistemleri, termosifon, su,isiticiları, vb.) duman ve buharçikarmak ilen kullanıan bir kanala aktarilmadından emin olun.
- Cihaz dhecihazlarla calistiginda, odada olusan maksimumvakum0,04mbar'iasmamalidir.
- Elektrik kablosuna zarar vermemeye özen gosterin. Hasanl bir elektrik kablosunu degişirmek,—çın Yetkili Servis Merkezimize ya da bir elektrikçiye BAŞvurun.
- Cihaz.Doğrudan Güç kaynagua na baglantirsa, elektrik tesisatı:tüm kutuplarda cihazın elektrik böglantınsı kesen bir izolasyon cihazı ile donatilmış olmalidır. Baglantıytamamen kesme,islemi,asiri gerilim kategorisinde IIIbelirtilen kosullara uygun olmalidır.Bagliantıyıkesme araci, kablolama kurallarına uygun olarak sabit kabolarlabirleştilmeleridir.
Cihazin alto alevde urunler pisirmeyin. -
Tehlikeli veya patlayi maddeleri ve buharlari boşaltmak,—çın kullanmayın.
-
Yüzey malzesinin bozulmasını onlemekkınci cihazı nemli bir bezle duzenli olarak temizleyin.
- Cihazın yüzeyini temizlemek,—bin bir buhar temizleyici, su spreyi, sert,assistant Temizleyiciler veya keskin metal kazi icilar kullanmayin. Sadece notr deterjanlar kullanin.
- Yaq滤trelerini duzenli olarak temizleyin (en az her iki aya bir) ve yangin riskini onlemek icin cihazdaki yaq kalintilarini temizleyin.
- Cihazın ic kismimi temizlemek icin bez kullanın.
2. GÜVENLIK TALİMATLARI
2.1 Montaj

UYARI!
Yaralanma, elektrik carpması, yangın, yanma veya cihazın zarar görme riski yüz konusudur.
Cihazin montaji yalnizca kalifiye bir kişi tarafindan yapilmalidir.
- Hasarli bir cihazi monte etmeyin ya da kullanmayin.
- Cihazla birlikte verilen montaj talimatlari nı takip edin.
Cihazi hareket ettirdiginizde dikkatli olun, cihaz aigirdir. Her zaman koruyucu eldiven ve koruyuculu ayakkabikullanin.
Cihazin kurulumunu yapmadan once tum paket, etiket ve koruyucu filmi cikarin.
- Hava Çişini bir duvar boşluguna baglamayin (boşluk bu amaç icin tasarlanmadikça).
2.2 Elektrik böglantı

UYARI!
Yangin ve elektrik carpmasi riski.
- Tüm elektrik böglantilari kalifiye bir elektrik teknisyeni tarafindan yapilmalidir.
Anma degeri plakasindaki parametrelerinin ana guc kaynaginin elektrik gucune uygun oldugundan emin olun. - Sembol () gi etiketinde yazil degilse, cihaz topraklanmaldir.
Daima dizgün takilmı, elektrik carpmasina karı korumalbir priz kullaniniz.
- Elektrik böglantilarin din dolanmasini onleyin.
- Priz cogalticilarin ve uzatma kabolarin kullanmayin.
- Priz gezemisse fişi takmayin.
- Cihazin fisini prizden cikarmak icin elektrik kablosunu cekmeyin. Her zaman fiisten tutarak cekin.
- Akim taşiyan ve izole edilmiş parçalarin darbe koruması araç kullanilmaksınçikarilamayacad sekilde takilmalidir.
Cihazin montajinin dokru yapildigindan emin olun. Gevsek ve uygun olmayan elektrik kablosu, terminalin cok fazla isinmasina neden olabilir.
- Kurulumun sonunda cihazi baglayin. Kurulumdan sonra ana kaboya erisilebildiginden emin olun.
2.3 Kullanin

UYARI!
Yaralanma, yanma ya da elektrik carpmasi riski vardir.
- Bu cihaz sadece pisirme amaçlıdir. Cihaziinsula bir amaçla kullanmayın.
Cihazin teknik ozelliklerini kesinlikle degistirmeyin.
Cihazi Islak ellere veya cihaz suyla temas ettiiginde calistirmayin. -
Yalnizca cihazla birlikte verilen aksesuarlari kullanin.
-
Pişirme veya kizartma ilemleri esnasindo açık alevi ya da isinmiș nesneleri yağlardan uzak tutun.
- Üst ], elektrikl i zgaralar kullanmayin.
Cihazinizi bir eşya koyma masasi gibi kullanmayin. - Cihazin aydinlatmasina dokrudan bakmak,—cin—butüteç,)—dürbün veya benzer optik cihazlar kullanmayın.
Cihaz diger cihazlarla calisirsa, gelsem maksimum basinc 4 Pa'yi (4x10-5 bar) asmamalidir.
2.4 Servis
Cihazi onarmak icin yetkili bir Servis Merkezine basvurun. Sadece original yedek parçalar kullanin.
- Bu ürünün icindeki lamba(lar) ve ayrisatlan yedek parca lambalar ile ilgiliolarak: Bu lambalarin sicutlik, titresim,
nem gibi ev aleterindeki asiri fiziksel kosullara dayanmasi ya da cihazin calisma durumu hakinda bilgi vermesi amaclarmistir. Diger uygulamalarda kullanilmak uzere tasarlanmamlardir ve ev odasi aydinlatmasi icin uygun degillerdir.
2.5 Elden Çi Karma

UYARI!
Yaralanma ya da bogulma riski.
- Cihazın)nasil eldençikarilacagihakkinda bilgi almak icin yerel kurumlara iletişimeGPCIN.
Cihazin fisini prisden cekin.
Cihazi yakin ana elektrik kablosunun baglantisini kesin ve atin.
3. MONTAJ

UYARI!
Güvenlik böllumerine bakin.
3.1 Montaj talimatlari

Cihazin kurulumu ile ilgili bilgiler icin ayri bir kurulum kilavuzuna bakin.
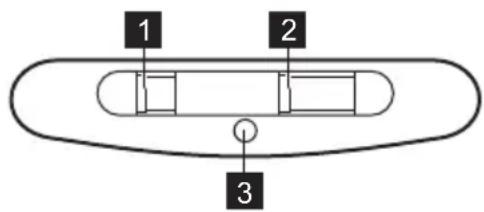
4. ÜRÜN TANIMI
4.1 Kontrol paneline genel bakis

Fonksiyon Açıklama
1 Isik anahtari Isiig acmak ve kapamak icin.
2 Fan hiz anahtari Fan hizlariarasinda geis yapmak icin.
3 Gösterge Davlumbazin calisip calismadiğin i gosterir.
5. GÜNLÜK KULLANIM
5.1 Davlumbazi kullanma
Önerilen Higginsaşagidaki tabloya gore kontrl edin.
| 1 | Yiyecekleri,isirkenkapalittencerelelepişirken. |
| 2 | Birden fazla pișirme bõlgesinde veya brülörde kapali kaplarda pișirmeislemi yaparken,hafîçê kî-zartirken. |
| 3 | Kaynatma ve bol miktarda yiyeceği kapaksiz kizartma, birden fazla pișirme bõlgesinde veya ocakta pișirmeislemi yaparken. |
Pisirme ilemi sonrasi davlumbazin yaklaik 15 dakika kadar calismaya devam etmesi onerilir.
davlumbazi calistirmak icin:
Fan hizi Düğmesini hiz seviyelerinden birine getirin.
Davlumbaz calismayaistar. Gerekirse, dugmeyi kullanarak hizi degistirin.
i Davlumbaz lambari diger davlumbaz ozelliklerinden bagimsiz olarak calisir. Pi sirme yuzeyini aydinlatmak icin isik anahtarini kullanin
Cihazi kapatmak icin fan hiz duğmesini 0 konumuna getirin.
6. BAKIM VE TEMIZLIK
6.1 Temizleme ile ilgili notlar
| Temizlik Maddeleri | Asındırkı deterjan ve:fıçalar kullanmayın. Cihazın:yüzeyini yumuşak bir bez ve deterjanlı sicalsk su ile temizleyin. |
| Pişirmeden sonra cihazın bazı böllumleri sicalsk kalmış olabilir. Cihazın üzerinde leke kal-maması icin, cihaz soğutularak temizbir bez veya kağıt havluyla kurulanmalıkir. | |
| Lekeler orta derece etkili bir deterjanla temizlenmelidir. | |
| Davlumbazı temiz tutunuz | Cihazı her ay temizleyerek filtrelerini)yalıkın. İç kılımdan ve)yalık Filtrelerinden)yalıkı icice temizleyin.Birikmiş yalıklar ya da:iğer artıklar yangına sebep olabilir. |
| Yaq filtreleri bulasık makinesinde)yıkanmaya uygundur. Bulaşık makinese)dusukbir sicalskıga ve kılı sa bir programa ayarlanmalıkir.Yaqfiltresinin rengidehyISEbilir,bucihazınperformansınteilemez. |

Karbon filtré
Karbon filtrin saturasyon suresi, pisirme turune ve yag filtresinin temizlenme sikligina bagli olarak degisir. Etkinlestirilen karbon filtre yikanabilir degildir ve rejenere edilemez; normalde yaklaik her 4 ila 6 aylik calisma sonrasinda ya da ozellikle yogun kullanimlarin ardindan daha sik olarak degistirilmelidir.
6.2 Yaq滤resinin temizlenmesi
Filtreler, karstarafta bulunan klipsler ve pimler kullanilarak takilabilir.
Filtreyi temizlemek icin:
- Davlumbazin.altinda bulunan fentre panelindeki montaj klipsinin tutamağına basin.

- Filtrenin onunu haficce asaig dogru egin, ardindan cekin.
Tum filtrreier icin ilk iki adimi tekarlayin. - Filtreleri aşindirici olmayan deterjanlarla bir sünger yardımlıyla temizleyin vya bulasık makinesinde yıkayın.

Bulaşik makinese扭矩bir sicakliga ve kisa bir programa ayarlanmaldir.Yaq滤resinin rengi degişiobelir, bu cihazin performansini etkilemez.
- Filtreleri yeniden takmak icin ilk iki adimi ters sirada yapin.
Mümkünse adimi lari tum filtrreler icin tekrarlayin.
6.3 Karbon filtrindehyigkeit

UYARI!
Karbon fibre YIKANMAZ! Filtreyenilenemez!
Carbon filtryidegeistirmekicin:
- Yag filtrlerini cihazdan cikarin.
Bu bolumdeki "Yaq filtresinin temizlenmesi" kismina bakin. - Filtreyi saat yönünün tersine cevirin (1) veçekin (2).

Filtreleri yeniden takmak icin adilmari ters siralamada yapin.
Herhangi bir durumda filtrerin en az her dört ayda bir degistirilmesi gerekir.
6.4 Lambanin degistirilmesi

UYARI!
Yangin ve elektrik carpmasi risik! Islem oncesi cihazin elektrik baglantisini kesin! Dokunmadan once ampulun soğuduğundan emin olun.

UYARI!
Yaralanma risk! Lambayi degistirmek icin koruyucu eldiven kullanin.

Cihazin zarar gorme riski vardir! Keskin kenarl aletler kullanmayin!
Yanan ampulu özellklere uygun sekildedehyigişirin:
Güç (W) 4
Piriz E14
Voltaj (V) 220 - 240
Boyutlar (mm) 37 x 100 (cap x uzunluk)
ILCOSD Kodu (IEC 61231e gore)
DRBB/F-4-220-240-E14-37/100

Lambayi degistirmek icin:
- Lamba kapagün her bir tarafinda iki yuvavardir.Duz,keskin olmayan plastik bir alet kullanin.Lamba kapagün cihazdan dikkatli bir sekilde cikarin.
- Lambayi degistirin.
- Lamba kapağıni takın.
7. SORUN GIDERME

UYARI!
Güvenlik böulmerine bakin.
7.1 Bu durumlarda ne yapmal...
Problem Olas1 sebep Czozum
| Makine calismiyor. Cihaz güç kaynagına böghanmamı-tir ya da elektrik böglantisı.Doğru se-keiten yapilmamışir. | Cihazın elektrik beslemesine.Doğrubir seksilde bögli olup olmadıyınikontrol edin. |
| Makine calismiyor. Sigorta atmışir. Arizaya, sigortanın neden olup ol- | madigün kontrol edin. Sigortanıntekrar tekrar atması halinde, kalifiyebir elektrikçiye dinışınc. |
| Lamba yanımiyor. Lamba arizali. Lambayı değistirin. "Bakim ve Te-mizlik" böllumüne bakın. | |
| Cihaz yeterince buhar emmiyor. Motor.Here:i gürünen buharlar:içın ye-terlidehyil. | Motorun.Here:i degistirin. |
8. TÜKETICINN SEÇİMLİK HAKLARI
- Malin ayipli oldugunun anlasilmasi durumunda tuketici;
a. Satilani geri vermeye hazir oldugunu bildirerek sozlesmeden donme,
b. Satilani alikoyup ayip oraninda satis bedelinden indirim isteme,
c. Asiri bir masraf gerektirmediigi takdirde, butun masraflari saticiya ait olmak uzere satilanin ucretsiz onarilmasin isteme,
d. Imkan varsa, satilanin ayipsiz bir misli ile degistirilmesini isteme, secomlik haklarindan birini kullanabilir. Satici, tuteticin tercih ettiigi bu talebi yerine getirmekle yukumludur. - Ücretiş onarim veya malin ayipseş misliledehyşistirilmesi haklari üretici veyaithalatciya karşi da kullanilabilir. Bu
fikradaki haklarin yerine getirilmesi konusunda satici, uretici ve ithalatci muteselsilen sorumludur. Uretici vya ithalatci, malin kendisi tarafindan piyasaya surulmesinden sonra ayibin dokugunu ispat etti takdirde sorumlutulmaz.
-
Ücretiş onarim veya malin ayipsiz mislile degistirilmesinin satici icin orantisig质量管理 beraberinde getirecek olmasihalinde tuketici, szlezmeden donme veya ayip oranginda bedelden indirim haklarindan birini kullanabilir. Orantisiğin taninnde malin ayipsizdegeri, ayibin onemi ve diger seçimlik haklara basvurmanin tuketici acisindansorun teşkil edip etmeyeçigi gibihususlar dikkate alinir.
-
Ücretsiz onarim veya malin ayipsiz mislile degistirlimesi haklarindan birininseçilmesi durumunda bu talebin saticiya,ureticiye veya ithalatciyayoneltilmesinden itibaren azami otuz isgün, konut ve tatil amacli tasinmazlardaise altmis isGNU icinde yerine getirilmesi zorunludur. Ancak, bu Kanunun 58 incimaddesi uyarinca cikarilan yonetmelik eki listede yer alan mallara iliskin, tuketicinuucretsis onarim talebi, yonetmeliktebelirlenen azami tamir suresi icindeyerine getirilir. Aksi halde tuketici digerseçimlik haklarini kullanmakta serbesttir.
- Tüketicin sözlemeden donme veya ayıp oraninda bedelden indirim hakkınti sectigi durumlarda, ödemiş olduğubedelin:tümü veya bedelden yapilanindirim tutari derhal tuketiciye iade edilir.
- Seçimlik hakların kullanilması nedeniyle ortaya;cikan:tüm masraflar,tüketicin seçtiği hakki yerine getiren tarafa karsilanir.Tüketici bu seçimlik haklarindan birilebirlikte 11/1/2011 tarihli ve 6098ayoı Türk Borclar Kanunu hukumlere uyarinca tazminat da talep edebilir.
Tüketi, garantiden.Doğan hakilinn kullanıması ile ilgili olarakçikabilecek uyusmazlklarda yerlesim yerin bulundugu vya tüketici isleminin yapildigi yereke Tüketi Hekem Heyetine veya Tüketi Mahkemesine basvurabilir.
Uretici / Ihracatci :
Kullanim Ömrü Bilgisi :
Kullanim omru kucuk ev aletlerinde 7 yil, diger beyaz esya urunlerinde ise 10 yildir. Kullanim omru, uretici ve/veya ithalatci firmanin cihazinizla ilgili yedek parca temini ve bakim suresini ifade eder.
AEEE Yonetmeligine Uygundur.
9. CEVREYLE ILGILI BILGILER
Su sembole sahip malzemeler geri donusturulebilir Ambalaji geridonusum icin uygun konteynerlere koyun. Elektrkli ve elektronik cihaz atiklarin geridonusumune ve cevre ve insan sagliginin korunmasina yardimci olun. Ev atigi sembolu bulunan
cihazları atmayın. Ürünü yerel geri DONUŞüm tesislerinize gonderin ya da belediye ile irtibata.Since.
AEEYonetmeligine Uygundur.
MДУМАСМОПОВAC
JaKyEMO, 0 npn6bann npnnaq Electrolux. ObaHn Bamn Bnpi6 CTBopeHo Ha ochOBi 6baratopiuHoro npopeciHoro doCBiy Ta iHHoBaui. OprHaJIbHni i CTnlbHni - Ioro cKOHCTpyNoBAHO 3 dymKOIO npo Bac. Tomy nId Yac Noro BVkOpncTahHr BN MoKeTe 6ytN BNEBHeH I TOMy, 00 00pa3y OTpIMyBaTMeTe BiDiMHPi pe3yNbTaTu.
JaCKaBO npocnmo do Electrolux.
BIDiAaTe Hau We6-caT, 0o6:

Otpmata npadn 3 BnkopncTaHHa, bpouyn, iHctpyku 3 ycHeHH HecnpaBHOCTe, infopmaio o do cepbicy ta peMOHTy:
www.electrolux.com/support
3apeectpybaTn cbi npdyKT dny Kpaosoro o6cnyrobyBaHHa:
www.registerelectrolux.com


Ppud6aTu akcecyapn, BuTpaTHi MaTepiAnu OpuRHaJIbHi 3anYactHn Dnra BaWoRo npuJa:
www.electrolux.com/shop
ДОПOMORA KЛIEHTAM TA OБСЛУГОВBAHHЯ
BnKOpncToByuTe Jnue opurHaJIbHi 3anachi YacTHHn.
3BepTaOuHcB Do HaIoro aBTopn3oBaHoro cepBicHoro ueHTpy, Heo6XiHO MaTn TaKy IHOpMaciIO: Moelb, Homep Bnp6y, cepiHmHomep.
IhOpmaizIO MoKHa 3HaHTn Ha Ta6Nuci 3 TexHcHmN daHmN.
I PonepeJxEHH / BaxnBa iHopmaiz npo 6e3neky
3araIbHa IHOpMaIra Ta peKomeHdaJIi
Ihopmaizj 3axncty HABKONHbOro cepeobua
Mоже 3mHnTnC8 6e3 onOBiueHH.
3MICT
1.IHOPMALI3 TEXHIKINBE3NEKN 252
2. IHCTPYKlI 3 TEXHIK IN B3NEKN 255
3.YCTAHOBKA 257
4. ONIC BnPO6y 257
5. IODEHHE BIKOPNCTAHNA 257
6.ДОГЛЯДТAЧИстKA 258
7. YCUHEHHI IPOBJIEM 260
8. OXOPOHA IOBKINJIЯ 260
1. HΦOPMAJIa 3 TEXHIKN E3NEKN
Ipeed yctaHOIO Ta ekCnlyataciio npilaNy ciiD yBaXHO npouHTn IHCTpyKciIO KOpNCtYbaua. BInpo6HnK He Hece BiINOBiJaIbHoCTi 3a TpaBMn abo 3bNTkn chepe3 HnPaBnIbHe BCTaHOBJIeHNr a6o BNkOpNCtAHNr. IHCTpyKciI 3 ekCnlyataci
cπiδ 36epiratn B 6e3neuHomy i DOCTyHOMy Micci 3 MeTOHO KOpNCTyBaHHaBbOMy.
1.1 Be3peka iTei I Bpa3IINBnx oci6
-ДiTиВiД 8 pOKiB Ta OcObN 3 O6MeJehnMn φi3nUHmN, ceHCOPHmN a6o nCnxiUHmN MOxJIINBOCTaMn qH HeIOCTaTHiM DoCBiDom i 3HaHHaMn MOxytb KOpNCtYBaTnCSa cIIM PrpIaIOM IInSe NiD HargIaDM, a6o 3a yMOBn POnepeHbOrO OTPMaHnI IHCTpyKciI 3 6e3neuHoro KOpNCtYBaHnI PrpIaIOM Ta POzymiHnI NOB'3aHnX 3 cIIM Pn3NKiB. DiTn Do 8 pOKiB Ta OcObN 3 BaXkoTO Ta KOMPJIekCHOH HeNPaue3daTHiCTHo MOxytb Nepe6yBaTu N06n3y PrpIaNy IInSe 3a yMOBn, YKIoO 3HaXODaTbcrPi d 6e3nepePBHm CnoCTepeJehnM.
CπiδkyuTe 3a Tm, a6n diTn He 6abNlncs3 npnaadom.
- TpimaiTe yci nakyBaIbHi MaTepiAni noaJI BiD iTei Ta YTuJI3yIte ix HaneKHM YINOM.
He donyckaite i domaunix TBapnH do npnilady nid yac noro pobotn.
- YnueHna a6o o6cnyroByBaHH npuJaDy iTbMn Do3BOJrEe Tbcra IiWe nId HaraIaOM.
1.2 3aŋbHa 6e3neKa
- Zei npnilad npn3naeHn BnKJIouHNo dIa 3aCTOCyBaHHaBOMaunix yMObax NaB BapnIbHmN NOBepxHЯMn, PNTaMaTa noi6HmN npncTpoaMn dIa rOTyBaHHa.
- Zei npilad npn3naeHni dIy BIKOPNCaHHB DOMaHix yMObax y npmiueHHi.
- Zei npilad moxHa BnKOpncTOBvBaTn B ophiacx, roTeIbHnx Homepax, Hanib-roTeJx, npimiiueHHx dIy fepmepcbkoT tyPi3My Ta iHux noi6Hnx npimiuieHHx, De 3actocyBaHHra cboRo npilady He nepeBnuuye (cepeHi) pIBeHb nObyTOBOro KOpncTyBaHHra.
-
Першних виконы оретацii 3 Тхичного обслуroyвань, вд'энайтешплад вд джерега ЖИВЛЕНЯ.
-
OBEPEKHO: Доступни частни можутын harpiВатися пд уас викорпстань 3 пладам дя приrotувашиixi.
BnKOpNCToByTe InIe KpINlBHi TBnHTN, 1o NOCTaUToTbCra pa3OM i3 npInaDOM, kIIO TBnHTN He BXODaTb Do KOMnJIeKTu NOCTaBKN, BnKOpNCToByTe TBnHTN, peKOMeHDoBahi B IHCTpyKzii 3i BCTaHOBJIeHHa. BCTaHOBNIoTE npInaJy 6e3neuHOMy nIXOJaIoumy miczi, 50 BiINOBiJaE BmOram 3i BCTaHOBJIeHHa. - ПОПЕДЖЕHHЯ: HeBcTaHOBJIeHHraВHrIb a6o KpINMbHOrO npIncTpPoIO BiIDNoBiIDHO Do uNX iNcTpPyKciM MoKe cTahOBHTn He6e3neky ypaJxehHЯ eJeKtpuHm cTpyMOM.
He BnKOpncToBvIe Knei dIy fikcau npnaNy.
MihimalbHa BiDCTaHb MIX NOBepxHeIO BapnIbHOI nanei, Ha kii CToITb Nocyd, Ta HxKhBOIO qactnHOIO npuJaMy Mae CTaHOBTN He MeHwe 65 cm, kso iHwe He 3a3NayeHO B IHcTpyKci 3i BcTaHOBJIeHHra npuJaY a6o BapnlbHOI NOBepxHi. - ВикIDs NOВITРЯ NOBUNHeN BIDNOBIaTn HOpMaM,ПриняТИМ MicceBIMN OprahamN BlaDiN.
- Перацюють на зау abo пали, a takож BiD BiДКрпTORO BORHIO.
-ПepekoHaITeCs,иоВeHTnIaIiHi OTBOpH He 3a6IokOBaHI, aNoBITpy,лO 3bIpaETbCS npIaIaOM,He NotpapJIe Do KaHaIy,ЯкN BnKOpNCTOByETbCSДЯ BiDBeDeHNeДИМу Ta napN 3 iHux npIaIaIB (CnCTeMn ZeHTpaJbHOro ONaJIeHNe, TepMocnФoHIB,BODOnHarpiBaUvToIo).
Koln npnilad npaioe 3 iHsnmnpniladaM, MaKcImaJIbHn BaKyUm, yTBOpIOeTbcra B npIMiueHHi, He NOBInHe npeBnIyBaTu 0,04 m6ap. - CTeKTe 3a TnM, 706 He nOwKOdntu Ka6eIb XnBneHn.ДЯ 3amInn POnKoJxHeHO Ka6eJIIO Tpe6a 3BepHyTnCra Do NaIoro aBTOpN3OBoHOrO cepBicHOrO ceHTpy a6o do eIekTpika.
-Якшо пилад пidкнюецno 6e3nocepeHbOdo eilektpomepexi, eilektpo0oblaadHaHHaMae 6byTu OCHaune He i3OJIIOUHM npncTPOcM, kKn Do3BOJAE BIDKlnOuaTN npnilad BiD eilektpomepexi Ha BCix KOHTaKTax. NobHe BiIDKIIQUeHHaMaE BiIDNOBidaTu yMOBaM, BN3NaueHm y KaTERopi nepenapyrn lI. 3acobn dny BiD'EDHaHHa NOBInHi 6yTu VBudOBaHI B ctaioHapHy eilektpoppoBODky BiINOBiIDHO do npabnI eilektpomOHtajy.
3abopoheta 3diHOBaTHn pAmbyBaHHn iD npnaadom.
He BnKOpNCToBvIe IJRA BNTaRyBaHnHa He6e3neuHnx a6o Bn6yXOBHX MaTepiJIiB i napiB.
- Peryjaryno ouuuyte npnilad M'koTO TkaHNO, 06 3anobirn nookoeHHo MaTepiay nobepxhi.
- Дя чишени скляноюповерхиnpиладу He BИКОПСТОВУITE napоочснк, рoЗпILHOBaч BODи,жорстki abpa3INBHI 3acobи дя чишени Та MeTaNeBi MoUaNkn, OCKIЛьки Ze може пи3BecTN Do NOЯВи TpIuIN Ha ckNi. 3actocobyTe liше HeITpaJIbHi MInOuyi 3acobn.
- Perugiaho ouuuyte xnpoBi pfIbtpn (miHimym kOxHi 2 Mica) Ta BuaJaiTe XnpoBi BiKnaDeHHra 3 npnaay, 06 3anobirn pN3NKy BHNKHeHH naXeKi.
- ВикоростовуITE ТkaHHy ДЯ Oчишень BHyTpipHbOiЧастин прладу.
2. IHCTPYKlii 3 TEXHIKN BE3NEKN
2.1 BCTaHOBJIeHHJ

PONEPEKHEHRA!
IcHye pN3NK OTpIMaHH TpaBM, ypaKeHH eJIeKTpUHm CtpymOM, noXeKi, oniKIB a6o NOsKOxHeHH npuJaY.
BcTaHOBJIIOBaTn cei npIaI NOBHeH IINwe KBaJIΦIKOBaHm φaxIBEu.
- He BCtaHOBIIouTe NHe BnKOpNCToByuTe NOsKOJKeHn npUlaD.
-ДotpmyTeCayHCTpyKui 3i BCTaHOBHeHH,IO NOCTaHaOTbcpa3OM i3 npunaDom.
Будь Te obepexhi nД yac nepemiiueHn npnilady, ockiIbKn BiH BaxkN.
BnKOpncToBnyTe 3axnChi pyKaBnUckn Ta B3yTT, IIO NOCTaHaεTbcR B KOMNJIeKTI.
- Pered BCTaHOBneHnM npuady BuaJIb BCIO ynaKOBky, MapkyBaHHra Ta 3axnchy nnIBky.
He BCTaHOBJIouTe BVBeDeHnB iDnpaCboBOHaOro NOBITpy y NopoXHHy CTiH, kUo NopoXHHa He npu3HaueHa DnA LiEi MeTn.
2.2Пд'сданьdo eilektpomepeksi

NONEPEDKEHHI
IcHye pN3NK 3aImaHH Ta ypaXeHH eNeKTpnuHMM CtpymOM.
- Yci po60tn 3 nID'EDHaHHa DO eJekTpOmepeKi MaIOTb BnKOHyBaTnCk KBaJIiΦIKOBaHm EJekTpNkOM.
- IpekehoaTecB TOMy, 0 npaMeTpna Ta6nuci 3 TexHcHmN daHmN cymichi 3 eNEKtpuHmN npaMeTpamNeEeKTPOXNBHeHH BID MepeXI.
- RaKo Ha Ta6JnUcI 3 TexHcHmN daHmN He HApyKOBaHO CUMBOJ (npuaI IOBHeH 6ytN 3a3eMneHn.
3aBXd BnKOpncToByTe npaBnIbHO BCTaHOBNeHy npOTnuDapHy po3eTKy. - CTeXTe 3a TtM, IIO6 IPOBOuN XINBJIeHHHe 3aIpyBaIuNc.
He BnKOpncToBnyTe po3raJyKyBaui, nepexiHnKn N oDObKyBaui.
He BCTabnIe BnKy B po3eKy, kHa HeHaDiH No 3akpinneHa.
He TarghiTb 3a Ka6eIb XnBneHna, uo6 BiKIOHTn npuaad 3 MepeXi. 3aBXn BUMKaITe, BNTraOuN lTeNCJIbHy BNkky. - ElenemHTn 3axnCTy BiD ypaKeHHeNEKTPnHm CTPymOM Ta i3OJaIaMaOTb6ytN 3akpinHei Tak, a6n ix He MoXHa6yNo 3HrTn 6e3 CneuaIbHoro IHCTpyMeHTa.
- IpekeKaHTeCb y npaBnIbHOMy BCTaHOBHeHHi npnaHy. He3akpInneHn a6o HnpaBnIbHo po3TaWOBaHn Ka6eJb XNBHeHHa MoKe npN3BeCTn Do 3HaUHO HarpiBaHHa po3'EMiB.
-Пдкюа Te npuaн hapnkiHc i BCTaHOBHeHH. HepeKoHaTec, lo nicna yctaHOBKn E BiIbHn DoCTyn Do MepeKi.
2.3 KopncTyBaHHa

NONEPEDKEHHRA!
IcHye He6e3neKa TpaBMyBaHHra, onikib i ypaXeHHra eNeKtpnUHM CTPymOM.
- LcE npnnaD npn3haeHn BnKIOUHO nI npnroTyBaHH iXi. He BnKOpncTObuYTe npnnaD IINx cinei.
He 3miHouTe TexHiCyHi cneuPhiKauiI cyoro npnlaNy.
He npaioTe 3 npnaDom, kIoBaWi pykn MOKpi a6o kIo BIn KOHTaKTy e 3 BOIO.
BnKOpncToByte nIwe akcecyapn, 10 noCTaayTbca pa3om i3 npnaDm.
-Пдчac rotybaHHra CmaKeHHa 3 BnKOpncTaHHm JnpiB i OJIi, TpImaTe ix OCTopoHb BiD BiDKpNToro BOrHIO abo rapaunx npedmetiB.
He BnKOpNCToBvYTe He3aKpNTi eNeKTpNHi rpNI.
- He BnKOpncToBvIe npuJaIK NOBepXHIO dna 36epiraHHpeeu.
He BnKOpncToBnyIyny, 6iHOKlb a6o noDi6Hi onTnHi npucTrooi, 06 DnBntnc 6e3nocepEdhbo Ha niDCBVtky npuady.
-Якшо пилад пацюс 3 iHшIMn npicTpOAMN, MaKcImMaJIbHnPo3BHeHn TnCK He NOBHeH npeBnUyBaTn 4 Pa (4x10-56ap).
2.4 CepBic
-Дя ремонту пиладу 3Вертайтесяdo abtopизоваго серсьногу цentpy. Викоростовейп лише opигиньни залини.
CTOCOBHO lamn BCEpeDHHI cboRO Bnpo6y Ta 3anachnx lamn, 1o npdaotbcg OkpemO: Li lamnn npna3haeHi dny BnKOpNCtAHN y no6yTOBnX npnaJdx 3 ekCTpeMaJIbHMn fI3uHmN yMOBaMn, TAKIMn k TemnepaTpya, Bi6paiz, BOIorictb, a6o npna3haeHi dny HadaHHn IHopmaqii npo cTah np6OTn npuaNy. BoHn He npna3haeHi dny BnKOpNCtAHN 3 IHWO MeTO Ta He npndaTHi dny OCBITJIeHHN NO6yTOBnX npmUeHb.
2.5 Ytuliizai

NONEPEDKEHNA
IcHye He6e3neKa 3aDyWeHHra.
- Ito infopmaio 3 HaneXho'i ytni3aii npnay 3BepHITbCra do opraHIB MyHUnnaIbHOI BnA.
Bid'edhaTe npuJaB iD eJekTpomepeksi.
BidpiKTe Ka6eIb eJekTpHoro KINBJIeHHa 6N3bKO do npunaTy yTuni3yNe Ioro.
Ie npOdyKT no Bmicty He6e3neuHx peoBnH BiIOBIdae BmOram TexHiHoro perlameHTy oMxeHHa BkOpncTaHHa DeKnx He6e3neuHx peoBnH B
eNeKtpnHOMy Ta eNeKtpoHHOMy O6IaHaHHi (noCTaHOBa Ka6iHeTa MinICTpIB YkpaIH N#139 BiD 10 6pe3n 2017p.)
3. YCTAHOBKA

NONEPEDKEHHI
IINB. po3diIiN 3 iHΦopMaJIeI O Ioo ToxHikn 6e3neKn.
3.1 Ihctpykui 3i BcTaHOBneHHa

Дя OTpmaHЯ NOBHOI iHΦopMaцi npo BCTaHOBNeHHЯ npuJaDy 3BepHiTbcrdo OkpeMoI 6poUpyn 3i BCTaHOBNeHHra.
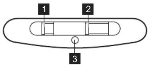
4.ОПИСВИРОБY
4.1 Ornay nahei kepyBaHHa

ФункцяОпс
1 Bmkaay niicbItkn BMkaHHa Ta BmkaHHn iCbitKn.
2 Iepemnkauch wBnDkoCTi BeHTn- IepemnKaHHa mix piBnMn WbNdkoCTi BeHTnJIaTopa. JIaTopa
3 IHdkaTop Bka3ye, nn npaioe BnTjXkka.
Notice-Facile