LFG335S - кухненски абсорбатор ELECTROLUX - Безплатно ръководство за потребителя
Намерете безплатно ръководството на устройството LFG335S ELECTROLUX в PDF формат.
Изтеглете инструкциите за вашия кухненски абсорбатор в PDF формат безплатно! Намерете ръководството си LFG335S - ELECTROLUX и вземете отново електронното си устройство в ръце. На тази страница са публикувани всички документи, необходими за използването на вашето устройство. LFG335S на марката ELECTROLUX.
РЪКОВОДСТВО ЗА ПОТРЕБИТЕЛЯ LFG335S ELECTROLUX
FR Notice d'utilisation | Hotte 78
HR Upute za uporabu | Kuhnjska napa 87
HanpekeHne (V) 220-240
Pa3mepn (MM) 37 x 100 (dnaameTbp x DbJxHa)
ILCOSD KOI (BCbOT-BetCTBne c IEC 61231)
DRBB/F-4-220-240-E14-37/100

3a da cmeHnte lamnqukata:
- KanakbT Ha lamnukkata pa3nojara c no Dba OTBopa OT BCra Ka CtpaHa.
N3noJ3BaIte NIOcBk, NIACTMacOB INHCTpyMeHT, 6e3 OCTpn Kpaunca.
BHHMaTeJHNO OTCpaHete KanaKa Ha JAmNnUkata OT ypeJa.
- CmeHete lamnata.
- MoHTnpaIte KaIaKa Ha IaMnUkTa.
7. OTCTPAHЯBAHE HA HEN3ПРABHOCTN

BHIMAHHE!
Bx. rnaBa "Be3onacHocT".
7.1 KaKa Da nocTbNITe, aKO...
| ПюбLEM Вьзможна ручина OTстраимвае | ||
| He можete на вklочite урEDA. Урдт He e свьрзан Кьm eilektpro-3axphaнвано ил e свьрзан He-nравилино. | Пюberete дали уредыт e свьрзан правлино Кьm eilektpro3axphaнвано. | |
| He можete на вklочite урEDA. ПroduпASTITEЯ e nizropя.Уberete ce, чe рrodustIENTЯ e ручиныт за Нениразвиността. Ако рrodustIENTЯ подожа на из-rар, свьржete ce c KBал�фиц-pан eilektpotexнik. | ||
| Лamпчкata на Функционipa. Лamпчкata e deфектна. Сmedete лamпчкata. Вижte глава „Грижи и поисвае". | ||
| Урдт He abcopбира дoctаьчно Изаниеня. | СkopocTTа на мотopa He e docta-TbЧа спreamо Изаниенята. | Сmedete скорostа на мотopa. |
8.ОПАЗBAHEHAOKOLHATA CPEДA
PeunknpaTe MaTePnAInTe cbc CmBOna
OCTaBnTe ONaKOBKIne B CbOTBeTHnte KOHTeHepn 3a peuNKnnpaHeTo nM. IOMOrHeTe 3a ONa3BaHTo Ha OKJHaTa cpea N YoBeWkoTo 3dpaBe, KaKTo N 3a peuNKnnpaHTo Ha OTnaDbuN OT eNeKtpnueckn N eNeKTPoHHypeDi. He
n3XBpIyTe ypeIte, 03HaueHn CbC
cIMBONal 3aeIDHO C 6HTOBata CMeT.
BbPheTe ypeDa B MeCTHnA pyHKT 3a
peuKInpaHe nJIn ce ObPheTe KbM BaWata
ObUHHcKa cnyk6a.
MYSLIME NA VÁS
Merci d'avoir choisi un apparéil Electrolux. Vous avez choisi un produit qui bénéficie de décennies d'expérience professionnelle et d'innovation. Ingénieux et élégant, il a été pensé pour vous. C'est la raison pour laquelle vous pouvez avoir la certitude d'obtenir d'excellents résultats à chaque utilisation.
Bienvenue chez Electrolux
Consultez notre site pour :

Obtenir des conseils d'utilisation, des brochures, un dépanneur, des informations sur le service et les réparations :
www.electrolux.com/support
Enregistrer votre produit pour un meilleur service :
www.registerelectrolux.com


Acheter des accessoires, consommables et pieces de rechange d'origine pour votre apparéil :
www.electrolux.com/shop
SERVICE ET ASSISTANCE À LA CLIENTÉLE
N'utilisez que des pieces de rechange d'origine.
Avant de contacter notre centre de service agree, assurez-vous de dispose des informations suivantes : Modèle, PNC, numéro de série.
Ces informations figurent sur la plaque signaletique.
Avertissement/Consignes de sécurité
1 Informations generales et conseils
Informations environnementales
Sous réserve de modifications.
TABLE DES MATIÈRES
- INFORMATIONS DE SECURITE 78
- INSTRUCTIONS DE SECURITE 81
- INSTALLATION 82
4.DESCRIPTION DE L'APPAREIL. 83 - UTILISATION QUOTIDIENNE 83
- ENTRETIEN ET NETTOYAGE 84
7.DEPANNAGE 85 - EN MATIÈRE DE PROTECTION DE L'ENVIRONNEMENT 86
1. INFORMATIONS DE SECURITE
Avant d'instructor et d'utiliser cet apparéil, lisez soigneusement les instructions fournies. Le fabricant ne pourra être tenu pour responsable des blessures et dégâtés resultant d'une mauvaise installation ou utilisation. Conservez toujours les
instructions dans un lieu sur et accessible pour vous y reférer ultérieurement.
1.1 Sécurité des enfants et des personnes vulnérables
- Cet apparéil peut être utilisé par des enfants âgés d'au moins 8 ans et par des personnes ayant des capacités physiques, sensorielles ou mentales réduites ou dénuées d'expérience ou de connaissance, s'ilts sont correctement surveillés ou si des instructions relatives à l'utilisation de l' apparéil en toute sécurité leur ont été données et s'ilts comprendnent les risques encourus. Les enfants de moins de 8 ans et les personnes ayant un handicap très important et complexe doivent être tenus à l'écart de l' apparéil, à moins d'être surveillés en permanence.
Veillez à ce que les enfants ne jouent pas avec l'appareil.
- Ne laisseriez pas les emballages à la portée des enfants et jetez-les convenablement.
- Tenez les enfants et les animaux éloignés de l'appareil lorsqu'il est en cours de fonctionnement.
- Le nettoyage et l'entretien par l'usage ne doit pas etre effectués par des enfants sans surveillance.
1.2 Sécurité générale
- Cet apparéil est conçu pour une utilisation domestique sur des tables de cuisson, des cusinières ou d'autres appareils de cuisson similaires.
- Cet apparéil est unconçu pour un usage domestique unique, dans un environnement interieur.
- Cet apparéil peut être utilisé dans les bureaux, les chambres d'hôtel, les chambres d'hôtes, les maisons d'hôtes de ferme et d'autres hébergements similaires lorsque cette utilisation ne dépasse pas le niveau (moyen) de l'utilisation domestique.
-
Avant d'effectuer une opération de maintenance, débranchez l'appareil de la prise secteur.
-
ATTENTION : Les parties accessibles peuvent devenir chaudes en cours d'utilisation en raison des apparêls de cuisson.
- Utilisez uniquement les vis de fixation fournies avec l'appareil. Si elles ne sont pas fournies, utilisez les vis recommandées dans les instructions d'installation. Installez l'appareil dans un lieu sur et adapté répondant aux exigences d'installation.
- AVÉRITISSEMENT: Ne pas installer les vis ou le dispositif de fixation conformément à ces instructions peut entraîner des risques électriques.
- N'utilisez pas d'adhesifs pour fixer l'appareil.
- La distance minimale entre la surface de la table de cuisson sur laquelle les recipients sont posés et la partie inférieure de l'appareil doit être d'au moins 65 cm, sauf indication contraire dans les instructions d'installation de l'appareil ou de la table de cuisson.
- L'évacuation d'air doit être conforme aux réglementations des autorités locales.
- Aérez suffisamment la piece où est installé l'appareil pour éviter le reflux de gaz provenant d'appareils utilisant d'autres combustibles, y compris les flammes nues.
Assurez-vous que les aérations ne sont pas bouchées et que l'air aspire par l'appareil ne provient pas d'un conduit d'évacuation des fumées et vapeurs émises par d'autres apparèils (systèmes de chauffage central, thermosiphons, chauffe-eau, etc.). - Lorsque l'appareil fonctionne avec d'autres apparéils, le vide maximal géné ré dans la piece ne doit pas dépasser 0,04 mbar.
- Veillez à ne pas endommager le cable d'alimentation. Contactez notre service après-vente/agréé ou un électricien pour remplaçer le cable d'alimentation s'il est endommagé.
- Si l'appareil est directement branché sur l'alimentation secteur, l'installation électrique doit être équipée d'un dispositif d'iso1ation permettant de débrancher l'appareil du
secteur avec une coupure omnipolaire. La déconnexion complète doit être conforme aux conditions de surtension de catégorie III. Un moyen de déconnexion doit être précu dans le câblage fixe conformément aux règles nationales d'installation.
- Ne flambez pas d'aliments sous l'appareil.
- N'utilisez pas l'appareil pour évacuer des matériaux et vapeurs dangereux ou explosifs.
- Nettoyez régulierement l'appareil à l'aide d'un chiffon doux afin de maintainir le revêtement en bon état.
- N'utilisez pas de nettoyeur vapeur, de pulverisateur d'eau, de produit nettoyant abrasif, ni de grattoir métallique pour nettoyer la surface de l'appareil. Utilisez uniquement des produits de lavage neutres.
- Nettoyez régulierement les filtres à graisse (au moins tous les 2 mois) et éliminez les dépôts deGRAISSES de l'appareil pour éviter tout risque d'incendie.
- Utilisez un chiffon pour nettoyer l'intérieur de l'appareil.
2. INSTRUCTIONS DE SECURITÉ
2.1 Installation

AVERTISSEMENT!
Risque de blessure, de chocolélectrique, d'incendie, de brûlures ou de dommage matériel à l'appareil.
- L'appareil doit être installé uniquement par un professionneliel qualifié.
- N'installez pas et ne branchez pas un apparéil endommagé.
- Suívez scrupuleusement les instructions d'installation fournies avec l'appareil.
- Soyez toujours vigilants lorsque vous déplacez l'appareil car il est lourd. Utilisez toujours des gants de sécurité et des chaussures fermées.
- Avant d'installer l'appareil, retirez tous les emballages, les étiquettes et le film de protection.
- N'installez pas le conduit d'évacuation de l'air dans une cavité du mur, sauf si cette cavité est spécifique conçue pour cela.
2.2 Branchement électrique

AVERTISSEMENT!
Risque d'incendie ou d'électrocution.
- Tous les raccordements électriques doivent être effectuels par unElectricien qualifié.
Assurez-vous que les paramètres figurant sur la plaque signalétique correspondent aux données électriques nominale de l'alimentation secteur. - Si le symbole () est pas imprimé sur la plaque signalétique, l'appareil doit être raccordé à la terre.
- Utilisez toujours une prise de courant de sécurité correctement installée.
- Ne laïsez pas le cable secteur s'emmêler.
- N'utilisez pas d'adaptateurs multiprise et de rallonges.
-
Si la prise secteur est détachée, ne branchez pas la fiche secteur.
-
Ne tirez pas sur le cable secteur pour débrancher l'appareil. Tirez toujours sur la fiche de la prise secteur.
- La protection contre les chocs des parties sous tension et isolées doit être fixée de telle manière qu'elle ne puisse pas'être enlevée sans outils.
Assurez-vous que l'appareil est bien installé. Un cable d'alimentation électrique desserré ou mal branché peuvent être à l'origine d'une surchauffe des bornes. - Branchez l'appareil à l'extrémité de l'installation. Assurez-vous que la prise secteur est accessible une fois l'appareil installé.
2.3 Utilisation

AVERTISSEMENT!
Risque de blessures, de brûlures ou d'électrocution.
- Cet apparéil est exclusivement destiné à un usage culinaire. N'utilise pas cet apparéil pour un autre usage.
- Ne modifies pas les specifications de cet article.
- N'utilisez pas l'appareil avec des mains mouillées ou en contact avec de l'eau.
- N'utilisez que les accessoires fournis avec l'appareil.
Tenez les flammes ou les objets chauds éloignés des graisses et de l'huile durant la cuisson et la friture. - N'utilise pas de grills électriques non couverts.
- N'utilisez pas l'appareil comme espace de rangement.
- N'utilisez pas de loupe, de lunettes, ni:aucun autre dispositif optiquesemblable
3. INSTALLATION

AVERTISSEMENT!
Reportez-vous aux chapités concernant la sécurité.
pour regarder directement l'éclairage de l'appareil.
- Si l'appareil fonctionne avec d'autres apparéils, la pression développée maximale ne doit pas dépasser 4 Pa (4x10-5 bar).
2.4 Service
- Pour réparer l'appareil, contactez un service après-venture/agréé. Utilisez exclusivement des pieces d'origine.
- Concernant la/les lampes(s) à l'intérieur de ce produit et les lampes de rechange vendues séparément : Ces lampes sont conçues pour résister à des conditions physiques extrêmes dans les apparciels électroménagers, telles que la température, les vibrations, l'humidité, ou sont conçues pour signaler des informations sur le statut opérationnel de l'appareil. Elles ne sont pas destinées à être utilisées dans d'autres applications et ne convennent pas à l'éclairage des pieces d'un logement.
2.5 Mise au rebut

AVERTISSEMENT!
Risque de blessure ou d'asphyxie.
- Contactez votre service municipal pour obtenir des informations sur la marche à suivre pourmettre l'appareil au rebut.
- Débranchez l'appareil de l'alimentation électrique.
- Coupelez cable d'alimentation au ras de l'appareil et mettez-le au rebut.
3.1 Instructions d'installation

Pour des informations complètes sur l'installation de l'appareil, reportez-vous à la notice d'installation fournie séparément.
4.DESCRIPTION DE L'APPAREIL
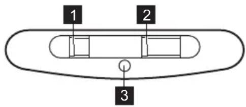
4.1 Vue d'ensemble du bandeau de commande

| Fonction Description | |
| 1 | Commutateur d'éclairage Pour allumer et éteindre la lumière. |
| 2 | Commutateur de vitesse duPour basculer entre les niveaux de vitesse du ventilateur.ventilateur |
| 3 | Voyant Indique si la hotte fonctionne. |
5. UTILISATION QUOTIDIENNE
5.1 Utilisation de la hotte
Vérifiez la vitesse recommandée dans le tableau ci-dessous.
| 1 | Lorsque vous faites réchauffer ou cuire des aliments avec des récipients couverts. |
| 2 | Lorsque vous cuisinez dans des récipients couverts sur plusieurs zones de cuisson ou brûleurs, frire doucement. |
| 3 | Lorsque vous faites bouillir et frire de grosses quantités d'aliments sans couvercle, cuire sur plus-sieurs zones de cuisson ou brûleurs. |
i
Nous vous recommendons de laisser la
hotte fonctionner pendant environ
15 minutes après la cuisson.
Pour utiliser la hotte :
Déplacez le curseur des vitesses du ventilateur sur l'une des vitesses. L'appareil se met en fonctionnement. Si nécessaire, modifie la vitesse en déplaçant le curseur.
L'éclairage la hotte fonctionne
indépendamment des autres fonctions de la hotte. Pour éclairer la surface de cuissonutilisez le commutateur
d'éclairage
PourmettreaI'arrêt l'appareil,deplaceze le curseur des vitesses du ventilateur sur la position 0.
6. ENTRETIEN ET NETTOYAGE
6.1 Remarques concernant le nettoyage
| Agent nettoyant | N'utilisez pas de détergents abrasifs ni de brosses. Nettoyez la surface de l'appareil avec un chiffon doux, de l'eau tiède et un détergent doux. |
| Après la cuisson, certaines parties de l'appareil peuvent être chaudes. Pour éviter les ta-ches, l'appareil doit refroidir et être séché avec un chiffon propre ou de l'essuie-tout. | |
| Nettoyez les taches avec un détergent doux. | |
| Maintenez la hotte propre. | Nettoyez l'appareil et les filtres àGRAISSSE tous les mois. Nettoyez soignement l'inté-rieur et les filtres àGRAISSSE pour-retirer laGRAISSSE. L'accumulation de GRAISSSE ou d'autres résidus peut provoquer un incendie. |
| Les filtres àGRAISSSE peuvent être lavés au lave-vaisselle. Le lave-vaisselle doit être réglié à basse température, sur cycle court. La décoloration du filtre àGRAISSSE n'a aucune incidence sur les performances de l'appareil. | |
| Filtre à charbon | Le temps de saturation du filtre à charbon varie en fonction du type de cuisson et la régu-larité du nettoyage du filtre àGRAISSSE. Le filtre à charbon actif n'est pas lavable, ne peut pas être régénéché et doit être remplace tous les 4 à 6 mois d'utilisation environ, ou plus fréquèment en cas d'utilisation particulièrement intensive. |
6.2 Nettoyage du filtré àGRAISSSE
Les filtres sont fixés à l'aide de pince et de pivots du côte opposé.
Pour nettoyer le filtré :
- Appuyez sur le levier de la pince de fixation du contrôle, sous la hotte.

-
Faites basculer doucement l'avant du filtrer vers le bas, puis tirez dessus. Repetez les deux premières etapes pour tous les filtres.
-
Nettoyez les filtrres à l'aide d'une éponge et d'un détergent non abrasif, ou au lavevaisselle.
i
Le lave-vaisselle doit etre regle a bassetempereature, sur cycle court. Ladecoloration du filtre a graisse n'aaucune incidence sur les performancesde I'appareil.
- Pour réinstaller le filtré, suivez les deux premières étapes dans l'ordre inverse. Repetez les étapes pour tous les filtres, si présents.
6.3 Remplacement du filtré à charbon

AVERTISSEMENT!
Le filtré à charbon n'est PAS lavable! Le filtré ne peut pas être régénérate!
Pour remplacer le filtré à charbon :
- Retirez les filtres àGRAISE de l'appareil.
Reportez-vous au paragraphe « Nettoyage du filtré àGRAISSÉ » de ce chapitre.
2. Tournez le filtrer vers la gauche (1) et tirez dessus (2).

Pour réinstaller le filtré, suivez les étapes dans l'ordre inverse.
Dans tous les cas, les filtres doivent etre remplacés au moins une fois tous les quatre mois.
6.4 Remplacement de l'ampoule

AVERTISSEMENT!
Risque de brûture ou d'électrocution!
Débranchez l'appareil de l'alimentation électricque avant toute opération de maintenance! Veillez à laisser l'ampoule refroidir avant de la toucher.

AVERTISSEMENT!
Risque de blessure! Utilisez des gants de protection pour replacer l'ampoule.
7. DÉPANNAGE

AVERTISSEMENT!
Reportez-vous aux chapités concernant la sécurité.
7.1 Que faire si...
Problème Cause possible Solution
| Vous ne pouvez pas allumer l'appa-reil. | L'appareil n'est pas connecté à une source d'alimentation électrique ou le branchement est incorrect. | Vérifiez que l'appareil est correctement branché à une source d'ali-mentation électrique. |

Risque d'endommagement de l'appareil! N'utilise pas d'outil à bord coupant!
Remplacez l'ampoule grillée en respectant les caractéristiques :
Puisance (W) 4
Prise E14
Tension (V) 220 - 240
Dimensions (mm) 37 × 100 (diametre x longueur)
Code ILCOS D (confor- DRBB/F-4-220-240
mément à la norme IEC E14-37/100
61231)

Pour remplaçer l'éclairage :
- Le diffuseur de l'ampoule dispose de deux encoches de chaque cote. Utilisez un outil en plastique non coupant. Retirez doucement le diffuseur de l'appareil.
- Remplacez l'ampoule.
- Installez le diffuseur de l'ampoule.
Problème Cause possible Solution
Vou ne pouvez pas allumer l'appa- Le fusible a disjoncte. Vérifiez que le fusible est bien la reil. cause de I'anomalie. Si les fusibles
L'éclairage ne fonctionne pas. L'éclairage est défectueux. Remplacez l'ampoule. Reportez-vous au chapitre « Entretien et nettoyage »
L'appareil n'absorbe pas assez les La vitesse du moteur n'est pas Modifiez la vitesse du moteur.
vapeurs. adaptee aux vapeurs emises.
8. EN MATIÈRE DE PROTECTION DE L'ENVIRONNEMENT
Recyclez les matériaux portant le symbole
Déposez les emballages dans les conteneurs prévus à cet effet. Contribuez à la protection de l'environnement et à votre sécurité, recyclez vos produits électriques etlectroniques. Ne jetez pas les apparèils
portant le symbole avec les ordures menagères. Emmenez un tel produit dans votre centre local de recyclage ou contactez vos services municipaux.
MISLIMO NA VAS
Mirè se vini né Electrolux.
Pn3nk oJIOBpeJe IJI rUweHa.
- O6paTnte ce onuTnHcKmOpraHnMa da 6ncTe ca3HaNkako Da npabUInHo odnojnte ypehajyOTnaI.
- NckbyyuTe yTuKaU Ka6Ja 3a HanajaHe ypehaja n3 MpeXHe yTuHnIe.
- InceuTe MpeKHN eJeKtpnHn Ka6n Ha MeCTy Koje je 6JIn3y ypehaja n OJIOxNtE ra.
3. INHCTAJIALJJA

YN03OPEHBe!
Iorneajte nornaBba o 6e36eHocn.
3.1 UnyTCTBO 3a Hnctanaunjy

3a notnyhe nHopmaunje O nHcTanaunjynpehaja norledaje noce6Hy Kbnxuzy 3a nHcTanaunjy.
4.ОПИС ПОНЗВОДА
4.1 Перлед Командне табл e

ФункцидаОпсс
1 Ipeknadaa 3a cBeTno Cnykna 3a yKbYuBaHe n NCKbYuBaHe cBeTna.
IpeKnua 3a 6p3nHy BeHTnna- CnyxN 3a np6aunBaHe n3MeHy HnBOa 6p3nHe BeHTnlaTopa. Topa
3 INHdkaTop O3NaHaBa da Jn acnpaTOp paN.
5. CBAKODHEBHA YIOTPEBA
5.1 Kopnshene be acnpapatopa
PpOBeRte npenOpyuHy 6p3nHy y cKnay ca cnedeHOM Ta6eJOM.
1 Ppuiikom 3arpeBaHa xaPHe, KyBaHa ca noknonbeHm nocyaama.
2 npnIKOM KyBaHa ca nokJonJIbeHm nocydaMa Ha BnSe 3oHa 3a KyBaHe nn BnSe rOpnoHka, npn naKJBnBOM npKeHy.
3 1 npnnkOM KyBaHa n npKeHa BeNkX KOINHnHa XpaHe 6e3 nOKIOnua, KyBaHa Ha BnWe 30Ha 3a KyBaHbe nnBnE rnpnoHnka.

Ipenopyyje ce da ocTaNte acnnpatop da paN np6JnxHo 15 MNHyTa HakoH KyBaHa.
3a ynpablahe paDom acnnpaTopa:
IpebaTe npeknau 6p3nHe BeHTnataTopa Ha jeHy od 6p3nHa.
Acnipatop nouHbe da paH. Io notpe6n npomeHte 6p3nHy nomepaHbem npeKndaua.

CBeTNo acnnpaTopa paNn He3aBnCHO od HBeROBnX OCTaIInx FyHKnJa. 3a OCBeTbBaBaHbe NOBpUHe 3a KyBaHbe
KOpNCTnTe npeKnDaay 3a CBeTJIO
Дабистпсьуниуpeнaj,nomepnte npekndauch6p3nHe BeHTnIaTopaHa noJoxaj 0.
6.HERA N YNWHHeBc
6.1 Hanomehe y Be3n ca uHneBem

CpeCTBa 3a YnHneHe
He KopnCTnTe a6pa3nBHe DeTepuHTe u YeTKe.
IobpunHy ypehajaochnte mekom KPNOM, TOnnOM BOOM 6JnaHm DeTePteHOM.
HaKoH KyBaHa, HeKn DeNoBn ypehaja Mory 6ntn Bpen. Da 6ncte cnpeynn nojaby fke Ka, ypehaj mopa da ce oxlaadn n ocuynn nchtom Kpnom nn npnnpnm ybpurnma.
Φneke Ounchite 6naHm DeTepeHTOM.

PeIOBHO YNCTnTe acnnpaTop
CbaKor Meceua Ounchte Te ypehaj n oHntepe 3a MaCT. PaKbNBO Ounchte Te yHyTpaUHbOcT n oHntepe 3a MaCT od Machohe. HaromnanaHa machoha nn dpyrO octaun Mory npoy3pOKOBATn noXap.
ФитepиЗмТМуДа ce nepу y Maшини 3a npahe nocyha.
Maunha 3a npahe cydoba mopa 6ntn noedeena Ha Hncky Temnepatpy n KpataK cnKlyc. FInTep 3a Machohe moke da npomeHn 6oJy, aHn To Hema yTucaja Ha yuHaK ype- haja.

Hm yIbem
Bpeme 3acnheBa yIbEHor fIInTepa Bapnpa y 3abNCHOCTNo BpCTe KyBaHa n peIOBHOcTn uHHeBa fInTepe 3a MacHoHe. fInTepe ca AKTNBHm yIbem He MoKe da ce nepe HHTn pereHepuSe I Mopa da ce 3ameHn OTnpNJiKe Ha CBaknx 4/6 Meceu paJa nn Yeehye Cnyajy INTEH3INBHe ynoTppe6e.
6.2 YnsheneΦnntepa 3a mact
Фиптетсу моHTиран поmoу cTERa n OCSrypaаHa cynpoTHoJ cTpaHn.
Да 6исте очирлн Фиntер:
- PnTnCHnTe pyKy CTeRe 3a MoHTaKy Ha nHaHeNy FInItepa IcNoI acnnpaTopa.

2.БлароHarnte npedи DeoФntepa HANOJIe,a3aTIM NOBYNTe. IHOHHTe npBa Dba Kopaka 3a CBEФnttepe.
- OuInTe ΦnItepe KopncTeH cyHep n Hea6pa3nBHe DeTepueHTe IIN y MaunHn 3a cyDoBe.

Maunha 3a npahe cydoBa Mopa 6ntu noDeWeHa Ha Hncky Tempeatpy n KpataK uKnyc. Phntep 3a Machohe MOxke da npomeHb 6oJy, aN To Hema yTucaja Ha yUnhak ypehaja.
4.ДабистeВраТИнФиNTepHaMeCTO, cIeДИTe IpBaДBa KОРаKa OБрHyTUM peДOCJIeДOM.
POnHOBInTe KOpake 3a CBe QnItepe aKO je To Moryhne.
6.3 3aMeHa fHJItepa ca aKTHBHM yrJbem

YNO3OPEHBe!
Фиntep ca akTubHm yIbem HNJEMoryhe npaTu! Obaj Фиntep He moxe da ce pereHepuwe!
Notice-Facile