LFG335S - Liesituuletin ELECTROLUX - Ilmainen käyttöohje ja opas
Löydä laitteen käyttöohje ilmaiseksi LFG335S ELECTROLUX PDF-muodossa.
Lataa ohjeet laitteellesi Liesituuletin PDF-muodossa ilmaiseksi! Löydä käyttöohjeesi LFG335S - ELECTROLUX ja ota elektroninen laitteesi takaisin hallintaan. Tällä sivulla julkaistaan kaikki laitteidesi käyttöön tarvittavat asiakirjat. LFG335S merkiltä ELECTROLUX.
KÄYTTÖOHJE LFG335S ELECTROLUX
FI Kayttoohje | Liesituuletin 70
1.1 Laste ja haavatavate inimesto turvalisus
Lambumis- voi vigastusoht!

Hoidke ohupuhasti puhtana
Noudepesumasin peab olema seatud madalale temperatuurile ja luhikesele tsuklile. Rasvafilter voib varvi muuta, kuid see ei mojuta seadme toimivust.
Noudepesumasin peab olema seatud madalale temperatuurile ja luhikesele tsuklile. Rasvafilter voib varvi muuta, kuid see ei mojuta seadme toimivust.
Kiitos, kun valitsit Electrolux-laitteen. Olet valinnut tuotteen, joka perustuu vuosikymmenien aikana hankittuun kokemukseen ja innovaation. Kekseliäs ja tyylikas laite, joka on suunniteltu sinua varten. Laitetta käytäessä voit olla aina varma erinomaisista tuloksista.
Tervetuloa Electroluxiin.
Vieraile verkkosivullamme:

Saat käytöön liittyvä neuvoja, esitteita, vianmaäritysohjeita sekä huolto- ja korjausohjeita:
www.electrolux.com/support
Rekisteroi tuotteesi saadaksesi parempaa huoltoa:
www.registerelectrolux.com


Osta laitteeseesi lisavarusteita, kulutustuotteita ja alkuperaisiaraosia:
www.electrolux.com/shop
ASIAKASPALVELU
Käytä aina alkuperäisia varaosia.
Pidä seuraavat tiedot saatavilla otaessasi yhteyttä valtuutettuun huoltolikkeeseemme:
Malli, PNC-tuotenumbero, sarjanumero.
Tiedot loytyvat arvokilvesta.

Varoitus / Varotoimi- ja turvallisuustietoja

Yleistietoa ja vinkkejä

Ympäristönsuojelutietoja
Oikeus muutokiin pidatetaaan.
SISÄLTÖ
1.TURVALLISUUSTIEDOT. 70
2.TURVALLISUUSOHJEET. 73
3.ASENNUS 74
4.TUOTEKUVAUS. 74
5.PAIVITTAINEN KAYTTO 74
6.HOITO JA PUHDISTUS. 75
7. VIANMAARITYS 77
8. YMPARISTONSUOJELU 77
1. TURVALLISUUSTIEDOT
Lue laitteen mukana toimitetut ohjeet ennen laitteen asennusta ja käyttoa. Valmistaja ei ota vastuuta henkilövahingoista tai vahingoista, jotka aiheutuvat virheellisestä asennuksesta tai käytostä. Säilytä ohjeita aina
varmassa ja helppopääsyisessä paikassa tulevia käytökertoja varten.
1.1 Lasten ja taitamattomien henkilöiden turvallisuus
- 8-vuotiaat ja sitä vanhemmat lapset sekä henkilöt, joilla on fyssisia, aisteihin liittyvä tai henkisia rajoitteita tai puutteellinen kokemus tai tuntemus, voivat käyttaa tätä laitetta vain, jos heitä valvotaan tai ohjataan laitteen turvallisessa käytössä ja jos he ymmärävat käyttoön liittyväaarat. Tuote on pidettävä alle 8-vuotiaiden lasten ja erittäin laajoista ja monimutkaisista toiminnallisista rajoitteista kärsivien henkilöiden ulottumattomissa, elleiheitä valvota jatkuvasti.
- Lapsia on valvottava, etteivat he ryhdy leikkimään laitteella.
- Kaikki pakkaukset tulee pitäälasten ulottumattomissa ja havittäa asianmukaisesti.
- Pidä lapset ja lemmikkieläimet.POIS laitteen lahettyviltä sen ollessa toiminnassa.
- Lapset eivat saa puhdistaa laitetta tai suorittaa sihen kohdistuvia kayttajän huoltotoimenpiteita ilman valvontaa.
1.2 Yleinen turvallisus
- Tämä laite on tarkoitetu kotitalouskäyttoön keittotasojen, liesien ja vastaavien ruoanlaittolaitteiden paällä.
- Tämä laite on tarkoitetti yhden kotitalouden käyttoön sisätiloissa.
- Tätä laitetta voidaan käyttaa toimistoissa, hotellihuoneissa, aamiaismajoituspaikoissa, maatilamajoituspaikoissa ja muissa samantyyppisissä majoitustiloissa, joissa kyseinen käytto ei ylitä (keskimääräisia) kotitalouskäytön tasoja.
- Irrota pistoke pistorasiasta ennen laitteen huoltoa.
HUOMIO: Laitteen kosketettavissa olevat osat voivat kuumentua, kun sitä käytetaan ruoanlaittolaitteiden kanssa. - Käytä ainoastaan laitteen mukana toimitetuja kiinnitysruuveja. Jos ne eivät kuulu pakkaukseen, käytä asennusohjeissa suositeltuja ruuveja. Laite on asennettava
turvallseen ja sopivaan paikkaan, joka tayttaa asennusvaatimukset.
- VAROITUS: Mikäli ruuveja tai kiinnityslaitetta ei asenneta näden ohjeiden mukaisesti, olemassa on sahköiskujen vaara.
- Laitteen kiinnityksessä ei saa käyttaa liimaa.
- Jatā pannujen alla olevan keittotason pinnan ja laitteen alaosan valiin vahintaan 65 cm tilaa, ellei muuta mainita laitteen tai keittotason asennusohjeissa.
- Ilmanpoistojärestelmän tulee olla paikallisten maäräyksien mukainen.
- Varmista, etta huoneen ilmanvaihto on hyvä. Muiden kaasulla tai polttoaineilla toimivien laitteiden tai avotulien kehittämät höyryt tai savu eivat saa päästä tilaan ilmastointikanavien kautta.
- Varmista, ettei tuuletusaukoissa ole tukoksia ja ettei laitteen keräämäilmaa syötetä muiden laitteiden savun- ja höyrynpoistokanaviin (keskusuämitysjärjestelmät, termosifonit, vedenlämmittimet, jne.).
- Kun laite toimii muiden liaitteiden kanssa, huoneen alipaine saa olla korkeintaan 0,04 mbar.
- Varmista, ettei virtajohto vaurioidu. Ota yhteyttä valtuutettuun huoltolikkeeseemme tai sahköasentajaan vaurioituneen virtajohdon vaihtamiseksi.
- Jos laite on liitety suoraan sahkoverkoon, sahköjärestelmään on asennettava eristyslaite, joka mahdollistaa virran katkaisisen kaikista laitteen navoista. Täydellinen virran katkaisu on taattava ylijänniteluokan III määrityksien mukaisesti. Poiskytkentävälineet on sisällytettävä kiinteään johdotukseen johdotussäntöjä noudattaen.
- Älä liekitä laitteen alla.
- Ei saa käyttaa vaarallisten tai rajahtavien materiaalien ja hóyryjen sammuttamiseen.
-
Puhdista laite saannöllisesti pehmeällä liinalla, jotta pintamateriaali pyszisi hyväkuntoisena.
-
Älä käytä höyrypesuria, vesisuihkua, voimakkaita hankaavia puhdistusaineita tai teräviä metallikaapimia laitteen pinnan puhdistamiseen. Käytä ainoastaan neutraaleja pesuaineita.
- Puhdista rasvasuodattimet saannöllisesti (vähintään 2 kuukauden välein) ja poista rasvajämät laitteesta tulipalovaaran välttämiseksi.
- Puhdista laitteen sisäosa liinalla.
2. TURVALLISUUSOHJEET
2.1 Asennus

VAROITUS!
Virheellinen käytö voi aiheuttaa
henkilövahinkoja, sähköiskuja, tulipaloja, palovammoja tai laitteen vaurioitumisen.
Laitteen asennuksen ja liitannat saa suorittaa vain ammattitaitoinen henkilo.
Vaurioitunutta laitetta ei saa asentaa tai kayttä.
Noudata koneen mukana toimitetuja asennusohjeita.
- Siirra laitetta aina varoen, sillä se on raskas. Käytä aina suojakäsineita ja suojaavia jalkineita.
- Poista kaikki pakkausmaterialialit, merkit ja suojakalvot ennen laitteen asentamista.
- Ilmanpoistoa ei saa asentaa seinan sisään, elleiseinansyvennysta ole tarkoitettu tahan tarkoitukseen.
2.2 Sähköliitäntä

VAROITUS!
Tulipalo- ja sahköiskuvaara.
Kaikki sahkokytkennat tulee jattaa asiantuntevan sahkoadentajan vastuulle.
- Varmista, etta arvokilvessä olevat parametrit ovat verkkovirtalähteen sahkoarvojen mukaisia.
- Jos symbolism ( ) role merkitty arvokilpeen, laite on maadoitettava.
- Kytke pistoke maadoitettuun pistorasiaan.
- Varo, ettei virtajohto takerru kiinni mihinkaan.
-
Alä käytä jakorasioita tai jatkojohtoja.
-
Jos pistoke on lóysästi kiinni virtajohdossa, alä kiinnitā sitā pistorasiaan.
- Äla vedä virtajohdosta pistoketta irrotaessasi. Vedä aina pistokkeesta.
Jannitteenaalaisen ja eristettyjen osien suojat tulee asentaa niin, ettei niiden irrotus onnistu ilman tyokaluja. - Varmista,etta laite on asennettu oikein. Löysät tai vaäränlaiset virtajohdot voivat aiheuttaa liittimen ylikuumenemisen.
- Liitta laite asennuksen jälkeen. Varmista, etta verkkovirtakytkentä on ulottuvilla laitteen asennuksen jälkeen.
2.3 Valitse

VAROITUS!
Henkilovahinkojen, palovammojen ja sahköiskujen vaara.
Tämä laite on tarkoitetu ainoastaan ruoanlaittoon. Laitetta ei saa käyttaa muuhun tarkoitukseen.
- Älä muuta laitteen teknisä ominaisuksia.
- Alä käytä laitetta, jos katesi ovat marät tai laitteen ollessa kosketuksessa veteen.
- Käytä vain laitteen mukana toimitettuja varusteita.
- Pidä liekit tai kuumat esineet kaukana rasvoista ja öljyistä ruoanvalmistuksen ja paistamisen aikana.
- Älä käytä suojaamattomia sahkögrillejä.
- Alä käytä laitetta säilytystasona.
- Alä katso suoraan laitteen valoon suurrennuslaseilla, kiikareilla tai vastaavilla optisilla laitteilla.
- Jos laite toimii muiden laitteiden kanssa, kehittynyt enimmaispaine ei saa ylittaa 4 Pa:ta (4 x 10-5 baaria).
2.4 Huolto
Kun laite on korjattava, ota yhteyttvaultuutettuun huoltopalveluun. Kaytvain alkuperaisiaraosa.
- Lisatietoa tämän tuotteen sisällä olevista lampuista sekä erikseen myytävistä varalampuista: Kyseiset lamput on suunniteltu kestämän kodinkoneissa vaativia fyphasisiä olosuheita (esim. lampötila, tärina, kosteus) tai ne antavat
tietoa laitteen toimintatilasta. Niitta ei ole tarkoitettu muihin kayttotarkoituksiin eivatka ne sovi huoneiden valaisemiseen.
2.5 Havittäminen
VAROITUS!
Henkilovahinko- tai tukehtumisvaara.
Kysy tietoja laitteen oikeaoppisesta havittamisestä paikalliselta viranomaiselta.
- Irrota pistoke pistorasiasta.
Leikkaa virtajohto laitteen laheltä ja havita se.
3.ASENNUS

VAROITUS!
Lue turvallisuutta koskevat luvut.
3.1 Asennusohjeet

Katso kaikki laitteen asennusta koskevat tiedot erillisestä asennusoppaasta.
4. TUOTEKUVAUS
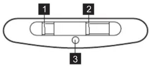
4.1 Ohjauspaneelin yleisnäkymä

Toiminto Kuvaus

Valokatkaisija Valon kytkeminen pälle ja pois pälta.

Puhaltimen nopeuskatkaisija Puhaltimen nopeustasosta toiselle siirtyminen.

Merkkivalo Osoittaa, onko liesituuletin kännissä.
5. PÄIVITTÄINEN KÄYTTÖ
5.1 Liesituulettimen käytto
Tarkista suositeltu nopeus alla olevasta taulukosta.
1 Ruokien lammitys, ruoanvalmistus kannellisilla keittoastioilla.
2 Ruoanvalmistus kannellisilla keittoastioilla useammalla keittoalueella tai polittimella, kevyt paistaminen.
Keittäminen ja suurien ruokamäärien paistaminen ilman kanta, ruoanvalmistus useammalla keittoalueella tai politimella.

Liesituuletin on suositeltavaa jattaa toimintaan noin 15 minuutin ajaksi ruoanvalmistuksen jälkeen.
Liesituulettimen käytäminen:
Siirra moottorin nopeuskytkin jonkin nopeuden kohdalle.
Liesituuletin käynnistyy. Muuta nopeutta
tarvittaessa säätämällä kytkintä.

Liesituulettimen valo toimii itsenäisesti muihin liesituulettimen toimintoihin nahden. Kun haluat valaista keittoalueen,
käytä valokytkinta

Sammuta laite siirtamalla puhaltimen nopeuskytkin asentoon 0.
6. HOITO JA PUHDISTUS
6.1 Puhdistukseen liittyviä huomautuksia

Puhdistusaineet
Alä käytä hankaavia pesuaineita tai harjoja.
Puhdista laitteen pinnat lampimallà vedellä ja miedolla pesuaineella kayttäen pehmeaa puhdistuslinnaa.

Pidä liesituuletin puhtaana.
Jotkin laitteen osat voivat kuumentua käytön aikana. Anna laitteen jäahtyä ja kuivaa se puhtaalla liinalla tai paperipyyhkeillā tahrrojen välttamiseksi.
Poista tahrat miedolla pesuaineella.

Hillisuodatin
Puhdista laite ja rasvasuodattimet kuukauden valein. Poista rasva huolellisesti sisäosasta ja rasvasuodattimista. Rasvan tai muiden jäamien kertyminen saattaa aiheuttta tulipalon.
Rasvasuodattimet voidaan pestä astianpesukoneessa.
Pese astianpesukoneen alhaisella lamptilalla ja lyhyell' ohjelmalla. Rasvasuodattimessa voi esiinty avarimuutoksia, mutta se ei vaikuta laitteen suorituskykyn.
Hiilisuodattimen kyllastymisaika vaihtelee ruoanlaitotavan ja rasvasuodattimen puhdistustiheyden mukaan. Aktivoitunutta hiilisuodatinta ei voi pesta tai regeneroida, se tulee vaihtaa noin 4-6 kuukauden kayton jälkeen tai sitä tiheammin erityisen vaativassa kaytossa.
6.2 Rasvasuodattimen puhdistaminen
Suodattimet tulee asentaa pidikkeiden avulla niin, etta tapit ovat vastakkaisella puolella.
Puhdistaaksesi suodattimen
- Paina asennuspidikkeen kahvaa liesituulettimen alaosassa olevassa suodatinpaneelissa.

- Kallista suodattimen etuosaa hiukan alaspain ja veda sen jalkeen.
Toista kaksi ensimmäistä vaihetta jokaisen suodattimen kohdalla. - Puhdista suodattimet sienellä kayttäen hankaamattomia pesuaineita tai pese ne astianpesukoneessa.
i
Pese astianpesukoneen alhaisella lampotilalla ja lyhyell' ohjelmalla. Rasvasuodattimessa voi esinty varimuutoksia, mutta se ei vaikuta laitteen suorituskykyn.
- Asenna suodattimet takaisin noudattamalla kahden ensimmäisen vaiheen ohjeita painvastaisessa järestyksessä.
Toista vaiheet tarvittaessa kaikkien suodattimien kohdalla.
6.3 Hilisuoaddtimen

VAROITUS!
Hiilisuodatinta El VOI pestà! Suodatinta ei voi regeneroida!
Hilisuodattimen vaihtaminen:
- Irrota rasvasuodattimet laitteesta.
Lue ohjeet taman luvun osiosta "Rasvasuodattimen puhdistaminen".
2. Kierra suodatinta vastapäivän (1) ja vedä sen jälkeen (2).

Asenna suodattimet takaisin noudattamalla ohjeita painvastaisessa järestyksessä.
Suodattimet on joka tapauksssva vaihdettava vahintaan neljan kuukauden valein.
6.4 Lampun vaihtaminen

VAROITUS!
Palovammojen ja sahköiskujen vaara!
Kytke laite irti sahköverkosta ennen
käytöä! Varmista ennen lamppuun
koskettamista, etta se on jähtynyt.

VAROITUS!
Henkilovahingon vaara! Kaytä suojakäsinita lampun vaihtamisen aikana.

Laite voi muutoin vauroitua. Alä kayta terävareunaisia valineita!
Vaihda palanut lamppu määritysten mukaisesti:
Teho (W) 4
Pistorasia E14
Jannite (V) 220 - 240
Mitat (mm) 37 × 100 (halkaisija x pi-tuus)
ILCOS D -koodi (standar- DRBB/F-4-220-240-din IEC 61231 mukaises-E14-37/100 ti)

Lampun vaihtaminen:
-
Lampun suojuksen molemmilla puolilla on kaksi syvennysta. Kayta tasaista ja tylsa a muovivalinettä. Irrota lampun suojus varoen laitteesta.
-
Vaihda lamppu.
-
Asenna lampun suojus takaisin paikalleen.
7. VIANMAÄRITYS

VAROITUS!
Lue turvallisuutta koskevat luvut.
7.1 Kayttohairiot
Ongelma Mahdollinen syy Korjaustoimenpide
| Laite ei kytkeydy toimintaan. Laitetta ei ole kytketty sähköverk-koon tai se on liitetty sähköverknoon virheellisesti. | Tarkista, onko laite kytketty oikein sähköverknoon. | |
| Laite ei kytkeydy toimintaan. Sulake on palanut. Tarkista, onko toimintahäiriön syynä | sulake. Jos sulake palaa aina uudel-leen, känny sähköalan ammattilai- Sen puoleen. | |
| Valo ei syty. Lamppu on palanut. Vaihda lamppu. Lue ohjeet kohdas- | ta "Hoito ja puhistus". | |
| Laite ei poista höryä riittävän te-hokkaasti. | Moottorin nopeus on riittämätön muodostuvaan höryyn nähden. | Säädä moottorin nopeutta. |
8. YMPÄRISTÖNSUOJELU
Kierrata materialit, jotka on merkitty merkillä
Kierrata pakkaus laittamalla se asianmukaiseen kierratysastiaan. Suojele ymparistoa ja ihmisten terveyttäkierrattamalla sahkö- ja elektronikkaromut.
Alä havita merkillä Nerkittyjä kodinkoneita kotitalousjätteen mukana. Palauta tuote paikalliseen kierratyskesukseen tai ota yhteyttä paikalliseen viranomaiseen.
Notice-Facile