LFG335S - Emhætte ELECTROLUX - Gratis brugsanvisning og manual
Find enhedens vejledning gratis LFG335S ELECTROLUX i PDF-format.
Download vejledningen til din Emhætte i PDF-format gratis! Find din vejledning LFG335S - ELECTROLUX og tag din elektroniske enhed tilbage i hånden. På denne side er alle dokumenter nødvendige for brugen af din enhed offentliggjort. LFG335S af mærket ELECTROLUX.
BRUGSANVISNING LFG335S ELECTROLUX
Tak fordi du kobe et Electrolux-apparat. Du har valgt et produit, som giver dig artiers professionnel erfaring og innovation. Genialt og elegant. Det er designet med dig i tankerne. Suaanse hvornar du bruger den, kan du vare sikker pa, at du farnastiske resultater hver gang.
Velkommen til Electrolux.
Besøg vores hjemmeside for at:

Få rådgivning, brochurer, fejlfinding, service- og reparationsinformation: www.electrolux.com/support

Registrar dit produit for at fà bedre service: www.registerelectrolux.com

Kob tilbehør, forbrugsvarer og originale reservedele til dit apparat: www.electrolux.com/shop
KUNDEPLEJE OG SERVICE
Brug altid originale reservedele.
Sorg for at have folgende data klar, nár du kontakter vores autoriserede servicecenter:
Model, PNC, serienummer.
Oplysningerne vindes pátypeskiltet.
Advarsel/forsigtig-sikkerhedsanvisninger
i Generelle oplysninger og rad
Miljooplysninger
Ret til ændringer.uden varsel forbeholds.
INDHOLDSFORTEGNELSE
- OM SIKKERHED 19
- SIKKERHEDSANVISNINGER 22
- INSTALLATION 23
4.PRODUKTBESKRIVELSE 23
5.DAGLIG BRUG 24 - VEDLIGEHOLDELSOG RENGORGING 24
- FEJLFINDING 26
8.MILJHENSYN. 26
1. OM SIKKERHED
Læs brugsanvisningen grundigt, før apparatet installereres og tages i brig. Producenten pâtager sig intet ansvar for eventuelle skader, der er resultatet af forkert installation aller brig. Opbevar altid brugsanvisingen på et sikkert og tilgängeligt sted til senere opslag.
1.1 Sikkerhed for børn og särbare personer
- Apparatet på kun bruges af børn fra 8år og opefter samt af personer med nedsat fysisk, sensorisk eller psykisk Funktionsevne, eller som mangler den nødvendige erfaring aller viden, hvis de er under opsyn aller er blevet instrueret i at bruge apparatet på en sikker@made samt forstår de farer, det indebærer. Børn under 8år og personer med omfattende og komplekst handicap skal holdes på afstand af apparatet, medmindre de overvåges konstant.
- Børn skal holds under opsyn for at sikre, at de/DDleger med apparatet.
- Opbevar al emballage utilgengeligt for børn, og bortskaf det korrekt.
- LadCREASEbRonoghusdyrkommemtætpa apparatuset,mensdet eribrug.
- Børn pågressive rengöring og vedligeholdelse på produitet ut den opsyn.
1.2 General sikkerhed
- Dette apparat er beregnet til husholdningsbrug over kogeplader, komfurer og lignende madlavningsanordninger.
- Dette apparat er beregnet til indendørs husholdningsbrug.
- Dette apparat kan bruges på kontorer, hotelværelser, bed & breakfast-væreIser, stue- og gæstehuse og,anden lignende indkvartering,hvor en sādan brug ikke overstiger (gennemsnitlig)brugsniveauer i hjemmet.
Kobl enheden fra strømforsyningen inden rengøring og vedligeholdelse. - FORSIGTIG: Tilgængelige dele kan blive meget varme under brugen med madtilberedningsudstyr.
-
Brug kun skruerne, der følger med apparatet. Følger der/DD er, bruges de skruerne, der anbefales i installationsvejledningen. Installer er apparat et sikkert og velegnet sted, der opfylder installationskrav.
-
ADVARSEL: Manglende installation af skruerne eller fastgorelsesenheden i henhold tilppe instruktioner kan medføre elektriske farer.
- Brug/DD: i.
- Minimumsafstanden mellem kogepladen, hvor gryderne og panderne er, og den nederste del af apparatet skal vare mindst 65~cm , medmindre andet er angivet i installationsvejledningen til apparatet eller komfuret.
- Luftudledningen.skal overholde de lokale myndigheders regler.
- Sørg for god luftventilation i lokalet, hvor apparatet er installereret for at undgå tilbageströmning af gasser ind i lokalet fra apparater, der brænder gas eller andre brændstoffer, herunder Åbne brande.
- Sørg for, at ventilationsåbningerne ikke er blokerede, og at luften indsamlet af apparatet ikke Transporteres til en kanal, der anwendes til udstødning af røg og damp fra andre apparater (centralvarmeanlæg, termosifoner, vandvarmere osv.).
- Når apparatet er aktivt sammen med andre apparater,帽子det maksimale vakuum i rummet ikke overstige 0,04 mbar.
- Pas på du ikke beskadiger netkabytet. Kontakt vores autorisere de servicecenter eller en elektriker, hvis en beskadiget ledning skal udskiftes.
- Hvis apparatet er tilsluttet direkte til strømforsyningen, skalden elektriske installation ære forsynet med en isoleringsenhed, der gør det muligt at afbryde apparatet fra strømmen på alle poler. Fuldstændig frakobling skal overholde betingelserne i overspændingskategori III. Middel til afbrydelse skal ære indbygget i den faste ledningsføring i overensstemmelse med reglerne for ledningsføring.
- Undgå at flambere under apparatet.
- Må ikke anwendes til udslip af farlige eller eksplosive materialer og dampe.
-
Rengør jegnligt apparatet med en blød klud for at forbindre forringelse af overfladematerialet.
-
Brug/DDamprens, vandspray, harde slibemidler ellerskarpe metalskraber til at rengore apparatets overflade. Brug kun neutralt rengoringsmiddel.
- Rengør fedtfiltre regelmæssigt (mindst hvr,anden maned) og fjern fedtaflejringer fra apparatet for at forbindre brandfare.
- Brug en klud til at rengore apparatet indvendigt.
2. SIKKERHEDSANVISNINGER
2.1 Installation

ADVARSELI!
Risiko for personskade, elektrisk stød, brand, forbrændinger aller skade på apparatet.
- Apparatet mA kun installereres og tilsluttes af en sagkyndig.
- Undlad at installere eller bruge et beskadiget apparat.
Folg installationsvejledningen, der folger med apparatet.
Vær altid forsigtig, nár du flytter apparatet, da det er tungt. Brug altid sikkerhedshandsker og lukket fodtoj.
Før installation af apparatet fjernes al emballage, mærkning og beskyttelsesefilm. - Du ma ikke bortlede udblænsningsluften gennem en vægkanel, medmirre den er designet til det formal.
2.2 Tilslutning, el

ADVARSELI!
Risiko for brand og elektrisk stød.
- Alle elektriske tilslutninger skal udføres af en kvalificeret elektriker.
- Sørg for, at parametrende på typeskiltet er kompatibile med nettilsluttingens elektriske mærkeværddier.
Hvis symbolet ()ke skrives pa mærkepladen, kal apparatet jordes.
- Brug altid en korrekt monteret lovlig stikkontakt.
- Netledningerne må ikke vareviklet sammen.
- Brug ikke multistikadaptere og forlængerledninger.
- Hvis stikkontakten er Iøs, ma du ikke sætte netstikket i.
- Undgå at slukke for apparatet ved at trække i netledningen. Tag altid delve nettstikket ud af kontakten.
- Beskyttelsen mod elektrisk stød fra strømførende og isolerede dele skal fastgores, sö den ikke kan fjernes,uden værktøj.
- Sorg for, at apparatuset installeres korrekt. Lose og up professionelt udforte stikforbindelser kan medfore, at klemmen bliver overophedet.
- Tilslut apparatet i slutningen af installationen. Sorg for, at der er adgang til elstikket after installationen.
2.3 Brug

ADVARSEL!
Risiko for personskade, forbstrandinger og elektrisk stød.
- Dette apparat mA kun anvendes til tilberedning af fodevarer. Brug ikke apparatet til andet.
- Apparatets specificationer må ikkeændres.
- Betjen ikke apparatet med våde hænder, eller narr det har kontakt med vand.
- Brug kun det tilbehør, der følger med kogepladen.
- Hold flammer eller opvarmede genstandevæk fra fedstoffer og olie, när du stege og koger.
-
Brug/DD: enutildaekket elektrisk grill.
-
Brug ikke apparatet som frasætningsplads.
- Brug ikke forstørrelsesglas, kikkert eller lignende optiske encheder til at se direkte på apparatets belysning.
Hvis apparatet fungerer med andre apparater, ma det maksimal udvikledetryk ikke overstige 4 Pa (4 x 10-5 bar).
2.4 Service
- Kontakt det autoriserede servicecenter for at fä repareret apparatet. Brug kun originale reservedele.
- Vedrørende lampe(rne) i dette produit og reservationslamper, der sælges separat: Disse lamper er beregnet til at modsta ekstreme fysiske forhold i husholdningsapparater, sösom
temperatur, vibration, fegt, erler er beregnet til at signalere information om apparatets driftsstatus. De er ikke beregnet til at blive brugt i andre apparater, og de er ikke velegnede til belysning af rum.
2.5 Bortskaffelse

ADVARSEL!
Risiko for personskade eller kvænlning.
- Kontakt din genbrugsplads ang. oplysninger om, hvordanprodukter bortskaffes korrekt.
- Tag stikket ud af kontakten.
- Klip netledningen af tæt ved apparatet og bortskaf den.
3. INSTALLATION

ADVARSEL!
Se kapitlerne om sikkerhed.
3.1 Installationsvejledning

Se det medfolgende installationshæfte for at fãmere at vide om apparatets installation.
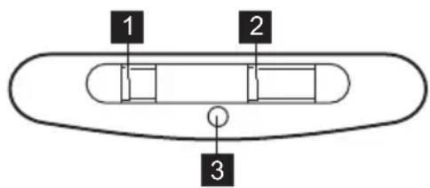
4. PRODUKTBESKRIVELSE
4.1 Oversigt over betjeningspanel

Funktion Beskrivelse
1 Lysafbryder Til at taende og slukke lyset.
2 Kontakt til blaeserhastighed Skifter blaeserhastighed.
3 Kontrollampe Angiver, om emhaeten er taendt.
5. DAGLIG BRUG
5.1 Brug af emhæten
Kontroller den anbefalede hastighed i henhold til nedenstaende tabel.
| 1 | Opvarmning af mad og tilberedning med gryder med låg på. |
| 2 | Tilberedning af mad i gryder med låg på på flere kogezoner eller blus, let stegning. |
| 3 | Kogning og stegning af store mængder mad,uden låg på, madtilberedning på flere kogezoner el-ler blus. |
6. VEDLIGEHOLDELSOG RENGORGING
6.1 Bemærkninger om rengøring
| Rengøringsmidler | Brug ikke sibende rengøringsmidler og børster. Rengør apparatets overflade med en blød klud opvredet i varmt vand tilsat et rengørings-middel. |
| Efter madlavning kan nogle dele af apparatet blive varmt. For at undgå pletter skal appa-ratet køles ned og tørres med ren klud erperhåndklæde. | |
| Rengør pletter med et mildt rengøringsmiddel. | |
| Hold emhætten ren | Rengør apparatet og fedtfiltrtre hvemåned. Rengør andersiden og fedtfiltrtrene omhyggeligt for fedt. Ophobning af fedt eller andre rester kan forårsage brand. |
| Fedtfiltrtre kan vaskes i en opvaskemaskine. Opvaskemaskinen skal nære indstillet til lave temperaturer og en kort cyklus. Fedtfilteret kan blive misfarvet, men det har ingen indvirkning på filterets ydeevene. |

Kulfilterets holdbarhed afhænger af typen af madlavning, og hvor oftte fedtfiltre rengøres. Filteret med aktiv kul er/DDke vaskbart, kan/DDke regenereres og skal udskiftes cirka hver 4./6. maned, eller hyppigere til saerlig kraftig anvendelse.
6.2 Rengøring af fedtfilteret
Filtrene er monteret med clips og stifter i den modsatte side.
Sádan rengøres filteret:
- Tryk på grebet til monteringsclipsen på filterpanelet under emhætten.

- Vip forsiden af filteret let nedad, og træk. Gentag de forste to trin pa alle filtrene.
- Rengør filtrene med en svamp med ikkeskurrende rengøringsmidler erler i opvaskemaskinen.
i
Opvaskemaskinen skal vare indstillet til lave temperaturer og en kort cyklus. Fedtfilteret kan blive misfarvet, men det har ingen indvirkning pa filterets ydeevne.
- Filtrene moneresigen, ved at man folger de forste to trin i omvendt rækkefolge. Gentag dette pa alle de filtrre, hvor det er relevant.
6.3 Udskiftning af kulfilteret

ADVARSEL!
Kulfilteret kan IKKE vaskes! Filteret kan\ ikke genbruges.
Udskifting af kulfilter:
- Fjern fedtfiltrene fra apparatet. Se afsnittet "Rengoring af fedtfilteret". 2. Drej filteret mod uret (1) og træk (2).

Filtrene monteres igen ved at man folger trinnene i omvendt rækkefolge.
Det er under alle omstændigheder nødvendigt at udskifte filtrene mindst haver fjerde maned.
6.4 Udskifting af paaren

ADVARSEL!
Risiko for forbstranding og elektrisk stød! Afbryd apparatet fra strommen ffor betjening! Sorg for paeren er kolet af, for du ror ved den.

ADVARSEL!
Fare for personskade! Brug beskyttelseshandsker og udskift lampen.

Risiko for beskadigelse af apparatet! Brug ikke værktøj med skarpe kanter!
Udskift den brændte paere ifolge specifikationerne:
Effekt (W) 4
Stikkontakt E14
Spending (V) 220 - 240
Sádan udskiftes lampen:
- Lampens skærm har to huller på hverside. Brug et fladt plastikværktøj, der ikke er skarpt. Tag forsigtigt lampens skærm af apparatet.
- Udskift paeren.
- Monter lampedaekslet.
7. FEJLFINDING
ADVARSEL!
Se kapitlerne om sikkerhed.
7.1 Hvis noget går galt
Problem Mulige Årsager Løsning
| Du kan/DDke tænde for apparatet. Apparatet er/DDke sluttet til en strøm-forsyning, eller det er forkert tilslut-et. | Kontroller, om apparatet er tilsluttet korrekt til strømforsyningen. | |
| Du kan/DDke tænde for apparatet. Sikringen er spreunget. Se after, om fejlen skyldes en defekt sikring. Kontakt en kvaliferet instal-lator, hvis sikringen.springer flere gange i træk. | ||
| Pæreren/DDke lyser. Pæreren er defekt. Udskift pæreren. Se under "Vedlige-holdelse og rengøring". | ||
| Apparatet absorberer/DDke nok damp. | Motorhastigheden er/DDke/DDj nok i forhold til dampen. | Shift motorens hastighed. |
8. MILJØHENSYN
Genbrug materialer med symbolet Anbring emballagematerialet i passende beholdere til genbrug. Hjelp med at beskyttemiljoet og menseskelig sundhed samt at genbruge affald af elektriske og elektroniske apparater. Kasser icke apparater, der er
mærket med symbolet sammen med husholdningsaffaldet. Lever produitet tilbage til din lokale genbrugsplads aller Kontakt dinCOMMUNE.
WIR DENKEN AN SIE
Takk for at du har kjopt et produit fra Electrolux. Du har valgt et produit som bringer flere tiär med erfaring og innovasjon med seg. Genialt og stilig, og det er designet med tanke pa deg. Sā uansett när du bruker det, kan du vare trygg pà at du fär gode resultater hver gang.
Velkommen til Electrolux.
Gäinnpànettsidenvarfora:

- Installeriling mA kun foretas av en kvalifisert person.
- Ikke monter eller bruk et skadet produkt.
- Følg installasjonsanvisingene som følger med produitet.
Vær alltid forsiktig nár du flytter produit Det er tungt. Bruk alltid vernebriller og lukket fottøy.
För du installerer produit mä du fjerne all emballasje, merking og beskyttelsesfilm. - Led参加会议的股东在会议开始前,要进行登记。
2.2 Elektrisk tilkobling

ADVARSEL!
- KontaktCOMMUNEN DIN FOR INFORMJON OM hvordan du kaster apparatet.
Koble Produktet fra strømmen. - Kutt av strømkabelen, lukk Produktet og kast den.
3. MONTERING

ADVARSEL!
Skansom steking - nár du tilbereder med dekkede cokekar pa flere kokesoner erler brennere.
3
Rengjor Produkts overflate med en myk klut med varmt vann og et mildt vaskemiddel.
Etter tilberedning kan noen deler av produit bli varmt. For a unnga flekker ma produit kjoles ned og torkes med ren klut erler torkepapir.
Oppvaskmaskinen må stilles inn på lav temperatur og et kort program. Fettfilteret kan bl misfartet, men dette har ingen pavirkning på produits ytelse.
- For a montere filtrene tilbake, folog de to forste trinnene i omvendt rekkefolge.
Gjenta trinnene for alle fentre hvis aktuelt.
6.3 Bytt ut kullfilteret

ADVARSEL!
Kullfilteret kan IKKE vaskes! Filteret kan\ ikke fornyes!
Slik skifter du kullfilteret:
Fare for brannsår og elektrisk stø! Koble fra produktet fra strømforsyningen før du setter i gang! Kontroller at lyspaeren er avkjolt før du tar på den.

ADVARSEL!
Fare for personskade! Bruk beskyttelseshansker nár du skifter paeren.

Fare for skade på produitet! Ikke bruk verktøy med skarpe kanter!
| Problem Mulig ørsak Løsning | ||
| Du kan ikke slå på produit. Produktet er ikke koblet til en strømforsyning eller er koblet feil. | Sjekk atprodukter er riktig koblet til strømforsyningen. | |
| Du kan ikke slå på produit. Sikringen har gätt. Kontroller at sikringen er ørsaken til funksjonssvikten. Hvis sikringene:går gjentatte ganger,@mà du kontak-te en elektriker. | ||
| Lampen tennes ikke. Pæreren derdefekt. Erstatt lyspæreren. Se kapittelet "Stell og rengjøring". | ||
| Produktet absorberer ikke nok damp. | Viftehastigheten er ikke tilstrekkelig for dampen som oppstår. | Endre viftehastigheten. |
8. BESKYTTELSE AV MILJØET
Resirkuler materialer som er merket med symbolet Legg emballasjen i riktige beholdere for a resirkulere det. Bidrar til a beskytte miljoet, messneskers helse og for a resirkulere avfall av elektriske og elektroniskeprodukter. Ikke kastprodukter som er merket
med symbolet Sammen med husholdningsavfallet. Produktet kan leveres der hvor tilsvarende produkt selges aller pa miljostasjonen i kommunen. Kontakt kommunen for nærmere opplysninger.
Notice-Facile