LFG335S - Kapuçina kuzhine ELECTROLUX - Manual falas për përdoruesin
Gjeni manualet e pajisjes falas LFG335S ELECTROLUX në format PDF.
Shkarko udhëzimet për tuajin Kapuçina kuzhine në format PDF falas! Gjeni manualin tuaj LFG335S - ELECTROLUX dhe merrni pajisjen tuaj elektronike sërish në duar. Në këtë faqe janë publikuar të gjitha dokumentet e nevojshme për përdorimin e pajisjes suaj. LFG335S e markës ELECTROLUX.
MANUAL I PËRDORUESIT LFG335S ELECTROLUX
Faleminderit pér blerjen e një pajisjeje Elextrolux. Keni zgjedhur një produit që sjell me vete dekada ekspersence dhe novatorizmi profesional. Original dhe me stil, éshte projektuar duke ju pasur ju né mendje. Késhtu që sa here è ta perdorni, mund te bazoheni né faktin se do té merrni rezultate optimale cdo here.
Vizitoni faqen tonë të internetit për:

Tē marre keshilla mbi pērdorimin, broshura, informacion rreth zgjidhjes sé problemave, sherbimit dhe riparimit
www.electrolux.com/support
Regjastrojen produitin per sherbim me te mire:
www.registerelectrolux.com


Blini aksesore, pjesë konsumi dhe pjesë originale këmbimi per pajisjen: www.electrolux.com/shop
KUJDESI DHE SHERBIMINDAJ KCLIENTIT
Pérdorni githmoné pjesé kembimi origjinale.
Kur kontaktoni Qendren tone te Autorizuar te Sherbimit, sigurohuni qe te keni ne disposacion te dhenat e meposhtme: Modeli, PNC, numri serial.
Ky Informacioni mund te gjendet ne PLLaken e klasifikimit.
Paralajmerim / Tcdhena rrethsigurise dhe kujdesit
Té dhêna tí pērgjithshme dhe këshilla
Të dhëna rreth ambientit
Rezervohet mundesia e ndryshimeve.
PERMBAJTJA
- INFORMACIONI I SIGURISE 218
2.UDHEZIMETPERSIGURINE 221 - INSTALIMI 222
4.PERSHKRIMIPRODUKIT 222
5.PERDORIMIPERDITSHEM 223
6.KUJDESIDHE PASTRIMI 223
7.ZGJIDHJA E PROBLEMEVE 225 - CESHTJE QE LIDHEN ME AMBIENTIN 225
1. INFORMACIONI SIGURISE
Pörpara instalimit dhe pērdorimit tē pajisjes, lexoni me kujdes udhézimet e ofruara. Prodhesi nuk ᵓshte pērgjegjës per lendimet apo demet si rezultat i instalimit apo pērdorimit tē papërshtatshém. Githmonë mbajini udhézimet né një vend tē
sigurt dhe ku mund te arrihen lehte per t'u referuar ne te ardhmen.
1.1 Siguria e fëmijëve dhe personave vulnerabel
- Kjo pajisje mund te perdoret nga fëmijë te moshës 8 vjc e sipér dhe persona me aftësi te kufizuara fizike, ndijimesh ose mendore ose që nuk kanë ekspereiçè dhe njohuri,纳税人kê mbahen nen mbikëqyrjë ose udhézohen per perdorimin e sigurt te pajisjes dhe i kuptojne rreziqet e perdorimit. Fëmijët nga nen 8 vjc dhe personat me aftësi te kufizuara shumë te theksuara dhe komplekse duhet te mbahen larg nga pajisja, përveçse kur mbahren nen monitorim te vazhdueshem.
Femijet duhet te monitorohen per t'u siguruar se nuk luajne me pajisjen. - Mbajeni tee gjithe paketimin larg nga femijet dhe hidheni ate siç kerkohet.
- Mbajini fémijet dhe kafshét shtépiake larg pajisjes gjatë kohës që ajo éshte ne punë.
- Fëmijët nuk duhet të kryejne pastrimin dhe mirembajtjen e pajisjes pa mbikiéqyrje.
1.2 Siguria e përgjithshme
- Kjo pajisje öshte prodhuar per pērdorim shtépiak mbi pianura, soba dhe pajisje tē ngjashme gatimi.
- Kjo paisje öshte krijuar per pördorim shtépiak né ambient te bredshém.
- Kjo paisje mund te perverset ne: zyra, dhoma hoteli, dhoma bujtine, dhoma hoteli rural, si dhe ne vende te ngjashme ku perversorimi nuk tejkalon (mesatarisht) nivelet e perversimit shtepiak.
- Perpara mirembajtjes, shkëputeni pajisjen nga rrjeti elektrik.
- KUJDES: Pjeset e aksesueshme mund te nxehen gjatë perdorimit me pajisjet e gatimit.
- Pördorni vetem vidat fiksuese tē marra me pajisjen, nese nuk keni marre pördorni vidat e rekomanduara ne
udhezimet e instalimit. Instalojeni pajisjen ne një vend të sigurt dhe të përshtatshëm që plotëson kërkesat e instalimit.
- PARALAJMÖRIM: Mosinstalimi i vidave apo pajisjes fiksuese né perputhje me keto udhézime mund te rezultojëné rrezije elektrike.
- Mos pērdorni adezivë per të fiksuar pajisjen.
- Distanca minimale mes siperfaques se pianurës ne të cilin qëndrojne tiganët dhe pjesës sè poshtme të pajisjes duhet të jegë të pakten 65 cm, përveçse kur specifikohet ndryshe ne udhézimet e instalimit per pajisjen ose pianuren.
- Shkarkimi i ajrit duhet të jegë një pajtim me rregulloret e autoriteteve lokale.
- Siguroni ajrim te mire te dhomës ku ßeshte instaluar pajisja për te shmongur rrjedhjen ne dhomë te gazeve që leshojnë pajisjet që djegin gaz ose lendë te tjera djegëse, duke perfshire flakët e hapura.
- Sigurohuni që daljet e ventilimit të mos jene bllokuar dhe ajri i grumbulluar nga pajisja të mos kalojë né një tub të perdoru r per shkarkimin e tymit dhe avullit nga pajisje të tjera (sistemet e ngrohjes qendrole, termosifonet, bojlerët etj.).
- Kur pajisja perculosis me pajiske të tjera, vakumi maksimal i gjeneruar në dhomë nuk duhet të tejkalojë 0,04 mbar.
- Sigurohuni që të mos demtoni kabllot e rrymës. Kontaktoni me qendrën e autorizuar të shërbimit ose me një elektricist per ndërrimin e kabllos elektrike të demtuar.
- Nëse pajisja éshte e lidhur direkt me furnizimin me energji, instalimi elektrik duhet tí pajiset me një pajisje izoluese që lejon shkëputjen e pajisjes nga linja kryesore ne tí gjitha polet. Shkëputja e plotë duhet tí jotë né pajtim me kushtet e specifikuara tí mbitensionit tí kategoriske III. Mjetet e shkëputjes duhet tí perefshihenné rrjetin elektrik sipas rregullave tí instalimeve elektrike.
-
Mos gatuani me flakë nën pajisje:
-
Mos e perdorni per materiale te rrezikshme ose shperthyese dhe avuj.
- Pastrojeni pajisjen rregullisht me një lekë të butë per të parandaluar demtimin e materialit të sipërfaques.
- Mos pērdorni një pastrues me avull, spěrkates me ujë, pastrues gěrryes të fortë ose kruajtëse të mprehta metalike për të pastruar siperfaqen e pajisjes. Pērdorni vetëm detergjente neutrale.
- Pastrojini rregullisht filtrat e yndyres (tè pakten cdo 2 muaj) dhe hiqni depositemet e yndyres nga pajisja per tè parandaluar rrezikun e zjarrit.
- Pördorni një pélhure per te pastruar pjesen e brendshme të pajisjes.
2.UDHEZIMETPERSIGURINE
2.1 Instalimi

PARALAJMÉRIM!
Rrezik plagosjeje, goditjeje elektrike, zjarri, djegieje osdemytimi tepajisjes.
- Vetem një person i kualifikuar duhet ta instalojë këte pajisje.
- Mos instaloni ose mos pērdorni një pajisje tè demtuar.
- Ndiqni udhezimet e instalimit te dhena me pajisjen.
Gjithmone beni kujdes kur e levizni pajisjen sepse eshte e rende. Perdorni gjithnjedoreza sigurie dhe képucë t émbyllura. - Perpara instalimit t'é pajisjes, hiqni gjithē pjeset ambalazhuese, etiketak reklamuesedhe gezenn mbrojtëse.
- Mos e instaloni pjesen e shkarkimin e ajrit ne nje vrime muri, perveçse kur vrima éshte projektuar pé até qellim.
2.2 Ladhja elektrike

PARALAJMÈRIM!
Rrezik zjarri dhe goditjee elektrike.
-
Të gjitha lidhjet elektrike duhen kryer nga një elektricist i kualifikuar.
-
Sigurohuni që parametrat në PLLaken e specifikimeve të perkojne me vlerat elektrike të rrjetit elektrik.
- Nese symboli ()k ehte i printuar ne PLLakezen e specifikimeve, pajisja duhet te tokezohet.
- Pédorni githmone njè prise tè tokëzuar tè instaluar si duhet.
- Mos i lini kabllot elektrike te perdridhen.
- Mos perdorni perversitatea me shum e spina dhe kablo zgjatuese.
- Nëse priza ùshtë e lire, mos e futni spinen.
- Mos e shkëputni pajisjen nga rrjeti duke e tãrhequr nga kabloja elektrike. Gjithmonë tãrhiqeni kabllon elektrike duke e kapur nga spina.
- Mbrojtja nga goditja e pjesëve me korrent dhe te izoluara duhet te shtrengohet ne menyre te tille qe te mos hiqet pa vegla.
- Sigurohuni që pajisja të instalohet në rregull. Kablloja elektrike e lire dhe e papërshtatshme mund ta nxehë shumë terminalin.
- Lidheni pajisjen ne fund te instalimit. Sigurohuni qe rrjetie elektrik te yete i arritshem pas montimit.
2.3 Pērdorimi

PARALAJMÈRIM!
Rrezik plagosjeje, djegiesh dhe goditjee elektrike.
Kjo pajisje perdoret vetem per qellime gatimi. Mos e perdorni pajisjen per qellime te tjera.
- Mos i ndryshoni specifikimet e pajisjes.
- Mos e vendosni ne pune pajisjen me duarté lagura ose kur keni pasurkontakt meujin.
- Pördorni vetem aksesoret që vijnë me pajisjen.
- Mbajeni flakén ose objektet enxehura larg nga yndyrat dhe vajrat gjatgatimit dhe skuqjes.
- Mos pērdorni skara elektrike tē pambuluara.
- Mos e perdorni pajisjen si siperfaqe mbeshtetese.
- Mos perdorni xhama zmadhues, dylbi ose pajisje te ngjashme optike per te pare direkt te drita e pajisjes.
- Nese pajisja funksionon me pajisje tjetera, presioni maksimal i krijuar nuk duhet te kapiercej ^ 4 Pa (4x10-5 bar).
2.4 Sherbimi
- Per te riparuar pajisjen kontaktoni me qendren e autorizuart te sherbimit. Perdorni vetem pjese kembimi originale.
- Né lidhje me llambat brenda produkt dhe llambat e pjesëve te kembimit te shitura vecmas: Keto llamba janë prodhuar perkushte ekstreme fizike ne pajisjet elektrashtepiake, si p.sh. temperaturé, dridhje, lageshtire, ose janë prodhuar per të sinjalizuar informacion reth statusit të pederimit të pajisjes. Ato nuk janë prodhuar per t'u pederur ne aplicacion të tjera dhe nuk janë të pershtatshme per ndricim ne ambiente shtepiake.
2.5 Hedhja

PARALAJMÈRIM!
Rrezik plagosjeje osmbytjeje.
- Kontaktoni me autoritetin tuaj komunal per informacion se si ta hidhni pajisjen.
- Shkëputeni pajisjen nga rrjeti i furnizimit me energji.
- Priteni kabllon e rrjetit elektrik pranë pajisjes dhe hidheni atë.
3. INSTALLIMI

PARALAJMÈRIM!
Referojuni kapitujve per sigurine.
3.1 Udhezime per instalimin

Per informacion te platr reth instalimit te pajisjes, referojuni njme manuali tjeter instalimi.
4. PÉRSHKrim I PRODUKTIT
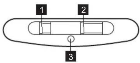
4.1 Pörmbledhje e panelit te kontrollit

Kontrolloni shpejtësinë rekomanduar sipas tabelës më poshte.
Gjatengrohjes se ushqimit, gatimit met tenxhere tmbuluara.
2 Gjatgatimit me tenxhere tmbulura ndisa zona ose vatra gatimi, skuqjes slehte.
3 Gjatzierjes dhe skuqjes sasive te medha te ushqimit pa kapak, gatimit ndisa zona ose vatra gatimi.

Rekomandohet qe ta lini aspiratorin ne punë per rreth 15 minuta pas gatimit.
Pertepdorur aspiratorin:
Lévizeni shpejtësinë e fremkueses në një prej niveleve të shpejtësisë.
Aspiratori fillon te punojë. Nëse éshte nevoja, ndryshoni shpejtësiné duke levizur celesin.

Drita e kapuçave punon né menyre tepavarur nga funksionet e tjera tkapakut. Per te ndricuar siperfaqen e gatimitperdorni celesin e drites
Pér tê fikur pajisjen, levizeni celesin e shpejtésise sé freshwateres nè pzptionin 0.
6. KUJDESIDHE PASTRIMI
6.1 Shenime per pastrimin

Agjent e pastrimit
Mos perdorni detergentjente gerryese dhe furca.
Pastroni siperfaqen e pajisjes me njè copè tè butè me ujè tè ngrohtè dhe njè detergentjè tè butè.
Pas pastrimit disa pjese tepajisjes mund tnxhen. Per te shmongur njollat, pajisja duhet te lihet te ftohet dhe te thahet me nje lecke oskartepeceta ta pastra.
Pastroni njollat me njè detergjent tè butè.
Pastrojen pajisjen dhe filtrat e yndyrës cdo muaj. Pastrojeni pjesen e brendshme të pajisjes dhe filtrat e yndyrës me kujdes nga yndyra. Grumbullimi i yndyrës ose mbetjeve të tjera mund të shkaktojë zjarr.
Filtrat yndyres mund te lahen nelavastovilje.
Lavastovilja duhet te vendoset n temperature tulet dhe cikel te shkurter. Filtri i yndyres mund te cngjyroset, kjo nuk ka ndikim te performanca e pajisjes.

Filtri i karonit
Koha e ngopjes sê filtrit tkarbonit ndryshon ne varesi t llojt t gatimit dhe sa rregullisht pastrohet filtri i yndyres. Filtri me karon t aktivizar nuk mund te lahet, nuk mund te rigjenerohet dhe duhet t nderrohet pas cdo 4-6 muaj pune osme shpesh nese perdoret shume.
6.2 Pastrimi i filtrit teyndyres
Filtrat montohen me ane te kapeseve dhe kunjave ne anen e kundert.
Perthequifitrin:
- Shtypni dorezën e kapëses SSE montimit ne panelin e filtrimit poshte aspiratorit.

- Anojeni lehte pjesen e perparme te filtrit poshte, me pas terhigeni.
Perserisni dy hapat e paré pé rè gjithè filtrat. - Pastrojini filtrat duke pērdorur një sfungjer me detergjente jo gërryese ose né një lavastovilje.

Lavastovilja duhet te vendoset ne temperature te ulet dhe cikel te shkurter. Filtri i yndyres mund te cngjyroset, kjo nuk ka ndikim te performancea e pajisjes.
- Per te montuar serish filtrat, ndiqni dy hapat e pare ne rendin e kundert. Perserisni hapat per te gjithe filtrat nese aplikohet.
6.3 Nderrimi i filtrit tkarbonit

PARALAJMÈRIM!
Filtri i karbonit NUK mund te lahet! Filtrinuk mund te rigjenerohet!
Pertenderruar filtrine karonit:
- Hiqni filtrat e yndyres nga pajisja.
Referojuni pjeses "Pastrimi i filrit te yndyrres" ne kete kapitull. - Rrotullojeni filtrin ne drejtim te akrepavete ores (1) dhe me pas terhiqueni (2).

Per te montuar sereish filtrat, ndiqni hapat ne rendin e kundert.
Né cdo rast, éshte e nevojshme që tederrohen filtrat tē pakṭen cdo kater muaj.
6.4 Nderrimi i llambës

PARALAJMÉRIM!
Rrezik djegiesh dhe goditjee elektrike! Shkeputeni pajisjen nga energia elektrike perpara punes! Sigurohuni që llamba te ftohet perpara se ta prekni.

PARALAJMÈRIM!
Rrezik plagosje! Perdorni doreza mbrojtese per te nderruar llamben.

Rrezik demtimi i pajisjes! Mos perdorni mjete me maje te mprehte!
Nderrojeni llamben e djegur ne perputhje me specifikimet:
Fuqia (W) 4
Foleja E14
Tensioni (V) 220 - 240
Dimensionet (mm) 37× 100 diametri x gjatesia
Kodi ILCOS D (sipas IEC DRBB/F-4-220-240-61231) E14-37/100

Pertenderruarllamben:
- Kapaku i llambës ka dy te cara ne secilen anë. Pērdorni një mjet te sheshtë plastik jo te mprehtë. Hiqni me kujdes kapakun e llambës nga pajisja.
- Nderroni llamben.
- Montoni kapakune e Illambes.
7. ZGJIDHJA E PROBLEMEVE

PARALAJMÈRIM!
Referojuni kapitujve per sigurine.
7.1 Si tê veprojmène...
Problemi Shkaku i mundshem Zgjidhja
| Nuk mund ta aktivizoni pajisjen. Pajisja nuk éshte e lidhur me furnizimin me energia ose nuk éshte lidhur sakte. | Kontrolloni nese pajisja éshte lidhur siç duhet me rrjetin elektrik. |
| Nuk mund ta aktivizoni pajisjen. éshte jegur siguresa. Sigurohuni që shkaku i keqfunksionimit éshte siguresa. Nëse siguresa digjet vazhdimisht, kontaktoni një elektricist të kualifikuar. | |
| Llamba nuk funksonon. Llamba éshte me defekt. Zëvendësoni llambën. Referojuni kapitullit "Kujdesi dhe pastrimi". | |
| Pajisja nuk i thith mjaftueshém avujt. Shpejtësia e motorit nuk éshte e përshtatshme për avujt që shfaqen. | Ndryshoni shpejtësinë e motorit. |
8.ÇESHTJE Që LIDHEN ME AMBIENTIN
Ricikloni materialet me simbolin
Vendoseni ambalazhin te kontejnerét e riciklimit nese ka. Ndihmoni ne mbrojtjen emjedisit dhe shendetit tè njerezve dhe nè riciklimin embetjeve tè pajisjeve elektrike dhe
elektronike. Mos hidhni pajisjet e shenuara me simbolin mbeturinave shtepiake. Ktheni produktin ne piken lokale te riciklimit ose kontaktoni me zyren komunale.
MNCJIIMO HA BAC
Xbana StTO cTe Kynnnn Electrolux ypehaj. N3abpann cTe npOn3BOD KoJn ca co6om DoHocn DeueHne jcTpyHOr paJa n HOBauJa. FehNJanah je, eIerAHTaH n OcmuJbeH mAJyHn y Bvdu BaWe notpe6e. Bydnte yBepen Da hete npn CBAKOM KopuShHe bDo6tN u3BaHpeDHe pe3yIPTate.
Добpo дошлу Electrolux.
Notice-Facile