LFG335S - кухонная вытяжка ELECTROLUX - Бесплатное руководство пользователя
Найдите руководство к устройству бесплатно LFG335S ELECTROLUX в формате PDF.
Скачайте инструкцию для вашего кухонная вытяжка в формате PDF бесплатно! Найдите своё руководство LFG335S - ELECTROLUX и возьмите своё электронное устройство обратно в руки. На этой странице опубликованы все документы, необходимые для использования вашего устройства. LFG335S бренда ELECTROLUX.
РУКОВОДСТВО ПОЛЬЗОВАТЕЛЯ LFG335S ELECTROLUX
3.1 Инструкции за Инсталлранe

3a IIbIHaTa HOpMauO THOCHO HCTaJaTuHa yPeDa BxKTe OTdJIHATA KnKka 3a INCTaJInpaHe.
4.ОПИСАНЕHA YPEDA
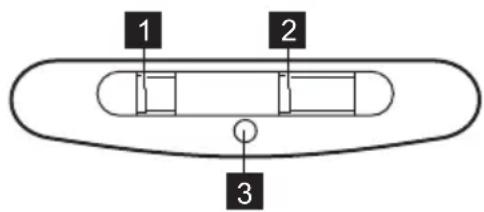
4.1 Перлед на koHTpoJHЯ панeЛ

ФункцЯОпсанe
1 KIOU3aOCBeTJeHHeTo 3a BKIOUBaHe NIKIOUBaHe Ha OCBeTJeHHeTO.
KIOU 3a CKOpocTtHa BaHTnla- 3a IpeBKnOuBaHe MeXy ckOpocTtHe Ha BeHTnlaTopa. Topa
3 INdkaTOp Poka3Ba daIaI acnnpaTOpbTe B DeIeCTBne.
5. BCEKNiDHEBHA YIOTPEBA
5.1 I3non3BaHe Ha a6cop6atopa
PpOBepeTe npenOpbUHTeHHaTa CkOpoc T B CbOTBETCTBnE C Ta6nucTa no-dony.
1 Ppu 3aToPnIHe Ha XpaHa; roTBeHe c NoctTaBc H KanaK.
2 Pn roTbeHe c KaanBbpy HraKoJIko 30Hn 3a roTbeHe nIu rOpEnKn, nbpxKeHe Ha cna6 orbH.
3 Pn BapeHe n IbpxeHe Ha roIemn KOJIueCTBa XpaHa 6e3 KaIak, roTBeHe Bbpy HraKoJIko roTbapckn 30Hn nnropeJIKN.

IpeopbHTeH0 e da ocTaNte a6copaDpaPbotn npN3nteH 15 MHytn cneI rotBeHe.
3a da pa6oTnte c a6cop6aToptb:,
2. укадуся по Беэнхости
2.1 YctaHOBka

BHIMAHNE!
CyueCTByeT pNCK TpaBMbl, nopaxKeHnnaJIeKTPnuecknM TOKOM, NOXapa,NOJyehnO XKOROB IIN NOBpeXdEHNnIpn6opa.
- UctaHOBka npnbopa DOJXHa OcyuaceTBnTbCra TOnbKO KBaINΦnUPOBaHHbIM CneuaNtOM.
-He yctaHabnBaIte n He noKnIOuayTe np6op, mEouy noBpeKdeHna.
CneDyTe HNCTpyKzmaM NO yCTaHOBKe, BXOJAAUM B KOMNJIeKT npu6opa.
Bcerda 6ydbTe ocTopoKhbl npn nepemeueHnn npnbopa, nockonbky OH TjxeIbI. Bcerda nCNoB3yIte 3aunTHbIe nepuATkn 3akpbItuO6yBb. - Ipeed MoTaxom npnbopa ydaInte BCE 3neMeHTbI ynaKOBKn, HakJeKNi 3aunTHyIO pHeKy.
He BCTpaBaNte OTBONDHyTO Tpy6y JnB O3Dyxa B NOIOCTb B CTeHe,ecNn TOJbKO NIOOCb He IpeHa3HaueHa DJIa 3Tnx UeJe.
2.2ПоdkлюченkeЛeКТрocети

BHIMAHNE!
CyueCTByeT pNCK noXapa n nopaxeHnna 3NeKTPuYeCKM TOKOM.
Bce 3neKtpnueckne NOdknoyeHnnaOJXhbl npOn3BOIDtbcraKBaJIINΦNUPOBaHHbIM 3neKtpNKOM.
- y6eIntecb, yTO npaMeTpbl, yka3aHHbIe Ha Ta6JIuYKe C TexHnueCKmM DaHHbIMN, COOTBeTCTByIOT XapaKTePncTnKam 3NeKTPOcETn.
- Ecnn Ha Ta6nueKe C TexHnueckmN DaHHbIMN OTCyTCTByET CNMBOJ npnbopdoJxhen 6bIb 3a3emneH.
BknHouaTe np6op TOnbko B npabnIbHo yCTaHOBHeHHyIO 3JIeKtpnueckyIO p03eTKy C KOHTAKTOM 3a3emnEHH.
- He donyckaIte cnytbyBaHna 3neKtpoPpOBOIOB.
He noJIb3yIteCb TpoHnKamn ydJIHHHTeJIaMn.
He nodklouaTe np6op K po3etke 3JeKTPoNTaHn, ecn OHa IIOXO 3aKpeJIeHa nIe ECn BUNka HEnIOTHO BXODIT B PO3ETKy.
-ДЯ OTKHIOUeHn npIbopa OT 3JIeKTPocTeH He TAHnTe 3a Ka6eJb 3JIeKTPoNITaHn. Bcerda 6epNTecb 3a BnIKy cTeBOrO shhya.
- DeTaN, 3aUuuaOuue TOKOBeDyUne nIIN 30IInpOBAHHbIe YAcTn Pn6Opa, DOnJHbI 6bITb 3akpeNJIeHbI TaK, UTO6blx 6blIO HeBO3MOXHO ydaIHTb 6e3 CneunabHbIX INHCTpyMeHTOB.
- y6eIITecb B npaBnIbHOCTn yCTaHOBKn npnbopa. HennoTHbIe n HnpaBnIbHO yCTaHOBJIeHHbIe COeINHeHnM OryT Bbl3BaTb NepepeB pa3beMa.
- POKJIIOUaIte np6op K 3JIeKTPoCeTn NO OKOHuaHm MOtaja. OBeCneBte DoCTyn K POKJIIOUeHIO K 3JIeKTPoCeTn Nocne MOHTaja np6opa.
2.3Испольбованne

BHIMAHNE!
CyueTByeT pck TpaBmbl, OXOROB INopaxehn3JIeKTPnueeCKM TOKOM.
-Данньи пибор пpeHa3HaueH TOlbko Дя пиroTOBNeHЯ ПИ. He ИспόЛьзуITE пиборВдугхцеля.
- He BHOcHTe N3MeHEnB KOHCTpyKUHO daHHoro npu6opa.
- Pn nCnoJb3OBAHnn np6opa He kacaIteCb erO mokpbIMn pykamn. He kacaIteCb np6opa, eCnHa Hero nonana BODa.
- IcnojIb3yIte ToIbKO npHaJnEJXHOCTN, NOCTaBJIeMbIe BMeCTe C npi6Opom.
BoBpemBaPknIxapKnHeDonyckaTKe KOHTaKtaXnPOBIMaceN COTKpbITbIM IJaMeHEm HArpeTbIM NpeDMeTaM.
He nCnoJb3yIte oKpbItble 3neKtporpniln.
He nCnoJb3yIte 3JeKtpOnpnpOp dJa XpaHEnn KaKnx-Jn6o npEmdToB.
3anpeuaeTcMOTpeTB HENOCpeIcTBeHHOHaNOCDBeTky np6opa
Yepe3 Jny, B 6nHoklb nnn npn NOMOaHaJorNHybIX ONTNUeCKnx npnbOpOB.
- Ecni npnbop pa6oTaet c dpyrHmN yCTpOiCTBaMn, MaKcImaJIbHOe CO3daBaEMoe DaBHeHne He DOJXHO npEByIaTb 4 Pa (4x10-5 6ap).
2.4 CepBnC
Дя ремонта пибopa образпесь в abTOpN3OBaHHbI Сервсны сeHTp. ПрIMЕнайTe TOLьКО opINHaJIbHbIe 3anachbIe YacTN.
O lamnax BHytpn npnbopa n lamnpax, npoandaBembIX OTdeJIbHO B KaueCTBe 3aNaChbIX YacTeN: DaHHbIe lamnbl paCCHTaHbI Ha pa6OTy B 6bITOBbIX npnbopax B NCKJNUHTeJIbHO CLOXHBIX TemnepaTypbIX, B6paCNOHHbIX IN BLnXHOCTbIX YcNoBnx INn npedHa3NaYeHbI DnI nepeDaun INHOpMaqnn O pa6Ooyem COCTOHN
npnbopa. OHH He npedHa3HaueHbI Dnna NCNoJIb3OBAHnB ApyrNx npnbopax N He NOdXoJrT IJa OCBeUeHn8 6bITOBbIX NOMeUeHn.
2.5 Ytvn3aun

BHIMAHNE!
CyueCTByeT onaCHOCTb TpaBMblnn ydywba.
Дя получениинфорmaциno
надлжашey yтunnaци npибopa
образпесь B MeCTHbie MyHnципьHBIE
opraHbIВlaCTN.
- OTKIIOUHTe npIbOp OT cETN 3JIeKTpOPITuHnIa.
- 06peXbTe Ka6eIb 3JIeKTpOnnTaHnKa KAKMOxHO 6JIuXe K np6Opy n yTuINn3npyuTeero.
3. YCTAHOBKA

BHIMAHNE!
Cm. rnaBbl, copejkaune CbeJeHn no TexHnke 6e3oNaChOCTn.
3.1 Иструкции по установке

Pa3BepHyTbie CBeDeHnO MOHTaKe np6opa cm. B OTdJIbHOM 6yKneTe no yCTaHOBKe.
4.ОПИСАНЕ ПИБОРА
4.1 OБци Вид панелу упраВлени

ФункцЯОпсанe
1 BbIKIOUaTeIb ocBeIeHnB KIOUeHne n BbIKIOUeHne ocBeIeHn.
2 IpeeknouateIb ckopoctn BeH- IpeeknIOueHne MeKdy ypoBnMn ckopoctn BeHTnJIrTopa. TnIyTopa
3 INHdkatop Yka3bIbaeT,pa6oTaet Nn BbITaKa.
5. EXEДHEBHOE INCПь3OBAHNE
5.1 IcnoJb3OBAHne BbITaXKn
PekomeHIOBaHHbIe 3HaueHnA CKOpocTn npBedeHbIB Ta6nue HnKe.
| 1 | Разоров поcodков в посуde, наcodков кршкам. |
| 2 | Проботельни в посуde, наcodков кршкам, наheckолбух конфоркх пп рoveлжх. Кар- ka малои Intehcimbости. |
| 3 | Клячени и заю кolyчесва поcodков бeз кршки, priziroot Novelене наheckол- ькх конфоркх пп рoveлжх. |
i PekomehnyetcdaTb BbITJkKe npapobatb okono 15 MmHyT no OKOHuaHn npiroTOBneHn.
6.1 Празмейанne по очирке
Длэзамныуrolьногофильста:
1.ИЗВЛЕКИТЕи3прИБОРА
ЖИPOУЛСВАЮПUEФИЛТРБI.
СМ.раздел«ЧИСТКAZИРОУЛСВАЮSUERO
ФИЛТРА»ВЭTOI ГАBE.
2.ПовернITEФильтпрOTИв YAcoBOI CTpeJIKN(1),a 3aTeMNotHnTe(2).

Дя yctaHOBк Фиьтpa Ha MecTo BblONHITE ONICAHbIe BblIe WarN B O6paTHOM NoprKe.
B IIO6bOM cIyuae 3aMeHy fIINbTp a Heo6xOIMO pON3BOIDt b KaK MInHMym ODNH pa3 B KaJdbIe YeTbIpe Meca.
6.4 3aMeHa JAmNbl

BHIMAHNE!
CyueCTByeT pNCK noJyehnOxKorOB n nopaxhenaJIeKtpnueckm TOKOM! Ipeed BbIIOJIHeHem pa6OT OTKJIIOHTe 3JIeKtpoPnp6Op ot cTe! IpexJe Yem KacaTbcra JAMNbI, y6eIITecb, yTO OHa OCTbila.

BHIMAHNE!
| Прибор не ведуаетс. Прибор не подочиени К залкову. Питаню, яй подочиени пою- VEDену неberho. | Приборы неравлиьосты подочи- чесни побору и наличе нараз- жесни в сети. |
| Прибор не ведуаетс. Сработал подочиени. Приборы, не являетс яй под- oxpaniteлgespruchною несправно- ctи.Еся подочиени сраба- Тывает посторною сюва и сюва, образиесь к KBалфцирравно- My залкову. | |
| He ropит лamма освецени. Ламма освецени поеровета. 3амени лamма освецени. См. Главу «УхODи очирстka». | |
| Прибор сбupaет не dioстаточи: Колочевто Вincapени. | Скоросты пботы Двигашия не Dio- статоча Вbicoka дя Колочевто Вincapenи. |
8. OXPAHA OKPYKAOUeI CPeIbI
2.2Прикьуненые на щелкову Мреку

YN03OPEHbE!
Pn3nk oJ noXkapa n cTpyjHOr yIapa.
Cba npknbuynBaHa ctpyje Tpe6a da oabn KBaIINpIKOBaH eJeKtpNuap.
- YBepnte ce da cy napaMeTpHa nIoounca TexHnUkIM KapaKTePncTnKaMa KomNaTn6nHn ca OndroBapaJyHm napaMeTpma eJeKTpnuHe MpeXe 3a HanajaHbe.
Ako cmmboj () je odutamnaHa IIOUnc ca TexHnukm KapaKTepeNCTnKaMa, ypehaj Mopa da 6yde y3embeH.
- YBek KopnicTe npOnucho yrpaheHy yTnUHnUy ca 3aWTnTOM od CtpyjHor ydapa.
He do3BOJInTe da ce eJeKtpnHn Ka6JI 3aNETbIa.
- HemojTe Da KOpNCTnTe aAnTepe ca Bnwe yTnUHnua n npOdyxHe Ka6NoBe.
Ako je 3nHa yTuHnua Iaaba, HEmoJTe Da npKbUyJeTe MpeXn yTuKa.
He ByuNTe Ka6n 3a HanajaHBe KaKo 6nCTe NCKbUyn ypehaj. Ka6n NcKbUynTe Tako wTO hete n3Byhyn yTuKaU n3 yTuHnue.
3aHTTa Oyapa DeNoBa NOD HANOHOM IIN3ONoBAHnx DeNoBa Mopa Da ce npuBpCTn Tako Da He MoKe Da Ce yKnOnH 6e3 anata. - PpOBepnte da JI ne ypehaj npaBnHOn HnCTaIIpaH. IoWe npuBpuHEn nJn HeoIroBaapajHy eJeKtpuHn Ka6JI 3a HanajaBe MoKe npoy3pOKoBAtn NperpeBaHe TepMNHaJa.
-Прикьуне урehaj на краjetпсталачи.Бодente рауна да постюппстул селектушов мржни наковпнсталачи.
2.3 Ynotpe6a

YNO3OPEHBe!
Ioctoj np3nk od nobpepe, onekOTnHa n ctpyjHor ydapa.
Obaj ypehaj je HameHbeH cAmo 3a KyBaHbe. He KopnCTnte OBaj ypehaj y dpyre CBpxe.
HemojTe da MeBaTe cneuФkaunjy OBOIypehaja.
- HemojTe pyKoBaTu ypehajem KaJa cy Bam MOKpe pyKe nn KaJa je OH y KOHTaKTy ca BODOM.
Kopncntte nckbuyno npnbop kojn je ncnopyuhen ca ypehajem.
-Држnte паменове Ип 3агpejaнпраздмerte Даьe od MaCTи yJba TOKOM KyBaHbI nnpKHeBa.
He KopnCTnTe HEnokpNBHe eJekTpNHe peWetke.
- HemojTe Da KOpnCTnte ypehaj kao NOBpunHy 3a Ondarabe.
- HemojTe KOpNCTNTn CTaKna 3a yBeHabHe, DBOrJIeI NII CNUHe ONTNuKe ypeJaje Da bncTe rJeDaIIN DNPeKTHO y ocBETbHe ypeJaja.
- Ako ypehaj paDn ca npyrmu ypehajima, MaKcImaJIHn pa3BnjeHn npTncak He CMe da npela3n 4 Pa (4x10-5 6ap).
2.4 CepBnC
- Paɪn onpɑBke ypehaja obpaTnte ce OBlaʌhēHOM cepBnCHOM ΚeHTpy. Kopnstnte cmo opɪrɪHaJIne pe3epBHe DeNoBe.
Kaia ce paN o cnaIucaMa yHytap npOn3BOda n pe3epBnHex DeNoBa, cnjaIue koje ce npOajy 3ace6Ho: OBe cnjaIue cy HameHbeHe da N3dpKe ekCTpemHe qn3nue yCNOBE y KyHnM anapatima, Kao uTo cy TemnepaTypa, Bn6paJne, Bnara, nIi cy HameHbeHe da CnHaJIIN3npajy INΦopMaunje o paHOM cTaBy ypehaja. Hncy npEdBuHene 3a ynoTpeby y dpyrIm ypehajmua Hncy noroDhe 3a ocBeTbabaBe npocstopuja y domaHnHCTBy.
2.5 Ondarabe

YN03OPEHBe!
Для КеруВань ВТЯЖКОЮ:
Ipeemictb nepemkauch wBnKocti BeHTnJrTopaHaOIN i3 pIBHIB wBnKocTi. BntjKa nouHae npauHOBaTu. JaKIo notpi6Ho, 3MiHtB wBnKicTb, nepemictNBuHn nepemkauch.

PiDCBITKa BNTJKKn npaioe He3aJeXHO BiD iHwix φyHKciB BNTJKKn. 1o6 PiDCBITnBapNlby NOBepxHIO, BVKOPNCTOByTe nepemkauch OCBiTJIeHHA
Uo6BmKHyTn npuad,nepeMicitb nepemkauch Wbndkocti BeHTnIaTopa B noJoxeHHr 0.
Notice-Facile