LFG335S - Capucha ELECTROLUX - Manual de uso y guía de instrucciones gratis
Encuentra gratis el manual del aparato LFG335S ELECTROLUX en formato PDF.
Descarga las instrucciones para tu Capucha en formato PDF gratis! Encuentra tus instrucciones LFG335S - ELECTROLUX y toma tu dispositivo electrónico nuevamente en la mano. En esta página están publicados todos los documentos necesarios para el uso de su dispositivo. LFG335S de la marca ELECTROLUX.
MANUAL DE USUARIO LFG335S ELECTROLUX
ES Manual de instrucciones | Campana extractora 53
ET Kasutusjuhend | Ohupuhasti 62
Gracias por adquirir un electrodométrico Electrolux. Ha elegido un produit que vale décadas de experiencia e innovación professionnelles. Ingenioso y Elegant, ha sido disnado pensando en vested. Así dues, cada vez que lo utilizes, pueda tener la seguridad de que obtendrá sempre excelentes resultados.
Le damos la bienvenida a Electrolux.
Visite nthesto sitio web para:

Obtener consejos, folletos, soluciones a problemas e informacion de service y reparacion:
www.electrolux.com/support
Registrar su producto para recibir un mejor servicios:
www.registerelectrolux.com


Comprar accesos, articulos de consumo y piezas de recambio originales para su aparato:
www.electrolux.com/shop
Le recomendamos que utilise recambios originales.
Cuando se ponga en contacto con nuestro Centro de servicios专业技术e, asegúrese de tener los siguientes datos disponibles: Modelo, número del producto (PNC), número de série.
La información se envoca en la placá de característica.

Advertencia / Precaución - Informacion sobre seguidad

Información general y consejos

Información relativa al medioambiente
Salvo modificaciones.
CONTENIDO
- INFORMACION SOBRE SEGURIDAD 53
- INSTRUCCIONES DE SEGURIDAD 56
- INSTALACION 57
4.DESCRIPTION DEL PRODUCTO 58
5.USO DIARIO 58 - MANTENIMIENTO Y LIMPIEZA 59
7.SOLUCION DE PROBLEMAS 60 - ASPECTOS MEDIOAMBIENTALES 61
1. INFORMACION SOBRE SEGURIDAD
Antes de instalar y utiliser el aparato, lea atentamente las instrucciones facilitadas. El fabricante no se hace responsable de lesiones o daños producidos como resultado de una instalación o un uso Incorrectos. Conserve siempre
estas instrucciones en lugar seguro y accesible para futuras consultas.
1.1 Seguidad de niños y personas vulnerables
-
Este aparato pueda ser utilisé por niños de 8 años en adelante y personas@cuyascapacidades fisicas, sensoriales o mentalaes estén disminuidas o que carezcan de la experiencia y conocimientos suficientes para manejarlo, siempre que@cuenten con las instrucciones o la supervisión sobre el uso del electrodomestico de forma segura y comprendan los riesgos. Es必需ariomantener alejados del aparato a los niños de menos de 8 años, asi como a las personas con minusvaliAsimportantes y complejas, salvo que estén bajo supervisioncontinua.
-
Es Neededo vigilar a los niños para que no juguen con el aparato.
- Mantenga todo el material de embalaje fuera del alcance de los niños y desechelo de forma adecuada.
- Mantenga a los niños y mascotas alejados del aparato cuando está funciona.
- La limpieza y mantenimiento de usuario del producto no podránser realizados por niños sin supervisión.
1.2 Instrucciones generales de seguridad
- Este aparato está destinado para uso dométrico sobre encimeras, cocinas y aparatos de cucina similares.
- Este aparato está disnado para uso domestico en interiores.
- Este aparato se pueda usar en ofecinas, habitaciones de hotel, habitaciones de Bed&Breakfast, casas de camino y otros alojamente similares sobre el uso no exceeda (en promedio) los niveles de uso doméstico.
- Antes de realizar tareas de mantenimiento, desenchufe el aparato de la red electrica.
-
PRECAUCION: Las partes accesibles peuvent calentarse durante el uso con aparatos de coccción.
-
Utilice únicamente los tornillos de fijación suministrados con el aparato si no los hay, utilise los tornillos recomendedos en las instrucciones de instalación. Instale el aparato en un lugar seguro yADEUADQ que cumpla los requisitos de instalación.
- ADVERTENCIA: Si no se instalan los tornillos o el dispositivo de fijación de acuerdo con estas instrucciones, se pueda producir un riesgo electrico
- No utilise adhesivos para fjar el aparato.
- La distancia minima entre la superficie de la encimera sobre la que se apoyan los utensilios y la parte inferior del aparato deben ser de al menos 65~cm , salvo que se especifique otra casa en las instrucciones de instalacion del aparato o la placa.
- La descarga de aireDebeFULR con las regulaciones delas autoridades locales.
- Asegúrese de que la sala donde se instala el aparato está bien ventilada para evaporar el reflujo de gases al recinto procedentes de aparatos queutilicenotros combustibles, como llamas abiertas.
- Asegúrese de que las aberturas de ventilación no estén obstruidas y de que el aire recogido por el aparato no se transporte a un conductor utilisé para extraer el humano y el vapor de otros aparatos (sistemas de calefacción central, termosifones, calentadores de agua, etc.).
- Cuando el aparato funciona conthers aparatos, el vacio máximo generate en la sala no debe superar los 0,04 mbar.
- Asegúrese de no provocar daños en el cable de alimentación. Póngase en contacto con un electricista o con nuestro servicios专业技术o autorizado para Cambiar un cable de alimentación dañado.
- Si el dispositivo está conectado directamente al suministro electrico, la instalación electrica debe estar equipada con un dispositivo de aislamento que permita desconectar el dispositivo de la red electrica en todos los polos. La
desconexión completa debe ser según las conditiones especialidas en la categorie III de sobretension. Los medios de desconexión se deben incorporar en el cableado fijo de conformidad con las normasde cableado.
- No flambee bajo del aparato.
- No deben utiliser para extraer materiales y vaperes peligrosos o explosivos.
- Limpie periodicamente el aparato con un paño suave para evaporar el deterioro del material de la superficie.
- No utilise un limpiador a vapor, agua pulverizada, limpiadores abrasivos fuertes o raspadores de metal aflados para limpar la superficie del aparato. Utilice solo detergentes neutros.
- Limpie los filtros deresha regularmente (al menos cada 2
meses) y elimine los depuestos deresha del aparato para
evitar el riesgo de incendio. - Utilice un paño para limpiar el interior del aparato.
2. INSTRUCCIONES DE SEGURIDAD
2.1 Instalación

ADVERTENCIA!
Podrian producirse lesiones, descargas electricas, incendios, quemaduras o danos en el aparato.
- Solo un的技术icorialmentepuedestalar el aparato.
- No instale ni utilise un aparato danado.
- Siga las instrucciones de instalación suministradas con el aparato.
- Tenga cuidado al mover el aparato, porque es pesado. Utilice siempre guantes de proteccion y calzado cerrado.
- Antes de instalar el aparato, retire todo el material de embalaje, el etiquetado y lapellicula protectora.
- No instale la calidad de aire en un hueco en la pared, a menos que el hueco está disnéado para tal fin.
Riesgo de incendios y descargas electricas.
- Todas las conexiones electricas deben realizarlas electricistas@cualificados.
- Asegürese de que los parámetros de la placía de característica son compatibles con los valores electricos del suministro electrico.
- Si el symbolo () está impreso en la placá de característica, el aparato debe estar conectado a tierra.
- Utilice siempre una toma con aislamiento de connexion a tierra correctamente instalada.
- Coloque los cables electricos de forma que no se pueda enredar.
- No utilise adaptadores de enchufes multiples ni cables prolongadores.
-
Si la toma de corriente está floja, no conecte el enchufe.
-
No desconecte el aparato tirando del cable de connexion a la red. Tire siempre del enchufe.
- Los mecanismos de proteccion contra descargas eletricas de componentes con corriente y aislados deben fjarse de forma que no能把 anflojarse sin utilizing Herramentas.
- Asegürese de que el aparato está instalado correctamente. Un cable de red suelo e incorrecto puede hacer que el terminal se caliente en excesso.
- Conecte el aparato al final de la instalación. Asegúrese de que haya acceso a la red electrica cuando de la instalación.
2.3 Uso

ADVERTENCIA!
Riesgo de lesiones, quemaduras y descargas electricas.
- Este aparato está disnado exclusivamente para cocinar. No utilise el aparato paraOthers fines.
- No cambie las specifications de este aparato.
- No实用性 el aparato con las manos mojadas ni con agua en contacto.
- Utilice únicamente los accesos suministrados con el aparato.
- Mantenga las llamas u objetos calientes alejados de grasas y aceites durante la cocción y fritura.
- No实用性 grills électricos descubiertos.
-
No utilise el aparato como superficie de almacenimiento.
-
No utilise lupas, binoculares o dispositivos opticos similares para observar directamente la iluminacion del aparato.
- Si el aparato funciona conthers dispositivos, la presion maxima desarrollada no debe superar los 4 Pa (4x10-5 bares).
2.4 Asistencia
- Para reparar el aparato,pongase en contacto con el centro de servicios autorizzato. Utilice solamente piezas de recambio originales.
- En cuando a la(s) bombilla(s) de este producto y las de repuestos vendidas por分开: Estas bombillas estan destinadas a soportar conditiones fisicas extremas en los aparatos domesticos, como la temperatura, la vibracion, la humedad, o está destinadas a tener informacion sobre el estado de configuracion del aparato. No está destinadas a utiliser en other aplicaciones y no son adecuadas para la iluminacion de estancias domesticas.
2.5 Eliminación

ADVERTENCIA!
Existe riesgo de lesiones o asfixia.
- Contacte con las autoridades locales para saber como(descharcorrectamente el aparato.
- Desconecte el aparato de la red.
Corte el cable electrico cerca del aparato y desechelo.
3. INSTALLACION

ADVERTENCIA!
Consulte los cap它们os sobre seguidad.
3.1 Instruetiones de instalación

Para Obtener informacion completa sobre la instalacion del aparato, consulte un folleto de instalacion separado.
4. DESCRIPCION DEL PRODUCTO
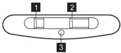
4.1 Vista general del panel de mandos

Función Descripción
1 Interruptor de la luz Para encender y apagar la luz.
Interruptor de velocidad del vent- Para combustar la velocidad del ventilador. tilador
3 Indicador Indica si la campana funciona.
5. USO DIARIO
5.1 Uso de la campana
Compruebe la velocidad recomendada segun la tabla siguientes.
1 Mientras caliente la comida, cocinando con ullas tapadas.
2 Mienesas cocina con ollas tapadas en multiples zonas de coccion o quemadores,friendo a temperatura moderada.
3 Al hervir y freir grandes cantidades de alimentos sin tapa, cocinando en multibles zonas de cocci n o quemadores.

Se recomienda estar la campana enfuncionamento duranteaproximamente 15 horas despuesede cocinar.
Para utiliser la campana:
Mueva el selector de velocidad del ventilador a uno de los niveles de velocidad.
La campana empieza a funciona. Si es necessitiesario, cambie la velocidad moviendo el interruptor.

La luz de la campana funciona de forma independiente de otheras functions. Para iluminar la superficie de cocción, usa el interruptor de la luz
Para apagar el aparato, mueva el selector de velocidad del ventilador a la posicion 0.
6. MANTENIMIENTO Y LIMPIEZA
6.1 Notas sobre la limpieza
| Agentes limpiados res | No use detergentes y cepillos abrasivos. Limpie la superficie del aparato con un paño suave humedecido en agua Templada y de-tergente suave. |
| Después de cocinar,algunas piezas del aparato poderen calentarse. Para evitar manchas,los aparatos deben enfriarse y secarse con un paño limpio o toallas de papel. | |
| Limpie las manchas con un detergente suave. | |
| Mantenga la campa- na limpia | Limpie el aparato y los filtros de grasa cada mes. Limpie cuidadosamente la grasa del in-terior y los filtros de grasa. La acumulación de grasa uOthers residuos pueda provocar un incendio. |
| Los filtros de grasa se peuvent lavar en el lavavajillas. El lavavajillas deben ajustarse a una temperatura baja y a un ciclo corto. El filtró de grasaSEOpe decolorarse, no influye en el rendimiento del aparato. | |
| Filtro de carbún | El tiempo de saturación del filtróde carbón varia enfunción del tipo de coccción y de la regularidad de la limpieza del filtróde grasa. El filtróde carbónactivado no eslavable, no se pueda regenerar ydebestusituirse aproximamente cada 4/6meses de funcanta- miento, o con mayor Frequencia en caso de uso particularmente intenso. |
6.2 Limpieza del filtró de grasa
Los filtros se montan con el uso de clips y pasadores en elazo opuesto.
Para limpiar el filtro:
- Presione la manija del clip de montaje en el panel del bajo de la campana.

-
Incline ligeramente la parte delantera del过滤o hacia abajo y tire de el.
Repita los dos primeros pasos para todos los pasos. -
Limpie los filtros con una esponja con detergentes no abrasivos o en un lavavajillas.
i
El lavavajillas deben ajustarse a una temperatura baja y a un ciclo corto. El filtró de grasa puede decolorarse, no influye en el rendimiento del aparato.
- Para volver a montar los filtros, siga los dos primeros pasos enorden inverso. Repita los primeros pasos para todos los filtros si esnecessary.
6.3 Reemplazo del filtró de carbón
A
ADVERTENCIA!
El filtro de carbón NO es lavable. El filtro no se pueda regenerar.
Para reemplazar el filtró de carbón:
-
Retire los filtros de grasa del aparato.
Véase "Limpieza del filtro de grasa" en este capítulo. -
Gire el filtro (1) hacía la izquierda y despues tire (2).

Para volver a montar los filtros, siga los pasos enorden inverso.
Enequalquier caso,es necessario sustituir los
filtros al menos cada quatre vezes.
6.4 Cambio de la bombilla

ADVERTENCIA!
Riesgo de quemaduras y descargas electricas. Desconecte el aparato de la red electrica antes de la operation. Asegürese de que la bombilla se haya enfiado antes de tocarla.

ADVERTENCIA!
Existe riesgo de sufrir heridas. Utilice guantes protectores para reemplazar la lampara.

Podrda dañar el aparato. Noutilice herramentas con bordes aflados.
Reemplace la bombilla quemada de acuerdo con las specifications:
Potencia (W) 4
Toma E14
Tensión (V) 220 - 240
Dimensiones (mm) 37 × 100 (diámetro x longitud)
Códio ILCOS D (según IEC 61231)
DRBB/F-4-220-240-E14-37/100

Para reemplazar la lampara:
- La cubierta de la lámpara tiene dos ranuras en cada lado. Use una herramienta plástica plana no aflada. Retira suavamente la tapa de la bombilla del aparato.
- Cambie la bombilla.
- Monte la tapa de la lampara.
7. SOLUCION DE PROBLEMAS

ADVERTENCIA!
Consulte los capítulos sobre seguridad.
7.1 Que hacer si...
Problema Posible causa Solución
| No se pueda encender el aparato. El aparato no está conectado a una fuente de alimentación o está mal connectado. | Compruebe si el aparato se ha co-nectado correctamente a la red electrica. |
| No se pueda encender el aparato. Ha saltado el fusible. Compruebe si el fusible es lacause del fallo de funcionaimiento. Si el fu-sible se funde repetidamente, cons-ulte a un electricistarialducido. | |
| La bombilla no funciona. La bombilla es defectuosa. Sustituya la bombilla. Consulte elcapítulo "Mantenimiento y limpieza". | |
Problema Posible causa Solución
El aparato no absorbs suficientes vapores.
La velocidad del motor no es la ade- Cambie la velocidad del motor. cuada para el vapor que se genera.
8. ASPECTOS MEDIOAMBIENTALES
Recicle los materiales con el símbolo Coloque el material de embalaje en los contenedores adecuados para su reciclaje. Ayude a proteger el medio ambiente y la salute publica, asi como a reciclar residuos de aparatos electricos y electrónicos. No
desecha los aparatos marcados con el symbolo unto con los residuos
domesticos. L breve el producto a su centro de
reciclaje local opongase en contacto con su
oficina municipal.
MÖTLEME TEILE
4. IZSTRADAJUMAPRAKSTS
5. IZMANTOSANA IKDIENA
5.1 Tvaika nosuceja lietošana
Pärbaudiet ieteicamo atrumu atbilstosi turpmak sniegtajai tabulai.
1
Filtri ir uzstaditi ar stiprinajumiem un tapam otraja puse.
Filtra tirišana
- Piespiediet stiprinajuma rokturi uz filtra paneja zem tvaika nosuceja.

- Nedaudz sasveriet filtra priekspusi uz leju, tad Pavelciet.
Atkartojiet pirmas divas darbibas visiem filtriem. - Tiriet filtrus, izmantojot sukli un neabrazivu mazgăsanas lidzekli, vai ari mazgajiet tos trauku mazgajama masina.
i
Trauku mazgajama masina jaiestata zema temperatura un iss cikls. Tauku filtrs var zaudet krasu, tacuteas neietekmes iekartas sniegumu.
- Lai ievietotu filtrus atpakal, veiciet pirmas divas darbibas apgrieztā kartiba.
Atkartojet sis darbibas visiem filtriem, ja tas atbilst situacijai.
6.3 Ogles filtrama na

BRIDINAJUMS!
Ogles filtrs NAV mazgajams! Filtru nav iespejams atjaunot!
Ogles filtra nomaina
- Iznemiet tauku filtrus no ierices. Skatiet sis nodas sadalu "Tauku filtra tirišana".
- Pagrieziet filtru preteji pulkstena raditaja virzienam (1) un tad izvelciet (2).

Lai atkal uzstaditu filtrus, veiciet aprakstitas daribbas pretej karti.
Filtrus jebkura gadijumaieteicams nomainit reizi cetros meneos.
6.4 Spuldzes maina

BRIDINAJUMS!
6.1 Notas sobre a limpeza

Agentes de limpeza
Nao use produits de limpeza abrasivos hem esfregoes.
ManualFacil