SUWL500 - Suporte de parede SONY - Manual de utilização gratuito
Encontre gratuitamente o manual do aparelho SUWL500 SONY em formato PDF.
Perguntas dos utilizadores sobre SUWL500 SONY
0 pergunta sobre este aparelho. Responda às que conhece ou faça a sua.
Faça uma nova pergunta sobre este aparelho
Baixe as instruções para o seu Suporte de parede em formato PDF gratuitamente! Encontre o seu manual SUWL500 - SONY e retome o controlo do seu dispositivo eletrónico. Nesta página estão publicados todos os documentos necessários para a utilização do seu dispositivo. SUWL500 da marca SONY.
MANUAL DE UTILIZADOR SUWL500 SONY
É necessária uma formação técnica adequada para instalar este produto. Certificado-se de que a instalação é efectuada por agentes da Sony ou agentes autorizados e tenha em atençao a segurarca durante a instalacao. A Sony não se responsabiliza por quaisquer danos ou ferimentos causados pela utilização indevida ou instalação Incorrecta, nemPGA instalação de um produit diferente do produitspecifiedo. Os seu Direitos Estatúários (se existrem) não são afectados.
AVISO
O não cumprimento das precauções de segurarou ou a utilizesação Incorrecta do produitsodeprovocar ferimentos graves ou um incéndio.
Este manual de instruções descreve as precações importantes necessárias para fazer acidentes e'utilizar o produits de forma correcta. Leia-o na integra e utilize o produits correctamente. Guarde este manual para futuras consulutas.
Para os agentes da Sony
É necessária uma formação técnica adequada para instalar este produit. Leia atentamente este manual de instruções para efectuar a instalação com segurança. A Sony não se responsabiliza por quaisquer danos ou ferimentos causados pela utilizesação inadvertia ou instalação Incorrecta. Após a instalação, entrega estemanual de instruções ao cliente.
Segurarçā
Os produits da Sony são concebidos para.Oferecer a maxima segurarca.No entanto,seutilizados de forma incorrecta, poderprovocar ferimentos graves atraves de incendio,choqueelectrico ou queda Para evitar esse tipo de accidentes, respeite as precauções de segurarca.
Para clients na Europa
Este produit foi fabricado por ou em nome da Sony Corporation.
Importador na UE: Sony Europe B.V.
Questoes ao importador na UE ou relacionadas com a conformidade do produits na Europa devem ser enviadas ao representante autorizzato do fabricante, Sony Belgium, bijkantoor van Sony Europe B.V., Da Vincilaan 7-D1, 1930 Zaventem, Belgica.
ATENÇA O
Produtos especializados
Os seguientes produits estao sujeitos a alteracoes sem aviso previo, a nao estarem em stock ou ter deixado de ser fabricados.
Além disso, algunos modelos não são vendidos em algumas regões.
| Televisor a Cores de LCD | KDL-46D30xx * KDL-46D28xx * KDL-46D27xx * KDL-46T30xx * KDL-46S30xx * KLV-46V300A KDL-40D30xx * KDL-40D28xx * KDL-40D27xx * KDL-40D26xx * KDL-40T30xx * KDL-40T28xx * KDL-40T26xx * KDL-40S30xx * KDL-40S28xx * KDL-40SL130 KLV-40V300A KDL-32D30xx * KDL-32D28xx * KDL-32D27xx * KDL-32D26xx * KDL-32T30xx * KDL-32T28xx * KDL-32T26xx * KDL-32S30xx * KDL-32S28xx * KDL-32XBR4 KDL-32SL130 KLV-32V300A |
- Nos nomes de modelos actuels, o "xx" indica número e/ou caracteres espécíficos a cada Modelo.
Este suporte foi concebido para ser realizado com os modelos de teletvisor especializados em cima. Para outros televisores, consulta as instruções deestruturação ou o folheto fornecido para verifcar se este produits pode ser realizado.
Para os pacientes
AVISO
O não cumprimento das precauções indicadas abaixo, pode provocar a morte ou ferimentos graves em caso de incência, quando eletrico ou quede do produits.
A instalacao deve ser efectuada por agentes autorizados e mantenha as crianças afastadas do local durante a instalacao.
Se o Suporte de Montagem na Parede ou o televisor não for instalado correctamente, poder ocorro os seguintes acidentes. Certifique-se de que a instalação é efectuada por agentes autorizados.
- O televator pode cair e provocar ferimentos graves, como equimoses ou fracturas.
- Se a parede ond e Suporte de Montagem na Parede está instalado for instavel, irregular ou não estiver perpendicular ao chao, o aparelho pode cair e provocar ferimentos ou danos materiais. A parede deve ser sufficientemente forte para suportar um peso, pelo menos, quando vezes superior ao do televisor. (Consulte as instruções do televisor quanto ao respectivo peso.)
- Se a instalacao do Suporte de Montagem na Parede não for suficientemente solida, o aparecido pode cair e provocar ferimentos ou danos materiais.
Contrate agentes autorizados para o transporte e desmontagem do televisor.
Se o transporte ou montagem for feito por pessoas que não os agentes autorizados, o televisor pode cair e provocar ferimentos ou danos materiais. O transporte ou a desmontagem do televisordeera ser efectuado por das ou mais pessoas.
Não entorne liquidos de qualquer tipo sobre o televisor.
Se molhar o teovisor, pode provoc um incendio ouCHOque electrico.
Não retire os parafudos, etc., après a montagem do televisor.
Se o fizer, o televator pode cair e provocar ferimentos ou danos materiais.
Não desmonte nem faça quaisquer alterações nas peças do Suporte de Montagem na Parede.
Se o fizer, o Suporte de Montagem na Parede pode cair e provocar ferimentos ou danos materiais.

Não instale um equipamento diferente do especialico no suporte.
Este Suporte de Montagem na Parede foi concebido para ser realizado apenas com o produto especialico. A instalação de qualquer及其他 equipamento pode resultar em queda ou quebra e provocar danos materiais ou ferimentos.
Não tape as aberturas de ventilação do teletvisor.
Se tapar as aberturas de ventilacao (com um pano, etc.), o televator pode sobraquecer e incendiar-se.

Não coloque nenhuma conta para lem do teletvisor no Suporte de Montagem na Parede.
Se o fazer, o televisor pode cair e provocar ferimentos ou danos materiais.

Não se encoste nem se pendure no televator.
Nao se encoste nem se pendure no televator, bois este pode cair e provocar ferimentos graves.

Não exponha o televisor à chuva ou humidade.
Pode provocar um incendio ouCHOque eletrico.
Nunca coloque o tevisor em locais quentes, humidos ou com muito po, ou num local em que esteja sujeito a vibrações mecânicas.
Se o fizier, pode provocar um incendio ou umCHOque eletrico.
Mantenhao o tevisor afastado de objects inflamáveis ou chamas (por exemple, velas).
Para registrar um incério, mantenha o tevisor afastado de objects inflamáveis ou chamas (por exemplo, velas).
ATENÇA O
Se não respeitar as precauções a seguir indicadas, pode ferir-se ou provocar danos materiais.
Não instale o Suporte de Montagem na Parede em superfícies em que os cantos ou os lados do televisor fiquem afastados da parede.
Não instale o Suporte de Montagem na Parede em superficies, tais como colunas em que os cantos ou os lados do teletor fiquem afastados da parede. Se uma Pessoa ou objecto embaterem no canto ou lado saliente do teletor, isso pode provoc ferimentos ou danos materiais.

Nãoança demasiada para a limpeza ou manutenção do produits.
Não faça demasiada para na parte superior do televisor. Se o fazer, o televisor pode cair e provocar ferimentos ou danos materiais.
Não instale o televisor por cima ou por baixo de um aparelho de ar condicionado.
Se o tevisor ficar exposto a fugas de agua ou correntes de ar do aparelho de ar condicionado durante muito tempo, pode ocorro um incendio, umCHOque eletrico ou uma avaria.
Precauções
- Se utilizes o tevisor instalado no Suporte de Montagem na Parede durante muito tempo, a parede porTRS ou por cima do tevisor pode perdar a cor e o papel de parede pode descolar-se, dependendo do material da parede.
- Se retiring o Suporte de Montagem na Parede(before do instalar, os orificios do parafuso ficam na parede.
- Se tiver feito passar cabos de alimentacao de 300 ohms por das pairede, substitua-os por cabos coaxiais de 75 ohms. Se for necessario continuar a utilizear cabos de alimentacao de 300 ohms, antes de proceber a instalacao, verifique se existe esqpo livre suficiente entre o tevisor e os cabos de alimentacao por das pairede. Consulte os agentes autorizados para saber quais os locais apropriados (sem interferencias radioelctricas, etc.) antes da instalacao.
Instalar o Suporte de Montagem na Parede
Para os Agentes da Sony
AVISO
Para os pacientes
É necessária uma formação técnica adequada para instalar este produit. Certifique-se de que a instalação é efectuada por agentes da Sony ou agentes autorizados e tenha em atençao a seguranca durante a instalacao.
Para os Agentes da Sony
As seguições instruções destinam-se apenas aos agentes da Sony. Leia as precauções de segurança na integra e preste muito atençao às medidas de segurança que é preciso respeitar durante a instalação, manutençao e verificacao deste produits.
Instale o Suporte de Montagem na Parede com segurarca靼ando as indentacoes destemanual de instruções.
Se algoq dos parafusos estiver solto ou cair, o suporte para montagem na parede pode cair e provocar ferimentos ou danos materiais. Utilize os parafusos adequados ao material de que feita a parede e fixe bem o suporte com quatro ou mais parafusos de 8mm de diametro (ou equivalentes).

Utilize os parafudos e os acessórios fornecidos conforme as indicações deste manual de instruções. Se utilizes outros acessórios, o televisor pode cair e provocar ferimentos a algoém ou danos materiais noproprio television.
Monte o suporte correctamente, seguido o procedimento explicado este manual de instruções.
Se um dos parafusos se soltar ou cair, o tevisor pode cair e provocar ferimentos a algoém ou danos materiais no tevisor.
Aperte bem os parafusos na posicao correcta.
Se não o fazer, o televisor pode cair e provocar ferimentos a algoém ou danos materiais no padrão televisor.
Não submeta o televisor aCHOques durante a instalacao.
Se o tevisor softer chocques fortes, pode cair ou partir-se. O que pode provocar ferimentos.
Instale o televisor numa parede perpendicular e plana.
Se nao o fizer, o televator pode cair e provocar ferimentos.
Depois de instalar correctamente o televator, fixe bem os cabos.
Se as pessoas ou objectos ficarem emaranhados nos cabos, podem ferir-se ou danificar o televisor.
Não deixe o cabo de alimentação nem o cabo de ligação ficarem trilhados.
Se o cabo de alimentação ou o cabo de ligação ficar trilhado entre o aparelho e a parede ou se os做不到 ou torcer àança, os conduutores internos podem ficar a vista e provocar um curto-circuito ou a quebra do cabo eletrico. Pode provocar um incendio ouCHOque eletrico.

Tenha cuidado para não se magoar nasmandos ou dedos durante a instalacao.
Tenha cuidado para não magoar as mãos ou os dedos quando instalar o Suporte de Montagem na Parede ou o televator.
Os parafudos necessários para fixar o Suporte de Montagem na Parede não está incluídos.
Utilize os parafusos apropriados para o material de que é feita a parede e para a estrutura quando instalar o Suporte de Montagem na Parede.
Para instruções sobre a instalação do suporte de parede no seu televisor, descarregue as informações no website da SONY.
Antes da instalacao
Se pretende instalar um televisor que não está Shopsificado na网页 2, certificque-se de que consulta as suas instruções de functimento ou o folheto fornecido.
Passo 1:
Verónica das peças necessarias para a instalação
1 Prepare quatre ou mais parafusos de 8 mm de diametro ou-equivalentes (não fornecidos) e uma chave de parafusos. Escolha parafusos adequados para o material da parede.
2 Abra a embalagem e confirma se são fornecidos os segunteiros.

Suporte de Base (2)

Gancho de Montagem (2)


Parafuso (+BVST4× 12) (6)
Parafuso (+PSW6× 16) (4)

Chave hexagonal (1)
Passo 2:
Decidir sobre a
localização da
instalação
1 Consultando aanela de dimensoes para instalacao do televisor na page 12, decide a localização da instalacao.
Deixe algo um espoço livre entre o teletor, o tecto e as partes salientes da parede, como aparecido em baixo.
Unidade: mm

Nunca instale o televisor nas condições seguentes:

Nota
Se desejar instalar os cabos numa parede, fazer primeiro um orifcio na mesma para introduzir os cabos antes de.iniciar a instalacao.
2 Consultando o diagrama das dimensores relativas à montagem na parede da网页 13, determine as posições dos parafusos para instalação do Suporte de Base.
AVISO
A parede na qual o tevisor sera instalado deve ser capaz de所提供ar um peso quatro vezes superior ao peso do tevisor (Consulte as instruções do tevisor quando ao respectivo peso).
Determine a resistência da parede em que está instalado o teilevisor. Se necessário, reforce a parede.
Passo 3:
Instalar o Suporte de Base na parede
Fixe o Suporte de Base à parede com quatre ou mais parafusos de 8 mm de diametro ou equivalentes (não fornecidos).
Determine os orificios dos parafusos (d, h) para fixação do Gancho de Montagem ao Suporte de Base. Em seguida, fixe-outilizando os parafusos fornecidos (+BVST4× 12)

Fixe o Suporte de Gancho e a Unidade de Gancho de Montagem na parede com quarto ou mais parafusos de 8 mm de diametro ou equivalentes (não fornecidos).
Selección quatre orificios de parafusos con a marca ● indica no diagrama em boa e aperte os parafusos de forma segura para que não fiquem soltos.
Alinhe aunities de forma a que fique nivelada.

3Retire os parafusos que foram introduzidos no procedimento 1, e retire o Gancho de Montagem do Suporte de Base.

ATENÇAO
Certifique-se de que não deixa cair o Gancho de Montagem ao remover os parafusos do Gancho de Montagem.
AVISO
- Os parafusos necessários para este procedimento não são fornecidos. SeLECTIONE parafusos adequados ao material e a estrutura da parede.
- Se o Suporte de Base não puder ser instalado de forma segura, utilize os parafusos adiconais.
- Certifique-se de que o Suporte de Base está fixo de forma segura à parede.
Passo 4:
Preparar a
instalação do televisor
Se pretende instalar um televisor que não está especified na págnia 2, certifique-se de que consulta as suas instruções de funciona o ou folhofo fornecido.
1 Retire os parafudos da parte traseira do televisor. De seguida, solte o Suporte de Fixação para Mesas do televisor.
Coloque o televisor com o eça virado para baixo, numa superficie de trabalho estavel, protegida por um pano macio.
Para os seguições'utilizadores de televisor:
KDL-46/40D30xx , KDL-46/40D28xx ,
KDL-46/40D27xx , KDL-40D26xx ,
Para os seguições'utilizadores de televisor:
KDL-32D30xx , KDL-32D28xx .
KDL-32D27xx , KDL-32D26xx ,
- Ao remove o Suporte de Fixação para Mesas do televisor, colocque o éra numa superficie estável maior do que o televisor.
- Para evitar danIFICar a superficie do ecran LCD, certifique-se de que coloca um pano macio na superficie de trabalho.
ATENÇAO
- Se for aplicada pressão ouCHOque a superficie do teilevisor, o eira LCD pode partir ou danificar-se.
- Colique o eça numa superficie estável e nivelada, com o Suporte de Fixação para Mesas pendurado no limite da superficie. Com o eça e a base do Suporte de Fixação para Mesas no mesmo;nivel da superficie pode Criar condições de trabalho instáveis e danificar o televisor.
- Quandoletalu,agarre no Suporte de Fixacao para Mesas do teilevisor,agarre no Suporte de Fixacao para Mesas cuidadosamente com ambas as mao.
Quando utiliser una chave electrica, regule o binario de aperto para aproximamente 2N· m {20 kgf·cm}.
Não levante o Gancho de Montagem antes de fixar os parafusos (dos parafusos para a esquerda/direita). Se o fazer, poderá deformar o Gancho de Montagem ou a caixa do televisor.
2 Consultando aanela do Tabela do diagrama das posições de Ganchos e Parafusos na págnia 13, determine as posições dos parafusos e fixe o Gancho de Montagem na parte traseira do televisor.
Fixe o Gancho de Montagem na parte traseira do televisor temporariamente,utilizando os quatre parafusos fornecidos (+PSW6× 16)
2 Certifique-se de que antes os parafusos estao bem apertados com igual forca de binario na parte traseira do televisor.

Alinhe a patilha da parte traseira do Gancho de Montagem com o orificio quadrado da parte traseira do televisor, como na figura em baixo.

Nota
Certifique-se de que não utilizes quaisquer outros parafusos para algo dos fornecidos (+PSW6 × 16) ao fixar o Gancho de Montagem.
3
Ajuste o angulo do Gancho de Montagemutilizando a chave hexagonal fornecida.
Ao instalar o tevisor paralelamente à parede (0 graus), não é necessário o ajuste do angulo do Gancho de Montagem (passo 1 e 2 em boa). Certifique-se de cada uma das bases do braço é está aparafusada de forma segura.
Retire osinous parafusos da base do braço do Gancho de Montagem. Escolha os orificios correspondentes ao angulo desejado (5, 10, 15 ou 20 graus).
Ajuste os angulos do braço superior e inferior de modo a encaixar no orificio correspondente e fixe, de modo firme, cada braço utilizingo os dois parafusos retirados no procedimento anterior 1.

Notas
- Certifique-se de que ajusta os braços direito e esquerdo com o mesmo angulo.
- Certifique-se de que as两大 bases do braço está aparafusadas de forma segura.
ATENÇAO
Quando regular o angulo do Gancho de Montagem, tenha cuidado para não entalar os dedos.
Notas sobre os angulos de ajuste
- Quando instalar modelos de tevisorVRTantes dos especializados na网页 2 (dependendo do tamanho e dimensoes do modelo, etc.), os angulos de ajuste (0,5,10,15,20 graus) para os braços podem ficar limitados.
- Para os ângulos de ajuste dos braços quando instalar modelos de televisor发展目标 dos espécificados na网页 2, consulte as instruções de funçãoamento ou o folheto fornecido.
Passo 5: Instalação do televisor na parede
Se pretende instalar um televisor que não está especified na págnina 2, certificque-se de que consulta as suas instruções de functimento ou o folheto fornecido.
AVISO
Certifique-se de que a instalacao é conclusa antes de ligar o cabo de alimentacao a tomada. Se o cabo de alimentacao ficar trilhado por baixo ou entre as peças do equipamento, isto pode resultar num curto-circuito ouCHOque electrico.
Tenha cuidado para não tropeçar sobre o cabo de alimentação, televisor ou monitor, porque isto pode resultar em danos fisicos.
1 Ligue o cabo de alimentação CA e o(s) cabo(s) de ligação fornecido(s) com o televisor.
Ligue o cabo de alimentacao CA e o(s) cabo(s) de ligacao acos connectores no lado traseiro do teletor. Para mais detalhes sobre como ligar o cabo de alimentacao CA e o(s) cabo(s) de ligacao, consulte o manual de instruções do teletor.
Notas
- Não é possível ligar os cabos ao television antes instalá-lo no Suporte de Base.
- Certifique-se de que o encaminhamento dos cabos ao longo da parede é efectuado por agentes autorizados.
2 Instale o televisor no Suporte de Base.
Consultando aabela do diagrama das posicaoes de Ganchos e Parafusos na pagina 13, determine os orificios para o Suporte de Base para fixar os ganchos superiores do Gancho de Montagem.
2Segure no televator com as duas mao, de forma segura c alinne-ho com a parde.
AVISO
O transporte do televisor deve ser efectuado por das ou mais pessoas.

2

3 Fixe o televisor e o Suporte de Base de modo firme com osinous parafusos fornecidos (+BVST4× 12)

Nota
Quando utiliser una chave electrica, regule o binario de aperto para aproximadamente 1,5 N·m {15 kgf·cm}.
AVISO
Aperte bem todos os parafudos de fixação esquerdo e direito. Se não o fazer, o televisor pode cair e provocar ferimentos quando empurrado para cima.
Confirmar a conclusão da instalação
Verifique os seguentes pontos.
- Os ganchos do Gancho de Montagem está fixados firmamente nos orificções do Suporte de Base.
- Os cabos de alimentação e ligação não devem ser dobrados nem trilhados.
- Osdoesparafusos que fixam oGancho de Montagem e Suporte de Base estao bem apertados.
AVISO
Não ajuste o ângulo da Unidade de Gancho de Montagem quando o teletor estiver instalado na parede e certifique-se de que proceeda instalacao completeness. Pode provocar quidas do aparelho e ferimentos ou danos materiais. Deuai forma, a instalacao Incorrecta do cabo de alimentacao CA, etc., pode provocar um incendio ouCHOque eletrico devidao a um curto-circuito. Verifique se a instalacao está terminada, por medida de seguranca.
Quando retirar o televisor
Para os Agentes da Sony
1 Desligue o cabo de alimentacao CA da tomada de parede.
2 Retire osinous parafusos que fixam o televisor e o Suporte de Base. (Consulte a secção 3 do Passo 5 na网页 10 para saber as posições dos parafusos.)
3
Certifique-se de que suporta o televisor e forma-o deslizar para cima para retirarlo.

ATENCAO
- Tenha cuidado para que os cabos de alimentação e ligação não fiquem presos quando退市 o televisor.
- Tenha cuidado para não ferir as mãos ou os dedos quando退市ar o televisor.
AVISO
O transporte do televisor deve ser efectuado por das ou mais pessoas.
Especificações
Unidade: mm
Peso: 4,7kg

O design e as caracteristicas tecnicas está sujeitas a alteracoes sem aviso precedo.
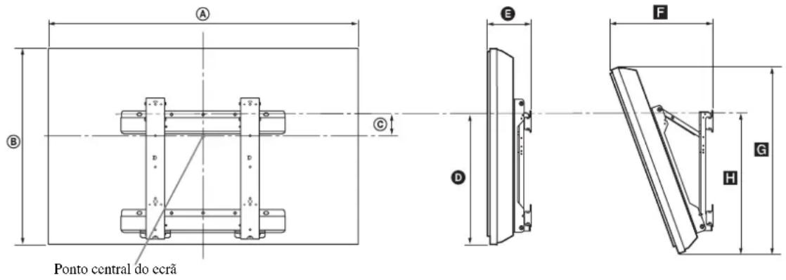
Tabela de dimensionalas para a instalacao do televisor
Estaabelaapresentaasdimensoesdo teilevisorqueinstaladoesteproduo.Consulteestaabelapara decidirolocalde instalacao.
Se pretende instalar um teovisor nao especificado em baixo, certificque-se de que consulta as suaas instruções de funcaoamento ou o folheto fornecido.

Unidade: mm
| Nome do modelo | Dimensoesdo teilevisor | Dimensao centraldo ecrã | Comprimento para cada um dos ângulos de montagem | |||||
| Ângulo (0°) Ângulo (20°) | ||||||||
| A B C D E F G H | ||||||||
| KDL-46D30xx */KDL-46D28xx */KDL-46D27xx */KDL-46T30xx */KDL-46S30xx */KLV-46V300A | 1.114 | 730 | 106 | 505 | 175 | 373 | 705 | 545 |
| KDL-40D30xx */KDL-40D28xx */KDL-40D27xx */KDL-40D26xx */KDL-40T30xx */KDL-40T28xx */KDL-40T26xx */KDL-40S30xx */KDL-40S28xx */KDL-40SL130/KLV-40V300A | 981 | 643 | 157 | 505 | 170 | 338 | 622 | 543 |
| KDL-32D30xx */KDL-32D28xx */KDL-32D27xx */KDL-32D26xx */KDL-32T30xx */KDL-32T28xx */KDL-32T26xx */KDL-32S30xx */KDL-32S28xx */KDL-32XBR4/KDL-32SL130/KLV-32V300A | 790 | 530 | 137 | 424 | 160 | 318 | 516 | 464 |
Alguns modelos podem não estar disponíveis em determinadas regiones.
Os valuores naabela em cima poder ser ligeiramente differs,dependendo da instalação.
A parede na qual o tevelor ira ser instalado deve ser capaz de suportar um peso quatro vezes superior ao peso do tevelor.
Consulte as instruções do televisor quando ao respectivo peso.
Diagrama das dimensionales relativas à montagem na parede
Unidade: mm

Tabela do diagrama das posições de Ganchos e Parafusos
| Nome do modelo | Localização do parafuso | Localização do gancho |
| KDL-46D30xx */KDL-46D28xx */KDL-46D27xx */KDL-46T30xx */ KDL-46S30xx */KLV-46V300A | e, g b | |
| KDL-40D30xx */KDL-40D28xx */KDL-40D27xx */KDL-40D26xx */ KDL-40T30xx */KDL-40T28xx */KDL-40T26xx */KDL-40S30xx */ KDL-40S28xx */KDL-40SL130/KLV-40V300A | ||
| KDL-32D30xx */KDL-32D28xx */KDL-32D27xx */KDL-32D26xx */ KDL-32T30xx */KDL-32T28xx */KDL-32T26xx */KDL-32S30xx */ KDL-32S28xx */KDL-32XBR4/KDL-32SL130/KLV-32V300A | f, j c |
Alguns modelos podem não estar disponíveis em determinadas regões.
* Nos nomes de modelos actuais, o "xx" indicanumbers e/ou caracteres especificos a cada Modelo.
Localização do parafuso
Quando instalar o Gancho de Montagem no tevisor.


Localização do gancho
Quando instalar o teovisor no Suporte de Base.

- A posicao de gancho “a” não pode ser realizada no caso dos modelospresentados na lista de cima.
Tak, fordu har kobt dette produit.
Til kunder
Se pot produce incendii tau electrocutári.

Cárlig de montare (2)

Surub (+PSW6× 16) (4)
Surub (+BVST4× 12) (6)

Cheie hexagonala (1)
ManualFácil