T22LCS - Chain saw MCCULLOCH - Free user manual and instructions
Find the device manual for free T22LCS MCCULLOCH in PDF.
Download the instructions for your Chain saw in PDF format for free! Find your manual T22LCS - MCCULLOCH and take your electronic device back in hand. On this page are published all the documents necessary for the use of your device. T22LCS by MCCULLOCH.
USER MANUAL T22LCS MCCULLOCH
GB Operator's manual 2-22
SE Bruksanvisning 23-43
DK Brugsanvising 44-64
FI Kayttoohje 65-86
NO Bruksanvisning 87-107
WARNING! Clearing saws, brushcutters and trimmers can be dangerous! Careless or incorrect use can result in serious or fatal injury to the operator or others. It is extremely important that you read and understand the contents of the oper

Please read the operator's manual carefully and make sure you understand the instructions before using the machine.
Always wear:
A protective helmet where there is a risk of falling objects
Approved hearing protection
Approved eye protection

Max. speed of output shaft, rpm

This product is in accordance with applicable EC directives.

max 10000 rpm
Watch out for thrown objects and ricochets.
The operator of the machine must ensure, while working, that no persons or animals come closer than 15 metres.
Always wear approved protective gloves.
Wear sturdy, non-slip boots.
Only use non-metallic, flexible cutting attachments, i.e. trimmer heads with trimmer cord.






Ignition; choke:
Set the choke control in the choke position.
Air purge.
Noise emission to the environment according to the European Community's Directive. The machine's emission is specified in chapter Technical data and on label.


Other symbols/decals on the machine refer to special certification requirements for certain markets.
The engine is switched off by moving the stop switch to the stop position. CAUTION! The stop switch automatically returns to the start position. In order to prevent unintentional starting, the spark plug cap must be removed from the spark assembling, checking and/or perform

Always wear approved protective gloves.
Regular cleaning is required.


Visual check.

CONTENTS
Contents
KEY TO SYMBOLS
Symbols 2
CONTENTS
Contents 3
Note the following before starting: 3
INTRODUCTION
Dear Customer, 4
WHAT IS WHAT?
What is what on the grass trimmer? 5
GENERAL SAFETY PRECAUTIONS
Important 6
Personal protective equipment 6
Machine's safety equipment 7
Cutting equipment 9
ASSEMBLY
Fitting the loop handle 10
Assembling and dismantling the two-piece shaft 10
Assembling the cutting equipment 10
Fitting the trimmer guard and trimmer head 11
Fitting the trimmer guard and trimmer head 11
FUEL HANDLING
Fuel safety 12
Fuel 12
Fueling 13
STARTING AND STOPPING
Check before starting 14
Starting and stopping 14
WORKING TECHNIQUES
General working instructions 15
MAINTENANCE
Carburettor 17
Muffler 17
Cooling system 18
Spark plug 18
Two-piece shaft 18
Air filter 19
Maintenance schedule 20
TECHNICAL DATA
Technical data 21
EC-declaration of conformity 22
Note the following before starting:
Please read the operator's manual carefully.

WARNING! Long-term exposure to noise can result in permanent hearing impairment. So always use approved hearing protection.

WARNING! Under no circumstances may the design of the machine be modified without the permission of the manufacturer. Always use genuine accessories. Non-authorized modifications and/or accessories can result in serious personal injury or the death of the operator or others.

WARNING! A clearing saw, brushcutter or trimmer can be dangerous if used incorrectly or carelessly, and can cause serious or fatal injury to the operator or others. It is extremely important that you read and understand the contents of this operator's manual.
Dear Customer,
Thank you for choosing a McCulloch product. You are thereby part of a story that started long ago, when the McCulloch Corporation started its manufacturing of engines during World War II. In 1949, when McCulloch introduced its first light one-man chainsaw, woodworking would never be the same again.
The line of innovative chainsaws would continue over the decades, and business was expanded, first by airplane and kart engines in the 1950s, then by mini chainsaws in the 1960s. Later, in the 1970s and 80s, trimmers and blower vacs were added to the range.
Today, as a part of the Husqvarna group, McCulloch continues the tradition of powerful engines, technical innovations, and strong designs that have been our hallmarks for more than half a century. Lowering fuel consumption, emissions and noise levels are of top priority to us, as is improving safety and user-friendliness.
We certainly hope that you will be satisfied with your McCulloch product, as it is designed to be your companion for a long time. By following this operator manual's advice on usage, service, and maintenance, its lifespan can be extended. If you should need professional help with repair or service, please use the Service Locator at www.mcculloch.biz.
McCulloch has a policy of continuous product development and therefore reserves the right to modify the design and appearance of products without prior notice.
This manual can also be downloaded at www.mcculloch.biz.
WHAT IS WHAT?

What is what on the grass trimmer?
1 Trimmer head
2 Grease filler cap, bevel gear
3 Bevel gear
4 Cutting attachment guard
5 Shaft
6 Shaft coupling
7 Loop handle
8 Throttle trigger
9 Stop switch
10 Throttle lockout
11 Spark plug cap and spark plug
12 Starter
13 Starter handle
14 Fuel tank
15 Air filter cover
16 Air purge.
17 Choke control
18 Drive disc
19 Operator's manual
20 Combination spanner
Important
IMPORTANT!
The machine is only designed for trimming grass.
The only accessories you can operate with this engine unit are the cutting attachments we recommend in the chapter on Technical data.
Never use the machine if you are tired, if you have drunk alcohol, or if you are taking medication that could affect your vision, your judgement or your co-ordination.
Wear personal protective equipment. See instructions under the heading "Personal protective equipment".
Never use a machine that has been modified in any way from its original specification.
Never use a machine that is faulty. Carry out the checks, maintenance and service instructions described in this manual. Some maintenance and service measures must be carried out by trained and qualified specialists. See instructions under the heading Maintenance.
All covers, guards and handles must be fitted before starting. Ensure that the spark plug cap and ignition lead are undamaged to avoid the risk of electric shock.
The machine operator must ensure that no people or animals come closer than 15 metres while working. When several operators are working in the same area the safety distance should be at least twice the tree height and no less than 15 metres.

WARNING! This machine produces an electromagnetic field during operation. This field may under some circumstances interfere with active or passive medical implants. To reduce the risk of serious or fatal injury, we recommend persons with medical implants to consult their physician and the medical implant manufacturer before operating this machine.

WARNING! Running an engine in a confined or badly ventilated area can result in death due to asphyxiation or carbon monoxide poisoning.

WARNING! Never allow children to use or be in the vicinity of the machine. As the machine is equipped with a spring-loaded stop switch and can be started by low speed and force on the starter handle, even small children under some circumstances can produce the force necessary to start the machine. This can mean a risk of serious personal injury. Therefore remove the spark plug cap when the machine is not under close supervision.
Personal protective equipment
IMPORTANT!
A clearing saw, brushcutter or trimmer can be dangerous if used incorrectly or carelessly, and can cause serious or fatal injury to the operator or others. It is extremely important that you read and understand the contents of this operator's manual.
You must use approved personal protective equipment whenever you use the machine. Personal protective equipment cannot eliminate the risk of injury but it will reduce the degree of injury if an accident does happen.
Ask your dealer for help in choosing the right equipment.

WARNING! Listen out for warning signals or shouts when you are wearing hearing protection. Always remove your hearing protection as soon as the engine stops.
HELMET
A protective helmet where there is a risk of falling objects

HEARING PROTECTION
Wear hearing protection that provides adequate noise reduction.

EYE PROTECTION
Always wear approved eye protection. If you use a visor then you must also wear approved protective goggles. Approved protective goggles must comply with standard ANSI Z87.1 in the USA or EN 166 in EU countries.


GLOVES
Gloves should be worn when necessary, e.g., when fitting cutting attachments.

BOOTS
Wear sturdy, non-slip boots.

CLOTHING
Wear clothes made of a strong fabric and avoid loose clothing that can catch on twigs and branches. Always wear heavy, long pants. Do not wear jewellery, shorts sandals or go barefoot. Secure hair so it is above shoulder level.
FIRST AID KIT
Always have a first aid kit nearby.

Machine's safety equipment
This section describes the machine's safety equipment, its purpose, and how checks and maintenance should be carried out to ensure that it operates correctly. See the "What is what?" section to locate where this equipment is positioned on your machine.
The life span of the machine can be reduced and the risk of accidents can increase if machine maintenance is not carried out correctly and if service and/or repairs are not carried out professionally. If you need further information please contact your nearest service workshop.
IMPORTANT!
All servicing and repair work on the machine requires special training. This is especially true of the machine's safety equipment. If your machine fails any of the checks described below you must contact your service agent. When you buy any of our products we guarantee the availability of professional repairs and service. If the retailer who sells your machine is not a servicing dealer, ask him for the address of your nearest service agent.

WARNING! Never use a machine with faulty safety equipment. The machine's safety equipment must be checked and maintained as described in this section. If your machine fails any of these checks contact your service agent to get it repaired.
Throttle lockout
The throttle lockout is designed to prevent accidental operation of the throttle control. When you press the lock (A) (i.e. when you grasp the handle) it releases the throttle control (B). When you release the handle the throttle control and the throttle lockout both move back to their original positions. This movement is controlled by two independent return springs. This arrangement means that the throttle control is automatically locked at the idle setting.

Make sure the throttle control is locked at the idle setting when the throttle lockout is released.

Press the throttle lockout and make sure it returns to its original position when you release it.

Check that the throttle trigger and throttle lockout move freely and that the return springs work properly.

See instructions under the heading Start. Start the machine and apply full throttle. Release the throttle and check that the cutting attachment stops and remains at a standstill. If the cutting attachment rotates with the throttle in the idle position then the carburettor idle setting must be checked. See instructions under the heading Maintenance.
Stop switch
Use the stop switch to switch off the engine.

Start the engine and make sure the engine stops when you move the stop switch to the stop setting.
Cutting attachment guard

This guard is intended to prevent loose objects from being thrown towards the operator. The guard also protects the operator from accidental contact with the cutting attachment.

Check that the guard is undamaged and not cracked. Replace the guard if it has been exposed to impact or is cracked.
Always use the recommended guard for the cutting attachment you are using. See chapter on Technical data.

WARNING! Never use a cutting attachment without an approved guard. See the chapter on Technical data. If an incorrect or faulty guard is fitted this can cause serious personal injury.
Muffler

The muffler is designed to keep noise levels to a minimum and to direct exhaust fumes away from the user. A muffler fitted with a catalytic converter is also designed to reduce harmful exhaust gases.

In countries that have a warm and dry climate there is a significant risk of fire. We therefore fit certain mufflers with a spark arrester mesh. Check whether the muffler on your machine is fitted with this kind of mesh.

For mufflers it is very important that you follow the instructions on checking, maintaining and servicing your machine.
Never use a machine that has a faulty muffler.
Regularly check that the muffler is securely attached to the machine.
If the muffler on your machine is fitted with a spark arrester mesh this must be cleaned regularly. A blocked mesh will cause the engine to overheat and may lead to serious damage.

WARNING! Mufflers fitted with catalytic converters get very hot during use and remain so for some time after stopping. This also applies at idle speed. Contact can result in burns to the skin. Remember the risk of fire!

WARNING! The inside of the muffler contain chemicals that may be carcinogenic. Avoid contact with these elements in the event of a damaged muffler.

WARNING! Bear in mind that:
The exhaust fumes from the engine are hot and may contain sparks which can start a fire. Never start the machine indoors or near combustible material!
Cutting equipment
This section describes how to choose and maintain your cutting equipment in order to:
- Reduce the risk of blade thrust.
- Obtain maximum cutting performance.
- Extend the life of cutting equipment.
IMPORTANT!
Only use cutting attachments with the guards we recommend! See the chapter on Technical data.
Refer to the instructions for the cutting attachment to check the correct way to load the cord and the correct cord diameter.

WARNING! Always stop the engine before doing any work on the cutting attachment. This continues to rotate even after the throttle has been released. Ensure that the cutting attachment has stopped completely and disconnect the HT lead from the spark plug before you start to work on it.

WARNING! A faulty cutting attachment may increase the risk of accidents.
Trimmer head
IMPORTANT!
Always ensure the trimmer cord is wound tightly and evenly around the drum, otherwise the machine will generate harmful vibration.
- Only use the recommended trimmer heads and trimmer cords. These have been tested by the manufacturer to suit a particular engine size. This is especially important when a fully automatic trimmer head is used. Only use the recommended cutting attachment. See the chapter on Technical data.

- Smaller machines generally require small trimmer heads and vice versa. This is because when clearing using a cord the engine must throw out the cord radially from the trimmer head and overcome the resistance of the grass being cleared.
- The length of the cord is also important. A longer cord requires greater engine power than a shorter cord of the same diameter.
Make sure that the cutter on the trimmer guard is intact. This is used to cut the cord to the correct length. - To increase the life of the cord it can be soaked in water for a couple of days. This will make the line tougher so that it lasts longer.
Fitting the loop handle

- Clip the loop handle onto the shaft. Note that the loop handle must be fitted between the arrows on the shaft.

- Fit the bolt, securing plate and wing nut as shown in the diagram. Tighten the wing nut.
Assembling and dismantling the two-piece shaft

Assembly:
- Loosen the coupling by turning the knob.

- Align the tab of the attachment (A) with the hole in the coupling (B).

- Push the attachment into the coupling until the attachment snaps into place.
Before using the unit, tighten the knob securely.

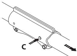
Dismantling:
- Loosen the coupling by turning the knob (at least 3 times).

- Push and hold the button (C). While securely holding the engine end, pull the attachment straight out of the coupling.

Assembling the cutting equipment

WARNING! Never use a cutting attachment without an approved guard. See the chapter on Technical data. If an incorrect or faulty guard is fitted this can cause serious personal injury.
Fitting the trimmer guard and trimmer head (T22LS)

- Fit the correct trimmer guard (A) for use with the trimmer head. Hook the trimmer guard/combination guard onto the fitting on the shaft and secure with the bolt (L).



- Fit the drive disc (B) on the output shaft.
- Turn the blade shaft until one of the holes in the drive disc aligns with the corresponding hole in the gear housing.
- Insert the locking pin (C) in the hole to lock the shaft.
- Screw on the trimmer head/plastic blades (H) in the opposite direction to the direction of rotation.

- To dismantle, follow the instructions in the reverse order.
Fitting the trimmer guard and trimmer head (T22LCS)

- Fit the guard as shown in the diagram. Tighten securely.

- Fit the dust cup on the shaft. The nut must be completely covered by the dust cup.

- Hold the dust cup with a spanner to prevent the shaft from rotating.
- Screw the trimmer head onto the shaft.
Fuel safety
Never start the machine:
1 If you have spilt fuel on it. Wipe off the spillage and allow remaining fuel to evaporate.
2 If you have spilt fuel on yourself or your clothes, change your clothes. Wash any part of your body that has come in contact with fuel. Use soap and water.
3 If the machine is leaking fuel. Check regularly for leaks from the fuel cap and fuel lines.
Transport and storage
- Store and transport the machine and fuel so that there is no risk of any leakage or fumes coming into contact with sparks or naked flames, for example, from electrical machinery, electric motors, electrical relays/switches or boilers.
- When storing and transporting fuel always use approved containers intended for this purpose.
- When storing the machine for long periods the fuel tank must be emptied. Contact your local petrol station to find out where to dispose of excess fuel.
- Ensure the machine is cleaned and that a complete service is carried out before long-term storage.
- The transport guard must always be fitted to the cutting attachment when the machine is being transported or in storage.
- Secure the machine during transport.
- In order to prevent unintentional starting of the engine, the spark plug cap must always be removed during long-term storage, if the machine is not under close supervision and when performing all service measures.

WARNING! Take care when handling fuel. Bear in mind the risk of fire, explosion and inhaling fumes.
Fuel
CAUTION! The machine is equipped with a two-stroke engine and must always been run using a mixture of petrol and two-stroke oil. It is important to accurately measure the amount of oil to be mixed to ensure that the correct mixture is obtained. When mixing small amounts of fuel, even small inaccuracies can drastically affect the ratio of the mixture.

WARNING! Fuel and fuel fumes are highly inflammable and can cause serious injury when inhaled or allowed to come in contact with the skin. For this reason observe caution when handling fuel and make sure there is adequate ventilation.
Petrol

CAUTION! Always use a quality petrol/oil mixture at least 90 octane (RON). If your machine is equipped with a catalytic converter (see chapter on Technical data) always use a good quality unleaded petrol/oil mixture. Leaded petrol will destroy the catalytic converter.
Use low-emission petrol, also known as alkylate petrol, if it is available.

- The lowest octane recommended is 90 (RON). If you run the engine on a lower octane grade than 90 so-called knocking can occur. This gives rise to a high engine temperature, which can result in serious engine damage.
- When working at continuous high revs a higher octane rating is recommended.
Two-stroke oil
- For best results and performance use Universal, Universal powered by McCULLOCH two-stroke engine oil, which is specially formulated for our air-cooled two-stroke engines.
- Never use two-stroke oil intended for water-cooled engines, sometimes referred to as outboard oil (rated TCW).
- Never use oil intended for four-stroke engines.
- A poor oil quality and/or too high oil/fuel ratio may jeopardise function and decrease the life time of catalytic converters.
- Mixing ratio
1:50 (2%) with Universal, Universal powered by McCULLOCH two-stroke oil.
1:33 (3%) with oils class JASO FB or ISO EGB formulated for air-cooled, two-stroke engines.
| Petrol, litre | Two-stroke oil, litre | |
| 2% (1:50) | 3% (1:33) | |
| 5 | 0,10 | 0,15 |
| 10 | 0,20 | 0,30 |
| 15 | 0,30 | 0,45 |
| 20 | 0,40 | 0,60 |
Mixing
Always mix the petrol and oil in a clean container intended for fuel.
Always start by filling half the amount of the petrol to be used. Then add the entire amount of oil. Mix (shake) the fuel mixture. Add the remaining amount of petrol.
- Mix (shake) the fuel mixture thoroughly before filling the machine's fuel tank.



- Do not mix more than one month's supply of fuel at a time.
If the machine is not used for some time the fuel tank should be emptied and cleaned.

WARNING! The catalytic converter muffler gets very hot during and after use. This also applies during idling. Be aware of the fire hazard, especially when working near flammable substances and/ or vapours.
Fueling


WARNING! Taking the following precautions, will lessen the risk of fire:
Mix and pour fuel outdoors, where there are no sparks or flames.
Do not smoke or place hot objects near fuel.
Always shut off the engine before refuelling.
Always stop the engine and let it cool for a few minutes before refuelling.
When refuelling, open the fuel cap slowly so that any excess pressure is released gently.
Tighten the fuel cap carefully after refuelling.
Always move the machine away from the refuelling area and source before starting.
Always use a fuel container with an anti-spill valve.
If you have spilt fuel on it. Wipe off the spillage and allow remaining fuel to evaporate.
- Clean the area around the fuel cap. Contamination in the tank can cause operating problems.
- Ensure that the fuel is well mixed by shaking the container before filling the tank.

Check before starting

- Check that the trimmer head and trimmer guard are not damaged or cracked. Replace the trimmer head or trimmer guard if they have been exposed to impact or are cracked.

- Never use the machine without a guard nor with a defective guard.
- All covers must be correctly fitted and undamaged before you start the machine.
Starting and stopping


WARNING! The complete clutch cover and shaft must be fitted before the machine is started, otherwise the clutch can come loose and cause personal injury.
Always move the machine away from the refuelling area and source before starting. Place the machine on a flat surface. Ensure the cutting attachment cannot come into contact with any object.
Make sure no unauthorised persons are in the working area, otherwise there is a risk of serious personal injury. The safety distance is 15 metres.
Starting
Primer bulb: Press the air purge repeatedly until fuel begins to fill the bulb. The bulb need not be completely filled.

Choke: Set the choke control in the choke position.


WARNING! When the engine is started with the choke in choke position the cutting attachment will start to rotate immediately.
Hold the body of the machine on the ground using your left hand (CAUTION! Not with your foot!). Grip the starter handle, slowly pull out the cord with your right hand until you feel some resistance (the starter paws grip), now quickly and powerfully pull the cord. Never twist the starter cord around your hand.
Repeat pulling the cord until the engine starts. When the engine starts, return choke control to run position and apply full throttle; the throttle will automatically disengage from the start setting.
CAUTION! Do not pull the starter cord all the way out and do not let go of the starter handle when the cord is fully extended. This can damage the machine.

Stopping
Stop the engine by switching off the ignition.

CAUTION! The stop switch automatically returns to the start position. In order to prevent unintentional starting, the spark plug cap must be removed from the spark plug when assembling, checking and/or performing maintenance.
General working instructions
IMPORTANT!
This section takes up the basic safety precautions for working with a trimmer.
If you encounter a situation where you are uncertain how to proceed you should ask an expert. Contact your dealer or your service workshop.
Avoid all usage which you consider to be beyond your capability.
You must understand the difference between forestry clearing, grass clearing and grass trimming before use.
Basic safety rules

1 Look around you:
To ensure that people, animals or other things cannot affect your control of the machine.
To ensure that people, animals, etc., do not come into contact with the cutting attachment or loose objects that are thrown out by the cutting attachment.
- CAUTION! Do not use the machine unless you are able to call for help in the event of an accident.
2 Inspect the working area. Remove all loose objects, such as stones, broken glass, nails, steel wire, string, etc. that could be thrown out or become wrapped around the cutting attachment.
3 Do not use the machine in bad weather, such as dense fog, heavy rain, strong wind, intense cold, etc. Working in bad weather is tiring and often brings added risks, such as icy ground, unpredictable felling direction, etc.
4 Make sure you can move and stand safely. Check the area around you for possible obstacles (roots, rocks, branches, ditches, etc.) in case you have to move suddenly. Take great care when working on sloping ground.

5 Keep a good balance and a firm foothold. Do not overreach. Keep proper footing and balance at all times.
6 Always hold the machine with both hands. Hold the machine on the right side of your body. Keep all parts of your body away from the hot surfaces. Keep all parts of your body away from the rotating cutting attachment.

7 Keep the cutting attachment below waist level.
8 The engine must be switched off before moving.
9 Never put the machine down with the engine running unless you have it in clear sight.

WARNING! Neither the operator of the machine nor anyone else may attempt to remove the cut material while the engine is running or the cutting equipment is rotating, as this can result in serious injury.
Stop the engine and cutting equipment before you remove material that has wound around the blade shaft as otherwise there is a risk of injury. The bevel gear can get hot during use and may remain so for a while afterwards. You could get burnt if you touch it.

WARNING! Watch out for thrown objects. Always wear approved eye protection. Never lean over the cutting attachment guard. Stones, rubbish, etc. can be thrown up into the eyes causing blindness or serious injury.
Keep unauthorised persons at a distance. Children, animals, onlookers and helpers should be kept outside the safety zone of 15m . Stop the machine immediately if anyone approaches. Never swing the machine around without first checking behind you to make sure no-one is within the safety zone.
Basic working techniques
Always slow the engine to idle speed after each working operation. Long periods at full throttle without any load on the engine can lead to serious engine damage.

WARNING! Sometimes branches or grass get caught between the guard and cutting attachment. Always stop the engine before cleaning.

WARNING! Overexposure to vibration can lead to circulatory damage or nerve damage in people who have impaired circulation. Contact your doctor if you experience symptoms of overexposure to vibration. Such symptoms include numbness, loss of feeling, tingling, pricking, pain, loss of strength, changes in skin colour or condition. These symptoms normally appear in the fingers, hands or wrists. The risk increases at low temperatures.
Grass trimming with a trimmer head


Trimming
- Hold the trimmer head just above the ground at an angle. It is the end of the cord that does the work. Let the cord work at its own pace. Never press the cord into the area to be cut.

- The cord can easily remove grass and weeds up against walls, fences, trees and borders, however it can also damage sensitive bark on trees and bushes, and damage fence posts.
- Reduce the risk of damaging plants by shortening the cord to 10 - 12cm and reducing the engine speed.
Clearing
- The clearing technique removes all unwanted vegetation. Keep the trimmer head just above the ground and tilt it. Let the end of the cord strike the ground around trees, posts, statues and the like.
CAUTION! This technique increases the wear on the cord.

- The cord wears quicker and must be fed forward more often when working against stones, brick, concrete, metal fences, etc., than when coming into contact with trees and wooden fences.
- When trimming and clearing you should use less than full throttle so that the cord lasts longer and to reduce the wear on the trimmer head.
Cutting
- The trimmer is ideal for cutting grass that is difficult to reach using a normal lawn mower. Keep the cord parallel to the ground when cutting. Avoid pressing the trimmer head against the ground as this can ruin the lawn and damage the tool.

- Do not allow the trimmer head to constantly come into contact with the ground during normal cutting. Constant contact of this type can cause damage and wear to the trimmer head.
Sweeping
- The fan effect of the rotating cord can be used for quick and easy clearing up. Hold the cord parallel to and above the area to be swept and move the tool to and fro.

- When cutting and sweeping you should use full throttle to obtain the best results.
Carburettor
Adjustment of the idle speed
Before any adjustments are made, make sure that the air filter is clean and the air filter cover is fitted.
Adjust the idle speed using the idle adjustment screw T, if it is necessary to readjust. First turn the idle adjustment screw T clockwise until the cutting attachment starts to rotate. Then turn the screw anticlockwise until the cutting attachment stops. The idle speed is correctly adjusted when the engine will run smoothly in every position. The idle speed should also be well below the speed at which the cutting attachment starts to rotate.

Rec. idle speed: See the Technical data section.

WARNING! If the idle speed cannot be adjusted so that the cutting attachment stops, contact your dealer/service workshop. Do not use the machine until it has been correctly adjusted or repaired.
Muffler

CAUTION! Some mufflers are fitted with a catalytic converter. See chapter on Technical data to see whether your machine is fitted with a catalytic converter.
The muffler is designed to reduce the noise level and to direct the exhaust gases away from the operator. The exhaust gases are hot and can contain sparks, which may cause fire if directed against dry and combustible material.

Some mufflers are equipped with a special spark arrester mesh. If your machine has this type of muffler, you should clean the mesh at least once a week. This is best done with a wire brush. On mufflers without a catalytic converter the mesh should be cleaned weekly, or replaced if necessary. On mufflers fitted with a catalytic converter the mesh should be checked, and if necessary cleaned, monthly. If the mesh is damaged it should be replaced. If the mesh is frequently blocked, this can be a sign that the performance of the catalytic converter is impaired. Contact your dealer to inspect the muffler. A blocked mesh will cause the machine to overheat and result in damage to the cylinder and piston.

CAUTION! Never use a machine with a defective muffler.

WARNING! Mufflers fitted with catalytic converters get very hot during use and remain so for some time after stopping. This also applies at idle speed. Contact can result in burns to the skin. Remember the risk of fire!
Cooling system

To keep the working temperature as low as possible the machine is equipped with a cooling system.

The cooling system consists of:
1 Air intake on the starter.
2 Cooling fins on the cylinder.
Clean the cooling system with a brush once a week, more often in demanding conditions. A dirty or blocked cooling system results in the machine overheating which causes damage to the piston and cylinder.
Spark plug

The spark plug condition is influenced by:
Incorrect carburettor adjustment.
- An incorrect fuel mixture (too much or incorrect type of oil).
A dirty air filter.
These factors cause deposits on the spark plug electrodes, which may result in operating problems and starting difficulties.
If the machine is low on power, difficult to start or runs poorly at idle speed: always check the spark plug first before taking any further action. If the spark plug is dirty, clean it and check that the electrode gap is 0.5mm . The
spark plug should be replaced after about a month in operation or earlier if necessary.

CAUTION! Always use the recommended spark plug type! Use of the wrong spark plug can damage the piston/cylinder. Check that the spark plug is fitted with a suppressor.
Two-piece shaft

The drive shaft end in the lower shaft should be lubricated with grease every 30 hours. There is a risk that the drive shaft ends (splined coupling) on models with two-piece shafts will seize if they are not lubricated regularly.

Air filter

The air filter must be regularly cleaned to remove dust and dirt in order to avoid:
- Carburettor malfunctions
Starting problems - Loss of engine power
- Unnecessary wear to engine parts.
- Excessive fuel consumption.

Clean the filter every 25 hours, or more regularly if conditions are exceptionally dusty.
Cleaning the air filter
Remove the air filter cover and take out the filter. Wash it clean in warm, soapy water. Ensure that the filter is dry before refitting it.
An air filter that has been in use for a long time cannot be cleaned completely. The filter must therefore be replaced with a new one at regular intervals. A damaged air filter must always be replaced.
If the machine is used in dusty conditions the air filter should be soaked in oil. See instructions under the heading Oiling the air filter.
Oiling the air filter

Always use filter oil, art. no. 531 00 92-48. The filter oil contains a solvent to make it spread evenly through the filter. You should therefore avoid skin contact.
Put the filter in a plastic bag and pour the filter oil over it. Knead the plastic bag to distribute the oil. Squeeze the excess oil out of the filter inside the plastic bag and pour off the excess before fitting the filter to the machine. Never use common engine oil. This would drain through the filter quite quickly and collect in the bottom.

Bevel gear

The bevel gear is filled with the right quantity of grease at the factory. However, before using the machine you should check that the bevel gear is filled three-quarters full with grease. Use HUSQVARNA special grease.

The grease in the bevel gear does not normally need to be changed except if repairs are carried out.
Maintenance schedule
The following is a list of the maintenance that must be performed on the machine. Most of the items are described in the Maintenance section. The user must only carry out the maintenance and service work described in this Operator's Manual. More extensive work must be carried out by an authorized service workshop.
| Maintenance | Daily maintenance | Weekly maintenance | Monthly maintenance |
| Clean the outside of the machine. | X | ||
| Make sure the throttle trigger lock and the throttle function correctly from a safety point of view. | X | ||
| Check that the stop switch works correctly. | X | ||
| Check that the cutting attachment does not rotate at idle. | X | ||
| Clean the air filter. Replace if necessary. | X | ||
| Check that the guard is undamaged and not cracked. Replace the guard if it has been exposed to impact or is cracked. | X | ||
| Check that the trimmer head is undamaged and not cracked. Replace the trimmer head if necessary. | X | ||
| Check that nuts and screws are tight. | X | ||
| Check that there are no fuel leaks from the engine, tank or fuel lines. | X | ||
| Check the starter and starter cord. | X | ||
| Check that the vibration damping elements are not damaged. | X | ||
| Clean the outside of the spark plug. Remove it and check the electrode gap. Adjust the gap to 0.5 mm or replace the spark plug. Check that the spark plug is fitted with a suppressor. | X | ||
| Clean the machine's cooling system. | X | ||
| Clean or replace the spark arrester mesh on the muffler (only applies to mufflers without a catalytic converter). | X | ||
| Clean the outside of the carburettor and the space around it. | X | ||
| Check that the bevel gear is filled three-quarters full with lubricant. Fill if necessary using special grease. | X | ||
| Check the fuel filter from contamination and the fuel hose from cracks or other defects. Replace if necessary. | X | ||
| Check all cables and connections. | X | ||
| Check the clutch, clutch springs and the clutch drum for wear. Replace if necessary by an autorized service workshop. | X | ||
| Replace the spark plug. Check that the spark plug is fitted with a suppressor. | X |
TECHNICAL DATA
Technical data
| T22LCS | T22LS | |
| Engine | ||
| Cylinder displacement, cm3 | 21,7 | 21,7 |
| Cylinder bore, mm | 32,0 | 32,0 |
| Stroke, mm | 27 | 27 |
| Idle speed, rpm | 2900 | 2900 |
| Recommended max. speed, rpm | 7200 | 9100 |
| Speed of output shaft, rpm | 7200 | 6700 |
| Max. engine output, acc. to ISO 8893, kW/ rpm | 0,6/7800 | 0,6/7800 |
| Catalytic converter muffler | Yes | Yes |
| Speed-regulated ignition system | No | No |
| Ignition system | ||
| Spark plug | NGK CMR6A | NGK CMR6A |
| Electrode gap, mm | 0,5 | 0,5 |
| Fuel and lubrication system | ||
| Fuel tank capacity, litre | 0,3 | 0,3 |
| Weight | ||
| Weight without fuel, cutting attachment and guard, kg | 4,6 | 4,9 |
| Noise emissions | ||
| (see note 1) | ||
| Sound power level, measured dB(A) | 103 | 105 |
| Sound power level, guaranteed LWA dB(A) | 103 | 104 |
| Noise levels | ||
| (see note 2) | ||
| Equivalent sound pressure level at the operator's ear,measured according to EN ISO 11806 and ISO 22868, dB(A): | 88 | 90 |
| Vibration levels | ||
| (see note 3) | ||
| Equivalent vibration levels (ahv,eq) at handles, measuredaccording to EN ISO 11806 and ISO 22867, m/s2 | ||
| Equipped with trimmer head (original), left/right | 4,22/3,49 | 3,76/3,12 |
Note 1: Noise emissions in the environment measured as sound power (L_WA) in conformity with EC directive 2000/14/EC. Reported sound power level for the machine has been measured with the original cutting attachment that gives the highest level. The difference between guaranteed and measured sound power is that the guaranteed sound power also includes dispersion in the measurement result and the variations between different machines of the same model according to Directive 2000/14/EC.
Note 2: Reported data for equivalent sound pressure level for the machine has a typical statistical dispersion (standard deviation) of 1 dB (A).
Note 3: Reported data for equivalent vibration level has a typical statistical dispersion (standard deviation) of 1m / s^2
TECHNICAL DATA
| T22LS | ||
| Approved accessories | Type | Cutting attachment guard, Art. no. |
| Blade shaft thread M10 | ||
| Trimmer head | P25 (Ø 2.0 mm cord) | 574 55 72-01 |
| T22LCS | ||
| Approved accessories | Type | Cutting attachment guard, Art. no. |
| Blade shaft thread 3/8 R | ||
| Trimmer head | P25 (Ø 2.0 mm cord) | 574 61 31-01 |
The following attachments are recommended for the specified models.
| Approved accessories | Art No. | Use with |
| Cultivator attachment CAC | 577 61 62-02 | T22LCS, T22LS |
| Blower attachment BAC | 577 61 62-03 | T22LCS, T22LS |
| Edger attachment EAC | 577 61 62-04 | T22LCS, T22LS |
| Pole saw attachment PAC | 577 61 62-05 | T22LCS, T22LS |
| Hedge trimmer attachment | 967 17 64-01 | T22LCS, T22LS |
EC-declaration of conformity (Applies to Europe only)
We, Husqvarna AB, SE-561 82 Huskvarna, Sweden, tel: +46-36-146500, declare that the grass trimmers McCULLOCHT22LS and T22LCS with serial numbers dating from 2013 onwards (the year is clearly stated on the rating plate, followed by the serial number), comply with the requirements of the COUNCIL'S DIRECTIVE:
- of May 17, 2006 "relating to machinery" 2006/42/EC
- of December 15, 2004 "relating to electromagnetic compatibility" 2004/108/EC.
- of May 8, 2000 "relating to the noise emissions in the environment" 2000/14/EC. Conformity assessment according to Annex V. For information relating to noise emissions, see the chapter Technical data.
The following standards have been applied: EN ISO 12100:2010, EN ISO 11806-1:2011, ISO 14982:1998, CISPR 12:2007
SMP Svensk Maskinprovning AB, Box 7035, SE-750 07 Uppsala, Sweden, has performed voluntary type examination on behalf of Husqvarna AB. The certificates are numbered:
SEC/11/2328 - T22LCS, SEC/11/2329 - T22LS. Furthermore, conformity with Appendix V of Council Directive 2000/14/EG is certified. The certificates are numbered: 01/164/080, - T22LCS, 01/164/079, - T22LS.
Huskvarna 19 April 2013

Per Gustafsson, Development manager (Authorized representative for Husqvarna AB and responsible for technical documentation.)
Symboler
Symboler på maskinen och/eller i braupsanvisingen
Attention: projections et ricochets.

WAARSCHUWING! Denk erom dat:
Uzemanyagkeverek 250
Tankolás 251
1:50 (2%) ar Universal, Universal powered by McCULLOCH divtaktu ellu.
1:33 (3%) ar citam ellam, kas izstradatas ar gaisu dzesejamiem divktu motorium, klasificetiem prieks JASO FB/ISO EGB.
| Benzins, liters | Divtaktu ella, liters | |
| 2% (1:50) | 3% (1:33) | |
| 5 | 0.10 | 0.15 |
| 10 | 0.20 | 0.30 |
| 15 | 0.30 | 0.45 |
| 20 | 0.40 | 0.60 |
Degvielas sajauksana
- Maisiet benzin un ellu tirā traukā, kas ir paredzēts degvielām.
- lelejet pusi vajadziga benzina daudzuma. Tad pielejet visu daudzumuellas. Samaisiet (sakratiet) degvielas maisijumu. Tad pielejet atlikuso benzizu.
Pirms iepildisanas masinas tvertnepamatigi samaisiet (sakratiet) degvielas maisijumu.


Zmes 1:50 (2%) dvojtaktneho oleja Universal, Universal powered by McCULLOCH.
1:33 (3%) s inymi olejmi urcenymi pre vzduchom chladene dvojtaktné motory zaradené do triedy JASO FB/ISO EGB.
| Benzín, liter | Dvojtaktné olej, liter | |
| 2% (1:50) | 3% (1:33) | |
| 5 | 0.10 | 0.15 |
| 10 | 0.20 | 0.30 |
| 15 | 0.30 | 0.45 |
| 20 | 0.40 | 0.60 |
Miesanie
Sytic: Vythniite sytic.


VAROVANIE! Ked' sa motor nastartuje so sγticom v polohe sγtica, rezaci nadstavec sa začne ihnéd' otáčat.
Lavou rukou drzte stroj na zemi (VAROVANIE! Nepridžajte ho hohou!). Uchopte Štartovace držadlo, travou rukou pomaly potiachnite šnuru, až kym nepocitite isty odpor (západky štartera sa zachytávaji), a potom šnuru rychlo a silno potiachnite. Štartovaciu šnuru si nikdy neomotávajte okolo ruky.
Opakovane pofahujte za startovaciu snuru, kym motor nenaskovi. Po nastartovani motora vratte sytič do prevaldzkovej polohy a pridajte plny plyn; tym sa automaticky vypne tvz. poloplyn.
UPOZORNENIE! Snuru startera nevytahujte naplo n a nepustajte drzadlo starera pri plnom vytahnuti snury. Moze to poskodit stroj.

Zastavenie
Zastavte motor vypnutim zapalovania.

UPOZORNENIE! Vypinač sa automaticky vráti do polohy stavotovania. Kryt zapafovacej sviečky treba pri montáži, kontrole a udžrbe odmontovat zo sviečky, aby szažrnilo nahodnénu naštevotovani.
Všeobecné pracovnéPokyny
DOLEZITE!
Huskvarna 19 April 2013

1:50 (2%) z Universal, Universal powered by McCULLOCH dvotaktnim oljem.
1:33 (3%) z olji, narejenimi za zračno hlajenje, dvotaktni motorji, klasificirani za JASO FB/ISO EGB.
| Bencin, I | Olje za dvotaktne motorje, I | |
| 2% (1:50) | 3% (1:33) | |
| 5 | 0,10 | 0,15 |
| 10 | 0,20 | 0,30 |
| 15 | 0,30 | 0,45 |
| 20 | 0,40 | 0,60 |
Meşanje
- Mešanico bencina in olja vedno pripravlajte v Čisti posodi, atestirani za gorivo.
- Vedno začnite tako, da v posodo najprej natočite polovico potrebne količine bencina. Nato dodajte celotno količino olja. Dobro premešaje (s tresenjem). Dodajte preostalo količino bencina.
Predno vlijete mešanico v posodo za gorivo, jo (s tresenjem) temeljito premešajte.


- Pripravite samo toliko mešanice, kolikor jo porabite v enem mesecu.
- Ce stroja dalj chasa ne boste uporabljali, izpraznite posodo za gorivo in jo očistite.

Rashladni system 445
Svjcica motora 446
UPOZORENJE! Misli na to:
Ispusni gasovi motora su vruci i iskricavi mogu izazvati pozar. Zato nikad ne pali masinu u kuci ili blizu zapaljivih materija!
Rezni pribor
Ovo poglavlje pojsnjava kako se kroz ispravno odzavanje i upotrebu pravilnog tipa reznog pribora:
Smanjuje masininu sklonost trzanja.
Zadržava maksimalno rezni učinak.
Produzije duzinu trajanja reznog pribora.
VAŽNO!
Upotrebljavajjidinoreznipribor skupa sa onomzašitom koju mi preporučujemo!Vidi odjeljak Tehnički podaci.
Vidi u uputama o reznom priboru o pravilnom naboju užeta i o izboru tăncog diametra užeta.

UPOZORENJE! Zaustavi motor uvijek prije nego sto počneš nesto raditi sa reznim priborom. Pribor nestavlja rotirati Čak i nakon sto se regulacija gasa opusti. Kontroliš di la si reznì pribor potpuno zaustavio ukloni kabel sa svjecice prije nego počneš bilo kakav rad oko njega.

UPOZORENJE! Neispravan rezni pribor moze povecati rizik nasrece.
Glava trimera
VAŽNO!
Pobrini se da se uze trimera haba snažno i ravnomjerno oko bubnja, jer u suprotnom mogu nastati vibracije u masini koje su opasne po zdravlje.
- Upotrebljavaj jegino glavu trimera i uze trimera koji su preparučeni. Oni su ispitani od proizvodača takdo da odgovaraju Jednoj velčini motora. To je posebno važnokad se upotrebljava glava trimera koja je potpuno automatizovana. Upotrebljavaj jegino preparučeni reznipribor. Vidi odjeljak Tehnički podaci.

- Uopsteno jegna manja masina traži malu glavu trimera i obrataño. To je zato sto motor mora izbaciti uze radijalno od glave trimera kod rezanja użetom kao sto mora primiti otpor travc koja se reze.
- Duzina uzeta je takodate važna. Duze uze zahtijeva vecu snagu motora od kračeg, kod istog prečnika uzeta.
Kontrolisi da noz koji se nalazi na zašiti trimera bude dužinu. On se upotrebljava da odsjece uze na pravu - Da bi produzio vijek trajanja użeta moźěs ga ostaviti u vodi par dana. Uźte postaje tada rastegljivije i traje duźě.
Montiranje loop ručke

- Pritisni loop ručku preko snast-cijevi. Opazi da se loop ručku mora montirati izmerodu obilježenih strijelica na snast-cijevi.

Montiraj saraf, limenu plociu i krilastu maticu. Zategni krilastu maticu.
Montiranje i demontiranje djeljive snast-cijevi

Montiranje:
- Otpustite spojnicu okretajuci ručku.

Huskvarna 19 April 2013

Per Gustafsson, Šef razvoja (Ovlašeni predstavnik za kompaniju Husqvarna AB i odgovoran za tehnicku dokumentaciju.)
Symboly
Symboly na stroji a v priručce:
VYSTRAHA! Lesni krovinorezy, krovinorezy a vyzinae mohou byt nebepezne! Nepozorné nebo nespravné pouziti muze vest k vaznemu nebo smtelnemu zraneni uzivatele nebo nekoho jineho. Je mimoradne dulezte, abyste si prostudovali tento navod k obsl obsah.

MoHTnpaHe N DeMOHTnpaHe Ha 50
DByceKUHOHnBaI 2
MOnTnPaHeHa PReWewTo o6OpYnBaHe 50
3
MOnTnpaHHe Ha TpImepHaTa 3aunTa n 50
TpIMepHaTa rJaBa 3
MOnTnpaHHe Ha TpImepHaTa 3aunTa n 50
TpMepHaTa TlaBa 3
PABOTACTOPUBOTO
Eooee 50
e 4
FOPRUB 50
4
3apeKdane c rOpINBO 6
CTAPTIPAHE IN N3KJIIOUBAHE
Koutnep 50
Korrrpnnpei napipane 7
GCTURUUG 11196FISURUUG 50
CTAPINpAHe n NsIKINQBaHe 7
HAUYIH HA PABOTA
50
OchOBHyKasaHnSa paocota 9
IIOIDPbIXKA
Kap6ypaTop 512
Aycnyx 512
OxlaIITeJIHa cncTeMa 513
3anaIteHa CBeu 513
Pa3rno6yem DByceKuHOHeBaI 513
Bb3nyweH fNITbp 513
Texnuecko 06cJyKBaHe 515
TEXHNUECKN XAPAKTEPNCTIKN
TexnueckxapaKtepcntkN 516
EO-yBepHe 3a cboTBcTbVe 517
Ipei n cTapTnpaHe o6bPHeTe BHMaHHe Ha cJIeHHTO:
IpouteTe BHHMaTeJIHo p'koBOJCTBTO 3a ekCnloaTaUЯ.

PNEyPPEJDEHNE!IbIroTaayHOTOn 3nlaqHe Ha Wym MoJe Da DoBeJe DO nocToHHo BLOwBaHa He cLya. TaKa ye BnHaNn H3NoJ3BaTe ODoBpeHa 3aunTa Ha cLya.

PPEJYPEXDEHNE! Pn HnKaBnB 6OCToRATeJIcTBa He 6nBa Da ce BNaCrt N3MeHeNIA B IpbBOHaJaIHaTa KOHCTpyKcIg Ha MaMInHaTa 6e3 pa3peSeHne Ha npOn3BOdITeJI. PoJI3yBaIte cMoOprINHaJIHn npScNoCo6JeHn. Hepa3peSeHn N3MeHeNIA n/nnPi npCnNoC6JeHn 6bXa MoRJn Da pPeIN3BvKAT cepNo3Hn TpaBMn nCMbpTHn ClyuHa n Ha onepaTopa nn dpyr nnla.

PNEUINPEXHEHNE! MoTOpHaTaKoca, xpaTope3aChkata uNl TpImeBt, c KOnTO ce pa60Tu HemapJInBO uNl HnepaBnIHo, Ca anCHuNCTpyMeHTN, KOnTO MoRaT Da npEIM3BvKaT cepNo3Ha uNl CMbPtoHOcHa TpaBMa Ha onepatopa uNl 3aO6KnAJaIuTe rO. MhOro e BaHNO da pOueTe ToBa pKobOdCTBO 3aEcknloataLInu N da BHNKHeT Be CbDbpHxAHHeTo My.
YBaXHaEMn nOtpe6nteJIIO!
Благорам Ви, чьпбрахт пodyкт на McCulloch. Тaka ве сtabate част опстория, залоча loТдын, когаTO McCullo Corporation zanOчна рponьодстВОTo на Двигаел no ВрemeTo Ha BToPata CBToBHa BOHа. Пгз 1949., kогаTO McCullo п徴стави сюь mьрь lek Бериен ТрИн 3a edin YOBek, тои помени завинагорсkaразpa6ota.
CepnTa HOBaTOpckN BepHHH NtpnoH NpOJbLHc N c TeueHne Ha DeceTNJeTna, a 6n3HeCbT ce pa3wnp, nPbRO bC CaMOJIeTHN DVBAteTeJIN DVBAteTeJIN 3a CbCTe3aTEJH N KOJIn ppe 1950-Te RoDHN, CJed KoTo C MHN BepHHH NtpnoH npE 1960-Te roJHn. No-KbCHO, npE 1970-Te n 80-Te KbM npoDyKToBaTa rama 6baXdo6abeHn TpIMepn N MToTpnHmTmI.
Диес, кato чат о Гурана Ну Gusqvarna, McCulloch npoьлжава Традицята Н Maошни Двига Te Лп,Текическ GOHаTOpCТВО ИСИнЕН,КOTо BEe NOБеч OT NOЛOBИN BEK ca HашаТа 3ana3eHa Марka.3a Hab OCHOBEN ПиорNTe T e HamaJIЯBaHe Na p3xOJaHa RaTPOB, EMICINITE N HIBOTO Ha ShyMa, KaKTo n noIo6PraBaHeTo Na Be3onAChOCCTTa N JIeKOTa 3a pa6Ota.
Hne ce HndraBame, ye ige octaHaTe DoBoLnH ot Baunia npOyKT McCulloch, Tb' KaTo e Toe c3daen da Bn 6bIe Bepeh NmOoUHnK 3a dJIro. Kato cIeDBate CbBeTIne 3a nIOJ3BaHe B TOBa P'koBOcCTBO 3a ekCnloaTaunia, oc2NyHbaHe n IOdRpHnKa, HeROBnT HnBOT MoHe da 6bIe yDblHeH. AKO ce HynDaTe Ot npEceNoHaHaN a NOMou 3a peMOHT nIIu ObcLyHbaHe, MOJIA, nIOJ3BaIte Service Locator (OTKpnuBaHe Ha cepBn3) B caeta W.mcculloch.com.
McCulloch HenpctaHNO ycBbPseHCTByBa cBOInTe npOyKTn n npaAn ToBa cn 3ana3Ba npaBOTo da npomeHa npimepHo oΦopMaHTo Nm, BbHnHnA Nm BnD n Dp. 6e3 npEbpntelHO yBeDoMJeHne.
ToBa p'koBOcTBo MoHe c'bIoo Da 6bIe I3TeIeH O T caIa www.mcculloch.com.

Koe K'bIe Ha TpImepa?
1 Tpimepnata rnaBa
2 3apeHdahe cbc cMa3Ka, bIIOBa 3b6HapeDaBka
3 bIIOBa 3b6Ha npedAka
4 3aunTa 3a peHHeoTo o6OpyDbaHe
5 DByceKUHOHeH BaJ
6 CbeHHeHne Ha DByceKUHOHa BaHa
7 PpIMKOBa p'koXBaTka
8 PeryaTOp Ha npocelHaTa KJana
9 Kliou cTOn
10ФикcaTop Ha ДросеЛнота Клana
11 Kanayka Ha cBeeu CBeu
12 CtrapTep
13ДрьнkaHa cTapTepa
14TopINBeHpe3epBoap
15 Kanak Ha Bb3dUwHnI ΦIITbP
16 TopnbHn noMna.
17 Cmykau
18 3aADBHHBaau nnck
19 PbkoBOcTBo 3a ekCnloaTaun
20 Kom6nHpaHraeueH KJIou
3anomHeTe
3ANOMHETE!
MaunHaTa e KOHcTpynpaHa eDnHCTBeHo 3a DooKOcBaHe Ha TpeBa.
EiHCTBeHInTe npncnoc6JIeHnI, 3a KOInTo e dOnyctNtMo Da IINoJ3yBaTe DnVrAteJRA KATO 3aDnBnHbAs n3ToUHnK, e npenOpJyHaHOTo OT Hac peJeMo 6OpUyDaBe B pa3JeTexHnueckn xapakTepncTnKn.
Hepa6oTeTe HnKoracMaunHaTa,ako cTe yMopeHn,nncTe ynoTpe6buiN aJKOxOJI nnIeKapCTBa,KoITo NOBInraBat 3peHneTo, Cb6pa3nTeJHoCtTa N KoOpDnHaCnJaTa Ha DnBHeHnTa.
I3no.I3baIe IInuHata 3aunTHa eknupOBka. BIn yka3aHnTa bpa3deI InuHa 3aunTHa eknupOBka.
HnKora He n3noJ3BaIte MaunHa C n3MeHeHnB opnHaJIHaTa PbPBOHaUJHa KOHCtpyKUJa. HnKora He n3noJ3BaIte MaunHa, KoTTo e HnEaNPabHa. N3BbPbUaTe OncuHane T ToBa pKBoOdCTBo 3a ekCnLoaTaUe peDOBn npOBepKn 3a 6e3oNaChocT, NOdPbHexKa n cepBn3. OnpeJeHn eonepaum No noDpBHKaTa n cepBn3a Ce n3BbPbUaT e dInhCTBeHo OT KBAuNfUuPaHn cneLAnlncTt. BnXte ykazAHnTa B pa3deJ'NoDpBHKa'.
BcnuKn Kanaa, 3aunTn n pboKoXbaTkN Tpr6Ba
da 6bTaM OMTnpaHn npedn 3anoUbaHe Ha
pa6ToA. YBepeTe ce daJIn KanauKaTa Ha
3anaJIteIeHaTa CBeu, n 3anaJIbaunrT Ka6eI ca
n3npaBnH, 3aJa N36eRHeTe OnaChOCTTa OT
eJeKTPnueckn yUpd.
IbBpeMa pa60Ta, onepaToTe Ha MaunHaTa TaPraBa Da BnIMaBaT Da He ce npN6JIuKbT Xopa NIN HINBOTHN BpaNcYcOT 15 M. KOraTO HAKoJKO onepaTopa pa60TaB eDNH NcbU yAcTbK, TpRABa Da cCnAba 6e3OnacHO pAcTOnHne, paHNb Ha NaMJaKO DBoHnTa DJIInHa Ha D'bpBOTo, Ho He No-MaJko OT 15 MeTpa.
HaparBeTe TJIocCTHa HnCKeLNa Ha MaShiHaTApnei ynOtpe6a, Bn. rpaΦika 3a TexHuecko 06cIyUKBaHe.

PNEДУПЕХДЕHIE!Tази Машина сьздаба eльктpoмгнTO пе NO Врeme Ha pa6ba.Tпи Няков OBCTOЯТСТВА TOБ рОЛе моHEда ИНТерф epepupa CakTNBи Илп acnBHN МедиинСКИ ИМПЛaHTAHTN.3a Д HaMaJIte риСКОТ OCEрNo3HOИ ФаТаНLO HabapraBAHe,п IpenOpьчаве Лца Tc МeДицнСКИ ИМПЛaHTaHTN Da ce KOHcyTTnpaT c Лж Kapcar сИ и РрИЗБODИтЕ на МediицнСКИ ИМПЛaHTAHT,прдп Д ЗANuHТ DA pa6bOTТС тЗАМaшина.

PNEДУПЕХДЕНЕ!Pa6oTaHa ДВИГАТЕЛВЗATBОРЕНОИЛ ЛошонроветравноnomeшениМоже ДаdoBoDEdoCMbPTTnapaДN 3aДушаванEOIITpRaBЯHc ВьглероденOKИС.

IPEJYIPXEJDEHNE! HNKoRa He
n03BOJRABaiTe Ha DeLaTa Da
n3NoJI3BaT MaunHaTa nIIa Da 6bDaT B
6JIN3OcT Do He. Tb KaTo MaunHaTa e
o6OpyDbaCn pyuKHeNtIKJIOUbAteL
m MoHe da 6bDe zanaJeHa Upe3
PnIlaRaeHa H NsCKa CkOpocT i Cnla
BbpyxCtApTepa, Dopn mMaJIKeTe DeCa
pNn HAKOn ObCToReTcTBa MOraT da
Ca cNoCo6Hn Da 3anaJaT MaunHaTa
ToBa O3NaUaBa pNck Ot cepNo3Ho
TeJeECHO HapaHbAHe. CJeDoBaTeJHo
OTcTaPaHbAaTe KanaKaTa Ha CBeUta
KoRaTO MaunHaTa He e IpoI prKaKTo BV
Ha6NIODeHne.
Лиучна 3ацNTha eКИПИрВka
3ANOMHETE!
MoTOpHaTa Koca, XpacTope3aUkaTa nIi
TpMepbT, c KOnTo ce pa6OTo HeMapnIBo NII
HePpABuNlHo, ca OnaChn INCtpyMeHTn, KOITo
MOrAt Da npEiINzBkAT cepno3Ha NII
CMbPtoHOcHa TpaBMa Ha onepaTopa NII
3aO6NkaJIAyTe rO. MhOrO e BaHNo da
npOteTe TOBa pKOBODCTBO 3a EKcNlOaTaU
n Da BHNKHeTe B CdbDbpJxHaHNeTO My.
Ipi npa60Ta C MaunHaTa Tp86Ba BnHaN da
NoJ3BaTe IuHHa 3aunTHa EKINInPobKa Oo6peHa
OT CbOTBeTHOTo BeOMCTBO. IuHnTA 3aunTHa
EKNInPobKa HneKJIIOUBA PnCK OT TpaBMn, Ho
HamaJIbBa cepno3HocTt Ha TpaBMn aTnp
3JonoJyka. IomOJe TcBOn DnCtpr6yTop 3a
nomoI npn n36opa Ha noDxoJa7a eKInnPobKa.

PNEUINPEXJEHNE! BbTeBnHaBNHMaTeJN3a PneDynpeJNTeJINCHNaHJN JNOBnKBaHn, KOraTOn3NoJI3BaTe aHTNphiHN.CBaJaTEBnHar aHTNphiOHTe He3a6abHO cJeIcNpaHe Ha DnBraTeJL.
KACKA
3aunTHa KaKa B CnyaHTe, KOraTo cBueCTByBa BepoTHOCT OT naDaHe Ha npedMeTu

AHTUNΦOHN
HeoOIOmo e da pa6oTnte c aHTnfoH, OcnIpyraBaun DoCTaTbueH 3aIyuaBaAeΦeKT.

3AUNTHO INPNCIOCObENHE 3A OUYTE
Tpra6Ba BnHaRn da n3noJ3BaTe Oo6peHn 3aunTHn npncO6JeHnna 3a ouHTe.AKO n3noJ3BaTe MaCKa, cIeJa da n3noJ3BaTe n Oo6peHn 3auHTn OHuJa.C Oo6peHn 3aunTHn oNuJa ce IMa npreDbNt TakABn, KOITTO TROBAPr HA CTAndapt AHCN 387.1 3a CAU nnEH 166 3a cTpaHnTeOT EC.


PbKABUN
PbKabuNcIeBaDa ce n3NOJ3BAt pNHeo6XoDMoc, HapnMpE npMoHTnpaHaPeJeHoo6OpyDbaHe.

BOTUIN
I3noJ3aIte yctOuHbN u HexJIb3raU n ce 60Tuyn.

PABOTHO OBJIEKJIO
I3noJI3BaIte 06JIeKNo OT 3dpaB IIaT IN
n36IgBaIte IpeKaJIeHO ⅦpOKn DpEXN, KOITo
JIeCHO MoT a Ce 3aKaHaT 3a XpaCTN IJI N KLOH.
I3noJI3BaIte BnHar n bJIrg NaHTaJIoH O T 3dpaB
IIaT. He HocTe 6mHyTa, KbCn NaHTaJIoH,
CaHdJIaN In He pa6OTe 6ocn. Kocata Bn He 6nBa
da BcN IO pAmHeTe.
ANTEUKA 3A IIbPBA IOMO
AnTeKaTa 3a nbpBa nOmoT Tp8Ba BnHaN Ia e noD pKa.

3aunTHoTo 06OpyIbAHe HaMaunHaTa
B To3n pa3delen ca onncanH pa3IuHHTe 3aunTHN yctpoCTBa Ha MaunHaT, T8XHOTo DeIcTBne, KAKTOn HAunbT 3a N3BbPbBaHe Ha npereJed n noDpBnKka 3a da ce rapaHTnpa 6e3oanacHocT Ta npa60Ta. BIn pa3delen KaKBo - KbDe?, B KoITo e nocOeHo KbDe Te3n yctpoCTBa ce HAMipat Ha BaWaTaMaunHa.
EkcnloatauohnTcPOKaHaMaunHaTaMoKe da 6bJe HamaJIeH, aPNCbT OT Heaactn CnyaH yBeJInueH, aKO TexNHeCKToO6CnyHBAHe Ha MaunHaTe He ce npOBeJda npABnIHO u Ako 06cLyHBAHeTO n/INpeMOHTnTE DeHocTH He CE n3IbJIHBaT npOecNoHaJIHO. Ako IMate HuyJa ot OoSe IHOpMaUN, MoJIA, o6bPheTe cKbM Ha- 6JIn3KnCepBn3.
3ANOMHETE!
BcraKo n3BbPbBaHe Ha cepBn3 n peMOHT Ha
MaunHaTa NsCKBA CneLnaJIHo
06pa3oBaHnE.ToBa BaHn CneLNaJNo no
OTHOuHE He Ha 3aunTHOTO O6OpyDbaHe Ha
MaunHaTa.ObpHeTe KbM cepBn3a cn, Ako
MaunHaTa He OTROBApHa Hn3bpoeHnTe No-dOly
npOBepKn.Ppn NOKynKaTa Ha NaHn PNOyKT Hne
rapaHTnpaMe IpeOCTaBHeTo Ha
KBaIINΦUpaHnPEMOHTnH yCnyn H cepBn3.AKO
MaTOTO,OT KoTOc Tc 3aKynMaunHaTa,He e
NaHs CneLNaJN3pAn DmCTpn6ByTOp,3aNTaIte 3a
Hai-6JIn3kata cepBn3Ha pa60TNJNlUca.

PPEUYIPXEJDEHNE! He n3noJI3BaIte HNOKOA MaMHaC hEIM3pAHO 3aAMHTHO 6OpyBaHe. PnOBepKNe I NOIDpbXkKaTc JcJeBb Da ce N3BpbWbAT cBrIaCHO yKa3aHNrTa B To3n pa3dJeL.AKO MaunHATA BN He N3DbpnHa Ha KjORe OT n36poEHNe PnOBepKc, CJeBda BA cCeBpJHe Tc cepBm3a cn 3a IN3BpbWbHa He pemOHCT
Hnkora He n3noJ3BaIte MaunHa c nobpeH aycnyx.
IpoBepaBaiTe peiobHo HaedHIOCTTaHa 3aKpenBaHeTo Ha aycnybT KbMaHHaTa.
Ako aycnyxbT Ha MaunHaTa Bn e Cha6dEn C nckporacnteJHa MpeHa, Tn Tpr6Ba Da ce nouchCTBa peoBHO. 3aMbpceHaTa MpeHa ppeiNtBVKBa npEprBaHe Na DBeIgTeJa N Moke da DoBoeDe Io cepno3Hn nobPeNi.

IPEJUYPENHEHIE!Aycnysnte, 60bOpYBaHNcKaTajn3aTop ce HaprbaTcNJIHO BpoCeca Ha pa6oTa nI3BeCTHO BpeMe cJeToBa.ToBa e BaJINDHO 3a npa3HmXOJ.
ДokocbaHTo MIMОJIЯпЕДИЗВИКa
m3rapHnHa KaHATA.BHIMaBaIte 3a
onachOCT OT nOHaP!

PNEUPIPEKJEHNE!BbTpewHocCTTa
ha yM03aIywnTeJcBDbpKa
xIMnKaJI,KOITOMOHeJa ca
KaHcpeoreHN.BcIyauye
yM03aIywnTeJteNt e NobPeDeH,
136raBaiTe DoNPc Te3n EJeMeHTN.

PPEIYIPPEIXDEHNE!He3a6paBryTe, ue:
Otpa6oTeHnTe razoe ot DvBraTeJia ca ropeu n B TEx MoRat da CbIbPnat NcKn, KOnTo Da npEdu3BnKaT noHap. He cTAPrAte HNKora MaunHaTa B nOMEeHne NJI 6JN30 Do rOpNBm MaTePnAJI!
Pexe o6opyDbAhe
To3n pa3dEJ onncBa KaK Upe3 npaBnHa noDlbpHa n npaBnIeH 36Op Ha peHeIoTo 06OpyDbAe ce noctrA cIeHTo:
- HamaJIyBaCe BepoarTHocCTTa OTo6paTeH TJaCbK Ha MaunHaTa.
IocTnra ce MaKcImaJIHa eΦeKTINBHOCT npi pr3aHeTo.
IpoJbJIHaBa ce ekcIIaTaUHOHaT a npOdbJIHNTeJIHocT Ha peKeIoTo o6OpyDbAhe.
3ANOMHETE!
I3noJIaBtepeHseO6OpyDbaHe camaO npenopbauHToOT hac 3aunTHo6OpypBaHe! BnK pa4JeT EKmHcckn xkapTepcntkN.
PnIbPnaIte ce KbM NHCtpyKUInTe 3a peJeHIOTo o6OpyDbaHe 3a npaBnHNoTo HAmOTabaHe Ha KopdaTaN I36Op Ha npaBnJIeH DnAmeTbpHa H KopDaTa.

PNEUYPEXJEHIE! CnpaaiTe BnHaru DBrVaTeJI npEi Da 3anoUHeTe da pa6oTnTe c HkON qacr OT p9eHooTo o6oPybAHe. To npOdbNaba Da ce BbptN dOpN, KOraTO CTe nychaI npEyJLaTopa Ha ra3Ta. Y6eJeTe Ce, ye peHooTo 06oPyBaHe e cnprJo HanbIHO i pa3eJInHe TaKebelaOT 3anaJIteJInata CBeII, npEi Da 3anoUHeTe da pa6oTnTe c Hero.

PPEJYIPEXJEHNE!HenoXoJaopoepHeo6OpUyBaHeMoJe Da noBnBnBepoAHTHOCTTaOT3JNOJyKN.
TpimepHaTa rIaBa
3ANOMHETE!
Heo6xOdImo e BnHaR n da ce y6eIuTe, Ye TpIMepHata KOpda e HAMOTaHa PJIbTHO npabHomepHo OKoJIo 6apa6aHa, TbKaTo B npotINBe cLuyaBb3HNKBaT He3dpaBOcJOBHn Bn6paun Ha MaunHaTa.
Pa6oTeTe caMo c npenopbuaHnTe oT hac TpImepHa rIaBa N TpImepHa KOpJa. Te ca n3npo6BaHn O nPOn3B0DnTeJIa, 3a da CboTBeTcBAt Ha pa3MepiTe Ha onpeJeHn IDbVaTeJ. ToBa e oc6eHo BaHNO npN u3noJ3yBaHeTo Ha n3UJINo aBTOMaTn3uPaHa TpImepHa rIaBa. Pa6oTeTe caMo c npenopbuaHTo oT hAc peKeIoo o6OpyDaBe. BInn pa3DeI TexHnueckn xapaKTepcntKn.



Ha-06o no-MaJka MaShnHa 3NcKbNa mJa KTPmepHn rJaBn u6paTHoTo. Toba e CBbp3aHo C o6ctOaTeJICTBOTo, Ye npu KocHe c Kopda DnBaTaeJIaT Tp6Ba Da OTxbpIa KopdAta BpaDnAHa NocOka O T PmepHaTa rJaBA c'bSeBpeMeHHo Da npeOdoJIyBa CbnpoTpNbAba Ta TpeBaTa, KOrTO KocIne.
ДьлнIHaTaHa KOpda e cBso BaHnHa.Дьлгa KOpDAИЗNCKBa NO-ROJMAДВINaTeIHa MoUHOCT,OTKOLKOTo KbCa KOpDa CbC bSIny DnAmETbp.
- Y6eTeTe Ce, Ye HOnbT, NoCTaBeH Ha TpIMepHaTa 3aAMTa, He e NOBpeH. Toi ce HnO103yBa 3a Hapr3BaHe Ha KopdAto Do Heo6XoDmATA DbJInHnA.
3aДа уБЕЛУЧИТЕ JИВОТА на КорДАТА можЕТЕЗИКOLKO ДИΝΙ DAЯ НAKINCHETe ВьВ ВОДA.КорДАТА CTаBANo-издрьЖлINAи Трае no-DlbIro BpeMe.
MOHTIpaHe Ha npIMKOBaTa pBkoXBaTKa

IocTaBeTe p'koXBaTKaTa Bbpxy DByceKlmoHna BaJ.ObpHeTe BnMaHne,Ye npIMKObAte p'koXBaTKa TpR6Ba Da ce MoHTnpa MeJdy MapKnpaHnTe Ha DByceKlmoHna BaCtpeJIKNi.

- MoNTnpaTte 6oJI, 3ateraTeIHaTa 7aHbAn KpIuHaTaTa raiKa cByIaIcHo pIcUHkAta. 3aterHeTe KpIuHaTaTa raiKa.
MoHTnpaHe NДeMOHTpApHe HaДByCEKUHOHnBaJI

MOnTnIpaHc:
Pa3xla6eTe cbeiHnTeIa KaTo 3aBbPtnTe pBcKaTa.

-ПоДраВHeTe МарКера Ha OБоруДВаHeTo (A)cOTbOpa B cБeДиНИтЕлЯ (B).

-ПиТиСнeTe 6OBpyДBaHetoВ cБeДиНтелДOKaTo 3aeme MЯCTOTOcN.
3aTeHHeTe 3dpaBo pKaTa npeNi da H3NoJ3BaTe MoyJa.

Демоноpaneн:
Pa3xaabeTe cBeiHInTeIaTo 3aBbPTnTe pTuKaTa (HaJ-MaIKo 3 nTn).

HaTuscheTe n3aDpBxTe 6yToHa (C). PnuiIbPjnaIKn 3dpaBO Kpa HA dBiMaTeJIa, N3dIbnaiTe aKcNaiNo o6OpyDaHetoOT CbeEINHITeJIe.

Hnkora He cTapTnpaTe MaunHaTa:
1 Ako cTe n3JIeJIr IopINBO BbPxH HeTo. N3TpNIte pa3JIaJIoTO ce rOpINBO JIn MAcJo N octaBeTe octTaTbUInTe OT rOpINBOTo Da ce n3napT.
2 Ako cTe n3JIeIIN rOpINBO BVbpyx ce6e cn IIN npExnTE cSe cpeo6JeueTe. N3MnIte Te3u CaTn Ha TJIto Cn, ToCa 6NJB BOKTc cRopINo. N3noJ3BaIte canyH BOda.
3 Ako MaunHaTa NMa Teu Ha rOpINBO. IpoBepaIte peoBHO 3a TeOBe O Kanaka N MapKyuTe 3a rOpBIOTo.
TpaHcnpT n c'bxpaeHne
CbXpaHЯBaIte N TpaHcnpTIpaIte MaHInHaTa n IropNBOTo TaKa, Ye Da HMa ONaCHoCT eBHTyaJIeTeu INI INI INaPaeHnI Da BJIa3aT B KOHTaKT C NCKpIN IINOTKpNT IINaMbK, HaNpIMepOT eJekTpNcEckN MaINHn, eJekTpOdBnIgATEJI, eJekTpNcEckN/CINIOBn IpeBKJIIOvBaTeJI INI HArpeBaTeJI.
- TpAHCnOpTnpaBcEuaHnaHnHaHeHnTa3uNtI N Oo6peHn Ty6b.
AkoMaunHaTaIe Ce cBxpaHraBa 3a no-npOdbJIHHTeJeHnepNO.DcNEbDA GopBNHTpe3epBOapdA6bNeI3npa3HeN.O6bPheTe ce KbM6EH3NuHOCtAHJNTaCNIaHΦOpMAuN KbDe Da I3JeeTe N3JIuWbKaOTrOpBO.
- YbepeTe Ce, Ye MaunHaTa e nouHCTeHa N Ye peDei D'JIyIroscOPOHTo 3aKoHcEpBvPaHe e npOBeDEHO PbJHo 06CJyJXBaHe.
TpaHcnpTa3aunTa 3a peKeToO o6OpyDbaHe Tpr6Ba, npn TpaHcnpT n cxbpaHaBaHe Ha MaunHaTa, da e MoHTnpaHa BInHa!.
- O6e3onacete MaunHaTa npn TpaHcnpTupaHe.
3a da npedeTbpaTnTe HeyMmIeHo 3anaIbHaNe Ha DnIgTaTeJIA, KanaUkaTa Ha CBeuTa BInHaRn Tp6Ba Da ce CBAJa npi DJIbIroBpeMeHNo CbxpaHraBaHe aKO MaunHaTa He e nOd npK HAd3Op N KOraTo IINbJIhRaBaTe BCuKIn TexHnueckn OepaCnIO o6cIyJbHaBe Ha MaunHaTa.

PNEUPIPEXJDEHNE!PPOBBAWTe npEJa3JIbOcT npi pa6oTa c rOpIBoTo. POMHeTe, ye IMa onaChocT ot pOnkap, B3pIbOBe N BdNWBHe Ha napi.
TopnBHa cMec
BHIMAHHE! MaunHaTa e o6OpyDbHa c DBytaKToB DByrAteI N BnHar n Tpr6Ba Da pa60Tn CbC Cmec O6eH3HN IN DBytaKToBO MacNo. 3a da ce NOJUHy Heo6XOJNMO TO CbOTHOUsHE Na CMeCTa, KOJIueCTBOTo HA MaClIoTO Tpr6Ba Da ce OTMepBa ToUHO. Pn CmecBaHe Ha MaJKN KOJIueCTBA RopINBO, DOpN He3NaHTeJIH N OTKLoHEnY OTO KOLIueCTBOTo MACNo MoRat Da BLOWaT PRA3KO CbOTHOUsHEMo To HcMECTa.

IPEyIpyEHHIE!TopnBoto n otnaHHT npDyKTNOTropNBOTO ca leCHO B3nJIaMeHIMN MoTAt da npuHNT cepno3HO HapaHbAbe np BdINBaHE NIJ KOraTO BnR3AT B KOHTAKTC KoxTa. Iopadn Ta3n npuHa c6JIIOJaabTe BHNMaHne KOraTO 60paBtNE C rOpBO n HenpeMHe NpOBepaBte DaJIe CbIeCTByBa aJeKbAtha BeHTnlaUa.
Бeнзин

BHIMAHNE! BnHaRn n3noJ3BaJTe cMeCn oT KaueCTBeHn 6eH3nH/MacNo Ha-N-MaJIko 90 OKTaHa (RON). Ako MaunHATA Bn e o6OpyDbaHa c KaTaNtUHeN KOHbepTop (BnHTe rJaBaTa TexHnueckn DaHH) BnHaRn n3noJ3BaJTe 6e3oLoBHN cMeCn 6eH3nH/MacNo c Do6po KaueCTBO. OJOBHnT 6eH3nH ue pa3pyuN KaTaNtUChnKoHbepTop.
Ako IMATE Ha pa3nOJIOHeHne EKOJOrnUeH 6eH3nH, T.H. aJIKNaTeH 6eH3nH, cJeDbA ToJ da ce H3NoI3Ba.

TopnBO C eTaHOJIOBa cMec, MoHe Da ca es n3noJ3Ba E10 (cMec c MaKc. 10% eTaHOJ). I3noJ3BaHeTo Ha eTaHOJbN cMecn, No-BvCOKn OT E10, ue cb3JaTe loOnu YcJOBnHa pa6Ota, KoEt MoHe Da nobpeDn DNBraTeJIA.
- Hain-HinckTo npenopbUbaHo OKtaHOBO YncIe 90 (RON). Ako BnE noJaBaTe Ha dBVraTeJЯ rOpNBO cOKTaHOBO YncIe, No-HncKo OT 90, MoHe Da ceNoJyu ChyKaHe. Toba BoNi Do eHa BvCoka TeMnepaTpa Ha dBVraTeJЯ, Koeto MoHe Do doBeJe Do cepNo3Ha nobpeJa Ha dBVraTeJЯ.
PnpnoDJIbIHHa pa60ta HA BUCOKO 6obopTc ce npenopBycu n3noJ3yBaHeto Ha 6eHNCH cNo-BUCOKO OKTaHOBO YICJIO.
MacIIO 3a DByTaKToB DnBnGaTeJ
Изпаловдытбготовдгатлим MacLoHa Universal,Universal powered by McCULLOCH,Koeto e cneuaHn npou3BeDeHo 3aДытбтOBuДгогаTeN CБЗdUnho oxlaJdAhe,3aДаПolyuHTe Hn-До6bpe3yЛТАнnpoINBODIteHNOCT.
HnKoRa He n3noJ3BaIte IByTaKTOBO MacNo, npEHa3NaUHeO 3a n3BbH6OpDOBu DnBfAteJIc BOJHO OXJaHaDe, NOHkoRa 0603HaUaBAHo KATO MacNo 3a n3BbH6OpDOBu DnBfAteJIi (KoTo Hocn ImTe TO CW).
3a6paHEno e n3noJ3yBaHeTo Ha MacNo 3a YeTnpuTakTOBn DnIraTeJI.
Cmec hNcKoKaYeCTBeHo MaJIo NJI npekaJIeHO 60raTa Ha MacJo/roPnBO MoHe da N3LOHn HA onaCHOCT yHKUmaTHa KaTaNITuHnKOHBepTop N da HamaJIe EKcNIOaTaUIOHHMy HINBOT.
CbCTaHa cMeTa
1:50 (2%) c ДытakТоВTo MacLo Na Universal, Universal powered by McCULLOCH.
1:33 (3%)с дуги Macla,педнаЗнayechи 3a ДытakТови ДвигаTeJиС ВьДушо oxlahande,Класицрани 3a JASO FB/ISO EGB.
PnIroTbAHe Ha CmecTa
- BeH3nHbT Tp86Ba Da ce CmecBa C MacNoTo B
- qIcT pe3epBoap, npedHa3Naueh 3a rOpNBOTo.
- OThauano Tpr6Ba Da HaJeete NoIOBnHaTa OT npEiBnDAnHna 3a N3NoJ3yBaHe o6Em Ha 6eH3nHa. CJeT TOBa Ce D6abra YraIoTo KOJIueCTBO MaCNo. CMeCeTe (pa3TbpcTe) rOpBNa CMeC. JoJeIte ocTaHaIoTO KOJIueCTBO rOpIBO.
Pa36bPkaiTe BHNMATEJIHO rOpRBHATA cMEc (ye3 pa3TbPCbaHe) nepeIaЯHaNaHeeTeB rOpRBHNe pe3eBoap HaMaIIHnTa.

He cmecBaIte TepoINBO 3a noBce OTHyHHOTo Bn 3a eINH MeCEU.
Ako npoIbJIinHTeHepnoID He 3nOJ3BaTe MaunHaTa, rOpINBnHrTpe3epBoaP Tp6Ba Da 6bJe mnpa3HeN nOuNCtEn.

PNEyPENJDEHNE!AycnyxbTc KaTaJIIM3aTOpe Ce HarpIBya CnJIHO B npOeca Ha pa6oTa N I3BeCTHo BpeMe cJeToBa.TobaeBAJIuNHO 3a pa6oTa Ha npa3eH xoH. He 3a6paBraIte 3a OnaChocTTA O TOnHAp,OC06eHo npi pa6oTa HeJaIeY oT OrHeONaChn BeueCTBa n/IIIN Ra3ObE.
3apeHdaHe c rOpnBo


PNEyPENKDEHHE! CnAsBaHeTo Ha cIeHNITpeNpAa3Hm MepKn HamaJIaBa onaCHOCTTAOTNoJap:
CmeceTe HaneJeTe rOpBTo HaBbH, K'beTe HMa Nckpn NJI nnIaMbL.
He 6nBa da ce npuHn Ia ce nbpHnat o roPnBOTo ropeun npeDmTeN.
Hikora He 3apeJdaTe ropuBo npB KJIUOeH DnIgTaTeJ.
IpeNi 3apeHJaHaTeC rOpNBo TpR6Ba HENPeMeHHO Da ce N3KJIOUc IbVraTeJIrT Na da ocCTaBn 3a HNKoJIKO MInHyTN Da n3CTiHe.
OTBopeTe BHIMateHo KanakaHa TropBnHpe3ePBOap 3a da ce oTcTaH eBEHTyaHOb CBpBXHaJIraHe.
CJIed 3aepHdAeTo C TropNBO
TprnKJNBO 3aBnHTe KanaKaHa
TropBNbpe3epBoap.
IpeNi Da cTapTnpaTe MaunHaTa,
BnHaRn Tpr6Ba Da Ja IpeMeCTBaTe
HacTpaHn OT MrcTOTo, KbTeTo e 6nla
3apeHnAC rOpINBo N KbTeTo DbpHnTe
rOpNBOTo.
I3noJ3BaIe TepuBcTaNK C npEJa3nTeJIa npenbJbAHe.
AkoCTeI3JIeIINrOBNoBbPxyHero.I3TPrInTe pa3JIAJIoTOce rOropINOIIMacIONoctABTeocTaBbLITcOTOTOrOropBOToDAceI3NaprT.
- POnuNcTeTe OkoJIo KaNaUcKaTa Ha rOpNBnHa pe3epBoaP. 3aMbpcRABaHnA B rOpVBnHa pe3epBoaP BoT JTo HapUSeHnHa paENMa Ha pa6oTaTata.
- Y6eTeCe, Ye rOpBToE cMecHo Do6pe, KaTo pa3TbpcNTcBe bJa npEiNi Da 3apeNiTe pe3epBoapa.

KoHTpoJI npeDi nCTapTnpaHe

IouncTbaHe NaBb3dUyHnA fNITbP
ДемоHTypaite KaNaKa Ha Bb3dUyHnЯ ФИNTbpИ bB3dUyHnЯ ФИNTbpT.ИЗміte ГВчсТа,Топla canунeв Вoda.Прedi crIIO6ЯBaHeto ce y6eDeTe, ue ФИNTbpTbTe cyx.
Bb3dyuheHnIITbp,In3noJIyBaHnIIO BpeMe,He MoNe Da ce noNuCTn HantblHo. ETo 3aIo Ha onpeJeHn INTePbaNt O BpeMe ToT Tp86Ba da ce nOmeHc HOB. NObpeH b3duweHnIbTp Tp86Ba Da 6bDe HenpeMeHHo CmHeH.
Ako n3noJ3BaTe MaunHaTa B cnJHo 3a npaHe cpeJa, CJeBa Bb3DyHnIaTfNtbp Da ce CmaHe. BnH pa3dEe Cma3BaHe Ha Bb3DyHnIa fNtbp.
Cma3BaHe Ha Bb3dUyHnIaΦnITbP

I3noJbAaTe BnHaRn FInJTbPHo CMa3OuHO MaCNo, apr. £531 00 92-48. FInJTbPHOTo CMa3OuHO MacNo cBdPbHa pa3TbApRiN BeuecCTBa, KOtTO r OJIeKOTaBt N oCmYpRbApa TBaPbHOMepHOTo My noEmaHe B FInJTbPa. IopaDn ToBa TpRbBa da I36RaBte DnpeKTeH KOnTaKT C KOnKaTa.
IocTaBeTe ΦnITbpa B nllactMacOB nIIHK nHaJIeTIe B'bTpe ΦnITbPHoTO MacNo. HamaUkaTne nllactMacOBn IINK 3a da pa3npedeJIte MacNO. I3BaDeTe ΦnITbPa OT nIIKA qpe3 npITnCKaHe Nn3JeIte N3JIshHOTo MacNo ppeJDA MoHTnPate NaHOBO ΦnITbPa Ha MaunHata. He n3OJN3BaIte NkOra o6NIKHObEHO dBVrAteJIHo MacNo. To npemHaba 6b30 np3 ΦnITbpa n ce HacNoBA Ha d'hBOTo.

brloBa 3b6Ha npedabKa

brloBaTa 3b6Ha npedeAka ce 3aBnBa c Heo6xoIMOTO KOINueCTBO rpec B 3aBoDa npoiB0OHTe.Ho npei Da ce B3noI3BaTe OT MaunHata, Tp8Ba Da ce y6eNiTe, ye 3b6HaTa npedAka e 3aTbLHeHa Ha 3/4 C rpec. Pa6oTeTe Cbc CneuHaHa rpec HUSQVARNA.

ObukHOBeHO KOHCnCTeHTHaTa CMa3ka He Ce HynJae ot 3aMeHЯHe, OcBeH aKO ppeBaKaTa ce peMOHTIpa.
TexHnuecko 06cJyKBaHe
CneBbCa nncbK c onepaunnte no noDpBkKaTa, KOHTo Tpa6Ba da ce n3nblHbAaT no MaunHaTa.
Nopechyto OTo nO3nIeMITE ca OncaHn BpaTeJa PoIdpbHKa. IOnTp6BnTeJr Tpr6Ba Da n3nblNBA cAmo Pa6oTaTn oNoIpbHKaTa NcO6CnlyHbAHeTo, OncaHn B To3n HapbUHk Ha onepaTopa. No-KpyHnITe PemOHTrP6Ba Da ce N3nblNHBaTOT OToPImuPAh cepBn3.
OTBeueaETpe6oBaHnA M
COOTBeTCTByIOUxHOPMaTINBOB EC.
BepenTeCb otCKaKNBaIOuNX npEdMeTOB nPKoWTeOB.
I0JIb3OBeTaJIb MaSiHIOH DoJIHeH y6eIaNTbCay B TOM, YTO B pAdHyce 15 M BO BpEma Pa6OtBu HET JIoJeu NJIN NIVBOTbIx.
Pb3yTeCb cneUaJIbHbIMn 3aUNTHbIMn nepuaTkAMN.
IoiJIb3yIteScHeCKoJIb3aIIMN I yCTOUYBbIMcAnoRaMn.



max 6700 rpm





Tolb3yI TeCb ToJbKO
HEmeTaJIIMueCKM,Γn6KIM peJyUIMOBOpYDoBAHnEM, TaKIM KAK RoIOLBKA TpVmMe COCTpyHOnTpImMepa.
3aHnraHne;noDCoc:
YCTaHOBtE 3acLIOHky TOnJIbBa B NOLOHeHne CbITHeHnI.
TOnJIbHbI Hacoc.
Uymo3aunTHbIe 3MnccnB Okpynaiouyo cpey coIag
BHMaHHe! KoTHaKT OCTaHOBKn aBTOMaTnueckN Bo3BpaaTaetcA
YcTpoIcTb6e3oNaChocTHMaHnHb 523
Пильныйannapat 526
CBOPKA
C6opka neTJIeBoI pyKoTkn 527
C6opka n pa36opka DByxceKUHOHOro BaJa 527
MOnTaXpeKyuIeOo6OpUoBaHnA 528
UcTaHOBkaIuNTKaI TpIMMepHoIroJOBKn.528
YcTaHOBKa ⅢNTKa I TpIMMepHoI RoJOBKn . 528
IPABNJA OBPAUENC TOJINBOM
IpaBnla 6e3oacHocTn npn 3anpaBKe 529
IoproTOBKa TOnJIINBHOcmecn 529
3anpaBka 530
3ANYCKIOCTAHOB
PpOBeRka npei nycKom 532
3anyckIOCTaHOBKa 532
METOД PABOTы
O6upepa6oue HnHcTpkyKuIN 534
TEXHINUECKOE OBCJNYKIBAHNE
Kap6kpaTop 537
IywnTeIb 537
Cnctema oxlankeHna 538
Cbeua 3aXnIraHna 538
DByxceKcuHbI BaJ 538
Bo3nyHbI ΦNbTp 538
「pαΦικ TeXHnueckOrO o6cLyHnBaHnA 540
TEXHINUECKNE XAPAKTEPNCNTIKN
TexHnueckne xapaKTepcntIKN 541
IapaHTnEA C o COOTBeTCTBUN 543
Ipepe3anyckomnpocJIeIte3a cJeDyUOIM:
BnImaTeJIbHo npOueCTb HNcTpyKUIO no 3KcIyatau.

IPEDYIPPEXDEHNEI
PpOdoJIHnTeJIbHoe Bo3eIcTBne UyMa daET HeN3JIeUIMOE yxuDWeHne cLYxa. BCeRa IIOJb3yI TeCb, NOToTMy, cNEUmaJIbHbIMN HayShNKaMn.

PNEДУПЕХДECHNE!Hn npi KaKnx
6ObToTeJIbCTBax He DonyckaeTcR
BHeCEHne N3MeHENH N
NepBOHaayCbHyIO KOHTpyKcuHIO
MaunHb 6e3 pa3peSeHHra
N3rOToBtIEL. POnIb3yIteCb ToJbKO
OpINHaJIbHBIMI 3aNacTAMn.
BHeCEHne Hepa3peSeHHbx N3MeHENH N/Inn IcNoJIb3OBAHne Hepa3peSeHHbx
PnpICnoc6JIeHN MoJET pIPBeCTn K
cepBe3HO TpaBME INn DaHE K
CMePeTeJIbHOmyIcxOyI dIy OnpaTopa
INn IpynX JInU.

IPEyPENJDEHNE!Nope3uK, KycTope3 NnTprMMep, KoTOpbIMN ONoB3yOToC He6peHHo NnI HnPaBnJIbHO,MOyT Oka3aTbcra OAnCbHM INCTpyMHTOM,KOTOpB MoJeT HaHeCTNu CepBe3Hyo NnI CmEpTeJIbHyIO TpaBMy NoJIb30BaJIeIO NnI OkpyKaIoM. Ype3BvuaHOB BaHNO, YTObbl IpOnuTIaN HactOyIee KyOkOBdCTBO N noNoJIIN erO coDeRPhAHne.
YBaXHaEmbI nOKyNaTeJIb!
Cnacn6o 3a To, UTo BBy Bb6paJIn npOdyKUIO McCulloch! Tenepb BBy CTaJIIN uAcTbIO uCTOpNI, KOToPaj HauaNacB IOBOJbHO DaBHO, BO BpEma BTopoi MIpOoi BoNbI, KOrJa KOpnpaJcIA Mcculloch HauaJia BByNK DnRAteJeIeN. B 1949 r. McCulloch BByeJa Ha pbHok nepByIO npOTaNBHpy UenHyio nIy, KOToPoj MOr ynpabJrTaOdn YenLObek, UTo B KoPhe IMaMeHIo npOeCC DepeBo06pa6oTKI.
JIHnna no npOn3BODCTBy INHOBaUHOHHbIX CENbIX nIpa6OtaJa Ha npOTaHeN DeecrTneTn,JeNo pacShpRJLObc: ChauJaA 50-x 6blInu N3rTOBLeHbI nePbIe DBNrAteJIN dJa cAMoJIeTOB u KapTOB, a 3aTeM B 60-x npRoBnJIncb MHN nIIbI. Po3He, B 70-x I80-x npOdyKToBMy JInHeKy nonOJIHNu TprIMMepbI n HarHeTaTeJIbIbe Bo3dYxOyBKN.
CerOJHn McCulloh BxOnITB rpynny Husqvarna. 3a npoIeDIme noJIbEka KomnHaNIO6bIacb 3aMeTHOrO ycExa B npOIN3BOIDCTBe MoUHbIX dBInrAteJeI, paarO6TKe INHOBAUOMHHKpoDyKTOB npoDyMaHbIX KOHCTpyKtNBbXpeHEnI, n CEROpHN KOMnHaH NPOOJHKAE TNODeepKHeBaT b3Ty TpaDNuLIO.
PpnoptThbIMn 3aayamN JI KOMNAHIN YBIAOTc CHHHeHne paXoDa TOnJIbBa, Bb6pocOB uYOBHn 7yMa, a TaKHe NOBbIeHne 6eOanacHOCTN u yOo6cTBA 3KcnJyatauIN pOn3BOdMOrO eIo o6OpydoBaHn.
Haedeemcra, yTo Bb ocTaHeTecb DOBoJbHb npOpyKmEe McCulloch, nTO OHa 6yET Baunm CnyTHNKOM Ha doJIroe Bpemr. HeyKocnTeJbHoe BbIOJHHeNtpe6oBaHm oTHocnTeJbHO 3KcnNyatauMn
Texo6cLyuHbAHn, n3I0HeHHbX B HAcToSMe pyKoBdCTBe, nomohet 3HaUHTeJIbHO yBeJUHt bCpOK cnHy6b oOpOyBaHn. EcIn Bam Ntpe6yeTc TExHuNceKa JMOouB B pEmOHTe I o6CyNuHbIM oOpUOBAHn, Bb moHeTe BoCpONb3oBaTcbSy fHKcUe Service Locator h caIte We mcculloch.com.
YTo eCTb YTo Ha TpMMepy?
1 TpmmMepnra roJOBka
2 Kojinaok OTBepctna JIa KOHCnCTeHTHO cma3Kn, yrloBa 3y6uTaTaepeDaqua
3 YrIIOBa 3y6uTaTnepeDaUa
4 3aunTa peHyUeTo o6OpyDoBaHHa
5 Tpy6kaBaIa
6 CouJIeHHeBaJa
7 PeTJeBOI 3axBaT
8 Kypok rasa
9 KlaBnOCTaHOBKn
10 Pyuar 6JIOKIpOBKn KypKa r3a
11 Kolnaqok n cbea 3aHHraHn
12 CtrapTep
13 PyukacTapTepa
14 ToJIINBHyI 6aK
15 KpbIka BOzduyHoro ΦnIbTpa
16 TonNInBnHbI Haoc.
17 Pbyar noDcoca
18 Повдковий натугн
19 PykoBoDCTBo no 3KcPnyaTaUIn
20 YHnBepcaJIbHbI KJIIOU
BaxnHa INHOpMaIy
BAXHO!
MaunHa npedHa3NaueHa ToJIbKO dJIa TpIMMepHO CTpIKKNI.
EINHCTBeHHbIMn npncnoc6JIeHnIaM, KOToPbe MOryT IcNOJIb3ObaTbcra BMeCTe C DBVrAteJeEM B KaueCTBe npBOda, RAJIaOTcra peKyuIee 6obOpduBaHne, peKOMeHNoBaHHOe HAMN B rJaVe TexNHueCKHe DaHbIe.
HnKOrJa He pa6oTaIe C MaunHoJ ecJIN BlyctAJIb, Bblnn aJKOToJIb, JInI pinnHmAteTeLekapCTBa, BO3JeCtBYUOuNe Ha 3peHne, peakTuIO JInI KOOpDnHaLNU.
PbayTecbO6OpyObaHnEMJ3aunTbI JIOe.CM.pa3Je3aunTHoe 6OpdyoBaHne.
HInKoIJa He pa6oTaJte MaunHoi, KOtopa 6bJa MoiOnuNpObaHa nO cpaBHeHIO C nepBOHauJaIbHbM BapnaHTOM.
HnKoIa He NcNoJIb3yIe Te DeΦeKTHyO MaunHy.
IpoBoOnTe perYJapRhIbe IpoBepKIn
6e3OpacHocTn, yXoI n O6cLyHnBaHne B
COOTBeTCTBn C daHNbIM pyKOBoDCTBOM.
HeKoTopbIe onepaunio yxOdy n 6cLyHnBaHn
doJIHb BblOJIHrTcB TaIbKO
KBaJIuΦuICIpOBaHHbIMn CNEUHaJIncTaMn. CM.
yKa3aHnBa Bpa3JeLe Texo6cLyHnBaHne.
IpeepHaayaIompa60TbHeo6xOIMo yctaHOBNTB CKe KpbIuK, uHTKn IpyKn. 86eINTcB,CTO KOJIauOK CBeue 3aHrMaHn I npoBOd 3aHnIraHn He NOBpeHNDeHb, UTo6bl n36eHaTb PnCKa NopaHeHn EJIekTpNueckm TOKOM.
Ocbo6oDnte coeHHeHne, noBepHyB IJIa 3ToIpyuKy.

CobmeTte BblcTyn Hacaikn (A) cOTBepCTneM coeHHNTeHbHO MyfBtB (B).

- PnHHMaTe NpOcEOHINReMyO YAcTb B COeHNHeNe, NOKa OHa He 3aUeJIKHETcHa CBOEm MeCTe.
-Перед Испolyзовимулaxopoшо 3атуни руку.

Pa36opka:
- Ocbo6oJnte coeJInHeHne, noBepHyB pyUky (Kak MInHMym 3 pa3a).

BToJKNHTeN yapednHbaiTe KhONky (C). YedepnHBaHa NadeEHNO KOHeL DBNrTaTeJy, BtIaHTe NoDcoEINHReMyo qactb npraMo HapNy u3 coeDInHeHry.

Mонтай рениerto obopydovahnia

PNEyIpyEHE!KaTeOpnueckn 3aepuaeTcNcNoIb3oBaTbpeKyuee 6obpyObaHeNe63cmOHTuPoBAHHO peKoMeHJeEMo3aunTb.Cm.1naby TexHnueCKne daHhbe.YctahOBka HnpeBaUNbHOHnnIO NobpeJdEHHO 3aunTb,MOHeT pNVBeCTN K cepbe3HOJ TpaBme.
YcTaHOBka ⅢNTKa n TpIMMepHoIroJIOBKn (T22LS)

- YcTaHOBInTe 3aunTu TprIMMepa (A)ДлЯ pa6oTbI c rOJIOBkoI TprIMMepa. 3aunTu TprIMMepa/ KOM6bHnIpOBAHHyU 3aUnTu CNeDyeT 3aCenNtB BKePJIeHnHa Tpy6ke BaJa N 3aФNKcIpOBaTb BnHTom (Л).

- HaIeTb Ha BblXoIDHoi BaJI nOBoIKObIi NaTPOH (B).
- ПоворачиВаТь Вал ЛеЗВЯdo Тх пор, nOKa
ОДно ИЗ OТВерСТУн В NOБОДКOBOM NaТpoHe He
СOBМecTITcC OТВерСТУн B KOPnyce
3у6чатои NepeДачи.
BCTaBnTb cTOnOpHbI WHTΦT (C) BOTBepCTne, yTo6bl 3aΦNkCnpoBaTb BbIXOHOB BaJI.
3aKpyTnTe RoJIOBky TpIMMepa/ nlaCTMaCCOBIE HOHN (H) nope3b6e HABCTpeuy HnparabJIeHIO BPAeHIN.

Дясягеля NOBTopNTb BCE onepaunu B o6paTHOM nopdKe.
YcTaHOBka ⅢNTKa n TpIMMepHoIroJIOBKn (T22LCS)

- YctaHOBnTE 6pbIroBnK KaN nOKa3aHo Ha pncyHke. 3aTaNte XopoOraRky.

HaIeHbTe NblIe3aunTHbI KoJIpaOc H aOcb. TaJa OJIINHa 6bITb NOJIHocTbIO nOKpbTa KOJIpaKOM.

3aKpeNTe nbIe3aHTbIKoJIpaOKraeHbIM KJIIOyOM, YTO6blpeIDToBpAITb BpaSeHne OcN.
3aKpyTnTe TpMMepHyI rOJIOBky Ha oCn.
IpaBnla 6e3oNaChocTn npN 3aPabVe
Hnkogda He BKJouaTe MaunHy:
1 Ecln Bbl npolniln TOnJIbO Ha Hrero. IpoTpnte 6pb3nN nOCTaBt OcTaTKn 6eH3nHa BblnapNTbcR.
2 EcIn Bb npOJIIN TOnJIINBO Ha Ce6a INIIN CBOIO OeJHy, CMeHnTe OeJHy. IOMOIte Te qAChTI TaIa, KOtOpBe 6blb N KOHTaKTe C TOnJIINBOM. PJIb3yIITecbMbIOMN BOIo.
3 EclnHaMaMInHePnoCXoDnT yTeKhA TOnJIbA. PeryIaRHO npOBepeRnKpIshuToTOnJIbHOrO 6akaN uJhaHrN Hn ppeDMt nPoTeKaHn.
TpaHcnpTnpoBka n xpaHeHne
CJeNyET xpaHntb N TpaHCnpTnpoBaTb MaunHy n TOpNlBO TaKIM O6pa3OM, YTo6bI He 6blno pncs Ka KHTaKa TnOITeKOB NnI napOB C nCKpAMn NnI OTkpytBMOr HnPmEp, y 3JIeKTpMaunH, 3JIeKTpoDbVaTeJei, 3JIeKTpnHeckKn NcINOBx npEeKIOuOaTeJe/ HarpeBaTeJei N KOITNOB.
TOnJIbNO BcERdJa CneJeYuaXpaHnIbI TpaHCnopTtpoBaTb B CneLHaBbIx EMKoCTAx, npEHaHaChueHbNx IJAN 30J TL.
- Ipeed TeM, KaK HanpaBnTb yCTpoIcTBO Ha
ДЛТeЛьHoe XpAHeHMe, CJIeIyET OOnpOHNITb
TOJIINBnBb 6aK. BByCNIte Ha MeCTHoH
6eH3OanPaBouHoi CTaHnK, KJya Ba BI MoMeTe
CJIInTb OtpaBoTabWee TONJIINB.
CJeIeNte 3a TeM, qTo6bMaunHb6bIaXopoOo ouuueHHo, uTo6bI nepeed ee npdoJIHNTeJbHbIM xpaHeHMeB bIIO BbIIOJIHEHO nIoHoe 06cJyHnBAHne.
- Пи Транспортуровке Илихашиени Машинь
На Нем Всегда Долденьо Ббть установские
Трансортулая зашита рeshушero
оборчебariaни.
3akpenJIyTe MaunHy Bo BpeMra TpaHcnpTnpoBKN.
YTo6bI He npOn3oWNo HnepOn3BOJbHOrO 3aynsKa DBnIraTeJIa, KOJIpaQOK CBeHN CJeJeDyET CHIMaTb NpN DIInTeJIbHOM XpaHeHN, ECJIN MaShHa 6yDet OctBaJIeHa 6e3 npICMoTpa I npN JIO6OM 06CJyHHBaHN.

PPEJYIPEXJEHNE! Co6IIOJaTe octTopoHNCTb pnI 06paueHN C toNlBOM. IomHnte 06 onaChOCTn nojapa, B3pIbOB N BdIxAHNA napOB.
IoiTROBKa TOnJIINBHOJ CMECN
BHIMAHINE! Maunha ochaeta HbYXTaKTHbIM DnBtaleJem nOdoJHnHa pa6oTaTb Ha Cmecn 6eH3nHa N Macna dJa DByXTaKTHbX DnBtareJeI.
Длл�нучehи npabnIbHoro cocTaBa TOnJIbHOBmCECN CLeJeT akKypaTHO OTMepraTb KOnIyecTeBOBxOJaIeTo B CoCTAB MacJa.ПрпnpiroTOBJIeHNHNe6OlbIberoKOnIeCTBA TOnJIbHOBmCECN DaJKeMaJIA HeTOHOcTB Mochet CInJIbHO NOBJIaRbTbHaKaueCTBO TOJIbHOBmCEci.

PPEIUPPEHJDEHNE!TOJIINBOI
ncapaneHne TOJIINBA OueHb
noHApOONaHbIe MoYrnpBecTn K
Cepb3HbM TpaBMam PnR BbIXaHNi
KOHTaKTe C KOHeJ. ByIbTe N03ToMy
OCToPOHHbI npN o6paUeHIn c
TOJIINBOM I o6cepebTe XopoUyIO
BeHTINLAuIO npN o6paUeHIn c
TOJIINBOM.
BcH3nH

BHIMAHNE!NoIb3yITeScB CcERda CMeCbIO Macla
H OuyuIeHHoR 6eH3nHa C MHNIMaJIbHbIM
OKtaHOBBIM YucJcNOM 90 (RON).ДЯДВИrATeJIeN C
KaTALIN3aTOPOM (CM. rJaBy TexHnicckNe DaHHBe)
npIMeHETcR ToLbKO He3TNIpObaHbN 6eH3nH c
npIMecBIO Macla. He3TNIpObaHbN 6eH3nH
nopTNT KaTALIN3aTOP.
CmeaTb TOnJIbO I 3aJIITb eO 3a neJeIaMNI OMeIeHb B McTeB, KToTOPOM NckJIyOeHa BO3MOHJHOCTb NCKP0o6p3aOBOHaN I BCPOIaMHeHIN.
He kypnte n He ocTaBnTe TenJIbIX npEaMeTob B6JIn3n TOpINBa.
Ipepe I03anpaBkoBcerda octaHOBNTe DnBaTaeJIb.
Ipeed 3anpaBkoJ cJeNyTe
063aTeBHO BbIKIOUHTb DBeNAteBb
n DaTb EMy OXaIaNITbcr B TeYeHHe
HECKoJIbKIN MInHyT.
Pn3a npabKe KpbIky TonJIbHOrO 6aka cJeDyET OTkpbBatMbMeJLeHHO, cy06bl NoCTeNEHo CtpaBtB n36blTOuHoe DaJIbeHe.
Iocne 3anpaBKn IIOToH O3aTHeNTE KpbIshky TOnJIbHBOrO 6aka.
Ipeep3anyckomBcerdaOTHocnte MaunHy BCTOPOHy OT MeTa 3anpaBKN.
-
PóIb3yIyTeCb TOpJIINBHyIM 6aKOM c 3aUHTOJ O T nepenoJIHeHЯ.
Ecln Bbl npolniln TOnJIbO Ha Hrro. IpOtpnte 6pb3rgn nocTabTe ocTaTKn 6eH3nHa BblnapITbcra.
OuCTNTb KpbIshky TOINJIHBOHO 6aKa. HAIJIue He 3aIpa3HeHn B TOINJIHBOHOM 6aKe BeEDeT K nepe6oM B pa6Ote DBIrMaTeJIn. -
YdoctObepbTeCb, qTo TOnJIbO XopoIoo CmeaHaO, BCTprXINBaE MKOcTb NpeJd 3anpaBkoTOnJIbHOrO 6aka.

PpOBePk apei nyckom

- IpoBepbTe roJIOBky TpIMMepa n 3aunTy TpIMMepa, yTO6bI OHn He 6bln NOBpeJeHb I YTO6bI Ha HxN He 6bln TpeuHn. Ppn O6pa3ObaHn TpeuHn HJn He ecJIn rOJOnKa TpIMMepa nn 3aunTa TpIMMepa 6bln NOBBeHbCINbHOMy ydapy, IN cJeDuyeT 3aMeHnTb.

HnKoRda He noIb3yI TeCb MaunHOB 6e3aunTbI nnHe C nobpeKeDeHHO 3auNTOJ.
Bce KoJIpaKInpepeIzanyckOMMaUHbIdoJIHHb6bTb npaBnIbHO cMOHTnpoBaHbI 6e3 nobpeKeDeHNI.
3anyck noctaHOBka


PPEyIPEKJEHNE!Pepe3anyckom
HnCTpyMeHTa DOJIHKbI 6blTb
NoJIOCTbIO COBMEUeHbKOJINaK
cCenJIeHnI N Tpy6Ka BaJa, NocKOJIbKy,
B nPoTINBHOM cLyuae, Bo3MOJHbI
ocJa6JIeHnE cCenJIeHnI N
TpaBMnpoBaHne.
Ipeep 3anyckom Bcerda OTHocnTe MaunHy B CTOpOHy OT MeCTa 3anpaBKN. IocTabbTe MaunHy Ha ycToOnByIO noBepxHocb. CJeDnte 3a Tem, UTo6bl peNyuUee o6OpDoBaHne He 3aCenNo HNKaKoN ppeDMeT.
CJeIeTe 3a TeM, YTo6bI B 30He pa6oTbI He 6bJNo nOCTOpOHnIX,B INOM cLyuae BO3HnKaeT pNCK cepBe3HbX TpaBM. 3Ona pncKa 15 MeTpoB.
3anyck
ToNINBnHn HAcOc: CoHNMeTe HeckoJIbKo pa3 peaHOByIO rpyu TOnJINBHOrO Hacoca noka B Hee
He NaHcT NoCTynaTb TOnJIInBO. PyuSy He HNeO6xOaIMMoCTn 3aOnJIHaTb NOnHOCTbIO.

3acNoKa TOnJIbA:YcTaHOBnTe 3acNoHky TOnJIbBA B NOJIOHeHne CbIThHeHn.


PNEyIPEHJDEHNE!Pn3ayncke
DBINrteJIeC 3acNoHKnB 3aKpbTOM
noLoHeHH,peHyueeO6OpyDoBaHne
HaHnHaet cpa3y He BpaatbCer.
PnHHMnTe Kopnyc MaunHb K 3emJe IeBoi pyKoI (BHIMAHNE! He Horoi!. YxbaTnTe pyKy cTAPTOBO O Hypa npabO pyKOi N MeJLeHNO notAHTne erO, noka He noCyBCTByeTe conpoTnBnHe (3axBaTbI BcTyNaOT B DeJeCTBNe), 3aTe mNotAHTne shHyp pe3kIM DmBHeHHeM. HkoRda He NaKpyuHaBte cTapTOBbI shHyp BOKpyr pyKn.
Bo3BpaTnTe pIbUar noDCocA B IcxOJHoe
noIIOJIeHHe cP3ay JHe nOcJIe TOrO, KaK npOn3oJdET
3aJINrAHIe IN PpON3BeJITe HOByIO NOnblTKy
3aYcKa, NOka DBrAteJIb He 3aBeJeTcJ. KorJa
dBnHrAteJIb NaHET pa6TaTb, OTKpoJTe
noJIHOCtBJIo DPOccEJIb N CTApTOBb Ira3 6yDet
ABToMaTIuCeKN OTKJIIOUeH.
BHIMAHHE! He BbHIMaTe NoJIHoCTbIO UHyp I He BbIyNcKaIte pyuKn CTapTepa npi NIoHocTbIO
BbTYHToM hHype,3TO MoHeT pNBeCTn K NOBpeKDeHIO MaunHbI.

OctaHOB
TpMMepHa o6pa6oTKa ra3oHOB TpMMepHO roJIOBkoI


TpmmepHa ctpnHka
ДернITE roJOBKYТрIMMepa HENOCPEdCTBeHHO NaH 3eMNeI NOI yJLOM. Pa60Tu BbINOJIHReT KOHeU cTpyHb.ДаиTe cTpyHe Bo3MOHNOCTb pa60TaT b C6oCTBeHHoH ckOpocTbI. He npHHMaJIte cTpyHy K BbIkaWnBaEMOMy yUacTKy.

CTpyHa MoHetaKcKaaHbTa TpaBy n copnHKy cTeH,3a60pa,JepeBBeBn 6OpIopOB, OHaN KO HMO HeT TaKHe NoBpeNTb YbcTBHeJIbHyO Kopy Ha JepeBbXn KycTapHkax N NOBpeNTb CToJb3a6OpOB.
PCK NOBpeHdEHHa pacteHmYMeHbwaetc3a cet yKopaaHBnHa cTpyHb do 10-12 cm m yMeHbSeHn YncJa o6bopoTb DBnIgatTeJ.
Ounstka
- PnO uOncTKe npOn3BODInTcR yDJaIeHHe Bce HNeHeJIaTeJbHoN pactIteJIbHocTt. IepHHTe rOlOBky TpIMMepa HEnOpceIcTBeHNo HaId 3eMJIe, NOKaYBaB eI. Npyt KOHeC tCPyHbI yDapReTcR O 3eMIIo BOKpyr DepeBbeB,
cToI6oB, cTaTuN t.n. 3AMEUAHNE! TaKoI npiEm ycInnBaet n3Hoc cTpynbI.

CTpyHa n3HaunBaTeC8bCTpee n DoJIHnBABbNtAcbc Yaae npa6oTe cpei KaMHei,Knprnua, 6eToHa, MeTaJIInueCecknx 3a6OpOB nT.n. Yem npa6oTe cpei DepeBBeB nDepeBAnhblx 3a6OpOB.
- PnT rPIMepHOr cTprHKe N OUnCTKe CJIeDyET He noJIHocTbO tOKpbBaTb JIocceIb (80%) TQo6bl pOJdNtB cPoK cUyHb6 b CTpyHb I yMeHbWHTb INHOC rOJIOBKN TPrIMMePa.
Cpe3ka
TpMMep NdeaIbHO nOxOJNT dJa cpe3aHnA TaKo TpaBbI,do KOToPoi TpyDIO Do6paTbcra, noJIb3aycB o6bUHNO rA3OHOKOCINKO.B npOcece Cpe3Kn depHnTe CTpyu npaJIeJIbHO 3emJe. N36eRaTe pNpHHMaHn IOnOBKN TpMMepa K 3emJe, NocKoJIbKY MoHNO UcnOpTNtB rA3OH INoBpeDInTB INhCTpyMeHT.

He donyckaTe noCToHHOrO cOnPIKOCHOBEHnI ROJBOKN TpIMMepa C 3eMJIeB I npOceCE cpe3Kn. NocToHHoe cOnPIKOCHOBEHnE MoHeT pINBecTu K NOBpeKeHDeHNIO nI3HOcy RoJBOKN TpIMMepa.
Повметане
- BeHTnIpyoOee DeiCTBVe BpaaHooeCsctPyHb MoJTe 6bTb NcNoJIb3OBAHO JIb6bICToPn IJIgKoN OuCTKn. DepHnTe CtpHy npaJIJIbHo HAd NOJaMeTaEMbY uactKOM IN BOInTe TpIMMepom n3 CTOpOHb BCTOPOHy.

- Pπi cpa3ke N IOdMeTaHn DJIa NOJUyeHnA HAnlyu7xN Pe3yJIbTaTOB IPOccEJIb DOJIHeHb 6bIb OTKpBt NIOJHOCTbY.
Kap6iopatop
PeylnpOBka xoJocTo rO xOa
PerepeBcepepynIOBkoI,poBepeBte,ueTO6bI BO3dyHbIyNJIbTp 6bl YNCtBM,IuTO6bHa HEM 6blJNOKpbkN.
OtperynpyTe xoJocToxOaBnHTOM xoJocToro
xoJaT,ecIIN30Heo6XoDmIO.BhauJIe
noBepHnTe BnHT T no cacoBoi cTpeJIke Do tex nop,
noka peyuJee o6OpyOBaHne He NaChE
BpaAaTbCra. 3aTEM NobopaunBaIte BnHT npOTIB
cacoBoi cTpeJIkn, noka peyuJee o6OpyDoBaHne
He octaHOBtCra.PpabInbHoN CHTaeTcR
peYIpOBKa, pni KOTopoI dBInrAteJIb poBHO
pa6oTaet B IIObom NIOJohEnH.No hauJa
BpaAeHnPeHyUeero O6OpyDobAHn DOJIneH
OctaBaTbCra DocTaTOuHb CBO6OdHb XoJd.

PekomeHnyemoe KoJ-BO 06oPoTOB Ha XOIOCTOM xOy: Cm. Pa3dIeN TexHnueckne xapaKTepeNCTIKN.

PPEUYIPEXJEHNE!EcJINXOJIocTbe 06oPoTbHeBO3MOHHO
otpyyInpoBaTb Tak, YTo6bI peHyuee 6OpOyIOBaHne CToJIo HenoDbNHHo, 6OpaauaiTeCb K npdoabuy/
MaTePcKyI. He noJIb3yITeCb MaSHINHO, nOKa He 6yJeT BbINOJIHeHa
ToUHa rpeyIInpObKa nn peMoHT.
IynteIb

BHIMAHHE! HeKoToPbIe rLyuHInTeJIOnOChaSeHb KaTaN3AtOpOM.Cm.rJaByTexHnueckne daHHBe, YTO6bI y3HaTb eCTb JIN Ha BaWeJ MaSHHe KaTaN3AtOp.
IywnTeIb CnyKeT IJRA CHNKeHn yPOBH yMa n OToBda paKaJIeHNbIX BbIXoNbIX ra30B oT pa6Oyeo. BbIXoNbIe Ra3bI OrpeHn MOryT coOpEHaTaB NcKpbI, cTO MoMeT npMBecTI K
noHApy npn npRmOM nonaDaHn Ha cyxO n BocIaMeHyoUcNc MaTePnaJ.

B HeKoTObIx FnyuINTeJnx npedyCmTope H cneUaIbHbN ICKpOaracnteJIb.EcJIb BaHaMaShnHa o6OpyDobHaTakIM FnyuINTeJem, CETKy fNJIbTpca CJeDeyET YNCNTb pa3 B HeJelIO.HaHlyuYJHeNoIb30BaTbCraTaNbHOIeKO.HeJIN HaBaWeMH NHCPTpyMeHTE CTOnT FnyuINTeJIb TakoRO Tnna, To cTeKY cJIeYET OUYuATb He peRe OJHO rpa3a B HeJelIO.HaFnyuINTeJxC KaTaJIn3aTopOM,TaKyoUOChTKY JOOCATAOTHO pOIm3BOIDHT pa3 B MecJ. Ppi Bo3NHKnHOBeHHn NOBpeJedHHn Ha cTeKte ee CJIeYET 3aMeHNTb.EcJIi cTeKa qACTo 6bIBaET 3acopeHa, 3NaHT yHKUa KAtaJI3aTopa UyxdHeHa.O6paAITecb K BaWemy npOdaBu 3a COBeTOM. 3acopeHNe cTeKNbl3OBet NepeRpeB DvIRaTeJn INOBpeJedHeN CuININHdPa nOpshn.

BHIMAHIE! He noIb3yITeCb MaIHHoC nOBpeKdEHNbM rJyUHTeJIeM.

PNEyPENHEHIE!IyuHTeJIb KaTaN3aTopa CnIbHO HArpeBaTeC B npOecce pa6oTBn NocLe pa6oTBn HEKOTOpoe BEme OCTaeTc TOpAHyM. 3To npOnCxOJNTnBpeHIMe xOIOCTO XoJa.ConpIKOCHOBeHne MOHET BbI3BaTbOHOrKoHN.POMHITe 06 onaChocTn nOkapal
CnCTema oxJiaXdEHHa

TEXHnueCKOE OBCJnyRnBAHne
TpaΦnK TexHnueckOro 06cnyHnBaHnA
HnHe npBBeHn nepeueHb 06cLyHbAHn, KOtopoe Heo6xOIMBOblONHbTb Ha MaHInHe. 50JIbHnCTBo nHyKTOB OOnCahBb PAzIeDEOcLyHbAHn. IIObOBAteBMOHTb BblONHbTb TOJbKO TaKHe pa6OtBu no 06cLyHbAHnIO cepBNCy, KOTOpBle OOnCAhB DaHHOM pyKOBdCTBe. 06cLyHbAHnEOJbIeO xBaTa DOJIHO BblONHrTbcA BTOpN3OBAHHo CepBChOH MaCTepCKo.
| Texhniueckoe obc.luynibahnne | ExeiendheBhoe obc.luynhinbaHn e | ExeiendelbHo e obc.luynhinbaHn e | ExeMeecyHoe obc.luynhinbaHn e |
| Очирпente INHCTPymeHT Chapuyн. | X | ||
| Проберъг, чтоь орданчiteлъ ra3a и ручka ra3a otbeчали Требованям 6ezonacHocTи. | X | ||
| Проберъг наразу контakta ocstaHOBK. | X | ||
| Проберъг, чтоь рожушee оobopydobAHne He Врашалов нахлостых obopotax. | X | ||
| Прочирпente ВОДУSHьй Фильт.В сUrluae Heo6xOДMOCSTIЗamEHNTe. | X | ||
| Проберъг, чтоь зашипа He blya nobpejdeHa Чтоь на Нд He blya TpeшIN. 3amEHNTe 3aUHTy, ecIn ona blya поberнeHa уару Или ecIn на He nE ecTb ТршINь. | X | ||
| Проберъг, чтоь rolovka trpIMMepa He blya nobpejdeHa,И чтоь на Нд He blya TpeшIN. При Heo6xOДMOCSTIЗamEHNTe ГLOBKY TrpIMMepa. | X | ||
| Проберъг 3aTЯнку raeK i 6OЛТВи NOДТЯнITE B Слчuae Heo6xOДMOCSTI. | X | ||
| Проберъг, чтоь He blya yTechNToPЛВa C Двигаел,бaka Или ТруБК NOДAчТПЛВa. | X | ||
| Проберъгстор co erO shypom. | X | ||
| Проберъг ВИбPORACSAше ДемETь Na preDMeT Oclal6JIeHryи Или ИЗHOca. | X | ||
| Очирпente HapuyнHyо NOBepxHocTb CBeyN 3aJHrANHry. СнЯсь и п罗BERNTь 3azOp MeJdy 3JIeKTrpoДами. ОтgerулрOBATь erO do 0,5 MM Или 3aMeHNTb CBeyU. Проберъг,чтоь на CBeye 6bl T.H. ИЗЛЯТOP radionomex. | X | ||
| Прочиайтс сinttemу oxlaJHdENMy MaShINbI. | X | ||
| Очирпente Или 3aMeHNTe NsCKPOUJLBAHIOU cyTky нa ГluSITeJIe (OTHOCNTcTЯТьК ГluSITeJЯМ 6e3 КataJIN3aTopa). | X | ||
| Промытк karbIoRaporTpι NOKpyHaiOUIee erO nproctpaHCTBO. | X | ||
| У dioctOBerntbCry,чTO угловая 3y6chataя nepeDAчa Na 3/4 заллЕна СмAZК. 3aOЛнITb ee B cIyuae Heo6xOДMOCSTI, ИспOLTZYа CNEUДALHу CmAZK. | X | ||
| Проберъг,чтоь толунВьй Фильт He bly 3aRpy3HEn Или Na TOLYINBOM 7IaHnge He bly IO TpeSINH Или дPyrIcx DeФeKtOB. Пriи Heo6xOДMOCSTI 3aMeHNTe. | X | ||
| Осmotprnte BCE npobodaи COeDIHNeHry. | X | ||
| Проберъг сцеленige,прунIHbIc Sцеленige И барбан сцеленige Na I3HOC. Пriи Heo6xOДMOCSTI 3aMeHNTe B abTporiz3OBaHHo MaCTerpckoi. | X | ||
| ЗameHNTь CBeY zAnIGraHry. Пロверьт eТоьБы Na CBeYe 6bl T.H. ИЗЛЯТOP radionomex. | X |
TexHnueckne xapaKTepeNCTnKN
TEXHINUCKNE XAPAKTEPNUCTUKN
GENEL GÜVENLIK AÇİKLAMALARI
Onemli 572
Kisiselkoruyucuaraclar 572
Makinenin guvenlik donanímí 573
Kesici gereçler 575
MONTAJ
Tutamagin montaji 576
Iki parcali mili monte ve demonte etme 576
Kesme donanimini monte etme 576
Kesici baslik korumasinin ve kesici basligrin montaji ... 577
Kesici baslik korumasinin ve kesici basligin montaji 577
YAKIT KULLANIMI
Yakit guvenligi 578
Calistirici 578
Yakitikmali 579
CALISTIRMA VE DURDURMA
Universal, Universal powered by McCULLOCH iki zamanlı yag iceren 1:50 (%2).
JASFB/ISO EGBolak siniflandirilmh hava soogutmali, iki zamanl motorlar icin tasarlanmug yaglar ile 1:33 (% 3)
| Benzin, litre | İki-strok yarı®, litre | |
| 2% (1:50) | 3% (1:33) | |
| 5 | 0,10 | 0,15 |
| 10 | 0,20 | 0,30 |
| 15 | 0,30 | 0,45 |
| 20 | 0,40 | 0,60 |
Karisim
LcBnBip6 BiDnOBiJaE HaJIeHHIM BmOram EC.
OctepiraTecpaikooTe Ta npedMeTib,ioBicKaKyIoTb.
PiJiacpo6oTnBpaIiyci15 MeTpib BiKopncTyBaayHe NOBHHO 6yTNIODee Nt TBapHn.
3aBnDn OJraTte BiNIOBIHl 3axNCHI pyKaBUNi.
B3yBaIteMiUHe B3yTTaI3 He cnIa3bKOIO niOoBOHO.
max 6700rpm





BnKopncToBnyTe InIe HeMeTaeJI BHyUkI HacaKn, Taki JK TpImepHa roJOBKa i3 TpImepHIM shHypom.
3anaenHn; 7topKa: NpeBeeDiItb 7topKy y 3akpnte noIooHnH.
OuHHeHH npOyBkoIO nobITpA.
UyMoBI BVKnIy HABKOJIuHHe cepeIOBnuIe BiNobIaOToB HopMaM EC. DeTajbHiuy IHOpMaJIo npo UyMoBI BVKnIDn IHCTpyMeHTy noDaHo y po3di "TexhiHi daHi" Ta Ha 6ipci.




HniONoHaueHHa HnCTpyMeHTI BiNobiJaIoTB BIMoRAM cneJIaJIbHNcEPTNIkaTIB dJIe NEBHX PIHKIB.
PyKabuli Niotpi6HO BvIraTn, KOJIn yCbOmy E Heo6XiHCTb, HanpIKJaad, NiJ cac 3MiHN Yc BCTaHOBJIeHHPiYHuOI HacaIKN.

B3YTT
B3yBaIe MiIe He B3yTTaI He CInIbKOIO niIDoWBOIO.

OДЯ
BdraTe OJr, BnroToBleHn 3MiUHO TkaHHN; yHkaTe HaTO npocToPO OJry, JkN 6m MIR 3auiNTcA 3a ManI Ta BeJINKI rINK. 3abHnD BdaTe UyniTa IOBRI WtAHN. He OJraTe Ha vac poBoTNI oospTIB, caHaNJIb, dOporOuIHNOCTe, a taKoH Je XoDiJB 6ocOHn. 3AnHiTB BoNoCCr TaK, 0oBO H6yIo BVNe pLeey.
ANTEUKA
3aBHHn TpMaHTe anTeKyu nI pykoIO.

CnpraJxHnIy IJIy 6e3neuHOi po6oTu
B zuMy po3diI onncaHo cnopdHexHHJ Ia
6e3neuHoi po6oTNI iOro np3NaueHHa, Ta
noaCheHO, JAK noTpioHO npoBOOnTI nepeBipkTa
06cIyROByBaHHa IJI npaBnIbHO
fkyHKIOHyBaHHa 100 Ro cnpaJHexHH. DnBiTbcra
po3diI "Ioo e Ioo?", ooo nobauNTi, De Ha
IHCTpyMeHTI 3hAxOOnITbcr Ce cnopdHexHHa.
TpnuJIcTb cIyH6n IHCTpyMeHTy MoHe 3MeHUnTtncsA, a He6e3neKa HeuacnHex BInaKnB 3pOcTn, kAIO NoIoro 06cLyroBuBaHnN npoBOaNTn HEnpaBnJbHo, a6o AkoNo6cLyroBuBaHnTa peMOHT BVKOHyBaTmYtbcS hΦaxiBcMn. RaKo Bu notpe6yeTe DoaATKOBoiIHΦOpMaui, 3BepHiTbc, 6BydJaLacka, dO HaN6JIHHQOro ceHTpy 06cLyroBuBaHnHa.
BAXJIINBOI
Ioo npoBoDnT O6cLyroBvBaHn Ta po6OTo n 3 pemOnTy, noTpioHo MaTH cneuaJbHy niIroTOBky. LCe o06LmBO CTocyETcSry CnpraJHHeHHa Dnla 6e3neuoi p6oToi. JKxio IHCTpyMeHT He BiNObiAdp npHaMHi OdHi i3 BmOrnpeBipKn, 1o HabeDeHi NnHue, 3BepHtbc Jo npAizBHnka ceHTpy 06cLyroBvBaHHa. Ppi KyniBli 6ybJaKoro 3 Haunx BVpo6IB Mn rapaHTyEm MOJnVBicTb npoeciHoro pemOnTy ta 06cLyroBvBaHHa. JaKIO npOdaBeUb, B KaKOro Bn KyuTe IHCTpyMeHT, He NaDae IocLyr 3 06cLyroBvBaHHa, d3HaaiTeec B HbO, De 3hAxOJNbTc8 HaI6JIHHuYI CEHTp 06cLyroBvBaHHa.

YBAI! HikoJIne He KopncTytec
iHCTpymeTOM i3 HecnpabHIM
3axnCHm CnpaJdHexHHM. 3axnCe
CnpaJdHexHa NOpti6HO nepeBiprTa T aOgJlaDAtn 3giHO BkazIBOK, 10oNoaHi yCbMy pOzdiJI. JkUo IHCTpymeTHe BiNobiJa e XOa 6OhNi i3 BmOr
peBepki, 3BepHiTcBdo CEHTpy
06cIyroByBaHHa DJIpeMOHTy
ΦikcaTop npocela
ΦikcaTOp IpOceI npn3HaueHn IJIa 3an06iraHnBnnaKOBOMy BBIMKHeHIO BaeJe. KoIi BuHaNTCKaTe ΦikCaTOp (A) (To6To, KoIi BuTrpMaTe Bpykax pykIB), BiN 3bIbNHe BaxJIb (B). KoIi Bu BynPyckAe 3pyk pykIB', To iΦikcaTOp, iBaJIb nobepTaIObcs Do BxIHOro noLoJHeHH. NobepHeHHa 3dInChHOeTBc3a DonOpMOIO DBOX He3aJIeHHx BiINbIDHNx npyHn. Lc O3Haue, Io
BaHJIb IpoceJIa aBTOMaTHUHO CTae B No3NlIO XOIOCTOrO XOy.

Ipebeipte, uBanjiIb iKcyTbc8y npo3nii xOIOcToIpo60Tu npu BiynycaHHi oikcatopa.

HaTnChiTb kCaTOp Ta nepeKoHaiTeC, 0o BiH 3aHRe CBOIO nopePeNDIO nO3uio, KOJI N BuIyo BIDNCTNI.

IpebeipTe, uhiikcaTOp Ta BAniJb XoJaTb BiJbHo,i cn do6pe npauioToB BiDbiHi npyuHnH.

IHCtpyKuDINBtbcn i3aRoiOBKom "Nyc". YbIMKHiTb IHcTpymENT Ta nobHicTo HATNCHITb BaeJIb. BiDnyCtTIb BaHIJIb Ta nepeKoHaNTEcs, zo pIHyua HacaIka 3ynHnHnacr I He KpyTnCbr. RaIOOBAHilb 3hAxOHTbcr B No3uIIx OIOCTOrO XOyA, a piHya HacaIka npOdoBHyE KpyTnHcN, pepeBipTe xOLOCTNI xID Kap6bOpaTopa. IHcTpKUdINBtbcn nI3 aRoiOBKom "TexHicHe o6clnyroByBaHHa.
BIMnKa
IooB BmKHyTn DnHyN,HaTnCHiTb BmIkau.

YbMkiHtBcHTpyMeHT Ta nepekoHaTeCya,IO Bnrgy H BNMIKAeTcBa, KOJI Bu npeBoJnte BNMIKAuy N03uIio 3yniHKn.
3axnchnn KOnyxp iHyuoi Hacaikn

CeKoHux npnHaueHo nIЯ 3axNcTy KopNcTyBaay BID BINAADKOBHX NpeMeTIB,яKI MOHYb BIDCKOHTNI iD cacpo60Tu. KoHux TaKOn 3axNuae KOpNcTyBaay BaBID BINAADKOBOrO KOHTaKTy i3 piHyuM eJeMeHToM.

IpeBepTe,ChKoHxHe nooKoJHEnHa Ta Hn Ha NbOMy HeMa e TpiuH. 3aMiHiTb KooHx, KaIO Bih 3a3NaH yApdy a6o Mae TpiuHy.
3aBHN KOpNCTyTcEc KOHxOM, IOpeKoMeHObAHn DJIb BCTaHOBJeHnX Ha daHmMOMeHT pIHyuHx HacaDOK. NbBiTbcr po3diN"TexHiDiHa"

YBAI! Hikoln He KopncTyTecr piKyuMn HacaDkAm6e3 BiIDNoBIDHOrO 3axNCHOro KOxHyxa. DnBtbcr po3dIn "TexHiHdiH". BnKOpNCtAnHn HecnpaBHO rHu He BiIDNoBIDHOrO KOxHyxa MoHe cnpuHnHTn cepNo3Hi npaHeHH.
Лушник



IyushNK npn3HaueHnn IJJI 3MeHHeHHaMyB Ta BiIDBOy BHXJONHnx Ra3iB BID KOPINCTYBauch. IyushNK,AKN o6JaHaHO KaTaJIITNuHm CnAIOBaueM BHXJONHnx Ra3iB, TAKOH 3MeHNeV E BKNiD NkIJDINBHX peOvBH.N

Ipi npo60ti y kpaihax i3 tenlmm Ta cyxm Klimatom ichye cepno3Ha He6e3neka 3aogopnHn . 3 orJny Ha ce, deKi rJyushnKn 06laNDyOTbcj ickponorlinhaiooCiTkoIO. IpeBipTe, nn rJyushnKn Ha Bawomy iNCTpymEnTi 06laDnaHn TaKOIO ciTkoIO.

Y KopncTyBaHHI rJyUHNIKOM dNyHe BaHJIbIO BoDTpIMyBAtNcB KAZIBOK 0doNepeBiPKn, NoTJyTa o6ClyrOByBaHHra hCTpyMeHTy. HikoJIne KopncTyTeec iHCTpyMeHTom i3 HeNCnpABHM rJyUHNIKOM.
PeryIaRHO nepeBipraTe, YI rLyuHnK HaaiHo npNkpinJeHn Do iHcTpymEnTy.
JaKIO rIyushIK iHCTpymHeTy 06laHaHo icKpONrJIHnAHOO cITKOIO, II cIJIpeYJApRo h uCHTNTi.3a6pydHeHa cITKa npzBBeDe do nepeRpiBaHH DaBnYGua, IO MO He cPnUHNHTcepNo3e I NOro NOnkOJHHeHH.

KopncTyTeC8aB3iBkAmN IJIra pIHyuHx
HacadOK, ⅢO6n IepeBipITN npaBINbHicTb
BCTaHOBJIeHHN Hpya Ta BIDNoBIDHicTb IIOrO
diametpy.

YBAI! 3aBHN3yHnHnTe DnHyN nepei 6yDj-RAIOO p06TOIO 3 pIHyOIO hacaKOIO. HacaKn pnooOBHy e 06epTATcNc, HABtBI KOnI BAKJIb 3BiJIbHeNo. IpekoHaI TeC, IO pIHyua hacaKn POBHCTIO 3yUnHnLac, i Bi'EdHaIe Ka6JIb BiD CbiuKN 3anaJeHHnpei TmK NK NoaTu npo6ToY 3 HacaKnOIO.

YBAI! DeeKTHa pinyuHa hacaKa MoHe 36JIbSyBaTn pu3Nk abapii.
Tpimepha rojibka
BAHJIINBOI!
O6ob'zkoBvBnHItbC, 10 uHyp TpImepa NaiiHo TaPiBHOMiHPo HAMoTaHn Ha 6apa6aH, 60 kIoo ZbOro He 3po6JIeNo, To IcHTpyMeT CTBPOIBaTmHe 1kDInBy Bi6paio.
KopncTyTece IIne peKOMeHDoBaHIMn TprimepHmN roJbIKaMn Ta shypaMn.BoHH BInpo6byaHI boP6bHKoM i BiIDnoiTaIOb TaHOmy po3MiPy IHCTpyMeHTa. Ce Hnd3BvauHa BOBAHJIbBO,RAIIO BVKOpcntOByeTbcS nobHcTTO ABTomatuHa TprimepHa roJbOBka. KopncTyTece IINIpe peKOMeHDoBaHIMn pIKyuHMn HacaKaMaN. DINBiTcR po3diN "TexHiH daH".



Дя iHcTpymeHTy MeHwOTo po3Mipy,Я npaBnIO,notpi6HI MeHui TrpImepHi roJOBKn i HABnAkN.JIeNoIcHIOeTbCra TmM,Io npri KociHHi 3 BkOpncTaHHm Ihpy DnByH NOBHeH BiKuDaTI NOro BpaiaJbHOMy Haprmi BiD TrpImepHoi RoJOBKn,doJaouCh npri Cbomy Onip cKoUyBaHoI TpaBN.
- DOBHNHa 5HUPy TAKOH E BaHJIINBOIO. DOBShn IHyp BmMaIae NOTyHKHIWOrO DBNrYGHa, aHIn KOPoTShn IHyp TAKORo H DiAMeTpy.
- IpekeOnaHTeCa, 10 Ho Hn KaOyCi TpIMepa B npAky. BIn cIyHnT bIe TOro, 106 o6piAtu npHy do nOtpi6Hoi DOBHNHn.
- 36iJIbIuNTn Yac po6Otn shHpa, Ioro MoHHa BIMoUHTN y BoDi npOTaROM dKeIbKoX dHIB. Lc 3poBt b HypMiHiHm i BiH npocLyHnTb DOBWe.
YcTaHOBKa neTeJIbHOrTo TpIMaHa

3akpiitb TpmaMaHaBaJI.3BepHITb yBary,0neTeIbHN TpMaHa nobINeH 6byNT BCTaHOBJEHH MmC TcPIKAMn Ha BaJI.

- YctaHOBiTb 60JIT, 3akPIMBUNIPLACTINHy i KpInlbuacty rAky, JK NOKa3aHO h CXeMi. 3AkpyTtB kPmlbuacty rAky.
MOHTaJ -ДeMOHTaJ ДBoxceKιнHOro BaJy

MOnTaK:
BiDnycTiB 3'εdHaHHa, noBepHyBm φikcyuoy roJibky.

CymictiBvntnHacaKn(A)i3OTbOpMB 3'eHaHHi(B).

BcTaBTe HacaKyu y 3'edHaHHnDo II fikcaiHa MicLi.
- Ppeo noaTOM po60Tu HaiHn 3aTgHiTB fikcyuoy roJibky.

ДемоNTан:
BiDnycTiB 3'EdHaHHa, noBepHyBn fikcyuoy roJibKy (npHaiMHi 3 pa3n).

HaTnCHiTb Ta yTpIMyIe KhONKy (C).HaIiHo yTpIMyUOu INBnYH, BNTaRHiTb HacaKBy B3IOBHX HApRmKy 3'EdHaHHa.

MOnTaH pIHHyUOcnpaJxHeHn.

YBAI! HikoJIn He KopncTyItec
piKyuIMn HacaIkaMn 6e3 BiINIObiHOrO
3axNCHOrO KOxHyxa. IINiBITbcr po3dIi
"TexHiuHi DaHI". BkOpNCtAHN
HeCnpaBHOrO UH He BiINoBIHOrO
KOxHyxa MoJe CnpuHnHTn cepNo3Hi
nopHaHeHHra.
YcTaHOBKa KoJyXa TpIMepa I roJIOBKn TpIMepa (T22LS)

- Ppi pO60Ti 3 TpIMepHOIO FOIOBKOIO BcTaHOBIb BiIOBIDHNI 3aXINCHNI KOHX YIЯ TpIMepA (A) 3aKpNiTe KOHYXOM TpIMepA/yCTaHOBiTb KOM6IHOBaHNI KOHX YIЯ BaJy I aKpiniTb IyoTO 6oJlTom (L).

BcTaHOBiTb DnCK npNBOy (B) Na BuxiDn BaJ.
- O6eptaTeBaJI,doONOKOnOIN3OTBOpIBNcKpy npBDoHy cInbnaPe 3 BiINoBiINM OTBOpOM y Kopnyci 3y6uactoi nepedaqi.
BCTABTe cTOnOpHn uTnΦT (C) BOTbip, 0o6 3aikcyBaTu BaI.
BcTaHOBiB TpImePhy rOIOBky/IIaCTMacobI hOHi (H), 3akpyuIoun ix y HanpMy, npOTInHeHHOMy Do HapmKy o6epTaHH.

- Pn p036bpaHHi BkOHaHTe 1i HcTpyKpie y 3BOPOTHomy nopAky.
YcTaHOBKa KoJyXa TpIMepa J roJIOBKn TpIMepa (T22LCS)

- YctaHOBiTB KOHyX KI NOKa3aHo Ha CXeMI. HadiiHO 3akpiniTb.

- UctahOBiTb KOBnauOcK 3axNCtTy BiD nIIy Ha BaI. RaIka NobINHa 6yTu LiNkOM 3akpNTa KOBnauKOM 3axNCtTy BiD nIIy.

TpImaTe KOBnAoc 3axNCTy BiD NIIy raIKOBIM KJIoucEm, 0o6 3ano6irTu 0eBpTaHHIO Bala.
- YctaHobItb roJIOBky TpIMepa Ha BaJ.
3axoNi 6e3neKe npn 3anpaBci naJIiBa
B HODHomy pa3i He BMnKaIe iHCTpyMeHT:
1 RaKo Bn po3aJIn Ha HbO r naJIn BO. BntpIb iHcTpymeNT Ta noyeKaaiTe, nOKn naJInBa 3aJIuShk BNapyIOTBcR.
2 RaKuo Bn po3JIInI naJIInBO Ha ce6e YN cBiŋ OJr, nepeOJaHITbcY.BIMNIte ChactINH TJIa, Ha KaI NOtpaJIINO naJIInBO.ДЯ LcBOrO cOpNCaTIaTEcE MINOM Ta BOHO
3Якшо icHcTpymeHT npOnyckaД naJIbBO. PerynlraHNo nepeBirpIte,чИ Кршka 6akуТаТубКи пЛВьнOЕ сСТМeMn He npOnyckaIOTb naJIbBA.
TpaHcnopTyBaHHa Ta 36epirahHH
36epiraTe Ta TpaHcnOpTuIe IHcTpyment i naJIbO TaK, 0o6 HabiTy b VnauKy BuTOKy naJIbA Yu noTo BnapB BOHn He nOtpaJIraN y KOHTAK 3 BiDkPnTUM BoHem Ta iCKpAMn BiD eJKeKTpuHHx MaUHH, DnBHyHib, eJKeTpuHHx peJe/BMnKauiv Ch 6oJInepiB.
ДлгзбгднгчппсьeвнгняплваКористутес BiIDNoBIDHIM nocydom,pnsnHaueHIM dN TAKKU LiEn.
- Пи 36epirahHHiHCTpyMeHTy npOTaRGMoBROFO cyau, naJIbHNbI 6ak NaIOJIeHb 6byTn POnOHIHm. Uso6 DoIaTINca, De KpaJIte 3JIITn HaJIIMuOK naJIbBa, 3BepHiTbc8Ha MicUeBy 6eH30aPaNpABky.
- Праздзберiraаннм ИстумenteуnpotяromdoBrogorOчacy,пеконаитес,在BIOHошишни i so npoBebeHci BiNoboiDiho60tNi 3ocJyroBvBaHHa.
- Пи 3бриганчи TrpaHcnpToYBaHHi iHctprymeTu noTpi6No oJraTn Ha pIky HacaKu 3axIXChN YoXoN.
HaioHo 3aikcyTe npncTpii TpaHcnpTyBaHH.
ДляЗларогнг HeHaBMnCHOrO 3anucky DBvrgHa, natoPOn CBiKu 3anaJIeHHN NOBHeH 6byTn 3aBKnDn 3HrTn pnpTrBaIOMy 3epiRAnHi, kAIO hCTpymEHT Nepe6Byae NiID cyBOpIM HArJaDM, a TAKOH npri BCix npOceDypax i3 Ioro o6cLyroBvBaHN.

YBAI! ByIbTe o6eepHHi, npaiooun 3 naINBOM. PAM'raTte npo He6e3neKy 3aOprHNN, BV6bxy Ta BdNxAHN H BNapIB.
PJIIBO
YBAIAIHCTpyMeHTo6JaHaHoDBoTaKTHIM DnBHyHOM,TOMyJLMyoNgoTObCNi3ABXnn BUKOpNtOcbYBaTN CmUIi 6eHNuTYaTOmTopHOJI DnJbOToKTHNXDnBHyHb.I06OTpMAtnCyMiW
npaBnIbHi nponopCi, BauNlBO ToHOb BiMiprT KJIbKicTb oIi. Pnri 3mUbiBaHHe3NaHoi KJIbKocTi naIbHaBIb He3NaHHeToHocT MoHyt CnJIbHO BNJIHyTI Ha nponopCio cmiwi.

YBAΓA! PAniBo Ta Iyoro BInapn JIeKo 3aMaoTbcr i MoHyTb 3aBdTu CepNo3HOI shKoOn npN BmXaHHi Ta noTpanJHnHa nKipy. Tomy 6yDte 06epeHHi npN pO6To3 nPAniBOM i nepeKoHaTeC8, OIO pNIMUeHHa DcTaTHbIO pNOBtioeTbc8.
Бeнзин

YBAI! 3aBKnBn BkOpncTOBy Te RaKiChy
6eH3nHOBO/OJIHy Cmii3 OKTaHOBI M NcLOM He
NHeue 90 (NcIcR ORON).KaKIO hInCTpyMeHT
O6JIaHaHNI KAtaJIITNuHM CnAIIbOaHE
BnxJOnHx Ra3IB (INBiITbcraPo3dJ "TexHiuHi DaHi"),
BnkOpncTOByTe RaKiChy 6eH3nHOBO/OJIHy Cmii,
Io He MiCTNb CBnHIO. BkOpncTaN HRe 6eH3nHY 3i
CBnHcE M BvBeDe 3 Na dy KaTalITNuHn CnAIIbOaH
BnxJOnHx Ra3IB.
ПиMuONJIINBOCTI BIKOPNCTOByTe 6eH3nH i3 Hn3bKIM pIBHEM BKNIDiB 5kiDJIINBxpeyOBH (TaK 3BaHn aJIkIaT).

O3b0JIa6Tbc8 BnKOpNCToBvBaTN paJIINBHy 6eH3IHOBO-etaHOJyO cyMIU E10 (BmICT eTaHOly He 6iJIbSe 10%). Y BnAaKy BnKOpNCtAHNc cyMiwe 3 BnIM BMICTOM eTaHOly MOJyTB BnHNKHyTN po6oHi yMOBN, 3dATHi BnKJInKaTI NIOKODHeHHN DnBnYHa.
MiHimalbHe peKomeHDoBaHe oKtHaOBe YnCNo DopBHe9O (NcJIO RON).PnBVKOpNCtAHHi 6eH3nHy 3 OKaTHOBm YnCJOM, HnHcIM 3a 90, MOJIbNt TaK3aHbN CTkyiT. Ze cnpuHnRe nepeRpiB dBVryHa, 10 MoHe npIbeCTn Do Iyoro cepiO3HOr OoWKoJDHeHH.
-ПигТВИБЛД рбOTЯ на ВИСКИХ 6ОБЕТAX, peKOMeHДУЕМВИСКИТСТВУВАТИ 6EΗЗИн i3 BИЧIM OKТАНOBИМ UCHILOM.
OliaIJIaIbOTaKTHOrO IbNryHa
Для Oдерхання Краших рezуltatIB BИКОРИСТОВУТЕ МАТПО Для DBOTAKTHINx DBIgYHIB Universal powered by McCULLOCH lo cneJIaJIbNo npn3HaueHe lЯн HaIXN DBOTAKTHINx DBIgYHIB i3 NObITprHIM OXIOJIoHHeHnM.
HikoJHeKOpncTyITeecOJIeIO,po npn3HaueHaДЯДВOTaKTTHIX DnBHyHb 3
BOJHMM OXJOIDJEHHM, JKYiHKOJI Na3NBAIOB 3OBHIbHOO OJIeO (MapkyBaHH TCW).
HikoJINHeKopncTyTec8OJIeIOIJIa YoTnpuTakTHnx DnBnyHb.
Hn3bKa kicTb oJIi Ta/a6o HaITo BeJInka YacTka oJIi B Cymi Mi MOHe BVBeCTNs 3 JaLy KataJItNCH cAnJIIOBau BxJONHO rAizB TaCKOPOTINu cac HopMaJIbHoI NOro pOboTN.
- Ppnonopui cymiui
1:50 (2%) MacTnIOДЯДВOTaKTHnx DBIgYHIB Universal powered by McCULLOCH.
1:33 (3%) npu BnKOpncTaHHi iHoi oIiДЯ ДьTOaTKHIX DvBryHIB 3 NOBITprHIM oxoJIoHeHnM KJaacNphiKaJI JASO FB/ISO EGB.
TpImaHTe TpIMeRHy roJOBky HaI caMoIO 3eMJIeO NiKyOM. IIIDcTpriHaHn BvIKoHyETbcra camKe KIncem Shhpy. HexaI hUyp npaIoo 3 BlaHCHO WbUkICtTO.HikoN He npntncKaIte shHyp Do dIJIaHKn, Na kIi npaIoTe.

- IIHyp IerKo MoNe BnKoOuBaTu TpaBy Ta MoIooi narOHN 6JIa CTIn, OorOpiHi, DepeB Ta 6opKnOpB, XOua BiN MoNe iNoSKoUtnCTOBnOr oroponiTa UyTJbY Kopy Ha JepeBaX iKyuax.
- ⅢeMHHTHnHe63eNkUpoKoJHHPOcINH,ckOPOITbUHypdo10-12cmTa3MeHHTbWBNDICTbDVBfYHa.
BikouBaHHa
- PnBVKoWbAHHi BnJaIaJIbOTb BcIO HEnoTpi6Hy pOcINHHCTb. TpMMAte TpMePHy rOJOBky HaI cAmIo 3eMJIeTo Ta HaxNJIt II. KiHeCb UHypa BdaprTmEHTcb o3eMJIIO, NObHCTO BUnuSyUOn pocINHHCTb 6JIaIpeB, CTobNIB,
nam'raTHNKiB Ta iN. YBAI A! TaKni cnoci6 po6oTn npuBnDyue 3HOWeHnHa Hnyp.

- ⅢHyp 3HouyE tbcra Wbniue i Ioro cIiD BnCyBaTn Cactiue, KOLNI Bn npaioe Ta DIJIaHNkax 3 KaMIHHaM, UerIIO, 6eTOHOM, MeTaJIeBIMn OropOHaMn TaIH, aHIN npo60Ti 6JIa DepeB Ta DepeB'JHnx OropOH.
- Pn niDctprnaHHi Ta BnKOswBaHHi TpaBn, cIiD npaObaTn Ha MeHni WbNkOcTi (80%), 0o6 npoOBHnTn Yac HopMaJbHoPo6To nHypy Ta 3MeHNHTn 3HOSeHnra TpMmepHo rOLOBKn.
KociHHa
Tpimep e iideaIbHMM pisiHnM dIJI KocIHnT TaBnI,do IaKOI BaNko Do6patnc3 BmuaHHO ra3oHOKocapKoO. KOJIN KOCnte, TpImaIte 5hupnpaIaeJIbHo do 3emNi. HamaraiTeca He npNTiCKaTIu TpIMePhy rOJOBKY do 3emNi,6o ce MoHe noIkwOOnTu Jk IHCTpyMeHT,TAk ira3OH.

Kocny TpaBy, He daBaIte roJIOBci noCTiHo TopKaTmC3eMJI. TaKiN noCTiHn KOHTAKr roJIOBKn 3eMJIe MOJe npNBecTu Do II nouKOJaHeHHa Ta 3HOWeHHa.
IiIMiTaHHa
CTpyMiNb noBITpЯKm BnHnKae npi o6epTaHHi shhpy,MOHHa BkOPnCTaN dIJIa WbNtKO r Ta IerKOro npn6bpHaHr. TpMaJTe shyp napapeJbHo do JIJIHKn, kYk npn6bpaeTe, Ta BOitb IHcTpymeHT 3 60ky B 6ik.

- 06 otprmaTn haikpaiz pe3yIbTaTn npN KocHHa Ta niiMItaHn, noTp6Hn pnaObaTn Ha MakcImaJIbHi WbNdkOciT.
Kap6iopatop
PeryIIOBaHnHaXoJIocToFo XOaNy
Peped pereyioBaHHM pekeoHaHTec8, 0o nobiTpaHNIΦIbTp YcHTn i 00 KpNtKU nobiTpaHOrOΦIbTpByCTaHOHe.
JaKIO noTpi6Ho, BiDpeYJIoIe TbWbNkICtB xOJocTO rOxOy 3a DOnOMoTO IO TBnHTa perYJIOBaHnT R. CnoaTky NOBepTaIte TBnHT peYJIOBaHnT XoJocTO rOxOy T 3a RoDNHNIKOBIO CTpijKOIO, NOKi pINyCu HacadKa He noUHe o6eptatncr. IOTim NOBepTaIte TBnHT npTo rOdInHNIKOBoi CTpiJIKN, NOKi piHyCu HacadKa He 3yPmHITbcr. PpaBnIbHo BiDpeYJbOBoHn DBvRyH npAioe piBnHmOpHO y 6yDb-IAKOMy nOJONHeHHI. WbNdkCTb XoJocTO rOxOy NoBnHnA 6ytu 3HaNo HO HnHcIO BId WBnIDKoCTi, HA JaKi noOpHaHe o6eptatncs HacadKa.

PekomeHIOBaHa KINbKicTb ObeptiHa XoIocToMy xOy: DnBItbcpa03dIn "TexHiHi daHi"

YBAI! JaKIo He BdaeTbcra
BiDpeRyIIOBAti WbNIdKicTb TaKIM
ChHOM, iO6 HnH 3ynNHmCBs, 3BepHiTbcra
Io npOaBcA a6o B ceHtp
obcnyroBvBaHHa. He KOpncTyIteca
IHCTpyMeHTom, nOKn IyoTo D6pe He
BiDpeRyIIOHb a6o noLaOJMaTb.
TnyuHnK

YBAI! DeaKi rnyuHnKo6laHaHaHi KaTaJIiTuHm CnAIOBaeM ra3IB. 06 doBIAdTnc, HcIhCTpymEt O6laHaHaTakMI cAIOBaeM, DnBITbc pO3diN "TexHiUH daHI".
IyushNK np3HaueHn IJr 3MeHHeHH pIBH yMy Ta BIDeEHN BIXLONHnRASiNoaJI BiD KOpNCyBaUa. BIXOnNHi RaN MaOtB BnCOky TeMnepatypY iMiCTbIKpN, AKI, NoTpanNBn Ha
cyix Ta JIeKo3aMmCTi peOBOHH, MoHyTb npINBeCTn Do 3aTOpHNN.

dЯki rIyushnki 6bIaHaHO ickponorIiHaIOuHMn cIrkamn. JIkuO IHCTPymENT 6bIaHaHO rIyushnkOM TAKOTO Tyn, cITky cIld uCtNTn UpiHAmHni pa3 Ha TnJdeHb. HauKpaase oBuNTn epoTaNIOU qTkoIO. CItkn rIyushnkIB, JIke H 6bIaHaH i KaTaJItnuHm CnAIOBauChem BxNlonHnx Ra3IB, cIld uCtNTn OToTHNN ABO npri Notpe6i 3aMInrTn. CItkn rIyushnkIB, 6bIaHaHnx BiDNOBIM CnAIOBauChem, CIld nepeBiprtu NcOmicz I npri Notpe6i uCtNTn. POnkOJaHEny CYtKc cIld 3aMInrTn. JIkpO citKa YacTo 3a6Baetbc, ue CbiDHTb npo Te, zo pOboTa KATaJIITnuHOrO cNaIOBaua rAsIB noripwnlacb. 3BepHiTbc So npoDaBua, zo6n nepeBiprtu rIyushnk. PoBoTa a 3a6bTOIO ciTkoIO rIyushnka cnpuNHTb nepeRPIB DBNYhA, zo npin3BeDe do nowKOdHeHHuLiHdp Ta nopshna.

YBAΓA! HikojIne KOpncTyuTecsiHcTpymeHTOM, B JAKOTo HeCnpaBnI rJyUHnK.

Habeeni Hnue HacaKpeKOmeHDoBaHO IJIa BkOpncTaHHI 3BkazHaMMMoJeJMyN.
| Доэволени akcesсуари | Арт. № | Викорисань з |
| Hасадka кучьтватора САС | 577 61 62-02 | T22LCS, T22LS |
| Hасадka поитroduунов BAC | 577 61 62-03 | T22LCS, T22LS |
| Hасадka даяшліфувань EAC | 577 61 62-04 | T22LCS, T22LS |
| Hасадka shtaнговoi пленки PAC | 577 61 62-05 | T22LCS, T22LS |
| Hасадka даяшпалерникх Ночнистов HAC | 967 17 64-01 | T22LCS, T22LS |
ДeКлараця BiДиовиДиHOCTi CTaHДapТam БВрoneiСьКOrO Cою3y (Лише ДлЯ Крайн БВрпи)
Mn, Husqvarna AB, SE-561 82 MioTo XycbapHa, WBeuia, TelefoH: +46-36-146500, 3aBmEmo, 0o TpImepn McCULLOCH T22LS i T22LCS i3 cepiHmHm HomepaMn, 0o daTyOHTcBc BID 2013 pOKy i dani (piK ta cepiHmH Homep icTKo 3a3HaYeHo Ha nlaactInuI TexHiHnx DaHnx), BiNoblaaIOb BIMoram DnpeKTbN EC.
-BiD 17 TpaBn8 2006 p. rCtocobHmexaHicuHoro o6JaHaHHra" 2006/42/EC
- BiD 15 rpydN8 2004 p. "npo eNeKtpomarHITHy cymichcTB"2004/108/EEC.
- Bvd 8 TpaBn4 2000 p. "npo yMoBI vIKuDNiB HABKOJIuNHe cepIobNIe"2000/14/EC.BINhaueHnB BiNDIOIbHocTi 3rIHO 3IoaTkom V.IHΦopMaioH CTOCOBHO yMOBIX BVKnIDIBuBiTbcy po3diI"TexHiHi daHI).
Bvro6n BiinobiidaioTb TaKIM cTaHapTam: EN ISO 12100:2010, EN ISO 11806-1:2011, ISO 14982:1998, CISPR 12:2007
SMP Svensk Maskinprovning AB, Box 7035, SE-750 07, M. Üncaja, Übetici,aprobna Tinoby nepebiPKy BiD imeni Husqvarna AB. IocbiHneH npohymepoBahi: SEC/11/2328, -T22LCS, SEC/11/2329, -T22LS
Mn TakoJ NiT BVerDHyE Mo BiNObiHicTb Ux N BIno6iB BMOram DoaTaKa V IInpeKTHBn EbponecBkoI paNi 2000/14/EG.Homepi cepTuΦiKaTiB:01/164/080,-T22LCS,01/164/079,-T22LS
Huskvarna 19 KbiTHra 2013

EasyManual