T22LCS - Testere MCCULLOCH - Ücretsiz kullanım kılavuzu
Cihazın kılavuzunu ücretsiz bulun T22LCS MCCULLOCH PDF formatında.
Cihazınız için talimatları indirin Testere PDF formatında ücretsiz! Kılavuzunuzu bulun T22LCS - MCCULLOCH ve elektronik cihazınızı yeniden ele alın. Bu sayfada cihazınızın kullanımı için gerekli tüm belgeler yayınlanmaktadır. T22LCS markasının MCCULLOCH.
KULLANIM KILAVUZU T22LCS MCCULLOCH
Makine ve/veya kilavuzdaki semboller:
UYARI! Temizlik islerinde kullanlan testereler, Orn: cali temizleme
testerelinerin kullanimi tehlike yaratabilir! Bu tur testereliner dikkatsiz veya yanlis kullanimi, kullaniciin veka diger kisilerin ciddi bir sekilde yaralanmasina veya
olmesine neden olabilir. Kullanim kilavuzunu okuyar icerigini iyice anlamanz son derece onemlidir.

Makineyi kullanmadan once kullanim
kflavuzunu iye okuyar icerigini
kayrinyiz.
Her zaman kullanilmasio gereken malzemeler:
Testere kullanlurken koruma basligi kullanmukriskidir, basligin testerenin uzerine dusmesi tehlikesi vardir
- Onanmis koruyucu kulaklik
Gözlerin koruması onaylankışir
Maksimum hareket eden omuz uzerindeki devir sayisi, rpm.

max 6700 rpm

Bu urun gecerli CE direktiflerine uygundur.
Testereyle calismaya baslarken sakin olmaya ozen gosteriniz.
Makineyi kullanan kişi, calisma esnasinda
kendisine insanlarin veya hayvanlarin 15
metreden deducta fazla yaklasmasina izin
vermemelidir.
Her zaman onanmis koruyucu eldivenler kullanilmalidir.
Kaygan olmayan ve saglam cizmeler kullaniniz.




Kesme techizati bukilgen ozelliigi olan metalden olusmamalidir; orn: ayar basligi ve ayar halati bu ozellakte olmalidir.
Ateşleme; jikle: Jikleyi jikle durumuna getiriniz.
Yakit pompasi.
Cevreye verdigi gurulti emisyonlar Avrupa Birligin direktfilerine uygundur. Makinenin emisyonlari Teknik bilgiler bolumunde ve etikette belirtilmistir.




Makina üzerindeki diger semboller/etiketler kimi pazarlarda onay almak icin gerekl ozel kosullara ilgilidir.
Motor, anahtar durdurma konumuna getirilerek kapatulr. DIKKAT!
Durdurma anahtari otomatik olarak calistirma konumuna doner. Motorun istenmeden calismasmi onlemek icin montaj sirasinda, motoru kontrl
ederken ve/veya bakim yaparken buji kapaklarinin cikarilmasi gerekir.

Her zaman onanmis koruyucu eldivenler kullanilmalidir.
Düzenli aralíkarla temizlik gerekmektedir.


Gözle bakarak kontrol.

Icindekiler
SEMBOLLERIN ACIKLANMASI
Semboller 568
Makine ve/veya kilavuzdaki semboller: 568
ICINDEKILER
Icindekiler 569
Balamadan once asagidaki konularadikkat ediniz: .... 569
GIRIS
Degerli Musterimiz, 570
NE NEDIR?
Cim biçici üzerinde ne nedir? 571
Balamadan once kontrl yapiniz. 580
Calistirma ve durdurma 580
ÇALİSMATEKNİKLERİ
Genel calisma aqiklamalarif 582
BAKIM
Karbürator 584
Susturucu 584
Sogutucusistem 584
Buji 585
Iki parçali mil 585
Hava filtresi 585
Bakim semasi 587
TEKNIK BILGILER
Teknik bilgiler 588
Uygunluk konusunda AB deklarasyonu 589
Baslamadan once aşağídaki konularadikkat ediniz:
Kullanim kiflavuzunu dikkatle okuyunuz.

UYARI! Kesme ilelmini yaparken uzun sure gurültüye maruz kalma, duyma bozkluğuna yol acabilir. Bu nedenle daima onaylanmş bulunan, gurültüye karı koruma cihazi kullanmz.

UYARI! Imalatçınin izni olmaksın makinenin原油inal yapisi hcbirbicimde degistirilemez. Her zaman原油inal yedek para kullanilmaldir. Yetkili olmayan kisiler tarafindan yapilan degisiklukler ve/veya原油inal olmayan parcalar, kullancınin yaranalanmasina ya da olumune neden olabilir.

UYARI! Bir taş kesme testeresi, calh budaycisı veya kescinin dikkatşiz veya yanlil kullanlması, bu araçları kullanan kılıyerin veya dhe insanların olümüne veya tehlijkleri bir sekilde yaralanmalaruna yol acabilitir. Burada size sunulan, kullanna talimatimi okumaniz ve icerigi ini anlamniz seks onem taşmaktadir.
GIRIS
Degerli Musterimiz,
McCulloch ürünün tercih ettiginiz icin teşekür ederiz. Artik siz de McCulloch Corporation firmasin 2. Dünya Savaşi yllarinda motor uretimine girmesyle baslayan bir öykünün parcasisıniz. McCulloch'un ilk hafif tek kiselik motorlu testeresini hizmete sundugu 1949 yilnda,DOGRAMA isleri temelden degismistir.
Yenilikci motorlu testere ceşitlerinin üretimine yllarca devam edilmis ve is genişletilerek once 1950'lerde uçak ve yanı arabasi motorlari dahil edilmis, daha sonra da mini motorlu testereler üretilmeye bölanmistir. Da ha sonra, 1970'li ve 80'li yllarda, urün yelpazesine biciçiler ve üfleyiciler eklenmistir.
Bugün, Husqvarna grubunun bir parçacı olarık faiyeti gosten McCulloch yarım yüzili askin süredi din üntın oktaları uz olangu Gülcui motorik, teken yanilikler ve次会议 tarımarla oluzturulan gelenişün sürdurkemtedir. Yakit tuketimi, emisyon ve gürültü duzyelerinin disürlümesi ve ayni zamanda güvenlik ve kullanim kolayligibizim icin oneeligi konulardir.
Uzun sure size eslik etmek üzere tasarlanan McCulloch urününüzden memnun kalacagmiz umuyoruz. Bu kullanim klavuzunda kullanim, servis ve bakim konularindaki talimatlari uygulayarak, urünün kullanim ömrū uzatlabilir. Tamir veya servis konusunda profesyonel yardima gerek duyarsaniz, lütfen www.mcculloch.com adresindeki Servis Bulma Aracini kullanin.
McCulloch urunlerinisi surekli olarak gelistirmye calismaktadir, bu yuzden urinlerin biqim ve gortunusleri konusunda onceden haber vermeksizin degisiklik yapma hakimiz saklidir.
Bu kilavuz www.mcculloch.com adresinden de indirilebilir.
NE NEDIR?

Cimbicizerede ne nedar?
1 Kesme basligi
2 Cihaza yag doldurma, debriayajler
3 Debriyajlar
4 Kesme cihazlarinin korunmasi
5 Techizat borusu
6 Baglanti borusu
7 Tutamak
8 Gaz ayarı
9 Stop Dügmesi
10 Kelebek kilidi
11 Buji kapaqi ve buji
12 Calistirma aracı
13 Calistirma tutacagi
14 Yakit deposu
15 Hava滤resi
16 Yakit pompasi.
17 Sok ayar kolu
18 Yardimci araclar
19 Kullanim kiflavuzu
20 Anahtar
Önemli
ONEMLI!
Makine yalnizca cim biçmeicensasarlanmistr.
Kesme cihazlari icin motori parcasiormal kullanabileceginiz arac-gereclerin kaynaklarini size tavyiede bulundugumuz Teknik veri bolülmende bulabilirsiniz.
Yorgun ya da ickili iken ya da gorus, karar verme ve bedensel denetim yeteneklerinizi etkileyebilecek olan bir ilac almiisaniz makineyi asla kullanmayiniz.
Kisisel koruyucu araçlar kullanınüz. Kisisel koruyucu araçlar böllumüne bakınüz.
Artík original imalatina benzerlögi kalmayacak bicimde yapísaldehyegrisikligeugratflmíbir makineyi asla kullanmayiniz.
Hiçbir zaman arizalt bir makineyi kullanmayin. Bu kulavuzda belirtilen güvenlikkontrolieri ile bakim ve servis talimatlarna uyun. Bazıbakim ve servisişlerinin sadece yetkili ve kalifiye tinkesynieler tarafindan yapilması gerekir. Bakim baslıigi altindaki talimatlara bakim.
Calistmadian once tum kapaklar, siperler ve tutamaklar takilmalidir. Elektrik carpmasi riskini engellemek icin buji kapaginin ve atesleme kablosunun hasarsiz oldugundan emin olun.
Makineyi kullananaksi, calisma surasinda, makineye insan veya hayvanlarin 15 metreden希望大家扎a yaklosmasina dikkat etmelidir. Eger bir calisma bolgesinde bir cokaksi bir arada calisiyorsa, guvenlik mesafesi calisma bolgesinen iki kat uzaklignda olmali veya en az 15 metre olmaldir.
Kullanmadan once makineyi genel olarak kontrol edin ve bakim cizelgesini inceleyin.

UYARI! Bu makine, calismasi sirasinda bir elektromanyetik alan olusturur. Bu alan, bazi kosullarda aktif vya pasif tibbi implantarda girisme neden edebilir. Ciddi veba olumcul yaralanma riskini azaltmak icin, tibbi implantlar takil kisilerin, bu makineyi calismadan once doktorlarma ve tibbi implant utrecisine danismanlarim oneririz.

UYARI! Motorun kapali veya
havalandirmasi iyi olmayan yerlerde
calistrilmasi havaszilkten bogulmaya veya
karbon monoksit zehirlenmesine yol acabilir.

UYARI! Hicbir zaman*cocuklarin makineyi kullanmalarina veya yakunnda olmalaruna izin vermyin. Makinede yahl durdurma anahtari oldugundan de cahstirma elcigine uygulanabilecek az bir guc ve hizla cahstirlabilecegien, bazi kosullarda kucuk cocuklar bile makinenin calismasi icin gereken guci bulabilirler. Bu da ciddi yaralanmalara yol acabilir. Bu nedenle makine yuk gozetiminiz alinda olmadigi zaman buji kapagim cikarmi.
Kisiselkoruyucuaraclar
ONEMLI!
Bir taş kesme testeresi, calt budayicisi veya kescinin dikkatsiz veya yanlş kullanlması, bu araçlar kullanan kisilerin veya diger insanların olümüne veya tehlükeli bir sekilde yaralanmalarina yol acabilir. Burada size sunulan, kullanma talatimni okumaniz ve icerigiñi anlamniz seks onem taşımaktadir.
Makineyi her kullandiginizda, onaylanmis kiisel koruyucu araclar kullanmalisiniz. Kiisel koruyucu araclar sakatlanma tehlikesini ortadan kaldfmasalar da, herhangi bir kazanin meydana gelmesi durumunda yaralanma derecesini azaltirlar. Uygun kiisel koruyucu araclar seqmekte saticinizin yardiminí isteyiniz.

UYARI! Gurültüye kırkı cihazi kullanlirken, uyari sinyallerine ve seslerine kırkı daima dikkatlı olunuz. Motor durdurulduktan hemen sonra, gurültüye kırkı cihazimi çıkartınz.
MIGFER
Testere kullamlurken koruma basligi kullanmak risklidir, basligin testerenin uzerine duismesi tehlikesi vardir

GÜRÜLTÜYE KARSSI KORUMACIHAZI
Gürültüye karı koruma cihazı, yeterli bir susturucu etkisi,...

GENEL GÜVENLIK AÇIKLAMALARI
GOZ KORUMA CIHAZI (GÖZLÜK)
Daima onaylanmış bulunan goz korumcihazlari kullani lmalı d r. Migferin on parçasi nda kullani lan korumigiğü de mutlaka onaylanmış olmali d r. Korum Güzlügün üonaylanmış olması demek, ABD'in ANSI Z 87.1. standartlari na veya AB ükelerinin EN 166 standartlari icin aranan sartlara uygun olması anlamı na gelir.


ELDIVENLER
Eldivenler ihtiyaç duyuldugu zaman kullanlabilir, Örn: kesme cihazlarin monte islemlerinde mutlaka kullanlmaldir.

CIZMELER
Kaygan olmayan ve saglam cizmeler kullanız.

ELBISELER
Kesme islemini yaparken yurtilmaya dayanlki elbiseler kullaniniz, calilklara ve dallara kolayca takilma risik taşiyan genisielbiseler giyemkten kaçıniniz. Daima saglam ve dayanaklı uzun paçali pantolonlari kullaniniz. Kesme islemini yaparken ziynet esyasi taksyminiz, kisa pantolon vya sandalet giy Meyiniz ve ciplak ayakla calisyminiz. Saçlarinizim omuzlarinizadoğan sarkmamasina ozen gocteriniz.
ILK SARGI
Ilk yardim cantaí her zaman kolay ulasfir bir yerde olmalidir.

Makinenin güvenlik donanímí
Bu böümude, makinenin güvenlik donanımı konusunda ayrintilirn neler olugu, bunlirn hangi ilevlere sahip bulundugu ve.Doğru calisip calismadigiina emin olmak icin kontrol vebakimın nasilgereklestirilecegi acfklanmaktadir. Bu techizatin makinenin neresinde oldugün gormek icin Ne nedir? böümüne bakıniz.
Makine dokuro bir sekilde kullanilmaz ve gerekli onarimlar ve bakimlar yetkili servisi ve bilirgisleri tarafindan yapilmazsa, o taktirde makinenin omrūnūn uzunlugu kusalabilir ve kaza riski
artabilir. Eger daha fazla bilgiye ihtiyaç duyuyorsaniz, en yakin servis istasyonuna basvuruda bulununuz.
ONEMLI!
Makinenin her turlu servis ve onarimi özel egitim gerektirmektedir. Bu, özillikle makinenin güvenlik donanimíyla ilgilidir. Eger makineniz asagidaki listede yer alan denetimlerden harangi birinde taklírfa, servis atelyenize basvurunuz. Ürünlerimizden harangi birini satín aldıgünnda, profesyonel tamir ve servis sunacğınüz garanti ederiz. Makeyi size satán satići servis satićíndeğilse, en yakin servisiemsilcisin adresini vermesini isteyiniz.

UYARI! Bozuk güvenlik gereçlerine sahip bir makineyi asla kullanmayınüz. Bu böümnde belirtilen kontrolller ve bakim önl MERini uygulayınüz. Makinenuz bu detenetimerden herhangi birisinde takilırsa onarın icin servis ajanıniza basvurunuz.
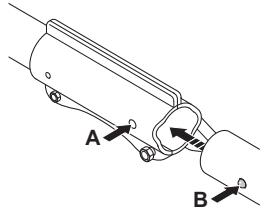
Kelebek kilidi
Kelebek kili di, istenmeyen durumlarda gaz ayarinfin
ektinleşmesini onlemek icin yapilmiftir. Düğmeye (A) basinca
(elinizi kulpa bastirnca) gaz ayari (B) devredençkar. Elinizi
kaldirdüzinzida ishe hem gaz ayari hem de gaz ayarlama digi mesi
eski durumuna doner. Bu hareket iki tane bagimsizdonus yayı
tarafindan kontrl edilir. Bu dizenlemeseysinde, elinizi
kulptan kaldiridüzinzda kelebek kontrlu otomatik olarak
çalşmama durumunda kilitlenir.

Gaz ayarlama dügmesi asil konumunda iken gaz ayarınin boşa oldugunu denetleyiniz.

Kelebek kilidine basiníz ve báraktiğiníz zaman yeniden asil konumuna geldiigni denetleyiniz.

Gaz ayarinin ve kelebek kilidinin rahat calismakta oldugunu ve donusum makasi sistemin calistigini denetleyiniz.

Basilangic böllumündeki talimatlara bakiniz. Makineyi calistiriniz ve tam gaz veriniz. Makinedeki gaz ayar kolunu birakiniz ve cihazin durduğunu (hareket etmedigi) kontrol ediniz. Eiger makine, gaz ayar kolu boşa ile nareket ediyorsa, o taktinde karbiratorün boşa ile nayari yapilacaktr. Bilgin altindaki bakim böllumündeki talimatlara bakiniz.
Stop Düɡmesi
Stop duğmesi, motoru durdurmak icin kullanflir.

Motoru calistiriniz ve stop diugmesi stop durumuna getirildiginde motorun durduqunu denetleyiniz.
Kesme cihazlarinin korunmasi

Bu tür bir koruma, calisma esnasinda kullaniciya herhangi bir maddenin sigramasini engeller. Koruma önlemi, ayni zamanda kullanicin makineyle sedan iliskisin de engeller.

Koruma bolumunun zarar gormemi oldugundan ve catlamis veya delinememi oldugundan emin olunuz. Koruma bolumunde catlamalar ve yariklar meydana gelmiisse hemen degistiriniz.
Özel kesim cihazları icin daima tavsiye edilen korumaları kullanınz. Teknik veri böllumüne bakıniz.

UYARI! Herhangi bir kesme cihazi icin, belli bir takum kosullar olusmamssa, o taktirde ilgili cihaz, koruma montaji olmayacak sekilde kullamlabilir. Teknik veri bolümuné bakimiz. Yanlş veya aktif olmayan koruma montaji, ciddi bir sekilde insanlarin yaralanmasina neden olal bilir.
Susturucu



Susturucu,oleanak elverdigince,motor saçintilarindan kullancıfíkorumak üzere ve sesin duzyeyini dinşürmek icin yapilmştr. Katalatör ile donatilmş susturucu,ayni zamanda gazin icinde bulunan zararl maddeleri en aza indirmek icin donatilmştr.

Sicak ve kuru iklimere sahip ükelerde yanma riskinin (yukarida adi setzen makine icin) oldugu acikir. Bu nedenle boyle bir susturucu donatmayi uygun bulduk. Kivilcim odasi aigi. Makinenizin susrucusunun, yukarida adi setzen boyle bir kivilcim odasi aigiin olup olmadigiin kontrol ediniz.

Susturucular acsfindan, kullanim kflavuzunda belirtilen denetim, bakim ve servisi yerine getirmeniz buyuk onem tasfmadtadir.
Susturucusu asinmi bis makineyi asla kullanmayiniz.
Susturucunun makineninicone oturmugoldugunu duzenli olarak denetleyiniz.
Eger makinenizin susturucusu kivfcim tutma agin sahip iso da duzenli olarak temizlenmelidir. Yanlis yerlesterilmis bir ag motorun isinmasina ve ciddi bicimde arizalanmasina yol acar.

UYARI! Katalizator susturucusu cok ismr, bu nedenle makinenin kullanimi sua erdikten sonra scakligi hemen kaybolmaz. Susturucunun isnmasi, makine bosta calsiyyorken de devam eder. Susuturcuya dokunmak, deride yaralanmalara neden olabilir. Yanma tehlikesine karsti dikkatli olunuz.

UYARI! Susturucunun ici kanserojen olabilecek kimyasal maddeler bulunaktadir. Susturucunun hasar gormesi durumunda bu maddelere temas etmeyin.

UYARI! Düşünkı:
Egzos dumanlari sicaktir ve yangina neden olabilecek kivicilmclar da tsiyabilmektedir. Bu nedenle hicbir bicimde makineyi kapali yerde ve kolay tutugabilir maddelerin yakininda calistirmayiniz!
Kesici gereçler
Bu bolum, asagidaki amaçlan,—geçeklestirmek,—çin uygun kesziki,—gereçelerin,—seçim ve)—bakıni"—nasil—"yapac)—nizif"—anlmataktadir:
- Makinenin geri tepme egilimi ini azaltmak.
En yuksek kesim yetenegini elde etmek.
Kesici gereçlerin ömrūnū uzatmak.
ONEMLI!
Kesim cihazıyla beraber ayın zamanda bizim tavsiye etgüniz korumi cihazın birlikte kullaniniz. Teknik veri böümüne kBakıniz.
Halatlarin somut bir sekilde doldurulmasi ve dokru bir halat birimi seçimi—in kesim teḥchizatları bolümüne bakınüz.

UYARI! Herhangi bir kesme cihazyla calismaya baslamadan once daima motoru durdurunuz. Bu islem ayin zamanda gaz ayar kolunun serbest birakilmasi icin de gecerlird. Kesme cihazyla calismaya baslamadan once, cihazim tamamen durduqunu ve kablosunun atesleme sisteminden cekilmis oldugu nuk kontrl ediniz.

UYARI! Yanlş kesme donanimi kaza riskini artrabilir.
Kesme bashigi
ONEMLI!
Kesme halatinin, silindiri daima sert ve eşit bir sekilde sarmasina/DDkkat ediniz,aksi taktirde makineyi tehlaki bir sekilde yprüatabilecek titresimler moydana gelebilir.
- Yalnizca tavsiye edilen kesme halatlari n ve kesme baslaki ruminiz. Bu araclar, belli bir motor buyuklugune uygun olması açınsind uretici tarafindan test edilmişir. Otomatik bir kesme basluginin kullanlması üzel olarak onen taşmaktadir. Yalnizca tavsiye edilen kesim techizatlari n kullanin Teknik veri bolümüne bakıniz.

- Genel ordeal küçük makinerde, küçük kesme baslkları istenmektedir. Kesme halati nedeniyle, motor, halati, kesme baslşindan disariya firlatmakta ve ayı zamanda kesilen,Qime karşi koymak zorunda kalmaktadir.
- Halatin uzunluğu da ayni sekilde onem taşimaktadir. Uzün bir halat, ayni çapta olan daha kisa bir halatın gerek duyduğu motor güünden.da fazla bir motor güü gerektir.
Bicagin kesme koruma bolimumune bozulmayacak bir sekilde oturmasina dokat edinir. Bu, halatlarn匐ru bir sekilde kesme islemlerinde kullanilr. - Halatlarin daha uzun bir sureyle kullanilabilmesini** sagligam icin birkac gin suyun icinde tutunuz. Bu sekilde halat daha dayanikli ve kullanis olacaktir.
Tutamağın montajı

- Tutamagin ucuun, techizat borusunun üstüne gelecek sekilde ayarlayiniz. Tutamagin, techizat borusunun üstunde ok isaretlerinin bulundugu arada monte edilmesine dokkat ediniz.

- Sekilde gosterildi gibi vidayi, sikisturma plakasimi ve kelebek somunu takin. Kelebek somunu sikistikirn.
Iki parcali mili monte ve demonte etme

Montaj:
Dügmeyi cevirerek kaplini gvsetin.

- Eklentinin (A) u相关内容(B)deligine gore hizalayin.

-
Donanimi yerine oturana kadar kaplinin icine itin.
-
Birimi kullanmadan öncé Düğmeyi iyice siklăştrim.

Demontaj:
- Dügmeye BASIS tutun (C). Motor ucu nuk bir sekilde tutarken, donanimi kaplinden dokruca cekin.

Kesme donanimmini monte etme

UYARI! Herhangi bir kesme cihazi icin, belli bir takum kosullar olusmamugsa, o taktirde ilgili cihaz, koruma montaji olmayacak sekilde kullanlabilir. Teknik veri bolumine bakinz. Yanluy veya aktif olmayan koruma montaji, ciddi bir sekilde insanlarin yaralanmasma neden olabilir.
Kesici sekslik korumasın ve kesici** verbatim](T22LS)
 - 1](/content/2024/12/150702/images/11c51a54bad327c41a20e7609627adf9cb5ee5f8ab938fd2bc11155b1865c75d.jpg)
Kesme basligi ile calismaya baslamak icin kesici koruma (A)y1 monte ediniz. Kesici koruma/kombi koruma bir cengel ile araca sabitlenir ve bir vida ile siklarak saglamlastirilr (L)
 - 2](/content/2024/12/150702/images/0fe4fb6a4bfe85e852357ceb104e7e2e3d7e6fd2ce9b416b36e2ff8ed425fbd0.jpg)
- Beraber getirilen (B) cihazimi sirt kisma monte ediniz.
Cihazin keskin kisminn sirt kismini makas (baglanti) yerindeki delige uygun gelinceye kadar dondurunuz.
Kilit cubugunu (C) cihazin sirt (dingil) kismimi kitleyecek sekilde deligin icine iterek dokunuz.
Kesici bestehtik/plastik bicaklar (H) eksen uzerindeki donme yonuneDOGRU vidalanarak sabitlenir.
 - 3](/content/2024/12/150702/images/cdf1a5bd447e943884c567de82c019dfdf4a1241cdaa660088610c9a3d89fe18.jpg)
- Talimata uygun olmayacak sekilde yapilan montaj islemleri ters sonuçlanabilir.
Kesici sekslik korumasınin ve kesici seksilgin montaju (T22LCS)

- Korumanin sekildeki gibi yerleştilirmesi Vida sikma ilemini iyi bir sekilde yapıniz.

Toz baslginin dingile montaji Civata somunlariz toz baslginin bitiminde monte edilmis olmalir.

- Dingilin donmesini engellemek icin, toz balaigini ingiliz anahtari ile sabitleyiniz.
Kesici basligi, dinglin ustune vidalayiniz.
Yaküt guvenligi
Asgidaki durumlarda makineyi asla califirmayiniz:
1 Eger motorun yakt tankina doldurdugunuz yakittan, yakt dokintusi varsa: Dokülen buttin yakiti siliniz ve kalan benzinin buharlasmasini bekleyiniz.
2 Eger yakit doküntüti size veya elbisenize bulasırsa, hemen elbenisi纪委书记. Yakit doküntüti ile temas eden vucudunuzn bilümelerini hemen yikayıniz. Yakt doküntüti ile temas eden vucudunuzn bilümelerini sabun ve suyla yikayıniz.
3 Yakit sizdiriyorsa. Depo kapaigve yakit kabolarinda sisma olup olmadisin duzenli olarak denetleyiniz.
Taşima ve saklama
- Makineyi ve yakuı, kivlçüm ve ilev sizintisi riskinin olmadıyı, orn: elektrik makinerinin, elektrik motorlorinin, elektrik kontağınin/elektrik üğmesinin vyaşi:dàgün merkezlerinin bulnmadıyı ortamlarda muhafaza ediniz ve taşkınliz.
Yakittin taşınması ve korumasinda yalınizca özel olarak tavsiye edilen ve onaylanmş bulunan araçlar kullanilacaktir. - Makinenin uzunSurekorumasdurumunda,yakit tanku, mutlaka boşaltilmaldir. En yakindaki benzin istasyonyile temasaGPCerekelizindekibenzin fazlasimi ne yapmaniz gerektigini sorunuz.
- Makinenin iyice temizlenmis olmasina ve onu uzun sureli koruma alta almadan once tumüyle yetkili servisin denetiminden geleçmis olmasina özen gocteriniz.
- Makinenin taşnması veya korunması sirasinda, kesme aracınin transport koruması mutlaka monte edilmi olmalidir.
Nakliye sirasinda makineyi emniyete aln. - Makinenin istenmeden calismasini onlemek icin uzun surekullanilmadiiginda, yakin gozetim altinda olmadigianda ve servis icin bakim yapilirken buji kapağinin seksilmasi gerekir.

UYARI! Yakitı tarıken;cok dikkatlı olunuz. Patlama ve yanma riskin olabileşgünDFSUNUIMZ.
Calistirici
DIKKAT! Makine, iki zamanl bir motorla donatilmis olup, her zaman benzin ve iki zamanl motor yagi karismi kullanlar calstirilmaldir. Dogru karismim elde ediblebmesi icin karstirlacak yag miktirinn hassas sekilde olculmesi onemildir. Az mik tarda yakit karstiriylorysa, kukik yanlslklar bile karismdaki oranlan beligin sekilde etkileyebilir.

UYARI! Yakit ve yakit buhari kolay ates alr ve teneffis edildigiinde veya cildinizle temas ettiiginde ciddi yaralanmalara yol acabilir. Bu nedenle yakit islemlerinde azami derecede dikkatli olmali ve yetleri havalandirma olmasina ozen gosterreichliniz.
Benzin

DIKKAT! Her zaman en az 90 oktanlik (RON) kaliteli benzin/ yag karisimlaki kullann. Makinenizde katalitik donusturticu Teknik veriler bolumine bakin) mevcutsa her zaman iyi kalitede kursunsuz benzin/yag karisimi kullanin. Kursunlu benzin katalitik donusturtuciyu bozar.
Bunu cevreye uyumlu benzin olarak adlandirabiliriz soguk durumdaki benzinden de yararlanilabilir.

Etanol karismli yakit E10 kullanilabilir (maks %10 etanol karistrilabilir). E10'un uzerindeki etanol karismilarinin kullanilmasi, motorun zar gormesine yol acabilecek sekilde yetersiz calşalmajna neden olabilir.
Önerilen en dusuk oktan 90'dir (RON). Motoru 90'dan dahao duusuk oktanl yakrtla calsturrsaniz, motor tekler. Bu nedenle motor cok fazla ismr, bu da motorda ciddi zarara yol acabilir.
- Särekli yüksek devirde yapilan calismalarda yüksek sayida oktan bulunan yakit kullanlması tavsiye edilir.
Iki-strok yagi
- En iyi sonuc ve performans icin hava sogutmali, iki zamanl motorlar icin özel olarak üretilen Universal, Universal powered by McCULLOCH iki zamanl motor)yaglarini kullanin.
- Su sogutmali harici motorlar icin uretilmis, harici yag (TCW)略有 da anilan iki zamanl motor yaglarini asla kullanmayin.
Dört cekisi motorlaricens imal edilmis olan yaglar kesinlikle kullanmayiniz. - Düşük yalıktesi yeta fazla zengin yalık)yakit karsimi katalitik donüstürucünün islevine zarar verir ve hypnotem Ömrūn alazir.
Karistirma oranı
- Benzin ve yagi her zaman, benzin icin uygunluğu onanmış, temiz bir kapta kariştürınüz.
- Her zaman, karistirflacak孕期benzin yarisini karistirarak iye baslayinz. Daha sonra yagin tumunu dokuniz. Yakit karisimi nai kastiriniz (calkalayinz). Daha sonra geri kalan benzinidokuniz.
- Makinenin yakit deposu dolmadan once yakit karifimini özenle katistirinz (çalkalayüz).


- Bir aylík bir ihtiyeçtan daha fazla yakı karişirmayınüz.
Eger makine uzun bir sure kullanilmayacaksya yakit deposu boşaltilip temizlenmelidir.

UYARI! Katalitik konvertör egzosu, aletin kullanildigi sirada ve kullanimdan sonraçok sécak olur. Ayni durum rolantide szoz konusdur. Makineyi Özellikle yanici maddelerin ve/veya gazlarin yakıninda kullanacagüz zaman yangın tehlikesini gez onünde tutunuz.
Yakít ikmali

UYARI! Asagidaki onlemler yangin olasiligiñí azaltir.
Yakiti alev veya kivilcim olmayan dis mekanlarda karisturin ve dokun.
Yakitin yakininda sigara igmeyiniz ve/veya sicak bir cisim bulundurmayiniz.
Motor calisirken yakit ikmali yapmayiniz.
Yakiti doldurmadan once motoru durdurun ve motorun soğumasimi bekleyiniz.
Yakí doldururken, olasi bir fazla basincin yavassa kaybolması—inde repo kapagınyavassa aciniz.
Yakı ikmalinden sonra depre kapagıni iyice sikişirarak kapatiniz.
Baslamadan once mutlaka makineyi doldurmaalanindan ve kaynagindan uzaklastrin.
Yakit tankini, doldurucu koruyucusu ile beraber kullaniz.
Eger motorun yakit tankina doldurduugunuz yakittan, yakitt dokintusu varsa: Dokulu buttyn yaki t siniz ve kalan benzinin buharlasmasim bekleyiniz.
Yakit deposunn kapağıni kurlayiniz ve temizleyiniz.
Yakit deposun nçevresindeki kirlerçvre kirliliğine neden olur.
Yakit deposunu tam olarak doldurmadan once kabir sallayarak tam olarak karistugindan emin olunuz.

Baslamadan once kontrl yapiniz.

Kesme basligi ve kesme basligi koruyucusunu kontrol ediniz ve çatlaklar bulunmadiğindan veya zarar gormemis oldugundan emin olunuz. Darbeyi maruz kalmı vya çatlamı Islamic kesme basligi vya kesme koruyucuyu hemendehyigitiriniz.

- Korumasiz veya aktif koruması bulunmayan makineyi asla kullanmayıniz.
- Kapaklarda ayni zamanda somut bir sekilde monte edilmis olacak ve makine calismaya baslamadan once hatasiz olacaktir.
Calistirma ve durdurma


UYARI! Makineyi calshstrmaya baslamadan once, debriyaj ile techizat borusunun bir arada monte edilmesi gerekir aksi taktirde debriyaj bosalabilir ve insanlarim yaralanmasina neden olabilir.
Baslamadan once mutlaka makineyi doldurma alanindan ve kaynagindan uzaklastrin. Makineyi sabit bir zemin uzerine yerleşiriniz. Kesme cihazmün icine herhangi birseyin kacmamasina veya girmemesine ozen gosteriniz.
Yetkili olmayan kisi veya kisilerin calisma alanuna girmemesine ozen gocterin, aksi takdirde bu insanlarin yaralammalari risiko almi olursunu. Guvenlik mesafesi 15 metre
Calistirma
Yakit pompasi: Yakit pompasin kauçuk torbasina, yakit dolmaya baslayincaya kadar defalarca basiniz. Kauçuk torbanin tamamen dolmasina gerek yokitur.

Jikle: Jikleyi jikle durumuna getiriniz.


UYARI! Jikle konumunda motor jikle ile calstirildigi zaman, kosme donanimi derhal dornemye baslar.
Makinenin gōvdesini topraga dogru sol elinizle bastirniz (DIKKAT! Kesinlikle ayagimiza basmayiniz!) Blāsla kolumu tutunuz, blāsla halatimi sāg elinizle size bir karsi koyma hissedinceye kadar yavassa disariya dogru cekiniz (blāsla cengelleri iceri dogru tutulur) ve daha sonra ani ve sert hareket ediniz. Calistirma ipini hcbir zaman elinize dolamayiniz.
Motor calismaya basladiginda jikle ayar kolunu tekrar eski konumuna getiriniz ve motor calismcaya kadar yeniden deneyiniz. Motor calismaya basladiginda tam gaz veriniz bu sekilde baslama gazi otomatik olarak baglanacaktur.
DIKKAT! Calstma ipini timiye di sari dogru cekmeyiniz ve timiye di sari dogru cekilmis durumdayken elinizden birakmayiniz. Bu durum, makinenin arfzalanmasina yol acabilir.

Stop
Atesleme kesilince motor durur.

DIKKAT! Durdurma anahtari otomatikormal calistirma konumuna doner. Motorun istenmed calismasini onlemek icin montaj sirasinda, motoru kontrk ederken ve/veya bakim yaparken buji kapaklannin cikarilmasi gerekir.
Bu böhmude biçme makinesiyle calisirken alinması gereken temelGXivenlik onlemleri anlatilmaktadir.
Cihazin kullanilmasi esnasinda, emin olmadiginiz herhangi bir durumla karislaisiransaniz bir bilirkiisiye danisiniz. Bu durumda saticyla veya servisinizle temasaGPCINZ.
Yeterli derecede kaliteli olmayan veçok zor ustahik gerektiren ürünleri kullanmaktan kaçınıniz.
Makineleri kullanmaya bestehtamadan once, orman testeresi, cim bige makinesi ve cim kesicileri arasindaki farki anlamiz gerekir.
Temel givenlik kurallarí

1 Cevrenize dikkat ediniz:
- Insan, hayvan ya da bska birseyin, makine uzerindeki denetiminizi engelleyemeyecigeinden emin olunuz.
- Insanlarin, hayvanlarin veya digerlerinin yola biraklan kesici cihazlarla temasmin onlenebilmesi icin, daima dikkatli olunuz.
DIKKAT! Herhangi bir kaza durumunda, yardim olmadan asla bir daha makineyi calistirmayiniz.
2 Calisma alanini kontrol edin. Taş, cam kırkılari, civi, tel, ip, vs. gibi etrafa sçrayabilecek veya kesme donanimina taklabilecek tüm maddeleri temizleyin.
3 Kōtū hava kosullarinda calísmaktan kaciníníz. Öregin yogūn sis, kaygan zemin, Āgacin duʒme yönnū etkileyecek hava kosullari v.b. Kōtū havada calísmak yorucudur ve kaygan zemin, Āgacin duʒme yönu v.b. gibi konularda, tehlikeli kosullara neden olabilir.
4 Hareket edebilme ve ayakta durabilme olanağınüzim olmasina özen gosteriniz. Olası engellere (kok, tas, dal, seksur v.b.) dikkat ediniz. Kapalı bir arazide califırken seks dokkatli olunuz.

5 Dengenizi iyi saglayin ve yere saglam basin. Asiri uzak noktalara ulasmayin. Her zaman saglam bir dayanak noktasi ve dengeyi koruyun.
6 Makineyi her zaman iki elinizle tutun. Makineyi vucudunuzun sag tarafinda tutun. Vucudunuzun tum böümlerini scak yüzyeIderden uzak tutun. Vucudunuzun tum böümlerini donder kesici parqalardan uzak tutun.

7 Kesme donanimin bel hizasin altunda tutun.
8 Makinenin yanundan ayrilma veya makinenin taşınması durumunda motor mutlaka durdurulmaldir.
9 Makinenin motorunu, kullanmadigiiniz zaman ve yaninda bulunmadigiiniz zaman calisir viziyette brakmayiniz.

UYARI! Ciddi yaralanmalaraya yol
açabileçeginden motor calşirken veva kesici
kism dönerten makinyi kullanan kisi veva
baska herhangi biri kasilmis parçalari
almaya calşmamahdir.
Bicak saftmn trafina sarilmus malzemeleri
cikarmadan once motoru ve kesme
duzenegini durdurun, akti halde cok
tehlikidelir. Makinenin belli bir sireyre
kullanlmasindan sonra, dingil aci si imabilir.
Buna dokunuldugunda yanma sonucunda
olusabilecek yaralanna riski meydana
gebilir.

UYARI! Firlayan, sigrayan parcalara dikkat edin. Her zaman onanmig koruyucu gozlikler takin. Kesme donanimi koruyucusunun ustunden sarkmayin. Taş, kymik, vs. gozlere gelerek körülgü veya onionsl yaralanmalar neden olabilir.
Yetkili olmayan kisileri kasim alanin
sinda tutunuz. Cocukları, hayvanları,
kesimi izleyen izleycileri ve kasime yardimc
olan kisileri, kasim esnasinda gunlik
bölgesinin 15 metre uzaginda tutunuz.
Herhangi bir kisi makineye yaklastiginda,
hemen makineyi durdurunuz. Gvenlik
bolgesinin icinde kasim yaparken, arkana
bakmadan ve herhangi birisin inolup
olmadigi kontrol etmedenSaga-sola
donmeyiniz.
Calisma tekningin temeli
Her mola esnasinda, makinenin motorunu boş devire getiriniz. Makinenin motorunu tem devirde uzun sūreli calistirmayiniz. Motor tam yüklenmeden yapilan bu tür calistirmalar, motora ciddi bir sekilde zarar verebilir.

UYARI! Bazen dollar veya cimler, koruyucu bolme ile kesme cihaziarasunda kalabilir. Makinenin temizligi yapilrken daima motoru durdurunuz.

UYARI! Titresimlere maruz kalmak, kan dolasimi bozukluqu bulunan kisilerde, kan damari veya sinirse hastaklara neden olabilir. Titresimden meydana dengeharhigi bir rahatsizhk durumunda, doktora gadiniz. Ornn: bu turi semptomlar, uyusukluk, duyarhligi yitirme, gidiklanmalar, batmalar, aigrilar veya normal guciniyitirme, derinin yuzeyinin veya renginin degisi imi gibi ortaya cikabilmektedir. Bu turi semptomlar alsa geldigi sekilde, paramkllarda, ellere vya bileklerde gorulir. Dusik isida riskler daha fazla artabilir.
Kesme basligricimbiçme


Kesme
- Kesme basigiimiçimlerden uzaklątirniz ve belli bir aciyla yaslanmig durumda tutunuz. Halatin son kismi islemi yerine getirmektedir. Halatin kendi temposunda calımasini saglayiniz. Halatinicine herhangi bir maddeyi dokmayiniz.

- Halat, cimleri ve cim olmayan diger maddeleri duvarlara, Çitlere, ağaçlarva ve;cigeklere dokrı firlatir, ayni zamanda ince ağac kabuklarma,çalilara ve Çitlerdeki direklere zarar verebilir.
- Halat uzunlugunu 10-12 cm civarinda kisaltarak ve motor devrini diusürerek ot ve bitki budarken meydana gelebilecek yaralanma riskini azaltuz.
Kaziyarak temizleme
- Kazima teknişi ile yapilan temizlik, arzu edilmeyen buttin bitkileri temizler. Kesici basligi topragin ustune koyunuz ve yaslayiniz. Halatin son kismimi ile, ağacin çevresindeki
cubuk ve benzeri seyleri kesip biciniz. DIKKAT! Bu teknik, halattaki asinmayi artirir.

- Halat cabuk asindigindan, taq, tugla, beton, metal direk ve benzeri calismalarda, cubuk ve tahtalarla temaslarda malzemeyle donatmak gerekir.
- Kesme ve kazima islemlerinde (80%), motora tam gaz vermeden calisma yapiniz. Bu sekilde halat dahu uzun bir sureyle asnmadan kullanlabilecek ve kesme basligi da dahau az yipranacaktir.
Kesme
Tiras etme islemi, alisa gelmis bir cim bcime makinesinin zorlukla yapabilecegi Kesme islemleri ve yerleri icin ideal bir uygulamadir. Kesme islemi surasinda halati topraga paralle gelecek sekilde tutunuz. Kesici basligi asagigiyaDOGRU bastirmaktan kacmimiz,cinku bu sekilde cimlere vearç-gerece zarar verebilirsiniz.

Normal bir kesim surasunda, kesme basligin surekli toprakla iliskili olmasini engelleyiniz. Bu turi uygulamalar, kesme basligin aninmasina ve bozulmasina neden olabilir.
Süpürme
- Dōner halatin hafír rúzgar etkisi, cabuk ve tek yǒnlü basit temizlík İnc kullanilabilir. Halati, temizlik yapilacak yüezeyin ve araçlarim üstüne parallel gelecek sekilde tutunuz ve ileri geri hareket ettiriniz.

- Iyi bir sonuc elde edebilmek icin motoru tam gaz olarak calistiriniz.
Karbüratör
Rölanti hizin ayarlanmasi
Bazayarlamalariyapmadan once,hava filtresinin temiz oldugundan ve hava filtresi kappa n n tam olarak oturmus oldugundan emin olunuz.
Boş devir ayarimi T anahtarim kullanarak yapiniz (eşer ayar gerekiyorsa). Üncı T-vida anahtarim kesme cihazın demmeye baslayincaya kadir dondürünüz. Daha sonra motor duruncaya kadir T-vida anahtarim dondürünüz. Somut bir boş devir ayari, motor her durumda ayın sekilde iyi bir iley veine getiriyorsa tam olarak yapilmş demektir. Kesme cihazın demmeye basladigianda ayın zamanda iyi bir marjinal donus saglanmş olacaktir.

Tavsiyeler boşluktaki devir: Teknik bilgiler böümüne bakınüz.

UYARI! Kesme cihazinizn calismamasindan dolayi boş devir ayari yaplamiyorsa satcimzla/servisinizle iliski kurunuz. Somut bir kurma veya onarim olmadigi siirece makinenizi kesinlikle kullanmayüz.
Susturucu

DIKKAT! Belli bir takm eksozlar katalatör sistemiyle donatlıstir. Makinenizin katalatör sistemiyle donatlıms olup olmadıgünunda bilgi almak icin Teknik veri bolümunce bakıniz.
Susturucu, gürültü düzeyini azaltmak ve gaz artıkari nı kullanican duruztuk üzere yapilmşir. Gaz artıkari yüksek fisiya sahiptri ve egzosun kuru ya da yanabilir bir materyale cevrilmesi durumunda, yangin tehlikesine neden olabilecek kivíçlmilar tatsächı.

Kimi susturucular, özel bir kívíçím tutucu ág ile donatiflmşlardir. Eger makineniz boylesi bir donanáma sahipse, szkonusu ág haftada bir kez temizlenmelidir. Bu islem, en iyi bicimde, Çelık tilli bir firqayla yapflabilir. Katalatör sistemi bulunmayan eksozluk makinerder sebeke ágün temizlenmesi ve olası oları haftada bir kez degistirilmesi gerekir.
Katalizator systemi bulunan eksozlu makinerelersebeke aginin temizlenmesi ve olasi olarak ayda bir kez degistirilmesi gerekir.Olasihkar sebeke ainda bozulmalar meydade geldige hemen degistirilmelidir.Eger beke aig cok sik bozuluyorsa, bu, katalizor systemin finksiyonunun cok asaglya duismus olmasina isarettr. Bu durumla ilgili kontrl icin satcincia gortsunuz. Sebeke aginin yerlestirilmensenonstra makinede yuksek 1s1 meydana gelyorsa bu durum silindire zarar verebilir.

DIKKAT! Makineyi, kotu bir durumda bulunan bir eksozla asla beraber kullanmayiniz.

UYARI! Katalizator susturucusu cok ismr, bu nedenle makinenin kullanimi sua erdikten sonra sicaklig hemen kaybolmaz. Susturucunun isninasi, makine bosta calsiyorken de devam eder. Susuturcuya dokunmak, deride yaralanmalara neden olabilir. Yanma tehlikesine karst dikkatli olunuz.
Sogutucusistem

Elden geldigince alçak bir cekis fisisi tutturabilmek icin makine bir soğutucu systemd ile donatiflmştr.

Sogutucu system, asagidaki parcalardan meydana gelmektedir:
1 Calistirma aracina hava girişi.
2 Silindirdeki sogutucu borular.
Sogutucu sistemi, haftada bir kez; daha olaganusti kosullarda isa dahakolmak üzere fircayla temizleyiniz. Kiriya da temizlenmeden yerine konlumusbir sogutucu sistem, bfckin asirisinmasina ve silindir ile komurun arfzalanmasina yol acar.
Buji

Asgidaki durumlar bujinin kondisyonunu etkiler:
Yanlis ayarlanmis bir karbaturor.
Yakittaki hatalbir yag (az veya cok) kariism motora zarar verir.
Kirli bir hava滤resi.
Bu faktörler bujinin elektrotlarinda artiklara yol acar ve cekiş bozkuklarki ile calistirma zorluklarina neden olabilir.
Bicfnin etkinligi dusukse, calstirmada zorlaniyorsa ya da motor bosta calisirken tekliyorsa: baska onlemlere Bavurmadan, oncilekle bujiyi denetleyiniz. Buji kiriysse, temizleyiniz ve elektrot araligin 0,5 mm oldugunu denetleyiniz. Buji bir ay kadar calsfktan sonra veya gerekirse daha once degiistirilmelidir.

DIIKKAT! Her zaman onerilen buji tipini kullanin? Yanlis buji, komur/silindir tahribine neden olur. Bujiye supresor takil oldugundan emin olun.
Iki parçah mil

Milin alt tarafinda bulunan hareket mili ucinun 30 saatte bir yaglanmasi gerekir. Düzenli olarak yaglanmazsa, iki parçali mil modellerinde hareket mili ucinun (oluklu böglanti) yatak sarma risikavi;rdir.

Hava滤resi

Asagidakilerden kacinmak icin hava滤resi toz ve kirden arinfirilmali ve duzenli olarak temizlenmelidir:
Karbürator arízaları
- Calistirma sorunları
Motor gucunun azalmasi
- Motor parçalarinda gereksiz asinmasi
Anormalolcjdefazlayakituketimi.

Her 25 staatlik calismadan sonra filtreyi temizleyiniz veya bu islemi tozlu calisma kosullarina gore daha sik uygulayim.
Hava filtresinin temizlenmesi
Hava filtresi kapagini seksinuz ve filtreyi disanya ickarimiz. Hava filtresini sicut suyla ve banyo sabunuya yikayiniz. Filtreyi kuruduktan sonra tekrar yerine takarake mont ediniz.
Uzun sure kullanimi's bir hava filtresinin bʊsbūtūn temizlemnesi olanaksizdir. Bundan öturü filtré, dūenli araliklarda yenyisiye degistirilmidir. Bozuk bir hava filtresi kesinlikle degistirilmek zorundadir.
Eger makine tozlu ortamlarda kullanilyorsa, o taktirde hava filtresinin ic kisminin yaglanmasi gerekir. Bunun icin kullanma talimati bolumnde hava filtresinin ic kisminin yaglanmasi kismna bakiniz.
Hava filtresinin yaglanmasi

Hava filtresinin yaglamasi icin daima filtre yagi n kullan n z. no. 531 00 92-48. Hava filtresi yagi, yagi n filtreye esit bir sekilde dagi lmasi icin bir gozulme maddesi icermektedir. Bu nedenle, yagi n deriye temas etmemesini saglayi n z.
Hava filtresini plastik bir torbaicine koyunuz ve filtrye yagimi, filtreninicine dokuniz. Yagin esit sekilde filtreye dagilabmesi cink plastik torbayi elinizle yogurunuz. Hava filtresini plastik torbanin icinden alarak disanya cikariniz ve yerine ektrar monte etmeden once ustunde kalan fazla yagl dokerek ektrar takimiz. Kesinlikle alişelmiş motor yag
kullanmayiniz. Motor yagc cok cabuk bir seklide filtrinin dibine coker ve hi cer islev gormez.

Debriyajlar

Debriyajlar fabrika cikişl olarak, güvenli bir miktardaki yağla yaglanmşlardir. Makine kullanmaya baslamadan once kontrol edilerek debriyajlar 3/4 kismün yagla dolu oldugu gürümellidir. Debriyajlar yagi icin Özel HUSQVARNA yagimi kullaniniz.

Debriyaj yaq, normal olarak olasbir tamir durumu szkonusu olmadikca deigistirilmemelidir.
Bakim Şeması
Aşaqida makinede yapilmasi gereken bakim ilemlerinin listedisi yardir. Konularin yüzogu Bakim böümünde anlatilmusihtar.
Kullancin, Kullanim Kilavuzu'nun yalniz bu bolumunde belirtilen bakim ve servisi yapmasi gerekir. Daha kapsaml i sterin yetkili bir servisi tarafindan yapilmasi zorunludur.
| Bakım | Günlük bakım | Haftalık bakım | Aylık bakım |
| Makininenin Dennis kılımı temizleyin. | X | ||
| Gaz tetiklemene bilidi ve gaz fonksiyonunun güvenlik,aşkından.Doğru sekilde,islediğinden emin olun. | X | ||
| Makininenin durdurma Dennis kılıp,aşkımdaki,kontrol ediniz. | X | ||
| Kesme cihazınn boşa devir yapıp,yapmadiğincı,kontrol ediniz. | X | ||
| Hava filtresini temizleyiniz.Gerektiğindedehyistiriniz. | X | ||
| Korumabolu,münçar,görmemis olduğundan veçatlamı veyadelinmemisolduğundan emin olunuz.Korumabolu,mündeçatlamalarveyarıklar meydana gelmişi hemendehyistiriniz. | X | ||
| Kesme basliliçınnazar,görmemisolmasindan veçatlak veyabulunmadiğindan emin olunuz.Eçer,gerekiyorsa kesme basligiindeğistiriniz. | X | ||
| Vidarın ve somunarı,sifikşma durumlarinifdenetleyiniz. | X | ||
| Motordan,depodan veyahaktarindan yakt,sizinta olupolmadigiinc Kontrol edin. | X | ||
| Motor,calistirma cihazi (halatiyla beraber)kontrol ediniz. | X | ||
| Titresimyalıci,faları arizal olupolmadikları,nifdenetleyiniz. | X | ||
| Bujileri Dennis kılıdaki temizligiinyapiniz.Bujileri sokerek elektrikmesafesini kontrol ediniz.Mesafeyi0,5mmye ayarlayinizveyabujilerideğistiriniz.Bunun icin bujiler kismna,bakıniz radyo arizasi. | X | ||
| Makininenin soğutsmistemini temizleyin. | X | ||
| Susturuncununkvılcımpahsedici,aşkıtemizleyiniz veyadeğistiriniz(yalnizkatalizörsystemi olmayan susturucular icin geleçerdir.) | X | ||
| Karbüratoru Dennis kılında temizleyiniz ve kirlerini boşaltıniz. | X | ||
| Dingil,aşkıncı3/4 oranda,yağla dolu olduğunu kontrol ediniz.Eçergerekiyorsa özel,yağla,doldurunuz. | X | ||
| Yakıfiltresinde kilenme olupolmadigiineyakultortumundaçatlaveya,buska kusurlar olupolmadigiinikontrol edin.Gerekirsedehyistirin. | X | ||
| Tüm kablorıve,toğlantılari,denetleyiniz. | X | ||
| Debriyaji,debriyaj,yaylariineve debriyajkampanasini kontrol ederek,aşnPapşinnadiklanindan emin olunuz.Eçer,gerekiyorsadehyistiriniz. | X | ||
| Bujileridehyistiriniz.Bunun icin bujiler kismna,bakıniz radyo arizasi. | X |
TEKNIK BILGILER
Teknik bilgiler
| T22LCS | T22LS | |
| Motor | ||
| Silindir hacmi, cm3 | 21,7 | 21,7 |
| Silindir çapí, inç/mm | 32,0 | 32,0 |
| Hortum uzunluğu, inç/mm | 27 | 27 |
| Boşta calișma deviri, rpm | 2900 | 2900 |
| Önerilen en yüksek devir, rpm | 7200 | 9100 |
| Hareketli dingillerin r/dakika dönmé sayişi | 7200 | 6700 |
| ISO 8893 uyarınca azami motor çkışi, kW/dev/dak | 0,6/7800 | 0,6/7800 |
| Katalizator eksoz | Evet | Evet |
| Devir sayişi duzenleyicisi, dinş sistemi | Hayır | Hayır |
| Ateşleme sistemi | ||
| Buji | NGK CMR6A | NGK CMR6A |
| Elektrot aralı®, inç/mm | 0,5 | 0,5 |
| Yakıyağlama sistemi | ||
| Benzin deposu hacmi, litre | 0,3 | 0,3 |
| Aşkılcık | ||
| Aşkılcık, yakıtsiz, kesme cihazı ve koruma, kg | 4,6 | 4,9 |
| Gürültü emisyonları | ||
| (1 nolu dipnota bakınüz) | ||
| Ses Güçüduzeyi, olçilm)+ dB(A) | 103 | 105 |
| Ses Güçüduzeyi, garantili LWA dB(A) | 103 | 104 |
| Ses duzeyi | ||
| (2 nolu dipnota bakınüz) | ||
| Kullanı�能in kulağına gelen ses basın�能in karışılgı olçilm)+ ve EN ISO 11806 ve ISO 22868, dB(A) olarak uşgünlı tepit edilmiştir. | ||
| Budayüncüpliance (original) donatilm)+ | 88 | 90 |
| Titreşim duzeyleri | ||
| (3 nolu dipnota bakınüz) | ||
| EN ISO 11806 ve ISO 22867.Doğrultusunda, kulplarda olçulan denk vibrasyon duzeyleri (ahv,eq): m/sn2 | ||
| Budayüncüpliance (original) donatilm+, sol/sağ | 4.22/3.49 | 3.79/3.12 |
Dipnot 1: Cevreye verilen gurultu emisyonu AB direktifi 2000/14/EC uyarinca ses cuc (Lw) olarak olulmurt. Makine icin bildirilen ses cuc duzeyi, en yuksek duzeyi veren orijinal kesme ataqmanilya olulmurt. Garanti edilen ve olulan ses cucarasindaki fark, garantiles cucinun, 2000/14/AT Sayl Direktifogrultusunda, olum sonucundaki daqilmi ve ayni modelden farkl makinelerarasindaki degismleri de icermesidir.
Not 2: Makinenin denk gurultu basinc duzeyi icin bildirilen verilerdeki tipik istatistik dagilim (standart sapma) 1 dB (A) sekklindedir.
Not 3: Denk vibrasyon duzeyi icin bildirilen verilerin tipik istatistik dagilimi (standart sapmas) 1m / sn^2 sekligindeir.
| Onayh aksesuarlar | Tip | Kesici aletin koruması, çeşit. no. | |
| T22LS | Kesici alet dingilinin vidalanması M10 | ||
| Kesme bestehtışı | P25 (Ø 2,0 mm kordon) | 574 55 72-01 | |
| T22LCS | Kesici alet dingilinin vidalanması M10 | ||
| Kesme?ayle,— | P25 (Ø 2,0 mm kordon) | 574 61 31-01 | |
Belirtilen modeller icin asagidaki donanimlar onerilmektedir.
| Onayl aksesuarlar | Çeşit no. | Kullanım |
| Kültıvatördonanım CAC | 577 61 62-02 | T22LCS, T22LS |
| Üfleyici donanım BAC | 577 61 62-03 | T22LCS, T22LS |
| Kenar)düzeltici donanım EAC | 577 61 62-04 | T22LCS, T22LS |
| Çubukluçalg bilç me kaminesi PAC | 577 61 62-05 | T22LCS, T22LS |
| Çalı bilçme kaminesi HAC | 967 17 64-01 | T22LCS, T22LS |
Uygunluk konusunda AB deklarasyonu (Sadece Avrupa icin gelerlidir)
Biz, Husqvarna AB, SE-561 82 Huskvarna, Isvec, Tel: +46-36-146500 olarak, 2013 ve sonrastarihli ve seri numaralt (yl ve seri numarası, nominal degerler plakasinda acikca belirtilmistir) McCULLOCH T22LS ve T22LCS im biçicilerin asagidaki KONSEY YÖNERGESİ gereksinimleri ile uyumló olduğunu beliririz:
- 17 May 2006 tarihli, "makinerle ilgili", 2006/42/AT
- "elettromanyetak uygunluk hakkinda" bestehtí, 15 aralik 2004 tarih ve 2004/108/EEC saylí KONSEY DIREKTÍF ve geleeri ekler.
- "çevreye gürültu emisyonlari hakinda"进展情况, 8 May 2000 tarih ve 2000/14/EC sayı KONSEY DIREKTİF. Ek V'e gore uygünlik degerlendirmesi. Gürültu emisyonlari hakinda bilgi icin, Teknik bilgiler进展情况,...
Uygulanan standartlar: EN ISO 12100:2010, EN ISO 11806-1:2011, ISO 14982:1998, CISPR 12:2007
SMP-Svensk Maksinprovning AB, Box 7035, SE-750 07 Uppsala-Isvec adresindeki adi setzen sirket Husqvarna AB sirketi icin kontrol yapmistr. Sertifikanin numarasıyardir: SEC/11/2328, - T22LCS, SEC/11/2329, - T22LS
Ayrica 2000/14/EG numaralti Konsey Yönergesi'nin Ek V'i ile uyumluluğu onaylanmistr. Sertifikaların numaraları: 01/164/080, -T22LCS, 01/164/079, -T22LS
Huskvarna, 19 nisan 2013

Per Gustafsson, Gelişirme质量管理 (Husqvarna AB yetkili temsilcisi ve teknik dokumantasyon sorumlusu.)
Познay ueня
CnmboJnHaBnpo6iTa/a6oB KepiBnTBI:
YBAG!OuNCHNIINKNIINKINJ
KuyiBaT Ta TpIMepn MoNyTu 6ByTN
He6e3neHmNi! He6aIe YI
HenpaBvNbHe BkOpncTaHH
MOHe cnpyHnHTn cepNo3He a60
CmepTeJIbHe nopaHennH

KoprncTbUbaa ChiHnXc6i. DyHe BaNJIbO, 0o6 Bn npOHTaJIu nocIbHk KoprcTbUbaa Ta 3pOzMjIn noTO 3mICt.
Ipeep KopncTyBaHHM
HCTpymENTOM yBaHHO
npoHTaTe noci6Nk
KopncTyBa7a Ta
pekehaiTec, 10 Bn 3pOyMjN Bc iBka3iBKn.
06ob'ra3koBOBjaIaIte:
3axncnI 70JOM, kIoo e He6e3neka naiHHna pEmetIB
-ДоЗВОЛЕНIзAXИСHIнAБУSHИКIN
IpeBipHe 3axnche npncTOcyBaHHa Oyei

MaKcImaJIbHa
WBnDkicTb 0epeTaHHBnxiHHeOci,06./xb.


Notice-Facile