FM12IDUWA2 - κλιματιστικό WHIRLPOOL - Δωρεάν εγχειρίδιο χρήσης
Βρείτε δωρεάν το εγχειρίδιο της συσκευής FM12IDUWA2 WHIRLPOOL σε μορφή PDF.
| Τεχνικά χαρακτηριστικά | Φορητό κλιματιστικό, ισχύς 12000 BTU, ενεργειακή κλάση Α. |
|---|---|
| Διαστάσεις | Συμπαγείς διαστάσεις για εύκολη αποθήκευση. |
| Βάρος | Ελαφρύ βάρος για εύκολη φορητότητα. |
| Χρήση | Εύκολη εγκατάσταση, περιλαμβάνεται τηλεχειριστήριο για απομακρυσμένο έλεγχο. |
| Συντήρηση | Πλενόμενα φίλτρα, απλή συντήρηση για βέλτιστη απόδοση. |
| Ασφάλεια | Προστασία από υπερθέρμανση, συμμορφώνεται με τα πρότυπα ασφαλείας. |
| Γενικές πληροφορίες | Ιδανικό για δωμάτια έως 30 τ.μ., αθόρυβη λειτουργία. |
Συχνές ερωτήσεις - FM12IDUWA2 WHIRLPOOL
Κατεβάστε τις οδηγίες για το κλιματιστικό σε μορφή PDF δωρεάν! Βρείτε το εγχειρίδιό σας FM12IDUWA2 - WHIRLPOOL και πάρτε ξανά την ηλεκτρονική σας συσκευή στα χέρια σας. Σε αυτή τη σελίδα δημοσιεύονται όλα τα έγγραφα που απαιτούνται για τη χρήση της συσκευής σας. FM12IDUWA2 της μάρκας WHIRLPOOL.
ΕΓΧΕΙΡΊΔΙΟ ΧΡΉΣΗΣ FM12IDUWA2 WHIRLPOOL
ΠΟΦΥΛΑΞΕΙΣ ΑΣΦΑΛΕΙΑΣ
H ekataoan kai to ic / i u i va ekteauvtai ano apoio teyiko, oE oumuoppwon mTc odnyiec Tou npaywoou kai ouwovva e Touc tonikouc kavovec aospaiaac. Mny EIOKEuaZeTE kai mnu avtikaotate kaveva EApntma Tnc ouokueuc, EKTOC av av aapeptai pnta otic odnyiec xpnotn.
Mny Tpaata To nEKTpiko Kaawdo yia va to aappeoet e ano Tnv npizc. Mn ouotpeetekai mny PiEzTe To kaawdo tpoopodooiac. Bebaiwtheta otI dev exk konci.
MnyayyicTeTo To diaKoTn KukawmuTOc kai TO koupi EKTAKTNc avayknc BpEvyva xepia.
Mnv eioayayete ta daxtuia oac n Eeva avikieva meo aotnv 10o0o/Exo0aepa Tnc 0wTepiKc kai EwTepiKc movadac.
Mny paooetne tntv eioo no Tnv E0do aepa tnc eoTepiknc Kai EwTePIKnc movadac.
Ta atoua oomegaKcKai diavontikec avannpiec, ta naia kai ta atoua xwpi c npia to npoiov eipntetai va xpnoiopoiouov tn ouokun movo
εáv éxouv λαβει εiδikn
εκπaiδεuon γia tov tpóno
λειοργίας της συσκεύnc από
kαποιο ἀτομο ένεύθυνo γia tην
aσφαλεία και ευημερία touc. H
συσκεύŋ δεν προρίζεται γia
χρήση από ατομα με avaπρίες
kai aπό πολύ μικρά πaiδία χωρίς
επιπήρόη.
Ta naiia npenei va epi eovta iya va diaoopaiaotei oti dEv naiouv me tn ouokeu n (oumuepilaamabavovtac to tnaexipioptno.
Autn n ouokevn mnopei va xpoiooiohεi a no naia naiac a 8 etwv kai eyautepa kai a toa ma e eiwuec owaatikec, aohtnpie c n diavontikec ikavotntec n Eeian piaoc kai ywoewv me tnv npouotheon ot i eniBenovtai n touc exouv dothie odnyiec oxetika e tnv aoqaln xpnon tnC ouokunc kai katavoovtouc kivduvouc nou eumekovtal. Ta naia dev npenla va naiovu e Tn ouokevn.
O kaθαριομός και η συντήρηση χρόση δεν πρέπεινα πραγματοποίουνται από παιδίαχωρίς επίβλεψη.
ПОФУАЕΙΣ ΣXETΙΚA ME KAIMATΙΣΤΙΚO
Tnpéite auotnpá tic napakátw odnyiec:
H pa ka a eon eKeon oTov uXpo aepa mopvi aivai eniabn cyia tnv uyia. uviotatai va puOmuIcTe kataaAna ta npeuia, wote va anoepuyeta n aeon ekthetaon oTov Kpuo aepa ka va Ektpeneta n poTou oTo aTIO.
Eav npokuie duolteoupyia, anevepyonoioe npwta tn ouokeun natavtac to koupi ON/OFF oTo tnaexipiotnpio kai e aaoovdeote tn ao tvn aeKTpikn npoxh.
Na anevyonoite navta to KlaatioTKo npwta ano to tnAeipotnpio.Mnv xpoiouoite to diaokonkukawatoCtnc nEKTpiKnc npoxnc ouTe va tpaBnEETo qic aTnv pizca, yia va anevyonoieTe tn ouokueun.
Mnv evpyoioite kai anevpyoioite Tn ouokun nou ouxva eienkati
TETOIO mOpEi va npokaaleoI cNmuia OTH OUOKeUn.
Mnv tooTheTeiE avtkeiEv a navw otnv Ecwepikn movada.
Anouvdeote to kaiatiotko ano tv nEeKpiKn npoxn eav npoketai va mnu To xpooiopoioeTe yia eyaan xpovikn nepioo aalkai kat a thiapkeia kataiyidac.
To npoiov auTo πeipexi φθopiωμéva aεpa θερμokπiou nou kaλιποντai aπo To npwtokoλo Kyoto. To ψuktiko aεpio βpiokεta i eσa σε ερμntiká σφpayioévo σοσημa. (R410a, GWP 2088)
| Movτέλo | 20K 2 | 4K 36K | |
| Báρος αερίου (kg) | 1.4 2 | 2 2.6 | |
| Iσοδύναμο CO2 (Tóvoi) | 2.923 | 4.594 5 | 429 |
- Eioo0oc aepa
- Mnpoov kαλuμa
3.0θóvη - Eξoδoc αερα
- Hλεκτρικό kouti
- Koumi επαναφρος φιλτρου
7.Περύγιο κατακόρυφης ρύθμιος - Περύγιο σρίσουντιας ρύθμιας
9.Φiατρο αερα
10.TnIeIpiotnpio - Diakonntc evpyooinoc/anEvpeyooinoc
Oieikovec otic odnyie xpnotn baoicovtai e exwtepikec opeic twv baoikwov mvtelawv. ta to loyo auto, to oxna kai o xeiaooc mnpei va diaepouv avaloya me to movteio.
EeWTepiKn movada
- Eiooδoc aερa
- ωλήνες και καλώδι παροχής έμματός
14.Σωλνac aooptayionc
Σημειωη: Ta συμικυνώματa vερού
αποστραγγίζουται στη λειτουργία COOLING (Ψύξη) ἡ DRY (Aφύγρανό).
- Ee08oc aepa
ПЕРГАФH ENДEIEEQUN OOONHΣ ПINAKA EΛΕΓXΟΥ

EvEiEg 0epkoepiac (1)
Euapaviειπρuθμiσμένηθερμokpασia.
Euapaviεται «FC» ως Ανενθύμιαν σακαθαρίσετο φιλτρο.

EvdiEηλeIToupyiac(2)
Avaβει κατα τη λειτουργία.
AvaBoaBnvei kata nTv anojuEn tnc EeWtepiKc movadac.

Evεiη xρονδιακόπη (3)
AvaBεi katá tN diapkeia tnc puθμionc tou xρovou.
Σβήνειός ὅταν λήξει έλειουργία τοῦ χρονδιακόπη.

Evdi npapakoounonc qiltpou (4)
AvaBooBhvei otav npenei va kaθaipotei to iλTpo.
H evδειη παραολουθηος φιλτου αναβοσήνει μετά από 200 ωρες χρήσς Ϝς Φινενθύμιον τακαρίσετο φιλτρο.
Metavov kaapioo tou qiltpou, nathote to koupi e naavapopac qiltpou nou pioketa otnv eooteipikn ovaia niow ano to npootivo navea npokeievou va diaokoyete tnv aalaa nnc vdoicnnapakoouonc qiltpou.

AEITOYPTIEKAI ENADEEIEI THAEXEPISTHPIOY
1.KOYMII ON/OFF
(ENEPRONOIH2ANENEPRONIOIH2H
Eav natoe auto to koumi, n ouokeun evpyoioitei /kai anevpyoioitei.
2.KOYMNI MODE (TPONOS AEITOYPRIAE)
Xpnooieiayiaeioyntouptonou ioupyiac.
3.KOYMNI FAN (ANEMIHTHPA
Xpoiopoiaetai yia enioyn tnc taxutnac tou aveiotnpa me tnv eicnc oipa: autouatn, uynn, eoia n xan.
4-5.KOYMNI TEMPERATURE (OEPMOKPAZIA)
Xpnoiopoioovtai ytnv emIoyn tnc
0epoikpaiaac tou domegaiaou. Xpnoiopoioovtai
yia tn puthetaian tnc wpac oe leitoupyia
xpvodiaokntn kai oto poolipaymuatiknc wpac.
7. KOYMNI SWING (TAAANTΩΣH)
AikontnEi n EkkivcTnv aiwpnon Tnc ypiiaocipovtacputhetaicakputhetaicetnv emuunnt avodikk/ka0doikk kateuovon Tnc ponc aepa.
Puθμiει ἀκυρωνει Tov τρόπο λειτουργίας ὄνου.
9.KOYMNI AROUND U
Xpoiopoioeital yia npouion n tvn akupon Tnclambdaoupyiac Around U (Tupw ou).
10. KOYMNI TIMER ON (XpovodiaokoTnc Evepyoinoc)
Xpnoiopoieita yia puohion akupomega tnc
lambda upyic xpoovodiakoTn evepyooinoc.
11 KOYMNI TIMER OFF (XpovodiaKoTnc anevepyoinoc)
Xpnooieiia pouhion n akupwn tnc
Aetoupyiacxpoovodiakotn anevepyooinonc.
Kaθε φορα πού πατάτε το κουμπι MODE (Tpόπος Μειτουργίας, o tpόπος λειτουργίας μεταβαλεται διαδοχίας ως εξής;
COOLING ( ) DRY (Aquypavon) FAN ONLY (Moyo avemuotnpac) HEATING (Oepuavon)
O trponoc AetoupyiaC eepavonc 8ev evai
δiaθεσιμος γιακλιμαιτισικα μόνο ψύξης.
2. Póthián taXúntaç avεμiortipα
Kaθε φορα ποι πατατε ο κουμπι «FAN» (Aνεμιστήρας), η ταχύτητα ενεμιστήρα αλλάζει με την ακόλουθη σειρά:
Auto (Autóματη) High (Yψηλή) Medium (Mεσαία) Low (Xαμηλή)
Tov tropo n aeioupyiaC ANEMIHTHPA2 MONO,
diatiogvtai movo Yynla, Moeaia Kai
Xaunna.
Tov npo aeitoupyiac AOFYPTANH, n taxutnavaeuiotnpa puoiicetai autouata oTo «Autouata. To koupii ANEMIHTHPA 出 8v
λειουργείσε αὐτήν περίπτωη.
3. Póθμiαη Θερμοκρασiας

Pntote ia oopa yia va auEnoeTe npuoion 0epuokpaoiac kata 1C Pntote ia oopa yia va eioeTe npuoion 0epuokpaoiac kata 1C
Eav natoe ta ta do koumi npapatetaeva, o apiOc aAalaCv npyopa.
| Eúpoc διαθέσιμων θερμοκρασιών ρύθμιοης | |
| *ΟΕΡΜANΣΗ, ΨΥΞΗ 16°C~30°C | |
| DRY (Αφύγρανοη) +/-7°C | |
| FAN ONLY (Μόνο ανεμιστήρας) | δεν εἶαι δυνατήη ρύθμιοη |
\*∑ημειωη: O τρόπος λειτουργίας θέρμανος ΔEN εἶναι διαθέσιμος για μοντέλα μόνο ψύξης.
4. Everpyonoin
PntnoTe to koumu . Otav n ouokevun
aBeTo onmu, avaei n evdeltaeN AEITOYPRIAZ tnc
eostepiKc movadac.
Kata TnV alayn evoc tponou aeitoupyiac,
neipieveTe liya deutepoAeTTa kai enavaalaeT
tn diaikacia, eav n movada dev anokpiTei
aueoWc.
Kata nTv eiloyntc aeitoupyiac hepuavoc, np aepa Eekiva eana 2-5epta.

EΛΕΓXΟΣ KATEYΟYNΣΗ ΨΟΗ ΑΕΡΑ
5. Eλεγχος κατεύθυναπος ροῦς ερα
H opiovia pora epa npooapuocetai autouata
oe ia opioevn ywvia avaloya e tov tpo no
leitoupyiac e ta nvy evpyooinon tncovadac.
HKateuovon tnc poac aepa mnoei enionc va
npooapoootei oupwva te dn dknaac anaitnon
eav natnoete TO koupi «AIOPHsH» Tou
tnlambdaipiotpiou.
| Tpópioc λειτουργίας Κατεύθυνηση ροῦς αέρα | |
| COOLING (Ψύξη), DRY (Αφύρανος) | οριζόντια |
| *HEATING (θέρμανος), FAN ONLY (Μόνο ανεμιστήρας) | καθοδική |
*O tponoc etoupyiac epuavonc DEN evai diatheoioc yia ovtela avtla epuotntac.
EeYxoc opioovtac ponc aepa (Xpnoiopoiovvtac to tnExeiipiotnpio)
Xpnoiopoinote to tnlexipiotnpio yia va puoioeTe n ywvia pongc.
TaIavtwon nIepuyiou poNc aepa
Eav natnoe Tia oopa to koupi «AlOPHsH», npivia opicoviac puOuaoc th a iomega nOei npoc ta naVw kal katw autouata.
Eiθuŋnt kateuθuvon poç aépa
Eav natnoet EaV to koupii AIOPHs, np ypiia opicovtac puohmnpapaeveotav o1 ypiiec aiopouvtai emu kataaannywvia onwc Etnueme.
Eeeyxoc kaetnc poic aepa (mu to xepi)
Tupiotc piabouc eayxou twy ypiuov kaetnc npoapoync yia va aalaaeTe tnv kaetn po n aepa onwcaaneikoviZetai.
Σημειωη: To oxγμa TnC μováδac μπορεi va εινα διαφορεικό απó auto tou κλιματισικόν του ἐχετε Επιλέξει.
A-Mnv yupiciTe xiepokivnta tic yiiec oipovtiaacpuoioanc, eneioh mnopei va ouoBei duoiotopyia.Eav ouoBei kati tetoio, anvepyoioinote apxikatn ova, diakoyte tnv tropoodooia kaltnouvexia, ouvdeote lav a ton ouokeun otny tropoodooia.
B-uvioatai va unv aqnvte tn ypiia oicoviacpuoianc va yepveipoc ta kato yia npuwaotovtpono aeitoupyiacyEH n AOFYPANzH ia va anopexuxei to taEmu toou ouunkwoevou vepou.


paBdoC eEyxou twv ypiiwv KaθeTnc puθmuonc
IIEPIIPAΦH TPOIΩN ΑEITOYPΓIAΣ KAI ΑEITOYPTIΩN
Aetoupyia pooyiou
Mnpoeite va putheta e tnv npayatikn wpa evnpatnoe CCK (PoIo). Pntote auto to koupi npapatetaeva ia nepioootepa ano 3 utepolenta ia va evpyooinote tn puthetaon pooyiou. Oa avabojoei to ynio tou pooyiou. Meta, me ta koupiia kalputhetai te tn ot npa.Pnatote EaVa auto to koupiyia va puthetai n npayatikn wpa.
Tpónc λειτουργίας SLEEP (丫πνος)
O troponoc etioupyiac SLEEP ('Ynvo) npoei va puthetai oTov trono etoupyiac COOLING (PsiE),HEATING(Oepavon) n DRY (Aquypavon).
Autn n aeitoupyia napexei eva nio aveto nepibetaalov yia tov unvo.
H oukeun 0a anevepyonoin0ei autouata uet a no 1eitoupvia 8 wov.
H taxaun taou aveiotnpa puthetaiautopata oXaunn tauxntta.
Kaθε φορα που πατάτε το κουμπι SLEEP (Yπνος), o τρόπος λειτουργίας μεταβαλλεται διαδοχικα ως εξής:
$$ \rightarrow \Upsilon \Pi N O \Sigma 1 \rightarrow \Upsilon \Pi N O \Sigma 2 \rightarrow \Upsilon \Pi N O \Sigma 3 $$
$$ Y \Pi N O \Sigma 4 \rightarrow E \Xi O \Delta O \Sigma Y \Pi N O Y \downarrow $$
Tpnooc eitoupyiaC SLEEP (YnvoC) yia evnaikec (tpooc eitoupyiaC 1)
H 0EoKpaia 0a auEoN0e i kata 2^ to
muTo aT o diapkn aeitoupyia tnc ouokueuc
OTov TpOto aeitoupyiacooling (puE) yia 2 wpec
kai, OTn ouveia, 0a npapaevei Otaepn.
Hpuoioeyn 0epokpaa 0a eiw0ei kata 2C to
muio t aio diapkn 0ioupyia tn c ouokeunc
Otv TPOIO 0ioupyiac heating (0epuavon) yia 2
wpckai, otn ouvexia, 0a npauevei otatepn.
Tpnooc eitoupyiac SLEEP (YnvoC) yia nAikwEvouc (tpooc eitoupyiac 2):
Hpuoioevn oepokpaia 0a auEgntkaT2C
mu a nO diapkn Ieitoupyia tnc oukeunc otov
tpoio aeitoupyiacooling (uEg) yia 2 wpe, 0a
meiwoei kata 1oC mTa ano 6 wpe c kal, otN
ouvexia, kata 1oC mTe a nO 7 wpe.
HpuoIoueynOepuokpaoia0aEiw0ei kata 2°C
μeTAno diapkn λeitoupyia Tnc ouakeunc otov
tpoN oetoupyiac heating (Eepuavon) yia 2 ωpec,
θa auEnθei kata 1°C μeTAno 6 ωpec, kai, OTn
ouveχia, kata 1°C μeTAno 7 ωpec.
H Θερμανον ΔEN εΙαι διαθέσιμη για κλιματισικα μόνο ψύξης.
Molc puOIOTei o TpOioC AIEIoupyiac uVou, n evoEiEn «AeIoupyiaC» Oa avoosoe iia 10 opec kai mTa oBnOe i oloknpn oOvN.
Tpónoc λετιουργίαc JET (Tayεia ψύηn/θέρμανοι)
O tponoc aeitoupyiac JET (Taexia yuE/0epmuavon) xpnoiioeiitai yia evapEn n diakonn tnctaxieac nuEnc n 0epmuavonc.
H ynpnyopn uEN λeitoupyei μe uynntaxutnta avemiotnpa kai n θepuokpaia puθiεtai autouata ota 18°C.
H ynpynopn thepavon aeitoupyei e autoupatn taxutnta aveuotnpa, evw nputhetauev n 32C.
- Tov tpo no aeitoupyiac PAHPHE IXXY, mnopeite va puthetaiote tvkateuuvon ponc aepa n to xpvodiaoknt. Eav thee va tepuatote so tpo no aeitoupyiac PAHPH2 IXXY, natote oniooohnote koupi Jet (Pi npc ioxuc), MODE (Tpoc oetoupyiac), FAN (Aveuotnpac), ON/OFF (Eevpyonooin/Aneevyponoin), SLEEP (Yvoc) n TEMPERATURE SETTING (Pthetaion thepokpaoiac). H evdiEg th e iopvki o tpno Aetoupyiac.
Σημειωή:
-Ta koumuia SLEEP (Ytvoc) kai SMART (EEunv n 1eitoupyia) eivai diaaetua otov tpono 1eitoupyiac JET (Taexia uEtnepuavon).
H oukeun tha ouvexioe va leitoupyei otov tpono
leitoupyiac PAHPHSIXYs eav dev tov tepuatioet
natwvtac onoi0hnote ano ta koupiiaou
avaqepnkv.

Aeroupyia Around U
Otau natae auto to koumi, eupavietai,
tnlexiptnpo metadidei otnv eootepkn ova da tnv
npayatikn thepokpaia domegaiou ypuw ano auto
kai nooukeun aeitoupyei avaloya eautn th
thepokpaia yia va viowete nio aveta.
duoote tnlexiptnpo oe xwpo stov onio
eivai duvatn owtn metadoon tou onuato c ontv
eosptipn ova.
Pntote to ia qopayia puthetaon kai eavayia akupwon.
TnV oOvN tou tIeXeiptniou 0eepavioTei n Oepokpaia domegaiauolicpuoiotei autn I Aetoupia.
Aetoupyia DIM (Owtoooc)
Pntote auto to koumi yia va evepyoioeTe n va anevpeyoioeTo owtioo tnc oovnc otov nivaka 5eyxou tnc eoewepiknc movadac.
Aeitoupyia POWER SAVE (Eeokovoynon evpeyiaic) O tponoc Aetoupyiac POWER SAVE (Eeokovoynon
evepyiac) npoei va eivai diaeoioc ovtpno
lambdaoupyiac COOLING (Psi),HEATING (Eepavon),
DRY (Aupypavon) kai FAN ONLY (Movo avemotnpac).
Ota natate auto to koumi, eupavietai oTo tnExepiopnpio.
Aeitoupyia POWER SAVE (Eeiokovoyn eevpeyiac) oToV tpo n aeitoupyiac COOLING ( u ) ,HEATING (Oepuavon) kai DRY (Aupypavan).H ouokun 0a puOIOEI Tn 0epuokpaoia otouc 25^ e xanlan taxutnta aveoiotnpa.
Aeitoupyia POWER SAVE (Eeokovounon evpeyiac) oToV TpOIO Aetoupyiac FAN ONLY (Avmuotnpac mvo): H oukeun 0a puOmuoiTn xauanTaxuTnta avmuotnpa.
AaaaéTeTovTpnoaetoupyiacnpatnoTe to koupi power save (Eoiokovononevepyiae) EaVa yia va akupwoete n aetoupyia autn.
Σημειωη; H taxúnteta avεμιοίnpa kaɪ ηερμοκρασίδεν μπορούν va puθμιοτόν σε autóv tov tpónoλειούργiac.
Aetoupyia SUPER SILENT (Yπερ-αιωπλό)
NATnoTe to kouuni SUPER SILENT (Ynep-oiwnnlo) ia va aeitoupyei n oovada oe xauanlo einiédo Oopouou, wote va exete eva nouxo kai aveto Nepiabalov sto domegaatio. TTo tnalepiotnpio a epaviotei
Σημειωη: Yπερ-σιωπηλή λειουργia To θασβησει ὄταν πατησετο το κουμι MODE (Tpόποςλειουργίας) ἡ πατησετο το κουμι SUPER SILENT (Yπερ-σιωπηλό) ἡ πατησετε ξανά το κουμι FAN (Aνεμιούρας).
H λειτουργia autη μιοpei va μην διατίθεται σε μερικα μοντέλα.




Aetoupyia Timer (XpovodiakonTnc)
Mnpoeite va putheta e eukola to xpvodiaokotn
evepyooinonc natwvtac to koupi TIMER ON
(XPONODIAKOTTHENEPTOIOIHSE), wote va
unapexi iia euyapiotn thepuokpaoia domegaatio ouotav
qtaoe tO o nti oac.
Mnpoeite enionc va putheta e to xpvodiaokotn
anevepyooinonc natwvtac to koupi TIMER OFF
(Xpvodiaokotnc aneepeyooinonc) ia va
anoaueote eva kaio unvo.
TpOncpuOmuOnc tou TIMER OFF (Xpovodiakontnc anevyopoinoNc)
Mnpoeite va xpoiooioeTe to koupi TIMER ON (Xpovoiakottnc evpyoioinoc) ia va puoiote Tov npoypaumoi oXpvoiakokntn onwc EiOuie, pokoieevou va evpyoioeTe tn oukeun tnv wpa nou eoiueite.
ii) Pnntote to koupi TIMER ON (XpovodiaKoTnc evpyooinoc), otav avaboosne i n evdeiEg ON 12:00> oyn oovn LCD, npopeite va natnoeTe ta koumuia yia va eileeTe tny wpa nou eIthuie va evpyoointhetai ouokeun.
NATnoTe To koupi nui a oopa yia va auENoTe n va uEiwOeTe Tn puOmuon Xpovou Kata 1 AENTo.
Pntote To Koupi n yia 5 deutepolenta yia va auenoete n va ueoettnpuon xovou kata 10eTTa.
Pntote to Koupi n yia nepiooote np wpa yia va auhoete n va ueoete tn puohion xovou kata 1 wpa.
Σημειωη: Eαν δειτην ωρα εντός 10 δειτερολέπτων αφου πατήσετο το κουμι TIMER ON (Xρονοδιακόπτης ενεργοποίης), to τηλεχεριστηρίο θα εξελθει αυτόματα σαό τον τρόπο λειουργίας XPONODIAKONTHΣ ENEPRONOIHΣ.
iii)Meta tyn eupavion tnc wpac nou putheta ngyia 5 deutepoaleta, onv oovn LCD tou tnlexipiotpiou th eupavioti to poloi avti yia to xpvovdiakontn puthetaionc.
TpOnc akupwnc tou TIMER ON (Xpovodiakonntnc evepyonoinong
Ntnote EaVto Koumi TIMER ON (XpovodiaKoTNC eEeyooinoc).Oa akouotei evac xapakntiokoc nxc kai n evseien oBnoei. O troioc aeitoupyiac XPONDAIAKOTTH ENEPTONOIHsEekupwEi.
Σημειωη: H λειτουργia TIMER OFF (Xpovodiaκόπης απενεργοποίης) ρυθμιζεται με παρόμοι τρόπο. Μπορεῖν ελανρθμισετην autóματη απενεργοποίης της συοκεύκεις την επιθμιŋτή υρα.


AEITOYPIA EKTAKTHANAGKH
Σε katáσtaon ᵓκτakntnc aváyknç n ðav to tŋλexεipiotnpio λεinei, μnopeite va ελέγεTE tŋ mováδa
éav nathoet to diakontn
| Θερμανη | H εξωτερική θερμοκρασία αέρα εἶναι πάνω anó 24°C |
| H εξωτερική θερμοκρασία αέρα εἶναι κάτω anó -7°C | |
| H θερμοκρασία δωματίου εἶναι πάνω anó 27°C | |
| ψύξη | H εξωτερική θερμοκρασία αέρα εἶναι πάνω anó 43°C |
| H θερμοκρασία δωματίου εἶναι κάτω anó 21°C | |
| Αφύγρανη | H θερμοκρασία δωματίου εἶναι κάτω anó 18°C |
Eav to kaiatiotko aeitoupyei o trpno aeitoupyiac
YEH n APYTPANZH me tnv npota n to npapato
avoixto yia nolu wpa otav n oxetikn uypoia eivai
uynlotepn ano 80%, mnpoei va oralei ouunukwn
anotv ecdo.
Xapaktnpiotiká δiataεnc πpootaiac
IepiEvETouaixotov 3AeTnpiiv ano tv
enavekkivnon Tnc movadac meta thdiakon nnc
Leitoupyiac n tnv aalayntou tponou aeitoupyiac
otav nookun AEitoupyei. Meta tn ouvdeon otnv
tpofoosia kai tnv amoe n evpyoioinon Tnc
oukeunc, mnoepie va unapxekai kaoteppon 20
deltapoalewnpvip Eekivnoe va laitoupyei.Eav
dikote kaeleitoupyia, natote EaV to koumi
ENEPTONIOIHs/ANIENEPTONIOIHs yia
enavekkivnon. Oxpvodiaikontnc npenei va puthetai
Eava eav exakupwTei.
Xapaktniptikä tponou λeitoupyiac COOLING (ΨYEH)
Σελειουργia ΘΕΡΜΑΝΗ, η ΣΟΚΕΥ Φ θα ΑΟψύχθει (αποηαγώει) autóμata γίαναξηθει η αποδότικότητα. H διαδιασία αυτή διαρκει συνήθως 6-10 λεπτά. Kara τη διαρκεία τής Ανούψεncy, διακόπτεται ηλειουργia tou aveμιούρα καίη ενδείξη λειουργiac αναβοσβήνει.
Meta tv oakpwon tnc aioyuEnc, EIOItppei
autópata stov tpóno λειούργiac ΘEPMANsH.
λειτουργia napεμβαῖν
Ia to loyo oti oLc oE OwTepiKc movadec
xnoiounoe ie ia EwTeipkn movada, EwTeipkn
movada mnpei va aeitoupyei mvo ie diaa eitoupyia
(puE n thepavon), etoi wote otav n eitoupyia oac
nou eivai diaopoptikoc ano tv tpono nou n
eWTeipkn tpexei me, aeitoupyia napeuaivei oumaivei.
Meta deixvei tv tpono npaepaivei oknvnc.
psiEg Enpoc Thepauov aevioptnpac
v x
Enpoc V V X V
θερμανηx x v x
avεμιστηρας v x v
x:λειτουργia παρεμβαίνει - v: κανονικός
EeWTEPIKn MOvAa NaVt PrExeI eTn LEIToupyia Tou npwTu EoWTEPIKn MOvAa Nou EvpyOniuevN. Otav n LEIToupyia puOmuoc Tou Eic EoWTEPIKn MOvAdac napevBaive ME autO, 3 mtn Oa akouotei, kai n EOwTEPIkN MOvAa PapeveBaive ME tic ouvnOtic MOvAdec LEIToupyiac Oa oHoei autOpata.
SYNTHPHE
Kaθαριομός του μπροστινού πάνελ τής εωτερικής μονάς
1.Anoovdsoe ano nynnAekpiK npoxn
Anevepyoioane npwta n ouokeun piv anouuvdeoe tyn hekptikn npoxn.
Kaθαρισμός φιλτρου αέρα
Eivai anapaitto va kathetaeTe to iItpo aepa apouTo xpoioiOIOHOeYia nepinou 200 wpc. Katheta To qIATPO aepa kae duo eBdoaDEC ev To Klaipatiotko aeitoupyei OE pIbaalov Me unepolikn Okovn.
1.Anoouvδeotae ano tynnlektpiki npaox
Anevepyoio note npwta tn ouokeun npiv anouuvoeetnv nkeptipn napoxn.
- Byáλτe to φιλτρο αέρα (Eik. C).
1.Avoietov npootivo nivaka.
2. Pliote npooektika nlaib tou plou.
3.ApaipoeTe to piTpo.
- Kaθαρισμός του φιλτρού αέρα (Eικ. D)
Eav to qiltpo eiva nolu bpomuK, kaapioTe to e eva dialua xiaopou vepou kai oudeltapeou anoppunavtiko.
MeTaTovKaApoIaOtnoukeun va OTeYVWOEL.
- TOnoTheTne EaV to qIaTpo, natiote to koumi enavaopopac qiltpou (Eik.E) otN 8eia eup a Kapipita Kai KLeiote to npootivo naveA.
Σημειωη:
Ia va anopeuxo tpaunatiooc, unv ayyiEe ta ntepuyia tnc eootepiikc hovadac ta daxtuac apou aqaipoeet to qiltpo.
Mny enixepnoe eoeic va kaapioe to eowtepiokou kaiuataiotikou.
Mny kaapiceteto piapto oto nauvtnpio.

Eik.A

Eik.B

Eik.C

Eik.D

Eik.E
ANTIMETΩΠΙΣH ΠPOBΑΗΜΑΤΟN
Ta npoβλnμata λειούργιας Μειλονται συχά σε μικρής σημασίας αἰτές. Avatpèξτε στόν παρακατω πινα κριν επικοινωνύσετε με το τμήμα συντήρησός. Mnpείν αεξοικούμησετε χρόν και αποφύγετε περιTTá ἐξόδα.
| Πρόβλημα Ανάνη | |
| Η συσκεύη δεν λειουργεί | ·Εναι καμμένη η προσταειτική δίαταξη ἡη ασφάλεία; ·Περμένετε 3 λεπία και αρχίοτε Εανά, η προσταειτική δίαταξη μπορείνα ·Εναι χαμηλές οι ματαρίες του τηλεχείριστηρίου; ·Εναι σωστά συνδεδεμένο το φίς του ηλεκτρικό καλωδίου; |
| Δεν unáρχεί kaθόλου αέρας ψύξης ἡ θέρμανος | ·Εναι βρόμικο το φίλτο αέρα; ·Εναι φραγμένες Ο εἰοδοι και εξόδοι του κλιματιοκό; ·Εναι puθμιαμένη σωτά η ερμοκραία; ·Εναι avοιχές πόρτες ἡ παράθρα; |
| Αναποτελεοματικό c ἀλεγχος | ·Μήπως unínpξε ογχύρή παρέμβαση (αύ Φηερβολική ηλεκτρική εκκένωση, avωμαλία τάσης Κη Λελκτρική παροχής; Μάβετε Φύρη Θό Π Λειουργία δεν θα εναι φυσιλογική. Στην περίπτωσι Αντή, Ανούνδέοτε και συνδέοτε Νγ ξανά Οτην τροφοδοσία μετά από 2-3 δευτερόλεπτα. |
| Η συσκεύη δεν λειουργεί αμέως | ·Θα συμβεί καθυστέρηση 3 λεπτών ὄταν αλλάζετε του τρόπο λειουργίας, κατά η δίαρκεία Κι Λειουργίας. |
| Ασυνήσιη σομή | ·Autη η σομή μπορείνα προεχεται από ἀλλη πηγή σπιπλα, τογίαρο, κτλ. η σοπία ἂχείνανρορηθείνι Από η μονάδa και φύσátαι προς τα ἐξω μαζι με του aέρα. |
| Ούρυβος trεχούμενου vερού | ·Kavovikός συμπερίρόρά που προκλείαι από η ροή ψυκτικό ΘO κλιματιοκό. ·Hxος απόψuξης Θου τρόπο λειουργίας θέρμανούς. |
| Ούρυβος θραύσης | ·Ούχος μπορείνα δημιουργίαι από η δίατολή και συτολή του μπροστιού πάνελ λόγω των θερμοκραίακων αλλayων. |
| Ψεκασμός σταγονιδίων από την ἀξόδo | ·Υπάρχουν σταγονίδία ΘΟ δωμάτιο με χαμηλή θερμοκραία; Kavovikό συμπερίρόρά λόγω του ψυχρου αέρα που εκκενώνειαι από ητην εοωτερίκή μονάδa katá η δίαρκεία Θου τρόπου λειουργίας ΨΥΞH ἡ ΑΦΥΓΡΑΝΣΗ. |
| Η ενδείη λειουργία avaβοσβήνει αλλά ο εοωτεριός aveμιστήρα σταματάει. | ·H μονάδa αλλάζει από τρόπο λειουργίας θέρμανούς σε απόψμεη. H ενδείη θα σβήσει και θειστρέψει στου τρόπο λειουργίας θέρμανούς. |
Σημειωη: Eáv ta προβλήμata napαμένουν, anενεργοποιητε ηισκεύη και αποσυδεότε ην από ην τροφοδοία. Ση συνέχεια, επικοινωνηοτε με το πλησιεστερο εξουσιδοτημένο κέντρο συντήροις Σκ Whirlpool. Mny επιχερησετε va μετακινήσετε, va επισκεύσετε, va αποσυναρολογήσετε ἡν τροροποιησετε ηισκεύη.
ERKATAZA - SYNTHPHSH
Piv tvv eykataoan
- i to npov yx p i i o npooeKTiKa npiv ano tnv ykata t a n.
- H ouokeu n npénei va eykataoTaOe i oumpwva e touc eVikouc kavovioouc kaawdiowcn kai baoi Tou napovtoc yxepidiou ano EikEuvévouc TeyVKouc.
- Kaθε μεταβολή της θέσης εγκατασασης πρέπειν αγίνεται από επαγγελματίες τέχνικους.
-
Eλέγξτε το προίον για va βεβαιωθείτε οτι δεν ἐχει uποστει ζημί πριν aπό την εγκατάσταση.
-
TOnoTheTnOte Ta KivouuEv a Eapntmuata OTo KaTw Mepoc Tnc eowTepiKc Movadac o AnoTaon ToulambdaioTov 2,5m Navw ano to dAnEdo.
- Meta Tnv EykaTaoan, o katavaawntnc npEeiv a xpoiooiei tn ouokevn owoTa, ouuwova uTo napov Eyxεipidio. DiatnpnoTe to Eyxεipidio oE katalnnlo xwpo anoThekueonc yia loyouc ouvtnponc kai eTakivnonc tnc ouokevnc oTo μelov.
IPOΦYΛΕΙΣ ΑΣΦΑΛΕΙΑΣ
- H tropoosia npépi va exi katalnn ovouaotikn taon me εiodiko kukwma yia tn ouokeu. To kavovikó eupoc tnc taonc λitoupyiac evai 90%~110% tnC ovouaotiknc taonc. H diμeTPOC tou kaawdiou tropoosiaac npépi va nnpoi tic anaatnoeic.
- To ouotma tropoosoiac tou xnotn npenei va exie aioio to akpoektn yeiwongc.Aanayopeuetai n ouvdeon tou kaawdiou yiwongc ota napakatw otoixia:1) v a npoxnc vepou 2) v a aepiou 3) v a anoyctevoongc 4) AAAEC Θoeic nou thewpoovtai avaoopaaleic.
- Bεβaiωθειτε οπη γειωη εival ασφαλής και οτι Φαρχει καλώδιο γειωός συνδεδεμένο Οτο ειδικό σύστημα γειωός του κτηρίου, to
oio Eykataotatae i ano a y y a t i a Teyvko.H ouokeu n p e va eivaEpoiaaounue
deltaiKoTTn npoostaiac ao
nEeKtpiKn diappon kai Bontheta
deltaikOttn KukawatoC uEeapkn
xwpntikotnta. OdeltaiOttnc
kukwatoC npEeI EINoc va
deltaeTei Aetoupyia ayvntiknc kai p i k n c npoobotnoC yia va
deltaqalotei npoostaoia o p i BpauxukukawatoC kai
uepopotwnc.
| Túnoç MOVélo | Παιτόμενη ικανότητα διακόπη αέρα |
| Σπλίτ Avaστροφέας | 20K 30A |
| 24K 30A | |
| 36K 40A |
ПОФУАЕΙS AΣФАЕΙAΣ
- Bεβαιωθείτε Θι το καλώδιο
tpoφodσοίας ἐχει επαρκές μήκος,
ωστενα εἶναι δυνατή η σωστή
σύνδεση. Мη χρησιμοποίεις
kaλώδια επέκταοης για
tpoφodσοία.
5.Eav to kaawio tropoodooiac exi uooTei Znmuia, npenla va avikataoatao i anotov kataokeuao n'tov avtinpopo ouvnponnc n aaloo kataptoevo atofo, wote va anopveuoyouv tuxov kivduvoi. - IpEeI ouv8eI Otn oTaepn kaawdiowon evac nolunoiKoc diaKoTTnc anoouvdeltaonc aOoTaN eTaTuV enaWv ToulambdaioTov 3mm oE oLouc touc Ploouc.
- O kivduvoç nλεκτροπληξiaç μπopéi va πpokaλεσει τραματιομό ἡ θάνato: Anouuvδεσε τὰθε nλεκτρική τροφodσία πριν από τις εργασίες συντήροσέ.
-
H ouvdsen Tou kaawdiou tropoosiac kai tou kaawdiou TNC EOWTEPIKNC KAI TNC EwTEPIKNC MOVADAC PEPNI VA yivetai OUMWVA UTo dIaypaMa Kaawdiownc Nou avaypapETAI NAVW OTN OUKEUN.
-
'Otav oλokλnpωθεi n εγkaṭασtaon, δεν πρέπει va εival duvatn n πρόσβaon των χρηστών στa nλεκτρικα εξαρτήμata.
- MetakivnoTe kai tooThe nTo uokueh (\mu \varepsilon) Tn Boontheia duo n (\pi \varepsilon p i o o o t e p w v a t o u w, w o t e v a aiopeuxthetai o kivduvoC loyw tou uIepBoIkA uEyaIou bapouc.
- Mετα Νγν αποσικευσία του κλιμαιτιού, διαπρήσε ὄλa ταυλία συσκευσίας μακρία παίδία.
- Avaloya To u k t i k o , n iEon OTo v a Eiva IOnu UpsnI. I' auTo p o o e x e t e KATA TnV EYkataoTaON KAI ETIOKeUN TNC OUOKeUnC.
- a vOoOeOia, pEne i va evoWpaTwOeI oTn OtaOepn kaawdiow on ouokuun UnoAeioeou PeuMaTOc (RCD) uOoAaOTIKo UoAeIOevo PeuMa AEToupyia c nou dEv UInpbaivEi Ta 30mA.
OΔHΓΕΣ ERΚΑΤΑΣΗΣ

DiaypaMa EYkataoTaOnc
EeWTepiKn movad

SHMEIOsH: H npapanaw Eikova eivai ia anan avanapaotaon tnc movadac kui nopei va uavtoxei otnv Ewepikn oyn tou npoiovtoc nou exte ayopaei. H ekataoataon npenei va npayatoine i oupwva e ta eVika npotuna kalwdiowc, kai mvo ano ellouioodntnevo texvikocuvtnpnonc.
Enioyntnc kautepnc theonc
OeON yia Tnv EykataoTaon Tnc EowTepiKnc muvadac
Σε εva σημεio onou δεν unápxouv εμπδia kovτa σtnv Εξòo aεpa kal o aεpac μnopei va φuσatai εukola σ καθε γωvia tou δμαtiou.
Σε εva Μημείο ὄπου μπορείνα τακτοηιθείε ᵋκολa n σωλήνωση και n έπη στον τοίxο.
TnpnoTe Tnv anaitouevn anootaon ano tvn oopn kai tov toxO ouwva eTo diaypauma ekataotaonc.
- Σε ενα σημεio onou μπορειτε va αφαιρειτε εύκολa to φιλτρο αέρα.
- Diatnpéite tn mováda kai to tnλexεiρισtnpio 1 Μεtpo ano tnv tnλεópaon, to paδióφwvo, κτλ.
Tia va anopeuxoov oi emiopaacic ano lauma opiou, diatnpie t n ova da ooo to duvato nio pia ano autn.
Mny tootheite kati Kovta stnv eioo o aepa nou mnpouoe va tn
Σε εva onμeio nou μnopei va βασταξι to βapoc kai δεν θa auξηοει touc θopúβouc kai kpaδaσμούc λειούργιαc.
H EOWTEPIK Movada 8ev evai kataaAan yia EYkataoTaon OE NEPIOXc NOU XPOIOMOIOUVtai YTA O NAOPOOVW.
Oeon yia tnv eYkataoTaon Tnc EeWTepiKnC movadac
ToOnoTeTnOe 0e BoIko kai kaIa aepicoevo xipo.
Anopeuyete Tny EykataoTaon oE onmuou mOpéi va unapEi diappo n eUΦeKTou aepiou.
TnpnoTe Tny anaitouevn anootaon ano tov Toixo oupwva to diypauma Eykataotaoc.
H anootaon netaeTu nC eowtepiKnc movadac kai TnC EwTePiKnc movadac 0 npenei va evai 3 mEtpa kai mnpoei va qTaoi ta 15 mEtpa, to mEiyioTo, ME einnpOoTheo optio yukTKOU.
Mny eYkaIOTATE nV EeWTePIKn movda oE pOmuKnAipopoepoc, KovTa OE eEoAoepiwBoukkaviou.
Apoeuyeteynv eykataaon otnv akpn tou , onou nopei va bpouioe i e a o e p o
-ε μia σταθερη βασ Μοιου δεν θα auξηθείο Θόρμβος λειτούργιας.
Σε Σημείο ὄπου η ἐξόδος ἀρα δεν εμποδιζεται.
H eon ykataoataoc 0a npenei va unopei va avtexei to apoc kai tic bovnoeic tnc


εωτερικός Μουδας αλλα καν εξασφαλίσει μαι ασφαλή εγκατάσαση.
- Σε οημείο ὄου το αποστραγγιομένονερό δεν αποτελεί πρόβλημα.
Eykataotnote Tnv EwtepiKn movada o eva onmuo onou o aepac nou ekkewvetai kai o 0pupoc,lambdaic devexoxtouc yitovc oc.
| Movéλο ΣτάνταρσωλήνωσηMήκος (m) | Ορι κάθεεσωτερικήσωλήνωση μονάδαςMήκος (m) | Ορι ΣύνολοσωλήνωσηMήκος (m) | Ορι υψομετρικήςδίαφοράςH(m) | Επιλέου ποσότητaψικτικό μέσου (g / m) |
| FM20ODUWA2 | 5+5 20 40 | 10 | ||
| FM24ODUWA2 | 5+5+5 20 60 | 10 | 15 (Οτavirus το συνλίκο μήκος των σωλήνώεων εἶαι πάνω από 15m) | |
| FM36ODUWA2 | 5+5+5+5 25 | 60 10 | 15 (Οτavirus το συνλίκο μήκος των σωλήνώεων εἶαι πάνω από 20m) |
ERKATASTAH EQUTEPIKH MONADAS
1. Eykataoataon Tnc nλakac oTepewoonc
EπiεTe μia ΘeON yia TnV EYkataoTaON TnC πλakac oTepewonc, avaloya e Tn ΘeON TnC εωtepiknc Movδac kai TnV KATEuθuvon σwlnvwnc.
Purote nV nAka oTepewoc opCoviae Tn Kionn npuAikn ypaun.
Tpuanaviote onec ba0oc 32 xiaotao tov toixo.
Eioayayete TIC NAAOTIke, tanec OTNV ONN KAI eT a OTEPEwote Tnv Nkaka OTEpeWOnC ME KOxliec autokoxlIoTounOnC.
ELeyTe 0ti n IaKa oTepeWOnc eivai kaI aOtepeWmuEvn.
SHMEIOsH:To oxnua TnC nAkaac OTepewoon C npopei va diaapepei ano tnv avwTepw, aAa n MEOosc EYkataoTaoNc Eiva oia.
2. Diatpnon onn cyia oWAnvwoeic
Anopaoiote n theon tnc onnc yia tn oLnVwOn avaloya e Tnv tonotheoi ta n kac stepewonc.
Tpunaviote iia onn me diapetpo nepinou 70 xiooata otov toixo. H onn th npenei va exei ia uipn kaOdeltaikn kion npoc ta eEw.
Eykataotntote eva nepiBnmae oanov onn stov toxoyia va diatnpnoTe tov toxotaktooinmuo kai kaapo.


3.Eykaataaon tnc oWnwoonc eoewepiknc movadac
Ppooapuoote Tn oawynwan (owlnvac uypou kai aepiou) ka ta kalwdi aea ano tn v onn otov toixo ano ta eew n ppoapuoote ta ano ta meoa apou ooknapwoete tic ouvdeoeic twv oawnuoeewkai kalwdiwvtnc eowtepiikc movadac, yia va tic ouvdeoeet otny eewtepikiu movada.
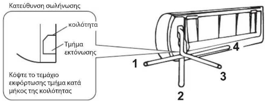
AnopaoioTe eav 0 npiovioTe to nlaotiko tmuva valoya e tnv kateuovon tc oanvong (onwc anekoviEeai napakatw).

ZHMEIΩΣH:
Kata tn otepeewon tou ownva otny kateuuvon 1, 2 n 4, Koptye npiovi to avtioio xo maoitko tna a no Taon Tc eowtepiokc movadac.
Apoou ouvdeoe tno wanyon onwoc aataeitai, ykataohtote tov ukaunto oaniva anootpayyionc. 2tn ouvexia, ouvdeote to kaawdo nkeptpiokc ouvdeonc. Meta tn ouvdeon, tuie Tn own, to kawdo kai tov eukapnto owna anootpayyionc me 0epmuokovotikouliko.
HMEI H Mn ouvdeete n ouokeun otyn tropoosoa kata thy ekataoataon.
\SHMANTIKO:
Σωλνωσθερμικίς μόνωσης:
a. TOnoTheTneToTov EukauTTO OAnV aAnooTpaYyIoc kAt w ano tn oWAnVwon.
β. Movwtikó ulikó: αφρoc πολuαθενιομ επαχος εγαλιτερο ano 6 xiliootá.
SHMEIOsH:O eukamtoc oawvac anooTpayyionc npoetoiuaceia ano to xnotn.
O eukamoc oanlvac anootpayionc 0a npenei va evai otpaumevoc poc ta katw yia eukoyn pon anootpavionc. Mnv ouotpeet to oanva anootpavionc, aphiote tov va poeexei n va aiwpetai. Mnv buioeTe to akpo oe vepo. Eav ouvseete ukaunto oanva enektaonc oTo oanlya anootpavionc, bepaiowte iEti exei movwthetaepuikkata thdiieueon ano tnv eoewtepikn movada.
O'Atav n oWAnVwOn kATEuOvETa Oa _I ,n (Ppoetoiiaeai ano to xipotn) oWAnVwOn,To nEeKtpiKO KaLwio KAI O EukamTTOC oWAnVac anooTpayyionc npEni va evai Thepikauovov TIO mepoc TNC movadac.

Σvδεση σωλνωσκ:
a. SuVdEOTe Touc oWnveC eoTepiKnc movadac Me
duo KLEIDI.A PooexTe Idaitepa OTNv
ENTPEIOJEVN potn, onwC anEIKoviETai
napakatw, yia va aOnpeuxThei n napauOpwpwn kai
ZnmuTwv OwLnVwv, ouvDentnpwKai naEuaiaiwv.
β. Σην αρχή, σφιετε τα με τα δάχτυλα και ετά χρησιμοποίητε τα κλείδία.
Σημειωση: μνν κόψετη σωλήνωση εavirus σωλήνας Σύνδεοις εἶνι μέγαλυτερος andην απαιθηση.

| Mévyéθος ωωλήνα Μρή Πλάτος παξιμαδίου | Ελάχ. πάχος | |
| Πλεύρá uγρού (1/4 ἀντοας) 15~ | 20N.m 17 χιλιοστό | 0,5 mm |
| Πλεύρá αερίου (3/8 ἀντοας) 30~ | 35N.m 22 χιλιοστό | 0,7 mm |
| Πλεύρá αερίου (1/2 ἀντοας) 50~ | 55N.m 24 χιλιοστό | 0,8 mm |
| Πλεύρá αερίου (5/8 ἀντοας) 60~ | 65N.m 27 χιλιοστό | 0,8 mm |
4.Σύνδεοη καλωδιου
EoWTePikn movada
1) AvoiTe to unpoostivo nave, aqaipoeTe tny nakakaiuynxaaapawovotacn Biia.
2) Uvdeote To nAekptiko Kaawdo oovdeonc Me Tnv EOwtepiKn Movada Ouvdeovtac Ta oupuata Me Touc akpoedektec OTov Nivaka Eleyxou Exwpiota, Omuwa ma To diaypma kaawsiownc.
3) Aαφαλιοτε to ηλεκτρικό καλωδιο σύνδεοης στον πίνατελέγχου με εναν σφιγκτήρα καλωδιων.
4) TOnoTeTnOte EaV aTv nAka kALuPnc kai ophiEe tn Biδa.
SHMEIOsH: (avaloya to o t o) Ia va
Ipaayatonoiogouoiv ouvdeoeic otov akpoedektn tnc
eowtepiKc movadac npeneia va aapapeo i o nivaac.

πaKaλuψηc


Mnpootivo kaUmuA
EowtepiKmovad
EeWTepkn movada
1) ApaipoeTe Tny npoBaoc ano T nuVada xaIapuwovTac tn Bida. SuVbEOTe Exwpiota ta oupuata oTOUC akpOdekTe, OTov nivaka eEyxou ouuwova eTn ouvdeon Tc eoTepiKnc movadac.
2) Aσφαλίοτε το ηλεκτρίκό καλδδιο σύνδεσης στοῦν πίνακα ελέγχου με ἐναν σφίγκτήρα καλωδίων.
3)Tootheiote EaV npota npoBaonc oTnV apxikn 0eon kai opiEte tn bia.


Tia FM20ODUWA2, unapxei eowtepiKn movada C,D Tia FM24ODUwA2, unapxei eowtepiKn movada D:

\PPO\SOXH:
- Bebaiwtheta ot to xpuwa twv kaawdiw kai o apiouc akpoedektn tnc eWTEPIKNC movadac evai idia auta tnc eoewtepiikc movadac.
- Xpnoiopoioinote eva exwpiot o nektpiro kukwma eidiKO ia to kaipatiotko. Ia tn meo do kaawsioc, avatpeTE OTo diaypaumu kukwmuato navw otouokeun.
- Eλεγξε οτι Προδιαγραφές καλωδίου συμμορφώνονται Με τον παρακάτω πινακα.
- ELeyEe Ta oupuata kaiebaiwtheiote oivai ola oipyueva kaiaetaouvdeltaon kalwsiou. Peneva oipieTe To kawdoio kala e to oipyktnpa kalwsiou.
- Bebaiwtheta va eykataohtnoete evav diakontn kukwpatoc diapponc yeiwnc oia uypn n uypaevn nepioxni.
PpOsiaypapecKaIomega
| TÜnuoc Hλεκτρικό καλώδιο Kαλώδιο ηλεκτρικί | σύνδεοης | Κύρια ηλεκτρική παροχή (Σημειωή) |
| FM20ODUWA2 | H05RN-F,3G 2.5mm² | H07RN-F, 4G 0.75mm² |
| FM24ODUWA2 | H05RN-F,3G 4.0mm² | H07RN-F, 4G 0.75mm² |
| FM36ODUWA2 | H05RN-F,3G 4.0mm² | H07RN-F, 4G 0.75mm² |
ERKATASTAH EOTEPIKH MONADAS
1. EykataoTaon θúpac anoortpáyyioc kai εukamttou ωλíva anoortpáyyioc
To ouunukwma anootpayyicai ano tyn eEwtepikn
movada otav n movada bpioketai o Tpoto
AEitoupviaac hepuavoc. Ia va anoqexuXei n
evoxanon twv yeiovwoac kai va diaoqaiaotei n
npooataia tou neipalalovtoc, tonoetnte ma
theta aanoptayionc kai evav eukampto wlnva
anootpayyionc yia dioxetevon tou ouunukwmuevou
vepu.To noetne anla tn upa anootpayyionc
Oto nlaioTnc EwtepiKnc movadac kai, Otn
ouvexia, ouvdeote evav eukampto wlnva
anootpayyionc otn hupa, onwc paivetai otny EikoVA
ota deia.
2. EykaataoTaon kai oTepewOn eWtepiKnc movadac
Tepewote oixta tn movda me noulovia kai naia dia o e nite do kai avthetako dae do.Eav tny

tonoetnoe OE toixo n oe opopn, Bbetaoitheite oTI to otnpiyma exei stepewtheta kala, wote va anopeuxtheta iTihavn aotadEia loyw ioxupwv kpaadaown duvatov avmuw.
Ppotaon: eivai opthetapo va tonoeTeNoEte eva laotixevio eniOeua (npoaipetiko eapntma) katw ano to ndi tnc eewtepiknc movadac yia va anoppopovvtaoi kpaadaooi kata tn diapkeia tnc leitoupyiac.
3.Σuδεσητηςωληνωσηςεξωτερικίςμοναδας
ApaieoTe ta kaia kaiia i a ano tv 2dpoun kai 3dpou n baia
Σuνδεοτεχριστα touc σωλίνες τις βαλβίδες 2 και 3 ὅδύν με τήν απαίουμενη ποῦ.
4.Σuδεση kaλωδiou εξωτερικήμονáδας (βλ. nρόγουμενη σελίδα)
EEAEPQsH
Eav npapeivei aepac me uypaia oTo kukwma punc, nopei va npoknthe duolteuoyia tou oumuieotn. Meta tn ouvdeon tnc eoewterpiknc kal ewtepiknc movadac, anouakpuveTe tv aepa kaltnv uypaia ano to kukwma yue c xpoaiomoiwvtac ia avtia kevo, onwc napouiaetai napakatw.
Σημειωηκ Kaθως πίαση του συστήματος εἰναι υψηλή, αλλά γίαν διασφαλιοτείπη προσταία του περβαλλοντος, μή διοχετεύτετο θυμκτιόσα ἀπεύθειας στήν ατμοσφαίρα.

TpOnc eAePwOnC twv oWAnVw aepa:
- Eβδωτε kai aραρεσε τa kalúμμata ano τic βαλβίδες 2 kai 3 διεύθύνοεων.
2.3εβδωτe kα φαριρεοτe το καλυμμα από τη βαλβίδα σερβις.
3.Συνδεότετονεύκαμποσωλήνατηςαντλίαςκενούαντλίαστηβαλβίδασερβίς - Λειουργηοτε τήν αντλία κενόύ γία 10-15 λεπτα μέχρον συ φτάσει στό παόλυτοκενό των 10 mm Hg.
- Me tyn avtia kevou va aeitoupye kleiote to xeiipotnpio xaunnc nieonc otyn noanan ntc avtiaq kevou. Meta, diakoyte tn aeitoupyia tcn avtiaic unonieoc.
- AvoiETe Tn 8aBidi8a 2 8ieuOvoeW yupicovtac Tnv kata to 1/4 Tnc oTpoqnc kai otouveXia KLeioTe Tnv mTa ano 10 8eutepoAentA. ElyEte To ophiio oawv twv evwoeWx npoiopoWvTac Oanouvovepo n evav nektpiko avivveut diappowv.
- Nepiotpéyte to ioxo twv baiaibov 2 ka 3 dieuovoewv. Anouvdeote tv eukamto oawna tnc avtiaic kevo.
- Enavatonoθεποτε και σφιετόλa τα καπάκι των βαλβίδων.
EeyHPETHsH META THN IQAHsH
Piv Eikovwnoe Tc Kevtpo Eumnpetnonnc NAtv:
- Pooanaθnote va επιλύσετο πρόβλημα μόνοι ας, βάσει των περίγραφών που δίνονται σήν «Avιμετωπιοι πρόβληματων».
- Anevepyoioiote tn ouokeun kai enavekkivnoTe tn yia va deite av n 3aBn eImuEVEI.
Aveta Tn 8iEaywy nTw npapanavw Exywv, nBaaBn enmuvei, Enikovwnote e to Kevtpo EunnpetnoC NlambdaWv.
Papakalouμε δωτε:
- ma ouvtoun nepiypaphn tnc c,
- to akpiβες μοντέλο του κλιμαισικό,
- tov apiθμο σερβις (autoc εieval o apiθμος που βριοκεται κατω από τη λέξη «Service» Οτο autokóληnto σερβις, to onio βριοκεται Οτο πλαι ἡ ΘΟΚΑΤω μέρος τής εωτερικής μονάδας).
Mnpeite va bpéite tov apiθμo oερβic kai oto βiβλio eyyunonc.
-tnvπλnpδενθυνοσα,
- tov tnλεφωνικό αριθμο σας.
Eav npéπi va δiExayoov εpyaioε, eTIOKeunc, ENIKOIVWvnoTE μe TO Kevtpo EUnnpetnonc Πλawv (H xρon yvnoiv avtaakikw kai n oukeun eIOKEun evai Eyyunμevc).
Oa npenei va enideieEeTo npwTOTUo TIOAOyio. H anotuyia oumuopwpwnc me autec tic odnyiec mnpoei va diakuBeeoTe nV aovpaleia kai noIotnta tou poiovtoC oac.
SERVICE
0000 000 00000

Notice-Facile