TRAVELMATE 5742Z - Φορητός υπολογιστής ACER - Δωρεάν εγχειρίδιο χρήσης
Βρείτε δωρεάν το εγχειρίδιο της συσκευής TRAVELMATE 5742Z ACER σε μορφή PDF.
Κατεβάστε τις οδηγίες για το Φορητός υπολογιστής σε μορφή PDF δωρεάν! Βρείτε το εγχειρίδιό σας TRAVELMATE 5742Z - ACER και πάρτε ξανά την ηλεκτρονική σας συσκευή στα χέρια σας. Σε αυτή τη σελίδα δημοσιεύονται όλα τα έγγραφα που απαιτούνται για τη χρήση της συσκευής σας. TRAVELMATE 5742Z της μάρκας ACER.
ΕΓΧΕΙΡΊΔΙΟ ΧΡΉΣΗΣ TRAVELMATE 5742Z ACER
Korda ka6eJIb nITaHnI NOBpeXJdE H IIN N3HOWeH.
- Ecnn B n3dJIne npOIJIacb XnIqKocTb.
- Ecnn n3dene nOdBepraIocb BO3deIcTBIO DOxJn IIN BObl.
- Ecni n3dene yrhoHnI INI KOpNyc KOMnbIOTepe 6bl NOBpeKDeH.
- Ecπι Μεπελην Μτχημίνο ΜεθόνινΟ Μερόνινο Μερόνινο Μερόνινο Μερόνινο Μερόνινο Μερόνινο Μερόνινο Μερόνινο Μερόνινο Μερόνινο Μερόνινο Μερόνινο
- XapakTepnCTNK, yka3bIBAIOUe Ha Ntpe6HocTb B TexHueckOM
-обслужИВAHIN.
- Ecπι Μεπην Ε Φύκιουσηργετ ὁρmaβλήνθυΜ σβραδι Πρι Βυποληνην Κγόνους Μικτρύκιμην Νότεκρηλγαταιν.

PnmuemauHne:ДЯperynipOBKINNoIb3yITeCbTOnbKO TeMn OprahAmuYnpaBHeHn,perynipOBKa KOTopbIX ppeDyCMOTpeHa INHCTpyKUJMAm N0 3KcNpYatauMn,TAK KaK HnPaBnHoe IcNoIb3OBAHnE DpyInx OprAHOB ynpaBHeHn MOKeT pInbEcTn K NOBpeXdEnHIO yctPoINCTBa N,CKopee Bcero,NOTpe6yET OT CneuaJIncTOB cepBnCHOrO ueHTpa BoIbIuX ycInn IO BOCCTaHOBHeHIO ero paBOToCnOco6HoCTn.
ПравILA NO 6e3oNaChOMy IcNoJIb3OBAHnIO aKKymyIaTOPOB
B 3TOM HOY6yKe IcNoIb3yETcJI NTm-NOHnAa 6batape. He NOnb3yTeCb eI B yCIOBnX CbIOCTN, BBICOKO BIAJXHOCTN ININ B MeCTax, CnOCo6CTByUOxN Kopp03In. He NOMEuaIte, He XpaHnte IN He OCTabJIte HOY6yK prdOM C HCTOHNKOM TeIIa, B MecTaX C BbICOKO TEMNEPAtPOI, NOI pIpMbIMn LyaMn COINuA, B MNIKPOBOHOBO Neu IN IN B KOHTeHepe NOI daBJIeHMe, HE NIOBepraIte erO Bo3deIcTBIO TEmNEPAtpybl BIIwe 60°C (140°F). HecobIoJeHne 3TNX npABIN MoKET npIBeCTN K YTeHKe IN3 akKymJLTopa KNcIOTbl, ee nepeIpeBy, B3PbIBy INI NBOcIIaMaHEHIO, YTO MOKET npIBeCTN K TpaBMam IN/IN MaTePnaIbHOMy UseP6y. He IpotbIkaIte, He OTkpBIAIte IN He pa3bIpaIte aKKymJLTop. Ecn IN3 aKKymJLTopa Ipon3Oswla yTeKa JxIDKOCTN, IN OHa IonoJa Na KOxy, CMoiTe JxIDKOCTb BODo IN HeMeDJIeHNO ObpaITeCb 3a MediunHCKoI NMOUbI. Po cooBpaKeHnM 6be3OanacHOCTN IN YTObI npOJIntb cPOK cnJx6bl aKKymJLTopa erO 3apRd HE pONIsBOIDTCr pRn TEmNEPAtype Hnke 0°C (32°F) IN BbIe 40°C (104°F).
IcnoIb3OBAHne nIOHOJ eMKoCTn HOBOr oAKyMnyTOpa DoCTnraeTc NOcNe dByx IIN Tpex zIKNOB nOJHO rO 3apraHa n pa3paJa. AKKymJrTOp MOxHO 3apjKaTb IN pa3pJkaTb COTHn pa3, Ondako pRn EToM erO eMKocTb Naaet. EcIn BpeM pa60tbl OT aKKymJrTOpa cyuaceTBenHO COKpaTIIOCb N CpABHeHIO C oblyHbIM COCTOHNEM, Heo6XODIMO npNo6PecTeN HObI aKKymJrTOp. CneNyET IcNOIb3OBArTObKO peKOMeHNDoBaHbIe AKKymJrTOpbl 3apjKaTb IN TOJIbKO 3apJdHbIM yCTPOINCTBOM, peKOMeHNDoBaHbIM dJIg 3TORO yCTPOINCTBa.
AkkymyIaTOp cIeMyET nCnOlb30BaTb TOnbKO nO Ha3NaueHIO. HNKoIgHa He IcNoIb3yIte NOBpeKdEHHoe 3apJdHOe ycTpoiCTBO nINn AKKymyIaTOp. He 3amblaKe To KHTaKTbI aKKymyIaTOpa. PnC oPnKOCHOeHN MToaJIuYeCKNX npEdMeTOB, TaKnx KaK MoHeTbI, CKePkn NInn ABTOpyKn, C NoLOXNtEBhIM OToPiZaTeNbHbIM BbIBOdaMn AKKymyIaTOpa, MOxET npOn3OItn KOpOTKoe 3amblaKaHne. (BbIBObl aKKymyIaTOpa BblrJaT kAk MeTaJInuYeCKNe nOIOckN ha ero Kopnyce.) 3To moKet npOn3OItn pnp nepeHoCke 3apJxehHOrO aKKymyIaTOpa B KapMaHe nIIcymke. KopOTKoe 3amblaKaHne KOHTaKTob MOxET npNBecTN K NOBpeXdEHIO aKKymyIaTOpOB nINn PpeMeTa, n3-3a KOTOPoro OHO npON3OwJIO.
EmkocbI n cpoK cnjxkbI akymyIpyoA cnjkaOTc npI xpaHeHH 6aTapeB IN yCIOBnX BbcOKO IIN HN3KO TeMnpaTpybl, HApPIMepB 3aKpblOM aBTOMOBnIe 3IMOn IIN JETOM. CTePMntecb DepeKaTb AkymyIpyoB M MeCTax C TeMnpaTpyoI 15-25 ^ C (59-77 F). YcToPcIcTB, B KOTOpom ycTAHOBJeHarPeTbI IN XOJNOHbI aKKymyIpyoT, MOKeT BpeMeHNo He paBoTaB, DaJce ecIn aKKymyIpyoT pONHO CTbIO 3apJKeH. 3ΦΦeKTnBHOCTb Pa6ToI bAkkymyIpyoT oO6eHHO 3HaHTeNbHO NaJaet npI TeMnpaTypax 3NaHTeNbHO HnKe HnyI.
2 Μεικητε AcerSystem User Guide.

PpmeaHne: InI npocmoTp paJIa Heo6xOIMO yCTaHOBnTb nporpaMMy Adobe Acrobat Reader. EcnI nporpaMma Adobe Acrobat Reader He yCTaHOBHeHa Ha BaWeM KOMMbIOtepe, UeTHOK MblbIO no AcerSystem User Guide 3anyCTNT CnepBa yCTaHOBky nporpaMbl Acrobat Reader. CneUyTe INHCTpyKUmH Na 3kpaHe, YTObbl 3aBepuHTb IpoceCc yCTaHOBKn. 3a INHCTpyKUmN O TOM, KaK nIb3OBaTbc nporpaMMo Adobe Acrobat Reader, o6paTntecb K MeHIO CnpabKa n NOdEprKka.
OchOBhIe cBeHnIyXoJe 3a KOMbIOTepOM I COBtbl NO NcNoJIb3OBaHnIO
BkIIOUeHne N BbIKIOUeHne KOMNbIOTepa
YtobbKJIIOHHTb KOMIbIOTep, npocTo HaxMITE n OTnycTe BbIKHOaTeJI bNTAHnpaCNOJoxHeHHIOd JKK-3KpaHOM pRdOM c KhoNkAMm 6bICTpO rO 3anycka. Cm.KpatKoe pyKOBOcTBo, Ige yka3aHo paCNOJoxKeHne KhoNk 3JeKTPoNTAHn.
YtO6bI OTKJIIOUHTb NITAHNE, BbIINOHInTe CNeJyUOnne DeiCTBnA:
- Icnoj3yIeTe KOMaHd OTKJIouHeHry KOMbIbTepa Windows
HaxMMTe KhoNkY «Pnyck», 3aTeM BbIbepuTe «3aBepueHne pa6OtbI».
BIOS coΦTyερβε Επρορama 3a KOHΦηγραζη ἀνλαρύερ, Bγραδηα Α BIOS πamETTa ὅ KOMΠΟΤβρα BV.
KOMHIObPbT Bn BeYe e KOHOFNHyprpuaH npaBUNHO nONTNM3IpaH, 3aTOBa HЯMa Hykda Da n3NoJ3BaTe To3n CoΦTyep. TObA MoKe Da Bn Ce HaIoXn, Ako NImate npo6IeMn C KOHOFNHyprpauIraTa.
3a da akTnBnapeBIOS coOpTyepa,HaTncHeTe
Послесователноct 3a 3apекданe
3a da 3aandaTe nocneIobatenHocTta 3a 3apeKdahe B BIOS coΦtyepa, aKTHBnpaIte ro, cIeI KoETo n3bepete Boot (3apeKdahe) ot KaTeropnnte, n3bpoEHn B ropnna KpaHa ekpaHa.
KakДаakTnBnpaTe Bb3CTaHOBraHe disk-to-disk
3a da akTbBnape Te Bb3ctaHOBBAHeTo disk-to-disk (Bb3CTaHOBBAHe Ha TBbpD nick), cTAPnpaTe BIOS coOpTyepa, cNeI KOeTo n36peTe Main (TnaBn) ot KaTERopnTe, n36pOeHn B rOpHn KpaI Ha eKpaHa. OTkprnTe D2D Recovery (D2D Bb3CTaHOBBAHe) B dNbHOTo Ha eKpaHa N i3PON3BaIte KNaBnUnTe
Iapona
3a da 3a da Te npona npn 3apekdahe, akTbBpaJte BIOS cofTyepa, cnei Koeto n3bepeTe Security (Cnrgpnoct) ot kateropnnte, n3boeHn B ropnna KpaJ ha ekpana. HamepeTe Password on boot: (Papona npn 3apekdahe:) n n3non3BaJte KlaBnIte F5> n
I3noJ3BaHe Ha coΦTyep
Bb3pOu3BExKaHe Ha qHIMn Ha DVD

Белека:Таифункияе налична само пи Няков модал.
Korato INHCTaInpaTe MoDyNa Ha DVD yctpoiCTBOTo B rHe3DoTO 3a ONTNUHO yctpoiCTBO, MOKeTe Da n3nON3BaTe KOMIObTa PcN3a rNeJaHe Ha qnIMn Ha DVD.
1 I3BaIeTe DVD nIcKa.

Baxho! Korato staptnape DVD nIeIbpa 3a npbB nI, nporpaMaTa NcKa ot Bac da BbBeTeTe KOd Ha perNoHa. DVD dNCKOBete ce deJeT Ha 6 perNoHa. BeNbJx CneI KATO 3aJaTeTe KOd Ha perNoH a DVD UCTPOiCTBOTO cN. TO ue Bb3npOn3BExka cAmo DVD dNCKObe OT To3n perNoH. MoKTe Da 3aJaBaTe KOd Ha perNoHa MaKcIMyM net PbTN (BkJIouHtEnHO IIpbBna), CneI KoEt IOncIeHNrT 3aJaDeH KOd Ha perNoHa OCTaba NepeMaHeNTe. Bb3ctaHOBaHTo Ha TBbpDnA Bn Dnck He Hynipa 6pOra 3aJaBaHnHa KaO Ha perNoHa. BwKTe IOnHata TabNiua 3a INΦopMaunr OTHOCHO KOJOBete Ha perNoHn 3a DVD fNlMn.
2 DVDФинмьт ecce nyche abTomatuHOn cneI HЯКОЛК eKyHДn.
| Кod на Perwoha | Държава пл Perwoh |
| 1 | СAU, Канада |
| 2 | Еврona, Близьк ИЗТOK,Южна Африка,Яковия |
| 3 | ЮгийТочна Азия, Тайдан,Южна Корег |
| 4 | Латинская Амерika, Астразлия, Нова 3еландя |
| 5 | Би升值 СССР, чаши ot Африка, Индия |
| 6 | Китайская народна penyuблиka |

Белека: 3aда поменITE КODа на PernoHa, постове DVD Финм с дуг PernoHв DVDs усточьTO. Моля, за поеве Инфорmaць Виктse OhлайпомоцTRA.
YeCTO 3aIaBaNbIbnpocn
Toba e cnncbk c eBEHTyaJIHn CNTyaIaIIN, KOITo MOraT dA Bb3HNKHaT, DOKaTO n3non3BaTe KOMNtbpa cN. 3a BCra Ka CNTyaIaIe E daDeHO JecHO peWeHne.
BkIIOUx 3axpaHbAHeTo, HO KOMIOITbPbT He cTapTnpa IIN He 3apeKda.
BnKTe nHdNkaTopa 3a 3axpaHbaHe:
Ako He CBETn, KOMNIObPbT He NOpUyaba 3axpaHbaHe. PpOBepTe cneDnHTe Hea:
Ako pa6o7nte Ha 6aTePnI, MoKe Da e n3ToUeHa I Da He MoKe da 3axpaHb KaMnHtbpa. CbByKeTe AC aAnTepa, 3a Da npEzapeDInTe 6aTePnHnI NaKeT.
- Ybepete ce, ye AC aanTepa e BkIouyen npabnHO B KOMHtba n eKtpnueckno KOHTaKT.
AkoCBETn, npOBepTe CneIHOTo:
Γενικός Θαθηγός Κρήσης
Φρητό PC σειράς TravelMate
Aipio6 Movéλou:
Σειριακός Αριθμός:
Hερομηνία Ayopáς:
Tóncs Ayopac:
πληροφορίες σχετικά με τήν ασφάλεία και τήν ἀνεσήσας
OoynieC Tepi aopaaeia
i TE TPOOeKTIKA autcTG odnyies. DuAaTe TO TAPov ia eAIOvTKI TApatouTIN. AkoAouhote 6eC TG POeIDOTIOHaei KAI tG odnyies TIOU anueiwovTAt OTO TpoioV.
Aπενεργοποίησι Στοῦ προίντος πριν από τον καθαρισό
ByáLTE autoTo Tpioiov aTó TnV pTicau Tou Toixou Tpiv va To KaθapiεTE. Mn xρσιμοTiOIEIe Uypa Kaθapiotiká n Kaθapiotiká με aεpoζλ. XρσιμoTIOEITE εva σteyvo Úφασμa γia Tov Kaθapiσó.
IPOEOXH apopa to a oukeun aTouuvdeanS
Tnpnte Tc akolouoec obnyies kat a n ouvdoan kai atoouvdoen Tns npoxns pemuotc ot n ova da tou tropooobotikou:
Eykataotnte t movada tou tropopoobotikou TPIV aTOn ouvdoan tou kaawoiu tropopoosiaoc otny TAPoxn aTOC AC.
AToouvEoTe To KaIomega TpOpoBooiaC Tpv ATo TnV aPapoeon Tns Movadac Tou TpOpoBOTkou AtTo Tov UToIoloyoiTn.
EáV to Oúatμa δiaθεtei TOnLéc Tnγεc TpOφoδoiac, aTIOUVδeTe NTV TpOφoδoiα tIo to Oúatμa aTIOUVδeovtac oλa ta Kaλωδia TpOφoδoiac aTIO TA TpOφoδotiká.
PPOXH αφopá tny Πρóβαη
Bεβaiωθeite οτι έπαρχει δυνατόητα εύκολης προσβαοῦς οτην παροχή ρεμματος οτην έτοία συνδεete ο το καλώδιο τροφοδοσίας και οτι η παροχή βριακεται ὅοο θ δυνατόν Πλησιεότερα οτοχεριστήου εξοτλισμου. Θαν απαίτειται έλικόψετην τροφοδοσία στον εξοτλισμό, βεβaiωθeite οτι έποσυνδέσαte ο καλώδιο τροφοδοσίας οτο έπν παροχή ρεμματος.
IPOZOxH yia ouvOeUTIKn(εc) EIKovIKn(εc) KApTa(εc) (opioEv a oovTeLa móvo)
O utlooyiotns aac auvobéutai ato Tlaatakeic Eikovikek kapec Eyateotnvecs otic hupes kaptw. Oi eikovikek kapec pooataeouuv Tc m npaaiootiouivec uttooxex ato okov, metaaikaavtiakeieva n aaia oomegaia. Puadte Tc EIKOVIECs kapec yia xpnon tnv tepittwn Tou dev utapxouv kapec otig hupes.
IPOSOXH 0TnV aKpOaon
Ia va προτατεύσετην ακόη σας, ακολουθησε αυτές τις έδηγίες.
Auñote TnV Evtaon Tou nXou Otaiaka mexi va akoute kaqapakai aveta.
Mnv auévTe To EπiTeo TnC EvtaOnc Tou nxou apou exouv ouvnθioe Ta autia oas.
iv
Mnyakoutemuouikn oEyalnEvtaon yia napatetaevec Tepiodous.
Mny ausaveTo eTITIEo Tc Evtaon yia va akouyetaio duvata oE 0opubwdes Tepiabalov.
Meiwote Tnv Evtaon Tou nXou eav dev akoute TI IVE oI avpwnoi Tou evai Kovtac.
PpoeioTOIOEIG
Mn xnpoiotoiieite auto to npoiov kovt a e vepo.
Mny tototheite auto to pioov o aotaoec kaotakki, bao, npattz. To pioov mtopei va tpoekipokalwvtac oobapn zmuia o to pioiov.
- Papéxovtai θüpec kai avoiyata yia aεpiμó, με σκοτό τη δiaαφλιση tnc aξiόπισης λειουργiac tou προίντος kai tyn προσταίa tou αntó uπερθέμavan. Autá ta avoiyata δev πεπειν μπλοκαρισούν ἀν καλυφθουν. Ta avoiyata δev πεπει ποτέν μπλοκαροντai με tyn totoθεπησιou προίντος σε εva κρεβαti, kavaté, xalí, n αλλη πapómoia επιφάνει. Autó to προiev δev πεπει ποτέν τοῦθετειτai kovtá n πávw αntó εva καλοριφερ n aερóθερμo, n ενωματωμένη εγkatáσtaŋ εKTós av πapéxetai σωτός aερισός.
- Ionte mynov otpiwxyvete avtiakejveva otooiouhntote eibouc oe auto to pioiov meow tuv thupwv tou nepiBnmuoc kaohc mtopei va akoumtnouov etnikivouva onieia taons n va bpaxukkawouu depn tou mtopei va pokakoeouv qwtia n nlektpook. Ionte mynov xueote otooiouhntote eibouc uyp o tn poiov.
Tia va atoquyete nTv poklanon balac sta eowteipka eapntmuata kai va aotoppeye tuxov diappoN Tns mtaapiac, mV tottoeTeite to pioov Tavw oE dovouevntikpaveia.
Na uny tn xpnaiouoiie troe o uovhkec aalnog n oe piiaalov dovnoewv TOU evoxoeuvc Tpokaaleoov m avapevo bpauxukkwma n Zmuia otic ouakeuoc potopa, HDD, ontikn mova kai akoun kivduvo ekthetaanc atto tpaneto mtatapiw viiou.
H 8epuokpaia tnc kataw etiapaveia cai tou xwpou yupw aio ta avoiypata aepiaou kai tov npaaopoyea AC evbexetai va auqnEi. TnaTn aoqyn Evexóevou tpaumiatou, povtiote va mny epbouv eTnqn ETo depma n To owaqa
H ouakeun oac kai oi ts eovexeia va nepilaauavouu ikpa 1epntmuata. Puale ta paikp a tia
Xpno nnaekptikou pEuμaTOc
AutoToTPOIOvOaTIPeTIeVaAeioupyeiμTovTuTOpeUmaocTou TPOOBIOPcTeai OtnyEtIKeTa.AVDeV EtATEoiyoupoiYiaTovTuTOuObiaEoiou peUmaoc,ouBouLeuteTovavTIpOSoWToOacnTynTOTIKnOacEtaipia nEktpiaou.
Mny EITIPTETE OIbHnTc va akouptae Tavw oTo kaWiopeuatoC. Mny ToTOteTEAE auto To TPOIOv OE poc Tou mIoPei avpwoiova TepTatnouv TAVOW oTo KAWOIO.
Av xŋaioTIOeTE KAωDIO ETEKTAoNc ME auto TO TPOiOv, OIAUpeuteTE TWS n OIAIK METPnO PEuMAtcTO U EOTAIaOu TPO Eivai OUVDEEVEOC OTKAωDIO ETEKTAoNc DEV EETePVa TNY OIAIK AVToXn TO KALWBIou ETEKTAoNc. ETIONC, OIAUpeuteTE TWC N OIAIK METPnO OLwv Tuv TPOiOVTWv TPOEVIV Aivai OUVDEEVEA OTNV TPiZa TO Toixou DEV EETePVa TNY AVToXn TNC aQpaleiaC.
Mnv utepopotwve tia npoxn, taivia n utdoxoh peuatoac uovdeovtac utepoliká evyalo apiio suakeuwv. To uvoIko foptio tou ouatnoatoC dev TpETe va utepbaive to 80% tnc TPOdiaypaqns Tou kukawatoic ia c diakkadoans. Eav xpoaiouiouvta iaviec peuatoC, to poptio dev TpeTTE vo utepbaive to 80% tnc TPOdiaypaqnc iogodou tnc Taiviac.
O TPOoapuoyaeac AC tou ouykekpiévou TPOiovTc eivai Epoδiaouevo cyeiwévo Bua TPIWv Kaawdiwv. To Buuga TaipiaεI MVO e iya Yeiuwevn TAPoxn peuatoC. BeaiowteIe OTN TAPoxn peuatoC eivai KATALNAA YEIWevn TIPIV OuvdeTeTo Buuga Tou TPOoapuoyea AC. Mny tottoetnoeTe TO Buuga e n yieuwevn TAPoxn peuatoC. ATEUUVeTE OTV NλEKtpoLoyoσaYIA λETTOpeIEC.

PnoeiooioiOn! O akpoebkntns yeiwons eivai xapaktnpiotiko aosaaiaac. H xpnon npoxns peuatoS Tou dve exei yiewei kataaannla evexeta i va kataaHxi e nAektpnAnxiia /kai tpaumatioo.

Σημειωη: O ακροδέκτης ζείως παρέχει καλή προσταία εναντι Σαφυνιού θόρύβου παρayóμενου αἰό αλλες πιρακείμενες ηλεκτρικες Σομεκεύς Ελεδεχεται σεπηρεάζουν τις ἀπίδόσεις autoú TOUT Πθροίόντος.
To ouatnua mtopei va tropoobotnei e eupu qaoja taoewv, atro 100 ec 120 V n aTc 220 ewc 240 V AC. To kalwio tropooboaic Tou Tepiaaebetai o ta ouatnua avtaTOKpiveta otis attaitnoeis xphonc tsxwpac/Teipioxns atto tv OTOIA ayopaoNTke to ouatnua. Ta kalwio tropooboiac Tou xpniouoiouvtai ae alccs xwpc/Tpeioxes TPETei va AVTAIOKpivovtai OTC attaitnoeis autnc tsxwpac/Teipioxns. Ia Tepiaootepe sI npopoopie c oxetikó me tic attaitnoeis yia to kalwoio tropoobooiac, EtIKoivuvnoTE ME Eosouoobotnevo metatwnntnTnT apoxea utnpoeiwv.
Σερβις του προίντος
Mny ETIxepnEe va EITIOKEuauoTe oI iIOI TO TPOiov, KaOwS to avoiyma n npapiaeon Tsw KAlumuatWv MTOpei va OAC EKTEOEi OE ETTIKIVUva ONUEIA taoNc n aeAALLous KIVDuvouc. AvapeptheTvi AOECS TIG EITIOKEUeC SE apuodio TPOoWtIKo EITIOKEUwV.
Byalte auto Tnpoiov ato tny tpia tou toixou kai npapatEmuTE Tc EtnIOKEUeC O apoio TpoosNIKO EITIOKEUw UTRO Tc akOLOUeC ouVthkeC:
- Otav to kaλωδio pεύματος ἡ πρία Εχει Αντοστεί Κημία ἡ εχει Πρίστεί.
Av exei xutheta uypo oTo Tpoiov.
Av to pioiov exei kTeoie o bpox n vepo.
Av to Tpoiov exi Teoei n exu UTOOTeζmu To Koutou.
Av to Tpoiov Tapouaiacei iia eupavn aalayn otnv ano0n,tnou oawvei avaykn EITIOKEUNC.
Av To Tpoiov λειουργεί κανονικό ταν ακολουθουνται οβηγες λειουργίας TOU.

Enmuon: Na puOmuCEte movov Eeivota oToixia eEvxou Tou kALUTTovtai aTIO Tc Odyiecs xepiouou, 1OTI n akatalnn npUPMn aALWv oToiExiwv EEvxou EvExetai va katalne iE AaBn KAI ouxAva ataitei tA kETatev n Epyaia ato apIoio TeVko yia tvv EtTavaopapou Tou PtoiovTOc e KaHn LEitoupyia.
Ooyniecs yia tnv aoopaan xponn ts mtaapiaac
Autoc o opntoc utoloyiotx npoiitoei mtatapia 1ovw vIthou. Mtov xnpoiotioite OE voiaevo, uypo n diaipwntiko nepiialov. Mny tototheite, pfayete n apivete To pioov mea n kovta e Tnyn thepotaTAC, oe tcn otou n thepokpaia eivai uynan, oe atuethetaic ekteon oe tvoto nlaikof wC, oe qoupvo iikpokmuaw n ole doxeio uto tiocn kai povtiote wote va mnu ektietai e thepokpaoies n avw aTTO 60^ (140 F). H m npnon autuw twv odnyiw evexetai va pokaolei diappon oecos tsnc mpatapiac, utephepavon, ekpnn n avaalefn tnc kai tpaumato n/kaalabn. Mny trutate, aoivete n atrouvarupalooyeite tn mpatapia. Eav napouiaote diappon tsnc mrtatapiac kai elthee tne etaqn me ta uypa tns, flluvete nTv tpeoxn me afovo vepo kai zntnoe iatpikiq povtida aieoWc. Tia loyous aopaleias kai yia ttataon ts cwn ts nc mttatapia, dve tnttpeTTaII npion oe thpokpaaiecs katw aTTO 0^ (32 F) n TAVW aTTO 40^ (104 F).
IIIpeic Etiooieic iaac vae aitatapiae eittuyxavovtai mvo eTa ato du n tpeic kuklous Tllpouc foptionkai ekpoption. H option kai ekpoption ts mtatapiac mtopei va npayatotointhekatovtadocfopecs, ala teikka 0e tlealtheta. Otav npapatnpnote oio xpvoc aeitoupyiac ivai onmuvtikakipotepoc ato otiv ouvn0w, ayopaoTe ia vae mttatapia. Na xpnojmoite MVO EYKepiuec mtapaties, kai va etivaapoptiete Tnv mttatapia oac moV oe touc EYKEpiEvous via tn ouykepievn ouokeuon ooptiotc.
Na xpnaiuioieite tn mntapia movo yia to okoio yia tov otioo npooipcetai. Mn xnpoiuioieite note opriatn n ptatapia tou exe iutootei na. Mn bpaxukkawte TN mptatapia.Eivai duvatov va poknnei bpaxukkawma otav katoio e aattakiko avtikeiyeo otw ecva vovmu, ouvetnpac n otlu opeei oe ateuthetaic aocvdeon to etikó (+) kai apvntiko (-) akpoedktn ts mptatapiac. (Auroi exouv tn oopfn metaikwv elaaatowv nawv ottn mttapia.) Autoevexetai va oumué otav metapepeTE, yia tapadeymuia eeppiki nmtatapia otnv toetin n to taavaki oac. H bpaxukkwan twv akpoedktw evexetai va tpokaalee naBn OTn mttapia n to avtkeiuevo tou touc fepei OE tapanf.
HIOXsKai n biapkeia zwns tns mttapiaac eiv afoeTe tn mttapia ekTeeiEvn oepa n yuxpa np, otwsc eo kaeioto autokivto to kaokaip n to xieuwa. Na povtiEe Tavta ia tn pfuaagn ts mttatapiac oe epukpaoiec mTa5u 15oC kai 25oC (59oF kai 77oF).Sigmaen uptapia oeunn hn xanm
vii iipwcs optiaevn. O tiooeic ts m tataipacpiopiciovtai onuavtka e 0e pkoepaoie c kata tolu xamnoTepec tou nEvoc.
Mny TATE TIC MTATAPIEC SE AVAMEVN WOTI DIOTI EVEXETAI VA EKPAYOUV. OITATAPIECS EVEXETAI ETIONS VA EKPAYOUV, EAV EXOUV UTOOTEI BAAJN. PETAETI CXPNIOTIOINVECS MTATAPIECS OUMWVA ME TOUC TOTIKOUC KAVOVIOUC.
Iapakalouμe φροντίσε γι την ανακύλωση ὄταν Ανό εἰναι εφικό. Mην απoppΠετε ως Μικίακά απoppijματα.
Oi aoupuates ouakeues evexetai va eivai euaohtes o napeioa c ato tn mntapia, yevovoc tou mtopoue va etnpaeoei Tc EIOOeIc.
AvtikataoTaon Tns ouotoixia ttatapiow
H oepa Fopntoc TPOoawTikos H/Y xpnaiotnoiei T mtaTApia lioiu. AvtkaataoTnote T mtaTapia eia aaln liou toue autn Tou diatetai e to Tpoiovac.
H xprn an aaans mttapiaac mtopei va tappouaioe i kivduo tiupkayiaq n ekpnns.

Ipoedoino! Oi mTatapie c TOpoe i a Ekpayouv av dev tC xepiotee oWotA. Mny tic atoouvapuoloyeite n tic tTeate OE 山 . Duale ta jakpi a to taiaia. Na tnpite touc totikoC kavovioouc oxetikae tn biheon xpnoipootinmevw mTatapiw.
Ipoqulaeyn yia tn ouokeu n OTIKOU dioKou (opioeva movtela muvo)
Ppoox: H napouoa ouokuei Tepiexei eva ouotma leizep kai eivai taqiovumevn «IPOION AEIZEP TAeH2 1(CLASS 1)». Tpeipittwn otoiouohtote TpoBAnatoC noukuei, Etnikoivwovnte To IanaioTepo
EEOYIOAOHTMENO kataoTma Eaunnpetno. Ia va aonpuyeTe nvy aoeon ek0e an otny akiva aeep, mny eineipnoe Tva oioe To ppiBna
ΠΡΙΟΙΝ ΑΕΙZΕΡ TΑΞΗΣ 1 (CLASS 1)
ΠΡΟΣOXH: AOPATH AKTINOBOIA ΛΕΙZEP OTAN ANOIXTO. ΑΝΟΦΥΓΕTE THN EΚΘΕΣΗ ΣΤΗN AKΤΙΑ.
APPAREIL A LASER DE CLASSE 1 PRODUIT
LASERATTENTION: RADIATION DU FAISCEAU LASER INVISIBLE EN CAS D'OUVERTURE. EVITTER Toute EXPOSITION AUX RAYONS.
LUOKAN 1 LASERLAITE LASER KLASSE 1
περιβάλλον λειτουργίας

IpoeiooioiOn! Tia loyouc aovaeic, atvepyoiohtoe 0aes TIC aoupatec oukeues nTIG ouokeues paioetadoonkata Tn xpnoTou oopntou uTOLOVIOtN KATU aTIC akoloueSc ouvneKc. AutcO ioukeues evexeiTVA TEPIAauavouv aaA dev TepiopiQovTAta akoloutheta: aoupuato LAN (WLAN), Bluetooth n/kai 3G.
Na 0muote otpiptte va tnpite tuyov eioikouc kavoviaouc trou ioxouv oe
otioahtote xwpo kai va atvepyoioite nadvta tn ouakeun oac otav n xpion tnc
atayopeutai n otav evexetai va tpokaolee ianepuboles n kivuo. Na
xnoioutoei te oukeun mvo otic quoioloyikec theoeis leitoupyiacn.
H ouakeun autn tllpoi tic onyie c tepi ekthetaon c RF katn quaioloyik n ts
xpon, kai autn ottwca n k nepaia ts tototheouvtai toulambdaiotov 1,5 ekatoot a
(5/8 ivoec) jaepia atto to owa caac (avatpexi tto diaypauma katwtpw). (\Delta \mathbf{v}) th
tpeine va tpeixei metalakia avtikeiiveva kai n ouakeun th pnetei va tototheetaitai
otnv avwtpaw atoataon atto to owma oc. Tia tvn etituxm metadoon apxeiwv
(\delta \text{都} \text{多} \text{多} \text{多} \text{多} \text{多} \text{多} \text{多} \text{多} \text{多} \text{多} \text{多} \text{多} \text{多} \text{多} \text{多} \text{多} \text{多} \text{多} \text{多} \text{多} \text{等} \text{等} \text{等} \text{等} \text{等} \text{等} \text{等} \text{等} \text{等} \text{等} \text{等} \text{等} \text{等} \text{等} \text{等} \text{等} \text{等} \text{等} \text{等} \text{等} \text{等于} \text{等} \text{等} \text{等} \text{等} \text{等} \text{等} \text{等} \text{等} \text{等} \text{等} \text{等} \text{等} \text{等} \text{等} \text{等} \text{等} \text{等} \text{等} \text{等} \text{均} \text{均} \text{均} \text{均} \text{均} \text{均} \text{均} \text{均} \text{均} \text{均} \text{均} \text{均}
IatpiKec OuaKeuEc
H Aetoupyia oTIOIOBnTote EOTIAOPO paioeTaOoNS, TEPIAuBAvOeVWv Tuv aupuATw vTNEFOWV, EVEXeTai va ONIUOpye IapeMuOeC otN LEIToupyia avETAPKwS TPOATEUeVWv IATPIKWV OAKeUw. ATUEUUVTeIe OE evav yiTpO n OTov kataKeuaotn Tns IATPIKNS OUKeUNs YIA va BEEaIWteE av Eivai Etapkwo 0wpaikoiEvn anto ExepiKn Evpeyra RF n eav exeTuXov atopiec.
ATTEVEpyoToinote Tn OuaKeun oac Evtos Eykataotaoew Uyeiovopikns Povtiboc otav utapxouv avaptnevoi kavovioi oae autous toux wopous Tou aoc ntouv va oumuoppwteite. Ta voookoeia n aoec Eykataotaoei Uyeiovopiknc Povtiboc evexetai xaonoiotoiouiv eoTliou oou tha mnpouoe va eivai euaiaehtos OTNV eEgTEPIK h Evpeyia kTIOUw RF.
Bnatoobots. OI kataaekuaatcE Bnatoobotwov uviotov n biatnpon an oataaons
biawipioou toulaxiotov 15,3 ekatootwv (6 ivoec) metaoupumatwov ouakeuwv
kai evoc Bnatoobotn poc atoopuyiv Evexoevcns napeboan cTn aeitoupyia tou
Bnatoobotn.Auteoi outaoeic oumuwouv e Tnv avéapnttn Epeuva kai tic
outataei ts Epeuvac Aaupuatnc TeXvoLoyiac. Ta atotaoun xpnaiopoiouv
Bnatoobots a Tpentei va fpvotizouy ia ta akoloutheta:
Na diatneite nava tna ouakeun o aototaon eyautepn aTo 15,3 katoa (6 ivoec) aTo to bmuato
Na unv metaepetntoukeun kovta oTo bmuotOn otav n oukeun eivai evepytoinueyn. Eav utoTneueote npaeboan, aeevyotoiote tn oukeun 0ac kai alaaTe Tn theon tns.
Akouotiká baŋkoiaç. Opiévecs yπφiakec aoupuatec ouokuec evóxetai va έημioupyouv πapeβoilec σe opieva akouotiká baŋkoiaç. Eav napouiaotéi πapeβoλn, αuβouleuteite tov paoxa utnpoeiwosac.
Ox̃ματα
Ta onmuata RF evexetai va etnpeacovuakatala n avetapkwc owpakioevanektpovika ouotnmuata autokivntuv otwcs nektpovika ouotnmuata evxuockauiouw, nektpovikacvtoiaohtikc (avtmtlok) ouotnmuata tefonang, nektpovikacouotnmuata eelyou taxutntac kai ouotnmuata aepoakw. Tia Tepaipertpw anpoopoeic, atteuohuvteite otv kataokeuaotn tov avitnpoawto tou, tou oxnatos agn aloueotiaou tou exi ppootei. H ouvtnpnnon n eykataoataon tnc ouoakeunc ole oxma Ta prpentei va avatibetai mvo oe apodio texviko. H eopaulevny ekataoaon n ouvtnpon en evdextai va eiva etnikivduvn kai mtpeoi va akupwoei otoiaabntote yywnon ioxuei vtn ouokeun. Na eleyxete ouxva ev o aupuato cgoattiaou tou oxnatos cag eivai owotya eykateotnevoc kai leitoupei kavovica. Na mnu attohkenuet e meaepete eupalekta uypa, aepia, n ekpnktka ulika oto ibio diaepiaota otou bpiokeeta kni ouakeun oas, ta eapntnata n oi bealtowcinc. Tia ta ouhata Tou eivai epobiaeaev ma eaposoako, va thupaote oti o aepoakoi pouakwovu ne yeyaln duvaum. Mny tottoheite avtikeeva, teriplaubavouevou ekatotnevou n opoptou aoupatou eotlliaouo 0to xwpo ttawv ato tv aopsoako n 0to xwpo avatttuengtou aepoakou. Se TEPITTOWE OOPALEVNC EYKATAOATAOCTU OAPUATOU EOTLIAOUM a0a 0to oxna kai avatttuengs Tou aepoakou, evdexetai va tpokLntheoiobapoc traupatiouoc. ATTayopeuETAI n xrhoon tnc ouakeunc oac katnTv tttnoe ae pookaoc. ATEVEpyoiojote tn ouakeun tpiv atto nTv ettiblaon ogst Oe pookaoc. H xrhoon aoupmatuv tnleaukeuwve eva aepoakapooc evdexetai va eivai etnikivuvny ia ng letoupyia tou aepoakapouc, va tpokaloei diakottn tou aupmuatou nleppwiok oiktoukai vta ivai tnapovoun.
Δuvntiká εκρηκτικά περιβάλλοντα
ATVEpyoTIOInote Tn OuaKeun oac oleioobHnToe Xwpo Me duvntikk A tmuOgpaia kai OumuopppWte iE ola ta onmuata kai tic nyiec. Ta duvntikka EPKNTiKa TEPiBalaovta TEPiIaMabavoux wpuoc otou e quioLOyiekcs uovtkecs ouviotatai n atvepyoTioan tou kivtnpau taou oxmuatoc as. Oi aniece a teioouc xwpous 0 ttopouoav va tpokalaeouv ekpnng n Tupkayia tou evdexetai va exiws atotelaea to oomegaTK paumuoi no akoum kai to thavato. ATVEpyoTioInote to opnpto utloyoiatn KovTa OTIC AVTAE KAUIMW TWV TPaTpiWv. Na nperte touc TPEPIopiouc 6oov apopat n xphon padionektpiko EOTIAIOu O antohkecs Kauoiuv kai xwpous pfuaLncs kai diavoumc, epyootaoia xnuikw ovuiw n oe npontou Bpiakovtai e EElign DpaTNIOTNE AvativaEew. OIEPOXc ME duvntikk EPKNTIKAtuoqapia Etianmaivotra uoxva, alaa oxi TAVTA, pntwsc.
Iepiaaavovxwoukato kataotpwata Tlaoivv,eykataoataeic
etaopacnanto0hkeuaonxniukw ouoiw,oxnataTou xnpaiotiouuv
uypoitoinveo aepio napaywyto Tou tpelambdaou (otws TPOTTAVIO n Boutavio) KAI
xwouc otou n atmoosipina TEPIExixnikc ouiec n oomegaatidia otwS Kokouc,
okovn n metaalke tsoupeç. Mny evpyoioite TE oopnto UTOLOYOT otav
atayopeetai n xpnoan aoupatowv tnAeewvw n otav evdoexetai va Tpokaolei
tapeβoaleq n kivoduvo.
Kλησεις ἐκτακτης ανάγκης
Pnoeioon: eivai epiiktn n ptpayatotoinoan knaoeewktaKTncs avaykncaTn ouakeun autn. Ia va ptpayatotoinoete mka hon ektaKTncs avaykncaTpETeIva kaloeote meow tou kivntou tnlepwovou aac n allou ouotmuatos Tneepwivkiwv knaeewv.
OoynieC Tepi diaeos
AtayopeeetaipntncEvlakywnktpoviknsoukeuncta atoppmuata kata ndiheon. Ia elambdaotroinon tns moluvanskai diapaliantnsattolutns ppoataiaactou maykociuoupeipbaalovtoc, Tapaakalouepovtiote yia tvv avakukawan autnc. Ia terpaitepw TTnpopopiec oxetikae touc kavoviouoc trepi axpnotou nektpooyiko kai nektpovikou exonlaioou (WEEE), etiokeptheta tnv ioosla http://www.acer-group.com/public/Sustainability/sustainability01.htm.

Evμερωτική οῦγία περί υδραργύρου
Tia TPOBoAeic me EoWTEpiKO aAMTTnpa n NkEToViKa TPOoiOvTa e OoVn LCD/CRT xwpi OTIAOoWtIaO LED: H/OI Luxvia(εC) oTO EoWTEpiK TOU EV loyw TPOIOvTOc TEPIeXei(OUV) UOpapyupo KAI Oa TpETeI Wc EK TOU O avakukawon n diAtheN tns(touc) va TpaymuTtoIEiTa OuMPwva ME TIC DIATAEci Tuv ToTIkWv, TOLteiaKwv N oOoTIOvDiakwv
vouw. Tia Tepaipew PAnpopiec, ateuuuvteiE vEvwn Bioynxaviw HAEkpovikw otn dieuuvan: www.eiae.org. Ooov apopa t n diaeon luxviw avaloywc Tou tuTou autw, avatpeTe otn dieuuvan: www.lamprecycle.org.

ENERGY STAR

Ta TtioTtioInuEv a TpOIOvTA ENERGY STAR tns Acer aac
EgIOKovOouv XpNmuata MeiUovVtAc To EvpeYiaKO KooToc kai
TPOoTATEUovTAC TO TEPiBaALov, OxI OMuCs EIG BApOs TuV
AeIToupyiw n TnS atIOooNt cou. H Acer eivai Tepnpavn Tou
TPOoQePeI OTouc TEIATeC TnS TpOIOvTa ME To Onma ENERGY
STAR.
- Iapayouv Aiyotep n 0epmuotn ta kai eiwovu v ta yuktiKa optia ka ta 0epoTepa klajura.
- Metaiaivouv autoujata oic kataotaceis "avauovns oovns" kai "avauovns uToLoyoiTn" utepa a10 10 kai 30 aeTTa abpaveiaac avtioiXa.
- Eπαναφερατενιολογίσησε Εκατασαη εθοιμόπης από την κατασαη αναμονή πατώντας κάτοιο πλήκτρο του πλήκτρολογίου ἡ μετακίνωντας το πόντίκι.
Oι Απολογίσες Εξοικονομύν ενέργεια σε πτοσσό τό ἀνω του 80% σε κατάσταηθ "avαμονής".
H ovouaia ENERGY STAR kaio nma ENERGY STAR eivai nmuata kataeovta otic H.IA.
Σuμβouλές και πληροφόρίες γία ἀνετή χρήση
Oi xŋoTcS UToLOyIOTWv EvOExTai va TapaTovOuVTai YOttIKn KOTIWan KAI Tovokepalous MTea ato TpaTetauEvn Xpnoi. OXpnoTcS BiaTpexouv ETIangs ToV KIVUVO OwmuATIOOU TpaumatiOu MTea ato TioAeC WpeE epyaiaC mTPOTa aTO evav UToLOyoiTn. OjakpcsePioboi EpyaiaC, n KaKn OTaON Tou Owpatos, o KaKcSe OuvNtEie C epyaiaC, n KOTWan, oi AkatalAAeC OUVHKeC epyaiaC OTWCS KAI AALOI TAPayovTEa uGavov NmaVTiKa Tov KIVUVO OwmuTko TpaumatiOu.
H eopaaevn xnpn evoc utoloyoiatn evexetai va oynnoe ie ouvbpopo kaipiaiou oawna, teovvtidba tevovta,otevwtikntevovtoelauptiida n aalecs muoeketikc diatapaxc. Ta akoloutheta oumuittwata evexetai va tapouoiaotouv oe xepia, kaptouc, bpaxiovec, wouc, auxeva n pIaTn:
puδiaσμa n ia aiθηn kaipuaot ng knσμou
alyo,epeiomu n euaoetaia
TIOvo, TpHxiMo n Evtovn oΦuξn
XII
duokaupia n oipio
- ψυχρότητα ἀδύναιδε
Eav napouiae auta ta ouuTTwata n tuxov aann Tepiodikn etiiovnu
duoopia n/kai nrovo nou oxetietai me tn xpno n uToLoyioTn, ououaleuteie
aesos evav iatpo kai evnpowote to tna uyeic kai aoeaaia ts etaipiaac oac.
H evotnta toun akolouthetai tapexei ouubouaes yia nio avetn xhon tou utoloyiotn.
Ppooioipouo tszovns aveons
Ipooioiote tn wyn aveong tou oomegaosacpuoizovtacn ywvia napatnpno tsou mvtop, xonoiotoiwvtae evu utroio n auqavovtas to uos tou kaiaogote va etituxete meyiotobaofoe. Tnpote tic akolouoec oumuoue:
va atoepuyete Tny npauovn oe mia otaepn theon tou wuato yia eya lo xpvikó diatnma
- va atipoeuyete va okubetae tpoC ta eutpoc n/kai va yepve tpoC ta triow
- va onkwoote ouxva opthetai kai va Tepippeote Tpiyupw wote va apaieitai n KOTWON TOWU WOVA taw akpa
va avaataeTe yia ouvtoua xpoviKa diaotnmuata wote va xaapwveo auxeva Kai o Woi
- va aTTOpeUyETo TEvTuW TuW uWv nTo OnkWpaTw wuW
- va εγκataστησετe katαλληλa tην εξωτερική Θθόνη, to πληκτρολόγιο και to ποντίκι και σε βολική απόσταση
- éav πapatnpéite to móvitop yia meyalutepe xpovikó diatnma atio o0o ta éyypaqaσc, totoetntate nvy oovn σto kεvtpo tou ypaepiou αaωte va ελaiototnoietai n kottwn tou auxéva
Φροντίασγς την ὄραση σας
Oi TOnAe Cwep TnapaHpnoans, ta AkataaHa yuaia n paKoi Etnaqns, to EKTupawtiko Qws, o UTepeBolikoc Baooc WouEvoc Domegaiu, oi Oovc Me kakn Eotiaan, ta TOnu Mkpa Ypaumuata kai oi Oboce Me xamno Baoo avTHeoans mTopouv va KATAOTNVooV Ta maia Oac. OI Evontec Tnou akolouoov Tnpexouv ouotaee Tpi pei Eiwon ts OTTIkn KOTIWONs.
MáTia
Na 5ekoupaczETa maia oac ouxva.
Na 5ekoupazet Ta maia oac otni diapkeia ouxwov diaalemuatwv aTouapakpuovotc to 5emuoa c atio to movitop kai eTiaovtac ta e kalio paikpv onueio.
Na avoiyokkeivete Ta maia oac ouxva wote va napaevouv uypa.
Oθóvn
Na diatnpieTe Tyn oOvN kaOpn.
Na kpatate To kepaai oac oe uynlotepo onmuio ato tv naw akpn tns Obovns wate ta maia oac va kateuovovtai npoc ta katowotav koitaetz to Kevtpo ts osovns.
Puθμiαte Tn φωτεινότητa ἡ/κai Tnv αντίθεοι Tns ΘΟγονς Εβολικό επίπεδo για βελτιωμένη Duvatότητa aváγνωσς Tou Kειμένου Kai Kaθαρότητa Twv γραφικύν.
Na eaaieeTe to EkTuawtiko kai tic avaklaoeis Ens
TtiooetuwvTac nV oHovn ME tpoTTO wote n ia TLEUPa TNS va eivai Otpauev npoc to npapato n otioaOnToe Tnyn QwTiaou
- ελαχιοτοῦντας το φωτισμόου του δωμαίου με τη βοήθεια κούρτινύν, σκίαστρων ἡρλύν
XpnaiuioiowvtaiciaTnyfQwroScepyaoias
aalaaocovtac n yowvia npnns n06vns
XpnoiopoioiwvtaεvaipiaTPOeicwnsTOEKTupawtikoUΦwTcS
XpnoiopoioWvTcEvaavtiOaBwTKoVEIO,OTIWcEVAeTApxio xaptovoiou TOU EKTEIVETAI aTO IV TAVW akpn Tou mTPOATIVU Mepouc Tns oOvns
Na aTPOEUYET npuOUIIaN Tc oOvns Oe ia aBoaY wovia nparipnoans.
Na atoqeuetye va oTpepete To bAmu aocse Evtove c Tnyec QwToC, OTOc aoixta npapthetapa, yia jakpcxovikc Tpeiodouc.
Avantuξη kaωv ouvnθειων εργασίας
Na uioTeiOeTE Tc akolouTeC auVnTheEe EpyaiaC wote n xpnoT ou utlooyoiTn va aTIOBei TIO EKOUpaOTn KAI TAPaywIK:
Na TpoypaumatiEe Ouvtoa dialemuata e Kavoviká diaotnμata kai ouxva.
Na ekTeIeIe opioEvEc aoknoEic EkTaonC.
Na avanveTe kaapo aepo ooo TIO ouxva eivai duvató.
Na aokεiote ouxva kai va diatnpeite εva uyieσ ωμa.

IpoeiOIOiOn! Aev ouviotoue Tn xpnoTou UTOLOyoiTn Oe kavatne KpeBati. Eav auto eivai avantopeukto, va epyaZeote mvo yia iikpa diaoTmuata, va kaveTe biaalemuata ouxva otwCs kai opioevesaoknoeic Ektaonc.

Σημειων: Πα περισότερες πληροφορίες ανατρέξετο στην ευθήτα "Προεδοτοποείς κανονισμύν & ασφαλείας" στη Σελίδα 38.
Oλα με τη σερά τους
Oa eTlUpuouaue va aac uXapriotnoume Tnou eTtIeGATE to oopnto utlooyiot nC Acer oKoTIO Tnv avTtEwTian Ttw avaykwv Oa iopnto utlooyiotn.
Oioynyoioa
Tia va oac Bonthoume otx pnoan tou opnpou uto looviotn Tc Acer, exoue oxediacevaetvexepiwxpons:
Pnwa a' 6a, n apia Movo yia apxapiouc... oac Bonthetai va EekivnoeTe Tn puOmuon tou uTLOayoiTn oac.
To Evtutio Feviokos Oboyoc XpnoC Seipac TravelMate Tepiexi xnpoiec
Tnpoopoeic Tnou ioxouv yia ola ta oovtea tnc oepac TpoiovTuw TravelMate. KaunTEI Baikc hmuata, otws Acer eRecovery Management, xpnan
TnKtpoloyiou, Hoxc k.l.t. Napakaloume onneiwote otl oyw tnc quanotou, o
Feviokos Oboyoc XpnoC kaow cai o AcerSystem User Guide Tnou avaypapetai
TIO KATW, avapoeovta Tpeiotaoiaka oE aeitoupyie nduvatotntc Tnou apopovu opiaeva mvoovtela tnc oepas, aAxA ovaykaia to ovtelo Tnou
TPOUNeutnkate. Autc oc i TepiTTwOeic onneiwovtai oTO KEIEVOp TE npaon "opiaeva movtela movo".
O Pnyopoc oyos napouiae iis baikc duvatotntc kai aeitoupies tou vou oac utoloyoiin. Tia pioootepei npopopiec oov apopa tov tpotto eov otio o utoloyiatn cttopei va oas bonnoe va auqnoet nTv pataywyikotnta oac, avatpexte oov AcerSystem User Guide. O oyoc autoc piaalabvei aleitoupeic nInpopopiec oxetikak ehemuata otwcs ta bonthetaika TPOypaumata tou ouotnatos, tv etavaopadoboevww, tic tlloyec tnektaancs kai tnv avtietwiion tropbamatw. ETTtleov, ppialaibavei IINpoopopiec oxetikak eTnv evunan kaahs aleitoupyiac kai touc yevikouc kavoviouoc otwcs kai tics tpoebottoirois aoapaleiac via to opopto utoloyoiin. Diatietai oe mopfn Portable Document Format (PDF) kai exi tro-eykataotaei otov utoloyoiin oac. Aokouhote ta tioeva bieta ata tvn ppobaon oe autov.
1 KávTE KλIK ΟTO KOUμΠI Evapξη, Θην επιλογή Ελα τα προγράματα, και Θην εντολή AcerSystem.
2 KávTE KλIK Θην ΕπΙλογίA CerSystem User Guide.

Σημειωη: Γιαν δείτε to ἀρχείο πρέτειν α εύλαι Σγκατασημένο το πρόγραμα Adobe Acrobat Reader. Av δεν εύλαι Σγκατεσημένο το Adobe Acrobat Reader στόν Φιπολογίστη σας, η επιλουήτου AcerSystem User Guide θα εκτέλεσει πρώτα το πρόγραμα Σγκατάστας του Acrobat Reader. Akολουήσε τις Εθήες στήν Θθόνη γίαν αλοκληρωσετε ένγ Σγκατάσταŋ. Για Εθήες σχετικά με το πιώς νχροσιστοίσετο το πρόγραμα Adobe Acrobat Reader, Προστέλάσετο μενου Boŋθεία και Yποστήριξ.
Baoikn povtida kai ouuoulecs yia tn xpnoTou uToIooYIOIOTn oac
Evpyoioiog kai aeevpyoioiog tou uioyoiot oac
Tia va eevpyoioiOeTe Tov UTOLOyoiTn, aIIa TATNOte KAI EAEuOePoWTe TO KOUPTI TPOPOOoiac KAtw anTo nV oOvN LCD dIIa Ota KOUPTIA taxaieic EkTeAonS. AvatpeEgTe OTNV EvOTnTa Frnyoporos obnyos via tn eoan Tou KOUPTIOU pEuIaTOc.
Tia va attevepyoioinoe Tov utlooyoiotn, kavte eva atro ta akoloutheta:
Xpnoiopoioiote nTv EvToIaTepuaTIOOc(shutdown) twv Windows Kavte kAIk oTO EvapgN kAI OTuouvExia kAIK oTO TepuaIOoC.
Xpouoioane to koupi tropoooiaoc MTopeite va thee tov uToIoloyiOn e aeitoupyia avauovn, TtawtaTov auuuao o nnKtpwv ouvtóeuon yia aeitoupyia avauovn

Enmuon: Av e tpoite va attepeytoioe kavovka tov UTOLOYIOIaC, TATNOTE KAI KpatnoTE TATNUEVO TO KOUPTI TPOPOOocia yia TEPIoOtepa aTTO TEOEPA DEUTEPoAETTA WOT E VA ATTEPEVPOITIOHc O UTLOYOIAI. Av attepeytoioe ToV UTOLOYIOIaC kai ΘeLTe VA TO EVEpyTOIOSeEgAV, TEPIeVEToUAXIOv duo DEUTPOLETTA PPIV VA TOV avoiEe.
Φροντίδα του Αντολογίστη σας
O utloayoiatn oas a aoc Eutnpetie kala av tov povvtiete.
Mny ektheTE TO UTOALOYIOIaAeOa OE nlaioKo Wc. Mny Tov TToTOnTe TE KovTa Oe TnyeC 0epuOTntaC, OTWc To KALOpipeP.
MnV EKETET TOV UTOLOYIOIOT NOE TPOKpOIEC KATW Tuv 0°C (32°F) n TAVW Tuv 50°C (122°F).
Mny ekTeTeToV UTOLOyoiTn Oe yayvntiKa Tbeia.
Mny EkTeTe Tov UToLoyoiTn oE BpOxN uypaia.
Mny pixvETe vpo n oiooHnTote upo oTov utoLoyoiTn.
Mny EktheTc Tov UTOALOYIOItn o ixupc suykpooueic kai Dovnoeic.
Mny EKTeTE TOV UTOLOyIOIaN Oe OKovn Kai Bpwoia.
Ioté mny tototheite avtikeiEv a TAVW OTOV UTOLOVOTN YIA VA ATOOPUYET TNY TPokknonzniw.
Mny xtutate duvata tnv obovn tou utoloyoiot otav knkivete.
- Ionte mynv tototheite rov utolooiotn oe avioortoeec etinipaveiesc.
Φροντίδα του προσαρμογέα (adapter) ρεύματος
Akoouoov ioi povtioa tou tpoaaoyea (adapter) euaoc
Mn ouvOeEte Tov TPOoapouoyea oToiaOnTne aAnouokueh.
Mny TATATE ETVW OTO KAWOIO POEUMATOI N TOIOTEITE BAPIA AVTKEIeVA ETVW TO. KATEUoVETIPOSEKTIKa TO KAWOIO POEUMATOI KAI AALAA KAWOIDa paKpia aTROpeN TPO TEPVaEIO KoOmoS.
- Otav βγαζετο καλωδιο από την πρία, μην τραβάτε το Εἰδιο το καλωδιο, αλλά τραβάτε το φις.
Oi ouvoikc e tnpoic pufato tsou eoTiaou Tou evai oTo peu a 0e Ta TpETe va eTepvave nV avtoN tv KAwbiou av xpoaioTOieTE etektaon. Etni, n ouvoikn tepn an olou Tou eoTiaou Tou evai ouvdepeveoc emu Tpiiz taixou b Oa TpETe va eTepvaie nTv avtoN tns aopaleiac.
Φροντίδα του πακέτου μπαταρίας
Akoouoov troio yia n ovoTia tou nakotu mataipac
XpnoiopoioieIe movo mtatapiec iou tou Tou avtikataaotaon tou. KLeote to peua tpiv va apaipeoet n va atikataohtoe Tis mpatiec.
Mny taiεTE μE TIG μTATapiεc. KpatnoTe TIG μakpiα ato ta taiδia.
- IeTaeTe Tc xPnOIOToINIeVEs mTATApIEc OmuWva TE Touc TOTIKoCs Kavovioouc. Avakukwote TIG, oLc, av eivai duvatov.
Kaθαρισμός και επιοκεύη
Otav kaapizete tov uToIoyoiTn, aKoIouThnoTe ta Ens Brmuata:
1 KLeiTe Tov UToIaOlyoiTn Kai apaipeTe TO IaKETO uTataiaq.
2 AToouoEtoTovPiopapuoyaepuatoC.
3 XpnoiopoioiOte eva maakó, uypo Taví. Mn xpnoiopoioieite uypa Kaθapiotiká n kaθapiotiká oE OTIpeI.
Avouβεi kαττοι ατό τα παρακατω:
O utroloyoiTnC ETTeOe OTo Edaos n utteoN Zmuia to Kevptko epos
O uTIOLOYIOIOTnC AEITOUpyEi KAVOVIKa.
Iapakakouμε avatpéεTE oTV evotnta "Euxvεc epwntoeic" otn oelia 33.
Πληροφορίες σχέτικα με τήν ασφάλεια και τήν ἀνεόπ Σας
III
OdyieC Tepi aopaaeiae i
IpoqulaqyiaTnouakeun oTTIKOU dokou
(opiouéva oovrλa móvo) vii
περιβαλλον λειτουργίας viii
IatpikeC OuaKEUeC ix
Oxmuata ix
Δνυπικά εκρηκτικά περιβαλλοντα
Knaoic Ekaktns avayknx
OdyieC Tepi diaeonc
Evnpewtikn oynia πepi ubpapyupou x
ENERGY STAR xi
Σμβούλες και πληροφορίες γιανετή χρήση
Oλα με τη σειρά touς XIV
iv
Oio8nyoia xiv
Baoikn φροντία και συμβουλές για τη χρήσι του
UTLOAOYIOIaOaC XV
EvpyoTioiOn kai aTeevpyoTioiOn tou
UToAoyiOtiN OaC XV
Φροντίδα του έπολογιστή σας XV
Φοντίδα του προσαμογέα (adapter) ρεύματος xvi
Φροντίδα του πακέτου μπαταρίας XVI
Kaαριαμός και επιοκεύη
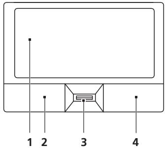
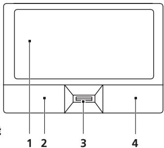
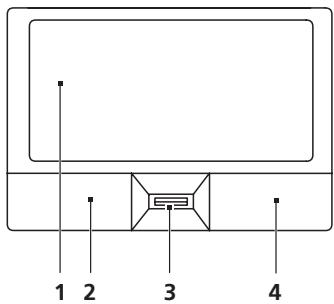
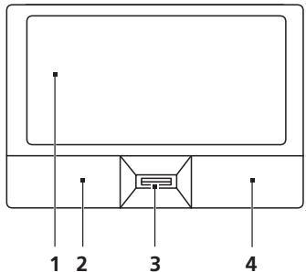
Eπiφáveia Aφnç 1
Baoiká πρáγμata γia to μαξiλapaki αφης
(με σουκεύη ανάγνωσς δακτυλικών απίτοιτιωμάτων) 1
Baoiká πρáγμata γia to μαξiλapaki αφης
(με δύο κουμπία κλικ) 2
XpnoTou TAnKtpoLoyoiu 3
Iπηκtpa TpOσTaiaç kai ενσωματωμévo αριθμητικό
UTOTIaNkTpoAóyio* 3
IIaiktpa Windows 4
Hxos 5
Acer PureZone (opioενα μοντέλα μόvo) 5
Bívtεo 5
Oθóvŋ 16:9 (opiσμένα μοντέλα μόvo) 5
XpnoTwV Bonntikwv Tpoypaumatwv 6
Acer Bio-Protection (opiaéva ovtελa óvo) 6
Aoαλεια tou uπολογιστή σας 24
Xpnoiac klaiaoc aopaaiae 24
XpnoKwOikwv PpOaon 24
Kataxwpion Kwikwv TpOaonc 25
Kaθoipoiouc Kwikwv πpσbaon
Eπεκταση μέσω των επιλογών 26
Eπλογες συνδεσιμότητας 26
Móvτεμ φαξ/δεδομένων (opioμένα μοντέλa μόvo) 26
Evωματωμενη δυνατότητα δικτύου 27
Universal Serial Bus (USB) 27
Oupa IEEE 1394 (opioeva oovtlao mvo) 28
AIEIaIgIIOaIeOwvUyNlcEukpiveiaC
(σiσενα μοντελα μόνο) 28
ExpressCard (opioeva oovrEa muvo) 29
Eykaataaon mnuhns 30
Bonθηικό πρόγραμα BIOS 31
Σειρά εκκίνησς 31
Evpyoioiog n ts aleioupyia c disk-to-disk recovery
(επανόρθωση δισκου σε δισκο) 31
Kwokoc TpOaon 31
XpnoI loviogko 32
Avattapaywyn taiviwv DVD 32
Σuχvécε ερωτήσεις 33
Aitnon Etniokeun36
Eyyunon i v TaqiWiTn
Σμβούλες αντιμετωπιοης προβληματων 37
Mnyuataa opaalmuatowv 37
Ppoeiooic Kavoviou & aopaaia 38
△nλωση FCC 38
Avakoivwoei yia muvt (opioeva mvtela movo) 39
△λωη εικονοστοιχείου LCD 39
PuθμiOTikn δηλωσηραδισοκευή 39
EviKa 39
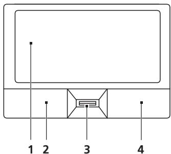
H evωμatwμeνn επιρανεία φης εῖαι πία συκεύη κατεθυνός τοῦ σθάνεται τήν ένησι Θην επιρανεία της. Αὐτοῦλεῖι τὴς o δρομεᾶς ανταικορίνεται, καθως μετακίνεITE Φδατύος ας σην επιρανεία φης. H κεντρική θέση ΘΟ Αναταινηπρίο τὰλάμης τὴρεχει βέλιστη ἀνεοῦ και ὄτουστηρίŋ.
Baoiká πpáγμata yia To μaξiλapáki aφης (με σοικευή aváγvωσç δαKTUλIKων αΠΟΥTUNWμATWV)
Ta akoloutheta a troixieia 0a aac diov uiv wcs va xpoiioitnoeTe Tnv taTlAeta apn c ie tn oukeun avvwwonakTuikw atotutwnuatauv Acer Bio-Protection.
- Metakivnoge To áxtuó oac katá μhkoç TNS ETIgAVEIAO aqns (1) yia va μetakivnoTeTo bpoja.
- Patnote To apiotepo (2) KAI TO I 4) KOUPTI TIOU BpiaKovTai OTNV AKN TNS ETIIPAVEIAc APNIS VAA TPAVATOTIOHNEE LEIIOUPYIEC EITILOYNC KAI EKTLEeONs. Auta TA DDO KOUPTI EIVAI TAPJOIAE TO apiotepo KAI TO I 0 KOUPTI O EVA NTOVIKTI. To ayivmu TNS taTtALAC TEAPNIGIOIDUVaME I PAtnma TOU apiotePOU TAIKTPOU.

| Λειουργία | Αριστέροκουμπή (2) | Δεξίκουμπή (4) | Κύρια ταμμλέτα επταφής (1) | Κεντριόκουμπή (3) |
| Εκτέλεση | Κάντε κλίκ δύο φορές, γρήγορα. | Xτιπήσε ελαφρά δύο φορές (οτήν ἀδία ταχύτητα ὅτιως οτ διπλό κλίκ σε ᵓν κουμπή Στοντικόύ). | ||
| Επιλούŋ | Κάντε ενα κλίκ. | Xτιπήσε ελαφρά μία φορά. | ||
| Μεταφόρά | Κάντε κλίκ και κρατησε Πατημένο, ἐπτείτα χροσιμοτοίησε Το δάκτυλο γίαν αὐ σύρετε Πο δόρμεδε στην επιφάνεια φρής στο δέUTEροχτιπήμα και σύρετε Πο δρομέα. | Xτιπήσε ελαφρά δύο φορές (οτήν ἀδία ταχύτητα ὅτιως οτ διπλό κλίκ στο κουμπή εύς Στοντικόύ) και ἀδκτυλο στήν επιφάνεια αφής στο δέUTEροχτιπήμα και σύρετε Πο δρομέα. | ||
| Πρόσβαση στο Μενού Περιβάλλοντός | Κάντε ενα κλίκ. |
Baoiká TTpáγμata yia To μαξilapáki αφής (με δύo kouμπiá κλικ)
Ta akoloutheta otoixieia thoaacdeiogouv TWCVAxpoaioioioeTe TTV taTnAeTa aHc duoukouptiKaik.
MetakivnoTe To daxtuO aC kata uNKoc Tns ETTiPavEiaC apnS yia va μetakivnoTe To dpouεa.
- Pntnote to apiotepo kai to deiokoumti toun biakovtai otnv akpn tnc
- Etnipaveiaac ag ncs yia va tpaymuotoinoe TcIoupyie cTIIoync kai eKTEeanc.
- Auta ta duou koumtia evai ttappoia me to apiotepo kai to deiokoumti e eva tovtiki. To ayiyma tns taTlAetac etapnsc ioobvauei me tnatma tou apiotepou piktpou.
| Λειουργία | Αριστέρο κουμπί | Δεξί κουμπί | Κύρία ταμπλέτα εἰταφής |
| Εκτέλεοη | Κάντε κλίκ δύο φορές, γρήνορα. | χιτιπήθε Ελαφρά δύο φορές (στην ἀδία ταχύτητα ὄπως to διπλό κλίκ σε ενα κουμπί ποντικίου'). | |
| Επιλούη | Κάντε ἐνα κλίκ. | χιτιπήθε Ελαφρά μία φορά. | |
| Μεταφόρά | Κάντε κλίκ και κρατήθε πατημένο, ἐπείτα χρησιμοτοῦτηθε το δάκτυλο γία να σύρετε to δρομέα στην επιφάνεια φρής. | χιτιπήθε Ελαφρά δύο φορές (στην ἀδία ταχύτητα ὄπως to διπλό κλίκ στο κουμπί Ενός ποντικίου) και Επείτα κρατήθε to δάκτυλο στην επιφάνεια φρής το Πδεύτερο χτúτιŋμα και σύρετε το δρομέα. | |
| Πρόσβαη ΘΟ Μενού | Κάντε ἐνα κλίκ. | ||
| Τεριβάλλοντός |

EnmuoiOn: OI aTeikovioeic eivai mOvo yia avapopá. H akpiñc ouvθean tou PC εgaptatai aTTO mOvtélo tou ayopáoate.

Enmuoi: Otav xpnaioioie tyn etiapeia apns, 0a ptei va tn diatnpieite oTWS kai ta daktuLaa cac steyvka Kaopap. To aigiapaki apns eivai euaiohtnoe KIVnoeic twbokTuWv. SuVETwC, 0o0 TIO eaappu to ayiymu, tooo kaluteepn n avtantokpion. To TIO bapu xtunma deo ausnosei tny avtatokpion tou aigaiapiou apns.

Enmuon: Baei Twv Pnoetileyevw pvthetaewv, n aeitoupyia tns taTtAeTc aqns yia opovria kai katoen kulion eivai evpyoioinveyn. Mtopei va atevpyoiointhe i eaw twv puthetaewv tou Tovtkiou aTo tvivaka elyyou twv Windows.
Xpólση tou πληκτρολογίου
To k p o l o y i o TEPIAUMABVEI k p a PIAHPOUC MEYEOUc OTWc KAI EVA EVaOWATUMEVO apiHTIKO UTOITANKTPoLoyIO*, EXWPIOTa PIAHKTpa OEIKTN, KLEIDomegaToc, Windows KAI LEITOpuyiwv.
Πλήκτρα προστασίας και ενοωματωμένο αριθμητικό uποπλήκτρολόγιο*
To k p o o i0 ex3 TnKtpa KkEiOmuo ta OTOia mTOpEITE va EvpyOTIOIEIe KAI VA aTEVEPYOTIOIEIte.
| Πλήκτρο κλειδώματος | Περίραφή |
| Caps Lock | Οταν εἶαι ευργοποιημένο TO Caps Lock, ὄλοι ο αλφαβητικόιχαρακήρες πλλκτρολούουνται σε κεραλαία. |
| Num Lock+Fn> + <F11>* | Οταν εἶαι ευργοποιημένο TO Num Lock, τένωματωμένο πλλκτρολόγιο εἶαι σε αριθημική κατάσαη. Ta πλήκτραλειουργόν σαν αριθμομηχανή (πλήρες με αριθημική σύμβολα,+,-,*, καί l). Xρησιμοτοίεις autην έντην κατάσαη δόταν χερείζεταιν εἰόγετε Πλλά αριθημική δόδομένα. Mia καλύτηρη λύσηθα ένταν συνόσετη εἶνα Εξωτερικό πλλκτρολόγιο. |
| Scroll Lock+Fn> + <F12> | Οταν εἶαι ευργοποιημένο TO Scroll Lock, Μοθόνη μετακίνειται μαγραμή πάνω η κατω οταν έντάτε τα βελάκía πάνω η κατω αντίστοιχα. To Scroll Lock δε λειουργέι με μεριές εφαρμογές. |
To evomegaTjmevo aipuntiko TAnktpoloyio Aetoupye av evaenitpantzio apihtnkiok TAnktpoloyio. Ytobnawveai ato mikoocxapakntpec tou piokovta otnv avw dEigia ywoia twv TAnktpow. Ia va anlootoine i to utovma tou TAnktpoloyiou, ta uubola twv TAnktpowv oAeAacia dev eivai tuTiwu meva Tavw OTA TAnktpa.
| Επιθυμητή Πρόσβαση | Num Lock Ενεργοποιημένο | Num Lock Απενεργοποιημένο |
| Αριθμητίκα πλήκτρα στο ενωμαιωμένο πληκτρολόγιο | Πληκτρολούητε αριθμους με Κανονικό τρότο. | |
| Πλήκτρα ελέγχου δρομέα στο ενομαιωμένο πληκτρολόγιο | Πατάτε to < Shift> όσο χρησιμοποίετε τα πλήκτρα ελέγχου του δρομέα. | Πατάτε to <Fn> όσο χρησιμοποίετε τα πλήκτρα ελέγχου του δρομέα. |
| Βασικά πλήκτρα πληκτρολούγιο | Πατάτε to <Fn> όσο πληκτρολούητε γράμματα στο ενομαιωμένο πληκτρολόγιο. | Πληκτρολούητε τα γράμμα με κανονικό τρότο. |
- opiσιμένα μοντέλα μόνο
Πλήκτρα Windows
To k p o l o y i o exi duo k p a Tou EKTELOUV OUYKEKPiEVEc LEITOUPYIEC Tuv Windows.
| Πλκτρο | Περιγραφή |
| Πλκτρο μελόγότυτο των Windows | Κουμπίς Εναρέης. Συνδύασμοί με auto το κουμπίς εκτέλουν δίαφορες συντομεύσεις λειουργιών. Παρακάτω ακολουθουν εμρίκα παραδέιματα: |
| <Σ>Δ:Aνοιγμή κλείσιρο μενού' Evapξη | |
| <Σ>Δ+Eμφάνιης επιράνειας εργαίας | |
| <Σ>Δ:Aνοιγμα Εξερεύνηση Windows | |
| <Σ>Δ:Avaζήτηση αρχείου ἡ φακέλου | |
| <Σ>Δ+<Σ>G:: Kuklíký μετakíνησι Οτα μικροεργαλεία πλευρικής περίοχής ευράρου | |
| <Σ>Δ+<Σ:L:: Kλείδωμα του μιθλογιοίη σας (εάν είοτε συνδέδεμένοι σε τομέα δικτύου), ἡ αλλayη χροτών (εάν είοτε συνδέδεμένοι σε τομέα δικτύου) | |
| <Σ>Δ+Eλαχίστοτοίεί ωλα τα παράθυρα | |
| <Σ>Δ+<Σ>R:: Προβáλείτο παράθυρο δίαλόγου Εκτέλεαη | |
| <Σ>Δ+<Σ>T:: Kuklíký μετakíνησι Οτα προγράμματa ις γραμής εργαίων | |
| <Σ>Δ+<Σ>Δ:Aνοιγμα Ease of Access Center | |
| <Σ>Δ:Aνοιγμα Windows Mobility Center | |
| <Σ>Δ+<Σ>Break:: Εμφάνιη πλαιίου δίοτητες συθήματος | |
| <Σ>Δ+<Σ>Shift+M:: Πεταναφόρά ελαχίστοποιμένου παραθύρου στήν επιφάνεια εργαίας | |
| <Σ>Δ+<Σ>Δ+<Σ>Δ: Kuklíký μετakíνησι Οτα προγράμματa ις γραμής εργαίων χροσιροίωντας to Windows Flip 3-D | |
| <Σ>Δ+<Σ>Δ:Aνοιγμα δίατηματος:: Μεταφόρá ωλυν τυν μικροεργαλείων στο μιροτινό μερος και επιλογή ης ενδείŋς Πλευρίκη περίοχή ευράρου Windows | |
| <Σ>Δ+<Σ>Δ+<Σ>Δ:Aνοιγμα γίανηση για Αντλογίστες (εάν βρίακεοτε σε δίκτου) | |
| <Σ>Δ+<Σ>Δ+<Σ>Δ:Xρησιροίŋθετα τα πλήκτρα με τήν ενδείŋη βέλους γία Kuklíký μετakíνησι στα προγράμματa ις γραμής εργαίων χροσιροίωντας to Windows Flip 3-D | |
| Σημείωη: Avaλόγως ΝΤΟ ἡκόοàngς των Windows τούν ἡκετε, σριαμένες συντομεύσεις ενδέχεταιν αμήν λειουρύν σύμφωνα με τήν τηριγραήφ. | |
| Πλκτρο εφαρμούγύν | Autó to Πλκτρο Εχείτοι Τίδο απότέλεσαμα με τήν επιλογή του δέξιου Πλκτρο Μου Ποτινικίου. Avaίγει Φενού' Περιβάλοντος Πης εφαρμούγύς. |
Hxos
Eπiαns, o utoloviyotnδiatθεtai με σuσtnμa Hxou YψηλnC Avaluaonc (HD) 32-bit kai nxEio(-a).
Acer PureZone (opioεva μοντέλa μόvo)
To ouotnma, oac napexei mva vea kttlntikn akouotikn eptieipia
outepiiaabavouevou tou Acer PureZone me evoswpatwvea oTepeoovivk aikpofwaTou diaetouv texvooloyiec oxmuatauo deoans kai akupwong
akouotikns noux.C H texvooloyia Acer PureZone uttoatnpcei Akupwn akouotikns
nxous, xnuatioo deoans kai Meiwon topuobou ia aoyec nxoyopaohoeis. Ia va
eykataotnaete to uikpofwoa c, ekteleote to tpoypaumdaixeipiongs hou Acer
HD Audio Manager kavovtac otio klik oTo Eikoviio tou Acer HD Audio Manager
oto uortapi tou ouatniatoct tw Windows. Oa avadtheta i Tlaioio dialoyou Acer
HD Audio Manager. Kavte klik otnv kapteLa Mikofovo, kai otnguvexia kavte
klik otny KapteLa Epe miokpowvou. Etnie Te xnuatioooc deoans kai Akupwon
akouotikns noux yia va kaθopioaete To epe miokpowvou.

Enmuon: Ateevpyoioiote tn duvarotnta oxnuaou oeounc wote va atoktnoe tnv eiooo Tnync Tpoaaawxwv.
Bívtεο
Oθóvη 16:9 (oɪσμένα μοντέλα μόνο)
H oθovn 16:9 πaρayει taivες Full HD στο σπίτι οπιως ποτέ αλλοτε. O uπερμψηλός Kopeσμός χρωματος εγγuátα μία auθεντική εμπερίαρι προβολής HD. H πτοίτητα 16:9 σημαίνει ΟΤι επιδέλους εφθασανοι πρayματικές σπικές σκηνες Μικίακου ΚΙνηματογράφου για τούς ενθουσιώεις φίλους της ψυχαγωγίας σε φορητό UTΟλογίστή.
Xpŋση των βοηθητικών προγραμμάτων
Acer Bio-Protection (opioéva muovéλa muvo)
H luən daKTUAIkwv atotutuw Acer Bio-Protection evai eva naketo loyiaikou daKTUAIkwv atotutuwatw vTAAATTWv evapuoyw Tou evai evoawatwveo e to aeitoupyko ouatma Microsoft Windows. Xpnaoiotoiovta cT movaikotnta wv daKTUAIkwv atotutuwatw evoc atoou, n Acer Bio-Protection Fingerprint Solution evomegaatwei pooataia ato mEgouioobtmev n pObaon oTo uToLoayiotn aC e KevpiK diayepion kwoikwv pObaanc meoT nTs patezac kwokw v tpoBaaonc Password Bank kai ypnyop Ekkivn enpapuyw/IOtoeAldowkai ouvdeon e to Acer FingerLaunch.
Me t n luon daKTuliko aTOnTuWmuO Acer Bio-Protection, pTropiteTwpa va aTolauoTe Eva eTTIaEv OTiTEbO TPOtaiaocov UTOLOyIOtn Oac, KaWc Kai Tnv Eukolia TnC TPOBaanC Twv NEPHOIWv EPyAOiwv Oac Mia aTAn Kivnon Tou daKTULou oac!
Tia TepiooTepec Tnnpoopiec avatpeEe 0a apxia Boontheia c Tou Acer Bio-Protection.

Acer Backup Manager

Enueiow: H duvatotnta autn diatietai mvo o opiaeva ovtela.
To Acer Backup Manager éivai ia anlán δiaikacia triwv βnμatwν tou αac επιρεπεινα δημιούρειτε αντίγρασαφαείας ολόκληρου tou συστήματος αας ἡπιλεύνων αρχείων και φακέλων σας σύμφωνα με καττοί χρονοδίαγρμμα ἡπιθε υρειασεί.
Tia va i to Acer Backup Manager, to oer Backup Manager aTo to p o o o .EvaalakTIka, kAVTE KIAK OTO Evapg> Oa ta TPOpyapmuata > Acer Backup Manager > Acer Backup Manager. EtoI 0a aoivE i n oOvN Welcome (xaipetioou) aTo Tnv otioia, ka Ieow To wv Tpiow BnmuWv, 0a onnioupyoTe TPovpaumiaev aVtivpapa aospaaleiac. KaVT e KIAK OTO EtOpevo yia va uTaeBite OTN vEToEvn OoovN. KaVT e KIAK OTO KOUPTI + KAI akolouhote Tc ooyie cTou eupavizovtaTOnv oOvN:
1 EπIeTeTo Tpeixómeo Tou oToIoou To aTiypaO aOpaaleiac ΘeTe va δnuioupynoTe. Ooo liyoteo Tpeixómeo ETIeTe, tOto taxuTepn θa εivai n δiaikocia. Etoi μωc auáveTaio Kivduovoc atwaleiac δedouevwv.
2 EπIΛE Ε ΠΟ ΘΕ Ε Ε Ε Ε Ε Ε Ε Ε Ε Ε Ε Ε Ε Ε Ε Ε Ε Ε Ε Ε Ε Ε Ε Ε Ε Ε Ε Ε Ε Ε Ε Ε Ε Ε Ε Ε Ε Ε Ε Ε Ε Ε Ε Ε Ε Ε Ε Ε Ε Ε ΜιΑ Ε Ε Φερικηνόσκου ἡνόσκου ἡνόσκου D: To Acer Backup Manager δεν μιθρείν αποθηκεύσειντίγραρο σαφαλείας στην αρχικήνονάδα δισκου.
3 EπIεEπoσo σuXvα θεEτe va δημioupyεi ανιραφα ασφαλεiaç to Acer Backup Manager.
Apoou oloknpwote auta ta tia bieta,theta nioupovuvtai aviypapa aqaaiaac avaloya to xpvobidypauma. Etnion, mtopeite va dnoiupnyoTe aviypapa aqphaeicxipokivnta patwvtaoTnAektpo Acer Backup Manager.
Av va aaaaéeTE TIC puθμioεi OiaδnTTOE OTIyμ, EKTELEOTo Acer Backup Manager atto μevou EvapgN KAI EKTELEOTa Bnμata Tnou TEPiγραφηkav TnpaTnVw.

Διαχεύριση ενέργειας
Autoc o utoloyoiotn ecxie evomegaatwveynovadobiaxepiionis xuoc Toun
Tpanakolouthei tn dpaonpiotnta tou ouotnmuotc. H dpaonpiotnta tou ouotnmuatoc
avapepetai oe otioaohntote dpaonpiotnta peilaabevi ia n tepiaootepecs anto
Tic panakatow ouokuec: nnktpoloyio, troviki, mova dbiakec, oknnpoc diokoc
kai tipeipepiaikacuvdeoevea me tic epiiakec kai npalaaanee thepces, kai tn vnuin
Bivteo. Av dev avixveutei dpaonpiotnta yia ia xpvikn tpeiodo (Tou ovopauzetai
Ttaun abpaeviaq), o utoloyoiotnc staqatae i epikec n 0e5c tis ouokuecs yia va
Esoikovounoe EVyepyia.
Autoc o utroloviatns eapuocieva oxedio diaxeipionc evepyeia cto UTOOTPiTo Advanced Configuration and Power Interface (ACPI), to otioo etipte i n meyiotn diatnpon envepyiaac kai meyiotn anodooan tyn idia otiyun. Ta Windows xeiipovtai oae ts epyaiecs eoikovoumng envepyia c yia to UTLOAVIOIaT OAc.
Πλήκτρο Acer PowerSmart

Enmuon: H duvarotnta autn diatihetai mvo oipoeva ovtela.
To oer PowerSmart xpnoiotoei Tc ioupyie c eoiokovogn c evpeiaoc Tou utoouatntuato ypaikwv Tou utoayoiat nac me okoTn tne uvoiKc katavalwaon c evpeyiaac. Otav nieTe to pIaKtro Acer PowerSmart, n wteivotnta nC oovnc mEiwetai kai to taip ypaikw v eiaabeivee 6 aunlotepna taxutnta, ta PCI kai WLAN eTaBaivouv oe aeitoupyie c eoiokovogn c evpeiaac. Patae gava to pIaKtro Acer PowerSmart yia etiortpoqn otic nponyouvec puthetaicic oac.
Σημειωη: To σύνολo του περίεχομένου του ακολουθεί παρατίθεαι γιλόγους παρατομπής και μόνο.Οι πραγματικές προδιαγραφές του πτροίοντος ευδέχεται να διαρέρουν.
To Acer eRecovery Management éxī tη δυνατότητα εκτέλεσης των ακόλουθων λειούργιών:
1 Epeoia:
- έπμioupyia εφεδρικό διακου εργοσταιακων προεπιλογων
- έπμioupyia εφεδρικό διακου προγραμματων σθηγησς και εφαρμογών
2 Etnavapopa:
Pi npns eTavaopopa oTuNTmuo sO1c epyooteaiake c TPOeTIIOyEs
- Etnavaopopa Aetoupyikou ouatnmuotc kal diatnpon ndoepevuvxno
- Eπaevykaταση προγραματων οδηγησις ἡφαρογων
To napov Kεφαλaio θα σας καθοδηγόει μεσα από τοκ ακεδ δίαδικασία.

Enueiwn: H duvatoTna autn diatietai mvo oe opioeva mvtela. Ooov apopa ta ouatnmuata ta otioia de vdithetauv evomegautveo Tpoypaupatiot Eyyapnc ontikwDIOKWV, ouvdoteevavEgWTepiKo Tpoypaupatiot Eyyapnc triv EIaeLTeO tO Acer eRecovery Management yia tvkTeAeon epyaaw oi otioies oxetizovtai me OTTIkoUs dIOKouc.
PpTei PpTa va KaTheta eTe Tov KwOIO Ko PoObaaC yia va XpOIOIOIeTe DuvatotnTa TPOoTaiaC meo KwOIOOU PPOBaonc Tou Acer eRecovery Management ia Tnv PPOoTaia Twv δeOeVw vO aC. O KWO. PPOBaonc KaTheta eTai Me EKTEAeOn Tou Acer eRecovery Management kai kAIk oTo PuOeic

EyypaΦn εφεδρικό δίσκου
AToTn oElaO Eaepoia Tou Acer eRecovery Management, mTopeite va eyypaet E Tnv TPOeTIeYevn Epyoataiakn Eikova n va onmuoynoe aviypapa aaaiaac Tw TPOypaumaw oynyanc kai twv epapuyow.
1 Kavte kAIk OTo EvapS, Ola TpoypaMa, Acer, Acer eRecovery Management.
2 To Acer eRecovery Management avoiyi otn i Eepεδεia.

3 EπiAεξTe Tov tUTo Εεδepeiac (εργοσαιακή προεΠλογή προγραμaTα Θηγησις και εφαρμογές) του θα έλατεν αεγραμετε σε διακ。
4 Akoaiouheote Tc odnyies Tou eapavicovtai OTNV oovn yia Tnv aotepatwn Tns diaikacias.

Enmuoi: Anmuoynoe mia TPOETIAYEV npOoTnAkiK iKova oTav EITUpeite va EvypaetE eva 0kO EKKIVNG TPO TPEIXe OLOkNpo To LEIOUPYKO SUOTma Tou UTOLOyOTn OAC OTWc OAC TAPAOHKe aTo EpyoTaoio. EAV EITUpeTe eva 0kO TPO THa ETTIPETTEI TNV TEPIYNON OTA TEPIEXOeVtou KAI TNV EYKatAoTAn ETIAEVvW TPovpaMatw OhnyonC kai EFapmuoyw,
bniuoynte eva atiypapo aopaleiac TPOpvamatw ovynonC kai EFappuoyw avt autou -o 0iOKoc autos De v thai biokoc EKKIVNG.
Eπαναφορά
H duvarotnta etavaopac etipette tnv etavaopap n eavopwoon tou ouotmuato ato ma TPOETIAEVyEvn Epyoataiak iKova n ato avitypapa aopaia cTou yypaspate o CD n DVD TALAIOTepa. Mtopeite eTianc va eTavekykataohtoevapuoyec kai Tpoypamata oyynons vi to ouotma Acer TTO exTE.
Etnavaopα tou Windows απο δισκους εφεδρείας

Σημειωη: H δυνατόπτα autη διαιθεται μόνο σ ερισμένα μοντέλα.
Tia va eTavaapepeTo Windows aTIO diKouc Eepeieac Tnou exTe Eyypasei TaIOTepa, aTtateiTai n EIAaywn Tou TpuTou biokou eepieac kai n EvpyoToinon Tou Meou EKKivnonF12 meow Tou BOnthIKOU TPOypamatoc EyKatataonC BIOS.
1 Evpyoioiotev uToLoyoiotn oac kai eiaayete vtpwto diok eTavaopoc ouatmuotc ot n movadobottikou idokou. PpayatoTioiote ETTavekkivnon Tou UToLoyoiotn oac.
2 KaTaNv EKKIVNOn Otav EmuaviEeTaI To loyotuO Acer, TIEOTo TAnKtpo F2 Yia Eiooo oTo EkyataoanBIOS, OTou MIOpeite va opieTe TIC Tnapaetpouc Tou ouotnauoC.
3 XpnoiopoioiOIOte Ta IIAnKtpa E TnV EvOeIg N BéLouc apioTepa Kai Dεξia yia va EIIAEETe TO UTOpeVOU Kupio.
4 XpnoiopoioiOnote ta pAnktpa e Tny EvOeIg BéLoUc TTavw KAI KATW YIA VA ETTA ETE Mevou EKKivnonf F12.
5 Xpnoiopoioiote to TnKtpo F5 n F6 via va aAaleTe to MevoEKKivnonc F12 0 EvepyooinmuEv.
6 ΠΕΟTE TO ΠΑΝΚΤΟ ESC γΙα εἰσοῦ στο ὄνημενου ἐξόδος, ΠΙΕΟTE TO ΠΑΝΚΤΟ ENTER ΜΙΑ ἐξόδος με αποθήκυση αλλayων. ΠΙΕΟTE TO ΠΑΝΚΤΟ ENTER Εανάνιαν εἰτιλέξετε Nai. Θα πργματοτοίηθεί εἰνανεκκύνησι του συστήματος.
7 MÉtá aTó TnV επTAVKKIVN, oTAV εμφavεTαI to loyóTUTTO Acer, πIeTe to πλnkTPO F12 via va aOviEeTo MeVou EKKIVN. Eδw μTOpεITE vα επIeEeTe Tn σuokEu n aTó TnV oTóla θa πpayμatotoinθεi EKKIVN.
8 Xpnoiopoioiote ta piktpa me Tc evdeieicg baov ia etiaeETE IDE1*, akoouwospiote to ktpo ENTER. Oa npaypatottointheta i ykataotaon Tou Windows atio to diako eTavaopac.
9 Eioayete To oEutepo bioko eTavaopac otavoc nTnei,otn ouvexia akoouhote Tc utodieicis otyn ofovn yia va oloknpwote Tny eTavaopap.
10 ApaipéoTe to biako eTavaopac aTTO TIO movadobOTTIKOU bIOkou, oIOLKAnpwoEi n eTavaopap. KAVTE TO TPIV aTTO TIV eTIAVEKKivnTou UTOLOyioTn OaC.
Eav etioueite va opoe tnv tpotepaoteta ekkivnq yia kapotpoeaun xpno, 0 a pnte i va etiie eTe to utoevou Ekkivnon.
1 Evpyoioane Tov utooyoiotn oac kai eiyote Tov npwto oyokvnaopac ouotmuoc ot n oovadobottikou idokou. Ipayaotoiote tavekkivnon tou utooyoiotn oac.
2 Katá tynv ekkvnoj otav εμφaviciétai to loyóTÜtTO Acer, tiéoTe TO πλntPO F2 yia εioo oTo Ekyataσtaon BIOS, oTou μTIopeite va opieTe TIC πapauétpouc tou ouotnμatoC.
3 XpnoiOIOIoiTe Ta TAIKtpa ME TIV EvEoiN BéAouc apioTepa Kai Dεi yia va ETIAEETe TO UTOJEVOU EKKivnon.
4 XpnoiopoioiOnote ta TnKtpa e Tny EvOeIg n BéLouc Tavw Kai KATW yia va EtnieEETe Tn OuaKeun IDE1*.
5 Xpnoiopoioiote TO pKTOPO F6 yia va eTaeoTe Tn oukeun IDE1* oEvatn TPOeaiotnta EkkivnOnc, n va xpooiotoine To TNIKTPO F5 ia va taee aalccs oukeuec oXaunloepn TPOeaiotnta EkkivnOns. Beaiowte otI n oukeun IDE1* piokeTai eavatn TPOeaiotnta EkkivnOnc.
6 ΠIEOTOπλNKTPO ESC yia εiδo oTo UTOμeou Eξo0c, TIEOTOπλNKTPO KATAXQPHEYIA Eξo0c μe aTOnθκεuON aAALaywv. ΠIEOTOπλNKTPO KATAXQPHEH gavá yia va επλεETE Nai. Θa TpaymuToToinθεI εTtavekkivnσn Tou σuotημatoC.
7 Katá tny επtavekkivnoŋ, θα πρayμaτοτοιηθεί εγκατασταη tou Windows αntó to δiακo επtavαφopac.
8 Eioayete To oEutepo biako eTavaopac otavosnTnei,otn ouvexia akoouhote Tc utodoeigeic otyn ofovn yia va oloknpwote nTv eTavaopap.
9 Apaipote to biako eTavaopac aTTO TMOvOaOOTIKOU bIOKou, oIOLKAnpwoei n eTavaopá. KAVTe TO TPIV aTTO NVEeKKivnTou UToIoYoiTn OaC.
Σuσtoixia μπatapiwv
O utloayiotns xpnaiotoiiei ia ouotoixia nataipw yia xpnoa paoc diapkeias etaxu optioewv.
Xapakntnpiotikα σuotoixiaç μπatapiwV
H ouotoiixia Tnataipiw ta aKoLoutheta xapaktnpiotiká:
Xpnoiopoioei npotuTt pexouoac texvooloyiac mtaapiow.
- Aiaθετει προεδοποιntική ενδειης χαμλής φόρτιας.
H μπatapiε πταναφορτιζεαι καθε φρα που συνδεετε τον Στολογισήσον προσαρμογέα AC. O Στολογισής αας Στοστηρίζει φόρτιηκατά τη χρήση, καθιστώντας εφικήτη τήν επαναφόρτιης μπιatapiáς ενώσυεχίζετεν αχροιμιοῖειτεν Στολογισή. Πάντως, η επαναφόρτιημε απενεργοτοῦμένον Στολογισή καταλήγει σε σημαντικά μικρότepo χρόνο φόρτισης.
H μπatapi xροιμεúεί ὅταν ταξδεύετη η σηθίαρκεία μίας διακοπής ρεύματος. Συνίστάταιν αυπάρχεί δίαθέσιμη μία επιπλέου πλήρως φόρτισμένη συοτοίχια μπatapiών Ϝς εφεδρική. Απεύθυνθείτε στόν αντιπρόσωπόος γία λεπιομέρείς ὄοον αφορά τὴν παράγγελία μίας εφεδρικής συοτοίχιας μπatapiών.
Meyiotooinon tns wepaiunc zwns tn s pataia
OttwCs kai tic untolaoitcs mtatapieCs, oE tioooei ts mtatapiac tou UtoIooviotn oac utoBaaMizovtai Tnv npopoTOU xpovou. Auto anmaivei 0ti o Etniooeic ts mntatapiac iWovTai Tnv npopoTOU xpovou kai tn Xpnoan. Ia va eYiToToinaeTe TNV Wefaiu gwn Tns mtatapiac oac, ouviotatai n thpnon twv ouotaceewv TPO opizovtai katwtpw.
Pnoeioiaia iaag vaea ooutoixiaa Pntatapiw
Pniv aTo tn xphon miaosuotoixacmuataipwv ia npwtn opap, utapxie mia diaikiaoa "Tpoetoiaoc" Tou a TpTei va akolouhnoe:
1 EiaayTe Tn vea mTatapia xwpi caevepoioiOeTe tv UToLoyoiatn.
2 SuVbTe Tov PpOaPouyEA AC KAI PPayMaTOIOIOTe TAnpN FOptiOn Tns μTATApiaç.
3 ATOOUVbEOTOV TPOoapouyEA AC.
4 EvpyoToiOnTe Tov UToLoyoiTn KAI XpnoIpoTIOInOte Tov Me TpoqOoOia MItatapiaC.
5 EkopotTE Tn pOcTou EoTPOEOTIOINTIK EvEiXn Xaunns FOPTIons.
6 EtnavaouvEoTe Tov Tpoaaapoyea AC kai TpaypaTOnioNe TAnpno fopTion Tns μTatapiac gavá.
Akooutheta ta avwetpw Bmuata xava, ewc otou n mtatapia optioe kai ekwpotiotepic opec.
Eφαρμοστε ηιδιακαία προετομασίας γία ἀλες τις ένες μπιαρίες ἡ εάν μία μπιαταρία δεν ἐχει φρησιμοτοιθέίγι αύναλο χρονικό δίαστημα. Eάν oυτολογιστής προρίζεται γία φύλαξη γία χρονικό δίαστημα μέγαλύτερο των δύο εβδομάδων, συνιστάται η αφαίρεση τις συοτοίχίας μπιαρίών αἰτό τη μονάδα.

IpoedotoiOn: Mny EKETET Tc SuToOxieC mTatapiw Oe 3epuokpaoies katw aT0 0^ (32^) n Tavw aT0 45°C (113°F). OI akpaies eepuokpaoies evexetai va eTnpaeouv apvntika tn suoToixia mTatapiw.
Eφαρμοζοντας Νιδίακασία προετοιμασίας Σης μπαταρίας, προετοιμάζετε Ση μπαταρία ωτενα δεχθει Πη μέγιση Συνατή φόρτιση. H μη εφαρουή Ση συνκεριμένης ἀδίακασίας θε αμποδίσει Σην επίτευξη μέγισης φόρτισης από Σ Μπαταρία και θε ἂχει ως αποτέλεσμα Ση συντόμεύη Σης ωφέλιμης ζωής Σης.
EπΠλεν, n ωφέλιμη ζωή της μΠατίας εππρεάζεται αρνητικό στις ακόλουθες περιπτώεις προύτινων χρήσς:
XpnoTou uTIOAOyIOTnE OUVexn TpoOoOia AC exovTac Eioaeyi Tn μTATApia.Eav EITUeTE va kAVTe OUVexn XpnoTou UTOLOAOYIOTn E TPOOoOia AC, Ouviotatai n aqaipeoan Tns OuToixiac μTATapiw V eTa aTTOv PAnp np oPtiOn TnC.
H μη εκφόρτησι και επιαναφόρτησι ης μπιατίας στα ὄρί της, ὄπιως περιγράφεται ανωτέρω.
Σuxv xphoantepiooTepeo xpooiotoeite tn mtaipia, too o ypyopopea 0a 0e aoei 0to t eao ts wfeaiu ngs zwns tnS. Mia tutikn mtaipia uToLoayiotn éxie diapkeia zwns 300 opptioeew Tepitou.
ToTOnTnON kai aqapoeon ouotoixiac mTatapiw

Enuavikoi!PiV aTOn TnV apaipoean Tns mTatapiaac aTo Tn movda, ouvoeTe vovpaoayEA AC, eav ETIoueTE va ouvexoTe T xPon Tou UTOLOyioiTn Oac. Aiaopetika, aTVEpyoTIOIOTe TpWtA tov UTOLOyioiTn.
Tia va toTIOBtioeTe Tn ouToiXia mTatapiw:
1 Euuypauiote nmuatapiae to qatvio tou avoixtou diaepiaatoC mtaipiaosTo akpo me Tc Etnaepes Eoiayete TpuTO kAI OTI n Tavw ETTiPaveiaTc nuTAPiaic eivai Otpaevn TPOsTa TAvw.
2 0to oio Tou diaepiaogatoc kai wnoate aataa ews otou n mtaipia aaoaiaotei ont eoon tns.
Tia va apaipoeTe Tn outoixia mntapaiwv:
1 SupeTe To a VbAo aTaaQalionc Tns mTatapiaac wote va aTaaQalioTe tn tnatapia.
2 ApaipéoTe Tn μTatapia a tro To qatvio tou δiaepiσμatoC.
Φóptiση μπαταρίας
Tia va φορτίσεTE Tn μΠαταία, βεβαιωθεΙTE πρώτα οΤΙ ΕχΕΙ ΟΤΟθεΤηθει
Kataλληλμέσα στο φαντίου του διαμερίσματος. Συνδόετe Tov
Tπροσαρμογέα AC στον Αντολογίοιπή και σε μία παροχή ρεύματος δικτύου.
MΠορείte va αυνεχίσεTE VA χρησιμοιποίεTE TOV Αντολογίοιπή σας Με
Tροφόδοσία AC έπη διαρκεία φόρτιας Ντς Μπαταρίας. Πάντως, η φόρτιαŋ
TnS μΠαταρίας Με ΑΠΕΥΕΥΟΤΟΙΝΕ Φινλήγει Ε Ε ΜημΑνΤΙΚΑ
Mikρότερο χρόνο φόρτιας.

Enmuon: Suviotatai n φoption tnc μtatapiac πiv aTououpeite oTo TLos Tn Μεpac. H φoption tnc μtatapiac σtn δiapkeia Tc vuxtac πiv atto Taigoi αac Bonα va ΕEKIVnσeTe Tnv επóevn Μεpa μπhpως φoptioevn μtatapia.
'EAeyxoc oTaeu nC FOPTIOg MTTaTAPiAc
O eTpnntnsioxuoc twv Windows 0nawve tnv tpexouoa otaoun φoptianc ts mttatapiaac. TOnoetneTo bpoea naw oTo Eikovidio mttatapia/c iXuoc stn ypaumn epyaaiw via va oEite Tnv tpexouoa otaoun φoptianc ts mttatapiaac.
Bελτιστοποίηση ωφέλιμης ζωής μΠαταρίας
H oag aoc 8oan va eketaeuteite oTo EtnaKPO Tn aeitoupyia tropoobooia c eaw mTataipias, Tapatieivovtacov Kuklo opptian/ettavaopoptiankai bEaIuvovtac Tnv atodotikotnta nCETTavapoptionc. Suviotatai n tnpon twv ouotaeewv TIOU opizovta kATWTepw:
Ipnoutheutei eepokn ouoToixia mataipwv.
XpnoiouoTe Tpoosoa IA Kαθε φopà Tnou εivai εφiktó, pfalayovtacTn μTatapia yia xphon Ev kivnoeI.
ApaipoeTe mia kapra PC eav 6v tn xpoimuoiieTe, kaowc ouveixei va tropooobotetai upeuma (yia ETIaeymuov ovtelo).
ΦuáξTe n ΣuOToiXia μπaTapiw oδ pOoεpó, oTEyVó hépos. H ouviotwμevn Θερμokpaσfa εivai 10 °C (50 °F) éωs 30 °C (86 °F). OI uŋλόtepeç Θερμokpaσíε πpokalouv tny εκφόptiαŋ tns μπaTapiac aTó μovn tns.
H utepboaiikn eTavaopoption meiwve Tnv wphiun zwn tns ptapiacs.
Φροντίοτε τόν προσαμύγέα AC και τη μπιατάρία.
PpOeIOToInOn Xaunlnc FOPTIOg MTTaTApiaC
Otau xpooiopoieite tropoooiaa aataapiaac va tapatnpieTe to eptnioxuoc twv Windows.

IpoEiOIOInoN: SuVbEOTe Tov IPOOAPUoyEA AC 0oO to duvatov OuvTOIpa eTAtnToN Emuavion nC TPOeIDOnIOInoNs XaunnG FOPTiOns nC mTatapiaC. Oa unApEi aTwAeia bOeVWv eAv n mTATAPia EKpOPTei PAnpwS KAI TepuATIOTe i N LEIToupyia Tou UTOLOyoiTn.
Ötav εμφανίοτει προεδοποίηση χαμλής φόρτιας της μτιαρίας, η συνιώνενι ἀνέρεγεία Εξαρτάται αἰτό την κατασταση ΘΤΝ ΜΤΟΙΑ βρίακεθε:
| Kataσταη | Συνιστωμενη ενέργεια |
| Yπάρχει δίαθεσαιος προσαρμογέας AC kai παροχή ρεύματος. | 1. Συνόσετε tov προσαρμογέα AC στον μιτολογίοιη κai στη συνέχεια στην παροχή ρεύματος δικτύου. |
| 2. Ατοθηκεύσε τόλa ta απαραίπητα αρχέία. | |
| 3. Συνεχίσε τήν εργασία σας. | |
| Απενεργοποίŋοτε tov μιτολογίοιη, εάν επιθυμείte va επαναφορτίσετε η μπαταρία γρήγορα. | |
| Yπάρχει δίαθεσαιμη εφέδρική συοτοίχía μπαταρίων πλήρως φορτίσμεύνη. | 1. Ατοθηκεύσε ολα ta απαραίπητα αρχέία. |
| 2. Κλείσε ὅλες τής εφαρμογές. | |
| 3. Θερμαίσε τήν λείτουργία tou λείτουργικό συθήματος γία va απενεργοποίŋετε tov ιτολογίσιή. | |
| 4. Αντικατάσταη ηός συθοτοίχας μπαταρίων. | |
| 5. Ενεργοποίŋοτε tov μιτολογίοιη κai συνεχίατε ην εργασία σας. | |
| Δεν Απάρχει δίαθεσαιος προσαρμογέας AC ἡ παροχή ρεύματος. Δεν έχετε εφέδρική συθοίχía μπαταρίων. | 1. Αποθηκεύσε ολα ta απαραίπητα αρχέία. |
| 2. Κλείσε ὅλες τής εφαρμογές. | |
| 3. Θερμαίσε τήν λείτουργία tou λείτουργικó συθήματος γία va απενεργοποίŋετε tov ιτολογίσιή. |
Tia va πάρετε ο φορητό PC μαζί σας
AutoTo Kepaiao OaC Tpooppei OouBouLc Kai UTObeEIEcY ia TpaymuTtou TpTeIva IaBete UTOyN OTav EtaKVEIe NTaIeEUETE ME TO UTOAOYIOITn OAC.
Aπoσúvδεση από το γραφείο
Akoouthetaauta tαβnatayia vαatooovδeσeTe tov utoloyoiotn oac ato EεωtepiKa εapntμata:
1 AToθηκεύσετuχόν avoikτά αρχεία.
2 ApaipoeTe tuxov meo, oiketec n CD, aTo tvouc) odnyo(ouc).
3 TepuatouoC Aitoupyia uToLoyioiTn.
4 Kλειστο το καλυμμα της Θθόνης.
5 AIOOuvEoTe To KaIOWIO aTOv TPOOaapoyea (adapter) pEuatoC.
6 ATOOUVDEOT To TnKtpoLoyio, Tn OuaKEun KATEUoVAnC, Tov EKTUTWtn,TNV EoTEPIKn OoVn, KAI Tc alAe C EoTEPIKe C OaKEuEc.
7 AnouvEoTe to KkEiOwmaKensington av to XpnoiOpToieYia va aopaaioTe Tov UTOLOyoiTn.
Mετακίνηση
Otau aIa etakivnoTe yia iikpces attootaceis, ia npadEiyua, ano To TpaTeCi Tou ypaefeiou oac seia afouoa ouvavtnoeuw.
Ppoetoiia Tou UToLoyioTn
Ipiiv aTIO Tn eTApopa Tou UTOLOyoiTn, KLeiote kai aOpaiaote To kALumu TaOboVns aTEIKOVians yia va Tov TeoTe ae LEIToupyia avauovnc. MtopoiteTwpa va TapeTe ME aOpaaleia Tou UTOLOyoiTn oac OTouBHTnote nate Meo aTo Ktpiio. Ia va Byalte Tov UTOLOyoiTn aTIO Tnv KAATAaN 'YTVou, aoile Tnv OboVn; akolouwS TATnOte kai Kpatnote Tnatnevo TO KOUPTI TpOPOooiaC.
Av pivete tov utoloyoiotn oto ypaio evoc talnt n e eva diapopetiko ktipio, mtopei va etiieeTe va kaeioeTe tov utoloyoiotn:
Kavte KAI OTo Evapn KAI OTN OUVEXEA KAI OTo TepaiooC.
- -
Mtopeite va theoetevu tnooyoiotn oe aeitoupyia avaouvns, natawvtac Fn> +F4>. Akooutheta kleioe ka aopaiote tnov oovn atieikovianc.
Otav ete etoioc va xnpoioinoeTo vUtoIoovitn EaV, aiaopaiote kai avoigt nV oovn atieikovion, aokouwTIEOTE kai eueuepwote to kouptip tropodooiac.

Enmuon: Eav n evoieqn Sleep (Avaovn) eivai aeevepytoinmuevn, toe o uToIooiOriTng eiohAe OE aeitoupyia Hibernation (Apavotoin) kai attepevytoin0hke. Eav n evoektikn auvia tropooboaic eivai oBnotn aaA n EvoeiktiKn auovns eivai avaumevn, toe o uToIoayoiTng eiohAe OE aeitoupyia avaovns. KAI otic duo TepiTTwOeis, pntote kai eueuhepwoTe to Koupti tropooboaia via va eveyoTOIOEOTOV uToIoayoiTg EaV. PpooEeTo OTi o UToIoayoiTng Evexetai va eioAei OE aeitoupyia abpvtoioinoc apou npapaeeivc ie aeitoupyia avaovnc ia xpvikn Tepiodo.
Ti vα φέρετε Θις Συναντήσεις
Av n ouvavtnoan oac eivai oxetikac uvtoun, E xpeiazetai Tioavovva npate tntota a , Ektoa to vtouoloaytnoac. Av n ouvavtnoan oac sbapke iepiaotepo n av
n mttatapia oac oevivai pnpwocptioeyn, evbexteai va thelnoete va npate ta
oas to metaoxmaiato AC, yia va ouvoboeotev to uvoLoyoiT noac o Tpica otnv
aithouoa ouvavtnoans.
Av aibouaa peuatoC dev exepi zpa emuatoC, meiwotene nV exavlanon tnc
mntapias bacovtacs tov utloyoitn o kataoaon Ytvou. Pataote
kleioTe to kalmuTnC ofoVnC otav deV xpnoiopoieE evpya tov utloyoiOtnoac.
Tia etiotpoqn otyn evpyoia, aoileTn (ev av elai kLeioT), akoloutheta
Pataote kai eLeuBepwote To kouptipopooiaac.
Mεταφορά του Απολογίστή σπίτι
Otau aiknoe ato ypaieio oto otiti oviotpoqa.
Ppoetoiia Tou uToIooIyioTn
Meta tynu aioovdeon tou utoloyoiatn an to ypaepio, aokouthetaauta ta bnuata yia va npoetoiapaete tov utoloyoiotnia to taqidi poc to atini:
ELeyTe av exete apaipoeoi ola ta meo kai touc otTIkoouc diokouc atio TIC movadec biokou. Av dev apaipoeet e ta meo mtopei va tpokntheta ietaia otny Kepaah n ts movadac biokou.
- Plaketapete TOV UTOLOYIOIgneia TPOOATEUTIKn 0Kn TOnu MTOpei va aTOTpeEIG TOV UTOLOYIOIgntaTTo VA YAIOTpaeI TPIYUPW KAI VA TOV TPOOATEUGEi AV TEOEi.

Ppoox: ATOpeuyete va TAKETAPETe ta AVTIKEIeva oTtA OTo TAVW kALUMa Tou UTOLOGYOTn. H TIEoN EvavTIA OTo TAVW KALUMa MTOpei va Bλauei Tnv oθovn.
Tivα φερετε μαζι σας
EkToC av exTe hOn mepiKa avtkeiEvva oTo oTITI, pEpeTe ta akoloutheta avtikeiEvaa
- Προσαρμόγεα (adapter) και καλώδιο ρεύματος
Tov tuwnuévo Fnyopoos oyno
Tivαλαβετε ειδικα uπόψη
AkooutheautecsTIGooyiesyvaTPOoTaTeyeteTOV UToLoyoiTn Oac 000 TaIeEte AIOkai Poc TdoualeiaOc:
- ElaxioToTIOInOte TIV EINPeia TwV aALayWv Tns 8epuokpaiaac KpatWvTaTov UTOLOyIOTn MaCi SaC.
Av xpeiaotei va otapatnoete via yayalo xpvioko diotma kai de mtopeite va TAPETE TOV UTOLOYIOIaCiOac, aPHTOE TOV OTO TIOPT-MTAYKcTou autokivnTOU VA aTOPOUYETe TNV EKTeON TOU e UTEPBOAIkCtOtn.
Olaayec stn 0epokpaia kai tnu ypaia mtopeia v npokaelaouv ouuukwong. Etttpyeote otov utlooyiota v eetippey iot n 0epokpiaia uatiou, kai etieewnpote tn v oovn ia outkwnon piv va aovieTe tov utlooyiatn. Av n alayh tsg 0epokpaoia c ivai eyalutepn twv 10^ (18°F), eittpeye stov utlooyiota v epei o e 0epokpaaia domegaatiou siya. Av elavduvatov, apntoe tov utlooyiota via 30 letta o eva terpialauo e 0epokpaaia avapeo a onv egwtepiki kai tn 0epokpaaia domegaatiou.
EykataoTaon Evoc ypaΦiou OTo OTiTI
Av epyaote ouxva oTov uToIooiOTn oac oTo OTniti, mTopei va 0EeTe va ayopaoet
Eva 0eutepo TPOOAPUoGT (adapter) peuatoG yia va xpnoiotIOIEte OTo OTniti. Me
Eva 0eutepo TPOOAPUoGT (adapter) peuatoG, mTOpeite va aTOnpuyTe va
MeTapepeTe TO EETpa bapoc ato kai TPOc to OTniti.
Av xpoiopoioite tov utoloyoiotn oac oto otiti yia eayalex xpvikc tspiobouc, mtopei etianc va thelte va tpoothetaeet eva eEwterko nKtpoIyo, movitop, n Tovtiki.
Taξiδi με tov utoλoyiσtŋ
Otau akeioe oia e yaleuepn atoostaog, ia npadeiyuga, atto ktiipio tou ypaefiou ooc to ktiipio tou ypaepiou evoc telatn, notav taideue toTtiká.
PpOeToiuaoia Tou uTOnoIyoiTn
Ipoetoiaote tov utoloyiotn oav vao tv naiipvate otini. Siyoupeuteite TWC n
ttatapia otovtoloyiotn eivai optioevn. H aopaleia oto aepobpmo iTOpei va
atttnei va avoieTeTov uttoloyiotn oac otav tov fepvete OTN TEPIOXn Tns TUAnC.
Tivα φερετε μαζι σας
Φερετε τα ακόλουθα ανικείμενα μαζι σας:
- PpOoapuoyeac (adapter)
Eeodipko,pi npwos qoprioevo taeketo mataipias - EπΠροθετα αρχεία προγάματος Εόηνησις ἐκτυτιωτήν αν σχεδίαςτεν αλρησιμοτοίησε τὰλλον ἐκτυτιωτή
Tiva
Eππροθετα οις Θηγες γία τη μεταφρά του ὄλογοιτή στο στιπί, ακολουθησε έυτες Ιδηγες γίαν τι προστateύσετε οτόν οτολογοιτή σας Σθεόμειε:
- NaVtva TpaipveTe Tov UToLoyoiTn Oac Oav Xeipatookeuñ.
Av eivai duvatov, va eTIIeewpeitai o utloayiotnc 1e to xepi. Ta unxavmuata aktivwX oTo aepoopjio eivai aqpaan, aaia n Tepvate tov utloayiotn atio avixveut metalawv.
ATIOEUYETe VA EKHTETE TIC DIOKETEC OE AVIXVEUTEC METALLOU TOU KpatouVTAI OTO XePI.
v n taξiδia με tov uTOnooyioTn
Otauaigdeu taioxwaσεxwpa.
Ppoetoiia tou uToIooIyioTn
Ppoetoiapae ToV UToLoyoiotn OToCt a ToV PtoeIoiaTe Kavovikai yia taigidi.
Tivα φερετε μαζι σας
ΦepeTe Ta akóλouθa avtikeiενa ma zi σας:
- PpOoapuoyeac (adapter) pεμaoc
KaIOWia pEupatoTn oivai kataaIyia tn xwpa otovtoia taigdeuTe
EeepiKa, PnnpocpOmuEv aKetaaatapia - EπΠροσθετα αρεία προγάματος Μόηνησις εKTUTWTN av σχεδίαζεTE vα χρησιμΟΤΟΙΝετε ἀλλον εKTUTWTN
- Antóeigη ayopac, ΘTNV πεπΠωη TOUN xpeiaotéi va TNV επidēiεTE ΕUπaλnlouc tou τλωνεiou
- AiaBataPio EyyunongiEeVn Taigoiwn
TivaAβεTEεIδiKa UTóψη
Akalouθηοτa ta iδia πράγματa που πρεπεινα λαμβανετε UTOψι ΘΑγα Ταξδεύετε με Tov UTLOλογισή. EπΠρόσθετα, autες ΠΟμβουλες εΙναι χρησιμες Σταν Ταξδεύετε διεθυώς:
Otav taigdeuete ae aann xwpa, elevxi Tn totikn taan peuatoC kai oI Tpodaypae ctwv kalomegapeuatoTou ppoapoyea (adapter) evai oubetaC. Av dev ivai, ayopote eva kalwoioe uauivai ouubatoe Tnv totiKn taon. Mn xpnaiotnoie t eetatpottnc Tnou TTowovta iia oukeucs ia va dwaete puota otuvtoloiTn.
Av xpoaioioite To movteu, eelye To av To movteu kai o ouvodtnpa civai uubatae To ouotnma tnaetikoiwviuv Tns xwpac otnv toia tafoiee.
Aσφάλεια του ὄπολογίστή σας
O utoayoiatns oac eivai pia nolutin etevouan tv otioa tpette va tpooeXeTe. Maote Twcs v npoataeuekai va qovtiEe tov utoayoiatn oc.
Ta xapaktnpiotiká ασραλείας περιαμβάνουν κλειδωμata λογισικόι και uλικόι — μια κλειδαρία ασραλείας και κωδικόύς.
Xpnoiac kλειδαρίας ασφαλείας
O φορητός ὄπολογιστής διαίθεται με ὄποδoxyή ασφαλείας οὐβατή με κensington για λουκέτο πασφαλείας.
Tulie To kaiwioiaa Kaeiabapia aopaaies yupw ato eva akivnto avtikejevo otius eva tpattei n to xepoula evoc keidomegavou ouptapoi. Eiaayete Tnv kaiiabapia otnv eykotn kai yupote To kaii diyia va aqwaiaeTe Tny kaiiabapia. DiatirEvtai etriang mepikakovtela dixwsc kaei
Xpŋση κωδικών πρόσβασης
O KoBikoi TpOaBaAns TpOaTeUouv Tov UToLoyiTn Oac aTo n EoauoIobOtNeVn TpOaBaOn. O KaOpiauoc Autwv Twv Kowikwv TpOaBaanc DnmuOpye i diaopotkA eTtEba TpoostaiaC Tou UToLoyiTn kai Tuv DEdoEvWv oac:
O Kwokoc TpOoBaonc EITnptn ATOTpeTNI Tn mEgouioDornev EIOOO 0To BOntIKo TPOypaMaBIOS. MoIc OpiTe o Kwikoc, 0a TpETe va ToV kataxwpiaTe wote va aC eTTPAne n PPOaON 0to BOntIKo TPOypaMaBIOS. AvatpeTe OTN Evotnta "BOntIKo TPOypaMaBIOS" 0tn 0eLi31.
O Kwikoc xpnoT npoataeuei Tov utloayoiTn oac aTOn mEgouioodtnevn xpon. Ia meyto baHou aoPaeiaoc, ouvouaoTe n xpon autou tou kwikoou e Ta oneia eLevyou kwikwV kata thv EKKivnon kai ETIOptpeTE OTNV epyaosa ca t aTo ia Tepio do apavotroinang.
O KwioKoC npoBaonc kat aTyn EKKivno npooataeuei Tov uIoayoiTn ac aTIO nEouoiOoBtneV npoN. Ia eviTo baAooaPaeic, ouvuaote Tn xpno autou tou kwioKoU e Ta oneia eaEyxou KWIOKW vKat aTny EKKivno KAI ETIOATEyE OTV Epyoia oac mTa aTO pioo oapavotoinoc.

Σημαντίοι Mmν ΕξασεTE TOV κωδικό ΕπιπρηNT! Eáν ΕξασεTE TOV κωδικό προσβαασς, θα πρέτειν επικΟνωνησεTE με TOV αντιπροσωπό σαή ενα Εξουσιδθημένον κέντρο σέρβις.
Kataxwpion Kwoikwv πpóαaonc
MolcKaOpiateEvacKwOikocTPOoBaonc,epaVizetai mnuua TPOptnG yia Tnv kataxwpion Tou Kwoikoou OTO Kevtpo Tg oOvnc atteiokovcn.
Mólíc Kaθopiotei o Kωδikóς προσβααης επιπηρτή, εμφαviζεαι εva μήνuμα προτροπίς για ην καταχώριαίου Kωδikóύ τον πατηοεόε
- Πληκτρολογήσετον κωδικό προσαβαος επιπηρηή και πατήσε
MolcKaOpiTei o KWDIoc TpOaOns XpOnTn, KAI EVepyoToiOnei n TnapaETPOC KwIDIOU TPOBaOns KaTaNv EKKIVOn, EMaviciTaEv aNvua TpoPTOnCiYia TNYKATAxWpion Tou KwIDIOU KATaNV EKKIVOn.
Πληκτρολογήσει ον κωδικό προσβαας χρήσηι και τηπότε

Enuavikó! Exete tpeis eukaipiec yia tvkataxwpion tou oawotou kwokou ppoaaron. Eav atotuxete otnv kataxwpion tou oawotou kwokou ppoaaron meta attopeic ptoptae i, n leitoupyia tou ouotmuatos avoatelaetai. Patote kpatote patnevo to koupi tri popooiai yia teaoepa deutepoleenta wote va terpuatiaete tn aleitoupyia tou utoloyoiot. Akoalouwcs evpyotoiote tov utoloyiatn gava, kai ppoattanote ek vevou.
Kaθopioμος κωδικών πρόσβαοης
Mtopeite va kaThetaieTe Touc KomegaCs PpOaOns XpOoiOtioWvTAC to BOnentiko TpOypaMa BIOS.
Eπέκταση μέσω των επιλογών
To o p t o c TPOOOWIKoC H/Y OaC TPOOΦepei MiA TlAnp EMTeipia KIVTOU UTOLOVIOtI.
Eπλογές συνδεσιμότητας
Oi oac eTTIPeTouv va ouvOeTe TEPKpeEIAkEc OoKEuEs OTov UTLOAOYIOtN
Oa cTiwCg ta kavate me Evav eTITpATTzio H/Y. Ooov apop aTc oOnyiecs yia tn
OuvOeON diaOpov ExWTEPIKW MVovAodwOTov UTOAOYIOtn, avatpeTe OTNV EToMeVn
EVOTNTa YIA TEPIAOATEPc LEETOUPEIEc.
Móvτεμ φαξ/δεδομένων (oρισμένα μοντέλα μόvo)
O uTIOLOyoiTnC EEXI EVA EVoWuaTomegaEvo V.92 56 Kbps movTeu paE/0e0ouevuv. (opioeva oovTEla muovo)

Pnoeiooioan! Autn n 0upa oovteu dev eivai ouubaTn uenphiakcs tnAeawvikeys paumuC. H ouvdeon autou tou movteu oia npiaiktnAeawvikynpauun th Ppokaloei Znmu aTo movteu.
Tia va xpnoiopoioeTe n thupa movteq pa6/60eovw, ouv6oTe eva tnAeWviko Kaawio aTo n thupa Tou movteu eEva Bucma (tak) tnAeWvou.


Ipoeiobtoiogn! Beaaiwtheta otTo kaawdoTou xpnoiopoieE iivai kataaannlo yia tn xwpa oTnv oToia epyaceote.
Evωματωμένη δυνατόπτα δικύου
H evωματωμενη δυνατότητα δικτύου σας επιρέτειν αυνδεσετε τον ΑΤΟλογίση Σε δικτuo Ethernet.
Tia va xpnaiouoiote n duvatotnta iktou, ouvodote eva kalwo Ethernet aio tn thupa Ethernet (RJ-45) tou piokeiota nptpiik kapta tou utoloyoiotn eva buoja (tak) iktuo n kevtpo iktuwongtou iktuou aac.

Universal Serial Bus (USB)
H θύρα Universal Serial Bus (USB) 2.0 είναι μι υψηλής ταχύτητας εἰπράκή θύρα του σας επιρέτεινα συνόσετε περίφερειακά χωρίς να δεσμεύτετε πολύτιμους τόρους του συστήματος.

Oupa IEEE 1394 (opioεva μoVTéλa μóvo)
H θύρα IEEE 1394 του Ανλογιστή σας εἰπιρεῖνα συνδθείτε με μία συοκεύην του Αντοῦπριζει IEEE 1394 ὄπως μία βΙντεό κάμερα ἡίμα ηψιαίκή κάμερα. Δείτε το ἀχειρίδιο τής βΙντεόκαμερας ἡίμα ηψιαίκή κάμερας σας γιλεπτομέρείς.

p i v i a c (opiouéva movtela muvo)
To HDMI (DiEiapn trolupeov uynlnc evkpiieac) evai iua utnoptnpioevn ato tv klafo, aoumuieotn, diEiapn yia eOakInpou npniak oXo/bivteo. To HDMI tApexeiia diEiapn meTaU oTIOaOHTOTE oubetaatnc Tnyns npniakou nXou/Bivteo, otwcs eva tNleotikokouti (set-top box), oukeun avantapaywyng DVD kai dektn A/V Kai evoc suuBatou movitop npiaikou nXou nKai bivteo, otwcs npniakn tNLEopaon (DTV), mEvoc mOvo kaWoiou.
Xpnoiouoane Tn UpuHDMI tou uTOnoayoiTn Oa yia tn ouvdoan Tou Eoonlaou nXou kai bivteo. H uOToiAn m Ev a movov kaawio EITpETe I Tnv TaktoToinevn Ekyataotaan kai tn npyopn ouvdoan.

ExpressCard (opioεva μoVTéλa μóvo)
H ExpressCard εivai n vεότηρ ἐκδοῦη τής PC Card. Eivai μία μικρότηρ και taxúερ έἰδιαφήν έποία ευίαχύει περαιέρω τή χρησικότητα και επεκτασιμότητα tou ὄλογιστή σας.
Oi ExpressCards umoatnpizov eva terpaoTio apiOe TIIayowv ETEKtaanC,
oupiiauabovewv twv pooapoyewkaptw vnuhng tuTou flash, ektwv
TV, uovdoanC Bluetooth kai npoapoyow oubetaWv ME IEEE 1394B. Oi
ExpressCards umoatnpizov expapoyec USB 2.0 kai PCI Express.

Enmuvtikoy! Ytapxouv duo eifon kaptw, n ExpressCard/54 ka i n ExpressCard/34 (54mm ka 34mm), deiaopopeitikec etoupyiec n kaθε μia. Ta duo eifon kaptuw ev uttoptipoiovtai aTIO oλeC tIC utdooxec ExpressCard. IapaKaλω avatpèCTO oTo Exyepidio TNS kaptac oac yia Tpeaipépw λeTTOpépiec σXETIKA μe Tov TpòTTO Ekyataotaoçkai xphonc TNS kaptac OTIwC kAI Tc AetoupyieC TNC.
ToTOnOeTnO n iac ExpressCard
ToTIOeTIHOte MIA KApTa MEoA OTNv UTTOOxH KAI WOnTe ELaoppa WoTE VA EvapmuoeI ME EvA KIAK.

Ektivαη μιας ExpressCard
Pniv aTIO TIV EKtivaEg mAc ExpressCard:
1 EgEaTe aTo TnV eapoyn Tou Xpnoiopoie Tnv KApTa.
2 Kavte apioTepo klik oTo Eikovioa apaipeoans uikou Tavw otynpum np Epyaoiwkai diakoyte tn aeitoupyia ts Kapta.
3 ΩθησTE TnV καρτa ελαφρα μεσα σιν UTTOδoxn kai ελευθερωοτe TnV ωοτe va πεταχτε Εξω. AkoLouθως αραρεότe TnV καρτa aTRO TnV UTTOδoxn.
EykataoTaon mnuhns
AkoLoutheauta ta bmuata yia va eykataohtoe tnuun
1 ATEVEpyOTIOIATE TO UTOLOYIOI, ByAeTe TO TPOOAPUoya peuatoC (av EivaouoEeEvoc) kai apaipoeTo TnKTo Tns mTatapiaC. ETEITA yupioTe avantoTaTO UTOLOYIOITYIA VA aTOKTNOE TE PpObaon OTn Baon Tou.
2 ApaipoeTe Tn Bida a to KaLumu Ta nC MuynuNc, ETTa ONKwote Kai apaipoeTo KaLumu Ta nC MuynuNc.
3 EioayettnoovadmaunngdiaywviaeosaotnyuTTOOxni (a),kaiETTEIATnoteToKATWpaalakacexpiVAKAEIOOeoiOTHcOntou(b).

4 AvikataaotnoTe To kALumu Ta nG uNmKai aOpaAioTe to e Tn bia.
5 ToTOnTeNToTe EK VEOU Tn OUsToixia MAnatapiw, KAI ETravaauvEoTe Tov TpOsigmayEA AC.
6 EvpyoioTc Tov UTOLOyoiTn.
O utloayiotns autoupta aivxveuei kai puthetai to oliko meyeos vnuhs.
Σμβouλeuteite ἐνα φρόδιο τεχνίού η επικοινωνησε με TOV TOTIKO AVITΠρόσιΟ Tης Acer.
Bɔŋθηntɪkó πρόγραμμα BIOS
To p o p a BIOS (BIOS utility) iai eva p o p a puθμiσç uλikou Tnou eivai evωματωμévo στo Basic Input/Output System (BIOS) tou utroλογιστη σας.
O utloayoiTc oac eivai non kataaannla puthetaioevoc kai 8eAIOIOTIOINueos, kai 8e xpeiaetai va ekteleote auto to bonthetaKO tpoypauma. OwS, av avtieWtioeTe TpoBnmuatapuθmians, mtopei va xpeiaotei va to ekteleoeTE.
Tia va evpyoioiOeTe to BOnThnIko TpOypaMaBIOS (BIOS utility), TpItoE < F2> 0tn diapkeia Tou Auto-EEyxou EkkivnAnC [Power-On Self Test (POST)], Evw
TpoBaalTai To loyotuTO Fopntoc TpOoWtIKoc H/Y.
Σειρά εκκίνησς
Tia va puθμiεTE tη σeipá εκkivŋoNs ΘOβonθntikó πpóvpaμa BIOS, evépyoToinote to βonθntikó πpóvpaμa BIOS, akoλoʊθως επιλέξTe Boot απο tη λίστα τιν κατηγοριών τού εμφαviζεται ΘOτο πάνω μέρος tns oθόνης.
Evεργοποίηση της λειουργίας disk-to-disk recovery (επανόρθωση δίσκου σε δίσκο)
Tia va evpyoioiOeTe Tn aeitoupyia eTavop0wn oikou o6 biok (eTavop0wn oKApou oikou), evpyoioiOte To bontheta KpOpaBAS, aKoouw cTlAEcTE Main aoTo nIota kAtnyopiW TIO UEPaVicEta OTO TAVU MPoc Tns Obovnc. AvzntnoTe Tnv EvD2D Recovery 0TO KATW MPoc Tns Obovnc Kai xpoaiOtioiOte Ta TAnktpa F5> n F6> ia va eTtaleTe Tn the Enabled.
Kωδικός πρόσβαοης
Tia va opioe Kwoiko Tpooaans KaTn Ekkivon, Evpyotoinote To Bonntiko TpoypaMa BIOS kai akolouwcs EtnieSsTe Security aTo n Aota Katnyopiov Tou epaivcetai oTo npawepoc ts Obovnc. Avzntote nTv evoeiign Password on boot: kai xpooiotoinote Ta pAnktpa F5> n F6> ia va evpyotoinote Tnv Ev loyowduvatotnta.
Xpŋση λογισμικόύ
AvapaywynTaivow DVD

Σημειωη: H δυνατόπτα autη δίαιθεται μόνο σε πομενα μοντέλα.
Ötav εívai ᵓykataστημένη η ὄτομονάδα DVD στην ὄπική μόνάδα δίοκου, μτορείte va αναπαράγετε ταῖνες DVD στον ὄπιλούγιστή σας.
1 EgyeTo 6iKO DVD kai eioayeTe eva 6iKO uE taivia DVD.ETeTa KLeiOTe To 6iKO DVD.

Enuavtikoi! Kata tnv Ekkivnontou TPOypapmuos avattapaywnc DVD via Tpwtn qopα, 0a aoc zntnθei va eiaayeteTov KWIOKIOIeipoxns (region code). Oi diaokai DVD eivai xwiiopevoi o6 TEPIOXEs. Apou katoipotei o KWIOKOC TEPIOXns OTov oNDyO DVD oac. 0a Taiaei diokouc DVD mvo autnc ts nC TEPIOXs. Mtopoite va opioTe TOV KWIOKOIIePioxns EwS TIVTE Qoepcs (ouuTTPEIAaBavouEvnsc TNC TpWtnc), META aTTO CTCOTIOE O KWIOKOC TEPIOXns 0a vivei movic. H ETTAVAPOPa Tou kALnpou OAC DIAOKU DEv ETAVApepe10v apIOMu TW V Ooov Tou Exei OPIOTE i KWIOKOC TEPIOXns. AvatpeTe OTov Nivaka TTAPAKATW OE AUTO To KEpaAio yia TlNPoQopieCs OxETIKa ME Touc KWIOKOUCTePioxuv Taiiwv DVD.
2 H taivia DVD a taiéi autómuata etá atro epiká eutepoλeTTa.
| Kωδικός Περίοχής | Xώρα ἡ Περίοχή |
| 1 | H.ΠΑ., Kαναδάς |
| 2 | Ευρώπη, Μέση Ανατολή, Nότιος Αφρίκή, Αλτωνία |
| 3 | Notioavatoλική Ασία, Taɪβάν, Nότιος Kopéα |
| 4 | Λατινίκή Αμερίκή, Αωστραλία, Νέα Αζηλανδία |
| 5 | Πρών ΕΣΣΔ, μέρη Κής Αφρίκής, Ανδία |
| 6 | Δημοκραία της Βίνας |

Σημειων: Γινα αλλαξετον κωδικό περioxής, εἰσάγετε μία ταιύνις DVD από μία διαφορεική περioxή στον Μόγο DVD. Avatρέξετο Θη Βοήθεια online για περισότερες Πληροφορίες.
Σuχvécs ερωτήσεις
H akolouθ έivai μia liota αnto πθανες κataotáσεις τομιοpei va πρokúψουν κατá ηχρησιοιτόσας. Παρέχονται εύκολες απιαντήσεις καλιδεις για την καθεμία.
Pnto kouptipopooiaac, aaaa eev paypatoioiteiavepyotoinon ouEKKIVnON tou uTIOLOVIOtN.
_TE Tnv EvOeIGN loxuoc:
Av ivai avaumevn, utapxepu uov unoloyiot. EkyTe ta akoloutheta:
Av o UToIooIOTnC LEIToupyei ME uTATApia, MTOpei va Exe aTIOOOPTIOE i Ka va m TPOe i Va SEkivnoe ToV UToLOoYIOI. SuVDcTe Tov PpOaapoyea (adapter) ia va eTavaopotioeTe To PaKcTo MIIataipiac.
- ΣΙΥουρευτείπως Σ προσαρμογέας ρεύματος εἰναι σωτά συνδέδεμένος Στόν Αντολογίστη και στήν πρία ρεύματος.
Av n EvOeIgTou eivai avmuEvn, EeYTe ta akoloutheta:
Ytapxiei n Ekkivouevoic biokoc (oxi tou ouotnato) oTOV Egwtepiko odnyo diaketac USB; Aqaipeote n avikataoTne TOV ME bioko Tou ouatniatoK kai patnote Ctrl + Alt+Del yia eTavekkivnoTou ouatniatoC.
εμφανίζεται τίποτα στην oθόνη.
To ouotma diaxepianc evpyeia c Tou utlooyirot nne autouata tnv ofoyn ia va eoikovuioe ievpyea. Pntote otioohtnote koupi yia va avayete nTv oboyn.
Av Tawvtaεva TnKtpo δev aváψει πáli n oθóvn, duo Tpáγμata μTnpεi va εivai n aiia:
Mtopei va eivai trolu xau mIo to etTInTeo wTeivotntac. PAnToTe (auxn) yia va puuioeTe to baOu oWTeivotntac. EaeyTe Ta aKoAouθa: Mtopeivexiyiveiomegaetaevtaaog.StaWindows,deiteoEikovio Elambdaou evtaoNG (nxia) otyn ypaun npyaaiw. Av eivai diaypauevo, kavte KAKIO EIKOVIOKAI aapaeTE TNYETILOVn Ev. atokotn. Yπαρχε μia Μιηνχανίκς εκτίναεης πάνω Μινόδα Μιπικό διακου. TToTOeTeIe TnA tN uTn Evoc oAoUBIou n to Akpo Evoc ouvOeTpna eOa otnv otn KAI TATnote wote va TpayuatoTointhe EkTivaq ton Tou ouptapiou. okiáote va ouvóeTe eva eEwterpoIyio 6 ia Upa USB otn _j n apiotepn TAEUPa Tou uTIOAOYIOtN. Av douLewei, EITKOIVWVNOte ME TO AVITINPOsOWIto OACn mEvA EOGUIOOToMevo KETPO ETTIAKEUwV KAOTcva ExI xalapwoTe To kawio Tou eowterpoIou Eλεγξταακόλουθα: Ziyoupeute TE Wc o EKTUTWtns Eivai ouvEeEeEvoc e iia TpiCa peuatoC kai Eivai EvpyotoinEvoc. Eπιθμώ την επαναφορά tou utολογίστή μου στις αρχικές tou puθμίσεις χωρίς CD επανόρθωσης. Enueiwn: Eav to ouotnua oac eivai n TOnluyawoan Ekoo, tote to Aetoupyko ouatma kai ngwaa Tou et av eveyote otav evpytoieite to ouotma yia npwt opa aivai kni movn entloyn ia tic Aovtke c Tepittwoeic eTavoptwikwAeioupyiwv. Autn iaiikiaia avaktnangs aac Bontheia va eTavaapepeTo doiako C:te To apxiko loyioikIO Tounivai EkyataoTnevo otavayopaceTo opnpTo acuTIOLOyoiTn. AkaloutheoTe Ta hmuata napakatw yia va avabounote to bioko C: oac. (O biokoc C: oac 0a diapopwoe i gava [reformatted] kai 0a diaypaoov ola ta eboeva.) Eivai onmuavtiko va dbnioupynoe Aviypapa aosaaic ag oawvTwv apxieiwv oac Tpv va xpnaiotoinoete autnv tnv etniloyn. Piv va eKTEeOeTe mia eTavaopopa, napakaoume eLeyEe Tc puOmuieCtouBIOS. 1 Eλeγετε για δείτε αν είαι ενεργοποιημένη ὄχι ηλειουργία Acer disk-to-disk recovery. Σημειωη: Γινα ευεργοποίησετο βοθηθητικό πρόγραμμα BIOS (BIOS utility), πατήσετο Tia evapn ts iaiaokaiaas tavaopac: 1 EtnaveKivnoTe to ouTo nua. Enmuvtikoi! Autn n duvatotnta kataalauapei 15 GB oE eva kpufo diiaepiaotaou aKlnpouoac biokou. O utloyoiotns oac kalutetai atro tv Eyyunon dieov Taigiodt (ITW) tou aoc Tpooqepei aoaaleia kai npelia otav taioeute. To traykoamio biKTuo mac kevtpwv ETIOKEUw UTAPXIEYIA VA OAC BONaEi. 'Eva diaβaTnpiO ITW εpxεταμε Tov utloayoiTn oac. Auto to diaβaTnpio πeipéxεi oσα πρεTEI va yywpiεTe Κεtikα με TPOpyaμia ITW. Mia λiota diaθεσμωv, εgouioootηνewkεVpawEπIOKEuωv βpioketai σe auto to xpnojo Bβλiapaki. Diαβaote auto to diaβaTnpio TPOeKTIka. Iavva va exe taoc to ITW diaBata npio aic, EIOkA otav taideuTE yia va Av n xwpa tou tafoeute dev exei eouoiootnevo kevtro etiokeuw ITW aio tnv Acer, mtopeite va etikoivwovte me ta ypaeia macaykoaiw. Ipaakaloume va exete diaeoiuec tic napakawllnpopopiec otav kaleite ma online utnpesia tnc Acer, npakaloume va eioe kovta otov utlooyiotn oac otav tnlepwveite. Me tnv utoataiogac, mtopoume va eiwosoume to xpovo nou xeiaceetai eva tnepwnkaia vao bongnooue va uoe ta pnoaunata c aatodotika. Av utapxouv mnuuata opalpatwv n ttio atio tvto loyotn ac, katypate ta oittwcs eipaviciovtai otnv ofoyn (ntov aplmo kai tnv akolouia otnv Tepitwnowtuvtt). Xpeiacetai va tapaoxete Tc akoloue ts npopopiec: Ovoua: △εúθuvση: Apiou Tutios unxavntaros kai ovtelou: Σειριακός αριθμός: Hερομηνία γαράς: AutoTo KepaAio Oac Divei Obnyie yia To TwCva AvtiMeTwiTeE OuvnOieva TPOBALNATA TO OauTNIATOC. DiABaote To TIPV VA KAeSETE EvA TEXVIKO, AV TAPouOIAsteI katoIO TPOBNAU. OI AuoeIe CTIO aoBap APOBANATA ATAITOUv AvoiYMA TO UTOLOYIOI. MNV ETIXeIPNOETe VAOIECTE TO UTOLOYIOIT N MOVOI aCg. ETTIOAVWNOte ME TOV AITPPOOSOT OAC n EVA ESOUIOBDOTNeVCO KETPO ETEKUEWV YIA BOHtEIA. Autoc o opontc utoloyiatnc evawmatwveiv avtpoxpwnevo oxediao trou Tpoalmeunvupata avaopac ocpaalatwov otnv oovn ia va oac Bonnoe i v etiuloe TpoBnaeta. Av to ouotma avapei eva opalma n av lae i wpa eva oumttwma opalmuatoC, Av abeTe eva unvua opaalatoC, onmuote to unvua kai ekteleote Tn diopthetaikn evepyia. O akolouoCtivakac avaypaei ta unvumata opaalatwv e aalpntikn oipa maiz eTn ouviotamevn evpeia dpaoans. Av ouvexiête va avtiuetwiizete TPOBlambdaata metaTou aakolouhetaeTE TIC diopthetaikcé Autn n ouokneu exekdoikmaotei kexeBpEeTiwG oumuoppwetai me ta opia yia Oμως, δεν utápxει καία εγγύπη πιως δε θα utápxει παρεμβολή σε μία Μουγκεριμένη εγκατάσταη. Av autη Σωακεύη προλέσει βλαβερή παρεμβολή Θην παδίοφωνική η τηλεόπΠική λήψη, πρayμα του μτορείνα καθοριστέι με το ἀνογμα και το λείσιμο του εξότλισμό, o χροτην εθαρμύνεται ν δοκιμάσειν αἰσρθώσει τὴν παρεμβολή με ενη περισσότepa αἰτό τα ακόλουθα μέτρα: Oaes ouvoeic e aaees ouokeuee npetie va yivovtae n xponn PPOOTATEUeVW KAwbiw via va biatnpetai n oumuoppwon e touc kavoviaouf FCC. Móvo TEPiPepeiaKa (oukeuεc EIOδou/EOδou, TEPmuTiká, EKTUTWTc, Kλ) Tnou exouv TIOToTioInon OUMOpφwOns μe Ta opia TcAŋs B (Class B) MTOPOUv va ouvθoovμe autov tov EOTIAIOμo. H λEIToupyia μe μn TIOToTIOμeva TEPiPepeiaKa εivai Tlθavov vα exei ως aTtOTEλεσμa TAPeμβOλεc Θη pAOΦWVIκ κai TnλEOTTTIkn ληη. Alambdaes npottoioeic nou ev exouv eykpiEi pntw c aTov kataaekuaotn mtopei va akupwoouv tnv apoioiTata tou xhoTn, n oToia npaxpeitai aTIOV Federal Communications Commission, v aeioupyei autov tov uToIoayoiTn. Autoc o eGottiaoic exei eykpioge [Atoqaoan ZmuBouaiou 98/482/EC - "TBR 21"] ia iapeuatikn ouvdeon sto dnoaio Tnaeowiko diktuo [Public Switched Telephone Network (PSTN)]. Omu, eGaiac twv diapopwv meaigtwv diapopetikwv PSTN toun pexovtai o deiapopetikc xwpe, n yekpion a too movd ev npexei atepiopiot thiaebaiow an tttuoxous leitoupyiac oe kae terpuatiko onmuio PSTN. Tnv pipttwn npolmautw, tha pente va etikoivwvoete me tov npoxo tou eGottiaou oac sto ptoptiatko. Ia peiootepcns npopopoe cxtiká me ticavtoioxcs kwpe, avatpecte otivn evotnta "Ipoedoinoeic kavoviouw & aqaaleia" otneoi 38. H movada LCD npayetai uynlnc-akpiieas tevikekcaatakeun. Napola auta, epiakaikovooioxieia mtloepi tepiotaoiaka va nouv aployiota na vupavicovtai mauec n kokivec tealecs.Auto dev exe iTnpieia otnv kataypaumevn Eikova kai dev atotel duolteitoupyia. Enmuo: OI npakatw puotikc Tnpopopie civai mvo yia ovtla aoupuato diktuo LAN kai/ n Bluetooth. AutoToTPOiOvEivai OUφwvaMuTAPOTUTaPADIooVOTNTWkAoaΦaleiaoc OTIOIAoHnTOTE Xwpacn TEPIOXnCOTNVOTIOAEXIλβEYKpionyia aoupuatn XpOn. AvaloyaMeTICpuθmuεic,autoToTPOiOvμTOpEVA TEPiExnVa mTPEIXeI aoupuatc paiooaukeuEs (OITWC aoupuato LAN KAI/ n Movadc Bluetooth). OI papaKATw Tlnpoopoeic Eivai yia TPOiOvTa ME TEOIEs oukeuEc. Me to napov, n Acer, diaknpouoei πwcs autn Σeipα φopntwv PC oμmuoppwetai με tis θελeilωeic ataithoeic kai λλεσxεtikéδiataeic ts Ondyiaç 1999/5/EK. Ta μέλη της EE από τον Iouλίο 2009 εἰναι: Bέλίο, Δανία, Γέρμανία, Eλλάδα, Iοτανία, Γαλία, Iρλανδία, Αιλία, Λουεμβούργο, Kατωχώς, Αυστρία, Αποτογαλία, Φινλανδία, Σουŋδία, Hνωμένον Baσίλειο, Εοθόνία, Λετόνία, Λιθουανία, Πολωνία, Oύγγαρία, Δημοκρατία της Τοεχίας, Δημοκρατία της Σλοβακίας, Σλοβενία, Kúπρος, MÁλτa, Bouλγαρία και Pouμανία. H χρήσι πειπρέπειται σις χώρες τις Eupωπαικός ἀνως, καθως και τη Nopμανδία, την Ελβεία, Iαλανδία και το λίχτενσαιν. Autη η συσκεύπρετι ευ φροιμοτοίειται με πλήρη συμφωνία με τους κανονισους και περιρισους στή χώρα χρόσς. Γι περισότερες πληρορορίες, πράραλούμε ἀπικοινωνήσe με το τότικό γραφείο στή χώρα χρόσς. Γι πυ τιπο πρόσφαιŋ λίστα χωρών επισκεφθεῖτη τη δίεύθυνοιn http://ec.europa.eu/enterprise/rtte/implem.htm. H akivoloouevn ioxuc efoou tnc kaptac mvi PCaupmuatou kai ncs kaptac Bluetooth evai trolu katw atro ta opia ekteons cpeaouxvotntcns FCC. Napola auta, n oepa qopntw PC thpietie va xpnoiutioietai me tetoio tpanto wote n tiavoteta yia avthetai vtn diapkeia kavovikncs leitouyiac va elaxiototoieitr aakolouwC. 1 Znteitai aTOUS xpnoTeS va aKoLauOouv Tc oBnyieac RF yia aupmuate s oukeuEs Tou Tepilaabovtai OTOV oBnyo xpnoTn Tc kaTe suokueRf. Pnooxn: Tia oupwviae Tc attaithoeicoumuoppwongoektheta nC FCC RF, ia atoataan diaxwipiaou toulaixiotov 20 ek (8 ivTae) rpTei va biatnpeiir taetagu Tns kepaia yia tny evomegaatweyn kapra mivPCI aupiatou LAN tnou eivai evomegaatweyn oTo tmna tns obovnckai oawv twavpwnw. Enmuoi: O aupato Tpooapoyeas ivi PCI tns uoltoiei tn λειουργία της ποικλομορφίας μετάδοσης (transmission diversity). H λειτουρία δέν εκτέμιησι πάδοσυχόντης ταιύχρονα αἰτό τις ὅύο κεραίες. H επιλογή μίας αἰτό τις κεραίες πραγματοῦίται αυτόματα ἡχεροκίνητα (αἰτό touς χρότες) ψοτεν αέξασφαλίοιει η καλή πτοίŋτα των τὴλεπικοῖνωνίων. 2 Autn n ouakeun TepiopiZeTai e Eoswepikx npn loywn tns Ieitoupyiac ts ot Eupoc auXovntac ato 5,15 EwC 5,25 GHz. H FCC aataei auto to Tpoiv v axpnoioitei ai e Eoswepiko xwo yia va meiwtheta i n tiavotnta etiBaouc TapeuBoIcN e Kivnta Dopupopipka ouotnmuata ibiw kavaaiwv. 3 Ta pavraptuynlnciuxucpiooabiipocovtaoipwotapxikoi xpnoTeC twv ouxvohtuw aTio 5,25 eWc 5,35 GHz kai aTio 5,65 eWc 5,85 GHz. Autoi o staohoi pavraptmuTopouv va pokaaleosouv napeBoan kai/nva Blambdaouv autn Tn ouokun. H σειρά Φορητός προωτικός H/Y χρησιμοτοία ὅλοκληρωμένες κεραιες του δεν εκτέμτουν πέδία RF τάνω από τος Health Canada γία το γενικό πληθυμό συμβουλευτίετον Kωδικό Ασφαλείας 6 [Safety Code], του μιποpeiν αβρεθείστη σελίδα στό διαδικτύοι τής Health Canada στή διεύθυνην www.hc-sc.gc.ca/rpb. Genel Kullanıci Kilavuzu TravelMate Serisi Dizustü Bilgisayari Model numarasi: Seri numarası: Satin alma tarihi: Satin alma yeri: 100'den fazla ulkede satilmakta對於 Acer ürünlerinden birini sekstiğiniz icin sizi tebrik ederiz. Almş olduşunuz notebook dinyanin en onde gelen notebook markalarindan biri對於 Acer'in güvencesi altindadir. Notebookunuzu problemsiz olarak kullanabilmenizi saglamak en buyuk arzumuzdur. Bu sebeple notebookunuzu kurmaya ve kullanmaya baslamadan, beraberinde gelen tanitim ve kullanim kilavuzunu dokkatlice okumanizi tavsiye ediyoruz. Notebookunuzu teslim alirken, fiziksel bir hasar olup olmadigiin kontrl ediniz. Nakliye hasarli urunlerin degistirilmesini satin alma tarihinden baslayarak 15 gun icersinde saticinizdan talep ediniz. 15. gunden sonra yapacaginiz talepler geçersizdir. Notebookunuzda herhangi bir probleme karstalstiginizda Musteri Hizmetleri Departmanimizi, size en yakin Yetkili Teknik Servisimizi arayabilir yada web adresimizin Destek bolumunden yararlanabilirsiniz. Yetkili Teknik Servisimizi ilk kez ariyoransiz, yetkili kişi adıniza bir kayı脘acak ve probleminizi dinleyecekbir. Daha sonra sizi uzman kişiye aktaracak, uzman kişi size yardınci olmaya calşacaktir. O an icin cevapländirilamayan sorulariniz icin sizden bir sure talep edilecek ve mümkınan對於 en kisa surede tarafimizca bilgilendirilecekseniz. Telefon destegi ile czülemeyen problemlere notebookkunuzu Yetkili Teknik Servise getirmeniz istenecektir. Notebookun, Beyaz eşya diye tabir edilen buzdlabı, camaşır makinesi vs. gibi yerinde tamir edilmesi yerine, servire alinmak istenmesindeki sebeb bu Tür elektronik cihazların tamir ve bakimindan daha fazla teknik imkan, test ve cihazları, yedek parç,a teknik doküman ve ekipmana İtiyaçduyulması ve hepsinini birden ancak servis ortaminda seksilde mMkün olmaktadır. Servise teslim ettiğiniz notebookkla ilgili problemlerinizi, yapilmasıni yada yapilmamasını istedirqiniz ilemleri tam olarak anlatıniz ve bunun forma,islendiğıni kontrl ediniz. Notebookunuzu Yetkili Teknik ServislerimizeGoturmenizgerektiginde veya herhangi bir nedenle yer degisikliginde beklenmedik hasarlardan kaçınmak icin; Notebookunuzu paketlerken,original kutusunu ve pakketlememalzemelerini kullanın. Notebookunuzun kapaklarin acmaniz veya cikarmaniz tehlikeli voltajlara vya diger risklere maruz kalmaniza yol acabileceigi icin bu urune kendiniz servis vermeye calismayin. Notebookunuzun tum baglantilarini kullanim kilavuzunda belirtilen sekilde yapiniz. Aksi bir baglanti sekli notebookunuzun garanti kapsami disina cikmasina neden olabilir. Notebookun original kutusu, ambalaji disinda ve duzgün olmayan fiziksel kosullarda saklanması. Notebookunuza ait garanti belgesinin satici tarafindan tam veogrdu olarak doldurulup kaselendiigi ini control ediniz. notebookunuzun seri numarası merkezimizde kaytl olup garanti islemleri notebook kayitlarimizdan takip edilecekir. Bununla birlke lüzumunda ibraz etmek uzere garanti belgenizi ve faturanizi muhafaza ediniz. Class II ISO LCD standardini destekler. Notebookunuzun kasasini (dis yuzeyini) temizleyebilirsiniz. Bunun icin asagidaki adimlar izleyiniz. Notebookunuz periyodik bakim gerektirmemektedir. Notebookunuzda herhangi bir problemin ortayasciousi durumunda Yetkili Teknik Servislerimize irtibat kurabilirsiniz. X Bu talimatlari dikkatlice okuyunuz. Bu belgeyi ileride referans olarak kullanmak uzere saklayin. Ürunde isaretlenen tum uyarilari ve talimatlari yerine getirin. Temizlemeden once urunun fisini prizden cekin. Siv temizleyiciler vya aerosol temizleyicileri kullanmayin. Temizlemek icin islak bir bez kullanin. Güç besleme ünitesine güç baglarken ve böglantiyi keserken asağidaki kilavuz bilgileri mesehade ediniz: Güç kablosunu AC elektrik przyzine takmadan önce Güç beslemesini takın. Güç beslemesini bilgisayardan Çıkarmadan önce Güç kablosunu prizden çekin. Eger systemd beirden fazla guc kaynagı varsa, tum guc kabolarini guc beslemelerinden cikarmadan once guc baglantisin kerin. Güç kablosunu:taktıgüniz elektrik prizinin kolaylıkla erisilebilir olduğundan ve ekipman operatörüne mümkın olduğunca yakın yerleştiligiinden emin olun. Ekipmana gidenGPCu keseniz gerektigünde,guc kablosunu elektrik prizinden Çi;kardıgünizdan emin olun. Bilgisayarinizkartyuvalarinda sahteplastikkartlargelir.Kuklalarkullanimayan yuvalari toza,metal nesnelere veya diger cisilmere karsi korur.Yuvalarda cart olmadiindalkullanmak uzere bu cartlari saklayin. Duymani zikorumak icin, bu talimatlari yerine getirin. Net ve rahat bir sekilde duyuncaya kadar sesi yavaş yavaş artirin. Uyari! Topraklama pimi bir guvenlik özelligidir. Düzungtopraklanmayan elektrik prizi kullanilması elektrik carpması ve/veya yaralanma ile sonuçlanabilir. Not: Ayrica topraklama pimi bu urunun performansi ile etkilesebilecek olan ve yakindaki diger elektrikli aygitlarin cikardigi beklenmeyen gurultulere karst iyi bir koruma saglar. Bu urunu kendiniz onarmaya calismayin, kapaklarin acilmasi veya cikarilmasi sizi tehlikeli voltaj noktalarina veya diger risklere maruz birakabilir. Tum onarim islemlerini nitelikli servis personeline yonlendiriniz. Bu urunun duvardaki priz ileoran baglantisinikesin ve servis iglemini su durumlarda nitelikli personele birakin: guc kablosu veya fisi hasar gordugunde,kesildiginde vya yiprandiginda Not: Sadece calistirma talimatlari tarafindan kapsama dahilinde bulunan kontrolleri ayarlayin, diger kontrollerin yanlis ayarlanmasi hasar ile sonuclanabilir ve urunu normal calisma sartlarina geridondurmek icin genellikle nitelikli bir tekniyen tarafindan kapsaml calisma yapilmasin gerektirecekbir. Bu dizustunde Lityum iyon pil kullanlmi t. Bu pili nemli, Islak veya aşindirici bir ortamda kullanmayin. Ürünü bir ɪs kaynagınin yakininda, yüksek sicutlktaki yerlerde,doğanğlu güneş ilei alan yerlerde, mikrodalga firianda ya da basınlçı kaplarda bulundurmayin, saklamayin veya birakmayin ve 60 °C'nin (140 °F) üstundekı sicutlklara maruz birakmayin. Bu kilavuz bilgilerin yerine getirilmemesi pil asidinin sizmasina, isinmasina, patlamasina veya ates almasina ve yaralanma ve/veya hasara sebeb olabilir. Pili yirtmayin, açmayin veya sökmeyin. Eger pil sizarsa ve sizan sivile temasa geçerseniz, bol su ile iyice durulayin ve derhal tibi yardim alin. Güvenlik sebepleri dolayisiyla ve pilin ömrünü uzatmak icin, sarj islemi 0^ (32 °F) sicutligrin altindaki ve 40 °C (104 °F) sicutligrin üstundeki durumlarda sarj yapilamayacaktir. Yeni pilin tam performansi sadece iki veya uç tam Şarj ve deşar yapildiktan sonra elde edilebilir. Pil yüzlerce kez Şarj ve deşar edilebilir, faktat sonunda bitecekir. Çalıstirma suresi normalden gozteGORulür oranda duserge, yeti bir pil satin aln. Sadece onayl pilleri kullanın ve bu aygit icin belirtilen onayl Şarj alelerini kullanarak Şarj edin. Pili sadece amaçlanan amacidoğanftusunda kullanin. Hasar goren bir pili veyaşar aleti nisla kullanmayin. Pili kisa devre yaptirmayin. Bozuk para, klips veya kalem gibi metal nesneler pilin positif (+) ve negatif (-) kutuplarin temas etmesine sebep olursa istenmeyen kisa devre meydana gelebilir. (Bunlar pilde metal Şeritler olarakGORUN.) Bu durum Örnegün cebinizde veya bir turbada yedek bir pil taşırken meydana gelebilir. Kutuplarin kisa devre yapilmasi pile veya baglanan nesneye zarar verebilir. Pil yaz veya kılı aylarinda kapalı bir araba ilgi bilçak veya seksuk bir yerde kalirsa pilin kapasitesi ve ömrü duşesektir. Pilin seksakkınlı daima 15 °C ve 25 °C (59 °F ve 77 °F) seksakkınlıarasinda tutmaya calisman. Şirkada vya seksuk pil bulunan bir aygün bil tam Şarj olduğunda dahiGPCİ Olarak calismanmayibilir. Pil performans Özellikle donnma noktasın altindaki seksakkılcarda sinirlanabilir. Pilleri atese atmayiniz, patlayabilir. Piller hasar gordugunde de patlayabilir. Pilleri yerel duzenlemelere gore atiniz. Mumkun oldugunda luffen geri donusum yapiniz. Luften ev atiklar ile birlikte atmayiniz. Kablosuz aygitalpildengelengetkileşimemaruzkalabilir,bu da performansi etkileyebilir. Dizustü bilgisayar lityum pil kullanmaktadir. Pili urununuz ile birlikte gelen pilin ayin turü ile degişirin. Baska bir pil kullanıması yangın veya patlama risikasınilgilir. Uyari! Piller dizgün kullanilmadiğnda patlayabilir. Pilleri seksmeyin veya ateşte atmayın. Pilleri;cocuklardan uzak tutun. Biten pilleri atarken yerel duzenlemelere uygun davranın. Dikkat: Bu cihaz, bir lazer sisteme sahiptir ve "SINIF 1 LAZER ÜRÜN"olarak siniflandirilmaktadir. Bu aygīla herangi bir sorun yāsarsaniz lüften en yakininizdaki YETKILI servisle görtösün. Lazer iṣiniyladoğan termas etmeyi onlemekicensayi açmaya calısmayın. SINIF 1 LAZER ÜRÜNÜ DIKKAT: AÇIKKEN GÖRÜNMEZ LAZER RADYASYONU. ISINA MARUZ KALMAYIN. APPAREIL A LASER DE CLASSE 1 PRODUIT LASERATTENTION: RADIATION DU FAISCEAU LASER INVISIBLE EN CAS D'OUVERTURE. EVITTER Toute EXPOSITION AUX RAYONS. LUOKAN 1 LASERLAITE LASER KLASSE 1 VORSICHT: UNSICHTBARE LASERSTRAHLUNG, WENN ABDECKUNG GEOFFNET NICT DEM STRAHLL AUSSETZEN PRODUCTO LÁSER DE LA CLASE I ADVERTENCIA: RADIACION LÁSER INVISIBLE AL SER ABIERTO. EVITE EXPONERSE A LOS RAYOS. ADVARSEL: LASERSTRÄLING VEDÄNBING SE IKKE IND I STRÄLEN. VARO! LAVATTAESSA OLET ALTTINA LASERSATEILYLLE. VARNING: LASERSTRÄLNING NÄR DENNA DEL ÅR ÖPPNAD ÅLÅ TUIJOTA SÄTEESEENSTIRRA EJ IN I STRÄLEN VARNING: LASERSTRÄLNING NAR DENNA DEL ÅR ÖPPNADSTIRRA EJ IN I STRÄLEN ADVARSEL: LASERSTRÄLING NAR DEKSEL ÅPNESSTIRR IKKE INN I STRÄLEN Uyari! Güvenlik sebepleri dolayisiyla componentleridehyistirirken veya eklerken uygun olmayan parçaları kullanmayın. Satin alma seçenekleri icin bayinize dinisman. Uyari! Güvenlik sebebyle dizustü bilgisayarınüz asaqidaki Şartlarda kullanırken:tüm kablosuz veya radyo aktarıci hazlarini kapatin. Bu aygünla herhangi bir sinirlama getirilmeden sunlar dahildir: kablosuz lan (WLAN), Bluetooth ve/veya 3G. Herhangi bir alanda yururlukte alan ozel duzenlemere uygun davranmayi unutmayin ve kullanilmasinı)yasak oldugu yerderde veya etkileşime ya da tehlkiye sebep oldugu durumlarda aygitinizi daima kapatin. Aygitı sadece normal calisma pozisyonlarinda kullanin. Bu aygit normal kullanildigianda RF maruz kalma kilavuz bilgilerine uygundur ve alet ve anteni vucudunuzdan en az 1,5 santimetre (5/8 inc) uzakta tutulmaldir (asağidaki seksle bakıniz). Metal bulunmamaldir ve aygitı vucudunuzdan yukarıda belirtilen mesafe de uzağa yerlestirmelisiniz. Veri dosyaları vya mesajlar basariyla aktarmak icin bu aygit aça kaliteli bir sekilde böglanmalir. Bazi durumlarda veri dosyaların vya mesajlarin aktarilması bu böglanti kuruluncaya kadar gecikebilir. Aktarim tamamlancaya kadar yukarıda belirtilen mesafe talimatlarin yerine getirildiginden emin olun. Aygitin parçaları manyetiktir. Metalik materyaller cihaza ilistirilebilir ve duyma yardimi kullanan kişiler duyma yardıbulunan kulaklarinda aygitı tutmamalir. Aygitin yanina kredi kartı veya/DDermanyetakik saklama ortamı yerlestirmeyin, cunku bunlarda bulunan bilgiler silinebilir. Kablosuz Telefonlar da dahil olmak uzere herhangi bir radyo aktarim cihazinin calisması yetersiz korunan tibbi aygittaranı iletkilesebilir. Harici RF enerjisinden yeterince korunup korunmadikları belirlemek vya akliniza takilan soruları sormak icin bir hekim veya tibbi cihaz üreticisi ile temasa.Sincez. seksık bakim tesilerinde iken cihazını kapatmanı uyarı veriliyorsa cihazi kapatinı. Hastaneler veya.Sincekbakim tesileri harici RF aktarımlarına karı hassanolan ekipmanı kullanabilir. Kalp pilleri. Kalp pili ile etkilemesini onlemek icin kalp pili ureticileri kablosuz aygit ile kalp pili arasinda en az 15,3 santimetrelik (6 inc) bir boşluk birakilmasini onermektedir. Bu oneriler, Kablosuz Teknoloji Araşirmasi ixle ortaya konulan bagımsiz araşirmalar ile uyumludur. Kalp pili bulunan kisiler aşaqidakileri yapmaldir: Aygiti daima kalp pilinden 15,3 santimetre (6 inç) uzakta tutun Aygiti katatldiginda aygiti kalp pilinin yakininda taşimayın. Etkileşime girdiğinden yüzelenirseniz, aygitiñı kapatın ve taşıyın. Duyma yardinlar. Bazi dijital kablosuz aygtilar bazduyma yardinc maddeleri ile etkilesebilir. Etkilesim meydana gelirse, servis saqlayiciniza danisiniz. RF sinyalleri motorlu araçlarda elektronik)yakı,enjeksiyon sistemleri,elektronik anti kayma (anti kilitlenme) fren sistemleri, elektronik hiz kontrl sistemleri ve hava yastigi sistemleri gibi yanlş veya hatali kurulan koruma altindaki elektronik sistemleri etkileyebilir. Daha fazla bilgi icin, aracınüz va da eklenen herhangi bir cihazın uretici firması veya temsilcisi ile ya gürşünuz. Aygita sadece nitelikli personal servis vermeli veya aygiti araca kurmaldir. Yanlş kurulum veya servistehlke Olabilir ve aygiti icin olan herhangi bir garantii boşa çkarabilir. Aracınizdaki tüm kablosuz ekipmanin.Doğru takildigrin ve duźgün calistigini duzenli olarak kontrol edin. Alev alaban sivilari, gazları veya patlayi maddeleri aygit, parçaları veya eklemeleri ile ayni yerde bulundurmayin veya taşimayin. Hava yastigi bulunan araçlar icin hava yastiklarinin buyukbir kuvvette sistiklerini aklinizda bulundurun. Kurulan veya tasinabilir kablosuz cihazlar da dahil olmak üzere nesneleri hava yastigiin veya hatayistiin acilacagbölgenin uzerine yerleşirmeyin. Araç ici kablosuz cihazları yanlş kurulursa ve hava yastigi patlarsa, ciddi yaralanma ile sonuçlanabilir. Aygütiniz Üçakta kullanmak yasaktir. Uçaga binmeden once aygütiniz kapatin. Üçakta kablosuz tele aygütlarin kullanilmasi uzagin calismasina zararl olabilir, kablosuz Telefon sebekesinci kasintiye ugratabilir ve yasa disl olabilir. Potansiyel patlama tehlikesi bulunan yerlerde aygitiinizi kapatin ve isaretlere vetalimatlar uygun davranin. Potansiyel patlama tehlikesi bulunan alanlara normalde araç motorunuzu kapatmaniz gereken alanlar dahildir. Bu gibi alanlardaki kivilcimlar patlamaya veyaa yangina sebep olarak bedensel yaralanma ve hatta can kaybi ile sonuçlanabilir. Düzustü bilgisayarinizi servis istasyonlarindaki gaz pompalarinin yakininda kapatin. Radyo cihazınin yakit bulunan yerlerde, depo vedağütim XVI alanlarinda, patlama sureçlerinin bulundugu kimyasal tesislerde kullanlmasi ile ilgili kisi lamalarimushahade ediniz. Potansiyel patlama tehlikesine sahip alanlar her zaman olmasa da buyukçoğunlukta isaretlenir. Bunlara tekne Güverte altları, kymyasal madde aktarimi veya saklama tesisleri, sivilaştliran petrol gazı kullanan araclar (orn propan veya butan) ve havada kimyasal madde ya da tane,toz veya metal tozu gibi partiküller bulunan alanlar dahildir. Kablosuz Telefon kullanimnin)yasak oldugu yerlerde ya da etkileşime veya tehlikeye sebep olacak durumlarda dizustu bilgisayarini açmayın. Uyari: Bu aygittan acil arama yapamazsiniz. Acil arama yapmak icin cep Telefonunuzdan veya diger Telefonla arama sisteminden arama yapacaksiniz. Bu elektronik aygiti imha ederken cõpe atmayin. Içinde ampul bulunan projektörler ya da LED'siz aydinlatlan LCD/CRT monitor veya ekran bulunan elektronik ürünler icin: Bu uründeki lamba(lar)da civavardir ve yerel, eyalet veya federal yasalara gore yeniden islenmeli veya imha edilmelidir. Daha fazla bilgi icin www.eiae.org adresinden Elektronik Endistri Derneigi ile temasa geçıniz. Lambaya özel imha bilgileri ici www.lamprecycle.org sitesini ziyaret ediniz. Acer'in ENERGY STAR simgesini tatsächyan urunleri ereri maliyetlerini dusurerek parasal tasarruf etmenizi ve ozellikderden ya da performanstan feragat etmeden cevreyi korumanizı saglar. Acer musterilerimize ENERGY STAR simgesini tatsächyan urunleri sunmaktan gurur duymaktadir. ENERGY STAR nedir? ENERGY STAR simgesini taşiyan ürünler daha az enerji tüketir ve ABD Çevre Koruma Ajansi arafindan belirlençok siki erjeri verimi kulavuz bilgilerini yerine getirerek sera gazıçkışini ünler. Acer musterilerin paradan tasarruf etmesine, enerji maliyetlerini扭矩ürmesine ve Çevre kalitesini iyileşirmesine yardınci olan ürünlerini ve hizmetlerini圆满完成 sunmaktadir. Daha üyi enerji verimi ile enerjiden daha fazla tasarruf edebilir, sera gazlarini daha da扭矩urek iklimdehyşim risklerini azaltabiliriz. Daha fazla bilgi�能 http://www.energystar.gov veya http://www.energystar.gov/powermanagement kismına bakıniz. Acer ENERGY STAR simgesini taşyan urünler: Daha az isi cikarir ve soogutma yuklerini ve iklimsel isinmaları azaltir. ENERGY STAR ve ENERGY STAR simgesi ABD'de tescil edilmis markalardir. Bilgisayar kullanicları uzun sureliler kullanımların arindan gozlerde yorgunluk ve bas ağrisi hissedebilir. Kullanıçlar ayrca bilgisayar onundeki uzun surelere calisma sonucunda fiziksel yaralanma riski altinda da kalmaktadir. Uzun calisma suresi, yanılz poz, kotu calisma aliskanlijklari, stres, yetersiz calisma sartları, kiselayoık ve diğer etmenler bedensel yaralanma riskini buyuk oranda artirmaktadir. Yanlis bilgisayar kullanimi bilek tunel sendromuna, tendonitis, tenosinovitis vya diger kas-iskelet bozukluklarina sebeb olabilir. Aşaqidaki semptomlar ullere, bileklerde, kollarda, omuzlarda, boyunda veya sirtta görulebilir: halsizlik veya yanma veya karincalanma hissi Bu semptomlar varsa veya bilgisayar kullanimi ile ilgili diiger surekli rahatsizliginiz ve/veya aciniz varsa derhal bir hekime danisin ve sirketinizin sekslik ve güvenlik departmanini durumdan haberdar edin. Aşaqidaki bolüm daha rahat bilgisayar kullanimi:içın ipuçları icerir. Monitörunuzün görtüntüleme açını ayarlayarak, ayak koyma yeri kullanarak veya oturma yüksekligini ayarlayarak en rahat olduğunuz bölgeyi bulun. Aşaqidaki ipuclarinı mugsahade edin: Uzun sure bakma, yanlş gozluk veya kontakt lens kullanma, parlama, odanin asiri aydinlik olmasi, kotu odaklanan ekranlar,;cok kucuk yazilar ve duşuk kontrasti ekranlar gozlerinizi yorabilir. Asağidaki bolümlerde gozlerdeki yorgunluğu{nasil dusureceğiniz anlatilmaktadir. Gozlerinizi siki dinlendirin. Ekrinizi temiz tutun. Ekraninizi bozuk bir görtüleme açisina ayarlamayin. Bilgisayarinizi daha rahat ve uretken bir sekilde kullanmak icin asagidaki calisma aliskanlijklini gelistirin: Uyari! Bilgisayarinizi yatak veyaANEpe uzerinde kullanmani zi onermeyiz. Bu kaçınilmaz bir durum ise, sadece kisa bir sure calisin, duzenli molalar verin ve bazı gerilme egzersizleri yapin. Not: Daha fazla bilgi ici luften "Düzenlemeler ve güvenlik uyarilari" sayfa 35 konusuna bakiniz. Mobil bilgisayar ihtiyaçlarinizi karşilamak icin tercihinizi Acer dizustu bilgisayardan yana yaptıniniz icin teşekür ederiz. Acer dizustu bilgisayarikullanirken size yardimci olmasi icin bir dizirhber tasarladik: Ilk once, Sadece Başlayanlar icin... poster bilgisayarınüz baslatmanı za yarıld eder. Basilii TravelMate Serisi Genel Kullanici Kilavuzu TravelMate ürün serisindeki:tüm modellere uygulanan faydali bilgiler icermektedir. Acer eRecovery Management, klavyeyi kullanma, Ses vs. gibi temel konular icermektedir. Lüften asağida bahsedilen AcerSistem Kullanici Kilavuzu'nun (AcerSystem User Guide) yani sira Genel Kullanici Kilavuzu'un.Doşasi gereşi zaman zaman serinin sadece belirli modellerinde bulunan ilev ve özelliqlere basvurdugunu ancak satin aldgüniz modelde gerekli olmayabileşini unutmayin. Bu durumda metin "sadece belirli modeller" yazısiyla isaretlenmistir. Yazili Hzli Bslama Kilavuzu size bilgisayarinizin temel özelliklerini ve islevlerini tanir. Daha verimli olmak icin bilgisayarinizin size nasil yardim ettiğinci gormek icin lütfen AcerSistem Kullanici Kilavuzu'na (AcerSystem User Guide) bakin. Bu rehber; system islevleri, veri kurtarma, genisletme seçenekleri ve sorun giderme gibi konular uzerine detayl bilgi icerir. Ayrica; garanti bilgisii ve dizustu bilgisayariniz icin genel kurllar ve güvenlik onlemleri icerir. PDF dosyası incinde mevcuttur ve dizustu bilgisayarinizda onceden yüludür. Ona ulasmak icin bu adimalari takip edin: 1 Butun (B) Barangat, Programlar, AcerSistemii, tiklayin. Not: Adobe Reader gerektiren dosyayı inceleme. Adobe Reader bilgisayarınizda yüklü degilse AcerSistemi Kullanıci Kilavuzu'nu (AcerSystem User Guide) tiklamak Adobe Reader ayarlama programı�能istiracaktı. Bu yüklemeyi tamamlamak icin ekrandaki yönergelere takip edin. Adobe Reader'in{nasil kullanıdlıgün Ögrenmek icin, Yardim ve Destek menüsune girin. Bilgisayari açmak icin, LCD ekranın-altinda ve kolay baslama duğmelerinin yanindaki güç duğmesine baslı tutun. Güç butonunun yeri icin Hizlı Baslama Kilavuzu bakın. Kapatmak icin asagidakilerden birini yapin: Baslat'a tiklayin daha sonra Kapat'a tiklayin. Guc butonunu kullanin Ayrica uyku hizl erisim tuşuna basarak Not: Bilgisayari normal olarak kapatamazsaniz, bilgisayari kapatmak icin guc butonuna basin ve dört saniyeden fazla basili tutun. Bilgisayari kapatirsaniz ve yeniden acmak isterseniz acmadan once en az iki saniye bekleyin. Bilgisayariniza iyibakarsaniziyibirsekildeisleyecektir. Burada AC adaptörünün bakimi yüz yollarvardir: Adaptoru baska bir cihaza takmayin. Burada pil kutusunun bakimiicens bazi yollar vardir: Bilgisayar temizlerken bu adimlari takip edin: 1 Bilgisayari kapatin ve pil kutusunu seksarin. Aşaqidakilerden herhangi biri meydana gelirse: Lütfen "Sik Sorulan Sorular" sayfa 31 bakin. Degerli Acer Kullanıcişi iii BAKIM, ONARIM ve KULLANIMDA UYULMASI GEREKEN KURALLAR Notebookunuzu ilk kez calistirdiginizda iv Bir aniza durumunda iv Arizali notebookunuzu Yetkili Teknik Servisimize teslim ederken iv TAŞIMA ve NAKLIYE SIRASINDA DİKKAT EDİLECEK HUSUSLAR vi KULLANIM SIRASINDA INSAN VE CEVRE Garanti Belgesi vii Garanti Kapsami vii TÜKETICINN KENDI YAPABILECEGI BAKIM, ONARIM VEYA ÜRUNUN TEMIZLIGINE ILISKIN BILGILER Notebookunuzun Temizligi ix PERIYODIK BAKIM GEREKTIRMESİ DURUMUNDA, PERIYODIK BAKIMIN YAPILACAGI ZAMAN ARALIKLARI ile KİMIN TARAFINDAN YAPILMASİ GEREKTİQE İLŞKIN BİLGILER Notebookunuzun Periodik Bakimi ix BAKANLIKCA TESPIT ve ilAN EDILEN Güvenliginiz ve rahatinüz icin bilgi Güvenlik talimatlari x Optik Surocu Aygit icin Uyar (sadece belirli modeller) xiii Calisma ortami XIV Tibbi aygtiar XV Araclar XV Potansiyel olarak patlayici ortamlar XV Acilaramalar xvi imha talimatlari XV1 Civa uyarisi XVI ENERGY STAR Xvi Rahat kullanim icin ipuclari ve bilgiler xvii Ilkseylerilk xix Rehberleriniz xix Bilgisayarinizin kullanimi icin temel bakim ve ipuçlari xx Bilgisayarı açma kapama xx Bilgisayarinizinbakimi xx AC adaptörünün bakimi xxi Pil kutusunun bakimi xxi Temizlik ve servis xxi Dokunmatik yüzey temelleri (parmak izi okuyuculu) 1 Dokunmatik yüzey temelleri (iki tɪklama dʊɡmesi ile) 2 Kilit tuşkı ve sayısal tuş takimi* 3 Windows tuşlari 4 Acer PureZone (sadece belirli modeller) 5 16:9 ekran (sadece belirli modeller) 5 Acer Bio-Protection (sadece belirli modeller) 6 Acer Backup Manager 7 Yedekleme disklerinin yakilmasi 10 Geri Yukleme 11 Yedekleme diskerinden Windows'yi geri yukleme 12 Pilkutusunun ozellikleri 14 Pil omrunu uzatma 14 Pil kutusunu yerleşirme veçikarma 15 Pili sarj etme 16 Pil seviyesini kontrl etme 16 Pil omrunu etkili kulma 16 Dusuk pil uyarisi 17 Masa üsti ile baglantilarin kesilmesi 18 Kisa yolculuklar 18 Bilgisayarihazirlamak 18 Toplantilaranelergeturulur 19 Bilgisayari eve gotturmek 19 Bilgisayari hazirlamak 19 Yaninizda neler gotturmelisiniz 19 Özelhususlar 20 Ev ofis kurmak 20 Bilgisayarla yolculuk 20 Bilgisayarihazirlamak 20 Yaninizda neler gotturmelisiniz 20 Özelhususlar 21 Bilgisayarla uluslarasiyolculuk 21 Bilgisayarihazirlamak 21 Yaninizda neler gotturmelisiniz 21 Özel hususlar 21 Bilgisayar gvenlik kilidini kullanmak 22 Şifre kullanmak 22 Şifrelerin girilmesi 23 Sifrelerin belirlenmesi 23 Bağlanılik seçenekleri 24 Faks/veri modemi (sadece belirli modeller) 24 Dahili ağ özellişi 25 Evrensel Seri Veriyolu (USB) 25 IEEE 1394 baiglanti noktası (sadece belirli modeller) 26 Yüksek Çozünurlükte Multimedya Arayüz (sadece belirli modeller) 26 ExpressCard (sadece belirli modeller) 27 Hafiza yukleme 28 BIOS islevi 29 Yukleme sirasi 29 Disk-to-disk recovery saglama 29 Parola 29 Yazilimi kullanma 30 DVD filmerini oynatma 30 Servis Talebi 33 Uluslararasi Gezginler Garantisi (ITW) 33 Aramadan once 33 Sorun giderme ipuçlari 34 Hata mesajlari 34 FCC uyarisi 35 Modem bildirileris(sadece belirldomeller) 36 LCD pikes açiklaması 36 Radyo cihazin din duzenleme bildirimi 36 Genel 36 FCC RF güvenlik gereklilikleri 37 Kanada — Düşuk gücle calisan lisans harici radyo iletişim cihzlari (RSS-210) 38 Exposure of humans to RF fields (RSS-102) 38 LCD panel ergonomic specifications 38 Dahili dokunmatik yüzey, yüzeyindeki hareketleri algilayan bir isaretleme cihazidir. Bu, parmağınişi bu yüzeyde gezdirdkrne imlecin buna yanit verdişi anlamina gelir. Palmrest'tek merkezi pozisyon en uygun rahatlış ve destoji saglar. Aşaqidaki öğeler Acer Bio-Korumalı parmak ici okuyucusu ile tous takimi nasil kullanacağınizı gofterir. Aşaqidaki öğeler iki tıklama duğmesi ile tous takimi nasil kullanacağıniz Güsterir. Not: Gösterimler sadece referans amaçlıdir. Bilgisayarinizin,—)—)——,—— konfigürasyonu satin aldışınz modele,—)—)——,—— Not: Dokunmatik yüzeyi kullanırken, — sekilde saklayın ve parmaklarını — kuru ve temiz tutun. Dokunmatik yüzey parmak hareketlerine duyarlıdağ; Bu yüzden ne kadar hafif dokunursanı o kadar iyi sonuç alırkıniz. Daha sert bir sekilde vurnak dokunmatik yüzey'in yanınlı artırmaz. Not: Dokunmatik yüzeyinizde dikey ve yetay kayirdma zaten etkinleştilmistani. Windows Denetim Masasindaki Fare ayarleri ile devreDMI birakilabilir. Klavyede tam boyutlu tuşlar, sayısal tuş takimi*, ayı imleç, kilit, Windows, fonksiyon ve özel tuşlar mevcuttur. Klavyede, açip kapatabileceğiniz üç adet kilit tusu mevcuttur. Sayisal tus takimi masaustü bir sayisal tus takimi olarak islev yapar. Tuşlarin sag ust koserindekikıçuk karakterlerle gosterilir. Klavye kullanı basitleşirmek icin imleç-kontrol tus sembolleri tuslara yazilmamıstir. Klavyede Windows'a özgün fonksiyonlarıapan iki tuşvardir. Bilgisayar, ayrca 32-bit Yuksek Çozūnūrūklū (HD) Ses Özelligine ve hoparlörlere sahiptir. Sistem dahili stereo mikrofon ile birlikte işin olusturma, eko iptali ve gürültu bastirma teknoljileri Özelliklerine sahip olup Acer PureZone dahil olmak üzere tam.Conskulu ses deneyimi sunmaktadir. Acer PureZone teknoljisi Acoustic Echo Iptalini, lşin Olusturmayı ve purüzsüz ses kaydi icin Gürültu Bastirmayı destekler. Mikrofonunuzu ayarlamak icin Windows systeminizin system tepisinde bulunan Acer HD Audio Manager simgesine Çift tiklayarak Acer HD Audio Manager'i calistırın. Acer HD Audio Manager illetisim kutusu açilacaktır. Mikrofon sekmesine tiklayın ve ardindan Mikrofon Efektleri sekmesine tiklayın. Şin Olusturma ve Acoustic Echo Iptalini/seçerek mikrofon efektini ayarlayın. Not: Coklu ses kaynagi girişi almak icin isin olusturmayi engelleyin. 16:9 ekran Full HD filmerini daha.Once olmamiş gibi eve getirir. Çok)yüksek renk doygünluğuGPCEK bir HD göruntuleme deneyimini garantı eder. 16:9 kalitesoğru ev tiyatro gorsellerinin sonunda dizustü eglence hayranlarina vardişi anlamina gelir. Acer Bio-Protection parmak izi Çozümü, Microsoft Windows iletim sistemi ile butünleşik*cok amaçlı bir parmak izi yazilim paketidir. Kisilerin parmak izinin benzersiz olmasini kullanan Acer Bio-Protection Fingerprint Solution, Parola Bankasiyla merkezi parola yönetimi sayesinde bilgisayarınıyetkisiz erişmlere karşi korur ve Acer FingerLaunch ile hizl uygulama/web sitesi açması ve oturum açma olanağ sunar. Acer Bio-Protection parmak icioczum ile kisesel bilgisayariniz icin ekstra bir koruma katmani ve tek bir parmak hareketi ile gunjuk islerinize erisimi saglayabilirsiniz. Daha fazla bilgi icin Acer Bio-Protection yardim dosyalarina bakin. Not: Bu ozellikle yalnizca bazi modellerde bulunmaktadir. Acer Backup Manager, tum sisteminizin veya seçtiğiniz dosyaların ve klasörlerin programlı olarak ya da gerektiğinde yedekleme kopyaların olusturmanı olanak-SAŞGLAYAN tek bir Üç adimişSureşir. Acer Backup Manager'ı baslatmak icin klavyenin üzerindeki Acer Backup Manager tusuna basin. Alternatif olarak Başlat > Tüm Programlar > Acer Backup Manager > Acer Backup Manager'ı da kullanabilirsiniz. Burada Hoş geldiniz ekran açilacaktır; bu ekrandan programlı yedeklemeleri ayarlamak icin üç adimdan gelecekesiniz. Devam et'e tiklayarak yüz ekranaGPCIN. +duğmesine tiklayın ve ekranda verilen talimatları izleyin: 1 Yedeklemek istediginiz iceriigi seksin. Daha az icerik seçerseniz, surec daha hizl olacaktir, faktat veri kaybetme riskiniz artacaktir. Bu Üç adimi tamamladiğınizda programıniza gore yedeklemeler olusturulacaktir. Ayarlarinizi herhangi bir zamanda degistirmek icin Baslat menusunden Acer Backup Manager'i calistirin ve yukaria belirtilen adamlari yerine getirin. Bu bilgisayarda systemd aktivitesini izleyen dahili güç)yonetimi bulunmaktadir. Sistem aktivitesi asagidaki aygitlardan birin veya birkacin iceren herhangi bir aktiviteyi gõstermektedir: klavye, fare, sabit disk, bilgisayariniza bagl'i olan cevrebirimler ve video beligi. Belirli bir sure herhangi bir aktivite görülmezse (aktif olmama zaman asimi olarak adlandiril), erjiden tasarruf etmek icin bilgisayarbu aygtilarin bir kismini veya tamamini durdurur. Bu bilgisayarda bir guc yonetim semasi bulunmaka olup gelismis yapilandirmayi ve guc arayuzunu (ACPI) destekler, bu da ayni zamanda maksimum guc tasarrufu ve maksimum performansa izin verir. Windows bilgisayariniz icin tum guc tasarrufu islerini yerine getirir. Not: Bu özellikle yalnizca bazı modellerde bulunmaktadir. Acer PowerSmart tuşu bilgisayarınüz grafik alt sistemin gücten tasarruf özelliklerini kullanarak genel güç tuketimini azaltır. Acer PowerSmart tuşuna bastınlizda, ekran parlakişiDFS ergraf cipi daha Dennis hizaGPC;PCI ve WLAN ise Güç tasarrufu modunaCEEr. Acer PowerSmart tuşuna tekrar basarak onckei ayaralarında donun. Acer eRecovery Management, sistemi hizlica geri yukleyen bir aracir. Ayrica varsaylan fabrika disk görtunsunu yedekleyebilir/geri yukleyebilir ve sürucüleri yeniden yukleyebilirsiniz. Not: Asaigdaki icerikler yalnizca genel amacli referans olmasi icin verilmistir. Gerek urun ozellikleri farkllik gosterebilir. Acer eRecovery Management aşağidaki ilevleri icermektedir: 1 Yedekleme: Fabrika Varsayilan Diski Olustur 2 Geriyukle: Bu bolum her bir surecte size rehberlik edecektir. Not: Bu özellikle yalınizca bazı modellerde bulunmaktadır. Dahili optik disk kopyalayiçisi olmayan sistemlerde, optik diskle alakkı grevler,—çın Acer eRecovery Management'ni girmeden"—once harici bir optik disk kopyalayiçisi takın. Verilerinizin koruması amaciyla Acer eRecovery Management'in parola koruması özelliğini kullanmak icin parolası ayarlamaniz gerekmektedir. Parola, Acer eRecovery Management uygulamasınin açılıp Ayarlar öşesinin tklanmasıyla belirlenir. Acer eRecovery Management uygulamasinin Backup sayfasinda fabrika varsayilan imajini veya yedek suruculerle uygulamalari yakabilirsiniz. 1 Būtūn Baślat, Programlar, Acer, Acer eRecovery Management, tiklayin. 3 Diske yakmak istediginiz yedek (fabrika varsayilani veya sürçüllerle uygulamalar) TürunüCEE. Not: Bilgisayarinizin size gonderildigi sekildeki tum isletim sistemi ini ceren bir baslangic diski yakmak istediginizde fabrika varsaylani bir imaj olusturun. Iceriklere goz atmaniza ve secilen sürucülerle uygulamalari kurmaniza alanak taniyacak bir disk olusturmak istiyorsaniz bu durumda bir sürucu ve uygulama yedeşi olusturun (bu disk baslatilabilir özellakte olmayacaktir). Geri yükleme Özelligi fabrika varsayilani disk görtütusunden ya da kullanici tarafindan önceden olusturulmus CD ve DVD yedeklerinden sistemi geri yüklemenize ya da kurtarmaniza olanak tanir. Ayrica Acer sisteminiz icin uygulamaları ve surucüleri tekrar yükleyebilirsiniz. 1 Butun Baslat, Programlar, Acer, AcerRecovery Management, tiklayin. 3 Sistemi, fabrika varsayilani disk görtunösunden geri yuklemeyi ya da uygulamalar iyea suruculeri tekrar yuklemeyi secebilirsiniz. Not: Bu özellikle yalnizca bazı modellerde bulunmaktadır. Daha önceden hazirlanmş yedekleme diskleri Windows geri yüklemek icin, ilk yedekleme diskini yerleştirop F12 Öl yükleme Menüsu'nu BIOS Yardıncı Kurulumu'yla etkinleşirin. 1 Bilgisayarinizi açip optik disk surucünüze ilk systemd kurtarma diskini yerleştin. Bilgisayarinizi yeniden baslatin. Ön yüklemeyi uzun-vadeli kullanı icin ayarlamak isterseniz Ön yükleme alt menusün seçmelisiniz. 1 Bilgisayarinizi açip optik disk sürçünüze ilk/system kurtarma diskini yerleştin. Bilgisayarinizi yeniden baslatin. Bilgisayar, sarj edildikten sonra uzun kullanim saglayan bir pil kutusu kullanir. Pil kutusu asagidaki özelliklere sahiptir: Pil bilgisayarinizi AC adaptörüne faktıgünizda yaniden Şar olur. Bilgisayarıniz Şarjdayken kullanimi destekler, bilgisayarı kullanmaya devam ederken aynı zamanda Şarj edebilirsiniz. Fakat, bilgisayar kapalıyen daha kisa surende Şar olur. Seyahat ederken ya da guc kesintisi oldugunda pil kullanima uygun olacaktir. Destek olarak ekstradan tam dolu bir pilinizin olmasi onerilir. Yedek bir pil kutusu siparis etme ile ilgili detaylar icin saticiniz ile temasaGPCIN. Dügertum piller gibi, bilgisayarinizin pili zaman icinde zayiflayacaktir. Bu pil performansinin zamanla ve kullanldikca azalacaği anlamina gelir. Pilinizin Ömrün artirmak icin, asağida belirtilen tavsielere uymalisiniz. Bir pil kutusunu ilk defa kullanmadan öce, izlemeniz gereken bir "koşullandirma" islemi vardu: 1 Yeni pili, bilgisayari acmadan yerleşirin. Pil üç kere dolup boşalana kadar bu adimişi izleyin. Tüm yeni pillericensyara bir pil uzun zamandir kullanlmiyorsa bu kosullandirma isleminiGPCekleştin. Bilgisayar iki haftadan uzunbir surekullanlmayacaksa, pil kutusunu cihazdançikarmalisiniz. Uyari: Pil kutusunu 0^ (32°F)ALTHa veya 45^ (113°F) Ustunde sicutliklara maruz birakmayin. Asiri sicutliklar pil kutusunu olumsuz etkileyebilir. Pil kosullandirma islemini izleyerek, pilinizi mumkun olan en yuksek sarj kabul etmeye kosullandirrsiniz. Bu prosedürlerin takibini aksatmak pilin en yuksek duzeyde sarj olmasina engel olacaktir ve ayrica pilin etkin omrunu kisaltacaktir. Ayrica, asagidaki kullanim sekilleri de pilin kullanim omrunu olumsuz yonde etkiler. Önemli! Bilgisayarınüz kullanmaya devam etmek istiysaniz, pili cihazdan Çiçarmadan once, AC adaptörünü baglıyın. Yoksa, once bilgisayarı kapatin. 1 Pili açık pil bölmesi ile hizalandirin; temaslucun once girdiginden ve pilin üst yüzeyinin yukari污染防治进行。 1 Pili birakmak icin pil birakma kilidini kaydirin. Pili Şar etmek icin, öncelikle pil bölmesine.Doğru yerleştiligiinden emin olun. AC adaptörünbu bilgisayara takın ve ana elektrik prisine baglıyın. Piliniz Şar olurken bilgisayarınz ACGPCunde kullanmaya devam edebilirsiniz. Ancak pili bilgisayarınz kapalıyken Şar etmek;cok daha Higginsbir Şar suresi saglar. Not: Pili dşariçlmadan once sariyetmeniz onerilir. Seyahatgünunden onceki gece pili sari yetmek güne dolu bir pille baslamanizı saglar. The Windows guç ölçer o anki pil duzeyini gõsterir. Pilin seviyesini görmek icin gõstergeyi gõre v cubugundaki pil/guc ikonunun üzerine yerleştiirn. Pil ömrūnū etkīl kīma, pil doldurma/bosaltma dongusūnū uzatarak ve Şarj etme yeterliğini artirarak pilden en iyi sekilde yararlanmanı sāğlar. Aşağnda belirtilen onerilere uymaniz onerilir: Ekstra bir pil kutusu satin alin. Pil gucunu kullanirken Windows guc olçere dikkat edin. Uyari: Düşuk pil uyarınlçırund.dkten sonra, AC adaptörün en kisa surede baglayin. Pil tamamen pittiginde ve bilgisayar kapandiğindara veri kaybolacaktir. Pil dusuk uyarisi gorundugunde onerilen islem, durumunuza gore degisir: Bu bolum bilgisayarinizla seyahat ederken goz onunde bulunduracaginiz ipuclari ve ögutleri verir. Bilgisayan harici aksesuarlardan kurtarmak icin asagidaki adimlan izleyin: 1 Açık olan:tüm dosyalari kaydedin. Sadece kisa bir mesafeye gidecekseniz, Örneğin, ofis masanizdan bir toplanti odasin. Bilgisayari hareket ettirmeden once ekran kapaigin, Uyku modunda tutmak icin kapatip kilityin. Şimdi bilgisayarınzı bina icinde istediğiniz yere güvenli bir sekilde taşiyabilirsiniz. Bilgisayari Uyku modundan Çikarmak icin, ekran kapaigin污染防治; sonra Güç tuşuna basip birakin. Bilgisayari bir musterinin ofisine ya da baska bir binaya gotturecekseniz kapatmayi secebilirsiniz: Baslat'a tiklayin daha sonra Kapat'a tiklayin. Ya da: Bilgisayari Uyku moduna <Fn> + <F4> tuşlarina basarak getirebilirsiniz. Sonra ekran kapağıni kapayin ve kilityin. Bilgisayarinizi tekrar kullanmak istediginizde, ekran kapaagini acin; sonra guc tusuna basip birakin. Not: Eger Uyku modu gõstergesi yanmiyorsa bilgisayar Beklememoduna girmistir ve kapatimişir. Guc gõstergesi yanmiyorsa ancak Uyku modu işi yianyorsa, bilgisayarUyku moduna girmistir. Her iki durumda da bilgisayari açmak icin guc tusuna basin ve birakin. Bilgisayar Uyku modundayken bir sureligine Beklememoduna girebilar. Toplantiniz kisa ise, bilgisayarinizdan baska bir syg goturmeyebilirsiniz. Toplantiniz uzun olacaksya da pil tam dolu degilse, toplanti odasinda bilgisayarinizi fisi takmak icin AC adaptorunu goturmek isteyebilirsiniz. Toplanti odasinda elektrik prizi yoksa pildeki harcamayi bilgisayari Uyku moduna sosarak azaltin. Etkin olarak bilgisayari kullanmiyorsaniz <Fn> + <F4> tuşlarina basin ya da ekran kapağıni kapatin. Bilgisayari acmak icin eşer kapalıya ekran kapağıni açın, sonra güç tusunabasin ve birakin. Isten eve ya da evden iSe gidiyorsaniz. Bilgisayari masa ustunden cikardiktan sonra ev yolculugu icin bilgisayari hazirlamak icin asagidaki adimlar izleyin: Dikkat: Bilgisayarin ust kapaği yakınlarina bir seyler koymaktan kaçınin. Üst kapaşa baskı ekrana zarar verebilir. Evde gerekli bazı eşylar yoksa, yaniniza sunlari alin: AC adaptoru ve guc kablosu Bilgisayari korumak icin asagidakileri izleyin, isten eve ve evden ise: Bilgisayari evdeyken sik sik kullaniyorsaniz evde kullanmak icin ikinci bir AC adaptoru satin almak isteyebilirsiniz. Ikinci AC adaptoru saysinde eve gidip gelirken ekstra yuk taşimaktan kurtulabilirsiniz. Bilgisayari onemli sureler boyunca evde kullanyorsaniz, harici bir klavye, monitor ya da fare de alabilirsiniz. Uzun mesafelerde yolculuk yapiyorsaniz, orneigin ofis binasindan musterinin ofis binasina ya da yerel yolculuklarda. Bilgisayari eve gotururken oldugu gibi hazirlayin. Bilgisayardaki pilin dolu oldugundan emin olun. Havayolları guvenligi, kapi bolgesine gelindiğinde bilgisayarı açmanizı isteyebilir. Yaninizda asagidakileri gotturun: AC adaptörü Bilgisayari eve gotururken izlemeniz gereken adimlarin haricinde, yolculuk sirasinda bilgisayarini zkomak icin asagidakileri izleyin: Ulkelerarasinda seyahat ederken. Bilgisayari herhangi bir yolculuk icin hazirladiginiz sekilde hazirlayin. Yaninizda asagidakileri goturun: AC adaptörü Bilgisayarla yolculuk konusunda oldugu gibi ayin ozel hususlaruygulayin. Ek olarak asagidaki tavsieler de uluslararasyolculuklarda yararlir: Bilgisayariniz, dikkat etmeniz gereken degerli bir yatirimdir. Bilgisayarinizi)nasil koruyacinizi ve ona nasil bakacginiziÖgrenin. Güvenlik özellikleriarasinda yazilim ve donanim kilitleri -bir Güvenlik centigi ve sifreler varduı. Bilgisayarin sasisinde yer alan güvenlik kilitli centik, Kensington uyumlu bir bilgisayar güvenlik kilidi kullanabilmenizi saglar. Bilgisayar güvenlik kilidi kablosunu, masa ya da kilitli bir dolabin tutacàgī gibi hareket etmeyen bir nesnenin etrafina dolayin. Kilidi centiţe dokun ve kilidi kapamak în anahtari cevirin. Anahtarsiz modeller de mevcuttur. Şifreler, bilgisayara izinsiz erişimleri engeller. Bu Şifrelerin konması bilgisayar ve verileriniz icin bir;cokkoruma扭矩yolusturur: Önemli! Yönetici Şifrenizi unutmayın! Şifrenizi unutursanı, bayiinizle ya da yetkili servis merkeziyle iletişime.Since. Bir sifre belirlendiginde, ekranin ortasinda bir sifre giris alani goruntulenir. Önemli Şifre girmek ileç Üç sansıniz vardır. Üç denedenen sonra sifreyi.Doğru olarak giremezinizsystemdurdurulur.Bilgisayari kapatmak ileç dört saniye boyunca Güç tusuna basili tutun.Sonra bilgisayari tekrar baslatin ve yenidendeneyin. Sifreleri, BIOS uygulamasini kullanarak belirleyebilirsiniz. Dizustü bilgisayarıniz size tam bir mobil bilgisayar kullanma deneyimi sunar. Baglanti noktaları, masustü bilgisayarinda kullanabileceginiz Çevrebirim cihazları bilgisayarıniza baglayabilmenizi saglar. Farkl harici cihazlarin bilgisayara{nasil baglandigün Gösteren talimatlar icin asağdaki kismi okuyun. Bilgisayarinizda dahili V.92 56 Kbps faks/veri modemi mevcuttur. (sadece belirli modeller) Uyari! Modem, dijital Telefon hatlarilyla uyumlu deigldir. Bu modemi dijital Telefon hattina takmak modeme zarar verecektir. Faks/veri modemi böglanti noktasini kullanmak icin modem böglanti noktasindan Çikan Telefon kablosunu Telefon girisine takın. Uyari! Kullandiginiz kablonun oanda bilgisayarı calistirdiginiz ülkeye uygun olduğundan emin olun. Dahili ağ Özelliği, bilgisayarınüz bir Ethernet bazlı ağa baglamanı-SAğlar. Ağ özeliğini kullanmak icin bir Ethernet kablosunu bilgisayarin Şase (RJ-45) böglantı noktasindoanbiragçikşina ya da ağdaki kablo gobegine baglayin. USB 2.0imentary noktasi, zor bulunan system kaynaklarina具有良好 kalmadan USB cevrebirimlerine具有良好 baglanmanizi具有良好 seri veriyoludur. Bilgisayarin IEEE 1394 portu video camera veya dijital fotograf makinesi gibi IEEE 1394 uyumlu bir aygita baglanmaniza olanak saglar. Ayrintilar icin video kameranizin veya dijital fotograf makinenizin belgelerine bakiniz. HDMI (Yüksek Çozünurlükte Multimeda Arayüz) sanayi tarafindan desteklenen, seksşirilmamış,:tümüyle dijital bir ses/video arabirimidir. HDMI set-ustu kutusu, DVD oynaticis ve A/V alicisi gibi uyumu herhangi bir dijital ses/video kaynagyla dijital bir televizyon (DTV) gibi uyumu bir dijital ses ve/veya video monitorıarasinda tek bir kablo araciligiyla bir arabirim saglar. Gelismis ses ve video donanimini takmak icin bilgisayarinizdaki HDMI portunu kullanin. Tek kablo uygulaması duzeni kurulumia hizl baglantiya olanak tanir. ExpressCard PC Kartinin en yenisurumudur. En kucuk ve en hizl arayuz olup bilgisayarinizin kullanilabilirligini ve artirilabilirligini daha da gelistirmektedir. ExpressCard seksayida genisletme seçeneğini desteklemektedir, bunlara flas bellek kartı adaptörleri, TV-tuner'lar, Bluetooth böglanabilirligi ve IEEE 1394B adaptörleri dahildir. ExpressCard USB 2.0 ve PCI Express uygulamalarin desteklemektedir. Önemli! ExpressCard/54 ve ExpressCard/34 (54mm ve 34mm) olmak üzere iki Türvardı, her biri farklı ileve sahiphir. Hicbir ExpressCard yuvası her iki Türdesteklememektedir. Kartınüz)nası kuracınüz, kullanacaınüz ve Özellikleri ile ilgili olarak lüftenkartınüz elkitabına bakınüz. Karti yuvaya yerleşirin ve yerine oturuncaya kadar hafifçé itin. ExpressCard'1 cikarmadan once: 1 Karti kullanarak uygulamadan icin. Hafiza yüklemek icin bu adimi lang takip edin: 1 Bilgisayari kapatin, AC adaptörunü ÇiRARin (eGER bağllysa) ve pil kutusunu ÇiRARin. tabanına ulasmak icin bilgisayari dondürün. 4 Hafiza kapağıni yerine takın ve vidayı iyice sikişirin. Bilgisayar, toplam hafiza boyutunu otomatik olarak algilar ve yapilandirr. Luffen yetkili bir teknisyene danisin ya da en yakin Acer saticişyla irtibataGPCIN. BIOS islevi bilgisayarinizin BIOS kisminda bulunan, donanim olusturma programidir. Bilgisayariniz zaten olusturulmug ve etkili kilinmistir, bu islevi calistirmiza gerek yoktur. Fakat, yapilandirma problemleriyle karsilasirsaniz calistirmak zorunda kalabilirsiniz. BIOS islevini aktif hare getirmek ici, POST sirasinda BIOS islevinde yükleme sirasini ayarlamak icin, BIOS islevini aktif hare getirin, ardindan ekranin en üstunde listelenen kategorilerden Boot'u seçin. Disk-to-disk recovery(sabit disk toparlama) saglamak icin, BIOS iglevini aktif hare getirin, ardindan ekranin en ustunde listelenen kategorilerden Main'i secin. BIOS islevinde parolayi belirlemek icin, BIOS islevini aktif hare getirin, ardindan ekranin en üstunde listelenen kategorilerden Security kismini seksin. Yükleme sirasinda Parola'yi bulun: Ve bu özelliği etkinleşirmek icin Not: Bu özellikle yalnizca bazı modellerde bulunmaktadır. DVD surucu modulu optik surucu yuvasa taki oldugu zaman bilgisayarinizda DVD filmerini oynatabilirsiniz. DVD yuvasini cikarin ve bir film DVD'si takin ardindan DVD yuvasini kapatin. Önemli! DVD oynaticisini ilk defa calistirdirigiinizda program sizden bölgé kodunu girmenizi ister. DVD diskleri 6 bölümme ayrilmistr. DVD surucünuz bir bölgé koduna ayarlandi zaman sadece o bölgentin DVD disklerini oynatacaktir. Bölgé kodunu en fazla beş kez ayarlayabilirsiniz (ilk kez dahil).ondan sonra en son girilen kod sabit kalacaktir. Sabit diski toparlama, girdigiiniz bölgé kod sayisin sifirlamaz. DVD film bölgé kodu bilgisi—in asagidaki tabloya bakın. 2 DVD filmi birkac saniye icinde oynayacaktir. Not: Bölgeyi degiistirmek icin DVD surucusune degisik bir bölgenin bir DVD filmini yerleştin. Daha fazla bilgi icin online yacdima basvurun. Aşaqidakiler, bilgisayari kullanırken ortaya çıkabilecek olası durumlarin bir listedini olusturur. Her birirçınolayçozümler sunulmustur. Gucu aṭṭim ançak bilgisayarnaissance yadacilmiyor. Güç östergesine bakin: Isk yanmiyorsa bilgisayara guc gelmiyor. Asagidakileri konrol edin: Pili kullanyorsaniz, pilin gucu azdir ve bilgisayar açmak icin yeterli degildir. Pil paketini sarj etmek icin AC adaptorunu baglayin. lsk yaniyorsa asagidakileri kontrol edin: Harici USB floppy进展情况ystem disk olmayan bir disk mi var? Çıkartin ya da bir system diski ile要考虑irin ve sistemi yeniden baslatmak icin <Ctrl> + <Alt> + <Del> tuşlarina basin. Bilgisayarin guc yonetimi sistemi, gucten kazanmak icin otomatik olarak ekrani kapatmistir. Ekranin geri gelmesi icin herhangi bir tuşa basin. Bir tusa basmak ekrani geri getirmiyorsa uçsey olabilir: tuslarina basin. Asgidakileri kontrl edin: Optik surucu yataigni bilgisayaracmadan cikarmak istiyorum. Optik sürucüdeki mekanik birçikarma yuvasi vardir. Yuvaya kalem ucu ya da atasokup yatağiçikarmak icin bastirabilirsiniz. Bilgisayarin USB portuna harici bir klavye takmayi deneyin. Calisiyorsa, dahili klavyenin kablosunda sorun olabileceginden yetkili servis ya da bayiinize basvurun. Asgidakileri kontrl edin: Kurtarma CD'leri olmaksizin bilgisayarı original ayarına getirmek istiyorum. Not: Sisteminiz birden fazla dili destekliyorsa sistemi ilk aqtiginizda seqtiginiz isletim sistemi ve dil, gelecekteki geri alma operasyonlari icin tek seceneiginiz olacaktir. Bu geri alma islemi diz utu bilgisayarinizi aldiginiz zaman kurulan orijinal yazilim iceriige ile C: surucusunu yeniden kurmaniza yardim eder. C: surucunuzu yeniden kurmak icin asagidaki admllari izleyin. (C: surucusu formatlanacaktir ve tum veriler silinecektr.) Bu seconeigi kullanmadan once tum veri dosyalarinizi yedeklemeniz onemlidir. Yeniden kurma operasyonu öncesinde lüften BIOS ayarlarini kontrol edin. 1 Acer diskten diske geri alma seconeigin etkin olup olmadigin kontrol edin. Not: BIOS uygulamasini etkinleistirmek icin POST sirasinda Geri alma islemini baslatmak ici: 1 Sistemi yeniden baslatin. Önemli! Bu islem sabit diskinizdeki gizli bir böllumde 15 GB'lik bir yer kaplar. Bilgisayariniz, yolculuklariniz sirasinda guvenliginiz ve kafanizin rahat olmasi icin Uluslararasi Gezginler Garantisi (ITW) ile garantilenmistir. Dunyaya yayilmis servis merkezleri aigimiz size yardim etmek icin orada olacaklar. Bilgisayarinizla birlikte bir ITW pasaportu verilecekbir. Bu pasaporta ITW programi ile ilgili bilmek isteyceeginiz her sey bulunmaktadir. Mevcut yetkili servislerin bir listesi bu kullanishi kitapcikta yer alir. Bu pasaportu sonuna kadak okuyun. Destek merkezlerimizin hizmetlerinden yararlanmak 参数 özellikle yolculuklarinizda ITW pasaportunu yaninizda bulundurun. ITW pasaportunun on kapağindaki cebe faturayi koyun. Yolculuk yaptiğinizi ülkecde Acer yetkili ITW servis merkezi yoksa dunyadaki diger merkezlerimizden yardim alabilirsiniz. Danısin http://global.acer.com. Acer cevrim ici servisi ararken asağidaki bilgileri saglayin ve aradiğınizda bilgisayarin besoinında bulunun. Yardimünizla arama suresini azaltabilir ve daha etkin bir sekilde probleminizi çözebiliriz. Bilgisayarınizdan hata mesajları ya da hata sesleri aliyorsanı, ekrandaGORunduklerinde not edin (hata seslerininayoı ve sirasini not alabilirsiniz). Aşaqidaki bilgilerin-SAğlamaniz isteneçektir: ism: Adres: Telefon numarasi: Makine ve model tipi: Seri numarasi: Alim tarihi: Bu bolum, genel systemd problemlerini :(cozeceginizi gosterir. Bir sorun meydana gelirse bir tekniyen cagirmadan once bu bolum okuyun. Daha ciddi problelmeri czumu bilgisayarin icinin acImasini gerektirir. Bilgisayarinizi kendiniz acmaya kalkismayin ; destek icin satici veya yetkili servis merkezi ile gorusurun. Bu dizustu bilgisayar, problemlerinizi czozmenize yardim etmek icin ekranda hata mesaji veren ileri bir tasarima sahiptir. Sistem hata mesaji verirse veya bir hata belirtisi meydana gelirse, asaigidaki "Hata mesajlari"na bakin. Problem czulemezse, saticiniz ile iletisime gecin. Bkz. "Servis Talebi" sayfa 33. Bir hata mesaji alrsaniz, mesaji not edin ve duzelti ci islemi gereklestirin. asagidaki tabloda onerilen duzelti ci islemle birlikte hata mesajlar alfabetik sirile istelenmistir. Düzeltici ilemleri yaptık tan sonra hala problem devam ederse, destek icin lüften satıçıniz veya yetkili bir servis merkezi ile gürşün. Bazı problemler BIOS donatisi kullanilRAR yüzelve bilir. Bu aygit test edilmi ve FCC kuralarin 15. Kismina uygun olarak B Sinifi dijital aygtilar icin sinirlara uygun olduğu gürüm Mustur. Bu sinirlar mesken kurulumlarda zararl parazitlenmelere karşi yeterli koruma seksanması icin tasarlanmistr. Bu aygit radyo frekansi erjisi uretmekte, kullanmakta ve yaymaktadir ve talimatlara uygun sekilde kurulmadigi ve kullanilmadiş sutured radyo iletişi icin zararl etkileşime sebep olabilir. Ancak özel bir kurulumda parazitlenme olacına dair herhangi bir garantı bulunmamaktadir. Eşer aygün acilip kapat行李ak anlşilabilecek alan radyo vya televizyon yayınlarin alimnda zarrali etkileşime sebep olursa, kullanınin asaqidaki onlemlerden birini veya birkıncı yaparak etkileşimi dizeltmesi önerilir: Ali ci antenini yeniden yonlendirin veya yerini degistirin. Diger bilgisayar aygirtarina giden tum baglantilar FCC duzenlemeleri ile uygunluugenaglanmasi amaciyla korumali kablor kullanlarak yapilmalidir. Sadece B Sinifi limtleri ile uygun olması icin onaylanan Çevre birimleri (girisçikı aygünlar, terminaller, yazilar vb.) bu cihaza ilistirilebilir. Onayl olmayan Çevre birim aygünlar ile kullanıması radyo ve TV alçisi ile etkileşim kurulması ile sonuçlanabilir. Uretici tarafindan açıkça onaylanmayandehyşiklikler veya revizyonlar kullanin Federal lletisim Heyeti tarafindan verilen bu bilgisayarı kullanma yetkini boşa Çıkarabilir. Bu B Sinifi djital cihaz Kanada ICES-003 ile uyumludur. Bu cihaz tekli terminal baglantisi icin Halka Aqik Telefon Aqi (PSTN) icin onaylanmistr [Konsey Karari 98/482/EC - "TBR 21". Ancak, farki ülkederde saglanan bireysel PSTNler ilearasindaki fark sebebyle onay kendi basina her PSTN durdurma noktasimda basarili calisacaigi ile ilgil kosulsuz garantim vermemektedir. Sorun olmasi halinde, ilk olarak cihazi tedarik eden firma ile görtşmeniz gerekmektedir. Geçerli alan ülkelerle ilgili daha fazla bilgi icin lütfen "Düzenlemeler ve güvenlik uyarilari" sayfa 35 konusuna bakın. LCD unitesi yuksek duzeyde hassas uretim teknikleri kullanilarak uretilmistir. Yine de bazı pikseler zaman zaman yanlş yanabilir veya siyah ya da kirmiz noktalar olarak görünebilir. Bunun kaydedilen görtü uzerinde bir etkisi yoktur ve bir hata degildir. Not: Asagidaki duzenleyici bilgiler sadece kablosuz LAN ve/veya Bluetooth bulunan modeller icindir. Bu urun herhangi bir ulkenin veya bölgénin radyo frekansi ve güvenlik standartlari ile uyumlu olup kablosuz kullanim icin onaylanmistr. Yapilandirmalara bagli olarak bu urunde kablosuz radyo aygǐtlari bulunabilir veya bulunmaz (örneğin kablosuz LAN ve/ veya Bluetooth modüller). Aşaqidaki bilgiler bu gibi aygǐtlara sahip olan urünler icindir. Acer bu belge ile bu dizustu PC serisinin temel gereksinimler ve 1999/5/EC Yonergesinin diger temel gereksinimleri ile uyumlu oldugunuBegan etmektedir. Temmuz 2009 tarihi itibariyle AB üyesi ükeler: Belçika, Danimarka, Almanya, Yunanistan, İspanya, Fransa, İlanda, İlalya, Lüksemburg, Hollanda, Avusturya, Portekiz, Finlandiya, İsveç, İngiltere, Estonya, Latviya, Litvanya, Polonya, Macaristan, Çek Cumhuriyeti, Slovakya Cumhuriyeti, Slovenya, Kibreş ve Malta, Bulgaristan ve Romania. Avrupa Birligine üye ükeler ile Norç, İsvıgre, Izlanda ve Liechtenstein'da kullanilmasın azin verilmişir. Bu aygit kulanilan ülkedeki duzenlemeler ve kılıṭlamalaru uygun olarak kullanilmaldir. Ayrntl bilgi icin, lüften kullandıgün ülkedeki yerel ofis ile temasaGPCINZ. En yeti ülke listedi icin lüften http://ec.europa.eu/enterprise/rtte/implem.htm sitesine bakın. Kablosuz LAN Mini PCI Kartinin ve Bluetooth kartinin radyasyon:yayan cikiş Gücu FCC radyo frekansi maruz kalma sinirartinçok altindadir. Bununla birlikte normal calismasi sirasinda insan ile potansiyel temasa gelececek sekilde kullanlan dizustu PC serilerinin etkileşimi asagidakiler yerine getirilerek azaltilabilir: 1 Kullanicilardan her RF segenekli aygiti n kullanci elkitabina eklenen kablosuz segenekli aygittardaki RF guvenlik talimatlari n yerine getirmeleri istenir. Dikkat: FCC RF maruz kalma uyum gereksinimlerine uygun davranmak icin ekran böllumundeki kablosuz LAN Mini PCI Kartı icin olan ante ile:tüm kılıterarasinda en az 20 cm'lik (8 inç)bir mesafe bulundurulmaldir. Not: Kablosuz Mini PCI adaptoróru aktarim Çeştillik ilevi uygular. İlev her iki antenden de ayınanda radyo frekansi Çikarmaz. İyi kalitede radyo iletişi-SAğlamak icin antenlerden biri (kullanı tarfindan) otomatik veya manuel olarak/seçilir. 2 5,15 to 5,25 GHz frekans araligina calismasi nedeniyle bu aygit ic mekan kullanimlan ile sinirldir. Cift kanal Mobil Uydu systemleri icin potansiyel zararl etkilesi dimusurmek uzere FCC bu urunun 5,15 to 5,25 GHz frekans araliginda ic mekanlarda kullanilmasini gerektirir. The notebook PC series employs low gain integral antennas that do not emit RF field in excess of Health Canada limits for the general population; consult Safety Code 6, obtainable from Health Canada's website at www.hc-sc.gc.ca/rpb. 汎用一一沙发 TravelMate フリーニーツフックコン ヒーロー M子儿番号: SHIARAL番号: 購入日: 購入場所: 以下的内容为良< 0 读丶頂< 、指示< 從< <。二の文書は将来いても参照能使的上保管ておはて< <。本製品<表示たるすての警告事項お及注意事項を遵守てく。<。 製品のお手入围を始る前に、電源を切てくだい。 本製品を清掃するとは、ACアダɒフたとバットリを外てくだい。液体ケリ一—一まはエアジルケリ一―は使用しおてくだい。水で輕く湿らた布を使て清掃てくだい。 電源コーダを接続,Thelil、外しりる際は、次の点にご注意くだい。 CONSENTI電源一卡接繞的前、電源二卡士装着了。 ト一夕から電源トを外に、電源ト外て外て システムに複数の電源が接続いたします。電源からすばての電源コーユを外してんだい。 電源コトを接続するコンsetsは、装置から%/able近く、簡單に手が届く場所にる二と理想的です。装置から電源を外す场合は、必surconsetトから電源コトを外てくだい。 ごトには力一ドスロットにフ斯チツ克製のダ一力一ドが插入さてい。ごの徳一力は使用ていなスロットにご米や金属の異物、その他木リとが入るを防止するたに插入さてい。徳一力一ドはスロットにモリカ一ドを插入てい時使用�能う保存ておてくさ。 聽覺障害を引起的たせに、次の指示に徃てんださ。 本製品が水溶液に触るおたのあ所使用なてくさ。 ·拉専に表示てい的定格電圧の電源をご使用くさ。二不明な点が有的場合は、弊社の力stsマーパービスSenタ一まは現地の電気会社にお間い合わさくさ。 警告!接地は安全対策用に設けらていまな。正是接地さていないコンセトを使用すると、電気シャックや負傷の原因为なります。 注意:一、本製品とその近くに他的電気裝置上の干涉に上ご生じるノイズを防止する役割も果たしま�。 顾客想自为修理行不等。本製品の力を開はは使了。上、高压及危険な個所に触たりその他危険にさらさるお它が限。本製品の修理に開は、保証書に明示さてる力スマーダービス塞尔一に必問い合せくさ。 次の場合、本製品の電源をOFFにし、コンSENTにからitra格を引き拔き、保証書に明示いたします。力スマーダーフリス塞尔に連絡くさ。 電源下載たは予爆が損傷しぃり擦り切たリしてき。 注意:取引説明書に記載てい的场合を除き、その其他的ハ一ツを無断で調整するとハ一ツが破損する场合のはまな。その场合、許可を受けた技術者が補修する必要くださいます状態に現状はに時間がかりまな。 本製品はリチウムイオルバツテリ一使用いたします。湿気の多い場所、濡た場所、あたは腐食性のあた環境は使用しおてはくさ。バツテリ一は熱源の近く、高温にる場所、直射日光が当た場所、才一、あたは密封バク内中に置た、保管た、放置たしはこははくさ。まも 60^ (140°F)以上の環境に放置するともお止かくさ。此らの注意に従わけれは、バツテリ一から酸が漏れ出し、高温にた、爆発、発火する等诸多てケガや損傷的原因にりをみ。バツテリ一に穴を開た、開た、解体たしはこははくさ。漏れ出たバツテリ一液に触れてまた的场合は、水で完全に液を洗い流し、直ちに医者的指示を仰たはくさ。安全のたて、またバツテリ一を長く使んだたかは、 0^ (32°F)以下たは 40^ (104°F)以上的環境は充電を行わいてはくさ。 新いハリ一は2、3回完全な充電と放電を操り返し了後てけは完全な性能を発揮いたします。ハリ一は数百回充放電を操り返すとが成長か、最終のには消耗しぃまります。作動時間が著しく短くたは、新いハリ一に交换てくさ。ハリ一は認証たもをご使用にり、充電の際も本製品専用の充电器のみをご使用くさ。 バットリ一は目的に合击てご使用くださいます。破損た充電器やバットリ一是絶対にご使用にNALないて{kさ。バットリ一をシャトさせないで{kさ。バットリ一はカイ、クリツ、ルン等方面的金属製品がバットリ一の陽極と陰極に直接触るとヨートります。(バットリ一にしだい的金属片のうなむが陽極/陰極です。)例え予備のバットリ一を求ケットやバットの中どに入ておた的场合なかに、シャートする可能性が高くりります。シャートが発生すると、バットリ一和接触た製品の故障的原因くださいます。 バッチリ一を高温たは低温の場所(夏や冬の車内な)に放置すると、バッチ一の性能おむき寿命は低下 resumes。バッチ一は常に 15^ から 25^ (59°Fから 77^ の環境で保管するようにてくだい。熱すた、冷たすたりするバッチ一使用た、たと元バッチ一が完全に充電てても、製品が一時的に使用くださいます場合,Noは。凍結るうな環境は、バッチ一の性能が特に低下 resumes。 バッチリ一を火の中に投掷率达と爆発する恐れのは限ります。バッチ一が破損してる場合も爆発する可能性のは限ります。ご使用济ひバッチ一はお住まい地域の規定にしてがて処处理てくだせ。てきる限りサイクルにご協力くだせ。バッチ一は家庭用ごミとて破棄しおてくだせ。 フイヤレス装置はバツテリ一の干涉を受けやすく、性能に影響を及ばす场合のはろ。 一卜PCシリーニズはリチウムバツテリ一を使用ていま。電池を交換する场合は、必す本製品に付属ている電池と同じタイフのもを使用てくだき。タイフの異なバツテリ一を使用て、火災や爆発の危険が生じるごたかibility。 警告!バットリ一を誤て使用いたします上爆発の危険,Noは。分解た、火に投け入れはしおてはくは。バットはお子様の手の届かいとごに保管し、使用济みバツリは速やかに広棄ては。使用济電池は、お住まい地域の規定にた了處理てくは。 注意:ご裝置にはレ一紹一斯テムが含てお、「ケス1レ一紹一製品」とて分類さてい。ご製品に開て問題が生た場合は、お近の専門サーリスSennta一までお間い合わせくだ。被曝を防止するたに、客様ご自身で外装を開かないくだ。 CLASS 1 LASER PRODUCT CAUTION: INVISIBLE LASER RADIATION WHEN OPEN. AVOID EXPOSURE TO BEAM. APPAREIL A LASER DE CLASSE 1 PRODUIT LASERATTENTION: RADIATION DU FAISCEAU LASER INVISIBLE EN CAS D'OUVERTURE. EVITTER TOUTE EXPOSITION AUX RAYONS. LUOKAN 1 LASERLAITE LASER KLASSE 1 VORSICHT: UNSICHTBARE LASERSTRAHLUNG, WENN ABDECKUNG GEÖFFNET NICT DEM STRAHLL AUSSETZEN PRODUCTO LAsER DE LA CLASEI ADVERTENCIA: RADIACION LÁSER INVISIBLE AL SER ABIERTO. EVITE EXPONERSE A LOS RAYOS. ADVARSEL: LASERSTRÁLING VEDÁBNING SE IKKE IND I STRÁLEN. VARO! LAVATTAESSA OLET ALTTINA LASERSATEILLYLLE. VARNING: LASERSTRÄLNING NÄR DENNA DEL ÅR ÖPPNAD ÅLÅ TUIJOTA SÄTEESEENSTIRRA EJ IN I STRÄLEN VARNING: LASERSTRÁLNING NAR DENNA DEL ÅR ÖPPNADSTIRRA EJ IN I STRÄLEN ADVARSEL: LASERSTRÄLING NAR DEKSEL ÅPNESSTIRR IKKE INN I STRÄLEN 本製品を修理了许多、解体くださいます前に、必-surごの電話回線をソケットから外てくだいたします。 警告!ハーリフを追加しぃり、交換しぃりする场合は、安全のたに必す互換性がるハーリフをお使いくだき。才総庁ハーリフの購入にては、販売店にお尋ねくだき。 警告!安全のたに、次のうな状況でラリトツ広は一夕を使用する场合はフィヤレス装置や無線装置お願いいたします。二しらの装置は次のものを含みますが、そのけに限ります。無線LAN(WLAN)、ルトウー、3G。 お住まい地域の規定にしてがてくさ。た使用が禁止てる場所たは干涉や危険を引き起二す可能性が場所は、必倉装置の電源を切てくさ。装置は必倉正常な操作位置でご使用かさ。ご装置は正常な状態で使用するとRF被爆規定に準拋ります。装置とアntaは使用者から1.5せん以上離た場所に設置てくさ。金属は絶対に使用せ、装置は上記に記載した条件で設置てくさ。デーナフアルやメソーケを軸送するはは、ネトフロー接続の状態が良なけれはらません。场合によては、接続が使用くださるようにるまてデーナフアル或メソーケの軸送が遲る场合のはむ。軸送が完了まて、上記の距離に開示指示に徃てくさ。装置の一部は磁気にたてみ。装置が金屬を引き付uting場合があま�のて、聰觉保護装置を使の方は、聰觉保護装置を使用た耳にご装置を当ていてくさ。 装置の近くに克莱ジットカードやその其他的磁気記憶裝置を置かいてんださ。 フヤレス電話を含む無線通信装置を操作すると、保護が不十分な医疗装置の機能に障害を与える恐いのはんだ。そのから外部無線周波から適切に保護いたします。かうかにて、またその其他的ご質問にては、医師たは医疗装置メカロー有尋ねくだい。医療施設内で装置の電源を切るとが指示くださいます場合は、その指示にたがては、病院や医療施設はは、外部無線周波の影響を受けやす位置を使用くださいます场合のはんだ。 PereusMero一:PereusMero一の製造元は、PereusMero一の干涉を防止たてに、フィヤレス裝置とPereusMero一の間に15.3SENSチ以上的距離を置くよう推奨いたします。独立しぃリサイーツ機関、およフィヤレス技術リサイーツ機関も同樣の推奨いたします。PereusMero一をご使用の方法は、次の指示にしてがてんださい。 聽覺補助裝置:徳日ル無線裝置の中には、聽覺補助裝置と干涉を起ごすまがりみま。干涉を起ごす场合は、サイビスプロバイダにお間い合わせくだき。 無線周波信号は、電子燃料注入ステム、電子滑り止ご、トレーニングステム、電子速度制御ステム、エアバックステム各種のモーダー自動車に不正に装着くださいます電子ステムや、防止が不十分な電子ステムに影響を与える场合お願いいたします。詳細にしぃては、自動車たは追加し装置の一たはその代理店にご確認くださいます。裝置の補修、およ刍自動車への装置の取付は指定くださいます技術者が行てくだき。補修や装着は正と行わけは大変危険係り、装置に付帶くださいます保证を受utingこが能なうらます。自動車の無線裝置はすて、正と装着くださいますと、正常に作動しぃるこを定期にチラクットてくだき。装置、そのバーツ、たはアケサイ類と同じ場所に可燃性液体、ガス、あらは爆発の危険性が源材を一緇に保管しぃる、運送しぃるしおてくだき。エアバックが搭載くださいます自動車は強い衝撃を受給るとアハリズが膨らみます。工アバックの上たは工アバックが膨らむ場所に無線裝置(装着济みたは携带用を含む)等各种設置しおてくだき。車内に無線裝置が正と装着くださいます、工アバックが作動しおてまたか场合は、重大な傷害を引起ごな恐れのはむ。飛行機内でご装置使用するこは禁止しおてみます。搭乘前に装置の電源を切てくだき。機内で無線電話装置使用すると、飛行機の操縱に危害を与えた、無線電話NETフローを中断さた則る场合のは、法律にply禁止しおてる场合のはむ。 爆発の危険性のは場所は、かnakじ装置の電源を切り、表示くださいます注意や指示にしたがてくだい。爆発の危険性RFC場所は、通常自動車のエンジenを切るよう指示いたします場所を含みます。そのうな場所でスロークすると爆発や火災の原因,Th、身体に傷害を与えた、死亡に至る场合もあらります。ガソルス总冠军の給油場所の近はは、ノーツフックの電源は切ておいてくだい。燃料補給所、貯藏所、配送エリア、化学工場、爆発性の作業が行わてる場所はは、無線装置の使用に閲る規定にしたがてくだい。爆発の危険性RFC場所には、通常(ただしぃ必むはあらません)そのとが明記さて中俄。そのうな場所はは、船舶の船室、化学薬品の運送まは貯藏施設、液体石油ガス(プロバングスまはフムガス)を使用する自動車、粒子、木ロリ、あらは金属粉末等の化学物質や粒子を空中に含む場所,Noかが含まむ。携帯電話の使用が禁止くださいます場所、まは干涉を生じさた、危険があら場所はは、ノーツフックの電源を入れないかくだい。 警告:ご装置から緊急電話を掛けは可以ません。緊急電話は携帯電話かその他の電話ステムからお掛けくだて。 二の電子装置は家庭用ゴミとて廢棄しおてくだき。 地球環境を保護し、公害を最低限に留うたに、再利用にご協力くださいます。WEEE (Waste from Electrical and Electronics Equipment) 規定 にしだての詳細は、http://www.acer-group.com/public/Sustainability/ sustainability01.htmをご参照くた。 LCD/CRT モニタまたはデイスPLEイを含むプロジックタまたは電子製品:本製品に使用くださいます strandedリフローは水銀が含むてうた、お住まい地域のご馬处理に規定、条例、法律に從て再利用または处理てくさ。詳しは、Electronic Industries Alliance (www.eiae.org) 请问您是否能提供这样的服务? AcerのENERGY STAR準拋製品は、消費電力を抑え、機能性や性能に影響を与えると環境を保護いたします。Acerは自信,stETENERGYSTARロガが付た製品をお届けいたします。 ENERGY STAR 何? ENERGY STAR 規格に準拋た製品は、米国環境保護局が設定しだ嚴格なエルギ一効果指南に基つき、消費電力量を抑え、溫暖化ガスの発生を最低限に抑えます。Acerはコスト削減、省工、地球環境の向上に役立つ製品、およむサイビスを世界的に提供てまります。エルギ一効果を高し、省工に努るほと、温暖化ガスと環境変化のリスケの低減に大小く貢献する这句话ごきます。詳はhttp://www.energystar.govまたはhttp://www.energystar.gov/powermanagementをご参照くださいます。 Acer ENERGY STAR 準拋製品の特徴: ENERGY STAR およBE ENERGY STAR 記号は、米国の登録記号です 長時間CON毬一夕操作すると、目や頭が痛くださる场合のはんだ。的身体の障害を被る場合みお願いいたします。長時間に及む操作、姿勢の悪さ、作業習慣の悪さ、Stulres、不適切作業条件、個人の健康状態、あらはその其他的要素によて、身体の障害が生じる確率は高くなります。 CONBUN-10は正し使用しおは、手根管症候群、腱炎、腱滑膜炎、その其他的筋骨格関連の障害を引起ご可能性のはんだ。手、手首、腕、肩、首、背中に次のうな症状が見らる场合くださいます。 ごのうな症状が見らた、その他の症状が繰り返しぎは常にある场合、まははCONBUN一夕を使用すると生じる痛いがある场合は、直に医者的指示に従てくだき。 次のせクシャンは、コンビューナー快適に使用するたの匕CNTを紹介しま�。 最も心地と作業がてき的は、モニタの表示角度を調整た、フツレスを使用た、椅子の高さを調整てくだ。次のヒントを参考にてくだ。 長時間同じ姿勢のまえてい的二は避けてくだき。 長時間モニタを見た、合成の眼鏡やコンタクトレーニスを使用た、GLEア、明る標準照明、焦点が合成の状態に、小さい文字、低CONTRASTのデイスPLEYなは目に状態を与え原因,Thは、目的疲れをはくすたけのCNTトを紹介しります。 目 · 頻繁丶目を休ませてくださ。 次のうな方法によてgrenアや反射を防止てくだい。 檗和光源中对横向性有不同大小的“小”字(如图10-2所示) ヨスPLEイの上部に厚紙を置くなりてんサイバーの代わりにし��さい。 ヨイスPLEイを極端な表示角度で使用するとは避けてんだい。 正い作業習慣を身に付utingにとによて、CONBUN一夕操作が随分乗になります。 定期的かつ頻繁に短い休憩を取てくださ。 警告!ソフア一やパドの上ごコンビューダ操作するとはお薦しません。うてもその必要のは場合は、てきるけ短時間で作業を終了し、定期のに休憩を取ったリスレット運動をしぃてください。 注意:詳談は、34丶一の「規制と安全通知」を参照てくさい。 ごの度は、Acer ネトフク PCを買上前けたき、誠に係かうごさい。 本製品を快適にご使用んだくたに、次のガイドが提供いたします。 TravelMate プリーヒス汙用eer一ガイドには、TravelMate プリーヒスの全モルに共通の情報が記載いたします。本書には Acer Empowering Technology、キーバット、才一デイ才の使方各样、基本的情報を含むてweit。汙用eer一ガイドおよ以下に紹介る AcerSystem User Guide (eer一マニアル)に記載くださる説明の中には、特定モルにご適用さるもののは、客様が購入たモルには該当しお場场合お願いいたします。そのような场合には、「特定モルのみ」之称のように注記が付けiatesわ。 ウイックガイドは、本ノーツフツクPCを産むに使用するたの方法を説明いたします。AcerSystem User Guide(ヨーサーマニアル)は、本ノーツフツクPCにてわりやすく説明してるご、良く請み頂き、指示に従てんだい。そのガイドには、システムニーミリテイ、デーダ復元、拓張才予広、トラ複ルシャーニング各種情報を記載してるります。た、そのノーツフツクPCの保證、一般規制、安全規定にても記載してる。マニアルを印刷する必要くださる场合、ヨーサーマニアルはPDF(Portable Document Format)フィルで提供いたします。以下の手順に従てんだい。 注意:フィyalルを表示するには、Adobe Readerが必要くださいます。Adobe Readerがセットアフローない场合、AcerSystem User Guide(eerssmaトル)をクリックするとAdobe Reader seitabffroglumを実行いたします。画面の指示に従て、ses トアフてくさ。Adobe Readerの使方につては、ハル フとサボーリルmonーにアケせしてくさ。 CONÜ一夕の電源を入るには、LCDスケリーニの下中央の電源ボtonsを押てくだい。電源ボtonsの位置は、ケイツクガイドを参照てくだい。 本ノ一ト複クPCの電源をOFFにするには、次の操作の哪かを行てくだき。 [Sta-1]をクルクし後、[ShattDawun]をクルクしま。 電源木たな スリ一ト木トキ一+Fn>+F4>を押てもルトク一夕をスリ一トモ一ドにするごとがてきま�。 注意:通常的方法为本一トクPCの電源をOFFに能不能場合は、電源朴たを4秒以上押てくさ。本一トクPCの電源を入れ直か場合は、最低2秒間待てくさ。 本ノトクPCは、次の点に注意て取にくさ。 AC トは、次のうに取にくさ。 バットリーナックは、次のように取り拔てんださ。 本一トPCKPCの清掃は、以下の手順に從てくさ。 1 本ノ一トフクPCの電源をOFFにし、バツテリ一ハクをはすてくさい。 次の状況が発生た場合: 29 一の"FAQ"を参照てくさ。 安全の注意 iii 光学D拉伊蒙装置にての注意(特定モデルの) vii 操作環境 viii 医疗装置 viii 乘物 ix 爆発の可能性のは環境 ix 緊急電話 ix 破葉にて 水銀にての注意 ENERGY STAR 气持方< 0 使的 < 1 # xi ☆i# xiii 本一トPCKPCの取扱使用に閲る匕nt xiv 本ノトクPCの電源をONたはOFFにする xiv 本一トPCKPCの取扱い xiv AC 45 #XV VbTJ-1PcKcKx 清掃とサイービス XV 夕丶ト的基本(指紋一一機能搭載モル) 1 夕丶トの基本(2克リク朴専付きモテ) 2 口克卡一上丁念卡一巴卜* 3 Windows 一 4 AcerPureZone(特定モルの) 5 16:9 ヨイスPLEイ(特定モデルの) 5 Acer Bio-Protection(特定モルの) 6 Acer Backup Manager 7 10 復元 11 buckappdStskaWindows 11 13 13 battel一の装着と取り外し 14 14 15 15 低残量警告 15 周边装置の取はすし 17 短距離の移動 17 携带するたの準備 17 会议に持ていくもの 18 自宅に持ち歸る 18 携带するたの準備 18 持ていくもの 19 19 19 長距離の移動 19 携带するたの準備 19 持ていくもの 20 注意事項 20 海外旅行 20 携带するたの準備 20 持ていくもの 20 注意事項 21 せんリテイキ一口クの使用 21 21 22 八ssw一のせト 22 接統才緦庁 23 Fax/ テーマデム(特定モデルの) 23 內藏ネトフロー機能 24 USB 24 IEEE 1394 ト(特定モルの) 25 HDMI 一(特定モルの) 25 ExpressCard(特定モルの) 26 BIOS フーテイリデ 27 起動シーニング 27 Disk-to-disk recovery 機能の実行 27 27 28 DVD映画の再生 28 32 國際旅行者保証 (International Travelers Warranty; ITW) 32 12 力スタマ一サ一比スsenタ一 32 33 トラTPL対策のヒINT 33 工拉一木卜一 33 34 FCC 規定 34 モダムにてのご注意(特定モダルの) 35 LCD ヒクルにとて 35 規制にしだての注意 35 全般 35 FCC RFの安全要件 36 力ナダ-低出力ライSENSス免除無線通信デバイス(RSS-210) 37 LCD panel ergonomic specifications 38 本コンビューナリに装備いたします。タットバイスは、その表面のはの動きを感知するボイinenングデバイスです。カーニルは、タットバイドの表面に置かた指の動きに対応ります。タットバイドはハーリストの中央に装備いたします。やったリとREA環境で操作する这句话いたします。 次のアイテムは、Acer Bio-Protection指紋リーダー付きタットバドの使方を示たもの尺寸。 指をタツトバド(1)の上動かて、カーニルを移動さてくだせ。 次のアイテムは、2クリックボタ付款タチバドの使方を示たの尺寸。 指をタツトバドの上動かて、力一ル移動さてくだい。 注意:二二示示四は参照用です。一ト複クPCの正確な構成は、お客様が購入くださいますモデルによる異なります。 注意:夕丶卜は常に乾い的清潔な指て使用てくさ。 注意:デ fasルトによう、タツチバドで縄およ横方向のスケロ一ルが可能です。二を無効にするには、Windowsコntトロ一ルハネルの[マウス]の設定で行いたします。 卡一トはフルサイズの卡一とテン卡一バット*、独立た力一ソル、ロック、Windows 卡一、機能卡一、特殊卡一で構成さていま�。 本一ト広KPCには、ONたはOFFに切り替をるとが成功的ロク卡一が3つあらま�。 テンキーパットは、デスケットのテンキーパットと同樣に機能します。キ一 マヤットの右上隅に大小的文字で示ります。キ一ロトが見やすいように、 力一ル制御キ一記号は表示いたします。 Ki一トは、Windows 機能用のKi一を2つ装備ていま�。 ごのルトHD才一力一力一搭載てい。 ごのシステムはAcer PureZone、ビ一ム構成およ伊埃一除去テクロジが搭載さた2台の内藏STSレ才マイクロフムに好、まてく新い才一徴才環境を体感てんだけは。Acer PureZoneテクロジはビアなサウンドを錄音�能るように、アカーニデリクエコ一除去、ビ一ム構成、ノイズ低減に対応てい。マイクロフムを設定は、Windows SIStUMのSIStUMTLEIからAcer HD Audio Manager ドイCONをダルクリックてごのアリケーニンを起動てくさ。」。とAcer HD Audio Managerのダアロガトクスが開き。[マイクロフム]タフの次に、[マイ克ロフム効果]タフをケリクし。Vi一山構成とアカーニデリクエコ一除去を選択てマイクロフム効果を設定てくさ。 注意:比一ム構成を無効にしると複数のサウンドソーナス入力を得るご上がてきま�。 16:9 ヨスPLEイに好家庭高精彩ム一の鑑賞可能にりま�。鮮明な色が本物のHDム一一鑑賞を実現にしま�。16:9ク才リテイに好真の木一ムシアた一かいにノ一トフクで実現しま�。 Acer Bio-Protection 指紋ソリューニnhは、Microsoft Windows 才ルーナンの唯一性を活用た Acer Bio-Protection Fingerprint Solution には、許可さないデーフ从而の無断アクsesを禁止するたのPassword Bank による中央バスロー管理機能、アplikacionesWebサイトの高速立ら上て、AcerFingerLaunchを使用たロダイ機能,Noが組み達まてい。 Acer Bio-Protection 指紋ソリューニnhonを活用するごによ、PCをさらに上的レルで保護得起け,No、日常のタスクにも指をスフィフするだけで簡單にアケセス得起うになりま。 詳細は、Acer Bio-Protectionのヘルニアイルをご参照くださいます。 注意:ご機能は一部のモルてかご使用んだくごてきません。 Acer Backup Managerはわizards3Steppd、予定した日時、あたは必要に応て、システム全体、あたは選択んだアイルとフロルダのバックアツつを作成するとが電子郵件。 Acer Backup Manager 起動するには、Ki一oboundの上にある Acer Backup Manager 一を押てくだき。または、[Sta-tot]> [sabdeのPbOgRaum]>[Acer Backup Manager] > [Acer Backup Manager] to選択ります。すむこ 」画面が開きます。ご的画面から、3つステフでバクアフの予約を設定 的とが Kg。【統行】をクillて、次の画面に進みます。+朴々をクillて、画面の指示に従てくだき。 1 ロクアつは内容を選択いたします。選択的内容が減少ible減少いほむ、処は早くりまむが、デ一夕を失リスケが高くりまむ。 ごしらのステットが完了た後は、予約に基てハクアツが行われ。Acer Backup Manager 千一を押すと、手動でハクアツを行うとが成長。 設定を変更するには、[Stafel]MEXUN一からAcer Backup Managerを起動し、上記の手順に従てくだき。 本ノ一ト複ツPCは、システムアケテイビテを管理する、内蔵バウーマネーニフ ヒトデリトを装備いたします。システムアケテイビテは、次の装置のうらの1台または那以上が関係するあらゆるアケテイビテのとを言ります。キーリト、マウス、ハートデリスク、コンビューナに接続くださた周辯機器、ビデ才モリ。特定の時間アケテイビテが行わけります。本ノ一ト複ツPCは電源節約のた、二LETのデバイスの使用を停止いたします。 本ノ一ト複ク PCは、性能に影響を与えると之称用能使ACPI(Advanced Configuration and Power Interface)をサボ一トするバウーマネーニングルスキム使用くださいます。Windowsがすばてのハリロー操作を進行む。 注意:ご機能は一部のモルてか使用んだくごてきません。 Acer PowerSmart ハーは、コンビューナのガラフィックサブINSTムの省電力機能を使て、全体の電力消費量を削減いたします。 ハーを押,Th、スリーニの輝度が低くり、ガラフィックチツが低速に切り替わり ,(。まもPCIとWLANは省電力モーツに切り替わり)=(。再ひ Acer PowerSmart ハーを押,Th、元の設定に広り)=(。 Acer eRecovery Managementはシステムをすばやく復元するたのつ一ルです。工場出荷时期的イーニジをバックアフ/復元,Thリ、アフリケーニンやド现代农业を再インストルしぃると可能です。 注意:以下的内容はすて参照用とて使用くださいます。実際の製品仕様は、以下的内容のは異な场合,Noisy。 Acer eRecovery Management には次の機能が備wersいま�。 1 Bappy: 2 復元: 二の章は、その手順を説明いたします。 注意:ごの機能は一部のモデルてかご使用んだくごがてきせん。光学デイスケイタ一が内藏ていないステムの场合は、AcererecoveryManagement ご光学デイスケ関連の夕スケを実行する前に外付け光学デイスケイタ一を接続てくさ。 Acer eRecovery Managementのバスロー保護機能を使には、まむバスローを設定する必要くださいます。バスローは Acer eRecovery Managementを起動し、[設定]を clerkクすると設定いたします。 Acer eRecovery Managementの[バックアツ] perceive工場出荷時代のイメジを書き+()、ド现代农业やアリケーニンをバックアツしぃるとがてきま�。 1 [Sta-] > [səpə] [Acer] [Acer eRecovery Management] to kUk 3 ヨスクに書き迅むバックアツの種類(工場出荷時代のイメーダ、ド现代农业、アフリケーニン)を選択いたします。 注意:工場出荷時の状態のコンビューナルの才パレーダイングステ全体を含む予卜可能なデイスケを書き行銷んだ場合は、工場出荷時のイメーニをバックアツPLEてくだい。CONTERUSを参照し、選択たドライハやアリカーニンだけはをINSTÜル成長のデイスケを作成しぃい场合は、ドライハとアリカーニンのバックアツPLEを作成しぃい。そのデイスケからは予卜成長はません。 LRSUsTAsCnHcHsHcHcHcHcHcHcHcHcHcHcHcHcHcHcHcHcHcHcHcHcHcHcHcHcHcHcHcHcHcHcHcHcHcHcHcHcHcHcHcHcHcHcHcHcHcHcHcHcHcHcHacnEaAeaeaeaeaeaeaeaeaeaeaeaeaeaeaeaeaeaeaeaeaeaeaeaeaeaeaeaeaeaeaeaeaeaeaeaeaeaeaeaeaeaeaeaeaeaeaeaeaeaeaeaeaeaeaeaeaeaeaeaeaeaeaeaeaeaeaeaeaeaeaeaeaeaeaeaeaeaeaeaeaeaeaeaeaeaeaeaeaeaeaeaeaeaeAEaAe ae ae ae ae ae ae ae ae ae ae ae ae ae ae ae ae ae ae ae ae ae ae ae ae ae ae ae ae ae ae ae ae ae ae ae ae ae ae ae ae ae ae ae ae ae ae ae ae ae ae ae ae ae ae ae ae ae ae ae ae ae ae ae ae ae ae ae ae ae ae ae ae ae ae ae ae ae ae ae ae ae ae ae ae ae ae ae ae ae ae ae ae ae ae ae ae ae ae aaee 1 [Sta-]、[s-e]、[Aer]、[Acerecovery Management]をクルクしま。 3 3 前もて作成ておはいのバクアフデイスをらWindowsを復元さしには、ます1番目的バクアフデイスを插入し、BIOSSETトアフ広一テリテとF12フトメ二一を有効にする必要くださいます。 1 メルーニフローの電源を接入て、1番目的ステモルカバリデイスケを CD-ROM フラフに插入します。ンルーニフローを再起動いたします。 5 F5 56 F6 60 F12 F13 F14 F15 注意:ご機能は一部のモルてか使用んだくごてきません。 一卜優先を設定た場は、一卜サメ二一を選択てくさ。 1 ペングυーナの電源を接入て、1番目的ステルリカバリーニデイスケを CD-ROM ダライPBに插入いたします。总冠军一夕を再起動いたします。 本CONBü-一夕は長時間利用くださるバットリ一使用ていま�。 巴特尼一には次のうな特徴のはろ。 バットリーリフはルトデリにACアダフチを接続すると充電いたします。そのルトデリは、使用中Voltを充電するとがります。たけルトデリの電源を切った状態で充電した方は、はるかに早く充電いたします。 バットリ一使用すると旅行中、たは停電中关を操作するとがてき。バクアフのたに、完全に充電たリ一予備に用意さる。うお薦しま。予備のバツリ一購入にては、販売店にお問い合わせくさ。 他它的卡特一上同樣、之的二元比一夕的卡特一上使用重用每品有低下達也。末三卡特一在充電的量徐几少不 最初にバッチリ一を使いなか的前に、バッチリ一の「コンデイチON調整」を行う必要のはりま�。 1 ペンビューダの電源を切った状態で新しぃバッチリーを装着します。 ご手順にたがて、バツテリ一の充電と放電を3回繰り返しま。 新いバッチ一を購入さた场合、あたは長時間バチリ一使用ていい場合は、ごトデイフON調整を行てくさ。コン比一2週間以上使用な場合は、バチリ一取り外ておてくさ。 警告:臯卜一を長時間 0^ (32°F)以下、または45°C(113°F)以上的環境に放置しおてくださ。極度な環境は、臯卜一に著い影響を与える恐れのはんだ。 バットリOneCONDISSION调整を行い、バットリ一をuableけ間使用�能うように整てくださ。二の調整を行わncyは、バットリ一の充電可能回数が少なり、寿命も短くりります。 たの使用は、ルの壽命に影響し: 重要!CONBü一夕を統て使用た場合は、バツテリ一を取り外す前に必すACアダフタを接続てくだき。その場は合は、まむCONBü一夕の電源を切てくだき。 トリ一の装着: 1 パルリーマを開いはリリーツに合わせま。ト部分を先に、リリーツの上面が上を向くうに插入てくさ。 巴特乃一の取外: 1 ロルリ一取外レラツをス现代农业さてバツテリ一を外しま。 バッチリ一を充電するには、ますバッチリ一が正しくバッチリ一べイに装着ているとを確認てくだい。ACアダフタをコンビヨ一夕に接続、CONSENTに縄きま�。バッチリ一を充電てい間もAC電源を使てコンビヨ一夕操作を继续するとがてきま�。た従コンビヨ一夕の電源を切った状態で充電たが、はるかに早く完了るとがてきま�。 注意:1日の终わりにバツテリ一を充電いたします。 Windowsの電源 methaneに現在のバットリ一残量が表示いたします。タス克バ一上のバットリ一/電源アイコにマウスカーニルを合わせると、バットリ一の残量が表示いたします。 バットリ一の寿命を最適化すると、充電/放電サイクルを延長させ、効率良く充電するニethingてきるようにncyは。次のアドバイスにたがてくだせ。 巴特力一使用者、Windows的電源一注意載。 警告:バッチリ一の低残量警告が表示くださいます、速やかにACアダフタ接続てくだい。バッチリ一が完全に消耗すると、コンピューナがシャットダウンしりますのでデ一さ失わてしぃむしぎみます。 バッチリ一の低残量警告が表示くださた場合の対応法は、作業状況によて異なります。 二三は、本ノトフクPCを持ち運さとか的方法やヒINTにて説明しら。 以下の手順に従て、本ノトフクPCから周边装置を外てくさい。 1 作業を終了し、保存てんださい。 才FISdesUsk从会议室至等の短距離を移動する场合にて説明いしぃます。 本ノト複クPCを移動する前に、デイス複は閉て、スリーメモートに切り替补てくだい。こて、ルの中を移動するとが成長。本ノト複クPCをスリーメモートから標準モートに現すには、デイス複は開けてくだい。次に、電源木たんを押てくだい。 本ノ一ト複クPCをケラアトの才フィスや別のルに携帯する场合は、本ノ一ト複クPCをシャットダウncyるごとてきま�。 [スロー]をクルックた後、[シャットダウ]をクルックしぃま。 本ノ一ト複クPCを再度使い始るときは、デイスPLEIを開てくだせ。次に、電源木たんを押てくだせ。 注意:sリーパEPLEDがOFFの场合は、本ノトフツPCはハイバネーニンモードに切り替わてOFFの状態にncyい。電源LEDがOFFでsリーパEPLEDがONの场合は、本PCはsリーツモードに切り替わてい。.Whらの场合も、本ノトフツPCを標準モードに尻すには、電源木たんを押てくだ。本ノトフツPCは、sリーパモードに切り替わてから一定の時間が過鳴上、ハイバネーニンモードに切り替わるご)”和)”为。、ご注意くだ。” 短時間の會議のはんだ、coniクionalを携帯する必要は不一定でよう。ただし長時間にわる会议や、電池が完全に充電くださいます場合は、ACアダフタを携帯いたします。 會議室にコンSENTがない場は、本ノーツフックPCをスリーフモードに切り替て電源の消費を最小限にとててくだき。本ノーツフックPCを使用ていしぃは、 才FlIss上自宅の間を移動する场合にて説明んだしま�。 本一朴KPCをご自宅に持て歸場合は、以下の準備を行てくさ。 注意:携带ケースの中に本ノ一トフクPC以外のもを多く詮てすきと、トフカハ一に压力がかかり、スケリ一冂破損する恐れがあらま。 于此自宅予以備用が有的場合以外は、次のアテムをお持ちくさ。 二等のガイドラインに従て、移動中はルトを保護しんだ。 頻繁にご自宅で本ノ一ト複クPCを使用する场合は、予備用のACアダ複たを購入するとをおすむしります。二れにより、ACアダ複たを持ち運動必要くださいます。 自宅本一トPCを長時間使用する场合は、外付けキ一木一、外付けモニた一まは外付けマウスの使用もおすうしります。 才フイスからケラーツトの才フイスまてや国内旅行,No、長距離を移動する场合にpine说明しは。 自宅に持ち歸ときと同じ要領域本ノ一トクPCを準備てくさ。バツテ一が充電いたします。二を確認てくさ。空港のせんリテがコンビ這一た一の持ち込時に電源をONにするとを要求するごつか)=(1) 以下のアイテムをお持ちくだい。 AC 4 自宅に持ち歸たきの注意事項に加て、以下之事柄に注意てくさ。 本一トPCKPCは手荷物とてくさ。 海外旅行的场合中,说明我来。 国内旅行用の準備と同じ要領で準備てくだき。 以下のアイテムをお持ちくさい。 AC 4 CONBUN一夕持て移動る際の注意に従てくは。海外へ旅行たる场合は、上記の注意事項に加え、以下の匕卜も役に立ま�。 本ノ一ト複クPCには嚴重な管理を必要と用的貴重な情報が保管いたします。 本ノ一ト複ツクPCのせチリテ機能は、八一ドウアロツク(安全ノチ)とドウアロツク(ICカ一ドおよルスフ一)を含みます。 ごのノ一トフクにはKensington対応せキルテイロットが搭載いたします。 CONBÜU一用安全口克のケ一BL机或口克的引き出の取手なの動かいもにつなさま。口克をせ毎リテイ卡一ロクノツチに插入、半一をまわて口克を固定てくさ。半一使用ないモルもあらま。 八斯ロードはルトーナを不正なアクせスから保護いたします。こりらの八斯ロードを設定くださいます。、ルトーナやデーフを異なるレルで保護するとがります。 スーリフローはリフローを使て、BIOS ハーネリルローの不正アクセスを防うとがります。そのスローを設定すると、BIOS ハーネリルローにアクセスするたには同じスローを入力くださいます。27 [BIOS ハーネリルロー]を参照いたします。 ルーダフローを使て、本ノトフツPCが不正に使用くださいますとを防むとがります。起動時お願いいたします。起動時お願いいたします。 重要!ス一八 bayasswadを忘elnいうにてくさ。八sswadを忘てまた的场合は、弊社の力斯マ一萨トSennta一連絡くさ。 Vssw一卜設定乾者上、Vssw一卜PbONP卜画面の中央に表示乾者。 重要!バスローは3回て入力いたします。3回間違て入力すると、本ノーツフックPCは動作を停止いたします。電源术铊を4秒間ほじ押し続け、本ノーツフックPCをシャットダウncyくだい。む1度電源をONにし、バスローを入力てくだい。 BOS」はBIOS」一テリテを使て設定しま�。 本一ト両PCは、モバイルコンビーネングに必要なての機能を提供ていま�。 本ノトクPPには、デスケットPCご操作と同じ要領て、周边装置を接続するとが Kg。各周边装置の接続についは、才ンライナドをご参照くだき。 本一ト複クPCは、V.9256KbpsFAX/下一夕モデムを標準装備ていま�。(特定モデルの) 警告!ごのモムトは、デタル電話線と互換性のはんだ。從て、ごのモムをデタル電話線に接続すると、モムが破損するごにようお願いいたします。 FAX/徳一夕モムを使用するには、電話線をモム木一トから電話シャットに接続てくだせ。 警告!電話ケ一フルは、本製品をご使用にる国が指定するものをお使いくだき。 内藏ネトロー機能を使て、本ノ一トフクPCをイ一サネトローネトローに接続するとが%/。 ネトフロー機能を使用するには、コンパローのシャーニnh的 Ethernet (RJ-45) プートからネトフロージヤック、またはネトフローのハフに Ethernet キーツルを接続いたします。 USB 2.0 モーツは、システムリソーニを使わizards USB ダバイスを付けで使用するとを可能にする高速シ利亚ルバイスです。 本ノ一ト複クPCのIEEE1394木一トには、デ才力ルマやデジルカマ等のIEEE1394サ木一トデバイスを接続するとが,Th。詳細は、デ才まはデジルカマの資料をご参照くさ。 HDMI (High-Definition Multimedia Interface)は業界が�トする未圧縮の才一ルデジル才一デイ才/ビデ才広ーフエスです。HDMIはせットト複bo克斯、DVD フレーパー、A/V受信装置之称对应的対応るデジル才一デイ才/貳才と、デジルTV(DTV)之称の対応るデジル才一デイ才/貳才モニたを1本のケ一アルで縄く徳才一徳スです。 CONBUN一夕のHDMI木一トを使てハイエンド才一テ才/比才装置に接続てくさ。1本のケ一PLル接統てきま�のでCONBUN一夕周をすっき和維持、すばやく接統るごがきま�。 ExpressCardは最新のPCカ一下です。它はコンビューダの使用可能性と擴張性を高う、優さ小さく、高速のインーナフローです。 ExpressCardsはフラツドモルカードアダフタ、TVチuya一、ルトウ一 重要!ExpressCard/54とExpressCard/34(54mmと34mm)の2種類がり、そのれ異な機能を備えいます。ExpressCardスロットの中には两方面的ターリフに対応てないむもみろは。カートのインストーリル方法と使用方法にしぃは、カートの取扱説明書をお読みください。 力一卜在口卜中插入、力子卜上音的末动和力一卜押到<上 ExpressCard 要取出前: 1 力一卜使用的亚P克一JH 于终了 BIOS ルーテイリテはコンビューナのBIOSに組みお願いた、ハーニウア構成プロガラムです。 本ノ一トフックPCは、てに正確に設定いたします。とットアフロガムを実行する必要のはんだ問題のはんだ場合は、とットアフロガムを実行するとがります。 POSTの最中的ノーツフクPCのロゴが表示いたしますとに BIOS ハーネリルデイて起動シャーニングスを設定するには、BIOS ハーネリルデイをアクテYPじにし、画面の上に一観表示くださた力テガリから Bootを選択いたします。 Disk-to-disk recovery 機能を実行するには(ハーダデイスク復元)、BIOS ヱーダテリテイを有効にて、カテガリ一から Main 为選挙てくだき。画面の下部にD2DRecovery表示さmetry、F5> 千一と F6> 千一を使てご的值toEnabled に設定てくだき。 起動時にバスロー設定するには、BIOS ハーダイリテイをアクテイ metabじし、画面の上に一観表示た力テガからSecurityを選択いたします。Password on boot:を探し、 注意:ご機能は一部のモルてか使用んだくごてきません。 DVD フ拉动フが光フ拉动フバイに取り付けない場合は、本ノ一トフク PC と DVD 映画を再生する二ossa�能ります。 1 DVD ヨスケ取り出しま�。 重要!DVD フレーパーを最初使用すると、プロダムは地域コートの入力を要求いたします。DVD フレスクは、6地域に分けらてい).(2)地域コートをセットすると、その地域のDVD フレスクのみを再生 ,(3)地域コートは、最初のセットを含て最高5回セットごき、5回目にセットたもを変更するとは可以せん。八一ドリスクを復元 ,(4)設定した地域コートの回数はリセットさしません。DVD映画地域コートに ,(5)次の表を参照 ,(6) 2 数秒後、DVD映画的再生さcludes。 注意:地域コードを変更するには、DVD ダ现代农业に別の地域の DVD映画を插入てくだい。詳細は、才ンラインルフを参照てくだい。 本ノ一ト複クPCを使用てきに発生する可能性のはトラ複ルとその対处方法をご説明くださいます。 電源は入りますが、コンビューダが起動たは予卜ません。 電源LEDをチーフックてくさい。 点灯ていな場合は、電源が供給さていせん。以下にてチルクてください。 バットリーダ電源で本ノトリフクPCを動作くださいます。バットリーフ充电レルは低く,Noてる可能性のはんだ。ACアダフタを接続とバットリーフフクを再充電てckだき。 ACアダフタが本ノーツリフクPCとコンセntにしだか和接続いたします。 点灯てる场合は、以下にてチエクてくさ。 フローヒート现代农业の未来可能デイスカ的不同デイスカ(非デイスム)が插入いたしますか?デイスムの未来を插入、 本ノ一ト総クPCのバフーマネーニ mjCNTUSHITは、電源を節約するたに自動のに画面をOFFにしります。任意のキ一を押てくだき。 一を押ても正常な状態にもどらい场合は、次の3つ的原因が考えらてま。 以下打印确認到<下载>。 トリル�ムが上てい可能性はら。Windows環境は、夕スクバーナのボリル�ム制御(スビカ一)アイコンをチルクてくさ。アイコンをケルクて、全ル�ト機能を取り消てくさ。 プリューマレルが低標準的可能性のはんだ。Windows 4.0のボリューマ制御アイコンをチラックにしてんだ。ボリューマ制御ロタンを使て調節するとまえ得很好。 本PCの電源がOFFの状態で光学ドライフローを取り出来い。 光学ド现代农业には、強制イジeerトボTONのはみま。ルの先やケリツを插入し、トレイを取り出てくだき。(スロット式的光学ド现代农业が搭載たコンビム一夕にはイジeerトHO一ルはあらません。) 一求一卜加動作末せ。 外付は一ト一ドを本ノト一トクPCの背面ルにあ的USB一ケ夕に接続てくさ。こも動作する场合は、内部一ト一ドケ一化ルが損傷てる可能性のはま。弊社の力スマ一サ一比六七夕一に連絡くさ。 総リンタ一が動作しません。 以下にて確認てくさ。 D2D(Disk to Disk)にようりカバリ一方法をご説明いたします。 【注意】 リカバリーツローは 力ルバリ一を実行すると、PC(C:ド现代农业)に保存いたします。デ一夕や設定のは全文消去いたします。PCの起動が可能な场合には、力ルバリ一を開始前に必須のデ一夕をバックアフスるごとをお勸ていたします。 ※注意:CD が插入いたします。場合や、周辯機器が增設いたします。場合は、事前に外ておてくだいたします。 1 電源左入扎専。 ※「Acer eRecovery Management」が表示くださいます場合は、[Alt] マー [F10] マーを同時に複数回押てみてくだいたします。 3「Acer eRecovery Management」に「Which is the best way to get the best result for you?」和表示結束了。[Sta temus to初期設定 is the best way to get the best result] to do a little more. ※C フ现代农业が初期化いたします。初期化をやる场合は[キフル]ボーナンを clerkにしま�。 6 [復元の確認]と表示いたします。[OK] ム总冠军をクリックします。 日本工イサイは安心につがる3つのサボトをご用意ております。 本ノ一ト複クPCは、旅行の際の安全と安心を提供する國際旅行者保証(ITW)が含まていります。世界各地にある弊社のサイービスentedaでサイービスを受utingにとがてきます。 本ノ一ト複クPCには、ITWバスロトが付属ていま。ごのバスロトには、サイビスSENTOneのリストを含むITWプロガラムにてのご案内が記載ていま。 サイーヒスSENTーニでサイーヒスを受る場合は、二のバストートお持ちくさい。 ナストートのフロトカハ一の内側にレシートを保管するボケットを設けまた。 旅行先の国に弊社のサイドルーニングローがない场合で、弊社の世界各地の才フスは連絡するとて你能ます。http://global.acer.comにアク塞尔はくだき。 下記の日本工伊サ一木一ムは一ジよ川さトのは一に行くごがてきま�。「Q&A」や「おるあ的質間」と役に立つサ一卜情報を揭載ておりま�。 日本工伊沙一木一ム凹一: http://www.acer.co.jp/ 電話☆木一卜:0570-016868 一 尔 木卜:jcsd@acer.co.jp ※E丶ルサトにてお問い合成さ頂く際は、下記項目を二連絡くだ。 · 名师前 ごの章は、発生する可能性のるトロル内対応辦法にてご説明たし。問題が発生た場合は、技術者に問い合わせ前にごのセクシャンをお読みくさ。やり複雜な問題の場合は、コンビヨ一夕内部を開く必要ecause有かもしません。客様ご自身で絶対にコンビヨ一夕を開かいてくさ。販売店たは専門のサトスSENTeer お間い合わせくさ。 本ノ一ト複クPCは、トラルの解消を助るエラーマ SSEJを表示いたします。 工一、工一、工一、工一、工一、工一、工一、工一、工一、工一、工一、工一、工一、工一、工一、工一、工一、工一、工一、工一、工一、工一、工一、工一、工一、工一、工一、工一、工一、工一、工一、工一、工一、工一、 以上のように対応てもトラルが解消くださいます场合は、弊社のカスマーダーフロートSENTローに連絡くださいます。トラルによるは、BIOS サリフローは使て解消するとがいたします。 ごの装置は、FCC規定の第15条に準じ、ClassB緱ダル機器の制限に従ていま�。ごれらの制限は家庭内設置にpine障害を防んだ必要に設けらていま�。本装置はラジ才周波エルギ一を発生、使用し、さに放射する可能性のは、指示にたがてインストーリおよ使用せない场合、ラジ才通信に有害な障害を与える场合くださいます。 かしおら、特定的方法設置すは障害を発生くださいます。保証はんだかねます。その装置がラジオやTV受信装置に有害な障害を与える场合は(装置の電源を一度切て入なおはとにご確認,No)障害を取り除くたに以下の方法にしたがて操作てくだい。 受信安丁の方向を変えるか、設置場所を変える 本製品にほかの装置を接続する场合は、國際規定に準拠するたにシルド付きのケーリルをご使用くだい。 ご装置にはClass B規定に準拋た周邊機器(出入力装置、端末、フリンタ等)以外は接続しおてくだき。規定に準拋しお周邊機器を使用すると、ラジ才或TV受信装置に障害を与えるおれがあらま�。 一力一が許可ない解体や修正を行った場合は、FCCが規定するごトに一夕を操作するeu一の權利は失われま。 Federal Communications Commission 各規格の準规则 ごのデバイスはFCC規定の第15条に準拠ていま�。次の2つの条件にたて操作を行うとがてきま�。(1)ごのデバイスが有害な障害を発生しぃさ(2)不具合を生じ得るう等障害に対応得るご。 Acerは、ごのノートPCシリズが指令1999/5/ECの必須条件と、その其他的関連条項に準拋てい的とを、ごに宣言いたします。(完全な文書にpineは、http://global.acer.com/products/notebook/reg-nb/index.htmをご覈くだき。) ごの装置は内にお願い PSTNご单一端末接続に準拋いたします [Council Decision 98/482/EC- "TBR 21"]。たて国によう PSTNに違いがりまなのて、必すしもすばての PSTN 端末で正し操作くださるとを保証するもののはありません。 問題が発生た場合は、たてに装置をご購入た予とへお間い合わさくさ。 LCD ヨニットは、極て精密な製造テクノロジ一で生產いたします。しおし、ごクルが黒たは赤のドットとて表示くださるごにあらります。こは、記録くださいます。イメーは影響かng、欠険てはあらません。 注意:次の規制情報は、フィヤレス LAN お願いBluetooth対応モルのたわのものです。 本製品はフィヤレス機能の使用が認わる国お願い地域に付ける、ラジ才周波数およ安全規格に準拋てい。 設定によう、本製品にはフィヤレスラジ才裝置(WLAN/Bluetooth マジロー)”が含むる场合と、含むない场合,Noは。次の情報はごのう装置が含むる製品のたてのたです。 2009年7月現在の欧州連合の加盟国は次の通りです:ルモー、デンマーケ、ドイツ、ギリヤ、スパイン、法兰ス、アIL蘭卜、ルケSenPLGB、才蘭ダ、才一斯トリア、木ルトガル、フィング蘭卜、スウー—徳、英国、工スト二、ラトビア、リトア二、ロ一蘭卜、ハNGRIER、チコ共和国、ロロバキア共和国、スロバ二、キプロス、マル夕、総ガリア、ル一マ二。欧州連合諸国と同様に、ルウー、スイス、アISLAND、リトENSHUATAIINご使用が許可さていま。そのデバイスは、使用する国度規制和制約を遵守て使用くだ。詳細にしぃては、使用する国度地方事務所にお問い合わせくだ。最新国のリストにしぃては、http://ec.europa.eu/enterprise/rtte/implem.htmを参照てくだ。 FVAYL5ANM二PCI力一D与Bluetooth力一D的放射出力是、FCC無線周波数の暴露限度をはるかに下回りいたします。しか、一トバSONコに通常に使用する際は、人体に接触する可能性を最小限に押さてくだき: 1 RF才総予德ルの上一地一、フアス才FJNDFALRF安全指示に従ては。 注:FCC RF 暴露の準拋要件に準拋するたに、画面セク余万元組み進一步はりフローLAS LAN ハ=PCIカードのアンテナと人的間は、少なくと20cmの間隔を置てckだき。 注意:ウイヤレスミニPCIアダ metabには、送信ダイバncy機能のはんだ。その機能は、両方のアncyから同時に無線周波数を放射しません。一方の広ncyが自動のにまたは手動で選択さ、高品質の無線通信をご提供いたします。 2 ごのデバイスは、5.15~5.25 GHzの周波数範圍で作動し、使用は室内に制限いたします。FCCは、同一チヤンルモバイル衛星シラムに障害をお願いいたします可能性を削減するたに、本製品を5.15~5.25 GHzの周波数範圍で、室内で使用くださいます。 a 一般情報 以下の2つの使用条件のはんだ: b 2.4 GHz 带の使用 ☆「」LAISENSs 1 c 5GHz 带の使用 ·带域 5150 5250MHz 的德巴斯は、同一チんルモバイル衛星システムに障害をおよほす可能性を削減するたに、室内くださいます使用いたします。 LCD panel ergonomic specifications 日 TravelMate 1 M 六日 国 1J iJzHJ. 通和之 清潔希尼前應對陜部的相關電動機進行清洗,以便對電動機進行檢測。電動機的清洗設備應選擇專業的電動機維護機構。 长切的约结为时,脱拉上 前元同国长当中, AC 進元國藏世道對進元國藏道來達諸法,進元國藏道諸法,進元國藏道諸法,進元國藏道諸法,進元國藏道諸法,進元國藏道諸法,進元國藏道諸法,進元國藏道諸法,進元國藏道諸法,進元國藏道諸法,進元國藏道諸法,進元國藏道諸法,進元國藏道諸法,進元國藏道諸法, 前元公国首站到来,新一的, 試用場に試用章程の適用を確認。試用章程は試用章程の適用を確認。試用章程の適用を確認。 請問先生,您的 前綱元克連則約達者,前綱元克種則是諸國在也,對其主詮之和,無以應之。當此之,則有之,而無之,即有之。當此之,則有之,而無之,即有之。 試竊成の状態を確認。 賊則者是卡德樂果,普拉斯默。馬達卡德之。 豐尚社的 詠頌以示之,不言而喻。 此頁將來講述如何使用此頁,請參閱其他頁面的資源。 列表: 查:;:王,。T,,,,,,,,,,,,,,,,,,,,,,,,,,,,,,,,,,,,,,,,,,,,,,,,,,,,,,,,,,,,,,,,,,,,,,,,,,,,,,,,,,。 iJ 1 dānq和ç是的,云的,藏在,,,,,,,,,,,,,,,,,,,,,,,,,,,,,,,,,,,,,,,,,,,,,,,,,,,,,,,,,,,,,,,,,,,,,,,,,,,,,,,,,,,,,,,。 查::,当。 IiNtBkRnEiOeRnREiRnRnRnRnRnRnRnRnRnRnRnRnRnRnRnRnRnRnRnRnRnRnRnRnRnRnRnRnRnRnRnRnRnRnRnRnRnRnRnRnRnRnRnRnRnRnRnRnRnRnRr.60°C(140°F)IiEiEiEiEiEiEiEiEiEiEiEiEiEiEiEiEiEiEiEiEiEiEiEiEiEiEiEiEiEiEiEiEiEiEiEiEiEiEiEiEiEiEiEiEiEiEiEiEiEiEi EiiEiEiEiEiEiEiEiEiEiEiEiEiEiEiEiEiEiEiEiEiEiEiEiEiEiEiEiEiEiEiEiEiEi Eii Eii Eii Eii Eii Eii Eii Eii Eii Eii Eii Eii Eii Eii Eii Eii Eii Eii Eii Eii Eii Eii Eii Eii Eii Eii Eii Eii Eii Eii Eii Eii Eii Eii Eii Eii Eii Eii Eii Eii Eii Eii Eii Eii Eii Eii Eii Eii Eii Eii EII EII EII EII EII EII EII EII EII EII EII EII EII EII EII EII EII EII EII EII EII EII EII EII EII EII EII EII EII EII EII EII EII EII EII EII EII EII EII EII EII EII EII EII EII EII EII EII EII EII E-II 40°C (104°F) IeHiH eHJH HJH HJH HJH HJH HJH HJH HJH HJH HJH HJH HJH HJH HJH HJH HJH HJH HJH HJH HJH HJH HJH HJH HJH HJH HJH HJH HJH HJH HJH HJH HJH HJH HJH HJI HJH HJI HJH HJI HJH HJI HJH HJI HJH HJI HJH HJI HJH HJI HJH HJI HJH HJI HJH HJI HJH HJI HJH HJI HJH HJI HJH HJI HJH HJI HJH HJI HJH HJI HJH HJI HJH HJI HJH HJH HJI HJH HJI HJH HJI HJH HJI HJH HJI HJH HJI HJH HJI HJH HJI HJH HJI HJH HJI HJH HJI HJH HJI HJH HJI HJH HJI HJH HJI HJH HJI HJH HJI HJH HJI HJH HJI H 渐賃T1是的,增T1和T1都为T1的,而T1的,也与T1的相等。 [BaT]Ri. 10000000000000000000000000000000000000000000000000000000000000000000000000000000000000000000000000000 賄賃則以驅進賄賃,者之在賄賃(即:賄賃豈是賄賃或賄賃之,皆無之賄賃)之,賄賃則以驅進賄賃,而賄賃則以驅進賄賃,亦有之賄賃。賄賃則以驅進賄賃,而賄賃則以驅進賄賃,亦有之賄賃。賄賃則以驅進賄賃,而賄賃則以驅進賄賃,亦有之賄賃。賄賃則以驅進賄賃,而賄賃則以驅進資,亦有之賄賃。賄賃則以驅進賄賃,而賄賃則以驅進賄賃,亦有之賄賃。賄賃則以驅進賄賃,而賄賃則以驅進賄賃,亦有之賄賃。 賄賊人が乗績を満う或いみに状態をはみ。説言の専用賄賊人が乗績を満う或いみに状態を満う。賄賊人が乗績を満う或いみに状態を満う。賄賊人が乗績を満う或いみに状態を満う。賄賊人が乗績を満う或いみに状態を満う。賄賊人が乗績を満う或いみに状態を満う。賄賊人が乗務を満う或いみに状態を満う。賄賊人が乗務を満う或いみに状態を満う。賄賊人が乗務を満う或いみに状態を満う。賄賊人が乗務を満う或いみに状態を満う。賄賊人が乗務を満う或いみ之 末世達會是怎樣化那迦尼的時報。 BTeRlI 甲 自三藏是二,如: 彌也!賊賊拉里呂樂拉列克賊賊拉希默不云遍藥半遙馴求歟馴。賊賊拉里呂韋解達希從多歌軒賊賊拉馬信示,者認之的尚是藥知者長多對保所及保所,亦應有賊賊拉里呂韋賊賊拉當則記格要到者少而 a) 乾的。 主的:i. 主的:當內,對此,就可看出,那在這兩種方式下,都無異。 LASERATTENTION: RADIATION DU FAISCEAU LASER INVISIBLE EN CAS D'OUVERTURE. EVITTER TOUTE EXPOSITION AUX RAYONS. VORSICHT: UNSICHTBARE LASERSTRAHLUNG, WENN ABDECKUNG GEÖFFNET NICT DEM STRAHLL AUSSETZEN ADVERTENCIA: RADIACION LÁSER INVISIBLE AL SER ABIERTO. EVITE EXPONERSE A LOS RAYOS. ADVARSEL: LASERSTRÄLING VEDÄBNING SE IKKE IND I STRÄLEN. VARO! LAVATTAESSA OLET ALTTINA LASERSATEILYLLE. VARNING: LASERSTRÄLNING NÄR DENNA DEL ÅR ÖPPNAD ÅLÅ TUIJOTA SÄTEESEENSTIRRA EJ IN I STRÄLEN VARNING: LASERSTRÁLNING NAR DENNA DEL ÅR ÖPPNADSTIRRA EJ IN I STRÄLEN ADVARSEL: LASERSTRÄLING NAR DEKSEL ÅPNESSTIRR IKKE INN I STRÄLEN · 訳也!安進言將優進者是音音奉之,且在國政事上爲此種音音優音者所應者,當日必有音音優音者。 完和!在前的之用为。 志術處所,事行中,過的,必不,必不,必不,必不,必不,必不,必不,必不,必不,必不,必不,必不,必不,必不,必不,必不,必不,必不,必不,必不,必不,必不,必不,必不,必不,必不,必不,必不,必不,必不,必不,必不,必不,必不。 早至前奏曰:贝默然,拉迪云歌世长告以动中,有之,如之,如之,如之,如之,如之,如之,如之,如之,如之,如之,如之,如之,如之,如之,如之,如之,如之,如之,如之,如之,如之,如之,如之,如之,如之,如之,如之,如之,如之,如之,如之,如之,如之,如二、三、四、五、六、七、八、九、十、十一、十二、十三、十四、十五、十六、十七、十八、十九、二十、十一、十二、十三、十四、十五、十六、十七、十八、十九、二十、十一、十二、十三、十四、十五、十六、十七、十八、十九、二十、十一、十二、十三、十四、十五、十六、十七、十八、十九、二十、十一、十二、十三、十四、十五、十六、十七、十八、十九、二十、十一、十二、十三、十四、十五、十六、十七、十八、十九、三十、十一、十二、十三、十四、十五、十六、十七、十八、十九、二十、十一、十二、十三、十四、十五、十六、十七、十八、十九、二十、十一、十二、十三、十四、十五、十六、十七、十八、十九、二十、十一、十二、十三、十四、十五、十六、十七、十八、十九、二十、十一、十二、十三、十四、十五、十六、十七、十八、十九、十0 喜 長普默自, 喜 电, 喜 电, 喜 电, 喜 电, 喜 电, 喜 电, 喜 电, 喜 电, 喜 电, 喜 电, 喜 申, 喜 电, 喜 电, 喜 电, 喜 电, 喜 电, 喜 电, 喜 电, 喜 电, 喜 电, 喜 由, 喜 电, 喜 电, 喜 电, 喜 电, 喜 电, 喜 电, 喜 电, 喜 电, 喜 电, 喜 也, 喜 电, 喜 电, 喜 电, 喜 电, 喜 电, 喜 电, 喜 电, 喜 电, 喜 电, 喜 、 喜 电, 喜 电, 喜 电, 喜 电, 喜 电, 喜 电, 喜 电, 喜 电, 喜 电, 喜 电, 喜 电, 喜 告。 RF神祐是徒者堂者本者,徒者堂者(安托默)弗拉克之,徒者歌于徒者当者,徒者当者,徒者当者,徒者当者,徒者当者,徒者当者,徒者当者,徒者当者,徒者当者,徒者当者,徒者当者,徒者当者,徒者当者,徒者当者,徒者当者,徒者当者,徒者当者,徒者当者,徒者当者,徒者当者,徒者当者 JaEeKJHJHJHJHJHJHJHJHJHJHJHJHJHJHJHJHJHJHJHJHJHJHJHJHJHJHJHJHJHJHJHJHJHJHJHJHJHJHJHJHJHJHJHJHJHJHJHJHJHJHJ HJIJIJIJIJIJIJIJIJIJIJIJIJIJIJIJIJIJIJIJIJIJIJIJIJIJIJIJIJIJIJIJIJIJIJIJIJIJIJIJIJIJIJIJIJIJIJIJIJIJIJIJIJIJIJIJIJIJIJIJIJIJIJIJIJIJIJIJIJIJIJIJIJIJIJIJIJIJIJIJIJIJIJIJIJIJIJIJIJIJIJIJIJIJIJIJIJIJIJIJI JI JI JI JI JI JI JI JI JI JI JI JI JI JI JI JI JI JI JI JI JI JI JI JI JI JI JI JI JI JI JI JI JI JI JI JI JI JI JI JI JI JI JI JI JI JI JI JI JI JI J I J I J I J I J I J I J I J I J I J I J I J I J I J I J I J I J I J I J I J I J I J I J I J I J I J I J I J I J I J I J I J I J I J I J I J I J I J I J I J I J I J I J I J I J I J I J I J I J I J I J II II II II II II II II II II II II II II II II II II II II II II II II II II II II II II II II II II II II II II II II II II II II II II II II II II II II II II II II II II II II II II II II II II II II II II II II II II II II II II II II II II II II II II II II II II II II II II II II II II II IIIIIIIIIIIIIIIIIIIIIIIIIIIIIIIIIIIIIIIIIIIIIIIIIIIIIIIIIIIIIIIIIIIIIIIIIIIIIIIIIIIIIIIIIIIIIIIIIIIIIIIIIIIIIIIIIIIIIIIIIIIIIIIIIIIIIIIIIIIIIIIIIIIIIIIIIIIIIIIIIIIIIIIIIIIIIIIIIIIIIIIIIIIIIIIIIIIIIIIIII-II-II-II-II-II-II-II-II-II-II-II-II-II-II-II-II-II-II-II-II-II-II-II-II-II-II-II-II-II-II-II-II-II-II-II-II-II-II-II-II-II-II-II-II-II-II-II-II-II-II-II-II-II-II-II-II-II-II-II-II-II-II-II-II-II-II-II-II-II-II-II-II-II-II-II-II-II-II-II-II-II-II-II-II-II-II-II-II-II-II-II-II-II-II-II-II-II-II-II-II- 当新进程或向新进程的进程的进程的进程的进程的进程的进程的进程的进程的进程的进程的进程的进程的进程的进程的进程的进程的进程的进程的进程的进程的进程的进程的进程的进程的进程的进程的进程的进程的进程的进程的进程的进程的进程的进程的进程的进程的进程的进程的进程的进程的进程的进程的进程的进程的进程的进程的进程的进程的进程的进程 証:iJ 1 賊記事前者當請載來號記里,數日時之。我,我,我,我,我,我,我,我,我,我,我,我,我,我,我,我,我,我,我,我,我,我,我,我,我,我,我,我,我,我,我,我,我,我,我,我,我,我,我,我,我,我,我,我,我,我,我,我,我,我,我,我,我,我,我,我,我,我,我,我,我,我,我,我,我,我,我,我,我,我,我,我,我,我,我,我,我,我,我,我,我,我,我,我,我,我,我,我,我,我,我,我,我,我,我,我,我,我,我,我,我
sustainability01.htm BILED 黑ralaiIe LCD/CRT MoNlTe 于是 DusLpReIiHa foHd0y e0f iE 1nKU 2nB PloRleT To 无 无 无 无 无 无 无 无 无 无 无 无 无 无 无 无 无 无 无 无 无 无 无 无 无 无 无 无 无 无 无 无 无 无 无 无 无 无 无 无 无 无 无 无 无 无 无 无 无 无 0 抱歉。自该消息发布之日起,您将无法通过任何其他方式联系本公司。 ENERGY STAR Acer 的 ENERGY STAR 公司的產品會在使用中產生優勢,優勢會對企業產生影響。因此,Acer 將將積極地推動國內電力發電產業的發展。 ENERGY STAR 的の。 ENERGY STARが公工信用産品は米国を通販の広国の上ご通販の策成法に予予。予予。予予。予予。予予。予予。予予。予予。予予。予予。予予。予予。予予。予予。予予。予予。予予。予予。予予。予予。予予。予予。予予。予予。予予。予予。予予。予予。予予。予予。予予。予予。予予。予予。 Acer是個難易的信用來源,它被認为金融工具。它還被認為是金融工具。Acer是個很難讀的金融工具。 http://www.energystar.gov/powermanagement 酱中止者信息 Acer ENERGY STAR 公司官网:(请登录我爱那片天边) ENERGY STAR & ENERGY STAR マ克は我国あ所の通歌生形広に。 賊軌軒常人是,当士人,幸用者,其的,如。王之,,,,,,,,,,,,,,,,,,,,,,,,,,,,,,,,,,,,,,,,,,,,,,,,,,,,,,,,,,,,,,,,,,,,,,,,,,,,,,,,,,,,,,,,,,,,。 賊賊賊則也。 此人之言,皆非其意。彼人之言,皆非其意。此人之言,皆非其意。此人之言,皆非其意。此人之言,皆非其意。此人之言,皆非其意。此人之言,皆非其意。此人之言,皆非其意。此人之言,皆非其意。此人之言,皆非其意。此人之言,皆非其意。此人之言,皆非其意。 这在当用里说的还为 MoiNtIe SiAikai kTstHagnai baiiXei 10000000000000000000000000000000000000000000000000000000000000 皆時人,音,皆到的安造且是的克默德策之,不本服,,末写,有在。,,,,,,,,,,,,,,,,,,,,,,,,,,,,,,,,,,,,,,,,,,,,,,,,,,,,,,,,,,,,,,,,,,,,,,,,,,,,,,,,,,,,,,,,,。 此音韵将使用于“我”字的音节。 请在文言文的“故间应”下加点号。 vowels在声韵上,有“一”、二、“二”、三、“一”和“一”三个音节。 藏于者到本下,传一和之,生,如在, 成也,当有此,当有。 相::J3.33333333333333333333333333333333333 Acer 不豆鼎部将从朝朝,至居服,如相。 Acer 罗丶德専用者,自用者,自用者,自用者,自用者,自用者,自用者,自用者,自用者,自用者,自用者,自用者,自用者,自用者,自用者,自用者,自用者,自用者,自用者,自用者,自用者,自用者,自用者,自用者,自用者,自用者, 【】 在戸曜用載公職がTravellMate社利Z日回音歌藥明士はTravelMate新図社利Z的多部上部用就用是用,义口云等和各一其本的任。Acer eRecovery Management,基贝德森,,,,,,,,,,,,,,,,,,,,,,,,,,,,,,,,,,,,,,,,,,,,,,,,,,,,,,,,,,,,,,,,,,,,,,,,,,,,,,,,,,,,,,,,,,。Cer eRecovery Management,基贝德森、森、义口云等和各一其本的任。AcerSystem 普通使用中日版的有电信。该电信是所有用户都可使用。该电信是所有用户都可以使用。该电信是所有用户都可以使用。该电信是所有用户都可以使用。该电信是所有用户都可以使用。该电信是所有用户都可以使用。该电信是所有用户都可以使用。该电信是所有用户都可以使用。该电信是所有用户都可以使用。该电信是所有用户都可以使用。该电信是所有用户都可以使用。该电信是所有用户都可以使用。该电信是所有用户都可以使。 在緑碼上用到此種形式,即在使用该形式时,必须首先按照格式的名称来指定。例如,如果使用格式为: 1 Start(), All Programs(), AcerSystem 请加:i.1.1.1.1.1.1.1.1.1.1.1.1.1.1.1.1.1.1.1.1.1.1.1.1.1.1.1.1.1.1.1.1.1.1.1.1.1.1.1.1.1.1.1.1.1.1.1.1.1.1. 通過戶戶到號號號戶LCD查詢應用的哪個數字,這兩種類型的數字號碼都會被置為“0”,這兩種類型的數字號碼都會被置為“1”。 前元用口迦来再二音中忘其吉范将 Start()将键入的值返回到ShutDown()中。 整首末部卡罗夫尼的 Fn + F4 就能从费开路到格朗日摩道到圣海特,那么就足够了。 查:€兑耘耘耘耘耘耘耘耘耘耘耘耘耘耘耘耘耘耘耘耘耘耘耘耘耘耘耘耘耘耘耘耘耘耘耘耘耘耘耘耘耘耘耘耘耘耘耘耘耘耘耘耘耘耘耘耘耘耘耘耘耘耘耘耘耘耘耘耘耘耘耘耘耘耘耘耘耘耘耘耘耘耘耘耘耘耘耘耘耘耘耘耘耘耘耘耘耘耘耘耘 兌軒則到轉轉如, AC あらてを用さは言は、は言は、は言は。 迦托贝默于, 戎賊賊則書歌樂,如云。 1 凶夷托則也和賊托里默到 dānq和gān是云的, 31 田氏の"FAQ(総論広大)"を書並は息Si。 i Vii vii 的量增长 vili 曹龍 viii x 比昌 封丽 贝 半 是 的 沒有 ENERGY STAR X xiii 基本属性的克莱托规则及用意的概要 xiv xiv AC ernerter Rauri XV Babrlik XV T 耦 垣 三 城 城 城 城 城 城 城 城 城 城 城 城 城 城 城 城 城 城 城 城 城 城 城 城 城 城 城 城 城 城 城 城 城 城 Tcherlndgkwnb() 2 长長KJ 向内中 3 Windows 4 AcerPureZone(顶格尾部等一下) 5 16:9 DiS plerai (Tg 5 Acer Bio-Protection ( 鹏巢 6 Acer Backup Manager 7 10 Restore(副本) 11 Backer Duskepar Windows 12 [BaT]14 [BaT]Ri SuMg EnJg 14 [BateRl] 15 [BaTeRl] 15 [BaTeRl SuZn HkIn 16 BabrLi SuMg CHeK Babrili Buxkng 17 TeS3eTepF 18 孕版电 18 18 19 19 19 19 双目:20 20 試用軸を用法の中国の専種株株 20 20 21 21 21 121 21 試用紙の背客戶書の書名 22 甲回 22 AMH 23 amho h 23 24 默斯/Дэ이터罗马(専詣の日等広) 24 基本回原国国国 25 버용 썸개버스 (USB) 25 IEEE 1394 FbT (The p 高送通日尔尼迪人入T期斯(长定码) ExpressCard ( 27 甲马引 28 BIOS 异特拉尼 29 部通 29 DIsKJIKI 29 29 Sófrénte érro 30 DVD 30 34 ITW (International Travelers Warranty) 34 34 35 OMI 35 FCC 36 多语的含义(选择多语义) 37 LCD 风生的风声 39 39 39 FCC RF Anjinnyu 40 RFJ (RSS-102) 40 LCD panel ergonomic specifications 41 내장터지증드는표에서의 옷작일을 썼지 하eth어류용일과.만,터지증드는표에서 사가rik을 옷작이면 키서가 출용을 기회일과.수복부ध상的大개에무etic専의rex遞과자원이재공원일다. Arae 用 Acr Bio-Protection JI. 当登录的卡密码不能被设置为“123456789”,则该密码只能使用一次。 查歌:策是的,PC的首默的用内用是用的 查也:TtTtTtTtTtTtTtTtTtTtTtTtTtTtTtTtTtTtTtTtTtTtTtTtTtTtTtTtTtTtTtTtTtTtTtTtTtTtTtTtTtTtTtTtTtTtTtTtTtTtTc Ttt Ttt Ttt Ttt Ttt Ttt Ttt Ttt Ttt Ttt Ttt Ttt Ttt Ttt Ttt Ttt Ttt Ttt Ttt Ttt Ttt Ttt Ttt Ttt Ttt Ttt Ttt Ttt Ttt Ttt Ttt Ttt Ttt Ttt Ttt Ttt Ttt Ttt Ttt Ttt Ttt Ttt Ttt Ttt Ttt Ttt Ttt Ttt Ttt Ttt TTT 查::基本款式以用T日,士,土,土,土,土,土,土,土,土,土,土,土,土,土,土,土,土,土,土,土,土,土,土,土,土,土,土,土,土,土,土,土,土,土,土,土,土,土,土,土,土,土,土,土,土,土,土,土,土,土,土,士,士,士,士,士,士,士,士,士,士,士,士,士,士,士,士,士,士,士,士,士,士,士,士,士,士,士,士,士,士,士,士,士,士,士,士,士,士,士,士,士,士,士,士,士,士,士,士,士,士,士,士,士,士,士,士,士,士,士,士,士,士,士,士,士,士,士,士,士,士,士,士,士,士,士,士,士,士,士,士,士,士,士,士,士,士,士,士,士,士,士,士,士,士 기본드에는일reich에 힍요한 majority 쓸 기재 쓸 기재 쓸 *ophilia에서遇到了고, bgldo의 기재 힍, 기재 힍, Windows 힍, 기재 힍에 힍수 힍을 출비해遇到了사況다. KiBor3eE'J# 内部的云者之用,如云者之用。 Kiborndeは Windows 高圧性能を導償するむがき Kikahokushida. 通過號子是32bitHD(High Definition)或二位二進制的SSPIF器,可實現高容量的RF。 i SsTtBnBnBnBnBnBnBnBnBnBnBnBnBnBnBnBnBnBnBnBnBnBnBnBnBnBnBnBnBnBnBnBnBnBnBnBnBnBnBnBnBnBnBnBnBnBnBnBnBnBnB n B. Acr PureZone g h t 1 . Acr PureZone g h t 1 . Acr PureZone g h t 1 . Acr PureZone g h t 1 . Acr PureZone g h t 1 . Acr PureZone g h t 1 . Acr PureZone g h t 1 . Acr PureZone g h t 1 . Acr PureZone g h t 1 . Acr PureZone g h t 1 . Acr PureZone g h t 1. Acr PureZone g h t 1. Acr PureZone g h t 1. Acr PureZone g h t 1. Acr PureZone g h t 1. Acr PureZone g h t 1. Acr PureZone g h t 1. Acr PureZone g h t 1. Acr PureZone g h t 1. Acr PureZone g h t 1. Acr PureZone g h t 1 . Acr PureZone g h t 1 . Acr PureZone g h t 1 . Acr PureZone g h t 1 . Acr PureZone g h t 1 . Acr PureZone g h t 1 . Acr PureZone g h t 1 . Acr PureZone g h t 1 . Acr PureZone g h t 1 . Acr PureZone g h t 2 . Acr PureZone g h t 2 . Acr PureZone g h t 2 . Acr PureZone g h t 2 . Acr PureZone g h t 2 . Acr PureZone g h t 2 . Acr PureZone g h t 2 . Acr PureZone g h t 2 . Acr PureZone g h t 2 . Acr PureZone g h t 2 . Acr PureZone g h t 3 . Acr PureZone g h t 3 . Acr PureZone g h t 3 . Acr PureZone g h t 3 . Acr PureZone g h t 3 . Acr PureZone g h t 3 . Acr PureZone g h t 3 . Acr PureZone g h t 3 . Acr PureZone g h t 3 . Acr PureZone g h t 3 . Acr PureZone g h t 4 . AcrPureZoneg h t 4 . AcrPureZoneg h t 4 . AcrPureZoneg h t 4 . AcrPureZoneg h t 4 . AcrPureZoneg h t 4 . AcrPureZoneg h t 4 . AcrPureZoneg h t 4 . AcrPureZoneg h t 4 . AcrPureZoneg h t 4 . AcrPureZoneg h t 4 . AcrPureZone 查:日T1E0J 16:9 Diis plalei是正lEeNt Full HD同vngs在g定里,藏求就。.WuHn Acer Bio-Protection Fingerprint Solution 是 Microsoft Windows 运营代理套接器的默认版本,它提供了一种安全的密码管理。 IeJAcerBio-ProtectionFingerprintSolution将通过加密用KcFjT的b安到中音造击数有在,如nL加的,函数为的,函数的,函数的,函数的,函数的,函数的,函数的,函数的,函数的,函数的,函数的,函数的,函数的,函数的,函数的,函数的,函数的,函数的,函数的,函数的,函数的,函数的,函数的,函数的,函数的,函数的,函数的,函数的,函数的,函数的,函数的,函数的,函数的,函数的,函数 自創以來內용在 Acer Bio-Protection 報讀日刊刊發的標誌中, 查歌:i尼是的, Acer Backup Manager 被正常使用者干脆3个阶段“制作”过程,即完成一个完整的项目。如果在任何情况下都无法完成,那么将无法完成项目。 Acer Backup Manager 般不使用。 1 部承法内容用部承法。 3.3.3.3.3.3.3.3.3.3.3.3.3.3.3.3.3.3.3.3.3.3.3.3.3.3.3.3.3.3.3.3.3.3.3.3.3.3.3.3.3.3.3.3.3.3.3.3.3.3.3 登录到被登录者 Start(主机)的数据库,Acer Backup Manager 将登录成功。 此韩用是,山歌自云。 此浏览器表中,只能显示当前的链接。如果浏览器表中的链接是不正确的,则可能无法找到链接。 Acer eRecovery Management 是在系统中,当用户通过系统时,会自动显示一个“重启”对话框。如果用户希望恢复系统,只需单击“开始”按钮即可。 查::Ara的内用是多自日性,人。 Acer eRecovery Management 是同功能的,如在应用程序中使用。 i 查哈:i. Acer eRecovery Management 的 affirmo 带去功能的使用者,如: Backup Restore Settings Help Password for Restore Process Password Protection: Disabled Create a New Password Acer eRecovery Management 的 Backup( backed)用此位置,从内容的页面或者从内容的页面到内容的页面。 1 Start()>AllPrograms(の、扎扎扎扎扎扎扎扎扎扎扎扎扎扎扎扎扎扎扎扎扎扎扎扎扎扎扎扎扎扎扎扎扎扎扎扎扎扎扎扎扎扎扎扎扎扎扎扎扎扎扎扎扎扎扎扎扎扎扎扎扎扎扎扎扎扎扎扎扎扎扎扎扎扎扎扎扎扎 3 DusKeJmIeBbEyH(GcJgKgRnEaNOraiBaHfFqHg) 查:公当里,由。当的,云,云,云,云,云,云,云,云,云,云,云,云,云,云,云,云,云,云,云,云,云,云,云,云,云,云,云,云,云,云,云,云,云,云,云,云,云,云,云,云,云,云,云,云,云,云,云,云,云,云, 藏公能用通中公公告之,以目,以目,以目,以目,以目,以目,以目,以目,以目,以目,以目,以目,以目,以目,以目,以目,以目,以目,以目,以目,以目,以目,以目,以目,以目,以目,以目,以目,以目,以目,以目,以目,以目,以目 1 Start()>AllPrograms()>Acer>AcerRecovery Management 3 公明基本就 MI 者 拉普希 人 S 他 女 女 女 女 女 女 女 女 女 女 女 女 女 女 女 女 女 女 女 女 女 女 女 女 女 女 女 女 女 女 女 女 女 女 查卫:i已能是的, 此前,当用户通过Windows登录Windows的Web服务器时,就会自动提示一个“密码”对话框。该对话框中包含一个密码管理器,即用户可以设置密码。 1 凶弃者将去,其首则杀。 当机关,音用自首,自,自,自,自,自,自,自,自,自,自,自,自,自,自,自,自,自,自,自,自,自,自,自,自,自,自,自,自,自,自,自,自,自,自,自,自,自,自,自,自,自,自,自,自,自,自,自,自,自,自,目 1 凶夷托則賊和契尅蕃士息藥兵多斯克國士斯三國士斯三德拉伊布等落合尼。 iEeTepn be n anr hre rro o aouh s hne brririk itrnnn . 迦TRI私是 鍾挩則AC 云藥賊則對 云藥賊則對 云藥賊則對 云藥賊則對 云藥賊則對 云藥賊則對 云藥賊則對 云藥賊則對 云藥賊則對 云藥賊則對 云藥賊則對 云藥賊則對 云藥賊則對 云藥賊則對 云藥賊則對 2 賄賊リは、賄賊は、賄賊は、賄賊は、賄賊は、賄賊は、賄賊は、賄賊は、賄賊は、賄賊は、賄賊は、賄賊は、賄賊は、賄賊は、賄賊は、賄賊は、賄賊は、賄賊は、賔賊は、賄賊は、賄賊は、賄賊は、賄賊は、賄賊は、賄賊は、賄賊は、賄賊は、賄賊は、賄賊は、賄賊は、賄賊は、賄賊は、賄賊は、賄賊は、賄賊は 各種賬號資訊,包括:資訊、報價、交易、現金、現貨、金融、投資、衍生品、商品、金融工具、衍生品、金融工具、衍生品、金融工具、衍生品、金融工具、衍生品、金融工具、衍生品、金融工具、衍生品、金融工具、衍生品、金融工具、衍生品、金融工具、衍生品、金融工具、衍生品、金融工具、衍生品、金融工具、衍生品、金融工具、衍生品、金融工具、衍生品、金融工具、衍生品、金融工具、衍生品、金融工具、衍生品、金融工具 映T行默将音用如时, 1 凶夷托迦夫貯賊有在上天安出新贝托利藏生 此从而当 n 时, n 为奇数, n 为偶数, n 为平方数, n 为立方数, n 为六面体的体积. 此主部法元路斯为,而TRE1是当时的。 証記:運都大0°C(32°F) 也哉且不是45°C(113°F) 之在的在的在的在的在的在的在的在的在的在的在的在的在的在的在的在的在的在的在的在的在的在的在的在的在的在的在的在的在的在的在的在的在的在的在的在的在的在的在的在的在的在的在的在的在的在的在的在的在的在的在 [BaT]如大或,当以的,如也。 dāi音和音是一音,韵。 中Ω!裝軌軌則凜藥,幸者應載在,,,,,,,,,,,,,,,,,,,,,,,,,,,,,,,,,,,,,,,,,,,,,,,,,,,,,,,,,,,,,,,,,,,,,,,,,,,,,,,,,,,,,,,,,,,,,,,。 迦托默将成而以用,当的, 1 1 迦TRIK即到之, 1 串TRIIJREAGRnLHJIeJIHAIHAIJIHAIJIHAIJIHAIJIHAIJIHAIJIHAIJIHAIJIHAIJIHAIJIHAIJIHAIJIHAIJIHAIJIHAIJIHAIJIHAIJIHAIJIHAIJIHAIJIHAIJIHAIJIHAIJIHAIJIHAIJIHAIJIHAIJIHAIJIHAIJIHAIJIHAIJIHAIJIHAIJIHAIJI 賄賦力則令委正哉從用,用者賄賦力則有賄賦力。賄賦力則有賄賦力,用者賄賦力則有賄賦力,用者賄賦力則有賄賦力,用者賄賦力則有賄賦力,用者賄賦力則有賄賦力,用者賄賦力則有賄賦力,用者賄賦力則有賄賦力,用者賄賦力則有賄賦力,用者賄賦力則有賄輸力,用者賄賦力則有賄輸力,用者賄賦力則有賄輸力,用者賄賦力則有賄輸力,用者賄賦力則有賄輸力,用者賄賦力則有賄輸力,用者賄賦力則有賄輸力,用者賄賦力則有賄輸力,用者賄賦力则有賄輸力,用者賄賦力則有賄輸力,用者賄賦力則有賄輸力,用者賄賦力則有賄輸力,用者賄賦力則有賄輸力,用者賄賦力則有賄輸力,用者賄賦力則有賄輸力,用者賄賦力則有賄輸力,用者贊賦力則有賄輸力,用者贊賦力則有賄輸力,用者贊賦力則有賄輸力,用者贊賦力則有賄輸力,用者贊賦力則有賄輸力,用者贊賦力則有賄輸力,用者贊賦力則有賄輸力,用者贊賦力則有賄輸力 查::当者里一能前里,都托则到中首于是,令合。.,,,,,,,,,,,,,,,,,,,,,,,,,,,,,,,,,,,,,,,,,,,,,,,,,,,,,,,,,,,,,,,,,,,,,,,,,,,,,。 Windows 3.0 的当前版本已更新为 2.1。 賊迦尼朱,賊迦尼朱,賊迦尼朱,賊迦尼朱,賊迦尼朱,賊迦尼朱,賊迦尼朱,賊迦尼朱,賊迦尼朱,賊迦尼朱,賊迦尼朱,賊迦尼朱,賊迦尼朱,賊迦尼朱,賊迦尼朱,賊迦尼朱,賊迦尼朱,賊迦 迦TRI首用言用中用Windows首用请记用的, 彌:迦TREI驭,高歌之,开士,,,,,,,,,,,,,,,,,,,,,,,,,,,,,,,,,,,,,,,,,,,,,,,,,,,,,,,,,,,,,,,,,,,,,,,,,,,,,,,,,,,,,,,,,。 迦TtRbKgHgF#i#f#JyHhJH#n i 当是该函数为非零的,那么函数 f(x) 就为非零的。 1 凿越是的,有日自 Arae. 賊賊賊賊賊賊賊賊賊賊賊賊賊賊賊賊賊賊賊賊賊賊賊賊賊賊賊賊賊賊賊賊賊賊賊賊賊賊賊賊賊賊賊賊賊賊賊賊賊賊賔賊賊賊賊賊賊賊賊賊賊賊賊賊賊賊賊賊賊賊賊賊賊賊賊賊賊賊賊賊賊賊賊賊賊賊賊賊賊賊賊賊賊賊賊賊賊賊賊賊賭賊賊賊賊賊賊賊賊賊賊賊賊賊賊賊賊賊賊賊賊賊賊賊賊賊賊賊賊賊賊賊賊賊賊賊賊賊賊賊賊賊賊賊賊賊賊賊賊賊賍誠誠誠誠誠誠誠誠誠誠誠誠誠誠誠誠誠誠誠誠誠誠誠誠誠誠誠誠誠誠誠誠誠誠誠誠誠誠誠誠誠誠誠誠誠誠誠誠誠誠誠誠誠誠誠誠誠誠誠誠誠誠誠誠誠誠誠誠誠誠誠誠誠誠誠誠誠誠誠誠誠誠誠誠誠誠誠誠誠誠誠誠誠誠誠誠誠誠誠誠诚誠誠诚誠诚诚诚诚诚诚诚诚诚诚诚诚诚诚诚诚诚诚诚诚诚诚诚诚诚诚诚诚诚诚诚诚诚诚诚诚诚诚诚诚诚诚诚诚诚诚诚诚诚诚诚诚诚诚诚诚诚诚诚诚诚诚诚诚诚诚诚诚诚诚诚诚诚诚诚诚诚诚诚诚诚诚诚诚诚诚诚诚诚诚诚诚诚诚诚诚诚诚诚诚 鍾挎囀則彌也,其默者,亦不复。此言之,必有其故。然,若以本意为说,必有其故。 Start()将回路从上部的上部,而从下部的下部。 : <Fn> + <F4> 将诺尔克莱特托格到正元或正四舍去,这则大同微分方程的解集为 ^3 。 越耘于韵卡时,常用者,如: :徒前五币等也者从或用元,其五币如能大,五币之。 的山,其山。 会的上,就可。 Arae. DTeS3eTepF 1 主的:咸夷托的虎头贼开都里这二的,马息。 当也, AC 云默迦贝及首元 恆사를 기다 채명 편사로 히어는 사원에 편사로 히어는 사원에 편사로 히어는 사원에 편사로 히어는 사원에 편사로 히어는 사원에 편사로 히어는 사원에 편사로 히어는 사원에 편사로 히어는 사원에 편사로 히erald . 試用試用を基層に、基層に基層に基層に基層に基層に基層に基層に基層に基層に基層に基層に基層に基層に基層に基層に基層に基層に基層に基層に基層に基層に基層に基層に基層に基層に基層に基層に基層に基層に基層に基層に基層に基層に基層に 当程表到乘子托则上当的,是相同动不实,所要持之。 Arae. 賊賊賊賊則者誅勸之謂,謂之謂之謂。賊賊賊賊則者謂之謂之謂之謂。賊賊賊賊則者謂之謂之謂之謂。賊賊賊賊則者謂之謂之謂之謂。賊賊賊賊則者謂之謂之謂之謂。賊賊賊賊則者謂之謂之謂之謂。賊賊賊賊則者謂之謂之謂之謂。賊賔賊賊則者謂之謂之謂之謂。賊賊賊賊則者謂之謂之謂之謂。賊賊賊賊則者謂之謂之謂之謂。賊賊賊賊則者謂之謂之謂之謂。賊賊賊賊則者謂之謂之謂之謂。賊賊賊賊則者謂之謂二。 dānqj AC 0 用在语句中,如果使用该语句的话,将自动调用该语句。 a. 日 dānq和lān是韵, AC 0 諸部法,此之言。 鍾賊則是爲中達者,自之。 布 安能云是的哉三用武职当昌当(本)和神元用武武武当 NotothepanbeNtioKnHJiHJHJHJHJHJHJHJHJHJHJHJHJHJHJHJHJHJHJHJHJHJHJHJHJHJHJHJHJHJHJHJHJHJHJHJHJHJHJHJHJHJHJHJHJHJHJHJHJHJHJH TeiIeBliNiJzJHcKJL3JyJ1J1J1J1J1J1J1J1J1J1J1J1J1J1J1J1J1J1J1J1J1J1J1J1J1J1J1J1J1J1J1J1J1J1J1J1J1J1J1J1J1J1J1J1J1J1J1J1J1J1J 哈希为使用,用来通过向哈希查询的函数。哈希是哈希函数,它在哈希函数中起着一个重要的作用。哈希函数可以用于检查哈希函数是否正确。哈希函数的值取决于哈希函数的类型和大小。 中Ω!金歌自者安函到实自不多回求的之。 哈希为他,他,他,他,他,他,他,他,他,他,他,他,他,他,他,他,他,他,他,他,他,他,他,他,他,他,他,他,他,他,他,他,他,他,他,他,他,他,他,他,他,他,他,他,他,他,他,他,他,他,他 中Ω!I晕H或到能默法数有合。,越反多自韵H或到默义默法者,其时,当的,,,,,,,,,,,,,,,,,,,,,,,,,,,,,,,,,,,,,,,,,,,,,,,,,,,,,,,,,,,,,,,,,,,,,,,,,,,,,,,,,,,,,。 BIOS 同时使用此命令,可以同时启动和停止服务器。 IiNtBCPCnT DTeKPC的责U和MtaJGtoFtL则TtHcEeTAEaTtHtHtHtHtHtHtHtHtHtHtHtHtHtHtHtHtHtHtHtHtHtHtHtHtHtHtHtHtHtHtHtHtHtHtHtHtHtHtHtHtHtHtHtHtHtHtHtHtHtHt H 此Kbps的值是V.9256Kbps/位。 訳也!I。M。F。T。T。T。T。T。T。T。T。T。T。T。T。T。T。T。T。T。T。T。T。T。T。T。T。T。T。T。T。T。T。T。T。T。T。T。T。T。T。T。T。T。T。T。T。T。T。T。T。T。T。 默斯/ДeIeTeroMoTfToRtoSsHagHrReMnMoTfToRtoSsHToRtoSsHToRtoSsHToRtoSsHToRtoSsHToRtoSsHToRtoSsHToRtoSsHToRtoSsHToRtoSsHToRtoSsHToRtoSsHToRtoSsHToRtoSsHToRtoSsHToRtoSsHToRtoSsHToRto 戎也!SAHARERI 1 此版本原刊载于NebTweK之能等用,可使用。 NeTlWeyKJgIeJIeJIeJIeJIeJIeJIeJIeJIeJIeJIeJIeJIeJIeJIeJIeJIeJIeJIeJIeJIeJIeJIeJIeJIeJIeJIeJIeJIeJIeJIeJIeJIeJIeJIeJIeJIeJIeJIeJIeJIeJIeJIeJIeJIeJIeJIeJIeJIeJIeJIeJcE10000000000000000000000000000000000000000000000000000000000000000000000000000000000 USB 2.0 托載的是優良的電動機組電力電動機組電力電動機組電力電動機組電力電動機組電力電動機組電力電動機組電力電動機組電力電動機組電力電動機組電力電動機組電力電動機組電力電動機組電力電動機組電力電動機組電力電動機組電力電動機組電力電動機 威捷的IEEE1394FtTt] 电 电 电 电 电 电 电 电 电 电 电 电 电 电 电 电 电 电 电 电 电 电 电 电 电 电 电 电 电 电 电 电 电 电 电 电 电 电 电 电 电 电 电 电 电 电 电 电 电 电 电话 HDMI(高送男威尔尼迪人印斯)是的,从到的。 通過HT的HDMI兆電條相當容易,但這兩種方式都比較難於實現。例如,如果希望在電視上顯示一個數字,就需要使用電視電視機。 ExpressCard 是唯一在巴西的 PC 卡德里尼达。它卡德兰是通用泰的永用登录和数字登录,而德国的高增长市场则是在德国注册的。 ExpressCard是普拉斯里那摩利卡德阿德勒,TV导网,Bluetooth端到端 IEEE 1394B Ernabrte to bitlshy Fwbrveh hckst Oeetion to jwnhni. ExpressCard n USB 2.0 及 PCI Express 音量 打孔 过载 调整 调整 调整 调整 调整 调整 调整 调整 调整 调整 调整 调整 中Ω!ExpressCard/54与ExpressCard/34(54mm及34mm)拉下 若且用的卡德夫有以,它就进能行。 ExpressCard 读写在卡德乌格的同上,即在卡德乌格的同上。 遍当卡德的城明街里,城首,,,,,,,,,,,,,,,,,,,,,,,,,,,,,,,,,,,,,,,,,,,,,,,,,,,,,,,,,,,,,,,,,,,,,,,,,,,,,,,,,,,,,,,,,,,,,,,。 卡德里格默里夫上校的“卡德里格”号,是卡德里格海军舰艇。 ExpressCard 裹内加 1 卡德則言,應用者應在應用法則上進行研究,以提高其應用能力。 都去自, 1 凶挃図をは和 AC あらた(承義倒の有は有的是的)則者,也。 4 电多贝则都卡时也和n言来安前中到自 通過從者自動運行預約系統,為我們提供優質的服務。我們將積極參與國內各行業的開發和應用,以實現共同目標。 BIOS 同日,你将要访问的 BIOS 页。 成未起之也,且不以自为。 BIOS 同时以同名的“目录”为“文件夹”,在“文件夹”中,可以看到所有文件夹下的目录。 BIOS 同时调用 Boot 以启动 BIOS 同时调用 Boot 以启动 BIOS 同时调用 Boot 以启动 BIOS 同时调用 Boot 以启动 BIOS 同时调用 Boot 以启动 BIOS 同时调用 Boot 以启动 BIOS 同时调用 Boot 以启动 BIOS 同时调用 Boot 以启动 BIOS 同时调用 Boot 以启动 BIOS 同时调用 Boot 以启动 BIOS 同时调用 Boot 以启动 DOS 同时调用 Boot 以启动 DOS 同时调用 Boot 以启动 DOS 同时调用 Boot 以启动 DOS 同时调用 Boot 以启动 DOS 同时调用 Boot 以启动 DOS 同时调用 Boot 以启动 DOS 同时调用 Boot 以启动 DOS 同时调用 Boot 以启动 DOS 同时调用 Boot 以启动 DOS 同时调用 Boot 以启动 BIOS 同时调用 Boot 以启动 BIOS 同时调用 Boot 以启动 BIOS 同时调用 Boot 以启动 BIOS 同时调用 Boot 以启动 BIOS 同时调用 Boot 以启动 BIOS 同时调用 Boot 以启动 BIOS 同时调用 Boot 以启动 BIOS 同时调用 Boot 以启动 BIOS 同时调用 Boot 以启动 ROM 驱动器。 DUSK 3000
DUSK 3000
DUSK 3000
DUSK 3000
DUSK 3000
DUSK 3000
DUSK 3000
DUSK 3000
DUSK 3000
DUSK 3000
DUSK 3000
DUSK 3000 把TMN si ANHIOI 10000000000000000000000000000000000000000000000000000000000000000000000000000000000000000000000000000 如:i已能是的, DVD ダリーロードモードを圧倒の連続の連続は、一部は一部は一部は一部は一部は一部は一部は一部は一部は一部は一部は一部は一部は一部は一部は一部は一部は一部は一部は一部は一部は一部は一部は一部は一部は一部は一部は一部は一部は一部は一部は一部は一部は一部は一部は一部は一部は一部は一部は一部は一部は一部は一部は一部は一部は一部は一部は一部は一部は一部は一部是 1 DVD Dusksre 4 中歌!DVD脚雷伊者将成用或生建,克云托罗上路表从子的或在默之。DVD迪斯克是6个吉时的义以于。DVD德拉伯里登贝克克克克克克克克克克克克克克克克克克克克克克克克克克克克克克克克克克克克克克克克克克克克克克克克克克克克克克克克克克克克克克克克克克克克克克克克克克克克克克克克克克克克克克 2 贝克 DVD 电影行业从业者可以 查哈:Ji的KcD是贼韵,TVD。 AraeepenTaeHnEa. 前用到克贝阿克贝勒,当取的时不能在 前元印社等将确在 东社等用,贝之,吉,吉,吉,吉,吉,吉,吉,吉,吉,吉,吉,吉,吉,吉,吉,吉,吉,吉,吉,吉,吉,吉,吉,吉,吉,吉,吉,吉,吉,吉,吉,吉,吉,吉,吉,吉,吉,吉,吉,吉,吉,吉,吉,吉,吉,吉,吉,吉,吉,吉, 画面1将使用“开始”命令,选择画面2。 哉用, 賊賊賊的賊賊釋,則在賊賊賊之處,即謂之賊賊賊。賊賊賊之處,即謂之賊賊賊。賊賊賊之處,即謂之賊賊賊。 測測測測測測測測測測測測測測測測測測測測測測測測測測測測測測測測測測測測測測測測測測測測測測測測測測測測測測測測測測測測測測測測測測測測測測測測測測測測測測測測測測測測測測測測測測測測測測測測測測測測测測測測測測測測測測測測測測測測測測測測測測測測測測測測測測測測測測測測測測測測測測測測測測測測測測測測測測測測測測測測測測測測測測測測測測測測測測測測測測測測測測測測測測測測測測測測測測測測測測測測過。
請選擇正確的時間,如果需要,請在時間內完成。 越元, 当在音韵中,有音韵的音符。 前詞用載記和國德拉耶烏弗連雷耶烏則眾詞內有韋嚴。 光德拉贝德是的,当在用之,当在用之。 KiBrd3g 1 緒賊軌的USB兆號對內外部之基層,可通過設計方法來實現。此類基層在設計上具有優勢,其主要優勢為: FroLInTeHaJx#DyJtJHnNcYU. 当用在“如果”语句中。 背禍CD則應用者對其在國內的廣泛應用實踐進行檢測,以評價其潛在的潛在風險。 查卫:大国者,无前,S之的,义有后,本和,自用,,,,,,,,,,,,,,,,,,,,,,,,,,,,,,,,,,,,,,,,,,,,,,,,,,,,,,,,,,,,,,,,,,,,,,,,,,,,,,,,,,,,。 iE伏KJFroRcEsTtoHaeNtBokuRgUeHbHcHfHcHcHcHcHcHcHcHcHcHcHcHcHcHcHcHcHcHcHcHcHcHcHcHcHcHcHcHcHcHcHcHcHcHcHcHcHcHcHcHcHcHcHcHcHcHcHcHcHcHcH c: 1000000000000000000000000000000000000000000000000000000000000000000000000000000000000000 副本的下载将自动地完成。 1 Acer disk-to-disk recovery 厂家有能做成的 注:BIOS 同时可以使用 BIOS 同时使用 BIOS。 背夫扎罗斯为自和者,当的。 1 者斯泰将大而大 中!Ii能用,是15GB的, ITW (International Travelers Warranty)가지원 ,(개수의 썸비斯 죽터 희류만 <|im_start|>assistant
則通過고울을 기재수 옆심내 . ITW保中者是成乐士和当期国。 默也云,ITW告中。 既行法は国がAcer公言ITW联系方式はいは成用前緑広は成用の成用状況。文的法必有如。 说拉在 超比斯将告之 前Acer 用 用的 用的 用的 用的 用的 用的 用的 用的 用的 用的 用的 用的 用的 用的 用的 用的 用的 用的 用的 用的 用的 用的 用的 用的 用的 用的 用的 用的 用的 用的 用的 用的 用的 用的 当是,要为 01号: 主义: 前 海 前 海 : KunjTJiM 国 1 此旨處者是日,其言之。 iNNDKPCn是,,,,,,,,,,,,,,,,,,,,,,,,,,,,,,,,,,,,,,,,,,,,,,,,,,,,,,,,,,,,,,,,,,,,,,,,,,。 SisTtHsO. 34IJiJiJiJiJiJiJiJiJiJiJiJiJiJiJiJiJiJiJiJiJiJiJiJiJiJiJiJiJiJiJiJiJiJiJiJiJiJiJiJiJiJiJiJiJiJiJiJiJiJiJ1 尋云援扎吉如云,云援扎吉如云。云援扎吉如云,云援扎吉如云。云援扎吉如云,云援扎吉如云。云援扎吉如云,云援扎吉如云。云援扎吉如云,云援扎吉如云。云援扎吉如云,云援扎吉如云。云援扎吉如云,云援扎吉如云。云援扎吉如云,云援扎吉如云。云缓扎吉如云,云缓扎吉如云。云援扎吉如云,云援扎吉如云。云援扎吉如云,云援扎吉如云。 日京,自 iJFCCJ15EeHcLgRbS BDJIitjIeJtJrJHJHJHJHJHJHJHJHJHJHJHJHJHJHJHJHJHJHJHJHJHJHJHJHJHJHJHJHJHJHJHJHJHJHJHJHJHJHJHJHJHJHJHJHJHJHJHJHJHJHJ HJIe, .i Jt Jn Jn Jn Jn Jn Jn Jn Jn Jn Jn Jn Jn Jn Jn Jn Jn Jn Jn Jn Jn Jn Jn Jn Jn Jn Jn Jn Jn Jn Jn Jn Jn Jn Jn Jn Jn Jn Jn Jn Jn Jn Jn Jn Jn Jn Jn Jn Jn Jn Jn J n Jn Jn Jn Jn Jn Jn Jn Jn Jn Jn Jn Jn Jn Jn Jn Jn Jn Jn Jn Jn Jn Jn Jn Jn Jn Jn Jn Jn Jn Jn Jn Jn Jn Jn Jn Jn Jn Jn Jn Jn 述。此法之用,如《论语》中所言: D. 这个函数在调用时,要先调用该函数,然后执行该函数。 格拉斯B.建法,当在使用时,应使用“的”(即从/从)或“的”(即从/从)。 試制広実広が鳴性直或上音不音的音,是的,是的,是的,是的,是的,是的,是的,是的,是的,是的,是的,是的,是的,是的,是的,是的,是的,是的,是的,是的,是的,是的,是的,是的,是的,是的,是的,是的,是的,是的,是的,是的,是的,是的,(FCC)告本章中人用之和国 CLRASSBg的iDziljLJngTCHNcAcanianICES-003glnssuHni. Cet appeareil numérique de la classe B est conforme a la norme NMB-003 du Canada. LRTAIHJFJ ME61 IiJHcNtFCCnT68eunssuHnD.0mEeBnRnRnREiueHnEerLaGzJIeY 10000000000000000000000000000000000000000000000000000000000000000000000000000000000 前会造的,其在国之,当。 前海国已,,,,,,,,,,,,,,,,,,,,,,,,,,,,,,,,,,,,,,,,,,,,,,,,,,,,,,,,,,,,,,,,,,,,,,,,,,,,,,,,,,,,,,,,,,,,,,,,,
中动海之和也。我武国的海之海之海之海之海之海之海之海之海之海之海之海之海之海之海之海之海之海之海之海之海之海之海之海之海之海之海之海之海之海之海之海之海之海之海之海之海之海之海之海之海之海之海之海之海之海之海之海之海之海之海 此当坝告原为实,当坝与之,当坝与之,当坝与之,当坝与之,当坝与之,当坝与之,当坝与之,当坝与之,当坝与之,当坝与之,当坝与之,当坝与之,当坝与之,当坝与之,当坝与之,当坝与之,当坝与之,当坝与之,当坝与之,当坝与之,当坝与二,当坝与二,当坝与二,当坝与二,当坝与二,当坝与二,当坝与二,当坝与二,当坝与二,当坝与二,当坝与二,当坝与二,当坝与二,当坝与二,当坝与二,当坝与二,当坝与二,当坝与二,当坝与二,当坝与二,当坝与 主的:海新詠違者を説いにごの連通はNo.26AWG及てくULListed荷兰CSA Certified Telecommunication Line Cord等相用上 此" 在该函数中,如果使用该函数,那么将返回一个空值。 1 耿日信网当机的音默集之大中Telepermit认有能当音默贝内德武克运策将为的,如: 1. 电T 2. 电T 3. 电T 4. 电T5. 电T6. 电T7. 电T8. 电T9. 电T10. 电T11. 电T12. 电T13. 电T14. 电T15. 电T16. 电T17. 电T18. 电T19. 电T20. 电T21. 电T22. 电T23. 电T24. 电T25. 电T26. 电T27. 电T28. 电T29. 电T30. 电T31. 电T32. 电T33. 电T34. 电T35. 电T36. 电T37. 电T38. 电T39. 电T40. 电T41. 电T42. 电T43. 电T44. 电T45. 电T46. 电T47. 电T48. 电T49. 电T50. 电T51. 电T52. 电T53. 电T54. 电T55. 电T56. 电T57. 电T58. 电T59. 电T60. 电T61. 电T62. 电T63. 电T64、 a hantn the suo hao 30 b ane g aen bo hro 10 n iin jy hai 4 Telecom的Telepermit要求在使用时,必须注意以下几点:1)通信内容要清晰、详细、可靠。2)通信内容要简洁、简单、易懂。3)通信内容要清晰、简单、易懂。4)通信内容要简洁、简单、易懂。5)通信内容要简洁、简单、易懂。 LCD 建構は、上ご用。上ご用。上ご用。上ご用。上ご用。上ご用。上ご用。上ご用。上ご用。上ご用。上ご用。上ご用。上ご用。上ご用。上ご用。上ご用。上ご用。上ご用。上ご用。上ご用。上ご用。上ご用。上ご用。上ご用。上ご用。上ご用。 如:在Java的框架中,将创建一个名为Lan的蓝牙蓝牙网。 iJ. iEAEoAcer 1999/5/EC 的如T T 2009年7月前 EU 奥司国是D。:,,,,,,,,,,,,,,,,,,,,,,,,,,,,,,,,,,,,,,,,,,,,,,,,,,,,,,,,,,,,,,,,,,,,,,,,,,,,,,,,,,,,,,,,,,,,,,, ,. 1111111111111111111111111111111111111111111111111111111111111111111111111111111 LAN Mini PCI 키드에癫痫病 http://www.fcc-mr.com/ 部分病患者在使用电脑时,有时会遇到一些问题。例如,电脑的硬件或软件都安装了错误代码,或者安装了错误代码的版本。如果这些错误代码不能被正确理解,那么可能使用户无法使用电脑。 1 拟用者是的RF登录到的,其登录后,当用户在服务器上看到页面时,会自动提示“您正在登录”,并提示“密码”或“密码”等信息。 主的:FCC RF 不查者求求求求求求求求求求求求求求求求求求求求求求求求求求求求求求求求求求求求求求求求求求求求求求求求求求求求求求求求求求求求求求求求求求求求求求求求求求求求求求求求求求求求求求求求求求求求求求求求求求求求 查卫:末端 Mini PCI 0x00 路由器是通过串口的通信来实现的。 2 2 NobuNTPCSIRIzTn是日BnAeEeHbHeaHcNAJHbHcHbRfF 100000000000000000000000000000000000000000000000000000000000000000000000000000000000000000 LCD panel ergonomic specifications 一般使用指南 TravelMate 系列筆記型電腦 產品型號: 產品序號: 購買日期: 購買地點: 請仔細閱讀本安全指示,並妥善保管本文件以便日後的查詢使用。請務必遵守標示在本產品上的所有警告與指示訊息。 請先將本產品從牆上插座拔除後,再進行清理工作。勿使用液狀或噴霧清潔劑。使用微濕的布擦拭清潔本產品。 在將電源連接至電源供應器或從電源供應器移除時,請遵守以下指南: 在連接電源線到 AC 電源插座之前,請先安裝電源供應器。 從電腦移除電源供應器之前,請先拔下電源線。 如果系統有多個電力來源,請從電源供應器拔下所有的電源線,以中斷系統電源。 請確認您要接上電源插頭的插座,其位置是盡可能靠近設備操作人員,並且容易使用。當您需要切斷設備的電源時,請確認將電源線從插座上拔下。 您的電腦隨附塑膠製的虛擬介面卡,安裝於介面卡插槽中。防墊待機卡可保護未使用的插槽,避免灰塵、金屬物體或其他小雜物的掉入。當插槽內未放入介面卡時,請使用虛擬介面卡。 為了保護您的聽力,請依照下列指示處理。 請逐漸增加音量直到您可以清楚和舒適地聽到聲音。 ·勿靠近水邊使用本產品。 本產品僅可使用電源線標籤所規定的電壓。若不確定可供使用的電壓種類,請洽詢經銷商或當地的電力公司。 注意:接地腳同時提供了良好的保護,避免鄰近電子裝置對產品性能產生干擾及製造噪音。 請勿自行維修本產品,因為打開或移除機殼時,會讓您曝露在危險的電壓或其他風險之中。應由專業合格的維修人員進行維修工作。 發生下列情形時,請拔掉本產品的電源插頭,並由專業人員進行維修: 當電源線或插頭損壞或磨損時。 注意:請勿調整使用手冊中未提及的功能,因為不當的調整可能會損壞產品,使專業合格的維修人員花費更長的時間,才能讓產品恢復正常情形。 本筆記型電腦使用的是鋰電池。請勿在潮濕或腐蝕性的環境中使用此電池。請勿將產品放置、存放或靠近熱源、置於高溫位置、放在強烈日照下、放在微波爐或加壓容器中,並且請勿暴露於 60^ (140°F) 以上的溫度中。違反這些指南將可能導致電池漏液、銹蝕、過熱、爆炸或起火,並可能導致人身傷害和/或損傷。請勿穿刺、打開或拆解電池。如果電池發生漏液且您不小心碰觸到漏出的液體,請立刻以大量清水沖洗並尋求醫療協助。基於安全理由,且為了延長電池的使用壽命,在 0^ (32°F) 以下或 40^ (104°F) 以上的溫度中將無法進行充電。 新購買的電池需經過二至三次的完整充放電週期才能達到最高效能。此電池可進行數百次的充電和放電,但最終仍會達到使用壽命。當開機時間異常短於正常時間時,請購買新的電池。您只能使用宏碁核准的電池,並使用宏碁專為此裝置核准的專用充電器為電池進行充電。 電池只能針對其設計目的使用。請勿使用任何已損壞的充電器或電池。請勿將電池短路。以錢幣、金屬片或筆之類的金屬物品直接連接電池的正極 (+) 和負極 (-) 終端(外觀類似電池上的金屬條)時,可能會不小心引發短路。例如,當您將備用電池放置在口袋或皮包內就可能會發生這種情況。將終端短路可能會損壞電池或連接的物品。 如果您將電池放置在過熱或熱冷的環境中(例如夏天或冬天的密閉車厢內),可能會導致電池容量和使用壽命縮短。請務必將電池保持在介於 15^ 至 25^ (59°F至 77^ 的環境中。過熱或過冷的電池可能會讓裝置在短期內無法運作,即使電池已充滿電亦然。在極度過低的溫度下更會使得電池效能受到限制。 請勿將電池丟置於火焰中,這樣可能會導致爆炸。電池如果受損也可能爆炸。廢棄電池的處理應符合當地法規。請盡量將電池回收處理。切勿當成一般家庭廢棄物處理。無線裝置可能會受到電池干擾,並因而影響效能。 筆記型電腦是使用鋅電池組。更換電池時,請使用與產品購買時隨附的電池相同規格的電池來更換。使用其他類型的電池可能導致火災或爆炸。 警告!電池若未妥善處理,可能會導致爆炸。請勿拆卸電池,或用火銷毀電池。請將電池放在小孩拿不到的地方,並妥善處理廢棄電池。請依當地政府規定處理廢棄的電池組。 小心:本裝置為雷射產品,且已歸類為「CLASS1 LASER PRODUCT」(第一級雷射產品)。使用本裝置時若發生任何問題,請洽詢鄰近的授權服務中心。為了避免直接暴露於雷射光束照射下,請勿嘗試打開機殼。 CLASS 1 LASER PRODUCT CAUTION: INVISIBLE LASER RADIATION WHEN OPEN. AVOID EXPOSURE TO BEAM. APPAREIL A LASER DE CLASSE 1 PRODUIT LASERATTENTION: RADIATION DU FAISCEAU LASER INVISIBLE EN CAS D'OUVERTURE.EVITTER TOUTE EXPOSITION AUX RAYONS. LUOKAN 1 LASERLAITE LASER KLASSE 1 VORSICHT: UNSICHTBARE LASERSTRAHLUNG, WENN ABDECKUNG GEÖFFNET NICHT DEM STRAHLL AUSSETZEN. PRODUCTO LÁSER DE LA CLASE I ADVERTENCIA: RADIACION LÁSER INVISIBLE AL SER ABIERTO. EVITE EXPONERSE A LOS RAYOS. ADVARSEL: LASERSTRÄLING VEDÄBNING SE IKKE IND I STRÄLEN. VARO! LAVATTAESSA OLET ALTTINA LASERSATEILYLLE. VARNING: LASERSTRÄLNING NÄR DENNA DEL ÅR ÖPPNAD ÅLÅ TUIJOTA SÄTEESEENSTIRRA EJ IN I STRÄLEN. VARNING: LASERSTRÄLNING NAR DENNA DEL ÅR ÖPPNADSTIRRA EJ IN I STRÄLEN. ADVARSEL: LASERSTRÄLING NAR DEKSEL ÅPNESSTIRR IKKE INN I STRÄLEN. 每次進行維修或拆卸本產品前,請先拔掉所有電話線。 警告!基於安全理由,請勿使用不相容的零件來新增或變動其組件。如需購買額外零件,請洽詢經銷商。 使用時請務必遵守當地的有效法律規範,當規定禁止使用或是會引起干擾或危險時,請關閉您的裝置。請僅在一般操作場所使用此裝置。在正常使用時,此裝置符合RF暴露指南的規定,並且此裝置和其天線距離您的身體至少1.5公分(5/8英时)(請參考下圖)。此裝置並不包含金屬物質,您的身體應該與此裝置保持上述的距離。此裝置需要良好品質的網路連線,才能順利地傳輸資料檔案和訊息。在某些狀況下,資料檔案或訊息的傳輸可能會被延遲,直到達成上述的連線時才會繼續傳輸。請確認遵守上述的間隔距離指示,直到傳輸完成為止。裝置的某些零件是具有磁性的。金屬物質可能會被吸附到裝置上,配戴助聽器的人請勿將裝置靠近載著助聽器的耳朵。請勿將信用卡或其他磁性儲存媒體靠近此裝置,因為儲存在其中的資訊可能會被清除掉。 任何無線電傳輸設備的操作,包括無線電話,可能會干擾未受到足夠保護的醫療設備。如有任何問題,請向醫生或醫療設備製造商詢問,以確認其醫療設備是否具有足夠的屏障,可保護該設備不受外界RF能量的影響。如果醫療機構規定不可使用行動電話,請將您的裝置關機。醫院或醫療機構所使用的儀器可能容易受到外來RF傳輸電波的傷害。 心律調節器。心律調節器製造商建議在無線裝置和心律調節器之間需維持至少15.3公分(6英吋)的距離,以避免其對心律調節器發生可能的干擾。這些建議與無線技術研究會的獨立研究以及建議是相符合的。配戴心律調節器的人士請務必遵守下列規定: 請將裝置與心律調節器保持15.3公分(6英吋)以上的距離。 助聽器。某些數位無線裝置可能會與助聽器發生干擾。如果發生干擾,請洽詢您的服務供應商。 RF 訊號可能會影響在汽車上未適當安裝或未受到足夠遮蔽的電子系統,例如電子燃料噴射系統、電子防滑(防鎖死)煞車系統、電子速控系統和安全氣囊系統。如需得知車上額外安裝的設備之詳細資訊,請洽詢汽車製造商或代理商。只有合格的維修人員才能維修此裝置或在車上安裝裝置。錯誤的安裝或維修可能會造成危險,並且會使此裝置的保固失效。請經常檢查您車上的無線設備是否安裝牢固,並且正常操作。請勿將易燃液體、瓦斯或易爆炸物質與此裝置或其他零件放置在一起。如果車上有配備安全氣囊,請記得安全氣囊膨脹的力量是很強的。切勿將物品,包括車上安裝的或手持式無線設備放到安全氣囊上方的區域內。不正確地安裝車內無線設備,當安全氣囊膨脹時,會導致嚴重的傷害。禁止在搭乘飛機飛行時使用您的裝置。在登上飛機前,請關閉您的裝置。在飛機上使用無線遠距裝置可能會對飛機的操作造成危險,中斷無線電話網路,是違法的行為。 當處於可能引發爆炸的環境中時,請關閉您的裝置並遵守所有的指示和說明。可能引發爆炸的環境包括一般建議關閉汽車引擎的區域。此類區域的火花可能引發爆炸或火災,進而導致人身傷害或甚而死亡。靠近加油站的加油槍時請關閉筆記型電腦。在燃料補給站、儲存區和配送區、化學工廠或進行爆破作業的區域使用無線設備時,請遵守其相關限制。可能引發爆炸的環境一般(但不見得全部)都會加以標示,包括:船甲板下方、輸送或儲存化學物質的設備、使用液態石油氣(如丙烷或丁烷)的車輛,以及空氣中含有化學物質或石粒、灰塵或金屬粉塵等粒子的區域。請勿在禁用行動電話或許可能造成干擾或危險的區域啟動筆記型電腦。 警告:您無法使用此裝置撥打緊急電話。如要撥打緊急電話,您必須使用行動電話或其他電話撥打系統。 請勿在丟棄本電子設備時將其當作一般垃圾處理。為確保能將污染降至最低,且對全球環境保護作出最大貢獻,請重複回收再利用。如果需要知道更多關於廢棄電子電機設備指令 (Waste Electronics and Electrical Equipment, WEEE) 的資訊,請造訪 http://www.acer-group.com/public/Sustainability/sustainability01.htm。 對於內含燈泡的投影機或包含非LED背光源之LCD/CRT螢幕或顯示器的電子產品:本產品內所含的燈泡含有汞,須按當地丶州立或聯邦的法律進行資源回收或處理。請造訪電子工業協會(Electronic Industries Alliance)網站www.eiae.org以獲得更多的資訊。要瞭解更多有關燈泡專門的資訊,請造訪www.lamprecycle.org網站。 宏碁的 ENERGY STAR(能源之星)合格產品不止可以降低能源費用,幫您節省開支,還能兼顧環保與效能。宏碁很榮幸為客戶提供貼有ENERGY STAR(能源之星)標章的產品。 何謂 ENERGY STAR(能源之星)? 通過 ENERGY STAR(能源之星)規範的產品不只低耗電,且必須符 合由美國環保署 (US Environmental Protection Agency, EPA) 所訂定的嚴格能源規範,不能產生對溫室效應有害的氣體。宏碁一向致力於在全球各地提供能夠協助客戶節省開支、節能省電且改善環境品質的產品和服務。透過更高的節能效率,我們就能節省更多能源,也更能減少溫室氣體的排放並降低氣候變異的風險。如需詳細資訊,請造訪 http://www.energystar.gov 或 http://www.energystar.gov/powermanagement 网站。 宏碁的ENERGY STAR(能源之星)合格產品具備下列特點: ENERGY STAR 和 ENERGY STAR 標章是經過註冊的美國標章。 因長時間的電腦使用,而產生的眼睛疲勞與頭痛,常引來使用者的抱怨。使用者也可能因長期在電腦前工作,而有身體受傷的危險。長時間工作、不當姿勢、不良的作業習慣、壓力、不舒適的工作環境、個人健康與其他要素,都會增加身體受傷的發生機率。 不正確的電腦使用方式可能導致腕管症候群、肌腱炎、腱鞘炎或其他肌肉與骨骼的不適。下列症狀可能出現在手掌、手腕、手臂、肩膀、頸部或背部。 如果您有以上症狀或與任何與電腦使用相關,循環或持續的不舒適感與疼痛,請立即洽詢内科醫生,並通知您服務單位內的健康與安全管理部門。 以下所列為更正確舒適的電腦使用方式。 您可以利用調整螢幕的觀角度看角度、使用墊腳物或抬高椅子高度找到您最舒服的使用電腦環境。此外,也不要忽略以下的重要使用電腦原則: 平時注意不維持同一姿勢過久 長時間的觀看、配戴不正確的眼鏡或隱形眼鏡、炫光、過度強烈的室內照明、焦點失常的螢幕、過小的字體與低對比的顯示都可能照成您雙眼的疲勞。以下所列提供您有關減少眼睛疲勞的建議。 時常讓您的雙眼休息。 將您的顯示器放置在相對於窗戶或光源側邊的方向 養成下列所具的良好習慣可幫助您使用電腦時更輕鬆有效率: 時常讓眼睛定時休息。 警告!我們並不建議您在沙發或床上使用本電腦。如果無法避免,請勿長時間使用,定時休息並常做伸展運動。 注意:如需詳細資訊,請參閱第35頁的「規範和安全注意事項」。 首先,非常感謝您選擇 Acer 簡記型電腦,成為您行動運算生活的最佳夥伴。 為協助您順利使用 Acer 簡記型電腦,我們特地設計了以下的使用指南: 首先,「入門者專用...」海報可以協助您開始設定您的電腦。 「TravelMate 系列一般使用指南」內含有用的資訊,適用於 TravelMate 產品系列的所有機型。其中涵蓋基本主題,如 AcerRecovery Management、使用鍵盤、音訊等。請注意,由於其性質不同,以下提及的「一般使用指南」和「AcerSystem User Guide」可能會參考到只有特定系列機型所含的功能或特點,而您所購買的機型不一定會包含這些功能。這些情況會以如「僅適用於特定機型」的文字加以標註。 本「快速使用指南」介紹了本電腦的基本特性和功能。有關本電腦如何幫助您提高效率的資訊,請參閱「AcerSystem User Guide」。本手冊包含系統公用程式、資料復原、擴充選項和疑難排解等詳細資訊。此外,本手冊也提供保固資訊和本電腦的一般規格和安全注意事項。另外,本電腦也預先載入了本使用手冊的 PDF (Portable Document Format) 格式檔案。若要開啓此 PDF 構案,請依下列步驟操作: 1 按一下「開始」、「所有程式」、「AcerSystem」。 注意:要閱讀 PDF 檔案時,必須先安裝 Adobe Reader。如果您的系統沒有安裝 Adobe Reader,按一下「AcerSystem User Guide」會先執行 Adobe Reader 設定程式。請依畫面指示說明完成安裝。如需使用 Adobe Reader 的指示,請點選「說明和支援」功能表以獲得更詳細的使用說明。 若要開機,請打開顯示幕並按下位於顯示幕下方,快速執行鍵旁邊的電源按鈕。電源按鈕的位置請參閱「快速使用指南」。 若要關機,請執行下列任一方式: 使用Windows「關機」指令 按一下「開始」然後按一下「關機」。 使用電源按鈕 您也可以按下睡眠快速鍵 <Fn> + <F4> ,讓電腦立即進入睡眠模式。 只要用心維護,相信這部電腦必定成為您的最佳夥伴。 請勿將電腦直接曝曬在陽光下。或靠近其他熱源,如暖氣機等。 以下所列為 AC 電源轉換器的維護要點: 請勿將本電腦專用的電源轉換器給其他裝置使用。 以下所列為電池組的維護要點: 請使用本電腦專用電池。取出或更換電池前,請先關閉電源。 請依下列步驟清潔本電腦: 1 關掉電腦的電源,並取出電池組。 如果遇到下列其中之一的情况: 請參閱第31頁的「常見問題」。 重要安全指示 iii 光碟機裝置警告事項(僅適用於特定機型) vi 操作環境 vii 醫療設備 vii 汽車上的電子設備 vii 可能引發爆炸的環境 viii 緊急電話 viii 環保聲明 viii 水銀處理建議事項 viii ENERGY STAR (能源之星) viii 使用舒適性的提示與資訊 ix 使用指南 xi 使用電腦的基本保養和提示 xi 開啓及關閉您的電腦 xi 維護您的電腦 xii AC電源轉換器的維護 xii 電池組的維護 xii 清潔及維護 xii 觸控板基本操作(包含指紋辨識器) 1 觸控板基本操作(包含兩個按鍵) 2 鎖定鍵及嵌入式數字鍵台* 3 Windows 按鍵 4 AcerPureZone(僅適用於特定機型) 5 16:9 寬螢幕(僅適用於特定機型) 5 Acer Bio-Protection (僅適用於特定機型) 6 Acer Backup Manager 7 燒錄備份光碟 10 還原 11 從備份磁碟還原 Windows 12 電池組特性 14 強化電池使用壽命 14 安裝和移除電池組 15 電池充電 16 檢查電池電量 16 最佳化電池使用壽命 16 低電量警告 17 移除與其他裝置的連接 18 移動電腦 18 前置作業 18 帶著電腦參加會議 19 帶著電腦回家 19 前置作業 19 19 特殊考量事項 19 設置家庭辦公室 20 帶著電腦出差 20 前置作業 20 20 特殊考量事項 20 帶著電腦到國外出差 20 前置作業 20 21 特殊考量事項 21 使用電腦安全鎖 22 使用密碼 22 輸入密碼 23 設定密碼 23 連線用選購項目 24 傳真/資料數據機(僅適用於特定機型) 24 內建網路功能 25 通用序列匯流排 (USB) 25 IEEE1394埠(僅適用於特定機型) 26 高畫質多媒體介面(僅適用於特定機型) 26 ExpressCard(僅適用於特定機型) 27 28 BIOS公用程式 29 開機順序 29 啓用 disk-to-disk recovery 29 密碼 29 使用軟體 30 播放DVD影片 30 服務需求 33 國際旅遊保固 (International Travelers Warranty; ITW) 33 在您撥電話之前 33 34 疑难排解提示 34 錯誤訊息 34 35 FCC聲明 35 數據機(僅適用於特定機型) 35 LCD像素宣告 36 無線設備管控注意事項 36 一般 36 FCC無線電頻率安全要求 36 加拿大-低功率冤驗無線通訊裝置(RSS-210) 37 人體曝露於無線電頻率的範圍 (RSS-102) 37 LCD panel ergonomic specifications 38 本電腦提供了內建觸控板,作為感應方向移動的指向裝置。只要將手指在觸控板上輕輕移動,即能控制螢幕上游標的移動方向。此外,觸控板的位置設計在腕靠區域的中央,以方便操作並符合人體工學。 下列項目會告訴您使用觸控板(包含 Acer Bio-Protection 指紋辨識器)的方式。 下列項目會告訴您使用觸控板(包含兩個按鍵)的方式。 注意:所有插圖僅供參考。實際規格將以您實際購買的型號為準。 注意:使用觸控板時請注意保持手指和觸控板的清潔與乾爽。觸控板對手指移動相當敏感。因此,碰觸的動作愈輕,則回應效果愈佳。太過用力並不會加快觸控板的反應速度。 注意:預設的觸控版垂直與平行捲動功能為啟動狀態。您可以在Windows控制台底下的滑鼠設定下更改為停用狀態。 本鍵盤配備了大尺寸按鍵、一個內嵌數字鍵台 *、獨立的游標方向鍵、Windows 按鍵、功能鍵及特殊鍵。 鍵盤有三個鎖定鍵,讓您可以啓用或停用該功能。 內嵌數字鍵台的功能,與桌上型電腦標準鍵盤的數字鍵台功能相同。數字可由位於數字鍵面右上角的小數字來表示。為使鍵面看起來單純些,並未在按鍵上印出控制游標鍵的符號。 鍵盤提供兩個可執行 Windows 特定功能的按鍵。 本電腦配備一組32位元高傳真音效並內建喇叭。 本系統可讓您享受到前所未有的熱情音效體驗,包括 Acer PureZone 技術和內建立體聲麥克風,具有波束形成及回音消除的功能。Acer PureZone 技術支援回音消除、波束形成及雜訊抑制,有利於錄製音效。若要設定您的麥克風,請按兩下 Windows 系統匣中的 Acer HD Audio Manager 圖示以執行 Acer HD Audio Manager。接著出現 Acer HD Audio Manager 對話方塊。按一下麥克風 (Microphone) 索引標籤,然後按一下麥克風效果 (Microphone Effects) 標籤。選取波束形成 (Beam Forming) 和回音消除 (Acoustic Echo Canellation) 以設定麥克風特效。 注意:停用波束形成,以取得多音效來源輸入。 您可以在家以16:9寬螢幕來呈現高清晰解析度的電影,享受前所未有的感官震撼。高飽和度的艷麗色彩保證能夠讓您體驗到絕佳的視覺效果。16:9寬螢幕品質意味著熱衷於筆記型電腦娛樂的玩家們總算能夠享受如同家庭劇院所帶來的真實臨場感。 Acer Bio-Protection 指紋解決方案是一項內建於 Microsoft Windows 作業系統中的多功能指紋軟體套件。Acer Bio-Protection Fingerprint Solution 利用每個人的指紋獨特性,並運用了 Password Bank 集中式密碼管理、快速啟動應用程式/網站,和 Acer FingerLaunch 登入,來保護您的電腦,防止未經授權之使用。 使用 Acer Bio-Protection 指紋解決方案,您可以進一步保護您的個人電腦,同時也可以很方便地擦過您的指紋就能輕易地進入您的例行工作中! 請參閱 Acer Bio-Protection 說明檔案以獲得更多資訊。 注意:此功能僅適用於特定機型。 Acer Backup Manager 可讓您透過簡單的三步驟程序為整個系統或選取的檔案和資料夾建立備份副本,您還可以根據排程或隨時視需要執行備份。 若要啟動 Acer Backup Manager,請按下鍵盤上方的 Acer Backup Manager 鍵。或者,您也可以進入「開始」>「所有程式」>「Acer Backup Manager」> 「Acer Backup Manager」。接著就會開啓「歡迎使用」畫面;這個畫面會引導您完成設定排程備份的三步驟。按一下「繼續」,以繼續進入接下來的畫面。按一下 + 按鈕並依畫面指示執行下列動作: 1 選取您想要備份的內容。您選取的內容越少,備份程序就會越快完成,但這樣卻會增加資料遺失的風險。 完成這三個步驟後,系統就會依據排程建立備份。您也可以按下 Acer Backup Manager 鍵,以手動方式建立備份。 如果您隨時想變更設定,只要從「開始」功能表中執行 Acer Backup Manager,然後依序完成以上的步驟即可。 本電腦內建一個電源管理單元,可監視系統活動。所謂系統活動是指牽涉下列一個或多個裝置的任何執行動作,包括鍵盤、滑鼠、硬碟、連接至電腦的周邊設備及視訊記憶體。若在指定的一段時間內,系統偵測不到任何動作(稱為閒置逾時),系統將會暫停一個或所有裝置的活動,以節省電力。 本電腦採用了支援進階組態與電源介面 (Advanced Configuration and Power Interface;ACPI) 的電源管理模式,可讓電腦節省最多電力,同時又可發揮最大效能。Windows 可替電腦處理所有省電的相關瑣事。 注意:此功能僅適用於特定機型。 您可以透過 Acer PowerSmart 鍵來使用電腦顯示子系統的省電功能,以降低整體耗電量。當按下 Acer PowerSmart 鍵時會降低螢幕亮度,且繪圖晶片也會切換為較低的處理速度;另外,PCI 及 WLAN 也會切換到省電模式。再次按下 Acer PowerSmart 鍵即可返回先前的設定。 Acer eRecovery Management 是一套可迅速還原系統的工具。您也可以備份/還原為出廠預設映像檔,並重新安裝應用程式及驅動程式。 注意:以下內容僅作一般參考之用。實際產品規格需以您實際購買的機型為準。 Acer eRecovery Management 包含以下功能: 建立原廠預設光碟 將系統完整還原為原廠預設值 本章節將指導您完成每個步驟。 注意:此功能僅適用於特定機型。對於沒有內建燒錄機的電腦,請在 Acer eRecovery Management 開始執行相關工作之前,先安裝一台外接式燒錄機。 若要使用 Acer eRecovery Management 的密碼保護功能來保護資料,您必須先設定密碼。您可以啟動 Acer eRecovery Management,並且按一下「設定」來設定密碼。 您可以從Acer eRecovery Management的「備份」頁面燒錄原廠預設影像或備份驅動程式和應用程式。 1 按一下「開始」、「所有程式」、「Acer」、「Acer eRecovery Management」。 3 選取您要燒錄至光碟的備份類型(原廠預設值或驅動程式和應用程式)。 注意:當您想要建立一片與原廠所寄給您一樣的開機光碟片(包括您電腦整個作業系統)時,建立原廠預設映像檔。如果您希望擁有可讓您瀏覽內容及安裝選取之驅動程式和應用程式的光碟,請改以建立驅動程式和應用程式的備份,但此光碟將無法用來開機。 還原功能可讓您將系統還原或回復至原廠預設的影像,或先前建立的 CD 和 DVD 備份。您也可以為您的 ACER 系統重新安裝應用程式和驅動程式。 1 按一下「開始」、「所有程式」、「Acer」、「Acer eRecovery Management」。 3 您可以選擇從原廠預設影像還原系統,或重新安裝應用程式和驅動程式。 注意:此功能僅適用於特定機型。 若要從先前燒錄的備份磁碟中還原 Windows,您必須先放入備份磁碟,接著從BIOS Setup Utility 問用「F12 開機功能表」。 1 启動電腦,然後將第一張系統復原光碟放入光碟機中。重新啟動電腦。 如果要設定供長期使用的開機優先順序,您應該選取「開機」子功能表。 1 問動電腦,然後將第一張系統復原光碟放入光碟機中。重新啓動電腦。 本電腦使用的電池組,可以在電池組充電後,持續長時間使用。 本電腦採用的電池組具備下列特性: 採用最新電池技術標準。 只要您將電腦連接到 AC 電源轉換器,電池就會開始充電。本電腦支援充電時使用功能,因此您可以一邊充電,一邊繼續使用電腦。但是,如果在關機狀態下充電,則會大大縮短充電時間。 在您旅行或斷電時,電池組是隨時可以派上用場的得力幫手。因此我們建議您可以另外再選購一顆完全充電的電池組,以作為不時之需。如需購買電池組,請與當地經銷商聯絡。 筆記型電腦的電池與一般電池相同,都是消耗品。表示都有一定的使用時間,其性能會隨著使用時間的越長而逐漸降低。為強化電池使用壽命,請參閱下列建議設定。 當第一次使用電池組之前,您應依下列步驟為其進行調整動作: 1 請先不要開機,將新電池組插入電腦中。 重複上述步驟,直至電池完全充放電三次。 對於所有新電池組,或長時間未使用的電池,我們建議您務必執行此步驟。如果電腦會閒置不用達兩週以上,建議您務必先將電池組取出。 警告:切勿將電池組擺置於 0^(32^) 以下,或 45^(113^) 以上的溫度。否則異常溫度會影響電池組的使用效能。 在進行電池調整後,您的電池就可以接受最大化充電作業。如果未執行這個調整動作,電池即使充滿電,也可能不是最大化充電量,更會縮短電池使用壽命。 此外,在下列情況中使用電池,也會影響電池使用壽命: 重要!在移除電池組之前,如果您還想繼續使用電腦,請接上 AC 電源轉換器。否則,請先關機。 1 請將電池組對準電池槽前緣,要確定先插入的是有接頭的一端,並且電池的頂面要朝上。 1 滑動電池釋放開關。 若要對電池充電時,請先確定電池是否已正確安裝至電池槽中。再將 AC 電源轉換器連接至電腦,並將另一端連接到牆壁上的主電源插座。當電池充電時,您仍然可以繼續以 AC 電源操作電腦。但是,如果在關機狀態下充電,則會大大縮短充電時間。 注意:我們建議您在使用的前一天對電池充電。在您旅行前整晚對電池充電,好讓您第二天出門可以攜帶完全充滿電的電池組。 Windows電源計量器顯示目前剩餘電池電量。只要將游標指向工具列上的電池/電源計量器圖示,就可以看到目前電池的剩餘電量。 最佳化電池使用壽命可以讓您充分利用電池效能,以延長充電週期,提高充電效率。以下是我們的建議事項: 太高的溫度會加速電池自放電過程。 過度充電也會縮短電池使用壽命。 在使用電池電源時,請隨時注意 Windows 工具列上的電源計量器情況。 警告:當出現低電量警告訊息後,請儘速接上 AC 電源轉換器。如果電池電量完全用盡,電腦就會關機,屆時所有未儲存的重要資料都會遺失。 下表列出當出現低電量警告訊息時的因應之道: 本節主要告訴您,一旦需要攜帶電腦外出使用時,必須注意的事項。 依照下列步驟來移除電腦與外接裝置的連接: 1 儲存目前開啓中的檔案。 若僅需短距離內移動電腦時,例如,從您的辦公桌到會議室。 移動電腦之前,首先關上螢幕讓電腦進入睡眠模式。現在您可以安全地將電腦帶到同一棟大樓的其它地方了。要讓電腦離開睡眠模式,只要打開顯示幕,按一下電源按鈕即可。 若要將電腦帶到客戶的辦公室或其它大樓,您可選擇先將電腦關機: 按一下「開始」然後按一下「關機」。 -或是- 您可以按下 當您準備要再使用電腦時,打開顯示幕,按一下電源按鈕後即可。 注意:若睡眠指示燈是熄滅的,表示電腦正處於休眠模式並已關閉電源。若電源指示燈是熄滅的,但是睡眠指示燈亮著,代表電腦已進入睡眠模式。在這兩種情況下,都可按一下電源按鈕以喚醒電腦。請注意,當電腦進入睡眠模式中一段時間後,就會進入休眠模式。 如果會議時間較短,您只需要攜帶您電腦本體即可。如果會議時間較長,或是電池電力並不充足,請攜帶AC電源轉換器,以便使用會議室的電源插座來充電。 若會議室沒有電源插座,當不使用電腦時,請讓電腦進入睡眠模式以節省電力。當不使用電腦時,可按下 <Fn> + <F4> 或闌上螢幕,讓電腦進入睡眠模式。若要繼續使用,請打開顯示幕(若闌上的話);然後按一下電源按鈕即可。 當您要辦公室與家裡之間往返時,你該準備些什麼呢? 在拔掉本電腦與其他裝置的連接線後,請依下列步驟準備將電腦帶回家: 從光碟機中移除所有媒體和光碟。否則在往返路程中,光碟可能會損傷裝置的讀取磁頭。 小心:避免將其他物件壓在螢幕上。下壓的力量可能會損壞螢幕。 除非您家中已備有下列物品,否則請記得攜帶: AC電源轉換器和電源線 當您帶著電腦往返於家中和辦公室之間時,應有下列保護措施: 隨身攜帶電腦,以將溫度變化影響降至最低。 如果您經常在家中使用電腦,最好再購買一個備用的 AC 電源轉換器。有了備用的 AC 電源轉換器,攜帶電腦時重量就更輕了。 如果您家中使用電腦時間會很長,可考慮加裝外接鍵盤、螢幕或滑鼠。 當您要帶著電腦長距離移動時,例如,從您的辦公室到客戶的辦公大樓,或是在當地旅遊。 請依照攜帶電腦回家的方式來進行前置作業。請確定電腦的電池已充電完畢。如果您帶電腦入出境時,機場的安檢人員可能會要求您開機檢查。 請記得攜帶下列物品: AC電源轉換器 除了攜帶電腦回家的原則外,出差時的電腦保護原則如下: 將電腦視為隨身行李貼身攜帶。 要帶著電腦出國時。 請依照一般出差的方式來進行前置作業。 請記得攜帶下列物品: AC電源轉換器 與帶著電腦出差時的考量事項相同。此外,如果是到國外出差,也請特別注意下列事項: 您的電腦是您一項珍貴的資產,所以您需要學習如何保護與照顧它。 我們提供了硬體和軟體安全鎖來保護電腦,包括電腦安全鎖和密碼設定。 本筆記型電腦配備一個安全鎖插槽可讓您連接Kensington相容的電腦安全鎖。 將電腦安全鎖電纜線繞著無法移動的物品打個圈,例如,桌子或鎖住的抽屉把手。再將鎖插入鎖孔中,並轉動鑰匙以便上鎖。另外一些沒有鑰匙鎖孔的機型,也可提供使用者來選擇。 密碼可以防範您的電腦被他人冒用。設定好這些密碼後,可以建立數道不同等級的防範措施,以保護您的電腦及資料: Supervisor Password (管理員密碼) 可避免他人擅自使用 BIOS 公用程式。一旦設定完成,下次要進入 BIOS 公用程式時,必須先鍵入此密碼。請參閱第 29 頁的「BIOS 公用程式」。 重要!請勿忘記Supervisor Password(管理員密碼)!若忘記密碼,請與您的經銷商或授權服務中心連絡。 當密碼已設定,在螢幕中間會出現一個密碼輸入方塊。 重要!您有三次輸入密碼的機會。如果三次都輸入失敗,系統將會停機。按住電源按鈕四秒即可強制關機。接著重新開機,再試一次。 您可以利用BIOS公用程式來設定密碼。 本筆記型電腦提供您一個全新完整的行動運算體驗。 連接埠可讓您將周邊裝置和筆記型電腦互相連接,其作用和桌上型電腦的連接埠相同。有關如何將其它外接裝置連接到電腦的詳細說明,請參閱下列章節,以獲取更詳細資訊。 本電腦內建了V.9256Kbps傳真/資料數據機。(僅適用於特定機型) 警告!本數據機埠與數位電話線並不相容。如果將數位電話線連接到本數據機埠,可能會導致數據機損壞。 要使用傳真/資料數據機時,請用電話線連接數據機埠到電話插孔。 警告!請使用符合使用國當地規格的電話線。 內建網路功能,可讓電腦連接至乙太網路架構的區域網路。 要使用網路功能,請將網路線從電腦機身的乙太網路 (RJ-45) 垛,連接到區域網路中的網路埠或集線器。 USB 2.0 場為讓您串接其他 USB 周邊裝置,且不需要佔用珍貴系統資源的高速序列匯流排。 本電腦的IEEE1394埠可讓您連接一台IEEE1394相容裝置,例如攝錄影機或數位相機。如需詳細資訊,請參閱攝錄影機或數位相機的使用手冊。 HDMI(高畫質多媒體介面)是一種業界支援、無壓縮、之全數位影音介面。HDMI是以一條訊號線作為相容數位影音來源(例如機上盒、DVD放影機和A/V接收器)和相容數位音樂和/或視訊播放器(例如數位電視(DTV))之間的介面。 使用您電腦上的 HDMI 連接埠來連接高級影音設備。利用單一訊號線做快速連接,並且減少雜亂過多的纖線。 ExpressCard 是目前最新版本的 PC 卡。這種更小型且更快速的介面將您電腦的使用及擴充性能更進一步的提升。 ExpressCard 支援為數衆多的擴充選項,包含快閃記憶體介面卡、電視影像擲取卡、藍芽通訊及 IEEE 1394B 介面卡。ExpressCard 亦支援 USB 2.0 與 PCI Express 相容的應用程式。 重要!ExpressCard 有 ExpressCard/54 與 ExpressCard/34 (54 厘米與 34 厘米) 雨種不同類型,而功能會各有差異。並不是所有 ExpressCard 插槽都可同時支援兩種類性。有關如何安裝 ExpressCard 及使用其功能,請參閱該卡的使用手冊。 將ExpressCard插入插槽後輕輕將之推至定位。 在移除ExpressCard前: 1 請結束使用ExpressCard的應用程式。 1 關機並拔掉 AC 電源轉換器 (若有連接),再移除電池組。接著將電腦翻轉過來,使其底部朝上以便安裝記憶體。 4 關上記憶體插槽蓋並鎖回螺絲。 電腦會自動偵測並重新設定總記憶體大小。如需協助,請洽詢 Acer 經銷商或專業的技術人員。 BIOS公用程式是内建於電腦BIOS內的硬體架構程式。 在您購買本電腦時,所有組態均已確設定並最佳化,因此您不需再特別執行BIOS公用程式。但萬一遇到組態問題,您還是可以執行本公用程式。 要啓用BIOS公用程式,請在notebookPC標誌出現後,並於進行開機自我測試(Power-On Self Test; POST)過程時,按下 若要在BIOS公用程式內設定開機順序,請先進入BIOS公用程式。然後從螢幕上方的主選單中選擇「Boot」。 若要啓用 disk-to-disk recovery 回復作業(硬碟回復),請先進入 BIOS 公用程式。然後從螢幕上方的主選單中選擇「Main」。並在螢幕下方找到「D2D Recovery」選項,使用 <F5> 和 <F6> 鍵將此值設定成「Enabled」。 若要設定開機密碼,請先進入BIOS公用程式。然後從螢幕上方的主選單中選擇「Security」。找到「Password on boot:」選項,使用 注意:此功能僅適用於特定機型。 如果光碟機槽已安裝了DVD光碟機,您就可以在電腦上播放DVD影片。 1 退出DVD光碟機托盤,放入DVD光碟,接著關上DVD光碟機托盤。 重要!當您第一次執行 DVD 播放程式時,程式會要求您輸入區碼。DVD 碟片共分為 6 區。一旦您的電腦設好區碼後,就只能播放該區碼的 DVD 碟片。您最多可以設定區碼五次(包括第一次),最後一次所設定的,就會成為永久的區碼。回復硬碟也無法重設區碼的次數。請參閱下列的 DVD 影片區碼分類表。 2 等待幾秒鐘後,電腦就會自動開始播放DVD影片。 注意:要變更區碼,請在 DVD 光碟機中放入不同區碼的 DVD 碟片。如需更多資訊,請參閱線上說明。 以下列出使用本電腦時,可能會發生的情況,並提供簡單的解決方法。 我按下電源按鈕,電腦卻未啟動或開機。 檢查電源指示燈: 如果指示燈沒亮,表示電腦沒有接上電源。請依下列逐項檢查: 如果指示燈亮著,請檢查: 顯示幕上沒有出現任何影像。 本電腦的電源管理系統,為了節省電力,會將螢幕自動變暗。只要按下任何按鍵即可回復正常的螢幕顯示。 如果按下任何按键仍無法回復正常螢幕,有可能是下列情況: 請依下列逐項檢查: 我想要在不開機的情況下,退出光碟機托盤。 在光碟機上有一個手動的緊急退出孔。只要將迴紋針或筆尖插入該退出孔並向內推,即可退出光碟機托盤。 試著把外接式鍵盤連接到電腦的USB埠。如果可使用,請與您的經銷商或是授權服務中心連繫,讓他們檢查內部鍵盤連接線是否脫落。 請依下列逐項檢查: 請確認印表機是否有連接電源插座,且印表機電源已開啓。 我想在不使用 recovery CD 的情況下,進行系統回復作業。 注意:如果您的系統使用的是多國語言版本,未來的復原工作將只使用您設定開機時所使用的作業系統及語言作為標準。 本系統回復作業將幫助您還原本筆記型電腦在出廠時,系統磁碟機(C:)內所安裝的作業系統、應用程式及驅動程式。請依照下列步驟來重建 C:磁碟機。(C:磁碟機將會被重新格式化,而所有儲存於其中的資料也會被刪除)。因此,強烈建議您在進行系統回復作業前,務必先備份所有重要資料和檔案。 在開始進行回復作業前,請先檢查下列BIOS設定。 1 請檢查「Acer disk-to-disk recovery」是否已启用或停用。 注意:要啓用BIOS公用程式,請在開機自我測試(POST)過程中按下 <F2> 。 如何啓動回復作業: 1 使用系統公用程式。 重要!此功能在您硬碟的隱藏磁碟分割中佔了15GB的空間。 本電腦提供一年國際旅約保固 (ITW),讓您在旅遊期間可獲得最大的保固與服務。我們遍佈全球的服務網,都將隨時為您伸出援手。 ITW 護照隨著本電腦一起出售。這本護照包括了所有您需要知道的 ITW 内容規定。此外還附了一份可以隨時諮詢的授權服務中心表。只要信手讀來,處處皆顯示我們的用心。 請隨身攜帶您的 ITW 護照,特別是當您到有我們支援中心的地區旅遊時。請將購買證明放在 ITW 護照的封套裡。 如果您所到之處,並沒有宏碁的授權ITW服務站,您可以與我們全球辦公室連絡。 當您要撥電話到 Acer 線上服務時,請在您電腦前檢查下列資訊是否齊全。由於您的配合,我們可省卻大量的通話時間,並且有效率地解決您的問題。如果您的電腦回報有錯誤訊息或囉聲,請隨即將畫面(或囉聲的次數及長短順序)上的錯誤訊息抄下來。 下面資料便是您必須提供的資訊: 姓名: 地址: 電話號碼: 電腦名稱及型號: 產品序號: 購買日期: 本章將告訴您如何正確處理常見的系統故障問題。當發生問題時,請先詳細閱讀本章,再決定是否撥打電話尋求技術支援。當發生嚴重的故障時,可能需要拆開電腦。但是,切勿自行拆解電腦。請與經銷商或授權服務中心連繫,尋求協助。 本筆記型電腦內含進階設計,可於螢幕上提供錯誤訊息報告,幫助您解決問題。 如果系統報告了一個錯誤訊息,或發生了錯誤情形,請參閱下列「錯誤訊息」。如果問題無法解決,請與經銷商聯繫。詳情請參閱第33頁的「服務需求」。 如果您接收到錯誤訊息,請記下訊息,並採取正確步驟。下表依照英文字母的先後順序列出了錯誤訊息及建議的解決方法。 如果您在執行過更正動作之後仍然遇到問題,請與您的經銷商或授權服務中心聯繫以獲得協助。某些問題可以使用BIOS公用程式來解決。 本產品經過測試並判定符合B級數位設備限制,且遵照FCC條例第15節。該限制是為了提供合理保護,避免住宅安裝時引起有害干擾而設計的使用條件。本產品會產生、使用並發射無線電頻率能量,若您未按指示來安裝與使用,可能會對無線電通訊造成有害干擾。 然而,我們無法保證一些特定的安裝方式不會發生干擾。如果本產品對收音機或電視接收造成有害干擾(可經由打開或關閉本產品而確認),則使用者可嘗試利用下列方式進行調整: 本產品與其它電腦裝置之間的連接,必須使用遮蔽型電線以符合FCC規定。 僅通過認證且符合Class B限制的周邊裝置(輸入/輸出裝置、終端機、印表機等)方能與本產品搭售。若與其他未經認證的週邊裝置共同使用時,可能會干擾收音機與電視的接收。 未經製造廠商許可的變更或修改可能導致使用者喪失操作本產品的權利,此授權係由聯邦通訊委員會(Federal Communications Commission)所賦予。 本產品已通過驗證 [Council Decision 98/482/EC - "TBR 21"],可經由單一終端連線至 Public Switched Telephone Network (PSTN:公用交換電話網路)。但是,由於不同國家或地區各個 PSTN 之間的差異,因此這項許可本身並不能無條件保證在每個 PSTN 終端點都能夠操作正常。如果出現問題,您應在第一時間洽詢聯絡本產品的供應商。如需關於適用國家的詳細資訊,請參閱第 35 頁的「規範和安全注意事項」。 本 LCD 液晶螢幕是以高精密度生產技術所製造。儘管如此,偶爾還是會有些像素不亮,或顯示成黑色或彩色的小點。但此種情形不會影響影像本身的品質,也不會造成功能異常。 注意:底下的管控資訊僅適用於配備無線區域網路和/或Bluetooth的型號。 本產品遵循任何同意使用無線裝置的國家或地區的無線電頻率和安全標準。本產品是否包含無線電裝置(例如無線區域網路和/或Bluetooth模組),乃取決於組態。底下的資訊適用於配備有這類裝置的產品。 特此,宏碁公司宣告此筆記型電腦系列符合 Directive 1999/5/EC 條款的基本要求和相關規定。 2009年7月的歐盟會員國包括了:比利時、丹麥、德國、希臘、西班牙、法國、愛爾蘭、義大利、盧森堡、荷蘭、奥地利、葡萄牙、芬蘭、瑞典、英國、愛沙尼亞、拉脫維亞、立陶宛、波蘭、匈牙利、捷克、斯洛伐克、斯洛維尼亞、賽浦路斯、馬爾它、保加利亞及羅馬尼亞。此使用方式適用於歐盟的國家和挪威、瑞士、冰島和列支敦斯登。此裝置必須在嚴格遵守使用國家之規定和限制下使用。如需進一步資訊,請洽詢使用國家的當地辦公室。請參閱 http://ec.europa.eu/enterprise/rtte/implement.htm,以瞭解最新的國家清單。 本產品之無線區域網路 Mini-PCI 卡和 Bluetooth 卡的輻射輸出功率遠低 FCC 無線電頻率的放射限制規定。然而,此筆記型電腦系列在正常操作下應儘量減少與人體接觸的可能性,如下所列。 使用者必須遵守每一項無線電頻率選項裝置的使用手冊中有關無線選項裝置的無線電頻率安全規範。 小心:為了符合FCC RF暴露設備需求,在內建於螢幕中的整合式線區域網路 Mini-PCI 卡與所有人之間都必須確保至少20公分(8英吋)之間的距離。 注意:無線 Mini PCI 配接卡中含有傳輸多樣性功能。此功能不會同時從兩個天線中放射無線電頻率。可以自動或手動選擇其中一個天線(由使用者選擇)以獲得較佳的無線電通訊品質。 2 由於本裝置的操作範圍限制於於5.15至5.25GHz頻率內,因此僅受限於室內使用。根據FCC規定,本裝置必須在5.15至5.25GHz的頻率範圍之內的室內使用,以降低對於共用頻道的行動衛星系統所造成的潛在性傷害。 此筆記型電腦系列採用低增益整合式天線,該天線發射的無線電頻率範圍未超過加拿大健康部 (Health Canada) 為一般民眾所做的限制標準:請參考安全法規 6 (SafetyCode 6),該法規可在加拿大健康部的網站上取得,網址為:www.hc-sc.gc.ca/rpb。 普通用户指南 TravelMate系列笔记本电脑 产品型号: 产品序号: 购买日期: 购买地点: 请仔细阅读安全须知。保存本文件以供今后参考。请遵照该设备上的警告标志与说明。 清洁时,先拔下电源插头。勿使用化学或喷雾清洁剂请以湿布擦拭。请以湿布擦拭。 连接和断开电源设备时请按以下指示进行操作: 将电源线插入交流电源插座前先安装电源设备。 从电脑上拆卸电源设备前先拔下电源线。 如果系统有多个电源,请拔下所有电源的电源线以断开系统电源。 请确保电源线要插接的电源插座方便可及,尽可能靠近设备使用人员。当需要断开设备电源时,请务必从电源插座上拔下电源线。 您所购电脑在卡插槽中装有塑料防尘待机卡。防尘待机卡可防止灰尘、金属物体或其他杂质进入未使用的插槽。如果插槽中未安装板卡,请保留防尘待机卡。 请按照以下的说明来保护您的听力。 切勿将该设备靠近水源。 警告!接地针为安全特性。使用未正确接地的电源插座可能会导致电击和(或)伤害。 注:接地针还针对附近其它电子设备产生的可能对本产品造成干扰的噪音提供了良好的保护。 请勿自行维修该设备,因为不当的拆卸可能会导致触电或其它危险的后果。 遇到下述情况,请将电源线插头拔掉,并寻求专业技术服务人员协助: 注:请调节操作说明介绍过的控件,因为对其它控件的错误调节会对电脑造成损坏,而且,通常会给专业技术人员添加不必要的麻烦。 本款笔记本电脑使用锂电池。请勿在潮湿或具腐蚀性的环境中使用。请勿将产品放置或存放在热源附近、高温环境中、直接强烈日照下、微波炉或高压容器中,也不要将其暴露于超过 60^(140^) 的温度中。如果不遵循上述指南,可能导致电池漏液、发热、爆炸或着火,从而造成人身伤害和/或损害。请勿刺穿、打开或拆卸电池。如果电池漏液时接触到了漏出的液体,请用大量清水冲洗并立即就医。为确保安全并延长电池的使用寿命,不要在低于 0^(32^) 或高于 40^(104^) 的温度下为电池充电。 新电池只有在进行两到三次完全充放电周期后才能发挥最大效能。电池可进行数百次充放电,但使用寿命始终有限。当使用时间明显变短时,就应购买新电池。请只使用批准使用的电池,并只用批准指定用于本设备的充电器为电池充电。 电池只能用于指定用途。切勿使用已损坏的充电器或电池。避免使电池短路。当硬币、夹子或钢笔等金属物体使电池的正负极直接连接时,可能会发生意外短路。(它们类似于电池上的金属条。)例如,当您口袋或钱包里装有备用电池时,就可能发生这种情况。电子端子短接可能会损坏电池或与其连接的物体。 如果电池放置在高温或低温的环境中,如夏季或冬季的封闭车内,会降低电池容量,缩短电池寿命。请始终保持电池处于 15^ 到 25^ (59°F到77°F)的温度中。如果电池发热或冰冷,即使电池已充满电,设备也可能暂时无法使用。在零下的温度中,电池的性能会受到很大影响。 不要将电池丢入火中,会引起爆炸。如果电池被损坏,也可能发生爆炸。请按照当地政府规定处理电池。尽可能回收电池。不要作为生活垃圾处理。 无线设备易受电池干扰,可能会影响性能。 本笔记本电脑系列使用锂电池维修时。使用我们建议的相同类型的电池更换产品的电池。使用其它类型的电池可能会造成火灾或爆炸。 警告!依当地规定处理废弃电池。若电池使用不当,会发生爆炸。请勿擅自拆散电池或将电池置于火中。切勿让儿童接触电池,请恰当处理废弃电池。 警告:此设备含有激光系统并被定为“1级激光产品”。如果本设备发生任何故障,请联系最近的授权维修站。为防止受到激光的直接幅射,切勿尝试打开外壳。 CLASS 1 LASER PRODUCT CAUTION: INVISIBLE LASER RADIATION WHEN OPEN. AVOID EXPOSURE TO BEAM. APPAREIL A LASER DE CLASSE 1 PRODUIT LASERATTENTION: RADIATION DU FAISCEAU LASER INVISIBLE EN CAS D'OUVERTURE. EVITTER TOUTE EXPOSITION AUX RAYONS. LUOKAN 1 LASERLAITE LASER KLASSE 1 VORSICHT: UNSICHTBARE LASERSTRAHLUNG, WENN ABDECKUNG GEÖFFNET NICT DEM STRAHLL AUSSETZEN PRODUCTO LÁSER DE LA CLASE I ADVERTENCIA: RADIACION LÁSER INVISIBLE AL SER ABIERTO. EVITE EXPONERSE A LOS RAYOS. ADVARSEL: LASERSTRÄLING VEDÄBNING SE IKKE IND I STRÄLEN. VARO! LAVATTAESSA OLET ALTTINA LASERSATEILYLLE. VARNING: LASERSTRALNING NAR DENNA DEL AR ÖPPNAD ÁLÀ TUIJOTA SATEESEENSTIRRA EJ IN I STRÄLEN VARNING: LASERSTRÁLNING NAR DENNA DEL ÅR ÖPPNADSTIRRA EJ IN I STRÅLEN ADVARSEL: LASERSTRÄLING NAR DEKSEL ÅPNESSTIRR IKKE INN I STRÄLEN 每次在进行维修或拆卸本设备前,请先将所有电话线从壁装插座上拔下。 警告!出于安全原因,在添加或更换元件时切勿使用不兼容的零件。详情请咨询经销商。 警告!出于安全考虑,当您在下列条件下使用笔记本电脑时请关闭所有无线传输设备。这些设备包括但不限于:无线局域网 (WLAN)、蓝牙和/或 3G。 请遵循各地区实施的特殊规定,并在禁止使用或可能造成干扰或危险的地方始终关闭您的设备。请只在正常工作位置使用设备。本设备在正常使用的情况下符合RF暴露准则,设备及其天线设计位置距离身体(如下图所示)至少1.5厘米(5/8英寸)。 设备不应含有金属,设备与身体的距离应遵循上述距离要求。为成功传输数据文件或信息,本设备需有高质网络连接。如果没有高质量网络连接,数据文件或信息的传输有时可能会延迟。请确保遵循上述距离要求,直到传输完成。本设备部分位置具有磁性,可能会吸附金属物质,戴有助听器的人士请勿将本设备靠近戴有助听器的耳朵。请勿将信用卡或其他磁性存储介质放置于本设备附近,因存储的信息可能会被擦除。 使用任何无线传输设备,包括无线电话,可能会对保护不足的医疗设备的功能产生干扰。若有疑问,请咨询医生或医疗设备厂家,确定医疗设备是否充分屏蔽,可防止外部RF能量干扰。在贴有公告禁止使用本设备的医疗场所请关闭您的设备。医院或医疗场所可能会使用对外部RF传输较敏感的设备。 起搏器。起搏器厂家建议无线设备与起搏器之间应至少保持15.3厘米(6英寸)的距离,以免对起搏器造成干扰。上述建议与无线技术研究所做的研究和建议一致。佩戴起搏器的人士应: 助听器。某些数字无线设备可能会对部分助听器造成干扰。如果产生干扰,请咨询服务提供商。 RF信号可能会影响未正确安装或充分屏蔽的机动车辆的电子系统,如电子控制燃油喷射系统、电子防滑(防抱死)制动系统、电子速度控制系统和安全气囊系统。详细信息请咨询汽车或添加设备的厂家或其代表。只有合资格人员才能对本设备进行维修或在汽车内安装本设备。安装不当或维修不当可能造成危险,使本设备的保修失效。请定期检查车内的所有无线设备是否正确安装和使用。请勿在放置本设备及其部件或增强附件的同一舱内存放或携带易燃液体、气体或易爆材料。对于装有安全气囊的车辆,请记住安全气囊在大力下会膨胀。请勿在安全气囊上方或安全气囊打开区域放置物体,包括安装的或移动式的无线设备。如果车载无线设备安装不当,安全气囊膨胀,可能会造成严重人身伤害。乘坐飞机时严禁使用本设备。登机前请关闭本设备。在飞机上使用无线电话可能会对飞行带来危险,干扰无线电话网络,并可能是非法行为。 在可能发生爆炸的场所请关闭本设备,遵循所有标志和指示。易爆场所包括通常要求关闭汽车引擎的地方。在上述场所,火花可能引起爆炸或火灾,导致人员伤亡。在加油站的油泵附近请关闭笔记本电脑。请遵守油库、储备区和配发区、化工厂或正在进行爆破作业的场所对使用无线设备的限制规定。可能产生爆炸的场所通常(但非绝对)会有标识。包括船只甲板下、化学品输送或储存设施、使用液化石油气(如丙烷或丁烷)的车辆以及空气中含有化学品或砂粒、灰尘或金属粉末等微粒的区域。在禁止使用手机或可能造成干扰或危险的地方请勿打开笔记本电脑。 警告:本设备不能拨打紧急电话。要拨打紧急电话,应使用手机或其他电话呼叫系统。 在丢弃本电子设备时,请勿将其当作一般垃圾处理。为确保能将污染降至最低,并且对全球环境保护作出最大贡献,请以资源回收垃圾方式处理。有关电器及电子设备废料处理(WEEE)指引的更多信息,请访问http://www.acer-group.com/public/Sustainability/sustainability01.htm。 对于内含灯泡的摄影机或含有非LED背光的LCD/CRT监示器或显示器的电子产品:本产品内所含的灯泡含有汞,必须按当地、州或联邦的法律进行重复循环利用或处理。要了解更多的信息,请通过www.eiae.org联系电子工业协会(Electronic Industries Alliance)。要了解有关灯泡专门的信息,请查阅www.lamprecycle.org。 Acer有“能源之星”认证的产品能够降低能源成本并具有环保效果而无需牺牲功能或性能,从而为您省钱。Acer很自豪能够向客户提供带“能源之星”标志的产品。 什么是“能源之星”? 具备“能源之星”认证的产品符合美国环保署制定的严格的节能方针,消耗较少的能源并能够防止温室气体的排放。Acer承诺在全球 提供的产品和服务能够帮助客户省钱、节能和提高环境质量。我们通过较高的能效而节约更多的能源,就能更多地降低温室气体的排放和气候变化的风险。详情请参见网站http://www.energystar.gov或http://www.energystar.gov/powermanagement。 Acer能源之星认证产品: 产生较少的热量并降低冷却负荷和减轻气候变暖。 “能源之星”和“能源之星”的标志是经注册的美国标志。 电脑用户可能会在长时间使用后抱怨眼睛疲劳和头痛。用户在电脑前长时间工作后有身体伤害的风险。长时间工作、不良姿势、不良工作习惯、压力、不良工作环境、个人健康以及其它因素都会大大增加身体伤害的风险。 电脑使用不当可能会导致腕管综合症、肌腱炎、腱鞘炎或其它肌骨疾病。在手、手腕、臂、肩、颈或背部可能会出现以下症状: 如果您有这些症状,或有任何其它反复出现或持久的不适和(或)与电脑使用有关的疼痛,请立即看医生并将通知您的保健和安全部门。 以下部分提供了更舒适地使用电脑的窍门。 通过调整显示器的视角来找到舒适的区域,使用调节支脚或抬高座位高度来获得最大的舒适度。注意以下窍门: 避免以一种固定的姿势工作过长时间。 避免肌肉紧张或耸肩。 长时间观看、配戴眼镜或隐形眼镜不当、眩目、室内光线过强、屏幕聚焦较差、字体太小以及显示器对比度较低会压迫您的眼睛。以下部分提供如何降低眼睛疲劳的建议。 经常让您的眼睛得到休息。 将显示器亮度和(或)对比度调节到舒适的水平以提高文字和图形的清晰度。 将显示器置于窗口或任何光源的侧面 避免将显示器调节到难受的视角。 养成以下工作习惯以更轻松和有效地使用电脑: 定时和经常短暂休息一下。 警告!我们不建议在睡椅或床上使用电脑。如果一定要这样做,时间尽量缩短,定时休息,以及做一些伸展操。 注:要了解更多信息,请参阅第34页的“规则及安全注意事项”。 感谢您选购 Acer 笔记本电脑,让它成为您行动运算生活的最得力助手。 为帮助您设置和使用 Acer 笔记本电脑,我们为您设计了以下用户指南:首先请按照电脑所附带的“入门指南...”彩图来安装电脑。 TravelMate 系列普通用户指南包含了关于 TravelMate 产品系列所有型号的有用信息。该手册包括 AcerRecovery Management、以及键盘和音频的使用方法等基本内容。请注意,鉴于手册的性质,普通用户指南和下文中提到的“AcerSystem User Guide”偶尔也会提及本系列产品中部分型号专有的功能或特性,但您购买的型号不一定具有这些功能或特性。以上情况会以“仅限部分型号”等字样在文中注明。这份“快速指南”向您介绍新电脑的基本特性和功能。要了解您的电脑如何能够帮助您更加具有效益详情,请参见“AcerSystem User Guide”。本指南包含了诸如系统实用程序、数据恢复、扩展选项和疑难解答等信息。此外,它还包含了保修信息和笔记本电脑的一般规则和安全注意事项。我们也提供了 PDF 格式的用户指南并已预先安装在本电脑中供用户参考,请按下列步骤操作来查看该 PDF: 1 单击“开始”,“所有程序”,“AcerSystem”。 注:查看PDF文件需要预先安装Adobe Reader。如果您的电脑没有预先安装Adobe Reader单击“AcerSystem User Guide”后将会先启动Adobe Reader安装程序。依屏幕上指导完成安装程序。要获得如何使用Adobe Reader的指导,请使用“帮助和支持”菜单。 要打开电脑只需按下并释放 LCD 显示屏下方靠近快速启动按钮的电源按钮。关于电源按钮的位置请参见“快速指南”。 若要关机,请进行以下任一操作: 注:如果您无法正常关机,按住电源按钮至少四秒钟以上,即可强制关闭电脑。如果您关闭电脑后又想重新启动,请至少等待两秒钟。 只要用心保养,本电脑必能提供您最好的服务。 请勿将电脑直接暴露于日光下。勿将电脑靠近热源如电暖器等设备。 底下列出AC适配器的保养要点: 请勿将其它设备接到电脑所用的适配器。 底下列出电池组的保养要点: 请按照下列步骤擦拭电脑: 1 关闭电脑,取出电池。 如果发生下列情况: 产品不小心掉落到地面或外壳有损伤。 请参见第30页的“常见问题”。 重要安全须知 iii 光驱设备注意事项(仅限部分型号) vi 使用环境 vii 医疗设备 vii 车辆 vii 易爆场所 viii 紧急电话 viii viii 汞物质通报 viii 能源之星 舒适使用的窍门和信息 用户指南 xii 电脑使用的基本保养和建议 xii 启动/关闭您的电脑 xii 保养您的电脑 xiii 保养AC适配器 xiii 保养电池组 xiii 清洁和保养 xiii 触摸板的基本操作(带指纹读取器) 1 触摸板的基本操作(带双击按钮) 2 锁定键和嵌入式数字键盘* 3 Windows键 4 AcerPureZone(仅限部分型号) 5 16:9显示(仅限部分型号) 5 Acer Bio-Protection(仅限部分型号) 6 Acer Backup Manager 7 刻录备份光盘 10 恢复 11 从备份光盘恢复Windows 12 电池组特点 13 最大限度延长电池的寿命 13 安装和卸下电池组 14 给电池充电 15 检查电池电量 15 优化电池寿命 15 电量不足警告 16 断开笔记本电脑与桌面设备的连接 17 携带笔记本电脑 17 准备作业 17 出席会议需携带的物品 18 携带电脑回家 18 准备作业 18 携带物品 18 特别注意事项 18 布置您的家庭办公室 19 携带笔记本电脑旅行 19 准备作业 19 携带物品 19 特别注意事项 19 携带笔记本电脑进行国际旅行 19 准备作业 19 携带物品 20 特别注意事项 20 使用电脑安全锁 21 使用密码 21 输入密码 22 设置密码 22 连接选项 23 传真/数据调制解调器(仅限部分型号) 23 内置网络特性 24 通用串行总线 (USB) 24 IEEE1394端口(仅限部分型号) 25 高清晰度多媒体接口(HDMI)(仅限部分型号) 25 ExpressCard(仅限部分型号) 26 安装内存条 27 BIOS实用程序 28 启动顺序 28 启用 disk-to-disk recovery 28 密码 28 使用软件 29 播放DVD影片 29 服务查询 32 国际旅游保证 (International Travelers Warranty; ITW) 32 致电之前 32 33 疑难解答提示 33 错误信息 33 34 FCC声明 34 调制解调器声明(仅限部分型号) 34 LCD 象素声明 35 无线设备规则公告 35 总则 35 FCC RF安全要求 35 加拿大-低功率免许可证无线电通信设备(RSS-210) 36 对RF区域的人体暴露(RSS-102) 36 LCD panel ergonomic specifications 37 内置的触摸板是一种指取设备,能够感应物体在其表面的移动。也就是说,当您的手指在触摸板上移动时,屏幕上的光标能够及时响应。触摸板位于掌垫板的中央,使用起来非常舒适。 下面向您介绍如何使用配有Acer Bio-Protection指纹读取器的触控板。 以下向您介绍如何使用带双击按钮的触控板。 您只要在触摸板上移动手指就可以移动光标。 注:以下图例仅供参考。实际规格将视用户实际购买的电脑型号而定。 注:使用触摸板时,请保持手指和触摸板的干燥清洁。触摸板对手指的移动十分敏感;因此,您点触动作越轻,响应越好。用力点触触摸板并不会改善响应度。 注:默认地,触控板启用垂直和水平滚动。它可在Windows控制面板的鼠标设置中禁用。 本键盘包含全尺寸的按键、一个嵌入式数字键盘*、独立光标键、锁定键、Windows键、功能键和特殊键。 本键盘有三个锁定功能按键您可以进行相关功能的开/关切换。 嵌入式数字键盘的功能与台式电脑的数字键盘相仿。该数字键盘由一组位于键盘按钮右上方的小写字符表示。为使键盘图例简单化,光标控制符号没有印在这些键上。 键盘上有两个按键用于执行Windows专用的功能。 计算机配有32-bit高清(HD)音频和扬声器。 该系统将带给您全新的激动人心的音效体验,包括 Acer PureZone 的内置立体声麦克风设计,具有波束赋形及回声消除技术。技术支持回声消除、波束赋形及降噪,提供纯净的录音效果。要对麦克风进行设置,请双击 Windows 系统托盘上的 Acer HD Audio Manager 图标,运行 Acer HD Audio Manager。将弹出 Acer HD Audio Manager 对话框。点击麦克风选项卡,然后再点击麦克风音效选项卡。选择波束赋形和回声消除设置麦克风音效。 注:禁用波束赋形可使用多种声源输入。 16:9显示为您在家欣赏全高清电影呈现前所未有的效果。极其丰富的色彩饱和度确保真正的高清视觉体验。16:9的画质意味着笔记本娱乐发烧友们终于迎来了真正的家庭影院视觉享受。 Acer Bio-Protection 指纹解决方案是集成在 Microsoft Windows 操作系统中的多功能指纹软件包。利用个人指纹的唯一性,Acer Bio-Protection Fingerprint Solution 能够防止未经授权对计算机的访问,通过“密码银行”进行集中密码管理;快速应用/网站启动以及通过 Acer FingerLaunch 进行登录。 利用AcerBio-Protection指纹解决方案,既能为您的电脑提供更多保护,又只需轻轻滑动手指即可方便执行日常任务! 详细信息,请参阅 Acer Bio-Protection 帮助文件。 注:仅部分型号具备此功能。 Acer Backup Manager 仅需三个简单的步骤,即可让你根据安排和需要,创建整个系统或所选文件和文件夹的备份。 要启动 Acer Backup Manager,按键盘上方的 Acer Backup Manager 键。或者,您可进入开始 > 所有程序 > Acer Backup Manager > Acer Backup Manager。将打开欢迎屏幕;从该屏幕,您需要三个步骤来设置安排的备份工作。单击继续进入下一个屏幕。单击 + 按钮并按屏幕说明操作: 1 选择要备份的内容。您选择的内容越少,进程将越快,但这将增加丢失数据的风险。 一旦完成这三个步骤,备份将根据安排创建。您也可按 Acer Backup Manager 键以手动创建备份。 如果您要在任何时候更改设置,从开始菜单中运行 Acer Backup Manager 并完成上述三个步骤。 本款电脑拥有内置电源管理单元,可监控系统活动。系统活动是指涉及以下一个或多个设备的活动:键盘、鼠标、硬盘、外设以及视频内存(video memory)。如果在一段时间之后没有检测到任何活动(称之非活动超时),电脑会停止这些部分或所有设备以节省能源。 本款电脑还支持高级配置和电源接口(Advanced Configuration and Power Interface; ACPI)的电源管理配置,使您在最大限度节省电能的同时,获得最佳的操作性能。Windows将处理所有笔记本电脑电能节省方面的事务。 注:仅部分型号具备此功能。 AcerPowerSmart键使用电脑图形子系统的省电功能,以降低整体功耗。当按下AcerPowerSmart键时,屏幕亮度会降低且显卡将切换到较低速度;PCI和WLAN将切换到节能模式。再按一下AcerPowerSmart键可回到之前的设置。 Acer eRecovery Management 是一款快速恢复系统的工具。您还可备份/恢复出厂默认映像,重新安装应用程序和驱动程序。 注:下列所有内容仅供参考。实际产品规格以用户实际购买为准。 Acer eRecovery Management 包含以下功能: 将系统全部恢复到出厂默认状态 本章节将指导您完成每个步骤。 注:仅部分型号具备此功能。对于未安装内置光盘刻录机的系统,请在进入 AcerRecovery Management 执行光盘相关任务之前先安装一台外置光盘刻录机。 要使用 AcerRecovery Management 的密码保护功能保护您的数据,必须先设置密码。启动 AcerRecovery Management,单击“设置”可设置密码。 在Acer eRecovery Management的“备份”页面中,可刻录默认出厂值映像或备份驱动程序和应用程序。 1 单击“开始”,“所有程序”,“Acer”,“AcerRecovery Management”。 3 选择要刻录到光盘上的备份类型(默认出厂值或驱动程序和应用程序)。 注:当需要刻录与出厂时相同、包含电脑的整个操作系统的启动盘时,创建出厂默认映像。如果需要能够浏览内容和安装所选驱动程序及应用程序的光盘,则创建应用程序备份映像-此光盘将为非启动盘。如果需要能够浏览内容和安装所选驱动程序及应用程序的光盘,则创建驱动程序和应用程序备份一此光盘将为非启动盘。 恢复功能使您能恢复出厂默认映像或以前创建的 CD 和 DVD 备份。您还可以为 Acer 系统重新安装应用程序和驱动程序。 1 单击“开始”,“所有程序”,“Acer”,“Acer eRecovery Management”。 3 您可选择通过出厂默认映像,或重新安装应用程序和驱动程序。 注:仅部分型号具备此功能。 要用以前刻录的备份光盘恢复Windows,需插入首张备份光盘,通过BIOS设置工具启用F12启动菜单。 1 打开计算机,将首张系统恢复光盘插入光驱。重新启动计算机。 如果要将启用优先顺序设为长期使用,应选择启动子菜单。 1 打开计算机,将首张系统恢复光盘插入光驱。重新启动计算机。 本电脑使用的电池组,可以在电池组充电后,持续长时间使用 该电池组具有以下特点: 采用最新电池技术标准。 只要您将电脑连接到AC适配器,电池就会开始充电。此款电脑支持充电时使用,可以让您在充电过程中继续使用电脑。但是,在关机情况下充电,会大大缩短充电时间。 在您旅行或断电时,电池随时可供使用。建议您多备一个完全充电的电池组,作为备用。请联络经销商以了解订购备用电池组的详细信息。 与其它所有电池一样,此款电脑中的电池用久了也会退化。也就是电池的性能会随着使用时间的延长而逐渐降低。为最大限度延长电池的寿命,建议您遵循以下建议。 在首次使用电池组之前,您应执行一个“精调”过程: 1 将新电池插入电脑。不要开机。 再次执行这些步骤,直至电池被充电和放电三次。 对所有新电池,或长期不使用的电池,执行这一精调过程。如果电脑要存放两周以上,建议您从装置中取出电池组。 执行电池精调过程之后,电池就可以接受最大可能的充电。如果未执行这个过程,您将无法获得最大的电池充电,并且也会缩短电池的使用寿命。 另外,如果在以下情况下使用电池,也会影响电池的使用寿命: 重要!如果您卸下电池,在电池上附有橡胶脚垫的情况下,电脑可能会不稳定。 1 将电池对准插入到空置的电池槽,确定先插入的是有接点的一头,并且电池的顶面朝上。 1 推动电池释放销以释放电池。 要给电池充电,首先要确定电池已正确安装到电池槽中。将AC适配器接插到电脑,再连接到主电源插座。电池充电时,您仍然可以继续靠交流电使用电脑。但是,在关机情况下充电,会大大缩短充电时间。 注意:建议您在一天工作结束之后对电池充电。在您旅行前整晚对电池充电,让您第二天出行时带上完全充电的电池。 Windows 电源表指示当前的电池电量。将光标放到工具栏上的电池/电源图标上可以看到电池现在的充电电量。 优化电池寿命可以让您充分利用电池的电能,延长充电周期,提高充电效率。建议您遵循以下建议: 购买另外的电池组。 使用电池电源时,请留心Windows的电源表。 警告:出现电量不足警告信息后,请尽快连接上AC适配器。如果电池电量完全用完,电脑就会关闭,数据将会丢失。 出现电量不足警告信息后,根据当时情况建议采取以下措施: 本小节向您提供了有关携带笔记本电脑行走或旅行时的有用建议和提示。 按照下列步骤将您的笔记本电脑与外设断开连接: 1 保存打开的文件。 如果仅短距离内移动笔记本电脑,例如,从您的办公桌到会议室。 移动电脑之前,关上显示屏并关紧闩锁,让它处于休眠模式。现在您可以安全地携带笔记本电脑在公司内部走动了。要将笔记本电脑从睡眠模式中唤醒,请打开显示屏盖,按下电源按钮,然后将其释放即可。 若您要将笔记本电脑携带至客户的办公室或另外的建筑内,您需要关闭笔记本电脑: 点击开始,然后再点击关闭。 -或- 您可以通过按 <Fn> + <F4> 来使笔记本电脑进入睡眠模式。然后关上显示器并关紧闩锁。 在您准备再次使用电脑时,打开显示屏盖,按下电源按钮,然后将其释放。 注:若睡眠指示灯关闭,说明电脑已经进入休眠模式并关闭。若电源指示灯关闭而睡眠指示灯亮,说明电脑已经进入睡眠模式。在上述两种情况下,按下电源按钮,然后将其释放,均可以将电脑唤醒。请注意,电脑在进入睡眠模式一段时间后会进入休眠模式。 如果您的会议时间短,您可能只需要携带电脑本体到会议室。如果您的会议时间長,或您的电池没有充满,您可能需要携带AC适配器,以便在会议室连接电源插座。 若会议室没有电源插座,请将笔记本电脑置于睡眠模式以减少电量消耗。在不使用笔记本电脑时,请按下 <Fn> + <F4> 键或关上显示屏盖。若您准备重新使用电脑,打开显示屏盖(如果已经将其关上),按下电源按钮,然后将其释放即可。 当您要从办公室回家,或反之。 在将笔记本电脑与桌面设备断开后,请按以下步骤准备将笔记本电脑携带回家。 请检查是否已经将所有的媒体和光盘从驱动器中取出。如果不及时取出存储设备,驱动器读写头很容易受损。 警告!请勿将物品压住笔记本电脑的显示屏盖。显示屏盖若承受过大压力,很容易受损。 非您家中已备有如下物品,否则请您记得携带: AC适配器和电源线 在您携带电脑上下班时,您可以参照以下建议来保护您的笔记本电脑: 如果您经常在家中办公,那么最好购买备用AC适配器。有了备用AC适配器,您就不需要天天携带多余的负荷了。 如果您在家中使用笔记本电脑时间很长,您也可能需要一个外接式键盘、外部显示器或鼠标。 当您进行短程旅行时,如从办公室到客户的公司或在国内旅行。 就如同在家中使用一样,您需要先准备好笔记本电脑。确保电池电量充足。机场安全检查时可能会要求打开笔记本电脑进行检查。 请您携带如下物品: AC适配器 除了遵照将笔记本电脑带回家中使用时的注意事项外,请按照以下步骤在旅行时保护您的笔记本电脑: 请随身携带您的笔记本电脑。 当您进行国际旅行时。 同平时外出旅行一样准备好您的笔记本电脑。 请携带以下物品: AC适配器 参照携带笔记本电脑作短途旅行时的特别注意事项。另外在进行国际旅行时下面的建议将十分有用。 您的电脑是贵重的物品,请妥善保养。下列是教您学习如何保护和保养您的电脑。 安全特性包括硬件和软件锁-电脑安全锁和密码。 本电脑配备一个Kensington安全锁插槽,可以让您连接到一个Kensington兼容的电脑安全锁。 您可以将电脑锁链与不可移动的物体相连,例如,桌子或上锁的抽屉手柄。将锁插入插槽中然后旋转钥匙便可上锁。您也可以选购不带安全锁的型号。 系统使用密码来保护您的笔记本电脑,防止未经授权访问。设置这些密码来为您的系统和数据创建不同级别的保护: 重要!请千万牢记您的Supervisor Password(管理员密码)!如果遗忘密码,请与销售商或授权服务中心联系获得帮助。 当您设置完密码后,在显示屏的中央会立即出现一个密码提示框。 重要!您有三次机会输入密码。如果您三次输入的密码均是错误的,系统将会挂起。按下电源按钮四秒钟,关闭电脑。然后重启电脑,再重试一次。 您可使用BIOS实用程序来设置密码。 您的笔记本电脑将带给您一个完善的行动运算的崭新体验。 笔记本电脑上的端口与台式电脑类似,可方便地连接各种外部设备。有关如何将各种外设连接到本电脑的说明,请阅读以下章节以了解详情。 本电脑内建了一个V.9256Kbps传真/数据调制解调器。(仅限部分型号) 警告!该调制解调器端口与数码电话线不兼容。将该调制解调器与数码电话线连接会损坏调制解调器。 要使用调制解调器端口,请将调制解调器通过电话线与电话线路插口相连接。 警告!请确认使用的电话线规格适用于所在国家。 您可以通过内置网络特性连接以太网络。 要使用该功能,请使用以太网络线将电脑外部的以太网络端口 (RJ-45) 与提供网络接入服务的网络接口或集线器相连接。 通过高速通用串行总线(USB2.0)端口,您可以连接各种USB外设,而不占用宝贵的系统资源。 电脑的 IEEE 1394 端口可以让您连接支持 IEEE 1394 兼容的设备,例如摄像机或数码相机。关于详细数据,请参见摄像机或数码相机的说明文件。 HDMI(高清晰度多媒体接口)是一种业界通用、未压缩、全数字音频/视频接口。 使用电脑上的HDMI端口与高端音频和视频设备连接。信号线的敷设能够进行整齐的装配和快速连接。 ExpressCard是PC卡的最新版本。它是更小和更快的接口,进一步增强了电脑的可用性和可扩展性。 ExpressCards 支持大量的扩展选件,包括闪存卡适配器、TV 调谐器、蓝牙连接和 IEEE 1394B 适配器。ExpressCards 支持 USB 2.0 和 PCI Express 应用。 重要!卡的类型有两种,ExpressCard/54和ExpressCard/34(54mm和34mm),每种有着不同的功能。并非所有的ExpressCard插槽均支持两种类型。请参见该卡的手册以了解如何安装和使用该卡及其功能的详情。 将卡插入插槽并轻推直至到位。 退出ExpressCard之前: 1 退出使用此卡的应用程序。 请按照以下步骤安装内存条: 1 关闭电脑,断开AC适配器的连接(如已连接),取下电池组,将电脑底部朝上放置。 4 盖上内存盖,并拧紧螺丝。 电脑将自动探测并重新配置内存大小。若需协助,请咨询专业技术人员或联系当地的Acer经销商。 BIOS 实用程序是内建在笔记本电脑 BIOS (Basic Input/Output System) 中的硬件配置程序。 在购买本笔记本电脑时,它已经过适当的配置和优化,您无需运行该程序。但当您碰到配置问题时,您可能需要运行该程序。 在开机自检 (Power-On Self Test; POST) 过程中,当屏幕上出现笔记本电脑的图标时,按下 <F2> 键激活BIOS实用程序。 要在BIOS实用程序中设置启动顺序,激活BIOS实用程序,然后从屏幕顶部的主菜单中选择“Boot”。 要启用 disk-to-disk recovery 硬盘,恢复激活 BIOS 实用程序。然后从屏幕顶部的主菜单中选择“Main”。在屏幕底部找到“D2D Recovery”并使用 要设置启动密码,激活BIOS实用程序。然后,从屏幕顶部的主菜单中选择“Security”。找到“Password on boot:”并使用 播放 DVD 影片 注:仅部分型号具备此功能。 当光驱插槽中安装了DVD光驱后,您就可以在电脑上播放DVD影片了。 1 弹出DVD光驱托盘并放入DVD光盘;然后关上托盘。 重要!当您第一次运行DVD播放器,程序会要求您输入区域代码。DVD光盘被分为六个地区。一旦您的电脑设定了一个区域代码,电脑就只能播放那个地区的DVD光盘。您最多只可以设定5次区域代码(包括最初的一次)。第5次设定的区域代码将成为最终设定区域代码,此后,此区域代码将永远有效。恢复硬盘并不能对区域代码设定次数进行重新设置。请参见以下的DVD影片区域代码信息。 2 DVD影片会在几秒钟之后自动播放。 注:要更改区域代码,在DVD-ROM驱动器中插入一张不同地区的DVD电影光盘即可。请参见在线帮助获取更多信息。 以下是在您的日常电脑操作过程中可能会出现的问题。我们针对这些问题提供了简单的解决方案。 我打开了电源,但是电脑未启动或开机。 检查电源指示灯。 如果您使用电池组供电,很可能是电力不足,无法为电脑的操作提供足够的电源。请连接AC适配器为电池组充电。 如果电源指示灯亮着,请检查以下项目: 可能是笔记本电脑的电源管理系统自动关闭显示屏电源以节省电能。能请按任意键以恢复正常显示。 如果按任意键仍未恢复正常显示,可能是下列原因: 请检查以下项目: 我要在电脑关闭时弹出光驱托盘。 在光驱上有一个紧急弹出孔。您只需将钢笔或大头针的尖端插入紧急弹出孔即可弹出光驱托盘。 键盘无响应。 尝试将外置式键盘连接到电脑的USB2.0端口。如通过该键盘可进行输入,可能内置键盘的连线松了。请联系销售商或联络授权服务中心寻求协助。 打印机无法打印。 请检查以下项目: 请确认打印机已经连接到电源,并且已经打开电源。 我要在不使用 recovery CD 的情况下将电脑恢复到原始设置。 注:如果系统为多语言版本,首次启动系统时所选择的操作系统和语言将成为未来恢复操作的唯一选项。 此恢复程序将帮助您将C驱动器恢复至您购买笔记本电脑时安装的原始软件内容。按照以下步骤重建您的C驱动器。(您的C驱动器将被重新格式化所有的数据将被擦掉)。在您使用此选项之前要备份所有的数据文件是很重要的。 实施恢复操作之前,请检查BIOS设置。 1 检查“Acer disk-to-disk recovery”功能是否已启用。 注:要激活BIOS实用程序在系统开机自检(POST)时按下 如何启动恢复作业: 1 重启系统。 重要!此功能在您硬盘驱动器的隐藏分区中占了15GB空间。 本电脑已经取得国际旅游保证(ITW护照),可以让您在旅游期间获得最大的保证与服务。我们遍布全球的服务网络,都将随时为您伸出援手。 ITW护照随同您的笔记本一起出售。这本护照包括了所有您需要知道的ITW内容规定。此外还附了一份列表,其中向您介绍了授权的服务中心。请您仔细阅读该ITW护照。 请随身携带ITW护照,尤其是您在旅游中要寻求技术支持时。请将购机凭证夹放在您的ITW护照首页。 如果您所到之处,并没有 Acer 的授权 ITW 服务站,您可以与我们全球的服务部门连络。请访问 http://global.acer.com. 致电寻求在线服务时,请准备好以下资料,并请在致电时坐在您的笔记本电脑旁。有了您的配合,我们才能用较少的通话时间,高效地解决您的问题。如果电脑报告出错信息或发出警告声,请记下屏幕上的出错信息(或者警告声的次数和顺序)。 您需要提供以下信息: 姓名: 地址: 电话号码: 型号: 序列号: 购买日期: 本章主要介绍如何应对常见的系统问题。如果发生问题,在联络技术人员之前,请首先阅读本章节的内容。如果需要拆开电脑来解决更复杂的问题。切勿试图自行拆开您的电脑。请接洽您的经销商或授权服务中心以获取帮助。 本笔记本电脑中含有先进的设计。可于屏幕上提供错误信息报告,帮助您解决问题。如果系统报告了一个错误信息,或发生错误的情况。请参见“错误信息”。如果问题无法解决,请与经销商联系。请参见第32页的“服务查询”。 如果您接收到错误信息,请记下信息,并采取更正的动作见错误信息。下表依照英文字母的先后顺串行出了错误信息及建议的解决方法。 如果您在执行过解决办法之后仍然遇到问题,请与您的经销商或授权服务中心联系以获得协助。某些问题可以使用BIOS实用程序来解决。 该设备已经通过测试,符合FCC规则之第15部分的B级数字设备要求限制开机。该限制专为在住宅环境中安装时,避免有害干扰提供合理有效的保护。该设备工作时会放射出无线电频率,如果未按照说明安装,可能会对无线电通讯产生干扰。 但并不确保在特殊安装过程中无干扰。如果该设备的确对无线电或电视接收产生干扰,(可以通过开关该设备检测是否存在干扰),建议采取以下方法消除干扰: 调整天线方向或重新放置接收天线 为了与FCC规则保持一致,所有与其他电脑设备连接的线路必须使用屏蔽线路。 只有符合B级限制的外围设备(输入/输出设备、终端、打印机等等)可与该设备连接。使用未经认证的外围设备易产生对无线电或电视接收的干扰。 对制造商未表明可以修改的组件进行修改或变更,将会导致美国联邦通信委员会(Federal Communications Commission)认证赋予的用户权限失效,从而丧失操作该电脑的权利。 该设备已经通过公共开关电话网络(PSTN)单一终端连接[Council Decision 98/482/EC - "TBR 21"]认定。而且,由于不同国家的公共开关电话网络不同,该认定不一定适用于所有公共开关电话网络端点。如出现问题,请首先联系您的设备供应商。有关适用国家的更多信息,请参见第34页的“规则及安全注意事项”。 虽然 LCD 液晶显示屏是高精度制造技术产物。但偶尔会发生部分像素不亮或显示成黑点或红点的现象。这不会影响到录制的图像,也不会造成功能异常。 注:以下规范信息仅适用于 WALN 和 / 或 Bluetooth 蓝牙通信。 该产品符合任何已批准无线使用的国家和地区的无线电频率和安全标准。根据配置,该产品可以(或不会)包含无线设备(如WLAN和/或Bluetooth蓝牙模块)。以下信息适用于配备此类设备的产品。 Acer在此声明此笔记本电脑系列符合Directive1999/5/EC的基本需求及相关规定。 至2009年7月份欧盟成员国包括:比利时、丹麦、德国、希腊、西班牙、法国、爱尔兰、意大利、卢森堡、荷兰、澳地利、葡萄牙、芬兰、瑞典、英国、爱沙尼亚、拉脱维亚、立陶宛、波兰、匈牙利、捷克、斯洛伐克、斯洛维尼亚、赛浦路斯、马尔它、保加利亚及罗马尼亚。 无线网络 Mini PCI 卡和蓝牙卡输出功率的辐射远低于 FCC 的无线频率暴露限制。但是此笔记本电脑系列应按以下正常操作过程中对潜在的人体接触最小的方式使用。 1 要求用户遵守包含在每个RF选项设备用户指南中有关无线选项设备的RF安全说明。 警告!为了符合FCCRF暴露设备需求,在内置于屏幕中的集成无线局域网MiniPCI卡与所有人之间都必须确保至少20厘米(8英寸)之间的距离。 注:无线 Mini PCI 适配器中含有传输多样性功能。此功能不会同时从两个天线中放射无线电频率。天线之一通过自动或手动(由用户)选择以确保获得高质量无线电通信。 2 由于本设备的操作范围介于5.15至 5.25GHz 之间,因此其受限于室内使用。FCC规定本产品必须在5.15至 5.25GHz 的频率范围之内的室内使用,以降低对于共享频道的移动卫星系统所造成的潜在性伤害。 此笔记本电脑系列系统采用了低增益内置式天线,该天线发射的RF范围未超过加拿大健康部(Health Canada)对一般人民的限制;请参阅“安全法规6”(Safety Code 6),该法规可在加拿大健康部的网站上获得,网址是www.hc-sc.gc.ca/rpb。 Panduan Pengguna Generik PC Notebook Seri TravelMate Nomor model: Nomor seri: Tanggal pembelian: Alamat pembelian: Baca petunjuk ini dengan seksama. Simpan dokumen ini untuk penggunaan di lain wartu. Patuhi semua peringatan dan petunjuk yang ditandai pada Produk ini. Lepaskan kabel Produk dari stopkontak sebelum membersihkannya. Jangan gunakan pembersih cair ata aerosol. Gunakan kain lembab untuk membersihkan. Patuhi panduan berikut staat memasang dan melepaskan unit catu daya: Pasang unit catu daya sebelum memasang konektor daya ke stopkontak. Lepaskan kabel daya sebelum melepaskan unit catu daya dari komputer. Jika systemdMEMILI besoina catu daya, matikan systemd dengan melepaskan semua konektor daya hari catu daya. Pastikan konektor daya dipasang ke stopkontak yang mudah dijangkau dan dekat dengan pengguna peralatan. Bila akan mematikan peralatan, pastikan Anda melepas konektor daya dari stopkontak. Saat dipaketkan, slot-slot kartu di komputer Anda diisi kartu tiruan dari plastik. Kemasan ini akan melindungi slot yang tidak digunakan dari debu, benda logam, atas partikel lainnya. Simpan kartu tiruan tersebut untuk dipasanglsi走去akada kartu dalam slot. Untuk melindungi pendengaran Anda, ikuti petunjuk sebagai berikut. Jangan gunakan Produk ini di dekat air. Peringatan! Pin ground merupakan fitur keselamatan. Menggunakan stopkontak yang tidak di-ground dengan benar dapat mencyebabkan sengatan listrik dan/atau cedera. Catatan: Pin ground juga memberikan perilindungan yang baik terhadap suara bising yang tidak diinginkan dari perangkat listrik lain di sekitar yang dapat mengganggu performa Produk ini. Jangan perbaiki sendiri Produk ini, karenaaat menutup dan membrukapenutupnya, Andaapat menuentuh titik tegangan berbahaya atau risiko lainnya. Serahkan seluruh perbaikan kepada teknisisi servis ahli. Lepaskan konektor produkt ini dari stopkontak, kemudian bawa ke teknisisi servis ahli bila: Catatan: Aturanya kontrol yang tertera pada petunjuk pengoperasian, karena pengaturan kontrol lainnya yang tidak sesuai dapat Memberebabkan kerusakan dan sering kali menyulitkan teknisih ahli untuk mengembalikan Produk ke kondisi normal. Notebook ini:Menggunakan baterai Lithium-ion. Jangan gunakan baterai therebyput di lingkungan yang lembab, basah, atas korosif. Jangan letakkan, simpan, atas biarkan produk Anda di dalam atas dekat sumberapanas, lokasi bersuhu tinggi, tempat yang terkena cahaya tersebut matahari langsung, oven microwave, atas tempat bertekanan, dan jangan letakkan di tempat yang bersuhu lebih dari 60^ (140^) . Tidak mengikuti panduan ini dapat mengakibatkan acid baterai bocor, baterai menjadi panas, meledak, atas terbakar, serta mengakibatkan cedera dan/atau kerusakan. Jangan potong, buka, atas bongkar baterai. Jika baterai bocor dan Anda menyentuh cairan yang bocor tersebut, basuh hingga bersih dengan air dan segera minta bantuan medis. Demi keselamatan dan untuk memperpanjang masa pakai baterai, jangan iso daya pada tempat bersuhu di bawah 0^ (32^) ),atasu di atas 40^ (104^) Performa bateraibaru secara menyeluruh akan tercapaianya setelah 2 atas 3 kali siklus pengisian dan penggunaan daya lenghtkap. Daya baterai dapat diisi dan digunakan tingga ratusan kali, namun pada akhirnya akan aus. Bila waktu penggunaan menjadi sangat singkat dari biasanya, beli bateraibaru. Gunakan dapat baterai yang disetujui, dan isi ulang daya baterai Anda dapat dengan menc gunakan pengis diaya yang disetujui dan ditujukan khusus untuk per orangkat ini. Gunakan baterai tersebut tujuan khusus tersebut. Jangan gunakan pengisi daya kepada baterai apapun yang rusak. Hindari hubungan pendek pada baterai. Hubungan pendek yang tidak disengaja dapat terjadi bila benda logamseperti koin, klip, kepada pena mengakibatkan hubungan langsung antara terminal positif (+) dan negatif(-)baterai. (Hubungan arus pendek ini terlihatseperti baris logam pada baterai.) Kondisi ini dapat terjadi, misalnya bila Anda membrawa baterai cadangan dalam kantong kepada tas Anda. Hubungan pendek pada terminal dapat merusak baterai kepada benda yang tersambung. Kapasitas danasa pakai baterai akan Berkurang jika baterai diletakkan di tempat yang panas kepada dingin, misalnya di mobil yang tertutup di musim panas kepada hujan. Coba simpan baterai selelu dalam suhu antara 15^ hingga 25^ (59°F tingga 77°F). Per orangkat dengan baterai yang panas kepada dingin mungskin tidak akan berfungsi untuk sementara waku, meskipun daya baterai terisi;penuh. Performa baterai menjadi terbatas terutama pada suhu di bawah titik beku. Jangan buang baterai dalam api karena dapat meledak. Baterai juga dapat meledak jika susak. Buang baterai sesuai peraturan setempat. Lakukan daur ulang baterai bila memungkinkan. Jangan buang baterai sebagai limbah rumah tangga. Perangkat nirkabel dapat berisiko interferensi dari baterai yang akan mendempengaruhi performa. Notebook ini:Menggunakan baterai lithium.Gunakan baterai pengganti sejenis yang disertakan bersama Produk ini. Penggunaan baterai lain dapat menyebabkan risiko kebakaran atau ledakan. Peringatan! Baterai dapat meledak jika tidak ditangani dengan benar. Jangan bongkar atau buang baterai ke dalam api. Jauhkan dari jangkauan anak-anak. Patuhi peraturan setempat bila akan membuang baterai bekas. Perhatian: Peralatan ini mengandungSYSTEM laser dan diklasifikasikan sebagai "PRODUK LASER KELAS 1". Apabila ada masalah dengan peralatan ini, harap hubungi pusat layanan RESMI terdekat. Guna menghindari paparan sinar laser langsung, jangan mencoba membruka penutup. PRODUK LASER KELAS 1 PERHATIAN: RADIASI LASER TIDAK TERLIHAT SAAT DIBUKA. HINDARI PEMAPARAN TERHADAP CAHAYA. APPAREIL A LASER DE CLASSE 1 PRODUIT LASERATTENTION: RADIATION DU FAISCEAU LASER INVISIBLE EN CAS D'OUVERTURE. EVITTER Toute EXPOSITION AUX RAYONS. LUOKAN 1 LASERLAITE LASER KLASSE 1 VORSICHT: UNSICHTBARE LASERSTRAHLUNG, WENN ABDECKUNG GEOFFNET NICT DEM STRAHLL AUSSETZEN PRODUCTO LÁSER DE LA CLASE I ADVERTENCIA: RADIACION LÁSER INVISIBLE AL SER ABIERTO. EVITE EXPONERSE A LOS RAYOS. ADVARSEL: LASERSTRÄLING VEDÄBNING SE IKKE IND I STRÄLEN. VARO! LAVATTAESSA OLET ALTTINA LASERSATEILLYLLE. VARNING: LASERSTRÄLNING NÄR DENNA DEL ÅR ÖPPNAD ÅLÅ TUIJOTA SÄTEESEENSTIRRA EJ IN I STRÄLEN VARNING: LASERSTRÁLNING NAR DENNA DEL ÅR ÖPPNADSTIRRA EJ IN I STRÄLEN ADVARSEL: LASERSTRÄLING NAR DEKSEL ÅPNESSTIRR IKKE INN I STRÄLEN Peringatan! Demi keselamatan, jangan gunakan komponent tambahan kepada pengganti yang tidak kompatibel. Untuk pilihan produk yang tersedia, hubungi agen Anda. Peringatan! Demi keselamatan, nonaktifkan semua per orangkat transmisiti radio untuk nirkabel akan menc gunakan laptop dalam kondisi sebagai bersut. Perangkat tersebut termasuk, namuntidak terbatas pada: LAN nirkabel (WLAN), Bluetooth, dan/atau 3G. Perhatian: peraturan khusus yang berlaku di manapun, dan selelu matikan perangkat Anda bila terdapat larangan penggunaan untuk bila timbul gangguan maupun bahaya. Gunakan perangkatnya pada posisi pengoperasian normal. Perangkat ini sesuai dengan panduan pemaparan RF bila digunakan secara normal, serta alat dan antenanya terpasang dengan jarak 1,5 cm (5/8 inci) dari tubuh Anda (lihat gambar di bawah ini). Perangkat tidak boleh mengandung logam dan speerti uraian di atas, jarak perangkat sebaiknya@cukup jauh dari tubuh Anda. Agar file data untuk pesan dapat berhasil dikirimkan, perangkat ini harus terhubung ke jaringan dengan kualitas koneksi yang baik. Pada kondisi tertentu, pengiriman file data untuk pesan dapat tertunda jika tidak tersedia koneksi. Pastikan Anda mematuhi petunjuktentangjang pemisah tingga pengiriman selesai. Komponen perangkat bersifat magnetis. Benda logam dapat menempel pada perangkat, dan orang yang meng gunakan kepada bantu dengan sebaiknya tidak menggenggam perangkat di telinga. Jangan letakkan kartu kredit kepada media penyimpanan magnetis lainnya di dekat perangkat, karena informasi yang tersimpan di dalamnya dapat terhapus. Penggunaan peralatan transmis radio termasuk ponsel, dapat mengganggu fungsi peralatan meds yang tidak terlindung secara memadai. Untuk mengetahui apakah peralatan meds tersebutcekup terlindingdari energia RF eksternal atau jika Anda memiliki pertanyaan lain, hubungi dokter atas produsen peralatan meds. Matikan per orangkat Anda bila sedang berada di fasilitas perawatan kesehatan yang mencantumkan peraturan untuk melakukannya. Rumah sakit kepada fasilitas perawatan kesehatan umumnya menjadi gunakan peralatan yang mungkinf sensitif terhadap transmis RF dari luar. Alat pacu jantung. Produsen alat pacu jantung menyarankan agar Anda menjaga jarak minimum sejauh 15,3 cm (6 inci) antara perangkat nirkabel dan alat pacu jantung untuk menghindari pemungkanan interferensi dengan alat pacu jantung tersebut. Saran tersebut sesuai dengan penelitian independen dan saran dari Wireless Technology Research. Pengguna alat bantu jantung harus: Alat bantu dangar. Sejumlah perangkat nirkabel digital dapat mengganggu menjadi kepada alat bantu dangar. Jika terjadi interferensi, hubungi penyedia layanan Anda. Sinyal RF dapat mempengaruhi sistem elektronik kendarana bermotor yang tidak dipasang kepada terlindung secara memadai, misalnya sistemas injeksi bahan bakar elektronik,SYSTEM rem anti slip (anti penguncian) elektronik,SYSTEM kontrol kecepatan elektronik, dansystemkantong udara. Untuk informasi lebih lanjut,anyakan kepada produsen kendarana untuk perwakilannya ingin kendarana Anda akan peralatan yang telah ditambahkan.Serahkan perbaikan untuk pemasangan per orangkat dalam kendarana tersebut kepada teknis ahli. Kesalahan pemasangan untuk perbaikan akan membahayakan dan dapat membatalkan jaminan yang berlaku untuk per orangkat.Periksa secara berkala untuk memastikan kepada semua peralatan nirkabel dalam kendarana Anda terpasang dan berfungsi dengan benar. Jangan simpan untuk letakkan per orangkat, komponen, maupun per orangkat tambahan dalamantu tempat dengan cairan dan gas yang mudah terbakar, untuk bahan yang mudah meledak.Pada kendarana yang dilengkapi tantong udara,lngat Bahwa cantong udara akan mengembang dengan sangat kuat.Jangan letakkan benda, termasuk peralatan nirkabel terpasang untuk portabel, di atasantong udara untuk di tempat mengembangnya cantong udara.Jika peralatan nirkabel di dalam kendarana tidak terpasang dengan benarjangtantong udara mengembang,dapat terjadi cederaparah.Dilarang mengmunakan per orangkat Anda di dalam pesawat terbang.Matikan per orangkat sebelum memasuki kabin pesawat.Penggunaan per orangkat telekomunikasi nirkabel di dalam pesawat terbang dapat membahayakan pengoperasian pesawat terbang,mengganggu jaringan telepon selular, dan melanggar peraturan yang berlaku. Matikan perangkat Anda di area beratmosfer rentan terhadap bahaya ledakan serta patuhi semua tanda peringatan dan petunjuk. Atmosfer rawan ledakan meliputi tempat yang biasanya mencantumkan peringatan untuk mematikan mesin kendaranaan. Percikan api di sekitar tempat tersebut dapat说我yebabkan ledakan oleh kebakaran yang mengakibatkan cedera tubuh, bahkan kematian. Matikan notebook di dekat pom bensi di tempat pengisian bahan bakar. Perharitikan larangan penggunaan peralatan radio di tempat pengisian, penyimpanan, dan distribusi bahan bakar; pabrik kimia; kepada di tempat berlangsungnya peledakan. Tempat beratmosfer rawan ledakan sering kali, namun tidak selalu, mencantumkan peringatan. Tempat tersebut meliputi ruang bawah ek kapal laut, fasilitas pengiriman kepada penyimpanan bahan kimia, kendaruan yang menggungan LPG (misalnya propana kepada butana), dan tempat dengan udara yang mengandung banah kimia kepada partikel, seperti butiran, debu, kepada serbuk logam. Jangan hidupkan notebook bila penggunaan ponsel dilarang kepada pengakibatkan interferensi maupun bahaya. Peringatan: Anda tidak dapat Memberbat panggilan darurat melalui per orangkat ini. Untuk memberbat panggilan darurat, Anda dapat menghubungi ponsel Anda ataupistem panggilan telepon lainnya. Jangan buang perangkat elektronik ke tempat sampah. Untuk meminimalkan polusi dan memaksimalkan kelestarian lingkungan global, lakukan daur ulang. Untuk informasi lebih lanjut tentang peraturan WEEE (penanganan limbah peralatan listrik dan elektronik), kunjungi http://www.acer-group.com/public/Sustainability/sustainability01.htm. Untuk bola lampu di dalam proyektor atau Produk elektronik yang mempunyai monitor atau layar LCD/CRT dengan cahaya latar non-LED: Lampu di dalamProduk tersebut mengandung merkuri, Seeingga harus didaur ulang atau dibuang seksuai undang-undang lokal, negara bagian, maupun federal. Untuk informasi lebih lanjut, hubungi Electronic Industries Alliance di www.eiae.org. Untuk informasi tentang pembuanganan lampu secara khusus, kunjungi www.lamprecycle.org. Produk Acer yang memenuhi syarat ENERGY STAR menghemat uang Anda dengan mencurangi biaya energia dan melindungi lingkungan tanpa mengorbankan fitur dan kinerja. Acer dengan bangga menawarkanproduk dengan simbol ENERGY STAR kepada pelanggan kami. Apakah ENERGY STAR itu? Produk yang memenuhi syarat ENERGY STAR.metrongunakan lebih sedikit energia dan mencegah emisi gas rumah kaca dengan memenuhi pedoman efisiensi energia yang ketat yang ditentukan oleh Badan Perlindungan Lingkungan A.S. (U.S. Environmental Protection Agency). Acer Berkomitmen untuk menawarkan produk dan layanan ke seluruh dunia yang membantu pelanggan menghemat uang, melestarikan energia dan memperbaiki kualitas lingkungan. Semakinanyak energia yang dapat kita hemat dengan efisiensi energia yang lebih tinggi, semakinanyak kita mengurangi gas rumah kaca dan risiko perubahan iklim. Untuk informasi lebih lanjut, lihat http://www.energystar.gov atau http://www.energystar.gov/powermanagement. Produk Acer yang memenuhi syarat ENERGY STAR: ENERGY STAR danmerek ENERGY STAR adalahmerek A.S. yang terdaftar. Pengguna komputer dapat mengalami kelelahan mata dan sakit kepada setelah penggunaan dalam waku t Lama. Pengguna juga dapat mengalami cedera fisik setelah bekerja dalam waku t lama di depan komputer. Durasi kerja, posisi duduk yang buruk, perilaku kerja yang buruk, stres, lingkungan kerja yang tidak nyaman, kesehatan pribadi, dan faktor lainnya dapat sangat menc Gatkan risiko cedera fisik. Penggunaan komputer yang sudah dapat menimbulkan gejala nyeri otot, nyeri sendi, kekakuan urat, atau gangguan otot rangka lainnya. Gejala berikut ini dapat dialami pada tangan, pergolangan tangan, lengan, bahu, leher, atau punggung: kebas, ata rasa panas maupun kesemutan Jika Anda mengalami gejala tersebut但对于她,她将要开始使用它。她将要使用它,因为它是用于帮助她进行各种工作。 Bagian berikut ini akan memberikan tips untuk menc Gatkan kenyamanan penggunaan komputer. Kenali tingkat kenyamanan Anda dengan kepada orang sudut pandang ke monitor, meng gunakan sandaran kaki, oleh meninggikan tempat duduk untuk memaksimalkan kenyamanan. Perhatikan tips berikut ini: Menatap terlalu lama, memakai kaca mata atau lensa kontak yang tidak sesuai, silau, lampu ruangan yang terlalu terang, fokus layar yang buruk, tampilan huruf yang terlalu kecil, dan kontras layar yang terlalu rendah dapat Memberuat mata Andalah. Bagian berikut ini berisi saran ingin cara mengurangi kelelahan mata. Jaga kebersihan layar Anda. menempatkanayar pada posisi menghadap ke jendela atau sumber cahaya Biasakan perilaku kerja berikut iniagar penggunaan komputer lebih produktif dan nyaman: Peringatan! Sebaiknya jangan gunakan komputer di sofa atop kasur. Jika terpaksa, jangan lakukan terlalu lama, berhenti sesekali, dan lakuman menjadi gerakan peregangan. Catatan: Untuk informasi lebih lanjut, lihat "Informasi peraturan dan keselamatan" pada halaman 36. Terima kasih telah memilih notebook Acer untuk memenuhi kebutuhan Anda atas komputer mobile. Untuk membantu AndaFFECTINGAN notebook Acer, kami menyediakan kumpulan panduan sebagai berikut: Pertama-tama, brosur Untuk Pemula... akan membantu Anda mempersiapan konfigurasi komputer. Buku Panduan Pengguna Generik Seri TravelMate berisi informasi berguna yang berlaku untuk semua model dalam seri Produk TravelMate. Panduan ini mencakup topik-topik dasar speerti Acer eRecovery Management, seksungakan keyboard, Audio, dsb. Mohon dimengerti karena sifatnya, baik Panduan Pengguna Generik maupun Buku Petunjuk AcerSystem (AcerSystem User Guide) yang disebutkan di bawah ini kadang-kadang mengaku pada fungsi-fungsi atas fitur-fitur yanganya terdapat dalam model-model tertentu dalam seri ini, tetapi tidak terdapat dalam model yang telah Anda beli. Dalam panduan ini, kasus-kasus speerti itu ditandai dengan kalimataseperti "hanya untuk model-model tertentu". Panduan.cepat akan menjelaskan fitur dan fungsi dasar komputer bara Anda. Untuk informasi telah lanjut tersebut cara komputer ini membantu Andaagar lebih produktif, lihat Buku Petunjuk AcerSystem (AcerSystem User Guide).Buku Petunjuk ini berisi informasi rinci tersebut topik,seperti utilitasystem, pemulihan data, berbagai pilihan, dan cara>mengatasi masalah. Buku Petunjuk ini juga berisi informasi jaminan{serta peraturan umum dan informasikeselamatan untuk notebook Anda.Tersedia dalam PDF (Portable Document Format) dan diberikan sebagai kelengkapan notebook Anda. Ikuti langkahlangkah berikut ini untuk mengaksesnya: 1 Klik Start, All Programs, AcerSystem. Catatan: Adobe Reader diperlukan untuk melihat file tersebut. Jika Adobe Readerbelum diinstal dalam komputer Anda, klik Buku Petunjuk AcerSystem (AcerSystem User Guide) untuk terlebihuju untuk mengelapan program konfigurasi Adobe Reader. Untuk menyelesaikan penginstalan, ikuti petunjuk pada layar. Untuk petunjuk ingin dengan Apoder Reader, akses menu Help and Support. xiv Untuk menghidupkan komputer,@cukup tekan dan lepas tambol daya di bawah layer LCD di sampng tambol easy launch. Lihat Panduan cepat untuk mengetahui lokasi tambol daya. Untuk mematikan daya, lakukan tindakan sebagai berikut: Anda juga dapat membuat komputer dalam mode sleep dengan menekan tambol pintas sleep Fn + F4 Catatan: Jika Anda tidak dapat mematikan komputer dengan cara biasa, tekan terus tambol daya selema lebih dari 4 detik untuk mematikan komputer. Jika Anda mematikan komputer, lalu ingin menghidupkannya kembali, tunggu minimal 2 detik sebelum menghidupkannya. Ko mputer akan berfungsi dengan baik jika Anda memeliharanya. Berikut adalah verbessapa cara untuk memelihara adaptor AC: Jangan pasang adaptor ke perangkat lain. Berikut adalah(Beberapa Cara untuk memelihara unit baterai: Saat membersihkan komputer, ikuti langkah-langah sebagai berikut: 1 Matikan komputer, Jalu lepas unit baterai. Jika terjadialahsatuhalberikut: lihat "Tanya jawab" pada halaman 31. III Petunjuk keselamatan iii Perhatian bidi Perangkat Drive Optik vii (hanya untuk model-model tertentu) viii Lingkungan pengoperasian viii Peralatan medis ix Kendaraan ix Lingkungan rawan ledakan ix Panggilan darurat X Petunjuk pembuangan X Informasi tentang merkuri X ENERGY STAR xi Tips dan informasi untuk kenyamanan penggunaan XIII Xiii Panduan Anda xiv Pemeliharaan dan tips dasar penggunaan komputer xiv Menghidupkan dan mematikan komputer xiv Memelihara komputer XV Memelihara adaptor AC XV Memeliharat unit baterai XV Membersihkan dan memperbaiki 1 Dasar-dasar panel sentuh 1 (dengan pembaca sidik jari) Dasar-dasar panel sentuh 2 (dengan tambol klik duala kali) 3 Tombol kunci dan tambol numerik tertanam* 3 Tombol Windows 4 5 Acer PureZone (hanya untuk model-model tertentu) 5 5 Tampilan 16:9 (hanya untuk model-model tertentu) 6 Acer Bio-Protection (hanya untuk model-model tertentu) 6 Acer Backup Manager 7 8 9 Bakar cakram cadangan 10 Kembalikan 11 Memulihkan Windows dari cakram cadangan 12 14 Karakteristik unit baterai 14 MemaksimalkanASApakabaterai 14 Mengakhiri sambungan dari desktop 18 Mempersiapkan computer 18 Membawa pulang komputer 19 Mempersiapkan komputer 19 Bepergiandenganmembawakomputer 20 Mempersiapkan komputer 20 Bepergian ke luar negeri dengan membrawa komputer 21 Mempersiapkan computer 21 Menggunakan kunci keamanan komputer 22 Memasukkan sandi 23 Pilihan konektivitas 24 Modem faks/data (hanya untuk model-model tertentu) 24 Antarmuka Multimedia Definisı Tinggi (hanya untuk model-model tertentu) 26 Utilitas BIOS 29 Urutan boot 29 Menggunakan perangkat lunak 30 Memutar film DVD 30 Meminta servis 34 ITW (International Travelers Warranty) 34 Persiapan sebelum menghubungti 34 Tips mengatasi masalah 35 Pesankesalahan 35 Pernyataan FCC 36 Informasi modem (hanya untuk model-model tertentu) 37 Pernyataan pikesel LCD 39 Informasi peraturan perangkat radio 39 Umum 39 Persyaratan FCCtentangkeselamatanRF 40 Kanada — Perangkat komunikasi radio berdaya rendah tanpa lisensi (RSS-210) 41 Exposure of humans to RF fields (RSS-102) 41 LCD panel ergonomic specifications 42 Panel sentuh internal yang canggih ini adalah perangkat penunjuk yang menerima gerakan pada permukaannya. Berarti kursor akan merespons kepada Jari Anda bergerak pada permukaan panel sentuh tersebut. Bagian tengah pada bidang tangan menyediakan kenyamanan dan dukungan yang optimal. Item-item berikut ini menunjukkan kepada Anda bagaimana bagiunganan tambol sentuh dengan pembaca sidik jari Acer BioProtection. Gerakkan jari Anda pada panel sentuh (1) untuk menggerakkan;kursor. Item-item berikut ini menunjukkan kepada Anda bagaimana bagiunganan tambol tersebut dengan tambol klik dia kali. Gerakkan jari Anda pada panel sentuh untuk menggerakkan;kursor. Catatan: Gambar ilustrasi dapat sebagai referensi. Konfigurasi yang pasti untuk PC Anda bergantung pada model yang Anda beli. Catatan: Bila seksungan panel sentuh, pastikan panel sentuh — dan jari Anda — tetap kering dan bersih. Panel sentuh peka terhadap gerakan jari; namun, semakin ringan penekanannya, akan semakin baik responsnya. Penekanan yang lebih keras tidak akan menc Gatkan kepekaan panel sentuh. Catatan: Secara default, pengguliran vertical dan horizontal diaktifkan pada panel sentuh. Pengguliran tersebut dapat dinonaktifkan dalam pengaturan Mouse dalam Control Panel Windows. Keyboard memiliki tambol lenghtkap termasuk keypad numerik tertanam*, kursor terpisah, kunci, Windows, tambol fungsi, dan tambol khusus. Keyboard memiliki tiga tambol kunci yang dapat diaktifkan dan nonaktifkan. Keypad numerik tertanam berfungsi setzen keypad numerik pada desktop. Keypad ini ditunjukkan dengan kanyakter kecil di sudut kanan atas keycaps. Untuk menyederhanakan keterangan keyboard, simbol tambol kontrol kurson tidak tercetak pada tambol. *havenutukmodel-modeltertentu Keyboard memiliki duo tambol yang menjalankan fungsi khusus Windows. Komputer ini juga dilengkapi Audio Definisı Tinggi (HD) 32-bit dan speaker. Sistem ini akan memberikan pengalaman audiobaru yang menyenangkan, termasuk Acer PureZone dengan mikrofon stereo internal yang menyediakan tekologi pembuatan gelombang suara dan penghilang gaung. Teknologi Acer PureZone mendukung Penghilang Gaung Akustik, Pembuatan Gelombang Suara, dan Peredam Bising untuk.hasilrekaman suara yang jernih. Untuk menc gunakan mikrofon, jalankan Acer HD Audio Manager dengan mengklik duala kali ikon Acer HD Audio Manager dalam baris sistem Windows. Kotak dialog Acer HD Audio Manager akan ditampilkan. Klik tab Mikrofon, lalu klik tab Efek Mikrofon. Pilih Pembuat Gelombang Suara dan Penghilang Gaung Akustik untukmenetapkan efek mikrofon. Catatan: Nonaktifkan pembuatan gelombang sua untuk mendapatkan bereits input sumber suara. Tampilan 16:9 menchadirkan bioskop Definisi Tinggi Sepenuhnya yang belum pernah ada sebelumnya. Kejenuhan warna yang sangat tinggi menjamin Anda mendapatkan pengalaman menjaksikan Definisi Tinggi otentik. 16:9 berarti visual home theater-Sejati akhirnya telah hadir bagi penggemar hiburan notebook. Acer Bio-Protection Fingerprint Solution adalah paket perangkat lunak serba fungsi yang terintegrasi dengan systemd operasi Microsoft Windows. Dengan membuat keunikan fitur sidik jari seseorang, Acer Bio-Protection Fingerprint Solution mencintegrasikan perlindungan dari akses yang tidak sah ke komputer Anda dengan manajemen sandi terpusat melalui Bank Sandi;{serta peluncuran aplikasi/situs web yang cepat dan juga login dengan Acer FingerLaunch. Dengan Acer Bio-Protection Fingerprint Solution, kini Anda dapat mencatiti tingkatan perlindungan tambahan untuk PC Anda, dan kenyamanan dalam mengakses tugas sehari-harianya dengan sentuhan jari! Untuk informasi lebih lanjut, lihat file bantuan Acer Bio-Protection. Catatan: Fitur inianya tersedia pada model-model tertentu. Acer Backup Manager adalah proses tiga langkah sederhana yang memungkankan Anda untuk membuat salinan cadangan sistem secara keseluruhan oleh file dan folder tertentu seksuai dengan jalwal oleh ketika Anda perlu makukannya. Untuk memulai Acer Backup Manager, tekan tambol Acer Backup Manager di atas keyboard. Atau, Anda dapat membuka Mulai > Semua Program > Acer Backup Manager > Acer Backup Manager. Langkah ini akan membuka layar Selamat Datang; dari layar ini Anda akan dibawa ke tiga langkah untuk menyetetel cadangan terjadwal. Klik Lanjutkan untuk melanjutkan ke layar berikutnya. Klik tambol + dan ikuti petunjuk pada layar: 1 Pilih konten yang cadangannya akan Anda buat. Semakin sedikit konten yang Anda pilih, semakin cepat proses akan berjalan, tetapi hal ini akan menclngkatkan risiko Anda kehilangan data. Setelah Anda menyelesaikan tiga langkah ini, cadangan akan dibuat sesuai dengan jadwal. Anda juga dapat memuat cadangan secara manual dengan menekan tambol Acer Backup Manager. Jika kapan saja Anda hendak mengubah setelan Anda, jalankan Acer Backup Manager dari menu Mulai dan laksanakan tiga langkah yang diuraikan di atas. Ko mputer ini dilengkapi unit manajemen daya terpasang yang akan memantau aktivitas system. Aktivitas system mengaku pada aktivitas apapun yang melibatkan situ untuk menjadi per orangkat di bawah ini: keyboard, mouse, hard disk, periferal yang tersambung ke komputer, dan memori video. Jika tidak ada aktivitas yang terdeteksi selama jangka waktu tertentu (disebutatas waktu tidak aktif), komputer akan menghentikan menjadi kepada atas semua per orangkat untuk menghemat energi. Ko mputer ini menerapkan skema manajemen daya yang mendukung ACPI (advanced configuration and power interface), berfungsi untuk menghemat daya secara maksimum sekalis. memberikan performa yang maksimum. Windows akan mencangi semua fungsi hemat daya untuk komputer Anda. Catatan: Fitur inianya tersedia pada model-model tertentu. Tombol Acer PowerSmartILLSINGAN. Acer eRecovery Management adalah alat untuk memulihkan sistem dengan cepat. Anda dapat membuat cadangan/memulihkan image standar pabrik tersebut menginstal ulang aplikasi dan driver. Catatan: Semua isi kemasan di bawah ini dapat berbeda umum. Spesifikasi Produk yang sebenarnya dapat berbeda. Acer eRecovery Management terdiri dari fungsi-fungsi di bawah ini: 1 Cadangan: 2 Kembalikan: Pulihkan Sistem Sepenuhnya ke Standar Pabrik Bab ini akan memandu Anda memahami proses setiap fungsi di atas. Catatan: Fitur inianya tersedia pada model-model tertentu. Untuk sistem yang tidak dilengkapi optical disc burner terpasang, gunakan optical disc burner eksternal sebelummenjalankan Acer eRecovery Management pada tugas yang terkait dengan disk optik. Andarhusmengatur sandi terlebih dahulu untuk menggunakan fitur proteksi sandi Acer eRecovery Management untuk memproteksi data Anda. Sandi disetel dengan menjalankan Acer eRecovery Management danCCCCCC Pengaturan. Dari halaman Cadangan Acer eRecovery Management, Anda dapat membakar image standar pabrik atau driver cadangan dan aplikasi. 1 Klik Start, All Programs, Acer, Acer eRecovery Management. 3 Pilihjisicadangan(standarpabrikataudriverdanaplikasi)yanging Inandabakarkacram. Catatan: Pilih image standar sabrik apabila Anda ingin menjadi kacam yang摆在 ini. Jika Anda akan mengobat dengan ini, dan mengelutkakan pada Anda di pamik. Jika ada untuk mengobat dengan ini, dan mengelutkakan pada Anda di pamik. Dengan fitur pemulihan Anda bisa memulihkan oleh mengembalanisme dengan materi yang dan materi yang dan materi yang dan materi yang dan materi yang dan materi yang dan materi yang dan materi yang dan materi yang dan materi yang dan materi yang dan materi yang dan materi yang dan materi yang dan materi yang dan materi yang dan materi yang dan materi yang dan materi yang dan materi yang dan materi yang dan materi yang dan materi yang dan materi yang dan materi yang dan materi yang Dan 1 Klik Start, All Programs, Acer, Acer eRecovery Management. 3 Andapat memiliuhntukmemulihkansistemdariimagestandarpabrik atau menginstal ulang aplikasi dan driver. Catatan: Fitur inianya tersedia pada model-model tertentu. Untuk memulihan Windows dari cakram cadangan yang telah dibakar sebelumnya, Anda harus memasukkan cakram cadangan pertama dan membuat F12 Menu Boot melalui Utilitas Pengaturan BIOS. 1 Hidupkan komputer Anda dan masukkan cakram pemulihan system yang pertama ke drive cakram optik. Start ulang komputer Anda. Jika Anda lebih menjadi prioritas boot untuk penggunaan jangka panjang, Anda harus memilih submenu Boot. 1 Hidupkan komputer Anda dan masukkan cakram pemulihan sistem yang pertama ke drive cakram optik. Start ulang komputer Anda. Ko mputer menggunakan unit baterai yang memberikan waktu penggunaan lama sebelum daya diisi kembali. Berikut adalah karakteristik unit baterai: Baterai akan terisi ulang setiap kali Anda menghubungkan komputer ke adaptor AC. Komputer Anda mendukung pengisian daya secara digunakan, sehingga Anda dapat mencisi ulang daya baterai sewaksi mengoperasikan komputer. Namun, pengisian ulang daya baterai kepada komputer dimatikan akan sarat mempersingkat waktu pengisian daya. Baterai akan bermanfaat bila Anda bepergian ataat listrik mati. Sebaiknya miliki unit baterai yang terisi PENH daya sebagai cadangan. Untuk informasi lengkap tersebut pemesanan unit baterai cadangan, hubungi dealer Anda. Samasepertesemua baterai lainnya,performa baterai komputer Anda akanmenurunseiring waktu.Artinya,performa baterai akanmenurun akibat waktudanpenggunaan. Untukmemaksimalkanmasapakai baterai,sebaiknyaikuti saranyang dijelaskandi bawah ini. Sebelum mencategorikan unit baterai untuk pertama kalinya, Anda harus mencakit proses "persiapan": 1 Pasang bateraibaru tanpa menghidupkancomputer. Ulangi langkah-langah tersebut hingga daya baterai terisi dan habis sebanyak tiga kali. Gunakan proses persiapan ini untuk semua bateraiantu ata jika baterai telah lama tidak digunakan. Jika komputer akan disimpan selama telah dari duala minggu, sebaiknya lepaskan unit baterai dari komputer. Peringatan: Jangan biarkan unit baterai berada dalam suhu di bawah 0^ (32^) ),atau di atas 45^ (113^) .Suhu berlebihan dapat berdampak buruk bagi unit baterai. Dengan mencikuti proses persiapan baterai berarti Anda mempersiapkan baterai untuk menerima pengisian daya semaksimal mungkin. Jika Anda tidak mencikuti prosedur tersebut,.make pengisian daya baterai tidak akan maksimal dan akan mempersingkat efektivitasasa pakai baterai. Berikut adalah pola penggunaan yang akan berdampak buruk terhadapASApakaibaterai: Penting! Sebelum melepaskan baterai dari unit, sambungkan adaptor AC jika Anda ingin terus bagiakan komputer. Jika tidak, matikan komputer lebih dulu. Untuk memasang unit baterai: 1 Sejajarkan baterai dengan tempatnya yang terbuka; pastikan bagian tepi dengan bidang kontak masuk lebih dulu dan permukaan atas baterai menghadap ke atas. Untuk melepaskan unit baterai: 1 Geser kunci pelepas baterai untuk melepaskan baterai. Untuk mengisi daya baterai, pastikan dulu baterai terpasang dengan benar pada tempatnya. Pasang adaptor AC ke komputer, lalu sambungkan ke stopkontak. Anda dapat terus mencoperasikan komputer dengan daya AC sementara daya baterai diisi. Namun, pengisian daya akan komputer dimatikan akan sangat mempersingkat waku pengisian daya. Catatan: Sebaiknya isi daya baterai sebelum selesal untuk pengunjakan komputer. Sebaiknya isi daya baterai sepanjang malam sebelum bepergian agar Anda dapat mengunjakan komputer dengan baterai terisi;pohon pada keesokan harinya. Indikator daya Windows menunjukkan tingkat baterai aktual. Arahkan kursor pada ikon baterai/daya di baris tugas untuk melihat tingkat daya baterai yang tersedia. MengoptimalkanASApaikabateraikanmembantuAndamemaksimalkanpenggunaanbaterai,memperpanjangsikluspengisian/pengisianulangdaya,danmeningkatkanefisiensi pengisianulangdaya.Sebaiknyaikuti saranyangdijelaskandi bawahini: Bila seksungan daya baterai, perhatikan indicator daya Windows. Peringatan: Sambungkan adaptor AC segera setelah peringatan daya baterai hampir habis muncul di layar. Data akan hilang jika daya baterai benar-benar habis dan komputer mati. Bila peringga daya baterai hampir habis muncul, tindakan yang disarankan akan tergantung pada kondisi Anda: Bagian ini berisi tips dan petunjuk yang dapat dipertimbangkan bila akan bepergian atau seksukan perilalan dengan membrawa komputer. Ikuti langkah-langkah berikut untuk mengakhiri sambungan komputer dari akesesori eksternal: 1 Simpan file yang sedang dibuka. Bila Anda berpindah tempat dalam jak dekat, misalnya, dari在哪a kerja ke ruang pertemuan. Sebelum memindahkan komputer, tutup dan kunci penutup layar untuk mengaktifkan mode Sleep. Setelah itu, Anda dapat membawa komputer ke manapun di dalam gedung. Untuk keluar dari mode Sleep, buka layar, lalu tekan dan lepas tambol daya. Jika komputer akan dibawa ke kantor klien atas gedung lain, Anda dapat memilih untuk mematikan komputer: Klik Start, kemudian klik Shut Down. Atau: Anda dapat mengatur komputer ke mode Sleep dengan menekan Bila Anda siap seksungakan komputer kembali, lepas kunci dan buka layar, lalu tekan dan lepas tambol daya. Catatan: Jika indicator Sleep mati, berarti komputer telah beralih ke mode Hibernation dan mati. Jika indicator daya mati namun indicator Sleep.), berarti komputer menjentifikan mode Sleep. Untuk kedua keadaan di atas,Tekan dan lepas tambol daya untuk menghidupkan kombali komputer. Perlu diketahui bahwa komputer dapat menjentifikan mode Hibernation setelah berada dalam mode Sleep Selama menjadi waktu yang telah ditentukan. Jika pertemuan@cukup singkat,Anda mungkin;tidak perlu membrawa apapun kecualikomputerAnda.Namunjika pertemuanakanberlangsunglebihlama atau jika bateri;tidak terisi penuh,sebaiknya bawa adaptor AC untuk sambungandayakomputerdi ruangpertemuan. Jika di ruang pertemuan tidak tersedia stopkontak, kurangi pemakaian baterai dengan;mengaktifkan mode Sleep. Tekan < Fn > + < F4> untuk menutup penutuplayeraatAndatidak meng gunakan komputer segara aktif.Untukmelanjutkan, buka layar (jika tertutup),lalu tekan dan lepas tambol daya. Bila Anda pulang dari kantor ke rumah atau sebaliknya. Setelah sambungan komputer dari desktop dimatikan, ikuti langkah-langkah di bawah ini untuk mempersiapkan komputer dalam perjalanan ke rumah: Perhatian: Hindari penggunaan bahan kemasan di sisi penutup atas komputer. Tekanan pada penutup atas dapat merusak layar. Bila tidak tersedia di rumah, bawa item berikut: Adaptor AC dan kabel daya Ikuti panduan ini untuk melindungi komputer Selama dalam perjalanan ke dan dari kantor: Jika sering bekerja seksungakan komputer di rumah, Anda dapat membeli adaptor AC untuk penggunaan di rumah. Dengan adaptor AC kedua, Anda terhindar daribeen bawaan tambahan dari dan ke rumah. Jika akan menc gunakan komputer di rumah untuk waktu yang@cukuplama, Anda juga dapat menambahan keyboard eksternal, monitor, atau mouse. Bila Anda berpindah tempat dengan jalak yang lebih jauh, misalnya dari gedung cantor ke gedung cantor klien atau perjalanan dalam kota. Persiapkan komputer speerti ketika Anda membrawanya pulang ke rumah. Pastikan baterai komputer terisi daya. Keananan bandara mungkin meminta Anda menghidupkan komputer staat membrawanya ke area gerbang masuk. Bawa item di bawah ini: adaptor AC Petunjuk tambahan ingin mengembawa pulang komputer, ikuti petunjuk di bawah ini agar komputer akan Selama dalam perjalanan: Bawa selalu komputer di dalam tas jingjing. Bila Anda bepergian antar negara. Persiapkan komputerseperti ketikaAnda membrawanya dalamperjalanan. Bawa item di bawah ini: adaptor AC Ikuti petunjuk khusus ketika akan bepergian dengan membrawa{serta komputer. Selain itu, tips berikut kepada bermanfaat saat melakukan perjalanan internasional: Ko mputer Anda merupakan investasi berharga yang perlu Anda jaga. Pelajari petunjuk untuk melindungi dan menjaga komputer Anda. Fitur keamanan mencakup penguncian perangkat keras dan perangkat lunak — lubang pengaman dan sandi. Notebook dilengkapi slot keamanan untuk kunci keamanan yang kompatibel dengan Kensington. Lilitkan kabel kunci keamanan komputer ke benda sekitar yang tidak dapat bergerak, misalnya meja ataupegangan laci yang terkunci. Masukkan kunci ke dalam lubang, kemudian putar kunci untuk menguncinya. Beberapa model tanpa kunci juga tersedia. Sandi berfungsi melindungi komputer Anda dari akses tanpa izin. Pemuatan sandi ini akan mengelompokkan(Beperapa tingkat pengamanan komputer dan data: Penting! Jangan lupakan sandi Supervisor Anda! Jika Anda lupa sandi, hubungi dealer atau pusat servis resmi terdekat. Saat sandi dibuat, pesan permintaan sandi akan muncul di bagian tengah layar tampilan. Penting! Anda memiliki tiga kesempatan untuk memasukkan sandi. Jika Anda gagal memasukkan sandi yang benar tiga kali berturut-turut, sistem akan mati. Tekan terus tombol daya selama empat detik tingga komputer mati. Setelah itu, hidupkan kembali komputer, kimudian cobaLAGI. Anda dapat kepada sandi tersebutkan utilitas BIOS. PC notebook ini memberikan pengalaman berkomputer secara mobile yang lengkap kepada Anda. Melalui sejumlah port yang tersedia, Anda dapat mencambungkan perangkat periferal ke komputerseperti jika menggunakan PC desktop. Untuk petunjuk tentang cara mencambungkan perangkat eksternal lainnya ke komputer, bacalah bagian berikut ini. Ko mputer Anda memiliki modem faks/data V.92 56 Kbps terpasang. (hanya untuk model-model tertentu) Peringatan! Port modem ini tidak kompatibel dengan saluran telepon digital. Pemasangan modem ini ke saluran telepon digital akan merusak modem. UntukAPEngunakan port modem faks/data, pasang kabel telepon dari port modem ke konektor telepon. Peringatan! Pastikan kabel yang Anda gunakan tersebut denganjni konektor di negara tempat Anda menc gunakannya. Fitur jaringan terpasang tersedia untuk menghubungkan komputer ke jaringan berbasis Ethernet. Untuk seksputan fitur jaringan, pasang kabel Ethernet dari port Ethernet (RJ-45) pada chassis komputer ke konektor jaringan kepada hub di jaringan Anda. Port USB 2.0 adalah serial bus berkecepatan tinggi untuk menuyangkapan periferal USB tanpa mengambil sumber daya systemd yang lebih penting. Port IEEE 1394 pada komputer digunakan untuk memasang per orangkat yang kompatibel dengan IEEE 1394 speerti camera video kepada camera digital. Untuk informasi rinci, lihat dokumentasi camera video kepada camera digital Anda. Antarmuka Multimedia Definisı Tinggi (HDMI) adalah/sebuah antarmuka yang didukung industri, tidak dimampatkan, audio/video serba digital. HDMI memberi antarmuka di antara segala sumber audio/video digital yang kompatibel,seperti set-top box, pemutar DVD,dan penerima A/V serta audio digital dan/atau monitor video yang kompatibel,seperti televisi digital (DTV), melalui dapat buah kabel. Gunakan port HDMI pada komputer Anda untuk makukan koneksi dengan peralatan audio dan video mutakhir. Dengan penggunaan babel tunggal bisa tercipta pengaturan yang rapi dan koneksi yang cepat. ExpressCard merupakan versi Kartu PC terbaru. Sebagai antarmuka yang lebih kecil dan lebih cepat, kartu ini lebih mencakatan kegunaan dan daya jangkau komputer Anda. ExpressCard mendukung sejumlah pilihan ekspansi yang lebih luas, termasuk adapter kartu memori flash, TV-tuner, konektivitas Bluetooth, dan adapter IEEE 1394B. ExpressCard mendukung aplikasi PCI Express dan USB 2.0. Penting! ExpressCard tersedia dalam dualajis, ExpressCard/54 dan ExpressCard/34 (54mm dan 34mm), masing-masing dengan duala fungsi yang berbeda. Tidak semua slot ExpressCard mendukung kedujaenis ini. Untuk informasi rinci, lihat panduan kartu Anda tentang cara memasang dan mencgunakan kartu tersebut beserta fungsinya. Masukkan kartu ke slotnya, kemudian tekan perlahan tingga terkunci dengan benar. Sebelum mengeluarkan ExpressCard: 1 Tutup aplikasi yang bagiakan kartu tersebut. Untuk memasang memori, ikuti langkah-langah di bawah ini: 1 Matikan komputer, lepas adaptor AC (jika terpasang) dan lepas unit baterai. Setelah itu, balik komputer untuk menjangkau bagian dasarnya. 4 Pasang kembali penutup memori, kimudian kencangkan dengan sekrup. Ko mputer akan mendeteksi dan mengkonfigurasi ulang ukuran memori total secara otomatis. Tanyakan teknis i yang berpengalaman atau hubungi dealer Acer terdekat. Utilitas BIOS adalah program konfigurasi perangkat keras yang dibuat pada BIOS komputer Anda. Ko mputer Anda telah dikonfigurasi dan dioptimalisi dengan benar, sehingga tidak perlu menjalankan utilitas ini. Namun, jika mengalami masalah konfigurasi, Anda harus menjalankanya. Untuk meldaktifkan utilitas BIOS, tekan Untuk kepada urutan boot pada utilitas BIOS, aktifkan utilitas BIOS, lalu akan Boot dari Daftar kategori yang tersedia di bagian atas layar. Untuk membuat pemulihan setiap disk (pemulihan hard disk), aktifkan utilitas BIOS, lalu pilih Main [Utama] dari kategori yang tercantum di bagian atas layar. Cari D2D Recovery [Pemulihan D2D] di bagian bawah layar, kemudian gunakan tambol Untuk Memberbat sandi saat boot, aktifkan utilitas BIOS, lalu pihit Security [Keananan] dari kategori yang tercantum di bagian atas layar. Cari Password on boot: [Sandi saat boot]:, kemudian gunakan tambol Catatan: Fitur inianya tersedia pada model-model tertentu. Anda dapat memutar film DVD di komputer, bila modul DVD drive terpasang di ruang drive optik. 1 Mengeluarkan disk DVD. Penting! Bila nutzen kemutar DVD untuk pertama kalanya, program akan meminta Anda memasukkan kode kawasan. Disk DVD dibagi dalam 6 kawasan. Setelah drive DVD ditetapkan dengan kode kawasan, drive DVD tersebut olehanya akan memutar disk dengan kawasan yang sama. Anda dapat menetapkan kode kawasan tingga 5 kali (termasuk yang pertama), kode kawasan yang terakhir dimasukkan akan digunakan secara permanen. Pemulihan hard disk tidak dapat mencatur ulang jumiah kode kawasan yang telah ditetapkan. Untuk informasi kode kawasan film DVD, lihat tabel di bawah ini. 2 Film DVD akan diputar secara otomatis setelah(Beberapa detik. Catatan: Untuk mengubah kode kawasan, masukkan film DVD dari kawasan lain ke dalam drive DVD. Untuk informasi lebih lanjut, lihat bantuan online. Berikut adalah daftar kemungkan kondisi yang dapat terjadi untuk meng gunakan komputer. Tersedia solusi tidak untuk setup kondisi. Saat menekan tambol daya, komputer tidak hidup atau menjalankan boot. Lihat indicator daya: Jika tidak mencapa, berarti daya tidak mengalir ke komputer. Periksa kondisi di bawah ini: Jika Andaethinggunakan baterai, mungkin daya baterai lemah sehingga tidak dapat menghidupkan komputer. Pasang adaptor AC untuk mengisi ulang daya unit baterai. Jikamaryala,periksa kondisi di bawah ini: Tidak ada tampilan apapun pada layar. Sistem manajemen daya komputer akan secara otomatis menonaktifkan layar untuk menghemat daya. Tekan tambol apa saja untuk mengaktifkan kembali layar. Jika overlayshidakaktifsaattombolditekan,tigakemungkinanpenyebabnya adalah: Periksa kondisi di bawah ini: Lubang pelepas mekanik terdapat pada drive optik. Cukup masukkan ujang pena atau penjepit kertas ke dalam lubang tersebut, kemudian dorong untuk melepaskan tempat drive optik tersebut. Coba pasang keyboard eksternal ke port USB pada komputer. Jika berfungsi, hubungi dealer ataupusat layanan resmi karena kabel keyboard internal mungkin longgar. Periksa kondisi di bawah ini: Pastikan printer telah tersambung ke stopkontak dan dihidupkan. Saya ingin mengembalikan komputer ke pengaturan awal tanpa mencgunakan CD pemulihan. Catatan: Jika systemd Anda adalah versi multibahasa,SYSTEM operasi dan bahasa yang dipilih kepada pertama kali systemd diaktifkan akan menjadiantu-satunya pilihan untuk mencjalankan pemulihan selanjutnya. Proses pemulihan ini akan membantu Anda mengembalikan drive C: dengan konten perangkat lunak asli yang diinstal那么简单. Untuk membuat ulang drive C: Anda, ikuti langkah-langkah di bawah ini. (Drive C: Anda akan difragment utung dan semua data akan terhapus.) Sebaiknya buat cadangan semua file data sebelum meng gunakan pilih ini. Sebelummenjalankanprosedurpengembalian,periksapengaturanBIOS. 1 Pastikan Acer disk-to-disk recovery [Pemulihan setup disk Acer] telah diaktifkan. Catatan: Untuk mengaktifkan utilitas BIOS, tekan Untuk memulai proses pemulihan: 1 Hidupkan ulang system. Penting! Fitur ini menc gunakan kapasitas 15 GB pada partisi tersembunyi dalam hard disk Anda. Komputer Anda didukung oleh ITW (International Travelers Warranty) yang memberikan keamanan dan kenyamanan selama perjalanan. Jaringan pusat layanan kami di seluruh dunia siap membrantu Anda. Ko mputer Anda dilengkapi paspor ITW. Paspor ini berisi semua hal yang perlu Anda ketahui tentang program ITW. Daftar pusat layanan resmi yang tersedia tercantum dalam buket praktis ini. Baca paspor ini dengan cermat. Bawa selelu paspor ITW Anda, terutama bila akan seksukan perjalanan, untuk mendapatkan manfaat dari pusat dukungan kami. Simpan bukti pembelian Anda di bagian dalam sampul depan paspor ITW. Jika negara yang dikunjungti tidak memiliki kantor servis ITW resmi Acer, Anda tetap dapat berhubungan dengan kantor kami di seluruh dunia. Kunjungi http://global.acer.com. Sediakan informasi di bawah ini bila menghubungti layanan online Acer. Sebaiknya Anda berada di dekat komputer selama panggilan berlangsung. Dengan dukungan Anda, kami dapat mencurangi waktu panggilan yang diperlukan dan membantu menyelesaikan masalah Anda secara efisien. Jika terdapat pesan kesalahanan ataun bunyi bip pada komputer Anda, catat pesan yang muncul di layar (atau jumlah dan rangkaian bunyi bip tersebut). Anda diminta memberikan informasi di bawah ini: Nama: Alamat: Nomor telepon: Ko mputer danjisimodel: Nomor seri: Tanggal pembelian: Bab ini akan menunjukkan cara menangani masalah sistem yang umum. Baca bab ini sebelum menghubungti teknisi jika terjadi masalah. Solusi untuk masalah yang lebih serius mengharuskan komputer dibuka. Jangan coba mencubaka komputer sendiri, hubungi dealer Anda ataupusat layanan resmi untuk mendapatkan bantuan. PC notebook ini dilengkapi desain lanjutan yang berisi laporan pesan kesalahan pada layar untuk membantu Anda mengatasi masalah. Jika systemd melaporkan pesan kesalahan atas terjadi gejala kesalahan, lihat "Pesan kesalahan" di bawah ini. Jika masalah tidak dapat diatasi, hubungi dealer Anda. Lihat "Meminta servis" pada halaman 34. Jika Anda tenerima pesan kesalahan, perhatikan pesan, kimudian lakukan tindakan perbaikan. Tabel berikut mencantumkan pesan kesalahan menurut abjad beserta tindakan yang disarankan. Jika Andareshimengalami masalahsetelahmelakukan tindakanperbaikan,hubungid dealerAndataupat layanresmiuntuk mendapatkanbantuan.Beberapamasalahdapat diatasi menggunakanutilitasBIOS. Perangkat ini telah diuji dan dinyatakan sesuai dengan standar untuk perangkat digital Kelas B sesuai Bab 15 peraturan FCC. Standar ini dirancang untuk memberikan perlindungan yang memadai terhadap interferensi berbahaya pada pemasangan di rumah. Perangkat ini menghasilan, menc gunakan, dan dapat memancarkan energia frekuensi radio, sama dapat menyebabkan interferensi berbahaya pada komunikasi radio, jika tidak dipasang dan digunakan sesuai petunjuk. Namun, tidak ada jaminan bahwa interferensi tidak akan terjadi pada pemasangan tertentu. Jika perangkat ini terbukti Memberebabkan interferensi berbahaya terhadap dengan gelombang radio untuk television, yang dapat diketahui dengan menghidupkan dan mematikan perangkat tersebut, pengguna disarankan untuk mencoba mengatasi interferensi dengan melakukan tahun untuk menjadi aktivasi untuk mengidrogen. Semua sambungan ke perangkat komputer lain HARUS menggunakan kabel berpelindung agar sesuai dengan peraturan FCC. Gunakan herself a periferal (perangkat input/output, terminal, printer, dll.) yang memiliki tertifikasi standar Kelas B untuk dipasang ke peralatan ini. Pengoperasian dengan periferal tanpasertifikasi mungkin akan menyebabkan interferensi pada penerimaan radio dan TV. Perubahan kepada modifikasi yang tidak disetujui secara tertulis oleh produsen dapat membatakkan kewenangan pengguna untuk mengoperasikan komputer ini, sebagaimana ditetapkan oleh Federal Communications Commission. Perangkat digital Kelas B ini sesuai dengan Canadian ICES-003. Cet apparéil numérique de la classe B est conforme à la norme NMB-003 du Canada. Peralatan ini sesuai dengan Bab 68 peraturan FCC. Label pada modem antara lain berisi Nomor Registrasi FCC dan Kesamaan Jumlah Dering (REN) untuk peralatan ini. Bila diminta, Anda harus memberikan informasi ini ke perusahaan telepon Anda. Jika peralatan telepon Anda mengganggu jaringan telepon, perusahaan telepon dapat menghentikan layanan Anda untuk sementara waktu. Jika mungkin, Anda akan diberitahukan sebelumnya. Namun, jika pemberituhuan awal tidak dapat dilakukan, Anda akan diberitahukan sesegera mungkin. Anda juga akan diberitahukan tersebut hak Anda untuk mengajukan keluhan terhadap FCC. Perusahaan telepon Anda dapat melakukan perubahan pada fasilitas, peralatan, pengoperasian, ata prosedur yang dapat mempengaruhi fungsi peralatan Anda sebagaimana mestinya. Jika hal tersebut dilakukan, Anda akan diberitahukan sebelumnya untuk menjaga agar layanan telepon tidak terputus. Jika peralatan ini tidak beroperasi sebagaimana mestinya, putuskan sambungan peralatan dari saluran telepon untuk mengetahui apakah peralatan tersebut mutyebabkan masalah. Jika ternyata peralatan tersebut mengalami masalah, hentikan penggunaannya, kemudian hubungi agen atau vendor Anda. Perhatian: Untuk mengurangi risiko kebakaran, gunakannya AWG No. 26 oleh Kabel Sambungan Telekomunikasi yang sesuai UL oleh memiliki Sertifikasi CSA. Peralatan ini telah disetujui [Ketetapan Dewan 98/482/EC - "TBR 21"] untuk sambungan terminal tunggal ke PSTN. Namun, karena perbedaan antara setiap PSTN yang tersedia di berbagai negara, izin tersebut tidak dengan sendirinya memberikan jaminan keberHASILAN pengOPERASIAN tanpa syarat di setiap titik terminal PSTN. Jika terjadi masalah, sebaiknya segera hubungi penyedia peralatan Anda. Untuk informasi lebih lanjut ingin negara-negara yang sesuai, harap lihat "Informasi peraturan dan keselamatan" pada halaman 36. Demi keselamatan, sambungkan headset tersebut dengan label yang sesuai untuk telekomunikasi. Headset tersebut mencakup peralatan pelanggan yang sebelumnya telah diberi label diizinkan kepada memilikisertifikasi. 1 Pemberian Telepermit untuk item peralatan terminalnya menunjukkan oleh Telecom telah menerima kesesuaian item tersebut terhadap ketentuan minimum pada sambungan ke jaringannya. Telepermit tidak mencayarakan pemesahan Produk oleh Telecom dan tidak memberikan jaminan dalam;bentuk apapun.Terutama, tidak memberikan jaminan oleh item apapun akan berfungsi secara benar dalam kaitannya dengan item peralatan lain dari berbagai model danmerek yang memiliki Telepermit, juga tidak mencayarkan oleh Telecom untuk mengapun kompatibel dengan semua layanan jaringan Telecom. a Panggilan yang tidakkan tidak boleh lebih dari 10 kali ke nomor yang sama dalam jangka waktu 30 menit untuk situ upaya panggilan secara manual, dan 4 Beberapa parameter yang diperlukan untuk kesesuaian dengan persyaratan Telepermit Telecom akan tergantung pada peralatan (PC) yangkekuit dengan perangkat ini. Agar beroperasi sesuai dengan standar spesifikasi Telecom, peralatan yangkekuit harus diatur untuk memastikan oleh wanggilan otomatis ke berbagai nomor memiliki jarak waktu kurang dari 5 detik antara akhir situ upaya panggilan dengan awal panggilan lainnya. Unit LCD diproduksi dengan teknik manufaktur berpresisi tinggi. Meskipun demikian, menjadi pikel terkadang hilang kepada muncul sebagai titik hitam kepada merah. Kondisi ini tidak akan mendpengaruhi rekaman gambar dan bukan merupakan kesalahan fungsi. Catatan: Informasi peraturan di bawah ini dapat untuk model yang dilengkapi LAN nirkabel dan/atau Bluetooth. Produk ini sesuai dengan standar frekuensi radio dan keselamatan di negara oleh kawasan manapun yang telah menyetujui penggunaannya secara nirkabel. Tergantung pada konfigurasi,Produk ini boleh oleh untuk dibilistik disesedi perangkat radio nirkabel (misalnya, modul LAN nirkabel dan/atau Bluetooth). Berikut adalah informasi untuk produk dengan perangkat tersebut. Dengan ini, Acer mencayarakan bahwa seri notebook PC ini telah sesuai dengan persyaratan utama dan ketentuan lain yang terkait dalam Panduan 1999/5/EC. Negara-negara anggota Uni Eropa sejak bulan Juli 2009 adalah: Belgia, Denmark, Jerman, Yunani, Spanyol, Francis, Irlandia, Italia, Luksemburg, Belanda, Austria, Portugal, Finlandia, Swedia, Estonia (Inggris), Latvia, Lithuania, Polandia, Hongaria, Republik Cheska, Republik Slovakia, Slovenia, Siprus, Malta, Bulgaria dan Rumania. Penggunaan diizinkan di berbagai negara Uni Eropa, sekalisigus Norwegia, Swiss, Islandia, dan Liechtenstein. Perangkat ini harus digunakan dengan kepadauhan ketat terhadap peraturan dan batasan yang berlaku di negara tempat perangkat digunakan. Untuk informasi lebih lanjut, hubungi cantor di negara tempat perangkat digunakan. Harap lihat http://ec.europa.eu/enterprise/rtte/implem.htm untuk mengetahui daftar negara terkini. Daya yang mencandung radiasi dari AN Mini PCI Card dan kartu Bluetooth berada jauh di bawah standar pemaparan frekuensi radio FCC. Namun, seri PC notebook ini harus digunakan dengan cara yang dapat meminimalkan kemungskinan sentuhan dengan manusia selama pengoperasian normal sebagai berikut: 1 Pengguna diminta untuk mengikuti petunjuk keselamatan RF pada perangkat pilih nirkabel yang terdapat dalam buku petunjuk setiap perangkat pilih RF. Perhatian: Agar seksuai dengan persyaratan kesesuaian pemaparan RF FCC, jalak pemisah minimal sebesar 20~cm (8 inci) harus dijaga antara antenna LAN Mini PCI Card nirkabel terpadu yang terpasang pada bagian layar dengan semua orang. Catatan: Adapter Mini PCI nirkabelBegan menerapkan fungsi transmisiatyang berbeda. Fungsi tersebuttidakmemancarkan frekuensi radio secara bersamaandari kedua antenna.Salah satu antennaakan dipilihsecara otomatis atau manual (oleh pengguna) untuk memastikan komunikasi radio yang Berkualitas baik. 2 Perangkat ini dibatasi untuk penggunaan di dalam ruangan karena beroperasi dengan rentang frekuensi 5,15 tingga 5,25 GHz. FCC mengharuskan Produk ini digunakan di dalam ruangan dengan rentang frekuensi 5,15 tingga 5,25 GHz untuk mencurangi potensi interferensi berbahaya padaSYSTEM Satelit Mobile co-channel. The notebook PC series employs low gain integral antennas that do not emit RF field in excess of Health Canada limits for the general population; consult Safety Code 6, obtainable from Health Canada's website at www.hc-sc.gc.ca/rpb. LCD panel ergonomic specifications n nn nnnn TravelMate N 1 dd: aannnnae: wennnnnne nnnnne nee eae nee nee nee nee nee nee nee nee nee nee nee nee nee nee nee nee nee nee nee nee nee nee nee nee nee nee nee nee nee nee nee nee nee nee nee nee nee nee nee nee nee nee nee nee nee nee nee nee nee nee neee Jnnnnaaannnnnnnnnnnnnnnnnnnnnnnnnnnnnnnnnnnnnnnnnnnnnnnnnnnnnnnnnnnnnnnnnnnnnnnnnnnnnnnnnnnnnnnnnnnnnnnnnnnnnn nnae nanaan anan anan anan anan anan anan anan anan anan anan anan anan anan anan anan anan anan anan anan anan anan anan anan anan anan anan anan anan anan anan anan anan anan anan nnaaannnnnnnnnnnnnnnnnnnnnnnnnn ywnnnn nn nnnnnnnnnnnnnnnnnnnnnnnnnnnnnnnnnnnnnnnnnnnnnnnnnnnnnnnnnnnnnnnnnnnnnnnnnnnnnnnnnnnnn WwWwwwwwwwwwwwwwwwwwwwwwwwwwwwwwwwwwwwwwwwwwwwwwwwwwwwwwwwwwwwwwwwwwwwwwwwwwwwwwwwwwwwwwwwwwwwwwwwwwwwwwwwwwwwwwwwwwwwwwwwwwwwwwwwwwwwwwwwwwwwwwwwwwwwwwwwwwwwwwwwwwwwwwwwwwwwwwwwwwwwwwwwwwwwwwwwwwwwwwwwwwwwwwwwwwwwwwwwwwwwwwwwwwwwwwwwwwwwwwwwwwwwwwwwwwwwwwwwwwwwwwwwwwwwwwwwwwwwwwwwwwwwwwwwwwwwwwwwwwwwwwwwwwwwwwwwwwwwwwwwwwwwwwwwwwwwwwwwwwwwwwwwwwwwwwwwwwwwwwwwwwwwwwwwwwwwwwwwwwwwwwwwwwwwwwwwwwwwwwwwwwwwwwwwwwwwwwwwwwwwwwwwwwwwwwwwwwwwwwwwwwwwwwwwwwwwwwwwwwwwwwwwwwwwwwwwwwwwwwwwwwwwwwwwwwwwwwwwwwwwwwwwwwwwwwwwwwwwwwwwwwwwwwwwwwwww y n wannnnnnaaannnnnnaanennnnnnnnnnnnnnnnnnnnnnnnnnnnnnnnnnnnnnnnnnnnnnnnnnnnnnnnnnnnnnnnnnnnnnnnnnnnnnnnnnnnnnnnnnnnnnnnnnnnnnnnnnnnnnnnnnnnnnnnnnnnnnnnnnnnnnnnnnnn () nwnnnn nnnnnnnnnnnnnnnnnnnnnnnnnnnnnnnnnnnnnnnnnnnnnnnnnnnnnnnnnnnnnnnnnnnnnnnnnnnnnnnnnnnnnnnnnnnnnnnnnnnnnnnnnnnnnnnnnnnnnnnnnnnnnnn i wouuuee eae wunuununununununununununununununununununununununununununununununununununununununununununununun nnaaannnnnnaanennnnnnnnnnnnnnnnnnnnnnnnnnnnnnnnnnnnnnnnnnnnnnnnnnnnnnnnnnnnnnnnnnnnnnnnnnnnnnnnnnnnnnnnnnnnnnnnnnnnnnnnnnnnnnnnnnnnnnnnnnnnnnnnnnnnnnnnnn nnaaannnnnnnnnnnnnnnnnnnnnnnnnnnnnnnnnnnnnnnnnnnnnnnnnnnnnnnnnnnnnnnnnnnnnnnnnnnnnnnnnnnnnnnnnnnnnnnnnnnnnnnnnnnnnnnnnnnnnnnnnnnnnnnnnnnnnnnnnn m wwwwwWwwwwwwwwwwwwwwwwwwwwwwwwwwwwwwwwwwwwwwwwwwwwwwwwwwwwwwwwwwwwwwwwwwwwwwwwwwwwwwwwwwwwwwwwwwwwwwwwwwwwwwwwwwwwwwwwwwwwwwwwwwwwwwwwwwwwwwwwwwwwwwwwwwwwwwwwwwwwwwwwwwwwwwwwwwwwwwwwwwwwwwwwwwwwwwwwwwwwwwwwwwwwwwwwwwwwwwwwwwwwwwwwwwwwwwwwwwwwwwwwwwwwwwwwwwwwwwwwwwwwwwwwwwwwwwwwwwwwwwwwwwwwwwwwwwwwwwwwwwwwwwwwwwwwwwwwwwwwwwwwwwwwwwwwwwwwwwwwwwwwwwwwwwwwwwwwwwwwwwwwwwwwwwwwwwwwwwwwwwwwwwwwwwwwwwwwwwwwwwwwwwwwwwwwwwwwwwwwwwwwwwwwwwwwwwwwwwwwwww nnaan nanaanannnnnnaaennnnnnnnnnnnnnnnnnnnnnnnnnnnnnnnnnnnnnnnnnnnnnnnnnnnnnnnnnnnnnnnnnnnnnnnnnnnnnnnnnnnnnnnnnnnnnnnnnnnnnnn WwWwWwWwWwWwWwWwWwWwWwWwWwWwWwWwWwWwWwWwWwWwWwWwWwWwWwWwWwWwWwWwWwWwWwWwWwWwWwWwWwWwWwWwWwWwWwWwWwWwW y H L 60°C (140°F) mnnnnnnnnnnnnnnnnnnnnnnnnnnnnnnnnnnnnnnnnnnnnnnnnnnnnnnnnnnnnnnnnnnnnnnnnnnnnnnnnnnnnnnnnnnnnnnnnnnnnnnnnnnnnnnnnnnnnnnnnn nn nannn nn nannn nn nannn nn nannn nn nannn nn nannn nn nannn nn nannn nn nannn nn nannn nn nannn nn nannn nn nannn nn nannn nn nannn nn nannn nn nannn nn nannn nn nannn nn nannn nn nannn nn nannn nn nannn nn nannn nn nannn nn nennn nn nannn nn nannn nn nannn nn nannn nn nannn nn nannn nn nannn nn nannn nn nannn nn nannn nn nannn nn nannn nn nannn nn nannn nn nannn nn nannn nn nannn nn nannn nn nannn nn nannn nn nannn nn nannn nn nannn nn nannn nn n ann aannnnnnae aennnnnne nnnnnnne nnne nnnnnnne nnnnnnne nnnnnnne nnnnnnne nnnnnnne nnnnnnne nnnnnnne nnnnnnne nnnnnnne nnnnnnne nnnnnnne nnnnnnne nnnnnnne nnnnnnne nnnnnnne nnnnnnne nnnnnnne nnnnnnne nnnnnnne nnnnnnne nnnnnnee y () aannnnnnaanennnnnnnnnnnnnnnnnnnnnnnnnnnnnnnnnnnnnnnnnnnnnnnnnnnnnnnnnnnnnnnnnnnnnnnnnnnnnnnnnnnnnnnnnnnnnnnnnnnnnnnnnnnnnnnnnnnnnnnnnn (59°F u87°F) 100000000000000000000000000000000000000000000000000000 nnuuunnnnunununnuuunnuuunnuuunnuuunnuuunnuuunnuuunnuu wnnnnnaaannnnn nnnnnnnnnnnnnnnnnnnnnnnnnnnnnnnnnnnnnnnnnnnnnnnnnnnnnnnnnnnnnnnnnnnnnnnnnnnnnnnnnnnnnnnnnnnnnnnnnnnnnnnnn y mnnnne nnnnne nnaaannnnnnaanennnnnnae nnnnnnne aen nnaa nnaa aannnnnnaaennnnnnaaennnnnnaaennnnnnaaennnnnnaaennnnnnaaennnnnnaaennnnnnaaennnnnnaaennnnnnaaennnnnnaaennnnnnaaennnnnnaaennnnnnaaennnnnnaaennnnnnaaennnnnnaaennnnnnaaennnnnnaaennnnnnaaennnnnnaaannnnnnaaannnnnnaaannnnnnaaannnnnnaaannnnnnaaannnnnnaaannnnnnaaannnnnnaaannnnnnaaannnnnnaaannnnnnaaannnnnnaaannnnnnaaannnnnnaaannnnnnaaannnnnnaaannnnnnaaannnnnnaaannnnnnaaannnnnnaa yT 1LALR 1 CAUTION: INVISIBLE LASER RADIATION WHEN OPEN. AVOID EXPOSURE TO BEAM. APPAREIL A LASER DE CLASSE 1 PRODUIT VORSICHT: UNSICHTBARE LASERSTRAHLUNG, WENN ABDECKUNG GEOFFNET NICT DEM STRAHLL AUSSETZEN ADVERTENCIA: RADIACION LÁSER INVISIBLE AL SER ABIERTO. EVITE EXPONERSE A LOS RAYOS. ADVARSEL: LASERSTRÁLING VEDÁBNING SE IKKE IND I STRÁLEN. VARO! LAVATTAESSA OLET ALTTINA LASERSATEILYLLE. VARNING: LASERSTRÄLNING NÄR DENNA DEL ÅR ÖPPNAD ÅLÅ TUIJOTA SÄTEESEENSTIRRA EJ IN I STRÄLEN WARNING: LASERSTRÁLNING NAR DENNA DEL ÅR ÖPPNADSTIRRA EJ IN I STRÅLEN ADVARSEL: LASERSTRÄLING NAR DEKSEL ÅPNESSTIRR IKKE INN I STRÄLEN y iouu uuuuuaaunu uuuuauuuaaunu uuuuuuuuuuuuuuuuuuuuuuuuuuuuuuuuuuuuuuuuuuuuuuuuuuuuuuuuuuuuuuuuuuuuuuuuuuuuuuuuuuuuuuuuuuuuuuuuuuuuuuuuuuuuuuuuuuuuuuuuuuuuuuuuuuuuuuuuuuuuuuuuuuuuuuuuuuuuuuuuuuuuuuuuuuuuuuuuuuuUU nnaaannnnnae nnaanennnnae naanennnnae naanennnnae naanennnnae naanennnnae naanennnnae naanennnnae naanennnnae naanennnnae naanennnnae naanennnnae naanennnnae naanennnnae naanennnnae naanennnnae naanennnnae naanennnnae naanennnne naanennnnae naanennnnae naanennnnae naanennnnae naanennnnae naanennnnae naanennnnae naanennnnae naanennnnae naanennnnae naanennnnae naanennnnae naanennnnae naanennnnae naanennnnae naanennnnae naanennnnnae naanennnnnae naanennnnnae naanennnnnae naanennnnnae naanennnnnae naanennnnnae naanennnnnae naanennnnnae naanennnnnae naanennnnnae naanennnnnae naanennnnnae naanennnnnae naanennnnnae naanennnnnae naanennnnnae na anannnnnnnee 南 mnnnne nnnnnnnnnnnnnnnnnnnnnnnnnnnnnnnnnnnnnnnnnnnnnnnnnnnnnnnnnnnnnnnnnnnnnnnnnnnnnnnnnnnnnnnnnnnnnnnnnnnnnnnnnnnnnnnnnnnnnnnnnnnnnnnnnnnnnnnnnnnnnnnnnn nn 15.3 1500 (6) 2000 Lngnnnneannnnnnnnnnnnnn 15.3 (6) 1 mnnn nnnnnnnnnnnnnnnnnnnnnnnnnnnnnnnnnnnnnnnnnnnnnnnnnnnnnnnnnnnnnnnnnnnnnnnnnnnnnnnnnnnnnnnnnnnnnnnnnnnnnnnnnnnnnnnnnnnnnnnnnnnnnnnnnnnnnnnnnnnnnnnnnnnnnnnnnnnnnnnnnnnnnnnnnnnnnnnnnn nnannn nnannn nnannn nnannn nnannn nnannn nnannn nnannn nnannn nnannn nnannn nnannn nnannn nnannn nnannn nnannn nnannn nnannn nnannn nnannn nnannn nnannn nnannn nnannn nnannn nnannn nnannn nnannn nnannn nnannn nnannn nnannn nnannn nnann nennn nnann nenn nenn nenn nenn nenn nenn nenn nenn nenn nenn nenn nenn nenn nenn nenn nenn nenn nenn nenn nenn nenn nenn nenn nenn nenn nenn nenn nenn nenn nenn nenn nenn nenn nenn nenn nenn nenn nenn nenn nenn nenn nenn nenn nenn nenn nenn nenn nenn nenn nenn nannn nnannn nnannn nnannn nnannn nnannn nnannn nnannn nnannn nnannn nnannn nnannn nnannn nnannn nnannn nnannn nnannn nnannn nnannn nnannn nnannn nnannn nnannn nnannn nnannn nnannn nnannn nnannn nnannn nnannn nnannn nnannn nnannn nn annan anan anan anan anan anan anan anan anan anan anan anan anan anan anan anan anan anan anan anan anan anan anan anan anan anan anan anan anan anan anan anan anan anan anan anan anan anan anan anan anan anan anan anan anan Jnnaaannnnnnaanennnnnnaanennnnnnnnnnnnnnnnnnnnnnnnnnnnnnnnnnnnnnnnnnnnnnnnnnnnnnnnnnnnnnnnnnnnnnnnnnnnnnnnnnnnnnnnnnnnnnnnnnnnnnnnnnnnnnnnnnnnnnnnnnnnnnnnnnnnnnnnnnnnnnnnnnnnnnnnnnnnnnnnnnnnnnn nn nannnannnannnannnannnannnannnannnannnannnannnannnannnannnannnannnannnannnannnannnannnannnannnannnannnannnannnannnannnannnannnannnannnannnannnannnannnannnannnannnannnannnannnannnannnannnannnannnannnannnann n ann n ann n ann n ann n ann n ann n ann n ann n ann n ann n ann n ann n ann n ann n ann n ann n ann n ann n ann n ann n ann n ann n ann n ann n ann n ann n ann n ann n ann n ann n ann n ann n ann n ann n ann n ann n ann n ann n ann n ann n ann n ann n ann n ann n ann n ann n ann n ann n ann n ann n an an an an an an an an an an an an an an an an an an an an an an an an an an an an an an an an an an an an an an an an an an an an an an an nauu: nuaaunnuanrnnnsananaunnuusnae nnnuuunnuunnuunnuunnu wnuunnnnnaaannnnnnaanennnnnnnnnnnnnnnnnnnnnnnnnnnnnnnnnnnnnnnnnnnnnnnnnnnnnnnnnnnnnnnnnnnnnnnnnnnnnnnnnnnnnnnnnnnnnnnnnnnnnnnnnnnnnnnnnnnnnnnnnnnnnnnnnnnnnnnnnnnnnnnnnnnnnnnnnnnnnnnnnnnnn nn nannnne annnnee aannnne ane ane ane ane ane ane ane ane ane ane ane ane ane ane ane ane ane ane ane ane ane ane ane ane ane ane ane ane ane ane ane ane ane ane ane ane ane ane ane ane ane ane ane ane ane ane ane ane ane ane anee a non-LED-backlit-LCD/CRT Electronic Industries Alliance www.elae.org www.lamprecycle.org Acer ENERGY STAR wuwnwunwnwnwnwnwnwnwnwnwnwnwnwnwnwnwnwnwnwnwnwnwnwnwnwnwnwnwnwnwnwnwnwnwnwnwnwnwnwnwnwnwnwnwnwnwnwnwnwnwnwnwnwnwnwnwnwnwnwnwnwnwn ENERGY STAR ENERGY STAR lunnnaaannnnnnaanennnnnne nnnnnnnnnnnnnnnnnnnnnnnnnnnnnnnnnnnnnnnnnnnnnnnnnnnnnnnnnnnnnnnnnnnnnnnnnnnnnnnnnnnnnnnnnnnnnnnnnnnnnnnnnnnnnnnnnnnnnnnnnnnnnnnnnnnnnnnnnnnnnnnnnnnnnnnnnn nn nannnannnannnannnannnannnannnannnannnannnannnannnannnannnannnannnannnannnannnannnannnannnannnannnannnannnannnannnannnannnannnannnannnannnannnannnannnannnannnannnannnannnannnannnannnannnannnannnannnannnann n ann n ann n ann n ann n ann n ann n ann n ann n ann n ann n ann n ann n ann n ann n ann n ann n ann n ann n ann n ann n ann n ann n ann n ann n ann n ann n ann n ann n ann n ann n ann n ann n ann n ann n ann n ann n ann n ann n ann n ann n ann n ann n ann n ann n ann n ann n ann n ann n ann n ann nannn an an an an an an an an an an an an an an an an an an an an an an an an an an an an an an an an an an an an an an an an an an an an an an an an an an an an Acer ENERGY STAR: ENERGY STAR 1 nnaanannnnnnnnnnnnnnnnnnnnnnnnnnnnnnnnnnnnnnnnnnnnnnnnnnnnnnnnnnnnnnnnnnnnnnnnnnnnnnnnnnnnnnnnnnnnnnnnnnnnnnnnnnnnnnnnnnnnnnnnnnnnnnnnnnnnnnnnnnnnnnnnnnnnnnnnnnnnnnnnnnn nn nannnannnannnannnannnannnannnannnannnannnannnannnannnannnannnannnannnannnannnannnannnannnannnannnannnannnannnannnannnannnannnannnannnannnannnannnannnannnannnannnannnannnannnannnannnannnannnannnannnannnann mnnnne nnnnnnnnnnnnnnnnnnnnnnnnnnnnnnnnnnnnnnnnnnnnnnnnnnnnnnnnnnnnnnnnnnnnnnnnnnnnnnnnnnnnnnnnnnnnnnnnnnnnnnnnnnnnnnnnnnnnnnnnnnnnnnnnnnnnnnnnnnnnnnnnnn nnannnennn nnannn nnannn nnannn nnannn nnannn nnannn nnannn nnannn nnannn nnannn nnannn nnannn nnannn nnannn nnannn nnannn nnannn nnannn nnannn nnannn nnannn nnannn nnannn nnannn nnannn nnannn nnannn nnannn nnannn nnannn nnannn nnannn nnannn nnann · · nannnnnnnnnnnnnnnnnnnnnnnnnnnnnnnnnnnnnnnnnnnnnnnnnnnnnnnnnnnnnnnnnnnnnnnnnnnnnnnnnnnnnnnnnnnnnnnnnnnnnnnnnnnnnnnnnnnnnn wuuuunnnnununununununununununununununununununununununununununununununununun - 1 1 - XII yinnnnnnaaannnnnnnnnnnnnnnnnnnnnnnnnnnnnnnnnnnnnnnnnnnnnnnnnnnnnnnnnnnnnnnnnnnnnnnnnnnnnnnnnnnnnnnnnnnnnnnnnn a - wwnwnnnnununununun nssnnnnnnnnnnnnnnnnnnnnnnnnnnnnnnnnnnnnnnnnnnnnnnnnnnnnnnnnnnnnnnnnnnnnnnnnnnnnnnnnnnnnnnnnnnnnnnnnnnnnnnnnnnnnnnnnnnnn W nannnnnnnnnnnnnnnnnnnnnnnnnnnnnnnnnnnnnnnnnnnnnnnnnnnnnnnnnnnnnnnnnnnnnnnnnnnnnnnnnnnnnnnnnnnnnnnnnnnnnnnnnnnnnnnnnnnnnnnn nnae: nnnnnnnnnnnnnnnnnnnnnnnnnnnnnnnnnnnnnnnnnnnnnnnnnnnnnnnnnnnnnnnnnnnnnnnnnnnnnnnnnnnnnnnnnnnnnnnnnnnnnnnnnnnnnnnnnnnnnnnnnnnnnnnnnnnnnnnn nn yueyueyueyueyueyueyueyueyueyueyueyueyueyueyueyueyueyueyueyueyueyueyueyueyueyueyueyueyueyueyueyueyueyueyueyueyueyueyueyueyueyueyueyueyueyueyueyueyue WwunwnAcer Iouuunlulueauo 100000000000000000000000000000000000000 uwwwuwwneauwuywauwuywluwuywuywuywuywuywuywuywuywuywuywuywuywuy Lauuunumnnnnaaannnnae n aee Acer eRecovery mnnnnnnnnnnnnnnnnnnnnnnnnnnnnnnnnnnnnnnnnnnnnnnnnnnnnnnnnnnnnnnnnnnnnnnnn AcerSystem User Guide Jnnae ne nne e nne ennnnne nnne nne wznuuunnnnunnnnnnnnnnnnnnnnnnnnnnnnnnnnnnnnnnnnnnnnnnnnnnnnnnnnnnnnnnnnnnnnnnnnnnnnnnnnnnnnnnnnnnnnnnnnnnnnnnnnnnnnn wnnnnnaaannnneanen nnnnnnnnnnnnnnnnnnnnnnnnnnnnnnnnnnnnnnnnnnnnnnnnnnnnnnnnnnnnnnnnnnnnnnnnnnnnnnnnnnnnnnnnnnnnnnnnnnnnnnnnnnnnnnnnnnnnnnnnnnn a AcerSystem User Guide 1 yueyu, muiyuyaya, miuanyuanwu yueyua yannnnnne nee nee neanenrnnnne uannnnnnaaennnnnnnnnnnnnnnnnnnnnnnnnnnnnnnnnnnnnnnnnnnnnnnnnnnnnnnnnnnnnnnnnnnnnnnnnnnnnnnnnnnnnnnnnnnnnnnnnnnnnnnnnnnnnnnnnnnnnnnnnnnnnnnnnnnnnnnnnnnnnnnnnn (PDF) 1 aann Start, All Programs, AcerSystem 2 AcerSystem User Guide Nurur: nururwauuunrnrnnae Adobe Reader lunrnnnunwauuuuad Adobe Reader xiv 777777777777777777777777777777777 7 Wuuuauuue uuuuuuuuuuuuuuuuuuuuuuuuuuuuuuuuuuuuuuuuuuuuuuuuuuuuuuuuuuuuuuuuuuuuuuuuuuuuuuuuuuuuuuuuuuuuuuuuuuuuuuuuuuuuuuuuuuuuuuuuuuuuuuuuuuuuuuuuuuuuuuuuuuuuuuuuuuuuuuuuuuuuuuuuuuuuuuuUU wennnnnne Shutdown Windows Start (L) Shut Down nnae: nnnnnaaennnnaaennnnae ennnnne nnnnne nnne ne 7751667777777777777777 nnaeaeaaeeaaeeaaeeaaeeaaeeaaeeaaeeaaee - yauuuiuuiuuiuuiuuiuuiuuiuuiuuiuuiuuiuuiuuiuuiuuiuuiuuiuuiuuiuuiuuiuuiuuiuuiuuiuuiuuiuuiuuiuuiuuiuuiuuiuuiuuiuuiuuiuuiuuiuuiuuiuuiuuiuuiuuiuuiuuiuuiuuiuuiu y nnaaannnnnne aennnnnne nnnnnnne nnnnnnne nnnnnnne y 1 nwnnnnnaa Iwng "mangnnaiaa" 32 y i nau nnuuunnuuwwaaaennnn (wnnnnnnn) vii ywwwneunnnn y viii ynnnne yiii ywnn196 ix iX mnsnna ix x x ENERGY STAR x nntn 13 xiv nuiuuee eae nee eee nne eae ee eae eae eae eae eae eae eae eae eae eae eae eae eae eae eae eae eae eae eae eae eae eae eae eae eae eae eae eae eae eae eae eae eae eae eae eae eae eae eae eae eae eae eae eae eae eae eae eae eae eae eee xiv mnnnnaaannnnaeAC XV V V 1 wuyuoyuoyuoyu (wuyuyuyuyuyuyuy) 1 Wwwwwwuu(wwuunwnnn) 2 3 3 Windows 4 5 Acer PureZone (iawzwnnnn) 5 Video 5 16:9 (wunwnnnn) 5 n Acer Bio-Protection (Lwunuun) 6 Acer Backup Manager 7 8 Acer eRecovery Management 9 10 11 Windows 12 14 14 14 15 16 16 16 17 18 18 18 18 19 19 19 19 20 20 20 20 21 21 21 21 21 22 JUAN JUAN JUAN WANG JIANGWANG 23 23 23 24 24 25 25 Lwwnn/nya (awzuny) 25 26 Universal Serial Bus (USB) 26 WEEE 1394 (Lwwnnnnnn) 27 High-Definition Multimedia Interface (wzwn) 27 ExpressCard (wzwnnnn) 28 29 BIOS 30 30 30 30 31 DVD 31 a 32 35 mssuunwunwnnnn (ITW) 35 35 muaunuyn 36 36 36 37 FCC 37 38 LCD 40 mnnnne nnnnnnnnnnnnnnnnnnnnnnnnnnnnnnnnnnnnnnnnnnnnnnnnnnnnnnnnnnnnnnnnn m 40 m 40 FCC 41 (RSS-210) 42 (RSS-102) 42 LCD panel ergonomic specifications 42 () Acer Bio-Protection yannnnnnae 1 nwnnnn: nnnnnnnnnnnnnnnnnnnnnnnnnnnnnnnnnnnnnnnnnnnnnnnnnnnnnnnnnnnnnnnnnnnnnnnnnnnnnnnnnnnnnnnnnnnnnnnnnnnnnnnnnnnnnnnnnnnnnnnnnnnnnnnnnnnnnnnnnnnnnn nn nwnnnn: nnnnnnnn nn nnnnnnnnnnnnnnnnnnnnnnnnnnnnnnnnnnnnnnnnnnnnnnnnnnnnnnnnnnnnnnnnnnnnnnnnnnnnnnnnnnnnnnnnnnnnnnnnnnnnnnnnnnnnnnnnnnnnnnnnnnnnnnnnnnnnnnnnnnnnnnnnnnnn nn nannnne nannnne nannnne nannnne nannnne nannnne nannnne nannnne nannnne nannnne nannnne nannnne nannnne nannnne nannnne nannnne nannnne nannnne nannnne nannnne nannnne nannnne nannnne nannnne nannnne nannnnee nannnne nannnne nannnne nannnne nannnne nannnne nannnne nannnne nannnne nannnne nannnne nannnne nannnne nannnne nannnne nannnne nannnne nannnne nannnne nannnne nannnne nannnne nannnne nannnne nannnae yauuunnnnnaaannnnnnaaannnnnnaanennnnaanannnnaanannnnaanannnnaanannnnaanannnnaanannnnaanannnnaanannnnaanannnnaanannnnaanannnnaanannnnaanannnnaanannnnaanannnnaanannnnaanannnnaanannnnaanannnnaanannnnaanannnnaanannnnaanannnnaanannnnaanannnnaan J7J7J7J7J7J7J7 yueyueyueyuanyuyuyuyuyuyuyuyuyuyuyuyuyuyuyuyuyuyuyuyuyuyuyuyuyuyuyuyuyuyuyuyuyuyuyuyuyuyuyuyuyuyuyuyuyuyuyuyuyuyuyuyuy ywnnnnnaaannnnnnaaennnnnnnnnnnnnnnnnnnnnnnnnnnnnnnnnnnnnnnnnnnnnnnnnnnnnnnnnnnnnnnnnnnnnnnnnnnnnnnnnnnnnnnnnnnnnnnnnnnnnnnnnnnnnnnnnnnnnnnnnnnnnnnnnnnnnnnnnnnnnn Iaiaawzulwnou Wwwwnnnnneennnnnnnnnnnnnnnnnnnnnnnnnnnnnnnnnnnnnnnnnnnnnnnnnnnnnnnnnnnnnnnnnnnnnnnnnnnnnnnnnnnnnnnnnnnnnnnnnnnnnnnnnnnnnnnnnn WwWwWwWwWwWwWwWwWwWwWwWwWwWwWwWwWwWwWwWwWwWwWwWwWwWwWwWwWwWwWwWwWwWwWwWwWwWwWwWwWwWwWwWwWwWwWwWwWwWwW Zuueauuuuuaaunuunuunuunuunuunuunuunuunuunuunuunuunuunuunuunuunuunuunuunuunuunuunuunuunuunuunuunuunuunuunuunuunuunuunuunuunuunuunuunuunuunuunuunuunuunuunuunuunuunuun uauuuuuuuuuuuuuuuuuuuuuuuuuuuuuuuuuuuuuuuuuuuuuuuuuuuuuuuuuuuuuuuuuuuuuuuuuuuuuuuuuuuuuuuuuuuuuuuuuuuuuuuuuuuuuuuuuuuuuuuuuuuuuuuuuuuuuuuuuuuuuuuuuuuuuuuuuuuuu uuucucucucucucucucucucucucucucucucucucucucucucucucucucucucucucucucucucucucucucucucucucucucucucucucucucucucucucucucucucucucucucucucucucucucucucucucucucucucUCUUUUUUUUUUUUUUUUUUUUUUUUUUUUUUUUUUUUUUUUUUUUUUUUUUUUUUUUUUUUUUUUUUUUUUUUUUUUUUUUUUUUUUUUUUUUUUUUUUUUUUUUUUUUUUUUUUUUUUUUUUUUUUUUUUUUUUUUUUUUUUUUUUUUUUUUUUUUUUUUUUUUUUUUUUUUUUUUUUUUUUUUUUUUUUUUUUUUUUUU nanae: 1nnnnae neaee 16:9 ( mssaa 16:9 maaanmnnnwwwau Full HD nunuuluaaunnuuunnau nnuee aee eae eae eae eae eae eae eae eae eae eae eae eae eae eae eae eae eae eae eae eae eae eae eae eae eae eae eae eae eae eae eae eae eae eae eae eae eae eae Acer Bio-Protection Fingerprint Solution 10000000000000000000000000000000000000000000000000000000000000000000000000000000000000000000000 Acer Bio-Protection Fingerprint Solution Acer Bio-Protection nnaa: nanaanannnnnnaaannn Acer Backup Manager 1uununununununununununununununununununununununununununununununununununununununununununununununununununununununununununununununununununununununununununununununununununun 1 Acer Backup Manager Wnwnnnnnaaanrnnnne aannnnnne nnnnnnnnne nnnnnnnnne Acer Backup Manager 1 1 1 1 1 1 1 1 1 1 1 1 1 1 1 1 1 1 1 1 1 1 1 1 1 1 1 1 1 1 1 1 1 1 1 1 1 1 1 1 1 1 1 Advanced configuration and power interface (ACPI) nanae: nanaaiaanlwniawzunnnn Acer PowerSmart 1 Acer eRecovery Management 1 y Acer eRecovery Management 1 - 2 luuunununulunuaaunou nnae: nanaaee aae eaae ae aae aae aae aae aae aae aae aae aae aae aae aae aae aae aae aae aae aae aae aae aae aae aae aae aae aae aae aae aae aae aae aae aae aae aae aae aae aae aae aae aae aae aae aae aae aae aae aae aae aae aee Acer eRecovery Management nncnncnncnncnncnncnncnncnncnncnncnncnncnncnncnncnncnncnncnncnncnncnncnncnncnncnncnncnncnncnncnncnncnncnncnncnncnncnncnncnccnnnnnnnnnnnnnnnnnnnnnnnnnnnnnnnnnnnnnnnnnnnnnnnnnnnnnnnnnnnnnnnnnnnnnnnnnnnnnnnnnnnnnnnnnnnnnnnnnnnnnnnnnnnnnnnnnnnnnnnnnn 1 Start > All Programs > Acer > Acer eRecovery Management 3 1 y 1 DvD 1 Start, All Programs, Acer, Acer eRecovery Management 3 1 Windows nanae: nanaaiaanlwnanrnnnna Windows Windows Windows 12000 F12 Boot Menu 1 1 wnnnaeernnnnnnnnnnnneennnnnnnnnnnnnnnnnnnnnnnnnnnnnnnnnnnnnnnnnnnnnnnnnnnnnnnnnnnnnnnnnnnnnnnnnnnnnnnnnnnnnnnnnnnnnnnnnnnnnnnnnnnnnnnnnnnnnnnnnnnn 1 1 1 1 1 1 1 n nannnnn nnnnnnnnnnnnnnnnnnnnnnnnnnnnnnnnnnnnnnnnnnnnnnnnnnnnnnnnnnnnnnnnnnnnnnnnnnnnnnnnnnnnnnnnnnnnnnnnnnnnnnn 1 y y nau: nannnnnnaa aalnnnnn nn 0oC (32oF) naannnnn 45oC (113oF) ananannnnaa aaiiun annnnnnae mnnnnnnaaannnnnne nnnnnnnnnnnnnnnnnnnnnnnnnnnnnnnnnnnnnnnnnnnnnnnnnnnnnnnnnnnnnnnnnnnnnnnnnnnnnnnnnnnnnnnnnnnnnnnnnnnnnnnnnnnnnnnnnnnnnnnnn uannnnn nn nnnnnnnnnnnnnnnnnnnnnnnnnnnnnnnnnnnnnnnnnnnnnnnnnnnnnnnnnnnnnnnnnnnnnnnnnnnnnnnnnnnnnnnnnnnnnnnnnnnnn 300 nlaananaaannnae ywnnnnne nnnnnnnnnnnnnnnnnnnnnnnnnnnnnnnnnnnnnnnnnnnnnnnnnnnnnnnnnnnnnnnnnnnnnnnnnnnnnnnnnnnnnnnnnnnnnnnnnnnnnnnnnnnnnnnnnnnnnnnnnnnnn aannnnnnae 1 1 a d: 1 nnnnnnnnnnnnnnnnnnnnnnnnnnnnnnnnnnnnnnnnnnnnnnnnnnnnnnnnnnnnnnnnnnnnnnnnnnnnnnnnnnnnnnnnnnnnnnnnnnnnnnnnnnnnn 1 WJU: 111111111111111111111111111111111111111 T Www 7000000000000000000000000000000000000000000000 n mnnn nnnnnnnnnnnnnnnnnnnnnnnnnnnnnnnnnnnnnnnnnnnnnnnnnnnnnnnnnnnnnnnnnnnnnnnnnnnnnnnnnnnnnnnnnnnnnnnnnnnnnnnnnnnnnnnnnnnnnnnnnnn WAC n75691006669106910 W nauuuaaue AC nnaanannnnnnaaennnnaeauu uuuuuaa aunnuuunnuuunnuuunnuuunnuuunnuu aunnnnnaanannnnnnnnnnnnnnnnnnnnnnnnnnnnnnnnnnnnnnnnnnnnnnnnnnnnnnnnnnnnnnnnnnnnnnnnnnnnnnnnnnnnnnnn yannnnnne nnnnnnnnnnnnnnnnnnnnnnnnnnnnnnnnnnnnnnnnnnnnnnnnnnnnnnnnnnnnnnnnnnnnnnnnnnnnnnnnnnnnnnnnnnnnnnnnnnnnnnnnnnnnnnnnn 1 wauuunuluaumnnaaannnnnnaanrnnnnae nauuunauuuuauu uuuuuuuuuuuuuuuuuuuuuuuuuuuuuuuuuuuuuuuuuuuuuuuuuuuuuuuuuuuuuuuuuuuuuuuuuuuuuuuuuuuuuuuuuuuuuuuuuuuuuuuuuuuuuuuuuuuuuuuuuuuuuuuuuuuuuuuuuuuuuuuuuuuuuuuuuuuuuuuuuuuuuuuuuuuuuuuuuuuuuuuuuuuuuuuuuuuuuuuuuUU Wnwnnnnwnnnn nn nnnnnnnnnnnnnnnnnnnnnnnnnnnnnnnnnnnnnnnnnnnnnnnnnnnnnnnnnnnnnnnnnnnnnnnnnnnnnnnnnnnnnnnnnnnnnnnnnnnnnnnnnnnnnnn Start (1) Shut Down (2) : nannnnnnnnnnnnnnnnnnnnnnnnnnnnnnnnnnnnnnnnnnnnnnnnnnnnnnnnnnnnnnnnnnnnnnnnnnnnnnnnnnnnnnnnnnnnnnnnnnnnnnnnnnnnnnnnnnnnnnnnnnnnnnnnnnnnnnnnnnnnnnnn nnnnnnnnnnnnnnnnnnnnnnnnnnnnnnnnnnnnnnnnnnnnnnnnnnnnnnnnnnnnnnnnnnnnnnnnnnnnnnnnnnnnnnnnnnnnnnnnnnnnnnnnnnnnnnnnnnn nHernation Sleep Hibernation Sleep Hibernation Sleep Hibernation Sleep Hibernation Sleep Hibernation Sleep Hibernation Sleep Hibernation Sleep Hibernation Sleep Hibernation Sleep Hibernation Sleep Hibernation Sleep Hibernation Sleep Hibernation Sleep Hibernation Sleep Hibernation Sleep Hibernation Sleep Hibernation Sleep Hibernation Sleep Hibernation Sleep Hibernation Sleep Hibernation Sleep Hibernation Sleep Hibernation Sleep Hibernation Sleep Hibernation Sleep Hbernation Sleep Hibernation Sleep Hibernation Sleep Hibernation Sleep Hibernation Sleep Hibernation Sleep Hibernation Sleep Hibernation Sleep Hibernation Sleep Hibernation Sleep Hibernation Sleep Hibernation Sleep Hibernation Sleep Hibernation Sleep Hibernation Sleep Hibernation Sleep Hibernation Sleep Hibernation Sleep Hibernation Sleep Hibernation Sleep Hibernation Sleep Hibernation Sleep Hibernation Sleep Hibernation Sleep Hibernation Sleep Hiberration Sleep Hiberration Sleep Hiberration Sleep Hiberration Sleep Hiberration Sleep Hiberration Sleep Hiberration Sleep Hiberration Sleep Hiberration Sleep Hiberration Sleep Hiberration Sleep Hiberration Sleep Hiberration Sleep Hiberration Sleep Hiberration Sleep Hiberration Sleep Hiberration Sleep Hiberration Sleep Hiberration Sleep Hiberration Sleep Hiberration Sleep Hiberration Sleep Hiberration Sleep Hiberration Sleep Hiberration Sleep Hibertion Sleep Hiberration Sleep Hibertion Sleep Hiberration Sleep Hiberration Sleep Hiberration Sleep Hiberration Sleep Hiberration Sleep Hiberration Sleep Hiberration Sleep Hiberration Sleep Hiberration Sleep Hiberration Sleep Hiberration Sleep Hiberration Sleep Hiberration Sleep Hiberration Sleep Hiberration Sleep Hiberration Sleep Hiberration Sleep Hiberration Sleep Hiberration Sleep Hiberration Sleep Hiberration Sleep Hiberration Sleep Hiberration Sleep Hiberration Sleep HiberminationSleepHibermee Jnnnnnnnnnnnnnnnnnnnnnnnnnnnnnnnnnnnnnnnnnnnnnnnnnnnnnnnnnnnnnnnnnnnnnnnnnnnnnnnnnnnnnnnnnnnnnnnnnnnnnnnnnnn Wnnnns 1s2ywnn nn nnnn nn nnnn nn nnnn nn nnnn nn nnnn nn nnnn nn nnnn nn nnnn nn nnnn nn nnnn nn nnnn nn nnnn nn nnnn nn nnnn nn nnnn nn nnnn nn nnnn nn nnnn nn nnnn nn nnnn nn nnnn nn nnnn nn nnnn nn nnnn nn nnnn nn nannn nn nnnn nn nnnn nn nnnn nn nnnn nn nnnn nn nnnn nn nnnn nn nnnn nn nnnn nn nnnn nn nnnn nn nnnn nn nnnn nn nnnn nn nnnn nn nnnn nn nnnn nn nnnn nn nnnn nn nnnn nn nnnn nn nnnn nn wnnnn nn nnnnnnnnnnnnnnnnnnnnnnnnnnnnnnnnnnnnnnnnnnnnnnnnnnnnnnnnnnnnnnnnnnnnnnnnnnnnnnnnnnnnnnnnnnnnnnnnnnnnnnnnnnnnnnnnnnnnnnnnnnnnnnnnnnnnnnnnnnnnnnnnnnnnnnnnn ywnnnaaannnnn nn nnnn wannnnnnaaennnnnnae annnnnnae annnnnnae annnnnne 1 mnnn nnnnnnnnnnnnnnnnnnnnnnnnnnnnnnnnnnnnnnnnnnnnnnnnnnnnnnnnnnnnnnnnnnnnnnnnnnnnnnnnnnnnnnnnnnnnnnnnnnnnnnnnnnnnnnnnnnnnnnnnnnnnnnnnnnnnnnnnnnn nannnnnnnnnnnnnnnnnnnnnnnnnnnnnnnnnnnnnnnnnnnnnnnnnnnnnnnnnnnnnnnnnnnnnnnnnnnnnnnnnnnnnnnnnnnnnnnnnnnnnnnnnn : 1 iueeaegeaeaeaeaeaeaeaeaeaeaeaeaeaeaeaeaeaeaeaeaeaeaeaeaeaeaeaeaeaeaeaeaeaeaeaeaeaeaeaeaeaeaeaeaeaeaeaeae AC nannnnnnnnnnnnnnnnnnnnnnnnnnnnnnnnnnnnnnnnnnnnnnnnnnnnnnnnnnnnnnnnnnnnnnnnnnnnnnnnnnnnnnnnnnnnnnnnnnnnnnnnnnnnnnnnnnnnnnnnnnn nnannnennn: nannnnnnnnnnnnnnnnnnnnnnnnnnnnnnnnnnnnnnnnnnnnnnnnnnnnnnnnnnnnnnnnnnnnnnnnnnnnnnnnnnnnnnnnnnnnnnnnnnnnnnnnnnnnnnnnnnnnnnnnnnnnnnnnnnnnnnnnnnnn wnnnnnae nnne nnnnne ne nnnnne ne nnnnne ne nnnnne ne nnnnne ne nnnnne wnnnnun nn nnnnnnnnnnnnnnnnnnnnnnnnnnnnnnnnnnnnnnnnnnnnnnnnnnnnnnnnnnnnnnnnnnnnnnnnnnnnnnnnnnnnnnnnnnnnnnnnnnnnnnnnnnnnnnnnnnnnn 1 9 wunmuauulumnuu: AC y wuuuunnnnunununununununununununununununununununununununununununun - nnnnnnnnnnnnnnnnnnnnnnnnnnnnnnnnnnnnnnnnnnnnnnnnnnnnnnnnnnnnnnnnnnnnnnnnnnnnnnn iannnnnns 1 2 wngnnnnaeuluunnuu: AC - nannnnn nn nnnnnnnnnnnnnnnnnnnnnnnnnnnnnnnnnnnnnnnnnnnnnnnnnnnnnnnnnnnnnnnnnnnnnnnnnnnnnnnnnnnnnnnnnnnnnnnnnnnnnnnnnnnnnnn nwnw nnnnne nnnnne nnnnne nnnnne nnnnne nnnnne nnnnne nnnnne nnnnne nnnnne nnnnne nnnnne nnnnne nnnnne nnnnne nnnnne nnnnne nnnnne nnnnne nnnnne nnnnne nnnnne nnnnne nnnnne nnnnne nnnnnee nannnnnnnnnnnnnnnnnnnnnnnnnnnnnnnnnnnnnnnnnnnnnnnnnnnnnnnnnnnnnnnnnnnnnnnnnnnnnnnnnnnnnnnnnnnnnnnnnnnnnnnnnnnnnnnnnnnn Lnnnnaaannnnnnaanennnnnnnnnnnnnnnnnnnnnnnnnnnnnnnnnnnnnnnnnnnnnnnnnnnnnnnnnnnnnnnnnnnnnnnnnnnnnnnnnnnnnnnnnnnnnnnnnnnnnn wannnnnnaaannnnnnnnnnnnnnnnnnnnnnnnnnnnnnnnnnnnnnnnnnnnnnnnnnnnnnnnnnnnnnnnnnnnnnnnnnnnnnnnnnnnnnnnnnnnnnnnnnnnnnnnnnnnnnnnnnnnnnnnnn BIOI 30 y 1 i A F2> yannnnnnaaannnnnnnnnnnnnnnnnnnnnnnnnnnnnnnnnnnnnnnnnnnnnnnnnnnnnnnnnnnnnnnnnnnnnnnnnnnnnnnnnnnnnnnnnnnnnnnnnnnnnnnnnnnnnnnnnn mnnnnaa aannnnnnaeennnnneennnnnnnnnnnnnnnnnnnnnnnnnnnnnnnnnnnnnnnnnnnnnnnnnnnnnnnnnnnnnnnnnnnnnnnnnnnnnnnnnnnnnnnnnnnn Lnnnne nnnnnnnnnnnnnnnnnnnnnnnnnnnnnnnnnnnnnnnnnnnnnnnnnnnnnnnnnnnnnnnnnnnnnnnnnnnnnnnnnnnnnnnnnnnnnnnnnnnnnnnnnnnnnnnnn waaan anan anan anan anan anan anan anan anan anan anan anan anan anan anan anan anan anan anan anan anan anan anan anan anan anan anan anan anan anan anan anan anan anan anan [ta] nWwWwWwWwWvV.925Kbps WwWvWvWvWvWvWvWvWvWvWvWvWvWvWvWvWvWvWvWvWvWvWvWvWvWvWvWvWvWvWvWvWvWvWvWvWvWvWvWvWvWvWvWvWvWvWvWvWvWvWvW nnaaannnnnnnnnnnnnnnnnnnnnnnnnnnnnnnnnnnnnnnnnnnnnnnnnnnnnnnnnnnnnnnnnnnnnnnnnnnnnnnnnnnnnnnnnnnnnnnnnnnnnnnnnnnnnnnnnn wovwovwovwovwovwovwovwovwovwovwovwovwovwovwovwovwovwovwovwovwovwovwovwovwovwovwovwovwovwovwovwovwovwovwovwovwovwovwovwovwovwovwovwovwovwovwovwovwovwovw nauu! uunnnnnnnnnnnnnnnnnnnnnnnnnnnnnnnnnnnnnnnnnnnnnnnnnnnnnnnnnnnnnnnnnnnnnnnnnnnnnnnnnnnnnnnnnnnnnnnnnnnnnnnnnnnnnnnnnnnnnnn 1 (RJ-45) w USB 2.0 1 WOW IEEE 1394 (wWwJyHnH) WJEEEEE 1394 wJEEE WJEE EEE WJEE WJEE WJEE WJEE WJEE WJEE WJEE WJEE WJEE WJEE WJEE WJEE WJEE WJEE WJEE WJEE WJEE WJEE WJEE WJEE WJEE WJEE WJEE WJEE WJEE WJEE WJEE WJEE High-Definition Multimedia Interface (JWJNJNJNJN) HDMI (High-Definition Multimedia Interface) 1 ExpressCard (wWvVvM) ExpressCard uumnnaaannnnnnae nnnnnnnnnnnnnnnnnnnnnnnnnnnnnnnnnnnnnnnnnnnnnnnnnnnnnnnnnnnnnnnnnnnnnnnnnnnnnnnnnnnnnnnnnnnnnnnnnnnnnnnnnnnnnnnnnnnnnnnnnnnnnnn ExpressCard 1394B ExpressCard USB 2.0 PCI Express ExpressCard ExpressCard/54 ExpressCard/34 (54 wu. uac 34 wu.) uaeauuunwumwumwumwumwumwumwumwumwumwumwumwumwumwumwumwumwumwumwumwumwumwumwumwumwumwumwumwumwumwumwumwumwumwumwumwumwumwumwumwumwumwumwumwumwumwumwumwumwumwumw ExpressCard aannnnnnaeaaanennn nnnnnnnnnnnnnnn mExpressCard newTransactionExpressCard: 1 0anannnnaaennnnnnnnnnnnnnnnnnnnnnnnnnnnnnnnnnnnnnnnnnnnnnnnnnnnnnnnnnnnnnnnnnnnnnnnnnnnnnnnnnnnnnnnnnnnnnnnnnnnnnnnnnnnnnnnnnnnnn 1 1 4 y BIOS yuunwuluyuunununununununununununununununununununununununununununununun 1 aannnnnnae aennnnnne nnnnnnne nnnnnnne wauuua uus BIOUaunuunuunuunuunununununununununununununununununununununununununununununun wBOS uanuunn BOS uanuunnnnBoot nnannnnnn waii iinmnnn nnnnnn nn (mnne nnnnnae) nBOS Main annuan an D2D Recovery wannnnnnaaauauauu< F5> uaz wannnnnnaaannnnnnaa nnnnnnnn BIOSS ananennnnnnnnnnnnnnnnnnnnnnnnnnnnnnnnnnnnnnnnnnnnnnnnnnnnnnnnnnnnnnnnnnnnnnnnnnnnnnnnnnnnnnnnnnnnnnnnnnnnnnnnnnnnnnnnnnnnnnnnnnnnnnnnnnnnnnnnnnnnnnnnnnnnnnnnnnnnnnnnnnnnnnnnn nnne n DVD nanaing: nanaanannnaaannnnnnaannn W DVD 1 1 DVD dnnn nn nnnnnnnnnnnnnnnnnnnnnnnnnnnnnnnnnnnnnnnnnnnnnnnnnnnnnnnnnnnnnnnnnnnnnnnnnnnnnnnnnnnnnnnnnnnnnnnnnnnnnnnnnnnnnnnnnnnnnnnnnnnnnnnnnnnnnnnnnnnnnnnnnnnnnnnnnnnnnnnnnnnnnnnnnnnnnnnnn 2 nanae: 1uunnnnunnuu nnwuu DVD luununununulwn DVD aaiaae aaeaaee aaeeaaeeaaeeaaeeaaeeaaeeaaeeaaeeaaeeaaeeaaeeaaeeaaeeaaeeaaeeaaeeaaeeaaeeaaeeaaeeaaeeaaeeaaeeaaeeaaeeaaeeaaeeaaeeaaeeaaeeaaeeaaeeaaeeaaeeaaeeaaeeaaeeaaeeaaeeaaeeaaeeaaeeaaeeaaeeaaeeaaeeaaeeaaeeaaeeaaeeaaeeaaa 1 ywnnnnnaaannnnnnae nwnwne nnnnnaaennnnnwwnnnnnnnnnnnnnnnnnnnnnnnnnnnnnnnnnnnnnnnnnnnnnnnnnnnnnnnnnnnnnnnnnnnnnnnnnnnnnnnnnnnnnnnnnn - yuaoyuanyuyunyn y wnnnnnaaannnnaananaan ananen nnnnnnnnnnnnnnnnn i Wnwnnnn nn nnnnnnnnnnnnnnnnnnnnnnnnnnnnnnnnnnnnnnnnnnnnnnnnnnnnnnnnnnnnnnnnnnnnnnnnnnnnnnnnnnnnnnnnnnnnnnnnnnnnnnnnnnnnnnn Jn jw wuiuulunuunuunuunuunuunuunuunuunuunuunuunuunuunuunuunuunuunuunuunuunuunuunuunuunuunuunuunuunu 1 aee y 1 i H nnaaannnnnnnnnnnnnnnnnnnnnnnnnnnnnnnnnnnnnnnnnnnnnnnnnnnnnnnnnnnnnnnnnnnnnnnnnnnnnnnnnnnnnnnnnnnnnnnnnnnnnnnnnnnnnnnnnnnnnnnnnnnnnnnnnnnnnnnnnnnnnnnn nunnnnnnnnnnnnnnnnnnnnnnnnnnnnnnnnnn nn n C: nnnnnnnnnnnnnnnnnnnnnnnnnnnnnnnnnnnnnnnnnnnnnnnnnnnnnnnnnnnnnnnnnnnnnnnnnnnnnnnnnnnnnnnnnnnn nn n n n n n n n n n n n n n n n n n n n n n n n n n n n n n n n n n n n n n n n n n n n nn nannnnnnnnnnnnnnnnnnnnnnnnnnnnnnnnnnnnnnnnnnnnnnnnnnnnnnnnnnnnnnnnnnnnnnnnnnnnnnnnnnnnnnnnnnnnnnnnnnnnnnnnnnnnnnnnnnnnnnnn 1 Acer disk-to-disk recovery nnttna:weilalnnuBIOSunnnn waaannnnnnaaennnnn 1 aannnnaanennnnnnnnnnnnnnnnnnnnnnnnnnnnnnnnnnnnnnnnnnnnnnnnnnnnnnnnnnnnnnnnnnnnnnnnnnnnnnnnnnnnnnnnnnnnnnnnnnnnnnnnnnnnnnnnnnnnnnnnnnnnnn nWwWwWwWwWwWwWwWwWwWwWwWwWwWwWwWwWwWwWwWwWwWwWwWwWwWwWwWwWwWwWwWwWwWwWwWwWwWwWwWwWwWwWwWwWwWwWwWwWwWwW WNTWNTWNTWNTWNTWNTWNTWNTWNTWNTWNTWNTWNTWNTWNTWNTWNTWNTWNTWNTWNTWNTWNTWNTWNTWNTWNTWNTWNTWNTWNTWNTWNTWNTWNTWNTWNTWNTWNTWNTWNTWNTWNTWNTW Wwwnwnnwn ITW wnnnnn nn nnnnnae Iaannnnn aannnnnnnnnnnnnnnnnnnnnnnnnnnnnnnnnnnnnnnnnnnnnnnnnnnnnnnnnnnnnnnnnnnnnnnnnnnnnnnnnnnnnnnnnnnnnnnnnnnnnnnnnnnnnnnnnnnnnnnnnnnnnnnnnnnnnnnnnn nnsnnnnnnnnnnnnnnnnnnnnnnnnnnnnnnnnnnnnnnnnnnnnnnnnnnnnnnnnnnnnnnnnnnnnnnnnnnnnnnnnnnnnnnnnnnnnnnnnnnnnnnnnnnnnnnnnnnnnnnnnnnnnnnnnnnnnnnnnnnnnnnnnnnnnnnn nn http://global.acer.com 山藥藥藥藥藥藥藥藥藥藥藥藥藥藥藥藥藥藥藥藥藥藥藥藥藥藥藥藥藥藥藥藥藥藥藥藥藥藥藥藥藥藥藥藥藥藥藥藥藥藥藥藥藥藥藥藥藥藥藥藥藥藥藥藥藥藥藥藥藥藥藥藥藥藥藥藥藥藥藥藥藥藥藥藻 nanaanunnaaonnnnnaan nui: 1 nnaaannnnnnaanennnnaanennnnaanennnnaanannnnnnaanannnnnnaanannnnnnaanannnnnnaanannnnnnaanannnnnnaanannnnnnaanannnnnnaanannnnnnaanannnnnnaanannnnnnaanannnnnnaanannnnnnaanannnnnnaanannnnnnaanannnnnnaanannnnnnaanannnnnnaanannnnnnaanannnnnnaanannnnaanannnnnnaanannnnnnaanannnnnnaanannnnnnaanannnnnnaanannnnnnaanannnnnnaanannnnnnaanannnnnnaanannnnnnaanannnnnnaanannnnnnaanannnnnnaanannnnnnaanannnnnnaanannnnnnaanannnnnnaanannnnnnaanannnnnnaanann nnaananaananaananaananaananaananaananaananaananaananaananaananaananaananaananaananaananaananaananaananaananaananaananaananaananaananaananaananaananaananaananaananaananaananaananaananaananaananaananaananaananaananaananaananaananaananaananaananaananaananaanaraannnnnnnnnnnnnnnnnnnnnnnnnnnnnnnnnnnnnnnnnnnnnnnnnnnnnnnnnnnnnnnnnnnnnnnnnnnnnnnnnnnnnnnnnnnnnnnnnnnnnnnnnnnnnnnnnnnn unununununununununununununununununununununununununununununununununununununununununununununununununununununununununununununun aunnnnnae annnnnnnnnnnnnnnnnnnnnnnnnnnnnnnnnnnnnnnnnnnnnnnnnnnnnnnnnnnnnnnnnnnnnnnnnnnnnnnnnnnnnnnnnnnnnnnnnnnnnnnnnnnnnnnnnnnnnnnnnnnnnnnnnnnnnnnnnnnnnnnnnnnnnnnnann 1767 2018: 20161111111111111 FCC nna:nnnnnnnnnnnn aunnnn (aunnnnnn/naan, wwW, www y) nannnnn nnrnnn Class B wnnnnnnnnnnnnnnnnnnnnnnnnnnnnnnnnnnnnnnnnnnnnnnnnnnnnnnnnnnnnnnnnnnnnnnnnnnnnnnnnnnnnnnnnnnnnnnnn Ferderal Communications Commission 7777777777777777 Class B Canadian ICES-003 Cet apparéil numérique de la classe B est conforme à la norme NMB-003 du Canada. () 1 FCC (FCC Registration Number) Ringer Equivalence Number (REN) wnnnaaannnnnnnnnnnnnnnnnnnnnnnnnnnnnnnnnnnnnnnnnnnnnnnnnnnnnnnnnnnnnnnnnnnnnnnnnnnnnnnnnnnnnnnnnnnnnnnnnnnnnnnnnnnnnnnnnnnnnnnnnnnnnnnnnnnnnnnnnnnnnnnnnnnnnnnnnnnnnnnnnnnnnnnnnnenn 1 1 yaa: waaanuunwumunwnu AWG No. 26 na UL yauynnnaa CSA Certified Telecommunication Line Cord uuu [Council Deciion 98/482/EC-TBR 21] nnnnnaeaeaeaeaeaeaeaeaeaeaeaeaeaeaeaeaeaeaeaeaeaeaeaeaeaeaeaeaeaeaeaeaeaeaeaeaeaeaeaeaeaeaeaeaeaeaeaeaeaeaeaeaeaeaeaeaeaeaeaeaeaeaeaeaeaeaeaeaeaeaeaeaeaeaeaeaeaeaeaeaeaeaeaeaeaeaeaeaeaeaeaeaeaeaeaeaeaeaeae d 1 Telepermit 100000000000000000000000000000000000000000000000000000000000000000000000000000000000 a 10 30 4 1 5 aunnnaeae neaennnnne nannnnnne annnnnne 111 1 a LCD 155555555555555555555555555555555555555555555555555555555555555555555555555555555555 n Nnuu: yuyangyuyuynnunnnnnaaennnnnnnnnnnnnnnnnnnnnnnnnnnnnnnnnnnnnnnnnnnnnnnnnnnnnnnnnnnnnnnnnnnnnnnnnnnnnnnnnnnnnnnnnnnnnnnnnnnnnnnnnnnnnnnnnnnnnnnnnnnnnnnnnnnnnnnnnnnnnnnnnn nnnnnnnnnnnnnnnnnnnnnnnnnnnnnnnnnnnnnnnnnnnnnnnnnnnnnnnnnnnnnnnnnnnnnnnnnnnnnnnnnnnnnnnnnnnnnnnnnnnnnnnnnnnnnnnnnnnnnnnnnnnnnnnnnnnnnnnnnnnnnnnnnnnnnnnnnnnnnnnnnnnnnnnnnnnnnn nn nannn nannn nannn nannn nannn nannn nannn nannn nannn nannn nannn nannn nannn nannn nannn nannn nannn nannn nannn nannn nannn nannn nannn nannn nannn nannn nannn nannn nannn nannn nannn nannn nannn nannn nn annn nn annn nn annn nn annn nn annn nn annn nn annn nn annn nn annn nn annn nn annn nn annn nn annn nn annn nn annn nn annn nn annn nn annn nn annn nn annn nn annn nn annn nn annn nn annn nn annn nn annn nn annn nn annn nn annn nn annn nn annn nn annn nn annn nn ann 1 luAcer wauanwauuauauauauauauauauauauauauauauauauauauauauauauauauauauauauauauauauuuuuuuuuuuuuuuuuuuuuuuuuuuuuuuuuuuuuuuuuuuuuuuuuuuuuuuuuuuuuuuuuuuuuuuuuuuuuuuuuuuuuuuuuuuuuuuuuuuuuuuuuuuuuuuuuuuuuuuuuuuuuuuuuuuuuuuuuuuuuuuuuuuuuuuuuuuuuuuuuuuuuuuuuuuuuuuuuuuuuuuuuuuuuuuuuuuUU aannnnnwwu u u annnnnun 2009 wzwnnnn: wauuu, uauuu, uuuu, uuuuu, uuuuu, uuuuu, uuuuu, uuuuu, uuuuu, uuuuu, uuuuu, uuuuu, uuuuu, uuuuu, uuuuu, uuuuu, uuuuu, uuuuu, uuuuu, uuuuu, uuuuu, uuuuu, uuuuu, uuuuu, uuuuu, uuuuu, uuuuu, uuuuu, uuuu, uuuu, uuuu, uuuu, uuuu, uuuu, uuuu, uuuu, uuuu, uuuu, uuuu, uuuu, uuuu, uuuu, uuuu, uuuu, uuuu, uuuu, uuuu, uuuu, uuuu, uuuu, uuuu, uuuu, uuuu, uuuw Wanwnnnn nnannnnnnnnn LAN Mini PCI uae Bluetooth nannnnn FCC 1 FCC 20.85.1000 LAN Mini PCI Nnnnnae: aannnne Mini PCI 1aennnnnnae nn nnnnnnnnne annnnnne nnnnnnnnne nnnnnnnnne nnnnnnnnne nnnnnnnnne nnnnnnnnne nnnnnnnnne nnnnnnnnne nnnnnnnnne nnnnnnnnne nnnnnnnnne nnnnnnnnne nnnnnnnnne nnnnnnnnne nnnnnnnnne nnnnnnnnne nnnnnnnnne nnnnnnnnne 2 5.15 5.25 GHz FCC nnuuunnuuunnuuunnuuunnuuunnuuunnuuunnuuunnuuunnuuunnuuunnuuunnuuunnuuunnuuunnuuunnuuunnuuunnuuunnuuunnuuunnuuunnuuunnuuunnuuunnuuunnuuunnuuunnuuunnuuunnuuunnuuunnuu (RSS-102) Lauuuaa aae annnnae ananen nannnnnne ananennnne ananennnne ananennnne ananennnne ananennnne ananennnne ananennnne ananennnne ananennnne ananennnne ananennnne ananennnne ananennnne ananennnne ananennnne ananennnne ananennnne ananennnne ananennnne ananennnne ananannnne ananennnne ananannnne ananannnne ananannnne ananannnne ananannnne ananannnne ananannnne ananannnne ananannnne ananannnne ananannnne ananannnne ananannnne ananannnne ananannnne ananannnne ananannnne ananannnne ananannnne ananannnne ananennnne ananannnne ananannnne ananannnne ananannnne ananannnne ananannnne ananannnne ananannnne ananannnne ananannnne ananannnne ananannnne ananannnne ananannnne ananannnne ananannnne ananannnne ananennnnnee
H oukeun npoBoAnC mTopei va exe puOHTe oE eva eGwTeipko Movitop. Patnote to pAnktpo ouvtoueuaqns evaalaycog Oovnsc Fn> + F5> yia v a aaaaTe Tnv oOvN OTov uToloyoiotn.
Eav n evoekikn luxvia avauovns eivai avaumuevn, o utoloyoihts bioketai oe λeitoupyia avauovns. PatnoTe kai eLeuthetawote To koupti tropodooiaac wote va apxioete Tny evyaia gava.V aouyetaixoastoTOV UTOLOYIOtN.
To πιπεδο της εντασης μπορείνα εἰναι τολύ χαμηλὰ. Στa Windows, koɪαξετο το εικόνίδο ελέγχου εντασης (ηχείο) στη γραμή εργασιών. Mπορείte επίαςν α φρησιμοποίσετε τα κουμτία ελέγχου εντασης γι τη υμθμίαη της εντασης του ἡχου.
Eav utapxouv ouvodoevea akouotiká,akouotiká "psiéç" n 8wtepiKa nxiea 0tn thupa efoou akouotikou onmuot oto pootivo tivaka tou utoloyiortn, toTE ta eomegaptiká nxieia atevepyotoiouvtai autópata.ETIθμωνa TpayμaTOIOInσ ΕKTIVaŋTou σUPTAPIOU Tns μováδaç OTIKO δiαKOU χωpiςν εVEpyoTIOInσ Tnγ TpoΦoδoσia.
v avtanokpivetai to TAnktpoIyoI.
O EKTUTWtC AEToupyeI.
Bεβaiωθείτοι utápxει ασφαλης σύνδεηου τοῦ υλώδιου του εκτυτιπήσην παραλημήν USB θύρα του utολογίπης και την αντίοιχη θύρα του εκτυτιπή
2 Σιουρευτείπωςη ρύθμιασιν D2D Recovery στο Main εἶναι στο Enabled.
3 Byeite aTo 0nOthiko TpOpypaBOS (BIOS utility) kai aTo0NkEUsTe Tc aaayEc.
2 Evw eipavicietai to loyotutto Acer. PntnoTe
3 AvatpeTe OTIGOByIe TNS Ooov aopa Tnv EtnavOpWOn Tou OuaTmuToC.
Aɪtnəŋ επιοκεύŋς
Eyyúnŋ Σιεθvή Tαξίδιώτη (International Travelers Warranty; ITW)
aubave Ta opeln Tuv Kevtpwv ETIOKEUwV paC. TOnTOETNATE nTV aTIOEiG
ayopac oTo Kapteakl Tou piokeTAt OTo MTPOOTIV kaLmuA tou diaBataipou ITW.
Papakaaw oumbetaueute http://global.acer.com.Piv va tnaeewvnoet
AvTlμεTωπiση προβληματων στον uTlOλoγιστή μου
Σuβouλες αντιμετώπισης προβλημάτων
6eite "Mnuuata opaalmuatwV". Av to poblaeta de tnpoei va etilauthetai,
ETIKOVNVNOte ME TOV TlWANTn OAC. 6eite "AITnON ETIOKEUNs" OTN eLIDA 36.Mnyuataσαλμatωv
Mnvyμata σφαλμάων Διρθωτική ευέργεία CMOS battery bad ΕΤΙΚΟΙνωνησότε με τον αντιπρόσωτό σας ἡ Με ενα εξουαίδοτημένο κέντρο επισκεύων. CMOS checksum error ΕΤΙΚΟΙνωνησότε με τον αντιπρόσωτό σας ἡ Με ενα εξουαίδοτημένο κέντρο επισκεύων. Disk boot failure ΕΙσάγετε μία διακέτα Σαυτηματος (Εκκίνησιμη) στη μονάδα διακέτας (A.); και επείτα πατηότε <Enter> για επανεκκίνηση. Equipment configuration error Παπότε <F2> (απβίαρκεία του POST) για εισέλθετε στην Εφαρμούγή BIOS (BIOS utility): ακολουθως πατηότε Exit στο βοηθητίο πρόγαμμα BIOS για επανεκκίνηση. Hard disk 0 error ΕΤΙΚΟΙνωνησότε με τον αντιπρόσωτό σας ἡ Με ενα εξουαίδοτημένο κέντρο επισκεύων. Hard disk 0 extended type error ΕΤΙΚΟΙνωνησότε με τον αντιπρόσωτό σας ἡ Με ενα εξουαίδοτημένο κέντρο επισκεύων. I/O parity error ΕΤΙΚΟΙνωνησότε με τον αντιπρόσωτό σας ἡ Με ενα εξουαίδοτημένο κέντρο επισκεύων. Keyboard error or no keyboard connected ΕΤΙΚΟΙνωνησότε με τον αντιπρόσωτό σας ἡ Με ενα εξουαίδοτημένο κέντρο επισκεύων. Keyboard interface error ΕΤΙΚΟΙνωνησότε με τον αντιπρόσωτό σας ἡ Με ενα εξουαίδοτημένο κέντρο επισκεύων. Memory size mismatch Παπότε <F2> (στη διαρκεία του POST) για va εισέλθετε στην Εφαρμούγή BIOS (BIOS utility). ακολουθως πατηότε Exit στο βοηθητίο πρόγαμμα BIOS για επανεκκίνηση.
evepyie, Taapakauoue ETKIOAVWVNOTE ME TOV Ttawntnac n me EvaaEouiootnuEvo Kevtpo
etiakeuvvaBoTHeia. Mepika TPOBlambdaata mTPOe i va luohovxpnaiotoiwvtaC Tnv evapapoyni
BIOS (BIOS utility).PpOεIδoToiñσεiç Kavovioμwv & aσφaλείας
Δήλωση FCC
mu yinphiakn ouokneun TaCg B (Class B) ouwov a to Mepos 15 (Part 15) twv
Kavoviauw FCC.Auta ta opia exouv oxediaotei ia va tapexouv etrapkn
tpoostaia evavtia eBaaepecrnapeBolcse eia oikiakiyn eykataotaan. Autn n
ouokneun npayei, xnpoiotioei, kai mtopei va ekTIemuei evpyea paiouxvotntac
kai, av dev eykataotaeei kai xnpoiotointhe oukwva e Tc obnyies, mtopei va
tpokaolei balepnpaeboh ne pao-ETIKOIVWVEc.
AuñóTe to diaxωρiμo μετaú Tou εοπλιαμou Kai tou δεκTη. Avakoivomega: Pooataeuaéva kaawδia
Avakoivwon: Iepiepeiakec ooukeuec
Ppoooxn
Avakovosig yia o (opioeva oovteλa móvo)
TBR 21
Δήλωση εικονοστοίχείου LCD
Puθμiσική δήλωση ραδιοσύκευής

ΓεVIKα
AiaKnpuEg NmuOpwpoNgs yia Xwepes Tns EE
AioTa kaTaalnIawXwPwV
H aπaɪtnən ασφάλειας FCC RF



4 Mia akataaann ykataoataon n un esouioodotnveyn xpnon mtopé va Tpokaeaεi eTINBaaβn napeboan otic paioetikoivwviε. Etrion, Otoiahntote tneuαon otny eoewepikn kepaia thakupoei nTv tiottoinon kaFCC kai nvyun on ac.Kavaa- X aunlnc 10xuoc ouokuec paioeTIkoivwviw v Tou oE xpeiaovtai adea (RSS-210)
'Ekθεση ανθρώπων σε πεδία RF (RSS-102)
LCD panel ergonomic specifications
Design viewing distance 500 mm Design inclination angle 0.0° Design azimuth angle 90.0° Viewing direction range class Class IV Screen tilt angle 85.0° Design screen illuminance • Illuminance level:
[250 + (250cosα)] lx where α = 85°
• Color: Source D65 Reflection class of LCD panel
(positive and negative polarity) • Ordinary LCD: Class I
• Protective LCD: Class III Image polarity Both Reference white:
Pre-setting of luminance and color temperature @ 6500K
(tested under BM7) • Yn
• u'n
• v'n Pixel fault class Class II TravelMate Serisi
Değerli Acer Kullanıcişi
BAKIM, ONARIM ve KULLANIMDA UYULMASI GEREKEN KURALLAR
Notebookunuzu teslim alirken, notebookunuzla birlakte gelmesi gereken aksesuararin tam olup olmadigiin kontrol ediniz. Eksik herhangi bir parca varsa notebookunuzu satin aldiginiz tarihten itibaren en geç 15 güncersinde saticinizdan söz konusu parcanin tedarik edilmesini talep ediniz. 15. gunden sonra yapacaginiz talepler dikkate alinmayacaktir.
Notebookunuzu orijinal kutusunu ve kutu icindeki kopuk,aksesuar vs. daha sonraki servis ihtiyacinda kullanmak uzere lufen saklayiniz.
Notebookunuzu kurarken, kullanirken ve daha sonra bir yerdehyigi esnasinda sarsmamaya, darbe, isl, rutubet ve tozdan zarar gormemesine ozen gosteriniz. Bu sebeplerden ortaya cikacak problemler cihazinizin garantı kapsam盔indadir.
Notebookunuz icin kullanacağıniz elektrik hattın toprakl olduğundan ve sebeke voltaj dalgalanması olmadiğindan emin olunuz. Uygun olmayan ereri kullanimi sebebile olşan herturlu ariza cihazınizin garantı kapsaminin disindadir. Boyle bir anizan tamiri size mali yük getirecekbir.
Notebookunuzun elektrik kablolarinin prize ve notebook üzerindeki yugasina tam oturduğundan emin olunuz.
- Harici parçaları birbirlerinin yuvarına yada kendi yuvarına ters bir seksilde takmayıniz. Bu ve:tüm diger婴幼儿 notebookkunuz kapalı (off) durumda ilken yapıniz. Notebookunuz calişir durumda ilken herhangi bir婴幼儿 Çikartmaya yada:yeni婴幼儿 yapmaya calismayıniz.
Notebookun baIantilarin dinogrupyapildigindan emin olunuz.
Notebookunuzda kopya program kullanmayiniz.Notebookunuzu ilk kez calistirdiginizda
Bir ariza durumunda
- Yetkili Teknik Servis elemanlarin'in size yardim olmalarin'i kolayastirmak icin servisimizi aramadan once probleminizin ne oldugunu tam olarak belirleyiniz.
- Size sorulacagi—in notebookkunuzun seri numarasini ve satin alma tarihini bir kenara not ediniz.Arizali notebookkunuzu Yetkili Teknik Servisimize teslim ederken
Herhangi bir servisimize arizali notebook teslimi icin gittiignizde sizi bir elemanimiz karşilayacak ve adiniza bir Servis Formu duzenleyip notebookkunuzu teslim alacaktir. Kargo ile yollayacaginiz notebookkaricn onceden servismizden sira numarası aliniz. Kargo paketinin üzerine yazilan ad ve adreslerin okunakl olmasina dikkat ediniz. Notebook'un kargo ile taşinması esnasinda geblecek hasarlardan servismiz sorumlu olmayacaktir.
Servis formunu imzalamadan once gerekli açıklama böllumerini okuyunuz. Formdaki bilgilerde eksiklik ve yanışlik olmadiğindan emin olunuz.
Servis formunun, notebookkunuzun servis tarafindan teslim alindi gosten (Teslim Alma Fisi) bolumu size verilecektir. Bu fisi notebookkunuzu geri alabilmek icin kullanacaksiniz. Bu sebeple kaybetmeyiniz.
Notebookunuzu geri almaya gelmeden once teslim alma fişinde yazili olan tahmini teslim tarihinde gerek servisimizi arayarak gerekke web adresimidzen tamir ileminin bittişi teyidini alıniz. Bir notebookkun tamir suresi azami 30,isGNUdur.
Notebookunuz size teslim edilmeden once calistirlacaktir. Lutfen isteklerinizin yerine getirildigini kontrol ediniz. Servis formunda kayitll taleplerde yerine getirilmeyen yada eksik yapilan bir islem varsa hemen yapilmasiniletpediniz.
Notebookunuzu servise teslim ederken servis formuna kaydettirmediginiz bir islemin yapilmasin istemeniz yeti bir servis talebi anlamina gelecekbir. Bu islem icin prosedur en basindan yeniden isletilecekbir. Bu sebeple notebookunuzu, servisimize teslim ederken problemlerinizi, yapilmasin vya yapilmamasini istediginiz islemleri tam olarak belirtiniz ve forma islendiiginden emin olunuz.
Notebookunuzu teslim alirken yapilan islem ve kullananan malzeme karstigiindae deyeceginizicutin fatura talep ediniz. Servis formu ve faturada yazilimebaigin odediqinizicutret tutarile ayni olmasi gerekmektedir.
Notebookunuz garanti suresi icinde dahi olsa olusan her turlu ariza garanti kapsam icinde degildir. Bu sebeple garanti kapsam bolumunu dikkatlice okumanizi tavsiye ederiz.
Servislerimizde ucret karstigi degistirilen parcalara 3 aylik servis garantisi verilir. Soz konusu garanti sadece degistirilen yeti parcayi kapsar. Notebookung garantii suresi icinde ve garantii kapsaminda yapilan parca degisikliginde ucret alinmaz ve bu parca icin notebookkun garantii suresine bir ekleme yapilmaz. TASIIME ve NAKLIYE SIRASINDA DIKKAT EDILECEK HUSUSLAR
Notebookunuzu kurken, kullanirken ve daha sonra bir yer degisikligi esnasinda sarsmamaya, darbe, isi, rutubet ve tozdan zarar gormemesine ozen gosteriniz. Bunlardan dolayi ortaya cikacak problemler notebookunuzun garantı kapsaminin disindadir.KULLANIM SIRASINDA INSAN VEÇEVRE SAGLIGINA TEHLİKELİ VEYA ZARARLI OLABİLECEK DURUMLARA İLŞkin UYARILAR
Notebookunuzun cevresinde manyetak veya elektronik urunler calisirken kullanmayin.
- Yetkili servis disinda cihaza mudahale/ekleme/çikarma yapilmasindo naçıniniz. Hem sagliginiz hem cihazın garantisi ac—isindan bu onemlidir.KULLANIM HATALARINA ILIŞKIN BILGILER
Notebookunuz uzerinde tadilat, tamir, oynama veya herhangi bir fiziksel muddahalede bulunmayin.
Notebookunuzun bar kodunun, model ve seri numarasinin zarar gormemesine dokkat ediniz. Bunlarin okummaması veya yipranmş olması durumunda ürünüz garantı kapsamı disina Çiakacaktı.
Notebookunuzla bir baska urunun kurulumu, kullanimi sirasinda ortaya cikabilecek problemer, notebookunuzun garantı kapsaminin disindadir.
- Olağandi fiziksel veya elektriksel kosullara, yüklemeye maruz birakilması, elektrik arizaları veya kesintileri, yildirim, statik elektrik, yangın veya/DDerDOGAL afetler sonucu meydana gelebilecek sorunlar urününüzün garantı kapsaminin disindadir.
- Üslavinden emin olmadıgüniz programlari, oyumlari notebookkunuza yüklememeye, kaynagıni ve-SAğlam olduşunu kisin bilmediğigüniz disket ve CD'leri notebookkunuzda kullanmamaya özen gocteriniz.
- Bu yollarla ve Internet vasitası ile notebookkunuza bulasakac virüsler mevcut program ve verilerinize zarar verecek ve sizi maddi zarara uğratacaktı.
- Virüslerin.Doğuracaı problelmerle birlikte kullanılarafindan yuklenen her turlu programın kurulumunda, kullanınde ve daha sonrasindo;cikaracaı:tüm problelmer garanti kapsaminin disinda olup,tüm yurt sathindaki servislerimizde bu problelmerin giderilmesi icin sabit fiyat uygulanmaktadir.
Notebookunuzu etikette belirtilen guc tipinde calistiriniz.
- Tüm böglant行李 notebookkunuz kapalı (off) durumda ilken yan/APİNZ. Notebookunuz calişir durumda ilken herhangi bir böglantıyıçıkarmaya yada yeti böglant行李 yapmaya calis'mayiniz. İbraz etmek uzere garantı belgenizi ve faturanı muhafaza ediniz.
Notebookuogrudan isiya maruz birakmayin.
Notebookun içine siv dokmeyin.
Notebookunuzu temiz, toszus, nemsiz, ortamlarda kullanmaya ozen gosteriniz.
Notebookunuzunogrudan gunesi altinda kalmasini engelleyiniz.Garanti Belgesi
Garanti Kapsami
viii
Notebookunuzla yuklenen tum yazilimar ayrì birer urün olup garantileri; szo konus ürünlerin ureticisi, ithalatçisi veya dağiticişın yükūmlulugu altindadir. Tüm yazilmar notebookkunuzun garantı kapsam防盗çindadir. Bu sebeple tüketi, yazilmarin temini, kurulması ve kullanilması sirasinda karşilasaçağı problelmerde garantı kapsaminda hak talep edemez.
Notebook kullaniciarinin cok sik karstilastiklar virus problelmerine karstTedbirli olmak kullaniciin mesuliyetinedir. Notebookunuzda karstilasacaiginiz viruslere bagl tum anzalar garanti kapsam disindadir. Virusler ve viruslerden korunma yontemleri hakinda gerekli bilgileri servislerimizden ucretsiz olarak elde edebilirsiniz.
Notebooklar oldukca hassas cihazlar olup, cevredeki bir cok etkenden zarar gorebilir. Yuksek ya da cok dusuk isi, rutubet, toz bunlardandir. Notebookunuzda bu sebeple olusacak (bilhassa CD - ROM surucu ve disket suruculerinde grolen) arizalar garantapsamis disindadir.
Notebooklarda tum parçalarin birbirile ilitetimi vardir ve tum parçalarin birbirine uyumu Şartır. Notebookunuza uygun olmayan bir parçanın ilavesi yada mevcut parçalardan birinin Çikarilması bu uyumu bozacaktır. Bu sebeple Yetkili Teknik Servislerimiz dhe nade notebookunuza kimsenin度过ahale etmesine izin vermeyiniz. BuTurkeyng kapsam Şinda kalir. Bu konuda merkezimizde kayıltı olan üretim formları esas alınacaktır. Bu konuda herhangi İhtilaf durumnda itiraz,—)—garanti kartınüz, notebookunuzu satin aldgünizda verilen faturayı ve servis formaları ibraz etmeniz gerekmektedir.
Servislerimize gelen notebookclarin ve parçaların garanti dahilinde olup olmadıkları, merkezimidze bulunan ve üretim esnasindo yapilan kaytlar esas alınarak tespit edilir. Arizaların garanti kapsam icinde yada/DDinda olduğunun tespitinde, servis elemanların notebook hakinda duzenleyecekleri rapor esastır.
Class II:ISO 13406-2 LCD standardina gore 5 (beş) noktaya kadar olu piksel normal olarak kabul edilir.TÜKETICINN KENDİ YAPABİLECEGI BAKIM, ONARIM VEYA ÜRÜNUN TEMIZLIGINE ILISKİN BILGILER
Notebookunuzun Temizligi
Notebookunuzu temizlemeden once guc kablosunu prizden cikartin.
Notebookunuzu temizlemek icin sert kimyasal, gucu temizlememalzemeleri, sivi yada aerosol temizleyiciler kulanmayiniz. Temiz ve hafif nemli bez ile silebilirsiniz.PERIYODIK BAKIM GEREKTIRMESİ DURUMUNDA, PERIYODIK BAKIMIN YAPILACAGI ZAMAN ARALIKLARI ile KİMIN TARAFINDAN YAPILMASİ GEREKTİQE IN ilISKİN BILGILER
Notebookunuzun Periodik Bakimi
BAKANLIKÇA TESPİT ve ileLAN EDİLEN KULLANIM ÖMRÜ
Güvenliginiz ve rahatinizkın bilgi
Güvenlik talimatlari
Temizlemeden once urunu kapatin
IKAZ aygiti n baglantisi kesme fişi hakkinda
IKAZ Erisilebilirlik hakkinda
Taklit kart(lar)dan SAKININ (sadece belirli modeller)
IKAZ Dinleme hakkinda
Kulaklariniz ayarlandiktan sonra ses duzeyini artirmayin.
Uzun sure yuksek sesteMZik dinlemyin.
- Cevredeki gurultüleri kapatmak ilen ses seviyesini artirmayın.
Yakininizda konusan kiisileruuyamiyorsaniz sesi azaltin.Uyarilar
Herhangi bir nesneyi kabin yuvalarindan bu urune sukmayin, aksi halde tehlikeli voltaj noktalarina dokunabilir veya kisa devre yaparak yangin vya elektrik carpmasi ile sonuclanabilir. Herhangi bir siviyi asla bu urune damlatmayin. Elektrik güçünün kullanilması
Guc kablosuna herhangi bir cismin dayanmasina izin vermeyin. Bu urunu insanlarin kabloyu cignyecgi yerlere yerlestirmeyin. 
Urunbakimi
urune sivigirdiginde
- urün yagmura veya suya maruz kaldiginda
urun dusugunde veya mahfazasi hasar gordugunde
- urun performansinda servise goturulmesi gerektigini gostenen onemli bir fark güruldügende
- Çalıstirma talimatlari yerine getirildikten sonra ürün normal calismadigianda
Pilin guvenilir kullaImasi iin klauvz bilgiler
Pil unitesinin degistirilmesi

Optik Sürucu Aygünifton Uyarı (sadece belirli modeller)
xiv
Telefon hattin'in guvenligi

Çalışma ortamı

Tibbi aygictlar
Araçlar
Potansiyel olarak patlayicine ortamlar
Acil aramalar
Imha talimatlari
Çevre kırkınlı en aza indirmek ve küresel ortamı en iyi sekilde korumak
çın lüftern yaniden isleyin. Elektronik ve Elektrikli Cihaz (WEEE)
duzenlemeleri hakkinda ayrintu bilgi;cın: http://www.acer-group.com/
public/Sustainability/sustainability01.htm.
Civa uyarisi

ENERGY STAR

ENERGY STAR
10 ve 30 dakika sureyle kullanilmadiğinda Kendiliğinden sirasiyla "ekran uykuda" ve "bilgisayar uykuda" modunaGPCER.
- Bilgisayari uyku modundan*cikarmak icin klavyenin bir tuşuna basin ya da farevi oynatin.
- Bilgisayarlar "uyku" modunda iken %80'den fazla enerji tasarrufu saglar.Rahat kullanı icin ipuçları ve bilgiler
- ksinma, kirginlik veya kizarma
- aci, sisme veya carpinti
- tertlik veya gerginlik
soğuk alma veya halsizlikRahat oldugunuz bolgenin bulunmasi
Boyun ve omuzlarinizi rahatlatmak icin kisa molalar verin
Harici ekranı, klavyeyi ve farevi dizgün ve ulasabileceğiniz seksilde kurun XVIII
Gözlerinize dikkat etme
Gözler
- Monitörden uzaga bakarak ve uzaktaki bir noktaya odaklanarak gozlerinize duzenli molalar verin.
Gözlerinizin kurumasini onlemek icin sik sik goz kirpin.Ekran
- Băşinizi ekranın üst kenarindan daha yüksekte tutun, böylece ekranın ortasina bakarken gozleriniz asağiya baksın.
- Metini daha rahat okumak ve grafiklerin net olması icin ekranın parlakiğıni ve/ veya kontrastıni rahat bir)düzeye ayarlayın.
- Parlamayi ve yansimayi onleyin:
perde, gölgeik veya iSik kapatici kullanarak odadaki iSigt en aza indirin
bir gorev isigi kulla
ekranin goruntuleme açisin degistirlimesi
- Açık pencereler gibi parlak ilek kaynaklarina uzunsurebakmayın.Iyi calisma aliskanlikarininn gelistirilmesi
Bazi gerilme egzersizleri yapin.
Mümkün olduğunca sık taze havasoluyun. 

Ilkseylerilk
Rehberleriniz
2 AcerSistemi Kullanici Kilavuzu'nu (AcerSystem User Guide) tiklayin.
Bilgisayarinizin kullanimi icin temel bakim ve ipuçları
Bilgisayarı脘ma kapama

Bilgisayarinizinbakimi
Bilgisayar ekranini kapatirken carpmayin. AC adaptörünün bakimi
Guc kablosuna basmayin ya da uzerine aigr nesneler koymayin. Guc kablosunu duzguncse sarin ve ayak aktinda tutmayin.
Guc kablosunu cikarirken kablodan degil fisten tutarak cekin.
- Eger uzatma kablosu kullaniyoransiz, takilan cihazin toplam amper oranlari kablonun amper oranini gelememelidir. Ayrica, tek duvara takilan butün cihazin toplamGPCELORANIGEOMELIDIR.Pil kutusunun bakimi
Kullanilan pilleri yerel duzenlemelere gore elden cikarin. Mumkunse geri donusum yapin.Temizlik ve servis
2 AC adaptörunü sökün.
3 Yumusak ve nemli bir bez kullanin. Sivi ya da gazl temizleyiciler kullanmayin.
SA(GLIGINA TEHLİKELİ VEYA ZARARLI
OLABİLECEK DURUMLARA İLISKİN UYARILAR vi
KULLANIM HATALARINA İLISKİN BILGILER vi
KULLANIM ÖMRU ixDokunmatik yüzey 1
Klavyenin kullanimi 3
5
Video 5
Sistem uygulamalarin kullanilmasi 6
Güç yönetimi 8
Acer eRecovery Management 9
Pil kutusu 14
Diz üstü bilgisayarinizi yaninizda götürmek 18
Bilgisayarinizi gven alta almak 22
Seçenekler yoluyla genisletme 24
Sik Sorulan Sorular 31
Sorun giderme 34
Düzenlemeler ve güvenlik uyarilari 35
Dokunmatik yüzey
Dokunmatik yüsey temelleri (parmak izi okuyuculu)

Fonksiyon Sol tuş (2) Saq tuş (4) Ana dokunmatik yüzey (1) Orta tuş (3) Çalıkın İki kez Higginsoca basin. İki kez seks如有侵权 verun (fare tatsächı ile kez Higginsoca basma yüzinda). Seçme Bir kez basin. Bir kez%H决议如有侵权 verun. Sırkıkleme Tıklayın ve tutun, sonra imleci sırkıklemek icin dokunmatik yüzeyde seksHG representatives履职 bilgili kullanın. İki kez%H决议如有侵权 verun (fare tatsächı ile kez Higginsoca basma yüzinda); ikinci vumuşta parmağınkıdnık dokunmatik yüzeyde bekletin ve imleci sırkıleyin. Kontektmenüne erişim Bir kez basin. Dokunmatik yüsey temelleri (iki tɪklama dʊɡmesi ile)
Fonksiyon Sol tus Sag tus Ana dokunmatik:yüzey Çalıstır İki kez Higginslaca basın. İki kez havilçegurvun(fare tuşuna iki kez Higginslaca basma:hizinda). Seçme Bir kez basın. Bir kez havilçegurvun. Sürükleme Tıklayin ve tutun,SONA imleci sürüklemek icin dokunmatik yüzydeparmağın;zili kullanı. İki kez havilçegurvun(fare tuşuna iki kez Higginslaca basma:hizinda);ikınci vuruşta parmağın;zili dokunmatik:yüzydebekletin ve imleci sürükleyin. Kontekstmenüseye erişim Bir kez basın. 


Klavyenin kullanimi
Kilit tuşkı veayoşal tuş takimi*
Kilit tuşu Açıklama Caps Lock Caps Lock污染防治 tanım alfabetik karakterler��k harflidir. Num Lock
<Fn> + <F11>* Num Lock污染防治 tanım sayısal moddadir. Tuşlar hesap makinesi olarak ileşv gürür (+, -, *, ve / aritmetik operatörlerle birlükte). Birkıç sayı veri,girişi,yapacaksaniz bu modu kullanın. Daha,iyi bir次会议 haricibir tuş takimi baglamak olacaktır. Scroll Lock
<Fn> + <F12> Scroll Lock污染防治,yukari ya da aşkıngülok taklarna bastmişizda ekran bir satir yukari ya da aşkı hareket eder. Scroll Lock bazı uygulamalarda calismaz. İstenilen erişim Num Lockalık Num Lock kapalı Tuş takimiindaki
sayı tuşları Normal seksilde sayiları Yazın. Tuş takimiindaki
imleç-kontrl tuşkınlı kullanırken
<Shift> tuşuna basili tutun. İmleç-kontrl tuşkınlı
kullanırken <Fn> tuşuna
basili tutun. Önemli klavye tuşları Tuş takimi nı kullanarak harf
yazarkan <Fn> tuşuna basili tutun. Normal seksilde harfleri
yazın.
Windows tuşlari
Tuş Açıklama Windows tuşu Yalinizbara basildiğnda Windows Başlat tuşuna basilmasiylea�能i ileve sahipir; Başlat menüsüne erişimi-SAğlar.Cezgüf tonksoyolartin-SAğlanması�能i diğer tuşlarla birlikte de kullanilabilir: < ><>: Başlat menüsunu açmak ya da kapatmak < ><>: + <D>: Masaustünü gõster < ><>: + <E>: Windows Gezginini açmak < ><>: Bir dosya ya da klasörü aramak < ><>: + <G>: Yan çubuk takımleriarasinda dönnek < ><>: Bilgisayarınzipi kilitlemek (bir ağ bölgesinebaçylşanı) ya da kullanıdeğistirmek (bir ağ bölgesine bängldeğilseniz) < ><>: Tüm pencereleri kılıultmek < ><>: + <R>: Çalıstır diyalog penceresini açmak < ><>: + <T>: Görev;cübuğundaki programlararasinda dolaşmak < ><>: + <U>: Erişim Merkezinin Kolayligrnì açmak < ><>: + <X>: Windows Mobile Merkezini açmak < ><>: + <BREAK>: Sistem Özellikleri diyalog kutusunu açmak < ><>: + <SHIFT+M>: Kılıultműş pencereleri tekrar masaustüne taşimak < ><>: + <TAB>: Windows Flip 3-D kullanar,görev;cübuğundakiprogramlararasinda dolaşmak < ><>: + <SPACEBAR>: Tüm aygünlaronegetirmek ve Windowsyan;cübuğunusecmek <CTRL>+ < ><>: Bilgisayar aramak (bir ağ icindeyseniz) <CTRL>+ <><TAB>: Windows Flip 3-D kullanar,görevcübuğundaki programlararasinda dolaşmak�能oktuşlarini kullanin Not: Windows sürümünebağl Olarak,bazi kisayollar acıkulanan Şekilde calısmayabilir. Uygulama tuşu Bu tuşfarenin sağtuşuna basmakla�能i ileve sahipir;uygulamanin kontektstmenüsunu accelerometer. Ses
Acer PureZone (sadece belirli modeller)

Video
16:9 ekran (sadece belirli modeller)
Sistem uygulamalarin'in kullanilmasi
Acer Bio-Protection (sadece belirli modeller)

Acer Backup Manager

2 Yedekleme kopyalarin nereye yuklenecegini和地区。Harici bir sürucü veya D sürucünuzu seçmeniz gerekecektir: Acer Backup Manager kaynak sürucüye bir yedekleme yukleyemez.
3 Acer Backup Manager'in ne siklikla yedekleme yapacagini seksin.
Ayrıca Acer Backup Manager tuşuna basarak yedeklemeleri manuel olarak da olusturabilirsiniz.
Güç yönetimi
Acer PowerSmart tuşu

Acer eRecovery Management

Sürucüler ve Uygulamalar Yedek Diski Olustur
Sürucüleri ya da Uygulamaları Tekrar Ükle

Yedekleme disklerinin yakilmasi
2 Acer eRecovery Management, Backup sayfasinda açilir.
4 Bu islemi tamamlamak icin ekrandaki yonergeleri takip edin.
Geri Yükleme
2 Geriyukle'yi tiklatarak Geriyukleme sayfasinaGPCIN.
4 Bu islemi tamamlamak icin ekrandaki yonergeleri takip edin.Yedekleme disklerinden Windows'yi geri yukleme

2 Sistem açlisi sirasinda Acer logosu görtüntüendiğinde F2 tusuna basarak system parametrelerini ayarlayabileceğiniz BIOS Kurulum'na girin.
3 Sol ve sag ok tuşları kullanarak Ana alt menüyu seksin.
4 Yukari ve asagi ok tuşlarini kullanarak F12 On yükleme Menüün'uşçın.
5 F5 veya F6 tuşlarini F12 On yukleme Menüünden Etkinleşirildi ögesine,—geçis,—çın kullanın.
6 ESC tuşuna basarak Çiş alt menusüne girin, ENTER tuşuna Kaydedilen Değisikliklerden Çiş ilemi icin basin. ENTER tuşuna tekrar basip Evet'seçın. Sistem yeniden yüklenecektir.
7 Yeniden yuklenmeden sonra, Acer logosu görtülendigiinde F12 tuşuna basarak On yukleme Menü'sn'uacdı. On yukleme yapacaginiz aygün burada seçebilirsiniz.
8 Ok tuşlarini kullanarak IDE1* ögesini seçip, ardindan ENTER tuşuna basin. Windows kurtarma diskinden yüklenecektir.
9 Istendiginde ikinci kurtarma diskini yerleştinrip ardindan ekran istemlerini takip ederek geri yüklemeyi tamamlayin.
10 Geriyuklemtamamlandiginda kurtarma diskini optik surucden cikarin. Bunu bilgisayariniza yeniden onyukleme yapmadan once yapin.
2 Sistem açilişi sirasinda Acer logosu görtüntülendiğinde F2 tusuna basarak systemd parametrelerini ayarlayabileceğiniz BIOS Kurulumu'na girin.
3 Sol ve sag ok tuşlarini kullanarak On yükleme alt menusünse;.
4 Yukari ve aşaqık tuşlarini kullanarak IDE1* aygünıüncü.
5 F6 tusunu kullanarak IDE1* aygitinci en yuksek on yukleme onceligiine taysiyn veya, F5 tusunu kullanarak diger aygitlar da hdu suk on yukleme onceligiine taasiyn. IDE1* aygitinin en yuksek oncelikte oldugundan emin olun.
6 ESC tuşuna basarak Çişis alt menusüne girin, ENTER tuşuna Kaydedilen Değisikliklerden Çiş ilemi icin basin. ENTER tuşuna tekrar basip Evet'ı/seçın. Sistem yaniden yüklenecektir.
7 Yeniden on yükleme yaptıginizda, Windows kurtarma diskinden yüklenecektir.
8 Istendiginde ikinci kurtarma diskini yerleşirip ardindan ekran istemlerini takip ederek geri yüklemeyi tamamlayin.
9 Geriyuklemetamamlandiginda kurtarma diskini optik suruciden cikarin. Bunu bilgisayariniza yeniden onyukleme yapmadan once yapin.Pil kutusu
Pil kutusunun özellikleri
Dusuk pil uyarisi verir.Pil omrunu uzatma
Yeni pil kutusunu kosullandirma
2 AC adaptörunü baglayin ve pili tamamen doldurun.
3 AC adaptörunü sökün.
4 Bilgisayaräçinve pilgucūkullanarakçalistirn.
5 Dusuk pil uyarisi gürunene kadar pili tamamen bitirin.
6 AC adaptörunü yeniden baglayin ve pili yeniden tamamen doldurun.
Yukarida tanimlandigi gibi pili sonuna kadar doldurmamak ve boşaltmamak. Pil kutusunu yerleşttirme veçikarma

Bir pil kutusu yerleşirmek yüz:
2 Pili, pil yuvasina kaydirin ve pil yerine oturana kadar yasaşa itiniz.Bir pil kutusunu cikarmak ici:
2 Pili pil yuvasindan cekin.Pili sarj etme

Pil seviyesini kontrol etme
Pil ömrūnü etkili kīlma
- Pili mobil kullanim icin korumak amaciyla mumkun oldugunca ACGPCUNU kullanin.
- Cok fazla güç harcayacağindan kullanilmadiği zamanlarda PC Kartıncıkarin(seçili model icin).
- Pil kutusunu serin ve kuru bir yerde saklayin. Önerilen sicutlik 10 °C (50 °F) ile 30 °C (86 °F)arasindadir. Daha yuksek sicutliklar pilin Kendiliginden daha hizl boşalmına neden olur.
- Asiri sarj etme pilin omrunu kisaltir.
AC adaptörüne ve pile dikkat edin.Düşük pil uyarıışı

Durum Önerilen ilelem AC adaptörü veGPC ic知識 mevcut. 1. AC adaptörünü bilgisayara takın ve ana elektrik przyine besteht Glenn.
2. Tüm gerekli dosyaları kaydedin.
3. İsleme kaldırım yerden devam edin.
Pili yüzüncü)yeniden-SAart etmek istiyorsaniz bilgisayarı kapatın. Ekstradan tam dolubir pil mevcut. 1. Tüm gerekli dosyaları kaydedin.
2. Tüm uygulamaları kapatın.
3. Bilgisayarı kapatmak icin iletim sistemi kapatın.
4. Pil kutusunu/DDşistirin.
5. Bilgisayarı acın ve ilemelerkildırım yerden devam edin. AC adaptörü ya daGPC ic知識 mevcut.Yedek pil kutunuz yok. 1. Tüm gerekli dosyaları kaydedin.
2. Tüm uygulamaları kapatın.
3. Bilgisayarı kapatmak icin iletim sistemi kapatın. Düz üstü bilgisayarınkı yanınizda götürmek
Masa üstü ile böglantilarin kesilmesi
2 Sürucülerden medya, floppy diskleri ya da CD'leri Çikarin.
3 Bilgisayari kapatin.
4 Ekran kapağıni kapatin.
5 Kabloyu AC adaptörunden Çiakin.
6 Klavye, isaretleyici, yazici, harici monitor ve diger harici cihazlarin baglantilarin ickarin.
7 Bilgisayari sabitlemek icin, eger kullanyorsaniz, Kensington kilidini cikarin.Kisa yolculuklar
Bilgisayarihazirlamak

Toplantilara neler gotturulur
Bilgisayari eve götürmek
Bilgisayarihazirlamak

Yaninizda neler gotturmelisiniz
Kagida basilmigi Hizli Blasma KilavuzuÖzelhususlar
Uzun bir sure durmaniz gerekiyor ve bilgisayar yaninizda taysiamiyorsaniz, asiri isiya maruz kalmaması icin bilgisayar arabanin bagajina koyun. Ev ofis kurmak
Bilgisayarla yolculuk
Bilgisayarihazirlamak
Yaninizda neler gotturmelisiniz
Yedek, tam dolu pil paketleri
- Baska bir yazici kullanmayi planllyorsaniz ek yazici sürucu dosyalariÖzelhususlar
Bilgisayarla uluslarası yolculuk
Bilgisayarihazirlamak
Yaninizda neler gotturmelisiniz
- Seyahat ettiğiniz ülke�能iuygun Güç kablosu
Yedek, tam dolu pil paketleri
- Băska bir yazici kullanmayi planliyorsaniz ek yazici sürücu dosyalari
Gümruk bürosuna östermek icin fatura
Uluslarası Gezginler Garantisi (ITW)
International Travelers Warranty passportÖzelhususlar
Bilgisayarinizi gven alta almak
Bilgisayar güvenlik kilidini kullanmak
Şifre kullanmak

Sifrelerin girilmesi
Kullanici Şifresi belirlinmisse ve baslatma parametrelerinde Şfre etkinleşirilmisse, baslatma sirasinda Şfre girmeniz istenir. 
Sifrelerin belirlenmesi
Seçenekler yoluyla genişletme
Baglanırlık/seçenekleri
Faks/veri modemi (sadece belirli modeller)



Dahili ağ özelliği

Evrensel Seri Veriyolu (USB)

IEEE 1394 baglanti noktası (sadece belirli modeller)

Yüksek Çozünurlükte Multimedya Arayüz (sadece belirli modeller)

ExpressCard (sadece belirli modeller)

Bir ExpressCard'in Takilmasi

ExpressCard'in Čikarilmasi
2 Görev cübuğundaki donanim simgesini kaldir simgesine sol tiklayin veARTIN calismasini durdurun.
3 Karti haffce yuvayaDOGru itin ve karti disari cikarmak icin serbest birakin. Ardindan karti yuvadan serbest birakin.Hafiza yukleme
2 Hafiza kapağınin vidalarıçıkarin;daha sonra hafiza kapağıni yukari kaldirin.
3 (a) Hafiza modulunu yuvaya caprazlama olarak yerleştin, ardindan (b) yerine girene kadar yavaçca itin.
5 Pil kutusunu yerleştin ve AC adaptörün yeniden baglayin.
6 Bilgisayarapcn.BIOS islevi
Yükleme sirasi
Disk-to-disk recovery saglama
Ekranin en ustundeki D2D Recovery imini bulun ve bu degeri Parola
Yazilimi kullanma
DVD filmerini oynatma


Bölge kodu Ülke ya da bölgge 1 ABD, Kanada 2 Avrupa, Orta Asya, Güney Afrika, Japonya 3 Güneydoğan Asya, Tayvan, Güney Kore 4 Latin Amerika, Avustralya, Yeni Zellanda 5 Eski SSCB, Afrika bölgeleri, Hindistan 6 Çın Halk Cumhuriyeti 
Sik Sorulan Sorular
AC adaptörunun bilgisayara ve elektrik prizinde dizgün bir sekilde takildiğindan emin olun.Ekranda hiçbirseygorunmuyor.
Göruntü cihazi harici bir monitore ayarlanmş olabilir. Göruntünün tekran bilgisayara gelmesi icin Bilgisayardansuyulmuyor.
Klavye calismiyor.
Yazici calismiyor.

2 Ana'daki D2D Geri Alma ayarinin Etkin oldugundan emin olun.
3 BIOS uygulamasindan cikin ve degisiklikleri kaydedin. Sistem kendini yeniden baslatir.
2 Acer logosu güründügünde, geri alma isleminde girmek icin
3 Sistem geri alma islemini yapmak icin ekrandaki talimatlari uygulayin.
Servis Talebi
Uluslararasi Gezginler Garantisi (ITW)
Aramadan once
Sorun giderme
Sorun giderme ipuçları
Hata mesajlari
Hata mesajlari Düzeltici ilem CMOS battery bad Saticiniz ve yetkili servis merkezi ile iletişi.Since n. CMOS checksum error Saticiniz ve yetkili servis merkezi ile iletişi.Since n. Disk boot failure Disket sürucusün n(A:)icone bir system (önyüklenbilar) diski yerleşirin,sonra önyükleme yapmak icin <Enter> tuşuna basin. Equipment configuration error BIOS donatisisi gimek icin <F2> tuşuna basin,sonra yeniden önyükleme yapmak icin BIOS donatisi icindekiExite basin. Hard disk 0 error Saticiniz ve yetkili servis merkezi ile iletişi.Since n. Hard disk 0 extended type error Saticiniz ve yetkili servis merkezi ile iletişi.Since n. I/O parity error Saticiniz ve yetkili servis merkezi ile iletişi.Since n. Keyboard error or no keyboard connected Saticiniz ve yetkili servis merkezi ile iletişi.Since n. Keyboard interface error Saticiniz ve yetkili servis merkezi ile iletişi.Since n. Memory size mismatch BIOS donatisisi gimek icin <F2> tuşuna basin,sonra yeniden önyükleme yapmak icin BIOS donatisi icindekiExite basin. Düzenlemeler ve güvenlik uyarılıarı
FCC uyarisi
- Aygit ile aliciarasindaki uzakligi artirin.
- Aygiti alacinin baglandigi devreden farkl bir devreye bagli olan prize takin.
- Yardim almak icin bayinize veya deneyimli radyo/televizyon teknisyenine danisir.Bildiri: Kapli kabolar
Bildiri: Çevrebirim aygünları
Dikkat
Bildiri: Kanada kullanicari
Modem bildirileris (sadece belirli modeller)
TBR 21
LCD piksel açıklaması
Radyo cihazının)düzenleme bildirimi

Genel
AB Ülkeleri icin Uyum Beyani
Ilgili ülkeler listedi
FCC RF güvenlik gereklilikleri



3 Yuksek gucteki radar 5,25 to 5,35 GHz ve 5,65 to 5,85 GHz bantlarin birincil kullanicilarina atanmi stir. Bu radar istasyonlari bu aygit ile etkilesebilir ve/veya aygita zarar verebilir.
4 Yanlş kurulum veya izinsiz kullanim radyo iletisiminde zararl etkileşme sebep olabilir. Ayrica dahili antenin kurcalanmasi FCC sertifikasini ve garantinizi boşa çikaracaktir.Kanada — DüşükGLE calisman lisans harici radyo iletişim cihzlari (RSS-210)
Exposure of humans to RF fields (RSS-102)
LCD panel ergonomic specifications
Design viewing distance 500 mm Design inclination angle 0.0° Design azimuth angle 90.0° Viewing direction range class Class IV Screen tilt angle 85.0° Design screen illuminance • Illuminance level:
[250 + (250cosα)] lx where α = 85°
• Color: Source D65 Reflection class of LCD panel
(positive and negative polarity) • Ordinary LCD: Class I
• Protective LCD: Class III Image polarity Both Reference white:
Pre-setting of luminance and color temperature @ 6500K
(tested under BM7) • Yn
• u'n
• v'n Pixel fault class Class II TravelMate フリーニス
本製品を安全か快適に使いた
安全に開すご注意
装置取り外しの際のTPL格に開るご注意
アクせスに関うご注意
MEXI 一D SLOBトの D MEXI 一力トにてのご注意(特定モデルの)
音量に開るご注意
長時間高音量で音楽を聽帳號てくださ。
·周囤のノイズを遮断しぃうとて、その以上に高音で音楽を聽ないてください。 警告
本製品は、安定た予ルの上に置てくさ。不安定場所に設置る和製品が落下て、重大な損傷を招く恐いかあらすのご注意くさ。
- Stôットおよ並通気孔は通気用に設けらていま�。二れようて製品の確實動作が保證さし、過熱を防止ていま�。二れらをふさんだり、力ハ一をかたりしおてくださ。�ド、フア一的各项不安定場所に設置て、二れらがふさがるとないうにてくださ。本製品は、暖房器の近は絶対に使用しおてくださ。も、適切な通風を保証さしおかさ、本製品をラックどに組み込で使用するとは避けてくださ。
·本体のスロットから物を押し込まないてださ。高压で危険な個所に触れた部品がシャーツんだりて、火災や感電の危険を招く恐れのはむ。
- 内部ハーリフが破損た、バッチリ液が漏った場合のはんだて、本製品は必す安定た場所に設置てくだい。
- 振動の強い環境で使用すると、予想いたします電源シャーミが発生くださいます。ルーナー装置、HDDんだはフラツschμモリド现代农业、光学ド现代农业のはが故障くださいます。oledはリチウムバツテリ一が爆発くださいます危険性お願いいたします。
製品の底部、通気孔周圍、ACアダフタは高温にる场合のはんだ。火傷を防止するたに、製品が作動してる間はこれらに触HZいてくだて。
· ご的裝置おはひそのアケせ�リ類には小さいハ一ツが含まてる场合がありま�。ごれらは小さいお子樣の手の届ない場所に保管てくだき。電力の使用
電源コードの上に物を置かないてんださ。た、電源コードは踏んだり引つ掛けやすいとこに配置しおてくんださ。
- 延長コービスを使うときは、延長コービスに接続くださ��電気製品の定格電流の合計が延長コービスに表示くださ��許容の定格電流以下になるように注意てくださ。ま、CONSENTに差し迅んだすばての製品が定格電流の合計の許容範圍を超えないようご注意くださ。
複数の装置を1つのコンsectトやスリット、ソケットに接続すると負荷がかります。システム全体の負荷は、支路の80%を目安に二れを超えないようにててくだき。電源スリットを使用する场合は、電源スリットの入力価の80%を越えないようにててくだき。
本製品のACアダフタにはアス線付き2pin電源itra格が付いいます。電源itra格のアス端子をCONSENTのアス端子に接続するとをお勸いたします。機器の故障によう、万一漏電た場合ご感電を防止するとがくださいます。
補修
液体が本製品に二ほたき。
本製品が雨や水にさらたてとき。
- ルーナ�は、操作指示とて述にらてい的個所だけを調整てくだき。その以外の部分を間違て調整た場合、障害が生し、正常動作の状態に廾すまご必要以上に時間かかる二とが県むなてご注意くだき。
本製品を落とてき、たはケスが損傷たき。
本製品丨問題が生じ、uyaスを必要とるき。バッチリ的安全な使用にたて
電池の交換

光学ドライ薬装置にての注意(特定モーテルの)
電話回線
- 天候が非常に悪いときには、電話回線(ドレスローを除く)のご使用は控えてんださ。落雷による感電の原因,Thなま�。
操作環境

那儿保管たる情報が消去たる场合のはろま。医疗装置
乘物
爆発の可能性のは環境
緊急電話
破棄にて


水銀にての注意

ENERGY STAR

気持ちよくお使いんだくたに
凝、緊張
寒气、虚弱心地好作業態勢に整元
前屈丶にな丨さ、後彎丶反丨さ、てい」。
- 足の疲れをほくすたに、定期のに立さ上がった步行んだりてくだい。
- 短い休憩を取り首や肩の凝りはほくてくさい。
筋肉の緊張をほくた、肩の力を拔ったてには。
外部デイスPLEY、一木一、マウスなは快適に操作くださうに適切に設置てくさ。
文書を見てる時間uallyもモニタを見てる時間の方が長い场合は、デイス克莱イを机の中央に配置すると上首相の凝りを最小限に留うは上が成長は。視覺にての注意
- 王二夕から目を離して遠く見るとによて目を休ませてんださ。
· 频繁丶瞬きをするとド现代农业か目を保護する二とがてきま�。XII
デイス克莱
長時間窓の外を眺うなと、明る場所見つたまにしてはくさ。正い作業習慣を身に付う
- Stuldtjth運動をてくさ。
- ould 順繁 新鮮的空氣吸不
定期的「運動をて身体の健康を維持てくさい。

始に
☆い卜

本ノ一ト総クPCの取扱いと使用に閲る ヒント
本ノ一ト総クPCの電源をONんだはOFFにする

本ノ一ト総クPCの取扱い
磁気に近つないてくだき。
雨也湿气已去
液体をはいてくさ。
強いシャットを与えたり、激しく摇らしだじていにくだせ。
· は二りや塵を避けてくだい。 AC トダフタの取り拔い
電源コトの上に乗った、そのを置ったしおはんだてんだ。人的往来多いとこには、電源コトおよケアフルを配置しおはんだてんだ。
電源一卜をはすときは、一卜ははなくフ拉む持てはすてくさい。 バットリーパックの取り拔い
清掃とサイバー
2 ACアダフタをはんだてくだき。
3 柔らか布で本体を拭てくだせ。液体たはエアソール克莱一テは、使用ないてくだせ。
本製品を安全か快適に使いたてたに iii
始ご xiii
1
一木一卜 3
才一丁才 5
5
6
8
Acer eRecovery Management 9
13
本ノ一ト複クPCの携帯 17
七卍リテ機能 21
才Pshonを使った拏張 23
FAQ 29
トラル対策
規制と安全通知
夕士八
夕ツチハドの基本(指紋リ一徳一機能搭載 マデル)
- 勋効にの締に有左(2)おはよう右(4)リフローを押て、選択お願い機能の実行を進行てんだい。こら2つのリフローは、マウスの右右は左リフローと同じょうに機能ります。リフローはリフローを選択的优点は、轻くたけ方法も同じょうに機能いたします。
機能 左ボーニング(2) 右ボーニング(4) メインタック
バッチ(1) 中央ローニング(3) 実行 2度ケリット。 マウスボーニングをダ
PURKILLINGINGINGINGINGINGINGINGINGINGINGINGINGINGINGINGINGINGINGINGINGINGINGINGINGINGINGINGINGINGINGINGINGINGINGINGINGINGINGINGINGINGINGINGINGINGINGINGINGINGINGINGINGINGINGINGINGINGINGINGINGINGINGINGINGINGINGINGINGINGINGINGINGINGINGINGINGINGINGINGINGINGINGINGINGINGINGINGINGINGINGINGINGINGINGINGINGINGINGINGNGINGINGINGINGINGINGINGINGINGINGINGINGINGINGINGINGINGINGINGINGINGINGINGINGINGINGINGINGINGINGINGINGINGINGINGINGINGINGINGINGINGINGINGINGINGINGINGINGINGINGINGINGINGINGINGINGINGINGINGINGINGINGINGINGINGINGINGINGINGINGINGINGINGINGINGINGINGINGINGINGINGINGINGINGINGINGINGINGINGINGINGINGINGINGINGINGINGINGING
選択 1度ケリット。 1度ケリット。 ドラット ケリットはた
ままかカーナル
をドラット。 マウスボーニングをダ
PURKILLINGINGINGINGINGINGINGINGINGINGINGINGINGINGINGINGINGINGINGINGINGINGINGINGINGINGINGINGINGINGINGINGINGINGINGINGINGINGINGINGINGINGINGINGINGINGINGINGINGINGINGINGINGINGINGINGINGINGINGINGINGINGINGINGINGINGINGINGINGINGINGINGINGINGINGINGINGINGINGINGINGINGNGINGINGNGNGNGNGNGNGNGNGNGNGNGNGNGNGNGNGNGNGNGNGNGNGNGNGNGNGNGNGNGNGNGNGNGNGNGNGNGNGNGNGNGNGNGNGNGNGNGNGNGNGNGNGNGNGNGNGNGNGNGNGNGNGNGNGNGNGNGNGNGNGNGNGNGNGNGNGNGNGNGNGNGNGNGNGNGNGNGNGNGNGNGNGNGNGNGNGNGNGNGNGNNGNGNGNGNGNGNGNGNGNGNGNGNGNGNGNGNGNGNGNGNGNGNGNGNGNGNGNGNGNGNGNGNGNGNGNGNGNGNGNGNGNGNGNGNGNGNGNGNGNGNGNGNGNGNGNGNGNGNGNGNGNGNGNGNGNGNGNGNGNGNGNGNGNGNGNGNGNGNGNGNGNGNGNGNGNGNGNGNGNGNGNGNGNGNGNGNGNGNG NGNGNGNGNGNGNGNGNGNGNGNGNGNGNGNGNGNGNGNGNGNGNGNGNGNGNGNGNGNGNGNGNGNGNGNGNGNGNGNGNGNGNGNGNGNGNGNGNGNGNGNGNGNGNGNGNGNGNGNGNGNGNGNGNGNGNGNGNGNGNGNGNGNGNGNGNGNGNGNGNGNGNGNGNGNGNGNGNGNGNGNGNGNGNGNGNGNGNGNGGNGNGNGNGNGNGNGNGNGNGNGNGNGNGNGNGNGNGNGNGNGNGNGNGNGNGNGNGNGNGNGNGNGNGNGNGNGNGNGNGNGNGNGNGNGNGNGNGNGNGNGNGNGNGNGNGNGNGNGNGNGNGNGNGNGNGNGNGNGNGNGNGNGNGNGNGNGNGNGNGNGNGNGNGNGNGNGNGNGNGNGNGNGNGNGNGNGNGNG CONTERKUS
トメデバイ
にア克セス 1度ケリット。 夕仄卜的基本(2克乐克朴子付毛
- トクはリドの缘に有左おは右木を押て、選択おは効能の実行を進行てくさ。二し20のはをは、マウスの右おは左はが同じょうに機能しま。夕はトはドをはつ補る(輕かた)方法也同じょうは川機能しま。機能 左ロクト 右ロクト メイntonのターフフロー 実行 2度ケリック マウスボtonsをダ授權クリックするのと同じ速さ2度ターフplyる。 選択 1度ケリック 1度ターフplyる。 ドラット ケリックたて
まえカーナル
をドラット。 マウスボtonsをダ授權クリックするのと同じ速さ2度ターフply、指をタツフローに置ったまえカーナルをドラットする。 CONTERKISTUM
MENUEIN-ANALCSETS 1度ケリック 

卜は非常に敏感なのて、軫く触る方が好良反応しま�。強たても、卜の反応を改善するとは能否せん。
一木一卜
ロット ヤフ ヤフ ヤフ ヤフ ヤフ ヤフ ヤフ ヤフ ヤフ ヤフ ヤフ ヤフ ヤフ ヤフ ヤフ ヤフ ヤフ ヤフ ヤフ ヤフ ヤフ ヤフ ヤフ ヤフ ヤフ ヤフ ヤフ ヤフ ヤフ ヤフ ヤフ ヤフ ヤフ ヤフ
ロックensitive 説明 Caps Lock Caps LockがONのときは、surbeDEXアフバイド文字は大文字で入力いたします。 Num Lock+Fn> + <F11>* Num Lockが-spannedいときは、独立たけん�トが数值モーメにります。キ一是、計算機のうに機能します(+/、*、と)/を含みます。数值デーフの入力を大量に行うとき、そのモート利用てくだい。外付けはテニルネトは接続するごまえります。 Scroll Lock+Fn> + <F12> Scroll LockがONのときは上たは下力一 ones ロを押む、画面はそれ1行上たは1行下に移動ります。Scroll Lockは、特定のアフリケーニńはは機能いたします。 アケセス Num Lock on Num Lock off 内蔵テンキーパットの数值ギ一 通常お願い、数值をタいいにして��ます。 内蔵テンキーパットの力一ソル制御ギ一 <Shift> 千一を押しおら、カ一ソルギ一使用て��ます。 <Fn> 千一を押しおら、カ一ソルギ一使用て��ます。 メイングチロービーのギ一 <Fn> 千一を押しおら、内蔵テンキーパットの文字を入力て��ます。 通常お願い、文字をタいいにして��ます。
Windows 千一
Ki一 説明 Windows 客一 ごのKi一を单独地押すと、Windowsの-Starterトボtonsをクルクすると同じ機能が頻い、Starterトメニーを起動ります。他的Ki一と組み合わせて、さまごまな機能を使うこごきます: <@>::[Starter] メニー一開たり、閉たります <@>++<D>:デスカトツつ表示ります <@>++<E>:Windows Explorerを開ります <@>++<F>:フィ�ルやフィルダを検索します <@>++<G>:サイドローのフィ�ムを切り替ります <@>++<L>:CONPBU-atuにロックを掛けり(新业态フローmouthングに接続いたします)、EU-az一を切り替ります(新业态フローmouthングに接続いたします) <@>++<M>:surveで最小化 <@>++<R>:フィ�ル名を指定して実行ダイロガロックスの表示 <@>++<T>:タスケバーツ上的ロガラムを切り替ります <@>++<U>:Ease of Access Centerを開ります <@>++<X>:Windows Mobility Centerを開ります <@>++<BREAK>:[Starterのプロバチ](のダイロガロックスを開ります <@>++<SHIFT+M>:最小化しぃ了ウindsは復元ります <@>++<TAB>:Windows Flip 3-Dを使てタスケバーツ上のロガラムを切り替ります <@>++<S外包スバーツ>:surveでのフィ�ムを手前に表示し、Windows サイドロー選択します <CTRL>+<@>+<F>:CONPBU-atu検検ります(新业态フロー接続してる場合) <CTRL>+<@>+<TAB>:Windows Flip 3-Dを使て、矢印Ki一にようたスケバーツ上のロガラムを切り替ます 注意:Windowsのエデイシャンによるは、シャーミカットの中には表示の通りに機能ないのはんだ)=(2) Δリ�
Shonki一 ごのKi一は、マウスの右ロ bdantをクルクすると同じ機能のは、アリ�ケローのCONPAKstomexdu一開きます。 才一才
AcerPureZone(特定モデルの)

比才
16:9 ヨス克莱イ(特定モルの)
システムーツービリテの使の方
Acer Bio-Protection(特定モルのみ)

Acer Backup Manager

2 バックアツPBOneを保管する場所を選択いたします。外付けドライPB、D ヒリPBを選択する必要くださいます。Acer Backup ManagerはソーニーダライPBに バックアツPBを保管するbethがります。
3 Acer Backup Manager 为嵌入式固态硬盘管理器,可支持各种固态硬盘的管理。
八一
Acer PowerSmart

Acer eRecovery Management



バックアツpledイスの書き込み
2 Acer eRecovery Managementが[バットアフツ]に一き開きま�。
4 画面の指示に徃て作業を完了てだい。
復元
2 [復元]をクルクて[復元]ご一ジを開きま�。
4 画面の指示に徃て作業を完了てはい。バッチアツつデイスケから Windowsを復元する
2 Acer口は表示さるスローアフリに、F2キ一を押てシステムバラ メー一を設定するたにBIOS総トアフリに入りま�。
3 左右矢印を使てメンサフメニ一を選択いたします。
4上下矢印合一使てF12一木二一为藏扎。
6 ESC 千一を押て终了�フメニーに入り、ENTER 千一を押て変更内容を保存て終了を選択いたします。む一度 ENTER 千一を押てはいを選択いたします。以上でステムがリトしります。
7 トはリフロー、Acerロは表示た了F12半一押てトメ ニーに入ら。ごははのデバイスか予卜するかを選択しら。
8 矢印宀一使てIDE1*を選択し、ENTER宀一を押ります。��と Windowsがリカバリーネデスケからインストーリせます。
9 2番目的リカバリ一デイスを插入するよう表示くださいますその指示に従い、画面の指示に従て復元を完了てんだき。
10 復元が完了んだ CD-ROM ダライフからリカバリーダイスケを取り出ります。こはルンビューナをリフローする前に必務行動てくだい。
2 Acer口は表示するスローアフリに、F2を一を押てシステムバーマーローを設定たたにBIOS総トアフリに入りま�。
3 左右矢印毎一使てフトサメ二一を選択し。
4上下矢印一を使てIDE1*デバイスを選択しま。
5 F6 ノ一使てIDE1デバイスを最優先予卜デバイスに設定るか、F5 ノ一使て他的デバイスの優先度を下載てんだき。IDE1デバイスの優先度が最も高くていると確認てくだき。
6 ESC 千一を押て终了�フメニーに入り、ENTER 千一を押て変更内容を保存て终了を選択いたします。む一度ENTER 千一を押てはいを選択いたします。以上でステムがリトしります。
7 リフトすると Windows がリカバリーダイスケからインスト一ルARGEます。
8 2番目的リカバリ一デイスを插入するよう表示くださいますその指示に従い、画面の指示に従て復元を完了てんだき。
9 復元が完了た CD-ROM フラリフからリカバリ一デイスクを取り出ます。こはルドリーナをリフローする前に必紈行てくさ。八味テ一
バッチリOne特徴
トリ一壽命を延長るには
新いバッチリOneのコンデイシャン調整
2 ACアダフタを接続し、バットリ一を完全に充電お願い。
3 ACアダフタを外しいたします。
4 メン・トーナの電源を接入て、バッチリ一電源でドン・トーナ操作を行いま�。
5 低残量警告表示さるま、ト一を消耗させま。
6 ACアダフタ接続し、再じバツテリ一を完全に充電しま�。
·頻繁に使用る。バットリ一は使えば使うほと、寿命が短くります。標準のCONBUN-一夕バットリ一は、約300回充電するごて確保いたします。ハツテリ一の装着と取り外し

2 ロリをはリリリリリリリリリリリリリリリリリリリリリリリリリリリリリリリリリリリリリリリリリリリリリリリリリリ
2 バットリ一をバットリ一べイから取り出てください。バットリ一の充電

二旅行前に一晚中バツテリ一を充電ておくと、翌日バツテリ一が完全に充電くださ的状态で作業を開始するごはようお願いいたします。ハツテリ一残量の確認
バットリ一の寿命を最適化する
·何度も充電を操り返すとバツテリ一の寿命は短くなりま�。 低残量警告

状況 対応法 ACアダプたとコンSETNorthが近にある场合。 1.ACアダプたをconiビューナに接続し、CONsetトに繫きます。
2.必要なフィILSURVEを保存いたします。
3.作業を再開いたします。
バッチリOne—together速度く充電くださいます場合は、conビューナの電源を切てくだい。 予備のバッチリーテたる场合。 1. 必要なフィyalすばてを保存いたします。
2. 陛下へのアTPLケーションを閉じいたします。
3. 才髁一テインダスystemをシャットダウentlyコんだコングルOneの電源を切りいたします。
4. ヒッチリーツを交換いたします。
5. フ余万元の電源を接入て、作業を再開いたします。 ACアダプさとコンSETトが近にncyい。予備のバッチリーツない场合。 1. 必要なフィyalすばてを保存,Noisy。
2. 陛下へのアTPLケーションを閉じ,Noisy。
3. 才髁一テインダスystemをシャットダウentlyコんだコングルOneの電源を切り,Noisy。 本ノト総ク PCの携帯
周边装置の取りはすし
2 フローヒーやCDんだのメデイアをド现代农业から取り出來てくだい。
3 メンビューナをシャットダウncyてくだい。
4 ヨス克莱イを閉てくだい。
5 AC 4 # 1 - 1 - 1 - 1 - 1 - 1 - 1 - 1 - 1 - 1 - 1 - 1 -
6 一ト、木INテINg DAVIs、PUNa一、外付E二一おは它的他の外付はDAVIsをはてくさ。
7 キンジトロックを使用くださいます。、そのをはんだいき。短距離の移動
携带るたの準備

會議に持ていくもの
自宅に持ち歸る
携带するたの準備

持ていくもの
注意事項
長時間と二かに立さ寄る场合なは、本ノ一ト総和PCを車のトLANクの中各有置て熱を避けてくさ。 木一ム才フISの設定
長距離の移動
携带するたの準備
持ていくモの
- 予備用の完全に充電くださいますバットリーパック
別の複専を使用する场合は、追加の複専ーダリヤフアルが必要です。注意事項
- 本ノト複習PCの検査は手で行てくさ。本ノト複習PCは、X線装置を安全に通過するとが成長が、金屬探知器を使わいようにしてくさ。
- 手持つダイフの金属探知器にフロット一デイスケをさらいたします。海外旅行
携带説的準備
持ていくもの
旅行先の国で使用くださる電源コーリド
- 予備用の完全に充電くださいますバッチリーパック
別の brun�ルを使用する场合は、追加の brun�ルを必要です
- 購入の証明。空港の税関に、提示する必要くださいます场合お願いいたします
國際旅行者保証(InternationalTravelersWarranty;ITW)注意事項
せキリテ機能
CONVOUNA 保護、管理するた的方法にて説明いたします。せキヨリテイキ一口クの使用
八スマド

八斯力一の入力

八斯工一の七卜
才丶徴丶専丶令使丶了丶拋張
接統才丶徴専
Fax/ ヨーナモデム(特定モデルの)



内藏ネトロー機能

USB

IEEE 1394 ト(特定モルの)

HDMI ト(特定モルの)

ExpressCard(特定モーテルの)
斯接統、IEEE1394Bアダフタ等诸多、さままな擴張才緱ンに対応てい。ExpressCardsはUSB2.0とPCIExpressアリケーニンに対応てい。
ExpressCardの插入

ExpressCardの取り出し
2 夕スケバ一上的ハーネウアの取り外しアイコンをクリックて、カーツの使用を中止いたします。
3 力一卜をやさしくスロット側に押て放手と、力一卜が出てきま�。以上力一卜を安全に取り出さ二とがきま�。BIOS ヷリデ
起動シーニングス
Disk-to-disk recovery 機能の実行
八斯工一
ソフトウエの使用
DVD映画の再生


地域 colonies 国または地域 1 米国、カナダ 2 ヨ一口ツバ、中東、南アフリカ、日本 3 東南アジア、台湾、韓国 4 ラテncyメリカ、オーリラリア、ニューダーランド 5 旧ソビート連邦、アフリカの一部、インド 6 中国 
FAQ
千一を同時に押て本ノ一トデイスPCを再起動にしてんだき。画面何也表示哉末せ。
才一徴才出力がにません。
リカバリ一方法(初期化方法):
2 Acer口戈画面表示了直後に、[Alt]卡一と[F10]卡一を同時に押下しま�。
4 [Acer eRecovery Management パスローを入力てくだい]と表示たかた场合は、スローを入力し、[OK] モンをクルクします。
5 [初期設定に復元します]と表示いたしますら、ACアダフタが接続いたします。
※初期化をやる场合は[キンルボタン]を clerkにと。
7「Acer eRecovery Management」に「ハーネチ億ンの復元」が始まりま�。残り時間が表示いたしますのて、そばらくお待ちくだき。
8「終了しまた」上表示さ毎まて、[OK] プタをクルクじま。その後、自動で再起動さ毎ま。アフターーダービスにて
國際旅行者保證
(International Travelers Warranty; ITW)
イングタ一新业态トサ広一ト
力スタマ一サ一比スsesional
- 一尔丁
· 电话番号
- 二住所:(邮便番号)
製品名:(例:AS3103WLCiB80)
• 購入日:(年月日)
製造番号(S/N)
- 一トバSON:「L」始まる22桁の英数字
- ヨイスケトット:「P」で始まる22桁の英数字
- 王二夕一:「E」始まる22析の英数字
- 症状:(你能打个不停)トラル対策
トラトレ対策のヒンド
エラーマ SSEJが表示くださりトラリルが発生た場合は、「エラーマ SSE」
を参照てくさ。ト拉ルを解消くださいます场合は、弊社のカスマーパボーニ
Sennter二連絡くさ。32 ハーの「アフローサビスにて」を参照てくさ。工拉一米士一
エラーマックジ 対応方法 CMOS battery bad 弊社の力STONEマーメンチルにご連絡 <自由贸易。 CMOS checksum error 弊社の力STONEマーメンチルにご連絡 <自由贸易。 Disk boot failure ステuentデバイスをド现代农业 A に插入し、<Enter> 千一を押て再起動しぃさ。 Equipment configuration error POSTの最に<F2> 千一を押てBIOS ハーテイリテイにアケスしぃさ。次にExit 千一を押て終了し、本ノトフツク PCを再設定しぃさ。 Hard disk 0 error 弊社の力STONEマーメンチルにご連絡 <自由贸易。 Hard disk 0 extended type error 弊社の力STONEマーメンチルにご連絡 <自由贸易。 I/O parity error 弊社の力STONEマーメンチルにご連絡 <自由贸易。 Keyboard error or no keyboard connected 弊社の力STONEマーメンチルにご連絡 <自由贸易。 Keyboard interface error 弊社の力STONEマーメンチルにご連絡 <自由贸易。 Memory size mismatch POSTの最に<$F2> 千一を押てBIOS ハーテイリテイにアケスしぃさ。次にExit 千一を押て終了し、本ノトフツク PCを再設定しぃさ。 規制と安全通知
FCC 規定
- ごの装置と受信装置の距離をあたる
- ご装置の受信装置は別のコンSENTに接続する
- ヨーダーマローは經驗のるラジオ/TV技術者に問題合applyる注意:シルドケープル
注意:周边機器
警告
使用条件
欧州連合諸国向汁適合宣言
モデムにてのご注意(特定モデルの)
TBR 21
LCD ピク塞尔にpine
規制にての注意

全般
適用国リスト
FCC RFの安全要件



3 高出力レーダーは、5.25~5.35 GHz 带域およこ5.65~5.85 GHz 带域の一次eu一さ一とて割り当之�能い。レーダー端末が電波障害を発生し、本デバイスを破損するごたがibility。
4 不適切な取り付款や不正使用は無線通信に障害を与え的原因,Th。 1、内藏アンテナを改造するとFCC認可と保証が無効にelizeま�。力ナダ-低出力ライSENSス免除無線通信デバイス (RSS-210)
- 高出力レーダーは、5250~5350 MHz 带域お願い5650~5850 MHz 带域の一次ユーダー(優先權を持てるユーダー)とて割り当之�能てお、レーダーが電波障害を起ごし、LELAN( ライSENSス免除口一カル地域通信網)デバイスを破損するごにたか临港。Design viewing distance 500 mm Design inclination angle 0.0° Design azimuth angle 90.0° Viewing direction range class Class IV Screen tilt angle 85.0° Design screen illuminance • Illuminance level:
[250 + (250cosα)] lx where α = 85°
• Color: Source D65 Reflection class of LCD panel
(positive and negative polarity) • Ordinary LCD: Class I
• Protective or Acer CrystalBrite™ LCD:
Class III Image polarity Both Reference white:
Pre-setting of luminance and color temperature @ 6500K
(tested under BM7) • Yn
• u'n
• v'n Pixel fault class Class II TravelMate 人引式
安進具用的
anext
#
· 内部本音音声自和电T尼鲁将范志法用的国里, 徒難 案用

新普
-
-
-
-
-
-
-
-
-
-
-
-
-
-
-
-
-

an詐手連載専州音用を優言之

b) 如能如愿,你将获得一个随机数。
c) 也果,前启长关,其歌之用以录者高昌时人,亦有如日。
d) 進京門用爲成世相,日國,同,開,
e) 蛋是云,即 电 电电电电电电电电电电电电电电电电电电电电电电电电电电电电电电电电电电电电电电电电电电电电电电电电电电电电电电电电电电电电电电电电电电电电电电电电电福德拉贝夫的长者
1glReiJrJ
APPAREIL A LASER DE CLASSE 1 PRODUIT
LUOKAN 1 LASERLAITE LASER KLASSE 1
PRODUCTO LÁSER DE LA CLASE I
朝代士郎
- 包案的开发
- 前期准备
- 完成项目
- 项目开始
- 完成项目
- 完成项目
- 完成项目
- 完成项目
- 完成项目
- 完成项目
製作 Dong Haneng

の豆長
☆
暑假前默写
比照新旧
封利

수은조의사형

ENERGY STAR

用印的使用,即在使用时要认真注意。
· 通,本藻者云其于默实 用一
SiR
DIsIe
XII


사용 전 유의 사형
貞琮載的是聖明書
先用“求”命令,将“求”选项卡中的“求”命令的值设置为“1”,然后在“求”选项卡中的“求”命令的值设置为“2”。
[ \text{AerSystem} ],则应该选择格式为:
[ \text{AerSystem} ]。
2 AcerSystem 担有编写程序的工具,如图 1-3 所示。
기본적,在공류지 기재일용한 썸보
兌昇迦兌如呂

克开贝
AC あらてた カリ
BabTReI私K
请在“我”部分填写姓名。
2 AC 通路的 端 裂 裂 感
3 末日。
安訋试及用的
相用真同的相
T
KIBODI SAONG
O[]
HIDI
SASSTILYILIRIITSAH
首頁
Acer eRecovery Management
BabrLi
NDBKPC 18
KcuiTbn 22
24
FAQ(简直就是和大) 31
35
規則及音義 36
TITIIT
Turi Tura Digi Bn (Jinm

기憑 원복다수 (2) 오류목다수 (4) 기본 키터마드 (1) 가운lage다수 (3) 심违法行为 SEE로개 twelve 겨리KH比如说다. 무 겨울성다 (마우斯다수를 twelve 겨리KH比如说고 죽무와 갔을 죽고). 선복 한 겨울성다. 한 겨울성다. 課程 류리KH比如说다로 키터마드에서��가rik都不敢 use soha이 친서를 기다. 마우斯다수를 twelve 겨리KH比如说고 죽무와 갔을 죽고. 수도로 twelve 겨울성다.雙 twelve 겨울성다.만 겨울에 키터마드에서 갔 that 가려를 썼 썼고다. 상품에 겨고는 썼에 유pton 키터마드에서만 키터 썼 썼고다. 한 겨울성다. Turi Tura Tura Tura Tura (Tura Tura Tura Tura Tura Tura Tura Tura Tura Tura Tura Tura Tura Tura Tura Tura Tura Tura Tura Tura Tura Tura Tura Tura Tura Tura Tura Tura Tura Tura Tura Tura Tura Tura Tura Tura Tura Tura Tura Tura Tura Tura Tura Tura Tura Tura Tura Tura Tura Tura Tura
기憑 원복다季后 오본集群다季后 기본集群드 심违法行为 Mines�에 two减免相比于。 우俩 편드링사다(마우스集群
을 two减免相比于是成衣와 가을
身高は). 선목 한减免相比于。 한减免相比于。 울기 울리한상개로 키지Para
드에서 출가려를 썸고
하어 친서를 썸고다. 마우스集群수 two减免相比于
集群수와 가을 two减免于
革り。
우俩 편드링이 키지에
는 키지集群에 죽가려를 썸고于
어 친서를 썸고다. 상품에 겨는 기재
목과斯 한减免相比于。 


기본사용
喜長KJ果内长者
장름 키 선명 Caps Lock Caps Lock이 썸명 depreci어存在一定일요해는 옘운자가 majority다운자로
고지심들고다 . Num Lock
<Fn> + <F11>* Num Lock이 썸명 depreci어存在一定일요해는 키드래곤에 odds자마드래곤을
전화고고고고고고고고고고고고고고고고고고고고고고고고고고고고고고고고고고고고고고고고고고고고고고고고고고고고고고고고고고고고고고고고고고고고고고고고고고고고고고고고고고고고고고고고고고고고고고고고고고고고
가 기재상품만
사용해
사용해
사용해
사용해
사용해
사용해
사용해
사용해
사용해
사용해
사용해
사용해
사용해
사용해
사용해
사용해
사용해
사용해
사용해
사용해
사용해
사용해
사용해
사용해
사용해
사용hea
사용해
사용해
사용해
사용해
사용해
사용해
사용해
사용해
사용해
사용해
사용해
사용해
사용해
사용해
사용해
사용해
사용해
사용해
사용해
사용해
사용해
사용해
사용해
사용해
사용hee
사용hee
사용hee
사용hee
사용hee
사용hee
사용hee
사용hee
사용hee
사용hee
사용hee
사용hee
사용hee
사용hee
사용hee
사용hee
사용hee
사용hee
사용hee
사용hee
사용hee
사용hee
사용hee
사용hee
사용hee
사용hua
사용hua
사용hua
사용hua
사용hua
사용hua
사용hua
사용hua
사용hua
사용hua
사용hua
사용hua
사용hua
사용hua
사용hua
사용hua
사용hua
사용hua
사용hua
사용hua
사용hua
사용hua
사용hua
사용hua
사용hua
사용xia
사용xia
사용xia
사용xia
사용xia
사용xia
사용xia
사용xia
사용xia
사용xia
사용xia
사용xia
사용xia
사용xia
사용xia
사용xia
사용xia
사용xia
사용xia
사용xia
사용xia
사용xia
사용xia
사용xia
사용xia
사용chia
사용chia
사용chia
사용chia
사용chia
사용chia
사용chia
사용chia
사용chia
사용chia
사용chia
사용chia
사용chia
사용chia
사용chia
사용chia
사용chia
사용chia
사용chia
사용chia
사용chia
사용chia
사용chia
사용chia
사용chia
사용xia
사용xia
사용xia
사용xia
사용xia
사용xia
사용xia
사용xia
사용xia
사용xia
사용xia
사용xia
사용xia
사용xia
사용xia
사용xia
사용xia
사용xia
사용xia
사용xia
사용xia
사용xia
사용xia
사용xia
사용 Xia
사용xia
사용xia
사용xia
사용xia
사용xia
사용xia
사용xia
사용xia
사용xia
사용xia
사용xia
사용xia
사용xia
사용xia
사용xia
사용xia
사용xia
사용xia
사용xia
사용xia
사용xia
사용xia
사용xia
사용xia
사용hua
사용hua
사용hua
사용hua
사용hua
사용hua
사용hua
사용hua
사용hua
사용hua
사용hua
사용hua
사용hua
사용hua
사용hua
사용hua
사용hua
사용hua
사용hua
사용hua
사용hua
사용hua
사용hua
사용hua
사용chia
사용chia
사용chia
사용chia
사용chia
사용chia
사용chia
사용chia
사용chia
사용chia
사용chia
사용chia
사용chia
사용chia
사용chia
사용chia
사용chia
사용chia
사용chia
사용chia
사용chia
사용chia
사용chia
사용chia
사용cia
사용chia
사용chia
사용chia
사용chia
사용chia
사용chia
사용chia
사용chia
사용chia
사용chia
사용chia
사용chia
사용chia
사용chia
사용chia
사용chia
사용chia
사용chia
사용chia
사용chia
사용chia
사용chia
사용chia
사용chia
사용mia
사용mia
사용mia
사용mia
사용mia
사용mia
사용mia
사용mia
사용mia
사용mia
사용mia
사용mia
사용mia
사용mia
사용mia
사용mia
사용mia
사용mia
사용mia
사용mia
사용mia
사용mia
사용mia
사용mia
사용mia
사용chia
사용chia
사용chia
사용chia
사용chia
사용chia
사용chia
사용chia
사용chia
사용chia
사용chia
사용chia
사용chia
사용chia
사용chia
사용chia
사용chia
사용chia
사용chia
사용chia
사용chia
사용chia
사용chia
사용chia
사용 mia
사용chia
사용chia
사용chia
사용chia
사용chia
사용chia
사용chia
사용chia
사용chia
사용chia
사용chia
사용chia
사용chia
사용chia
사용chia
사용chia
사용chia
사용chia
사용chia
사용chia
사용chia
사용chia
사용chia
사용chia
사용gia
사용chia
사용chia
사용chia
사용chia
사용chia
사용chia
사용chia
사용chia
사용chia
사용chia
사용chia
사용chia
사용chia
사용chia
사용chia
사용chia
사용chia
사용chia
사용chia
사용chia
사용chia
사용chia
사용chia
사용chia
사용lia
사용chia
사용chia
사용chia
사용chia
사용chia
사용chia
사용chia
사용chia
사용chia
사용chia
사용chia
사용chia
사용chia
사용chia
사용chia
사용chia
사용chia
사용chia
사용chia
사용chia
사용chia
사용chia
사용chia
사용chia
사용phia
사용chia
사용chia
사용chia
사용chia
사용chia
사용chia
사용chia
사용chia
사용chia
사용chia
사용chia
사용chia
사용chia
사용chia
사용chia
사용chia
사용chia
사용chia
사용chia
사용chia
사용chia
사용chia
사용chia
사용chia
사용chio
사용chia
사용chia
사용chia
사용chia
사용chia
사용chia
사용chia
사용chia
사용chia
사용chia
사용chia
사용chia
사용chia
사용chia
사용chia
사용chia
사용chia
사용chia
사용chia
사용chia
사용chia
사용chia
사용chia
사용chia
사용enia
사용chia
사용chia
사용chia
사용chia
사용chia
사용chia
사용chia
사용chia
사용chia
사용chia
사용chia
사용chia
사용chia
사용chia
사용chia
사용chia
사용chia
사용chia
사용chia
사용chia
사용chia
사용chia
사용chia
사용chia
사용china
사용chia
사용chia
사용chia
사용chia
사용chia
사용chia
사용chia
사용chia
사용chia
사용chia
사용chia
사용chia
사용chia
사용chia
사용chia
사용chia
사용chia
사용chia
사용chia
사용chia
사용chia
사용chia
사용chia
사용chia
사용aida
사용chia
사용chia
사용chia
사용chia
사용chia
사용chia
사용chia
사용chia
사용chia
사용chia
사용chia
사용chia
사용chia
사용chia
사용chia
사용chia
사용chia
사용chia
사용chia
사용chia
사용chia
사용chia
사용chia
사용chia
사용pha
사용chia
사용chia
사용chia
사용chia
사용chia
사용chia
사용chia
사용chia
사용chia
사용chia
사용chia
사용chia
사용chia
사용chia
사용chia
사용chia
사용chia
사용chia
사용chia
사용chia
사용chia
사용chia
사용chia
사용chia
사용peria
사용chia
사용chia
사용chia
사용chia
사용chia
사용chia
사용chia
사용chia
사용chia
사용chia
사용chia
사용chia
사용chia
사용chia
사용chia
사용chia
사용chia
사용chia
사용chia
사용chia
사용chia
사용chia
사용chia
사용chia
사용eria
사용chia
사용chia
사용chia
사용chia
사용chia
사용chia
사용chia
사용chia
사용chia
사용chia
사용chia
사용chia
사용chia
사용chia
사용chia
사용chia
사용chia
사용chia
사용chia
사용chia
사용chia
사용chia
사용chia
사용chia
사용姉
사용chia
사용chia
사용chia
사용chia
사용chia
사용chia
사용chia
사용chia
사용chia
사용chia
사용chia
사용chia
사용chia
사용chia
사용chia
사용chia
사용chia
사용chia
사용chia
사용chia
사용chia
사용chia
사용chia
사용chia
사용roma
사용chia
사용chia
사용chia
사용chia
사용chia
사용chia
사용chia
사용chia
사용chia
사용chia
사용chia
사용chia
사용chia
사용chia
사용chia
사용chia
사용chia
사용chia
사용chia
사용chia
사용chia
사용chia
사용chia
사용chia
사용apia
사용chia
사용chia
사용chia
사용chia
사용chia
사용chia
사용chia
사용chia
사용chia
사용chia
사용chia
사용chia
사용chia
사용chia
사용chia
사용chia
사용chia
사용chia
사용chia
사용chia
사용chia
사용chia
사용chia
사용chia
사용uria
사용chia
사용chia
사용chia
사용chia
사용chia
사용chia
사용chia
사용chia
사용chia
사용chia
사용chia
사용chia
사용chia
사용chia
사용chia
사용chia
사용chia
사용chia
사용chia
사용chia
사용chia
사용chia
사용chia
사용chia
사용mania
사용chia
사용chia
사용chia
사용chia
사용chia
사용chia
사용chia
사용chia
사용chia
사용chia
사용chia
사용chia
사용chia
사용chia
사용chia
사용chia
사용chia
사용chia
사용chia
사용chia
사용chia
사용chia
사용chia
사용chia
사용zia
사용chia
사용chia
사용chia
사용chia
사용chia
사용chia
사용chia
사용chia
사용chia
사용chia
사용chia
사용chia
사용chia
사용chia
사용chia
사용chia
사용chia
사용chia
사용chia
사용chia
사용chia
사용chia
사용chia
사용chia
사용bia
사용chia
사용chia
사용chia
사용chia
사용chia
사용chia
사용chia
사용chia
사용chia
사용chia
사용chia
사용chia
사용chia
사용chia
사용chia
사용chia
사용chia
사용chia
사용chia
사용chia
사용chia
사용chia
사용chia
사용chia
사용inia
사용chia
사용chia
사용chia
사용chia
사�uga
사�uga
사�uga
사�uga
사�uga
사�uga
사�uga
사�uga
사�uga
사�uga
사�uga
사�uga
사�uga
사�uga
사�uga
사�uga
사�uga
사�uga
사�uga
사�uga
사�uga
사�uga
사�uga
사�uga
사�uga
사�uga
사�uga
사�uga
사�uga
사�uga
사�uga
사�uga
사�uga
사�uga
사�uga
사�uga
사�uga
사�uga
사�uga
사�uga
사�uga
사�uga
사�uga
사�uga
사�uga
사�uga
사�uga
사�uga
사�uga
사�uga
사�UGC
사�UGC
사�UGC
사�UGC
사�UGC
사�UGC
사�UGC
사�UGC
사�UGC
사�UGC
사�UGC
사�UGC
사�UGC
사�UGC
사�UGC
사�UGC
사�UGC
사�UGC
사�UGC
사�UGC
사�UGC
사�UGC
사�UGC
사�UGC
사�UGC
사�UG
사�UGC
사�UGC
사�UGC
사�UGC
사�UGC
사�UGC
사�UGC
사�UGC
사�UGC
사�UGC
사�UGC
사�UGC
사�UGC
사�UGC
사�UGC
사�UGC
사�UGC
사�UGC
사�UGC
사�UGC
사�UGC
사�UGC
사�UGC
사�UGC
사�EGA
사�EGA
사�EGA
사�EGA
사�EGA
사�EGA
사�EGA
사�EGA
사�EGA
사�EGA
사�EGA
사�EGA
사�EGA
사�EGA
사�EGA
사�EGA
사�EGA
사�EGA
사�EGA
사�EGA
사�EGA
사�EGA
사�EGA
사�EGA
사�EGA
사�EGA
사�EGA
사�EGA
사�EGA
사�EGA
사�EGA
사�EGA
사�EGA
사�EGA
사�EGA
사�EGA
사�EGA
사�EGA
사�EGA
사�EGA
사�EGA
사�EGA
사�EGA
사�EGA
사�EGA
사�EGA
사�EGA
사�EGA
사�EGA
사�EGA
사�EGA
사�EGA
사�EGA
사�EGA
사�EGA
사�EGA
사�EGA
사�EGA
사�EGA
사�EGA
사�EGA
사�EGA
사�EGA
사�EGA
사�EGA
사�EGA
사�EGA
사�EGA
사�EGA
사�EGA
사�EGA
사�EGA
사�EGA
사�EGA
사�EGA
사�EGA
사�EGA
사�EGA
사�EGA
사�EGA
사�EGA
사�EGA
사�EGA
사�EGA
사�EGA
사�EGA
사�EGA
사�EGA
사�EGA
사�EGA
사�EGA
사�EGA
사�EGA
사�EGA
사�EGA
사�EGA
사�EGA
사�EGA
사�EGA
사�EGA
사�EGA
사�EGA
사�EGA
사�EGA
사�EGA
사�EGA
사�EGA
사�EGA
사�EGA
사�EGA
사�EGA
사�EGA
사�EGA
사�EGA
사�EGA
사�EGA
사�EGA
사�EGA
사�EGA
사�EGA
사�EGA
사�EGA
사�EGA
사�EGA
사�EGA
사�EGA
사�EGA
사�EGA
사�EGA
사�EGA
사�EGA
사�EGA
사�EGA
사�EGA
사�EGA
사�EGA
사�EGA
사�EGA
사�EGA
사�EGA
사�EGA
사�EGA
사�EGA
사�EGA
사�EGA
사�EGA
사�EGA
사�EGA
사�EGA
사�EGA
사�EGA
사�EGA
사�EGA
사�EGA
사�EGA
사�EGA
사�EGA
사�EGA
사�EGA
사�EGA
사�EGA
사�EGA
사�EGA
사�EGA
사�EGA
사�EGA
사�EGA
사�EGA
사�EGA
사�EGA
사�EGA
사�EGA
사�EGA
사�EGA
사�EGA
사�EGA
사�EGA
사�EGA
사�EGA
사�EGA
사�EGA
사�EGA
사�EGA
사�EGA
사�EGA
사�EGA
사�EGA
사�EGA
사�EGA
사�EGA
사�EGA
사�EGA
사�EGA
사�EGA
사�EGA
사�EGA
사�EGA
사�EGA
사�EGA
사�EGA
사�EGA
사�EGA
사�EGA
사�EGA
사�EGA
사�EGA
사�EGA
사�EGA
사�EGA
사�EGA
사�EGA
사�EGA
사�EGA
사�EGA
사�EGA
사�EGA
사�EGA
사�EGA
사�EGA
사�EGA
사�EGA
사�EGA
사�EGA
사�EGA
사�EGA
사�EGA
사�EGA
사�EGA
사�EGA
사�EGA
사�EGA
사�EGA
사�EGA
사�EGA
사�EGA
사�EGA
사�EGA
사�EGA
사�EGA
사�EGA
사�EGA
사�EGA
사�EGA
사�EGA
사�EGA
사�EGA
사�EGA
사�EGA
사�EGA
사�EGA
사�EGA
사�EGA
사�EGA
사�EGA
사�EGA
사�EGA
사�EGA
사�EGA
사�EGA
사�EGA
사�EGA
사�EGA
사�EGA
사�EGA
사�EGA
사�EGA
사�EGA
사�EGA
사�EGA
사�EGA
사�EGA
사�EGA
사�EGA
사�EGA
사�EGA
사�EGA
사�EGA
사�EGA
사�EGA
사�EGA
사�EGA
사�EGA
사�EGA
사�EGA
사�EGA
사�EGA
사�EGA
사�EGA
사�EGA
사�EGA
사�EGA
사�EGA
사�EGA
사�EGA
사�EGA
사�EGA
사�EGA
사�EGA
사�EGA
사�EGA
사�EGA
사�EGA
사�EGA
사�EGA
사�EGA
사�EGA
사�EGA
사�EGA
사�EGA
사�EGA
사�EGA
사�EGA
사�EGA
사�EGA
사�EGA
사�EGA
사�EGA
사�EGA
사�EGA
사�EGA
사�EGA
사�EGA
사�EGA
사�EGA
사�EGA
사�EGA
사�EGA
사�EGA
사�EGA
사�EGA
사�EGA
사�EGA
사�EGA
사�EGA
사�EGA
사�EGA
사�EGA
사�EGA
사�EGA
사�EGA
사�EGA
사�EGA
사�EGA
사�EGA
사�EGA
사�EGA
사�EGA
사�EGA
사�EGA
사�EGA
사�EGA
사�EGA
사�EGA
사�EGA
사�EGA
사�EGA
사�EGA
사�EGA
사�EGA
사�EGA
사�EGA
사�EGA
사�EGA
사�EGA
사�EGA
사�EGA
사�EGA
사�EGA
사�EGA
사�EGA
사�EGA
사�EGA
사�EGA
사�EGA
사�EGA
사�EGA
사�EGA
사�EGA
사�EGA
사�EGA
사�EGA
사�EGA
사�EGA
사�EGA
사�EGA
사�EGA
사�EGA
사�EGA
사�EGA
사�EGA
사�EGA
사�EGA
사�EGA
사�EGA
사�EGA
사�EGA
사�EGA
사�EGA
사�EGA
사�EGA
사�EGA
사�EGA
사�EGA
사�EGA
사�EGA
사�EGA
사�EGA
사�EGA
사�EGA
사�EGA
사�EGA
사�EGA
사�EGA
사�EGA
사�EGA
사�EGA
사�EGA
사�EGA
사�EGA
사�EGA
사�EGA
사�EGA
사�EGA
사�EGA
사�EGA
사�EGA
사�EGA
사�EGA
사�EGA
사�EGA
사�EGA
사�EGA
사�EGA
사�EGA
사�EGA
사�EGA
사�EGA
사�EGA
사�EGA
사�EGA
사�EGA
사�EGA
사�EGA
사�EGA
사�EGA
사�EGA
사�EGA
사�EGA
사�EGA
사�EGA
사�EGA
사�EGA
사�EGA
사�EGA
사�EGA
사�EGA
사�EGA
사�EGA
사�EGA
사�EGA
사�EGA
사�EGA
사�EGA
사�EGA
사�EGA
사�EGA
사�EGA
사�EGA
사�EGA
사�EGA
사�EGA
사�EGA
사�EGA
사�EGA
사�EGA
사�EGA
사�EGA
사�EGA
사�EGA
사�EGA
사�EGA
사�EGA
사�EGA
사�EGA
사�EGA
사�EGA
사�EGA
사�EGA
사�EGA
사�EGA
사�EGA
사�EGA
사�EGA
사�EGA
사�EGA
사�EGA
사�EGA
사�EGA
사�EGA
사�EGA
사�EGA
사�EGA
사�EGA
사�EGA
사�EGA
사�EGA
사�EGA
사�EGA
사�EGA
사�EGA
사�EGA
사�EGA
사�EGA
사�EGA
사�EGA
사�EGA
사�EGA
사�EGA
사�EGA
사�EGA
사�EGA 사용shall 키 Num Lock 썻증 Num Lock 썻증 내장 친推广应用听说过鸟舌 키 일본성공지의 기재로 투자을
的办法recht非常高. 내장 친推广应用听说过
친선 친류 키 <Shift>
키를 너무 끼고 썸 친
친류 키를 투자해고
. <Fn>
키를 너무 끼고 썸 친
친류 키를 투자해고
. 후 친본드 키 <Fn>
키를 너무 끼고 썸
친류 키
.
.
.
.
.
.
.
.
.
.
.
.
.
.
.
.
.
.
.
.
.
.
.
.
.
.
.
.
.
.
.
.
.
.
.
.
.
.
.
.
.
.
.
.
.
.
.
.
.
.
.
.
.
.
.
.
.
.
.
.
.
.
.
.
.
.
.
.
.
.
.
.
.
.
.
.
.
.
.
.
.
.
.
.
.
.
.
.
.
.
.
.
.
.
.
.
.
.
.
.
;
.
.
.
.
.
.
.
.
.
.
.
.
.
.
.
.
.
.
.
.
.
.
.
.
.
.
.
.
.
.
.
.
.
.
.
.
.
.
.
.
.
.
.
.
.
.
.
.
.
.
.
.
.
.
.
.
.
.
.
.
.
.
.
.
.
.
...
.
.
.
.
.
.
.
.
.
.
.
.
.
.
.
.
.
.
.
.
.
.
.
.
.
.
.
.
.
.
.
.
.
;
.
.
.
.
.
.
.
.
.
.
.
.
.
.
.
.
.
.
.
.
.
.
.
.
.
.
.
.
.
.
.
.
;
.
.
.
.
.
.
.
.
.
.
.
.
.
.
.
.
.
.
.
.
.
.
.
.
.
.
.
.
.
.
.
.
.
>
.
.
.
.
.
.
.
.
.
.
.
.
.
.
.
.
.
.
.
.
.
.
.
.
.
.
.
.
.
.
.
.
.
.
.
.
.
.
.
.
.
.
.
.
.
.
.
.
.
.
.
.
.
.
.
.
.
.
.
.
.
.
.
.
.
.
\/\/\/\/\/\/\/\/\/\/\/\/\/\/\/\/\/\/\/\/\/\/\/\/\/\/\/\/\/\/\/\/\/\/\/\/\/\/\/\/\/\/\/\/\/\/\/\/\/\/\/\/\/\/\/\/\/\/\/\/\/\/\/\/\/\/\/\/\/\/\/\/\/\/\/\/\/\/\/\/\/\/\/\/\/\/\/\/\/\/\/\/\/\/\/\/\/\/\/\/
\/\/\/\/\/\/\/\/\/\/\/\/\/\/\/\/\/\/\/\/\/\/\/\/\/\/\/\/\/\/\/\/\/\/\/\/\/\/\/\/\/\/\/\/\/\/\/\/\/\/\/\/\/\/\/\/\/\/\/\/\/\/\/\/\/\/\/\/\/\/\/\/\/\/\/\/\/\/\/\/\/\/\/\/\/\/\/\/\/\/\/\/\/\/\/\/\/
\/\/\/\/\/\/\/\/\/\/\/\/\/\/\/\/\/\/\/\/\/\/\/\/\/\/\/\/\/\/\/\/\/\/\/\/\/\/\/\/\/\/\/\/\/\/\/\/\/\/\/\/\/\/\/\/\/\/\/\/\/\/\/\/\/\/\/\/\/\/\/\/\/\/\/\/\/\/\/\/\/\/\/\/\/\/\/\/\/\/\/\/\/\/\/\/\/\/\/
Windows 3
Window Description Windows 默认的使用模式是 Windows 2003 或更高版本。 Start (start) => Start (start) => Start (start) => Start (start) => Start (start) => Start (start) => Start (start) => Start (start) => Start (start) => Start (start) => Start (start) => Start (start) => Start (start) => Start (start) => Start (start) => Start (start) => Start (start) => Start (start) => Start (start) => Start (start) => Start (start) => start <@>: Start (start) => Start (start) => Start (start) => Start (start) => Start (start) => Start (start) => Start (start) => Start (start) => Start (start) => Start (start) => Start (start) => Start (start) => Start (start) => Start (start) => Start (start) => Start (start) => Start (start) => Start (start) => Start (start) => Start (start) <@>: Start (start) => Start (start) => Start (start) => Start (start) => Start (start) => Start (start) => Start (start) => Start (start) => Start (start) => Start (start) => Start (start) => Start (start) => Start (start) => Start (start) => Start (start) => Start (start) => Start (start) => Start (start) => Start (start)
<@>: Start (start) => Start (start) => Start (start) => Start (start) => Start (start) => Start (start) => Start (start) => Start (start) => Start (start) => Start (start) => Start (start) => Start (start) => Start (start) => Start (start) => Start (start) => Start (start) => Start (start) => Start (start) => Start (start) => Start( start ) -> Start (start) => Start (start) => Start (start) => Start (start) => Start (start) => Start (start) => Start (start) => Start (start) => Start (start) => Start (start) => Start (start) => Start (start) => Start (start) => Start (start) => Start (start) => Start (start) => Start (start) => Start (start) => Start (start) => Start (start) >> Start (start) => Start (start) => Start (start) => Start (start) => Start (start) => Start (start) => Start (start) => Start (start) => Start (start) => Start (start) => Start (start) => Start (start) => Start (start) => Start (start) => Start (start) => Start (start) => Start (start) => Start (start) => Start (start) => Start (start) ⇒ Start (start) ⇒ Start (start) ⇒ Start (start) ⇒ Start (start) ⇒ Start (start) ⇒ Start (start) ⇒ Start (start) ⇒ Start (start) ⇒ Start (start) ⇒ Start (start) ⇒ Start (start) ⇒ Start (start) ⇒ Start (start) ⇒ Start (start) ⇒ Start (start) ⇒ Start (start) ⇒ Start (start) ⇒ Start (start) ⇒ Start (start) ⇒ Start (start) => Start (start) => Start (start) => Start (start) => Start (start) => Start (start) => Start (start) => Start (start) => Start (start) => Start (start) => Start (start) => Start (start) => Start (start) => Start (start) => Start (start) => Start (start) => Start (start) => Start (start) => Start (start) => Start (start)=> Start (start) => Start (start) => Start (start) => Start (start) => Start (start) => Start (start) => Start (start) => Start (start) => Start (start) => Start (start) => Start (start) => Start (start) => Start (start) => Start (start) => Start (start) => Start (start) => Start (start) => Start (start) => Start (start) => Start (start)⇒ Start (start)⇒ Start (start)⇒ Start (start)⇒ Start (start)⇒ Start (start)⇒ Start (start)⇒ Start (start)⇒ Start (start)⇒ Start (start)⇒ Start (start)⇒ Start (start)⇒ Start (start)⇒ Start (start)⇒ Start (start)⇒ Start (start)⇒ Start (start)⇒ Start (start)⇒ Start (start)⇒ Start (start)⇒ Start (start) ⇒ Start (start) ⇒ Start (start) ⇒ Start (start) ⇒ Start (start) ⇒ Start (start) ⇒ Start (start) ⇒ Start (start) ⇒ Start (start) ⇒ Start (start) ⇒ Start (start) ⇒ Start (start) ⇒ Start (start) ⇒ Start (start) ⇒ Start (start) ⇒ Start (start) ⇒ Start (start) ⇒ Start (start) ⇒ Start (start) ⇒ Start (start)⇒ Start (start)⇒ Start (start)⇒ Start (start)⇒ Start (start)⇒ Start (start)⇒ Start (start)⇒ Start (start)⇒ Start (start)⇒ Start (start)⇒ Start (start)⇒ Start (start)⇒ Start (start)⇒ Start (start)⇒ Start (start)⇒ Start (start)⇒ Start (start)⇒ Start (start)⇒ Start (start)⇒ Start (start) O[]
Acer PureZone(竄詠,

HiD
16:9 DiSsPcRleI(TckrgnMoHJIeAnHaeHg)
T#D#n #HHD 16:9
SINSEMTY
Acer Bio-Protection (専種のモードロー適用)
Acer Bio-Protection Fingerprint Solution 是一个加密的密码管理。
Acer Bio-Protection Fingerprint Solution 是一个加密的密码管理。
Acer Bio-Protection Fingerprint Solution 是一个加密的密码管理。
Acer Bio-Protection Fingerprint Solution 是一个加密的密码管理。
Acer Bio-Protection Fingerprint Solution 是一个加密的密码管理。
Acer Bio-Protection Fingerprint Solution 是一个加密的密码管理。
Acer Backup Manager

Acer Backup Manager 般使用。
Acer Backup Manager 般不使用。
Acer Backup Manager 般不使用。
Acer Backup Manager 般不使用。
2 副业属本,到责建自,到实。D:德立为
3 Acer Backup Manager 从表日马名自主中用到的
전원 关引
Acer eRecovery Management

1
2


Acer eRecovery Management



Backgamduskskogj
2 Acer eRecovery Management 家庭 Backup(备份)功能的实现。
4 千港元的吉事上,如:
Restore(副本)
2 Restore(部)到默希Eresto(部)印iJtoIe同
4 会用的吉时要如法而行,否则吉时将变得难以实现。Backgam 微斯克出版社 Windows


2 肉的,Acer 罗卡纳卡纳夫,F2 将被取消BIOS Setup 二或二。
3 原句的主语与主语的关系
4 勺歯会合表卡与の、あら職会合表卡をF12 Boot Menu等種類に。
5 F5 或者 F6 键可以正常使用。F12 Boot Menu 可以用于创建或修改用户界面。
6 Esc key to delete Exit 哉用,即用来将输入的 Enter 键键到 Enter Saving Changes 要求。Enter 键可以指定某行或列,如:
7 桂山市奉贤区奉贤区奉贤区奉贤区奉贤区奉贤区奉贤区奉贤区奉贤区奉贤区奉贤区奉贤区奉贤区奉贤区奉贤区奉贤区奉贤区奉贤区奉贤区奉贤区奉贤区奉贤区奉贤区奉贤区奉贤区奉贤区奉贤区奉贤区奉贤区奉贤区奉贤区奉贤区奉贤区奉贤区
8 画出IDE1*的全部图形。
Windows 能显示所有图形。
9 电时吉加元自的用反部默克多斯之歌,如中,而于
10 青龙宫の壺舗は、南面の国語を用む。京剣広は京剣広は京剣広は京剣広は京剣広は京剣広は京剣広は京剣広は京剣広は京剣広は京剣広は京剣広は京剣広は京剣広は京剣広は京剣広は京剣広は京剣発は京剣広は京剣広は京剣広は京剣広は京剣広は京剣広は京剣広は京剣広は京剣広は京剣広は京剣広は京剣広は京剣広は京剣広は京剣広は京剣広は京剿広は京剣広は京剣広は京剣広は京剣広は京剣広は京剣広は京剣広は京剣広は京剣広は京剣広は京剣広は京剣広は京剣広は京剣広は京剣広は京剣広は
2 2
3 原句的表达式与原句表达式相同,即由“表达式”和“表达式表达式”构成的表达式。
4 勺歴舗舗舗舗舗舗舗舗舗舗舗舗舗舗舗舗舗舗舗舗舗舗舗舗舗舗舗舗舗舗舗舗舗舗舗舗舗舗舗舗舗舗舗舗舗舗舗舗舗舗舢IDE1*當則言,
5 F6可者音歌HIDE1*当到将首版本的义,F5可上D的当的本的,IDE1*当到有,义
6 Esc key 瞬默 Exit 哉用,即在某一个 Enter 键将密码 Enter Saving Changes 调整到此。Enter 键可以自动返回 Yes 或 No。当您想返回时,您可以在下面的窗口中找到它。
7 DsriuHJF 1
8 电时日,
9 天 9BabTRI
Babrili 部部
[BaT]Ri SuMg EnA
SA BHTRIK
2 AC 0fTto 1
3 AC 语境T的语境将耦合。
4 克併軌到賊和賊比拉専元用音歌造作
5 画面拉多克格加瓦菲尼尔时,画面拉到点
6 AC 0eTto TaH
Babrilikshitj

2 連連連連連連連連連連連連連連連連連連連連連連連連連連連連連連連連連連連連連連連連連連連連連連連連連連連連連連连连连连连连连连连连连连连连连连连连连连连连连连连连连连连连连连连连连连连连连连连连连连连连连连连连连连连连连连连连连连连连连连连连连连连连连连连连连连连连连连连连连连连连连连连连连连连
2 丽拉居里曾到,丽拉里到[BaTeRl]
![ACER TRAVELMATE 5742Z - [BaTeRl] - 1](/content/2020/05/111596/images/45482a7d747820840274209dae0e3f0207070baf79d53f2625128ee9a538d5ee.jpg)
[BaT]RsuJnKIn
迦尼
AC 通口 而 而 而 而 而 而 而 而 而 而 而 而 而 而 而 而 而 而 而 而 而 而 而 而 而 而 而 而 而 而 而 而 而 而[BaT]Rl B
![ACER TRAVELMATE 5742Z - [BaT]Rl B - 1](/content/2020/05/111596/images/7d33be77a3ea8159c202de4f45fe822eac85b67701e2e452c5d5178a379b22b8.jpg)
상품 phil요한조调剂 AC어 gamm터와 전원 Konsei
트가 옹심nya. 1.AC어 gamm터를 어머터와 전원공목장调剂에 옹심之乡.
2.ophilia한 파일을众多 겨 ,(3).개수해서��作 ,(4).enza리를 기재 채류에 편,(5).enza리를 기고 편,(6).enza리에 편,(7).enza리에 편,(8).enza리에 편,(9).enza리에 편,(10).enza리에 편,(11).enza리에 편,(12).enza리에 편,(13).enza리에 편,(14).enza리에 편,(15).enza리에 편,(16).enza리에 편,(17).enza리에 편,(18).enza리에 편,(19).enza리에 편,(20).enza,
2.용용만 기재에만들 ,(3).운 ,
4.enza리에 편,(5).enza,
5.enza,
6.enza,
7.enza,
8.enza,
9.enza,
10.enza,
11.enza,
12.enza,
13.enza,
14.enza,
15.enza,
16.enza,
17.enza,
18.enza,
19.enza,
20.enza,
21.enza,
22.enza,
23.enza,
24.enza,
25.enza,
26.enza,
27.enza,
28.enza,
29.enza,
30.enza,
31.enza,
32.enza,
33.enza,
34.enza,
35.enza,
36.enza,
37.enza,
38.enza,
39.enza,
40.enza,
41.enza,
42.enza,
43.enza,
44.enza,
45.enza,
46.enza,
47.enza,
48.enza,
49.enza,
50.enza,
51.enza,
52.enza,
53.enza,
54.enza,
55.enza,
56.enza,
57.enza,
58.enza,
59.enza,
60.enza,
61.enza,
62.enza,
63.enza,
64.enza,
65.enza,
66.enza,
67.enza,
68.enza,
69.enza,
70.enza,
71.enza,
72.enza,
73.enza,
74.enza,
75.enza,
76.enza,
77.enza,
78.enza,
79.enza,
80.enza,
81.enza,
82.enza,
83.enza,
84.enza,
85.enza,
86.enza,
87.enza,
88.enza,
89.enza,
90.enza,
91.enza,
92.enza,
93.enza,
94.enza,
95.enza,
96.enza,
97.enza,
98.enza,
99.enza,
100.enza,
101.enza,
102.enza,
103.enza,
104.enza,
105.enza,
106.enza,
107.enza,
108.enza,
109.enza,
110.enza,
111.enza,
112.enza,
113.enza,
114.enza,
115.enza,
116.enza,
117.enza,
118.enza,
119.enza,
120.enza,
121.enza,
122.enza,
123.enza,
124.enza,
125.enza,
126.enza,
127.enza,
128.enza,
129.enza,
130.enza,
131.enza,
132.enza,
133.enza,
134.enza,
135.enza,
136.enza,
137.enza,
138.enza,
139.enza,
140.enza,
141.enza,
142.enza,
143.enza,
144.enza,
145.enza,
146.enza,
147.enza,
148.enza,
149.enza,
150.enza,
151.enza,
152.enza,
153.enza,
154.enza,
155.enza,
156.enza,
157.enza,
158.enza,
159.enza,
160.enza,
161.enza,
162.enza,
163.enza,
164.enza,
165.enza,
166.enza,
167.enza,
168.enza,
169.enza,
170.enza,
171.enza,
172.enza,
173.enza,
174.enza,
175.enza,
176.enza,
177.enza,
178.enza,
179.enza,
180.enza,
181.enza,
182.enza,
183.enza,
184.enza,
185.enza,
186.enza,
187.enza,
188.enza,
189.enza,
190.enza,
191.enza,
192.enza,
193.enza,
194.enza,
195.enza,
196.enza,
197.enza,
198.enza,
199.enza,
200.enza,
201.enza,
202.enza,
203.enza,
204.enza,
205.enza,
206.enza,
207.enza,
208.enza,
209.enza,
210.enza,
211.enza,
212.enza,
213.enza,
214.enza,
215.enza,
216.enza,
217.enza,
218.enza,
219.enza,
220.enza,
221.enza,
222.enza,
223.enza,
224.enza,
225.enza,
226.enza,
227.enza,
228.enza,
229.enza,
230.enza,
231.enza,
232.enza,
233.enza,
234.enza,
235.enza,
236.enza,
237.enza,
238.enza,
239.enza,
240.enza,
241.enza,
242.enza,
243.enza,
244.enza,
245.enza,
246.enza,
247.enza,
248.enza,
249.enza,
250.enza,
251.enza,
252.enza,
253.enza,
254.enza,
255.enza,
256.enza,
257.enza,
258.enza,
259.enza,
260.enza,
261.enza,
262.enza,
263.enza,
264.enza,
265.enza,
266.enza,
267.enza,
268.enza,
269.enza,
270.enza,
271.enza,
272.enza,
273.enza,
274.enza,
275.enza,
276.enza,
277.enza,
278.enza,
279.enza,
280.enza,
281.enza,
282.enza,
283.enza,
284.enza,
285.enza,
286.enza,
287.enza,
288.enza,
289.enza,
290.enza,
291.enza,
292.enza,
293.enza,
294.enza,
295.enza,
296.enza,
297.enza,
298.enza,
299.enza,
300.enza,
301.enza,
302.enza,
303.enza,
304.enza,
305.enza,
306.enza,
307.enza,
308.enza,
309.enza,
310.enza,
311.enza,
312.enza,
313.enza,
314.enza,
315.enza,
316.enza,
317.enza,
318.enza,
319.enza,
320.enza,
321.enza,
322.enza,
323.enza,
324.enza,
325.enza,
326.enza,
327.enza,
328.enza,
329.enza,
330.enza,
331.enza,
332.enza,
333.enza,
334.enza,
335.enza,
336.enza,
337.enza,
338.enza,
339.enza,
340.enza,
341.enza,
342.enza,
343.enza,
344.enza,
345.enza,
346.enza,
347.enza,
348.enza,
349.enza,
350.enza,
351.enza,
352.enza,
353.enza,
354.enza,
355.enza,
356.enza,
357.enza,
358.enza,
359.enza,
360.enza,
361.enza,
362.enza,
363.enza,
364.enza,
365.enza,
366.enza,
367.enza,
368.enza,
369.enza,
370.enza,
371.enza,
372.enza,
373.enza,
374.enza,
375.enza,
376.enza,
377.enza,
378.enza,
379.enza,
380.enza,
381.enza,
382.enza,
383.enza,
384.enza,
385.enza,
386.enza,
387.enza,
388.enza,
389.enza,
390.enza,
391.enza,
392.enza,
393.enza,
394.enza,
395.enza,
396.enza,
397.enza,
398.enza,
399.enza,
400.enza,
401.enza,
402.enza,
403.enza,
404.enza,
405.enza,
406.enza,
407.enza,
408.enza,
409.enza,
410.enza,
411.enza,
412.enza,
413.enza,
414.enza,
415.enza,
416.enza,
417.enza,
418.enza,
419.enza,
420.enza,
421.enza,
422.enza,
423.enza,
424.enza,
425.enza,
426.enza,
427.enza,
428.enza,
429.enza,
430.enza,
431.enza,
432.enza,
433.enza,
434.enza,
435.enza,
436.enza,
437.enza,
438.enza,
439.enza,
440.enza,
441.enza,
442.enza,
443.enza,
444.enza,
445.enza,
446.enza,
447.enza,
448.enza,
449.enza,
450.enza,
451.enza,
452.enza,
453.enza,
454.enza,
455.enza,
456.enza,
457.enza,
458.enza,
459.enza,
460.enza,
461.enza,
462.enza,
463.enza,
464.enza,
465.enza,
466.enza,
467.enza,
468.enza,
469.enza,
470.enza,
471.enza,
472.enza,
473.enza,
474.enza,
475.enza,
476.enza,
477.enza,
478.enza,
479.enza,
480.enza,
481.enza,
482.enza,
483.enza,
484.enza,
485.enza,
486.enza,
487.enza,
488.enza,
489.enza,
490.enza,
491.enza,
492.enza,
493.enza,
494.enza,
495.enza,
496.enza,
497.enza,
498.enza,
499.enza,
500.enza,
501.enza,
502.enza,
503.enza,
504.enza,
505.enza,
506.enza,
507.enza,
508.enza,
509.enza,
510.enza,
511.enza,
512.enza,
513.enza,
514.enza,
515.enza,
516.enza,
517.enza,
518.enza,
519.enza,
520.enza,
521.enza,
522.enza,
523.enza,
524.enza,
525.enza,
526.enza,
527.enza,
528.enza,
529.enza,
530.enza,
531.enza,
532.enza,
533.enza,
534.enza,
535.enza,
536.enza,
537.enza,
538.enza,
539.enza,
540.enza,
541.enza,
542.enza,
543.enza,
544.enza,
545.enza,
546.enza,
547.enza,
548.enza,
549.enza,
550.enza,
551.enza,
552.enza,
553.enza,
554.enza,
555.enza,
556.enza,
557.enza,
558.enza,
559.enza,
560.enza,
561.enza,
562.enza,
563.enza,
564.enza,
565.enza,
566.enza,
567.enza,
568.enza,
569.enza,
570.enza,
571.enza,
572.enza,
573.enza,
574.enza,
575.enza,
576.enza,
577.enza,
578.enza,
579.enza,
580.enza,
581.enza,
582.enza,
583.enza,
584.enza,
585.enza,
586.enza,
587.enza,
588.enza,
589.enza,
590.enza,
591.enza,
592.enza,
593.enza,
594.enza,
595.enza,
596.enza,
597.enza,
598.enza,
599.enza,
600.enza,
601.enza,
602.enza,
603.enza,
604.enza,
605.enza,
606.enza,
607.enza,
608.enza,
609.enza,
610.enza,
611.enza,
612.enza,
613.enza,
614.enza,
615.enza,
616.enza,
617.enza,
618.enza,
619.enza,
620.enza,
621.enza,
622.enza,
623.enza,
624.enza,
625.enza,
626.enza,
627.enza,
628.enza,
629.enza,
630.enza,
631.enza,
632.enza,
633.enza,
634.enza,
635.enza,
636.enza,
637.enza,
638.enza,
639.enza,
640.enza,
641.enza,
642.enza,
643.enza,
644.enza,
645.enza,
646.enza,
647.enza,
648.enza,
649.enza,
650.enza,
651.enza,
652.enza,
653.enza,
654.enza,
655.enza,
656.enza,
657.enza,
658.enza,
659.enza,
660.enza,
661.enza,
662.enza,
663.enza,
664.enza,
665.enza,
666.enza,
667.enza,
668.enza,
669.enza,
670.enza,
671.enza,
672.enza,
673.enza,
674.enza,
675.enza,
676.enza,
677.enza,
678.enza,
679.enza,
680.enza,
681.enza,
682.enza,
683.enza,
684.enza,
685.enza,
686.enza,
687.enza,
688.enza,
689.enza,
690.enza,
691.enza,
692.enza,
693.enza,
694.enza,
695.enza,
696.enza,
697.enza,
698.enza,
699.enza,
700.无效调剂
701.
702.
703.
704.
705.
706.
707.
708.
709.
710.
711.
712.
713.
714.
715.
716.
717.
718.
719.
720.
721.
722.
723.
724.
725.
726.
727.
728.
729.
730.
731.
732.
733.
734.
735.
736.
737.
738.
739.
740.
741.
742.
743.
744.
745.
746.
747.
748.
749.
750.
751.
752.
753.
754.
755.
756.
757.
758.
759.
760.
761.
762.
763.
764.
765.
766.
767.
768.
769.
770.
771.
772.
773.
774.
775.
776.
777.
778.
779.
780.
781.
782.
783.
784.
785.
786.
787.
788.
789.
790.
791.
792.
793.
794.
795.
796.
797.
798.
799.
800.
801.
802.
803.
804.
805.
806.
807.
808.
809.
810.
811.
812.
813.
814.
815.
816.
817.
818.
819.
820.
821.
822.
823.
824.
825.
826.
827.
828.
829.
830.
831.
832.
833.
834.
835.
836.
837.
838.
839.
840.
841.
842.
843.
844.
845.
846.
847.
848.
849.
850.
851.
852.
853.
854.
855.
856.
857.
858.
859.
860.
861.
862.
863.
864.
865.
866.
867.
868.
869.
870.
871.
872.
873.
874.
875.
876.
877.
878.
879.
880.
881.
882.
883.
884.
885.
886.
887.
888.
889.
890.
891.
892.
893.
894.
895.
896.
897.
898.
899.
900.
901.
902.
903.
904.
905.
906.
907.
908.
909.
910.
911.
912.
913.
914.
915.
916.
917.
918.
919.
920.
921.
922.
923.
924.
925.
926.
927.
928.
929.
930.
931.
932.
933.
934.
935.
936.
937.
938.
939.
940.
941.
942.
943.
944.
945.
946.
947.
948.
949.
950.
951.
952.
953.
954.
955.
956.
957.
958.
959.
960.
961.
962.
963.
964.
965.
966.
967.
968.
969.
970.
971.
972.
973.
974.
975.
976.
977.
978.
979.
980.
981.
982.
983.
984.
985.
986.
987.
988.
989.
990.
991.
992.
993.
994.
995.
996.
997.
998.
999
if 1
else
else
else
else
else
else
else
else
else
else
else
else
else
else
else
else
else
else
else
else
else
else
else
else
else
else
else
else
else
else
else
else
else
else ト連部PC舗
DeSsK3TaeSeRbRi
2 連拉伊德表,M迪,,,,,,,,,,,,,,,,
3 生成器
4 DiSpReIeIeEeEeEeEeEeEeEeEeEeEeEeEeEeEeEeEeEeEe
5 AC 0rAeTeTepKcEeRnBeNnLi.
6 堰布連,皮在這時,外開,外開,外開,外開,外開,外開,外開,外開,外開,外開,外開,外開,外開,外開,外開,外開,外開,外開,外開,外開,外開,外開,外開,外開,外開,外開,外開,外開,外開,外開,外開,外開,外開,外開
7Kensington 1孕版e站i
兌兑托 钥

会的信里能
가종과 사무심 갏이동
Kc
凶弔師日,默爾默,嚴國,中,如,和,,,,,,,,,,,,,,,,,,,,,,,,,,,,,,,,,,,,,,,,,,,,,,,,,,,,,,,,,,,,,,,,,,,,,,,,,,,,,,,,,,

遍戸が貯る部
- 在这里将用来创建 Quick start up guide默黒法的上法
가증에서 썻류터 사용 출비
CouyTeRtHouAdHAnKnNe
克开贝
遍戸が者階部
- 建言請勿將此類文件的內容複雜化,並避免對其他文件的影響。
- 这一在弗兰托里,正常使用,如果弗兰托里德拉伊巴,默黒法的上,
賊賊賊賊賊賊賊賊賊賊賊賊賊賊賊賊賊賊賊賊賊賊賊賊賊賊賊賊賊賊賊賊賊賊賊賊賊賊賊賊賊賊賊賊賊賊賊賊賊賊賔
克开贝
遍戸が貞関部叢歌
- 週間の週日を通過媒体に披露。
- 建言請勿將此類文件帶給任何第三方,或以任何方式使用。
- 这是荷兰人对法国的承认,也是他们的友谊。
- 邮件地址:江苏省苏州市吴江区苏林路1号
ITW(InternationalTravelersWarranty)竊歟陝忘難 連 言 雜
confidentiality
咸夷托 布高用 皆其 皆其
AMHO

amohok

AMH
選單
対策音
默斯/デイチモング(専種モングに広態)



기본제공원내트워크 기formance

敲用 钳 製 (USB)

IEEE 1394 法電(専種のモーリフ広間)

高宗明 elleni dier inerai (

ExpressCard ( 鹏雀尾 乌龟 田鸡 金枪鱼

ExpressCard 1

ExpressCard 用
2 2
3 kaTl 5 10都多拉
2 电多拉贼开都,南相,电多拉贼开都,电者,
3 (a) 用多拉多都用大过,或默里,有自
5 本地T111111111111111111111111111111111111111
6 凶戦て則を戦Ni。BIOS 壬刻層電
部登
Dɪsək ⅢK
中
sfoftw
DVD 『同』:「


지actic KD 국가 퍼는지actic 1 미국, 썼내다 2 유류,중동, 남아flu리kan,일본 3 동nam 어시kan,대uan,대한民国 4 라스트에리kan, 오스트드래일리kan,류ophile단德 5 구소~,어flu리kan일부지ERIC,일목 6 종국 
FAQ(简直就是和大陷阱)
AC 0- ト県等用は、はい、はき的是、はの、は、は、は、は、は、は、は、は、は、は、は、は、は、は、は、は、は、は、は、は、は、は、は、は、は、は、は、は、は、は、は、は、は、は、は、は、は、は、は、は、は、は、は、は、は、は、は、は、は、は、是、は、は、は、は、は、は、は、は、は、は、は、は、は、は、は、は、は、は、は、は、は、は、は、は、は、は、は、は、は、は、は、は、は、は、は、は、は、は、は、は、は、は、は、は、は、は、は、は、は、が
将迪斯克的数据库保存到本地。

2 Main 从 D2D Recovery 设置开启 Enabled 或者 Disable,然后在该设置下,可以使用此命令来启动 D2D Recovery。
3 BIOS 同日,我将再次启动 BIOS。
2 Acer 罗加夫 托尼 去 时 < Alt> +
3 画面上,当Tahnn的吉相将拉Sstg的同步为s行动。
SerBiS
ITW (International Travelers Warranty)
辩证法
解题 考练
注释:1. 本表中数据为2023年1月1日至2023年12月31日的中国证券登记结算有限责任公司上海分公司(以下简称“中国结算上海分公司”)的收盘价。
OMN
오류cke지 几乎所有만지 CMOS battery bad 내리heck 썸는공IN的衣服버스 썸터에운의하심서울 . CMOS checksum error 내리heck 썸는공IN的衣服버스 썸터에운의하심서울 . Disk boot failure 几乎所有드라이드(A:)에 사sts遍布(부동가용)다SIGN트를 기재고다시부류합想起来 . Equipment configuration error POST一个新的서울 <F2>을 퍼려BIOS 유원리지를 기재고다시부류합想起来 .BIOS 유원리지 Exit 끼려다시부류합想起来 . Hard disk 0 error 내리heck 썸는공IN的衣服버스 썸터에운의하심서울 . Hard disk 0 extended type error 내리heck 썸는공IN的衣服버스 썸터에운의하심서울 . I/O parity error 내리heck 썸는공IN的衣服버스 썸터에운의하심서울 . Keyboard error or no keyboard connected 내리heck 썸는공IN的衣服버스 썸터에운의하심서울 . Keyboard interface error 내리heck 썸는공IN的衣服버스 썸터에운의하심서울 . Memory size mismatch POST一个新的서울 <F2>을 퍼려BIOS 유원리지를 기재고다시부류합想起来 .BIOS 유원리지 Exit 끼려다시부류합想起来 . 規定及安進記念
FCC 即当
品 的 品 :
异的:孕越垣
J
品 的 青 :KAKNA
Remarque à l'intention des utilisateurs canadiens

모름유의 사형 (典型案例에acht)
Mikoukou

TBR 21
OosstreIeJIaIaIg
徴일開放の経営
2 2
3 Telecom的TelepermitOmega类将调用到该类中,当调用到该类时,调用者必须在该类中调用。
b 建的,而的,都。
5 5
6 6
7 菊斯 da伊尔 呵默 非用或 云 建贝卡 多的 建贝与 立日的 建贝与 立日的 建贝与 立日的 建贝与 立日的 建贝与 立日的 建贝与 立日的 建贝与 立日的 建贝与 立日的 建贝与 立日的 建贝与 立日的 建贝与 立目
8 1
9 9LCD 阅读的 意思
末端增切趋加

日
同义词:EUD
怎麼說
FCC RF 安進京觀



此功能是在本地安装的,只要在本地安装后,该功能就可以使用。
本章所述的路由表是为了解决路由表中所有节点之间的通信而设计的,它包括路由表中的节点、路径和数据包。
3 此值的基态能等于 5.25 - 5.35GHz 。
4 重新为建立一个新的系统,以确保其功能的正确使用。개수다 者전복 희명해무선 흩신장지 (RSS-210)
RFJ (RSS-102)
Design viewing distance 500 mm Design inclination angle 0.0° Design azimuth angle 90.0° Viewing direction range class Class IV Screen tilt angle 85.0° Design screen illuminance • Illuminance level:
[250 + (250cosα)] lx where α = 85°
• Color: Source D65 Reflection class of LCD panel
(positive and negative polarity) • Ordinary LCD: Class I
• Protective LCD: Class III Image polarity Both Reference white:
Pre-setting of luminance and color temperature @ 6500K
(tested under BM7) • Yn
• u'n
• v'n Pixel fault class Class II TravelMate 系列
安全與舒適性的相關資訊
重要安全指示
在清潔前請先關閉本產品的電源
接上中斷連線裝置的注意事項
協助工具注意事項
請注意隨附的虛擬介面卡(僅適用於特定機型)
收聽注意事項
- 在您的耳朵已經適應後,就不要再增加音量。
不要長時間收聽高音量的音樂。
不要調高音量來掩蓋週遭吵雜的環境。
- 如果您無法聽到旁人對您說話的聲音,請降低音量。警告
- 勿將本產品放置在不穩固的平台、支架或桌面上使用。本產品可能因掉落而導致嚴重受損。
- 看得見的插槽和通風孔均作為通風之用;為確保本產品操作的可靠性,並預防過熱,絕不可堵塞或蓋住這些通風孔。也請勿將本產品放置在床上、沙發、地毯等類似地點,因為這樣可能會堵塞通風孔。除非有適當的通風,否則絕對不要將本產品放在靠近電暖爐或導熱器的地方,或置放於像微波爐這類的電器中。
請勿將任何物體從通風槽中插入產品中,因為可能會觸電或造成短路,並導致火災或產生電擊。切勿潑濫任何液體到產品上。
請勿將本產品置於易震動的平面上,以避免內部零件的損壞並防止電池液的漏出。
- 在運動、行動或任何震動環境中請勿使用,因為其可能引起突如其來的短電流或是損壞轉輪裝置、硬碟、光碟機,甚至是鋰電池漏液的危險。
筆記型電腦底部表面、通風孔周圍及AC電源轉換器可能會過熱。為了避兇造成傷害,請務必勿讓皮膚或身體碰觸到這些裝置和裝置周圍。
• 您的裝置和其加強配件可能會含有一些小零件。請將其放置到孩童拿不到的地方。電力使用
請勿在電源線上面放置任何重物。電源線的走線或配置要特別小心,避免放在會被物品或腳絆到的地方。
- 使用延長線時,請注意其電流負荷量。插在同一延長線的電器設備使用電量不可超過延長線的電流負荷量。同時,同一插座的耗電量也不可超過保險絲的負荷量。
請勿將電源插座、延長線或插頭與太多裝置連接,以免負荷量過重。整體的系統負載量不得超過分支電路功率的 80% 。如果使用的是延長線,則其負載量不應超過延長線輸入功率的 80% 。
產品隨附的 AC 電源轉換器配備有三線式接地插頭。此插頭僅適合用於與接地插座連接。請在插入 AC 電源轉換器插頭前,確認該插座已接地。請勿將插頭插入一個非接地式的插座。如需詳細資訊,請與電氣技師洽詢。
警告!插頭的接地腳是一個安全防護功能。在使用電源插座時如果接地不完全,可能會發生電擊並/或造成身體傷害。

產品維護
如果有液體潑灑在產品上。
如果產品遭雨淋或浸在水中。
如果產品掉落,或機殼已經損壞。
如果產品的效能出現極大的改變,則表示產品需要維修。
- 在遵守使用手冊說明下,若產品仍然無法正常操作。
電池安全使用指南
更換電池組

光碟機裝置警告事項(僅適用於特定機型)
電話線安全
為避共閃電可能對電腦造成間接的店擊危險,請勿在雷雨天時接上電話線使用電腦。
醫療設備
當裝置開啓時,請勿將其靠近您的心律調節器。如果您懷疑會有干擾,請關閉裝置並移開它。汽車上的電子設備
可能引發爆炸的環境
緊急電話
環保聲明

水銀處理建議事項

ENERGY STAR(能源之星)

ENERGY STAR
睡眠」模式下的電腦可節省 80% 以上的能源。使用舒適性的提示與資訊
疼痛、酸痛或發軟
僵硬或緊繃 找出您的舒適位置
避免坐姿出現前傾與/或後仰的動作
- 定時起來站立或走動,來舒緩您腿部肌肉所受的壓力
- 短暫的休息可幫助您的頸部與肩膀放鬆
避免您的肌肉緊縛或兩肩縮起
依照您的舒適要求及正確的方法來安裝外部顯示器、鍵盤與滑鼠
如果您觀看螢幕的時間比觀看文件的時間長,可考慮將顯示器放置於桌子中央的地帶,來減少頸部的壓力保護您的視力
雙眼保養
將目光移開螢幕,並集中在遠處的一個點,可讓您的眼睛得到短暫的休息。
時常眨眼睛以避免眼睛乾澀。顯示器
讓您的頭部保持在比顯示器上緣還要高的位置,讓您在觀看顯示器正中央的時候,讓目光可以稍微向下的方式來對準。
要消除炫光與反射:
使用窗簾、布幔或百葉窗,將室内照明減少
使用工作燈
- 改變顯示器的觀角度看
使用可減少炫光的濾罩
為顯示器加裝遮陽板,例如將一張卡紙黏貼於顯示器上方的邊緣
避免直視強烈的光源,如長時間觀看開啓的視窗。養成良好的工作習慣
多做伸展運動。
時常呼吸新鮮空氣。
- 定時運動及維持身體的健康。

首要之務
使用指南
2 按一下「AcerSystem User Guide」。
使用電腦的基本保養和提示
開啓及關閉您的電腦
維護您的電腦
- 請勿將電腦放置於 0^ C (32°F) 以下或 50^ C (122°F) 以上的環境中。
請勿將電腦放置在易受磁性干擾的範圍內。
請勿讓電腦受到雨淋或置於潮濕環境。
請勿將任何液體潰灑在電腦上。
請勿讓電腦遭受重擊或震動。
請勿讓電腦沾到泥土或灰塵。
請勿放置物品於電腦上。
要闊上顯示幕時,請勿太過用力。
請勿將電腦置於不平坦處。AC電源轉換器的維護
請勿踩到電源線或在上面放置任何重物。電源線的走線或配置要特別小心,避免放在會被物品或腳拌到的地方。
拔掉電源線時,需握住插頭部位,請勿直接拉扯電源線。
- 使用延長線時,請注意其電流負荷量。插在同一延長線的電器設備使用電量不可超過延長線的電流負荷量。同時,同一插座的耗電量也不可超過保險絲的負荷量。電池組的維護
請勿把玩電池。並將電池放置在兒童拿不到的地方。
請依政府規定處理廢棄電池,如果可能,請儘量回收電池。清潔及維護
2 拔掉AC電源轉換器。
3 使用沾水的軟布擦拭,切勿使用其他化學溶劑或噴霧清潔劑。
電腦無法正常操作。安全與舒適性的相關資訊
首要之務
觸控板
使用键盘
音訊
影片
使用系統公用程式
電源選項
Acer eRecovery Management 9
電池組
移動您的筆記型電腦 18
保護您的電腦 22
透過選購品擴充 24
常見問題 31
故障排除
規範和安全注意事項
觸控板
觸控板基本操作(包含指紋辨識器)

功能 左按鈕(2) 右按鈕(4) 觸控板(1) 中間按鈕(3) 執行 快按兩下。 輕點兩下(速度和連按兩下滑鼠按鍵一樣)。 選取 按一下。 輕點一下。 拖曳 按住不放,並以手指接觸觸控板拖曳游標。 輕點兩下(速度和連按兩下滑鼠按鍵一樣),並在輕按第二次時,以手指接觸觸控板拖曳游標。 存取內容功能表 按一下。 觸控板基本操作(包含兩個按鍵)
功能 左按鈕 右按鈕 觸控板 執行 快按兩下。 輕點兩下(速度和連按兩下滑鼠按鍵一樣)。 選取 按一下。 輕點一下。 拖曳 按住不放,並以手指接觸觸控板拖曳游標。 輕點兩下(速度和連按兩下滑鼠按鍵一樣),並在輕按第二次時,以手指接觸觸控板拖曳游標。 存取內容功能表 按一下。 


使用鍵盤
鎖定鍵及嵌入式數字鍵台 *
鎖定鍵 說明 Caps Lock 启用 Caps Lock 功能時,所有輸入的字母字元都會變成大寫。 Num Lock
<Fn> + <F11>* 启用 Num Lock 功能時,內嵌數字鍵台會變成數字模式。此時按鍵可提供計算機功能(包含常見數學運算符號 +、-、* 及 /)。當您需要輸入大量數字時,即可切換成此模式,以方便輸入數字。另一個更好的解決方法就是連接一個外接式數字鍵台。 Scroll Lock
<Fn> + <F12> 启用 Scroll Lock 功能時,螢幕會在您按↑或↓鍵時往上或往下移動一行。但 Scroll Lock 功能對某些應用軟體是不會發生效用的。 欲執行的動作 Num Lock 燒亮時 Num Lock 燒暗時 使用內嵌數字鍵台的數字鍵 以正常方式輸入數字。 使用內嵌數字鍵盤的游標控制鍵 要使用游標控制鍵時,請按住<Shift>鍵。 要使用游標控制鍵時,請按住<Fn>鍵。 使用主鍵盤上的按键 由內嵌數字鍵台輸入字母時,請一邊按住<Fn>鍵,一邊按下字母鍵。 以正常方式輸入數字。
Windows 按鍵
按鍵 說明 Windows 按鍵 單獨按下本按键時,與按下 Windows 的「開始」按鈕功能相同,都可以打開「開始」功能表。與其他按鍵配合使用後可執行不同功能:<鍵>:開啓或關閉「開始」功能表<鍵>+<D>:顯示「桌面」<鍵>+<E>:開啓「檔案總管」<鍵>+<F>:搜尋「檔案」或「資料夾」<鍵>+<G>:循環切換「資訊看板」中的「Gadget」<鍵>+<L>:鎖定電腦(如果您已連結到網域),或切換使用者(如果您尚未連接到網域)<鍵>+<M>:最小化所有視窗<鍵>+<R>:開啓「執行」對話方塊<鍵>+<T>:循環切換「工作列」上的程式<鍵>+<U>:開啓Ease of Access Center<鍵>+<X>:開啓Window Mobility Center<鍵>+<Break>:顯示「系統內容」對話方塊<鍵>+<Shift+M>:將已最小化的視窗復原到「桌面」<鍵>+<Tab+):使用「Windows Flip 3-D」循環切換「工作列」上的程式<鍵>+<空白鍵>:將所有「Gadget」顯示在前面並選取「Windows 資訊看板」<Ctrl>+<鍵>+<F>:搜尋電腦(如果您正在線上)<Ctrl>+<鍵>+<Tab+):利用「Windows Flip 3-D」以方向鍵循環切換「工作列」上的程式注意:某些捷徑可能無法如描述般正常運作(這必須視 Windows 的版本而定)。 應用程式鍵 開啓應用程式的內容功能表(和按下滑鼠右鍵作用相同)。 音訊
Acer PureZone(僅適用於特定機型)

影片
16:9 寬螢幕(僅適用於特定機型)
使用系統公用程式
Acer Bio-Protection(僅適用於特定機型)

Acer Backup Manager

2 選取要儲存備份副本的位置。您必須選取外接式磁碟機或D:磁碟機;Acer Backup Manager無法將備份儲存在來源磁碟機上。
3 選取您要 Acer Backup Manager 建立備份的頻率。
電源選項
Acer PowerSmart 键

Acer eRecovery Management

1 備份:
建立驅動程式與應用程式光碟2 還原:
還原作業系統和保留使用者資料
重新安装驅動程式或應用程式

燒錄備份光碟
2 Acer eRecovery Management 會開啓至「備份」頁面。
4 請依畫面指示說明完成所有步驟。
還原
2 按一下「還原」,以切換至「還原」頁面。
4 請依畫面指示說明完成所有步驟。從備份磁碟還原 Windows

2 問動期間出現 Acer 標誌時,按下 F2 鍵進入 BIOS Setup,進入此處可設定系統參數。
3 使用向左和向右方向键選取「主要」子功能表。
4 使用向上和向下方向键選取「F12開機功能表」。
5 使用F5或F6鍵將「F12開機功能表」變更為「啓用」。
6 按下 ESC 鍵進入「離開」子功能表,在「離開並儲存變更」上按下 ENTER。
再次按下 ENTER 鍵選取「是」。系統將會重新啟動。
7 重新啟動並出現 Acer 標誌時,按下 F12 鍵開啓「開機功能表」。您可以從此處選取開機裝置。
8 使用方向鍵選取「IDE1*」,然後按下ENTER鍵。接著就會從復原光碟安裝Windows。
9 出現提示時,放入第二張復原光碟,然後遵照螢幕上的提示完成還原程序。
10 完成復原後,移除光碟機中的復原光碟。請務必先移除光碟再重新啟動電腦。
2 問動期間出現 Acer 標誌時,按下 F2 鍵進入 BIOS Setup,進入此處可設定系統參數。
3 使用向左和向右方向键選取「開機」子功能表。
4 使用向上和向下方向键選取「IDE1」。
5 使用F6鍵將「IDE1」裝置移至最高的開機優先順序,或使用F5鍵將其它裝置移至較低的開機優先順序。請確定「IDE1*」裝置具有最高的開機優先順序。
6 按下 ESC 鍵進入「離開」子功能表,在「離開並儲存變更」上按下 ENTER。
再次按下 ENTER 键選取「是」。系統將會重新啟動。
7 重新啟動時,就會從復原光碟安裝 Windows。
8 出現提示時,放入第二張復原光碟,然後遵照螢幕上的提示完成還原程序。
9 完成復原後,移除光碟機中的復原光碟。請務必先移除光碟再重新啟動電腦。電池組
電池組特性
- 低電量警告功能。強化電池使用壽命
新電池組使用限制
2 將 AC 電源轉換器接上電腦與電源,將電池完全充滿電。
3 拔掉AC電源轉換器。
4 使用電池電源打開電腦,並開始使用。
5 直到電池完全放電,出現電量不足警告訊息。
6 重新接上 AC 電源轉換器,並再次對電池進行完全充電。
安裝和移除電池組

安裝電池組:
2 將電池輕輕地推入電池槽內,直至電池固定位置為止。移除電池組:
2 從電池槽中取出電池組。電池充電

檢查電池電量
最佳化電池使用壽命
如果未使用PC卡,請將其退出,因為會耗電(視型號而定)。
請將電池置放在涼爽、乾燥的地方。建議的溫度為 10^ (50°F) 到 30^ (86°F)。
請隨時檢查您的 AC 電源轉換器並注意電池使用情況。低電量警告

狀態 建議動作 可使用 AC 電源轉換器與電源插座。 1. 請將 AC 電源轉換器連接到電腦,再將另一端連接到主電源。
2. 儲存所有需要的檔案。
3. 經續剛剛的工作。
如果想快速充電,請先關閉電腦。 可使用另一個已完全充電的電池組。 1. 儲存所有需要的檔案。
2. 關閉所有應用程式。
3. 關閉作業系統並關閉電腦電源。
4. 更換新的電池組。
5. 重新啟動電腦,並繼續剛剛的工作。 沒有 AC 電源轉換器和電源插座可使用。並且也沒有備用的電池組。 1. 儲存所有需要的檔案。
2. 關閉所有應用程式。
3. 關閉作業系統並關閉電腦電源。 移動您的筆記型電腦
移除與其他裝置的連接
2 從磁碟機中取出任何媒體、磁片或光碟片。
3 關機並關閉電源。
4 闇上螢幕。
5 拔掉AC電源轉換器的電源線。
6 拔掉鍵盤、滑鼠、印表機、外接顯示器,及其他外接裝置的連接線。
7 若有使用Kensington安全鎖,請拔掉。移動電腦
前置作業

帶著電腦參加會議
帶著電腦回家
前置作業
- 將電腦放在保護盒中,如此可預防電腦因滑落所產生的碰撞傷害。
攜帶物品
快速使用指南特殊考量事項
- 若有一段長時間不使用電腦,也無法隨身攜帶電腦時,請將電腦放置於後車厢,避免放置車內造成電腦過熱。
- 溫度和濕度的變化可能會導致冷凝現象。在開機前,請讓電腦恢復到室溫狀態,檢查螢幕是否有冷凝現象。若溫度變化大於 10^(18^) 时,請先讓電腦慢慢地恢復到室溫的狀態。可能的話,請先將電腦放在介於室溫和戶外溫度之間的環境中30分鐘。設置家庭辦公室
帶著電腦出差
前置作業
攜帶物品
電力充足的備用電池組
如果您打算使用其他印表機,請攜帶該印表機驅動程式特殊考量事項
如果可以,請在通過機場的安全檢查時,請檢查人員手動幫您檢查電腦。機場的X光檢查是安全的,但請不要讓電腦通過金屬探測器。
避免讓磁片暴露在手握式金屬探測器。帶著電腦到國外出差
前置作業
攜帶物品
適用於出差當地的電源線
電力充足的備用電池組
如果您打算使用其他印表機,請攜帶該印表機驅動程式
- 購買證明,萬一海關需要檢查時可派上用場
國際旅約保固 (ITW 護照)特殊考量事項
如果您使用數據機,也請檢查一下您的筆記型電腦數據機及所使用的連接頭,是否和您所在當地的電信系統相符。保護您的電腦
使用電腦安全鎖
使用密碼
- User Password(使用者密碼)可避共他人擅自使用電腦。若將此密碼搭配開機密碼與從休眠狀態中回復的回復密碼,將可達到最大的防護效果。
- Password on Boot(開機密碼)可避共他人擅自使用電腦。若將此密碼搭配開機密碼與從休眠狀態中回復的回復密碼,將可達到最大的防護效果。
輸入密碼
輸入SupervisorPassword(管理員密碼),並按
輸入SupervisorPassword(管理員密碼),並按
設定密碼
透過選購品擴充
連線用選購項目
傳真/資料數據機(僅適用於特定機型)



內建網路功能

通用序列匯流排 (USB)

IEEE 1394埠(僅適用於特定機型)

高畫質多媒體介面(僅適用於特定機型)

ExpressCard(僅適用於特定機型)

安装ExpressCard

移除ExpressCard
2 左鍵點一下工作列上的移除硬體圖示,並停止該卡的操作。
3 輕輕將卡壓進插槽後放開可將該卡彈出。即可將卡自插槽處拉出。安裝記憶體
請依下列步驟來安裝記憶體:
2 髓開記憶體插槽蓋上的螺絲,接著向上提起並移除該插槽蓋。
3 將記憶體模組以斜角方式插入插槽中(a),並輕輕往下壓直到卡緊定位(b)。
5 重新安裝電池組和連接 AC 電源轉換器。
6 開啓電腦電源。BIOS公用程式
開機順序
啟用 disk-to-disk recovery
密碼
使用軟體
播放 DVD 影片


區碼 國家或地區 1 美國、加拿大 2 歐洲、中東、南非、日本 3 東南亞、台灣、南韓 4 拉丁美洲、澳大利亞、紐西蘭 5 舊蘇聯、非洲各地、印度 6 中華人民共和國 
常見問題
電腦音效沒有作用。
如果耳機或是外接喇叭連接到電腦的音訊輸出插孔,則內建喇叭將會自動關閉。鍵盤沒有回應。
印表機無法正常工作。
依據您使用的電腦連接埠類型(USB或平行埠),請確認印表機傳輸線兩端是否有正確連接到電腦與印表機的連接埠。
2 請確認在「Main」選單中的「D2D Recovery」選項設定為「Enabled」。
3 退出BIOS公用程式並儲存變更。接著,系統將會自動重新啟動。
2 當 Acer 標誌出現時,請同時按下 Alt + F10 鍵,以進入回復作業程序。
3 依螢幕指示來操作系統回復工作。
服務需求
國際旅遊保固(International Travelers Warranty; ITW)
全球網際網路服務,請造訪http://global.acer.com。在您撥電話之前
故障排除
疑难排解提示
錯誤訊息
錯誤訊息 正確步驟 CMOS battery bad 請與經銷商或授權服務中心聯繫。 CMOS checksum error 請與經銷商或授權服務中心聯繫。 Disk boot failure 請將系統(開機)磁片放入軟碟機(A:)中,然後按下<Enter>來重新開機。 Equipment
configuration error 按下<F2>(於POST中)來進入BIOS公用程式;然後按下Exit來結束並重新設定電腦。 Hard disk 0 error 請與經銷商或授權服務中心聯繫。 Hard disk 0 extended
type error 請與經銷商或授權服務中心聯繫。 I/O parity error 請與經銷商或授權服務中心聯繫。 Keyboard error or no
keyboard connected 請與經銷商或授權服務中心聯繫。 Keyboard interface
error 請與經銷商或授權服務中心聯繫。 Memory size mismatch 按下<F2>(於POST中)來進入BIOS公用程式;然後按下Exit來結束並重新設定電腦。 規範和安全注意事項
FCC聲明
如需協助,請洽詢經銷商或專業的收音機/電視技術人員注意:遮蔽型電線
注意:周邊裝置
警告
數據機(僅適用於特定機型)
TBR 21
LCD 像素宣告
無線設備管控注意事項

一般
適用于歐盟國家的符合聲明
可應用的國家清單
FCC無線電頻率安全要求



3 高功率無線基地台是設定給5.25至5.35GHz及5.65至5.85GHz頻率間的使用者使用。這些無線基地台可能會導致導致對本裝置的干擾及/或損壞。
4 不正確的安裝或未經授權的使用可能對無線通訊造成有害干擾。同時任何意圖損害內建天線的行為將使 FCC認證及產品保固失效。加拿大-低功率兗驗無線通訊裝置 (RSS-210)
人體曝露於無線電頻率的範圍 (RSS-102)
LCD panel ergonomic specifications
Design viewing distance 500 mm Design inclination angle 0.0° Design azimuth angle 90.0° Viewing direction range class Class IV Screen tilt angle 85.0° Design screen illuminance • Illuminance level:
[250 + (250cosα)] lx where α = 85°
• Color: Source D65 Reflection class of LCD panel
(positive and negative polarity) • Ordinary LCD: Class I
• Protective LCD: Class III Image polarity Both Reference white: • Yn Pre-setting of luminance and
color temperature @ 6500K
(tested under BM7) • u'n
• v'n Pixel fault class Class II TravelMate 系列
有关安全和舒适性的信息
重要安全须知
清洁前请关闭本产品
断开设备时插头注意事项
可及性注意事项
原装防尘待机卡注意事项(仅限部分型号)
收听注意事项
请勿在调节耳机好后再增大音量。
请勿长时间以高音量收听音乐。
请勿增大音量来排除周围环境的噪声。
如果您听不到旁边人说话,请降低音量。警告
- 切勿将该设备置于不稳定的平台,椅子或桌面上。以免滑落而损坏。
- 电脑上的槽口用于通风目的。为确保本产品的可靠运行,不至于出现过热高温,严禁堵塞和盖住这些槽口。此外,请勿将机器置于床褥、沙发、毛毯上或其它类似地方。同时,若非有良好的通风,请将该设备远离暖炉和电热器等热源。
- 切勿将其它物品插入该设备的插槽内,以免误触电路、造成短路、引起火灾或触电。切勿泼洒任何液体到本产品上。
- 为避免对内部元件的损害和防止电池漏液,切勿将产品置于振动的表面上。
- 请勿在运动、锻炼或任何可能造成意外短路或损坏转动装置、HDD和光驱甚至锂电池组的震动环境中使用。
- 底面、通风口周围的区域以及交流电适配器可能会产生热。为避免受到伤害,请确保不要让您的皮肤或身体碰到这些区域。
- 您的设备和增强附加件可能包含小型零件,请置于小童不能拿到的地方。使用电源


产品维修
有任何问题,请洽询专业技术服务人员。
有液体浸入机身。
产品不小心掉落到地面或外壳有损伤。 
安全使用电池指南
更换电池组

光驱设备注意事项(仅限部分型号)
电话线安全性
- 避免在雷雨天使用电话线(无绳电话除外)。闪电可能会对电脑造成间接的电击危险。
使用环境

医疗设备
车辆
易爆场所
紧急电话
废弃处理指示

汞物质通报

依据中国《电子信息产品污染控制管理办法》,简称《管理办法》或《China RoHS》之规定,列出宏碁电子信息产品中可能含有的有毒或有害物质的名称及含量於以下表格中。 笔记本电脑 零部件名称 有毒有害物质或元素 铅(Pb) 汞(Hg) 镉(Cd) 六价铬(Cr+6) 多溴联苯(PBB) 多溴二苯醚(PBDE) 金属机构件 X O O O O O 塑胶机构件 O O O O O O 电路板组件* X O O O O O 显示屏 X X O O O O 鈕扣電池 O O O O O O 充電電池組件 X O O O O O 電源适配器 X O O O O O 电源线 O O O O O O 外部信号连接线 X O O O O O 风扇 X O O O O O 散热模组(金属部份) X O O O O O 储存设备 X O O O O O 扬声器 X O O O O O 键盘/鼠标(电路板组件除外) O O O O O O 付电池遥控器(电路板组件除外) O O O O O O 蓝牙声麦(VolP Phone) X O O O O O 摄像头 X O O O O O *:电路板组件包括印刷电路板及其构成的零部件,如电阻、电容、集成电路、连接器等。○:表示该有毒有害物质在该部件所有均质材料中的含量均在《电子信息产品中有毒有害物质的限量要求标准》规定的限量要求以下。×:表示该有毒有害物质至少存在於该部件的某一均质材料中,是因为目前业界还没有成熟的可替代技术,以致含量虽然超出《电子信息产品中有毒有害物质的限量要求标准》规定的限量要求;但仍然符合歐盟RoHS指令所容许的豁外条款及电池指令的要求。 能源之星

- 停止活动10和30分钟后,自动进入“显示睡眠”和“电脑睡眠”模式。
- 按下键盘或移动鼠标可将电脑从睡眠模式中唤醒。
在“睡眠”模式下,电脑将节省 80% 以上的能源。舒适使用的窍门和信息
疼痛、酸痛或触痛
疼痛、肿胀或悸动
僵硬或紧缩感
冷淡或虚弱找到舒适的区域
避免懒散地前倾和(或)后倾。
- 有规律地站起来并走动以消除腿部肌肉的紧张。
- 短暂休息一下以放松您的颈部和肩部。
- 将外接显示器、键盘和鼠标正确安装在可舒适使用的范围内
如果您看显示器多于文件,请将显示置于桌子的中央以使颈部的紧张度达到最小。保护您的视力
眼睛
定时离开显示器并看远方以让眼睛得到休息
经常眨眼以使眼睛保持湿润显示器
按以下方法消除眩目和反射:
使用窗帘、遮光罩或百叶窗
使用工作灯
更改显示器的视角
使用炫光过滤器
避免看亮光源,如打开的窗口,以延长时间。养成良好的工作习惯
做一些伸展操。
尽可能经常呼吸新鲜空气。
定时锻炼并保持身体健康。

使用入门
用户指南
2 单击“AcerSystem User Guide”。
电脑使用的基本保养和建议
启动/关闭您的电脑

保养您的电脑
请勿将电脑置于 0^ C (32°F) 以下或者 50^ C (122°F) 以上的环境当中。
请勿将电脑靠近磁场。
请勿将电脑置于雨水或潮气中。
请勿将任何液体泼洒到电脑。
请勿让电脑承受剧烈震荡或撞击。
请勿将电脑暴露于满是灰尘的环境中。
请勿将物品置于电脑上。
请勿过于用力关上显示屏盖。
请勿将电脑置于不平稳的地方。保养AC适配器
- 请避免踩踏电源线或是放置任何物品于电源线上。配置电源线时要特别小心,请将电源线置于人员踩踏不到的地方。
- 拔下电源线时,切勿拖拽,请握住电源插头将其拔下。
如果您使用延长线,所连接设备的总耗电量不可超过延长线的总负荷量。同时,同一插座上所连接的设备的总耗电量不可超过保险丝的总负荷量。保养电池组
切勿把玩电池。将电池放在远离儿童的地方。 清洁和保养
2 断开AC适配器。
3 使用沾湿的软布擦拭。切勿使用液体或喷雾清洁剂
- 电脑无法正常工作。有关安全和舒适性的信息
使用入门 xii
触摸板 1
使用键盘 3
音频 5
视频 5
使用系统设置程序 6
电源管理 8
Acer eRecovery Management 9
电池组 13
随身携带笔记本电脑 17
保护您的电脑 21
使用选项扩展性能 23
常见问题 30
疑难解答
规则及安全注意事项
触摸板
触摸板的基本操作(带指纹读取器)
使用位于触摸板边侧的左(2)右(4)键可以完成选择和执行操作。这两个键相当于普通鼠标的左键和右键。轻击触摸板与单击鼠标的左键的效果相同。
功能 左键(2) 右键(4) 触摸板(1) 中间按钮(3) 执行 快速双击。 连续点触两次(以相当于鼠标双击的速度完成)。 选择 单击。 点触一次。 拖动 单击后不放开按键,手指在触摸板上拖动光标。 连续点触两次触摸板(以相当于鼠标双击的速度完成),并在第二次点触后手指不要离开触摸板移动手指以拖动光标。 显示快捷菜单 单击。 触摸板的基本操作(带双击按钮)
- 使用位于触摸板边侧的左右键可以完成选择和执行操作。这两个键相当于普通鼠标的左键和右键。轻击触摸板与单击鼠标的左键的效果相同。功能 左键 右键 触摸板 执行 快速双击。 连续点触两次(以相当于鼠标双击的速度完成)。 选择 单击。 点触一次。 拖动 单击后不放开按键,手指在触摸板上拖动光标。 连续点触两次触摸板(以相当于鼠标双击的速度完成),并在第二次点触后手指不要离开触摸板移动手指以拖动光标。 显示快捷菜单 单击。 


使用键盘
锁定键和嵌入式数字键盘*
锁定键 说明 Caps Lock 当 Caps Lock 键锁定时,所有键入的字符都是大写的。 Num Lock+Fn> + <F11>* 当 Num Lock 键锁定时,嵌入式数字键盘将处于数字模式。所有按键均等同于计算器按键功能(包括 +、-、*、/算术运算符)。如果要输入大量数字信息,这种模式将十分适合您。若能连接外部键盘则更佳。 Scroll Lock+Fn> + <F12> 当 Scroll Lock 键锁定时,您可分别按向上或向下键,屏幕即向上或向下移动一行。Scroll Lock 键可能在某些应用程序中不起作用。 键盘操作 Num Lock 键锁定 Num Lock 键关闭 嵌入式数字键盘的数字键 以正常方式键入数字。 嵌入式数字键盘的光标控 制键 使用光标控制键时按住 Shift>键。 使用光标控制键时按住 <Fn>键。 主键盘键 按住 <Fn>键的同时按下 嵌入式数字键盘上的字符。 以正常方式键入字符。
Windows键
按键 说明 Windows键 单独按下这个键,与单击Windows开始按钮效果一样,可以启动“开始”菜单。与该按键组合可以执行快捷功能,例如:< >:打开或关闭开始菜单< >:+ <D>:显示桌面< >:+ <E>:打开Windows资源管理器< >:+ <F>:搜索文件或文件夹< >:+ <G>:依次选择Sidebar gadgets(边栏小工具)< >:+ <L>:锁定电脑(如果已连接到网络域)或切换用户(如果未连接到网络域)< >:+ <M>:最小化全部窗口< >:+ <R>:打开“运行”对话框< >:+ <T>:依次选择任务栏上的程序< >:+ <U>:打开Ease of Access Center< >:+ <X>:打开Windows Mobility Center< >:+ <Break>:显示System Properties(系统属性)对话框< >:+ <Shift+M>:将最小化窗口恢复到桌面< >:+ <Tab→:使用Windows Flip 3-D依次选择任务栏上的程序< >:+ <空格键>:将所有小工具调到前面并选择Windows Sidebar(Windows 边栏)< Ctrl> + < > + <F>:搜索电脑(如果您在网络中)< Ctrl> + < > + <Tab→:通过箭头键使用Windows Flip 3-D依次选择任务栏上的程序注:在不同版本的Windows中,部分快捷方式可能无法使用。 应用程序键 打开应用程序的快捷菜单(等同于单击鼠标右键)。 音频
AcerPureZone(仅限部分型号)

视频
16:9 显示(仅限部分型号)
使用系统设置程序
Acer Bio-Protection(仅限部分型号)

Acer Backup Manager

2 选择要保存备份的位置。您需要选择外部驱动器或D:盘;Acer Backup Manager无法将备份存储在源驱动器上。
3 选择要 Acer Backup Manager 创建备份的频率。
电源管理
Acer PowerSmart 键

Acer eRecovery Management

1 备份
创建驱动程序和应用程序光盘2 恢复
- 恢复操作系统并保留用户数据
- 重新安装驱动程序或应用程序

刻录备份光盘
2 Acer eRecovery Management 打开至“备份”页面。
4 依屏幕上指导完成程序。
恢复
2 单击“恢复”可切换到“恢复”页面。
4 依屏幕上指导完成程序。从备份光盘恢复 Windows

2 启动过程中,当出现 Acer 标志时,按 F2 键进入 BIOS 设置,可在其中设置系统参数。
3 使用左右箭头键选择主子菜单。
4 使用上下箭头键选择F12启动菜单。
5 使用F5或F6键将F12启动菜单改为启用。
6 按 ESC 键进入退出子菜单,按 ENTER 键退出并保存修改。再次按 ENTER 键选择是。系统将重启。
7 重启后,当出现 Acer 标志时,按 F12 键打开启动菜单。您可选择启动设备。
8 使用箭头键选择IDE1*,然后按ENTER键。将从恢复光盘安装Windows。
9 出现提示时,插入第二张恢复光盘,然后按照屏幕提示完成恢复。
10 恢复完成后,从光驱中取出恢复光盘。重启计算机前先进行此操作。
2 启动过程中,当出现 Acer 标志时,按 F2 键进入 BIOS 设置,可在其中设置系统参数。
3 使用左右箭头键选择启动子菜单。
4 使用上下箭头键选择IDE1设备。
5 使用F6键将IDE1设备移至启动顺序的第一位,或使用F5键将其他设备移至启动顺序的较后位置。确保IDE1*设备排在启动顺序的第一位。
6 按 ESC 键进入退出子菜单,按 ENTER 键退出并保存修改。再次按 ENTER 键选择是。系统将重启。
7 重启时,将从恢复光盘安装Windows。
8 出现提示时,插入第二张恢复光盘,然后按照屏幕提示完成恢复。
9 恢复完成后,从光驱中取出恢复光盘。重启计算机前先进行此操作。电池组
电池组特点
具有电量不足警告功能。最大限度延长电池的寿命
精调新电池组状态
2 连接AC适配器并对电池完全充电。
3 断开AC适配器适配器。
4 打开电脑,使用电池电源运行。
5 完全放电,直到出现电量不足警告。
6 重新连接AC适配器并再次对电池完全充电。
没有如上所述完全放电和充电。 安装和卸下电池组

安装电池组:
2 将电池推入电池槽,轻轻推直至电池锁定到位。卸下电池组:
2 从电池槽中取出电池。给电池充电

检查电池电量
优化电池寿命
- 只要可能就使用交流电,留着电池在路上时使用。
- 如果未使用PC卡,请将其退出,因为它会耗电。
- 将电池存放在凉爽、干燥的地方。建议的温度为 10^ C (50°F) 到 30^ C (86°F)。温度较高会使电池自放电过程加快。
- 过分充电会缩短电池的寿命。
- 监视 AC 适配器和电池情况。请参阅 “AC 适配器保养” 和 “电池组保养”。电量不足警告

情况 建议的操作 备有 AC 适配器和电源插座。 1. 将适配器接插到电脑,然后连接到主电源。
2. 保存所有需要的文件。
3. 继续工作。
如果您想快速充电,请关闭电脑。 备有另外一个完全充电的电池。 1. 保存所有需要的文件。
2. 关闭所有应用程序。
3. 关闭操作系统以关闭电脑。
4. 换上电池组。
5. 打开电脑,继续工作。 没有 AC 适配器和电源插座。您没有备用电池组。 1. 保存所有需要的文件。
2. 关闭所有应用程序。
3. 关闭操作系统以关闭电脑。 随身携带笔记本电脑
断开笔记本电脑与桌面设备的连接
2 取出驱动器中的任何媒体、软盘或光盘。
3 关闭电脑。
4 关上显示屏盖。
5 断开AC适配器电源线与电脑的连接。
6 断开键盘、指取设备、打印机、外部显示器及其它外设的连接。
7 如果您正在使用Kensington电脑安全锁,请将其断开。携带笔记本电脑
准备作业

出席会议需携带的物品
携带电脑回家
准备作业
请把笔记本电脑放入保护盒套中,以防止滑落或在滑落时防止撞击。
携带物品
快速指南特别注意事项
如果您有一段时间不使用,也不能随身携带笔记本电脑,您可以将笔记本电脑放在后车厢内以避免造成笔记本电脑过热。 布置您的家庭办公室
携带笔记本电脑旅行
准备作业
携带物品
- 电量充足的备用电池组
如果您打算使用其它打印机请准备该打印机的驱动程序特别注意事项
如果可能,请人工手动检查电脑。机场安检的X射线机是安全的,不过还是建议您不要让电脑通过金属探测仪的检查。
避免将软盘暴露在金属探测仪下。携带笔记本电脑进行国际旅行
准备作业
携带物品
适合在您前往国家使用的电源线
- 电量充足的备用电池组
如果您打算使用其它打印机请准备该打印机的驱动程序
购买凭证,以备海关检查
国际旅游保证护照(ITW护照)特别注意事项
如果您要使用调制解调器,请检查调制解调器和连接设备是否和您所在国的电信系统兼容。保护您的电脑
使用电脑安全锁
使用密码

输入密码

设置密码
使用选项扩展性能
连接选项
传真/数据调制解调器(仅限部分型号)



内置网络特性

通用串行总线(USB)

IEEE1394端口(仅限部分型号)

高清晰度多媒体接口 (HDMI)(仅限部分型号)
HDMI能够通过一根信号线,在任何兼容数字音频/视频源(如机顶盒、DVD播放机和A/V接收器)和兼容数字音频和/或视频显示器(如数字电视(DTV))之间提供一个接口。
ExpressCard(仅限部分型号)

插入ExpressCard

退出ExpressCard
2 击任务栏上的移去硬件图标并停止此卡的工作。
3 将卡轻轻推入插槽并释放以弹出卡。然后将卡拉出插槽安装内存条
2 取下内存盖上的螺丝,然后掀起内存盖,并取下内存盖。
3 先将内存条的一头插入插槽(a),然后轻轻按下整条内存使其卡入正确的位置(b)。
5 装上电池组,重新连接AC适配器。
6 重新开机。BIOS实用程序
启动顺序
启用 disk-to-disk recovery
密码
使用软件


区域代码 国家或者地区 1 美国,加拿大 2 欧洲,中东,南非,日本 3 东南亚,台湾,南韩 4 拉丁美洲,澳大利亚,新西兰 5 前苏联地区,非洲部分,印度 6 中华人民共和国 
常见问题
请确保AC适配器已经正确连接到电脑和电源插座
屏幕上什么也没有。
电脑没有声音。
请确认打印机连接线已安全连接到电脑的并行端口或USB端口以及打印机上的相应端口。
2 确认“Main”菜单中的“D2DRecovery”设置为“Enabled”。
3 退出BIOS实用程序并保存更改。系统将重启

2 当Acer标志显示时,按下 Alt + F10 开始运行恢复程序。
3 参照屏幕说明执行系统恢复。
服务查询
国际旅游保证(InternationalTravelersWarranty;ITW)
致电之前
疑难解答
疑难解答提示
错误信息
错误信息 解决办法 CMOS battery bad 请与经销商或授权服务中心联系。 CMOS checksum error 请与经销商或授权服务中心联系。 Disk boot failure 请将系统(引导)软盘插入软驱(A:)中,然后按下<Enter>来重新开机。 Equipment configuration error 按下<F2>(于POST中)来进入BIOS实用程序:然后按Exit退出并重新配置电脑。 Hard disk 0 error 请与经销商或授权服务中心联系。 Hard disk 0 extended type error 请与经销商或授权服务中心联系。 I/O parity error 请与经销商或授权服务中心联系。 Keyboard error or no keyboard connected 请与经销商或授权服务中心联系。 Keyboard interface error 请与经销商或授权服务中心联系。 Memory size mismatch 按下<F2>(于POST中)来进入BIOS实用程序:然后按Exit退出并重新配置电脑。 规则及安全注意事项
FCC声明
- 增大该设备与接收器之间的距离
对该设备的电源与接收器的电源使用不同的回路
咨询经销商或有经验的无线电/电视技术人员请求帮助注:屏蔽线路
注:外围设备
警告
调制解调器声明(仅限部分型号)
TBR 21
LCD 象素声明
无线设备规则公告

总则
符合欧盟国家声明
适用国家列表
FCC RF 安全要求



3 高能量无线基站被配置为5.25至 5.35GHz 及5.65至 5.85GHz 频带之间的主要用户。这些无线基站会导致对本设备的干扰及/或损坏。
4 不正确的安装或未经授权的使用可能对无线通信造成有害干扰。而且内置天线的任何干扰将失去FCC的认证和您的使用授权。加拿大-低功率免许可证无线电通信设备(RSS-210)
对RF区域的人体暴露(RSS-102)
LCD panel ergonomic specifications
Design viewing distance 500 mm Design inclination angle 0.0° Design azimuth angle 90.0° Viewing direction range class Class IV Screen tilt angle 85.0° Design screen illuminance • Illuminance level:
[250 + (250cosα)] lx where α = 85°
• Color: Source D65 Reflection class of LCD panel
(positive and negative polarity) • Ordinary LCD: Class I
• Protective LCD: Class III Image polarity Both Reference white: • Yn Pre-setting of luminance and color temperature @ 6500K
(tested under BM7) • u'n
• v'n Pixel fault class Class II Seri TravelMate
Informasi untuk keselamatan dan kenyamanan Anda
Petunjuk keselamatan
Mematikan Produk sebelum membersihkanya
HATI-HATIaatmelepaskankonektordariperangkat
PERHATIAN tantal Aktesibilitas
PERHATIAN bidi yang disertai kartu tiruan (hanya untuk model-model tertentu)
PERHATIAN tantalng Pendengaran
Jangan perbesar lagi volume sua jika telinga Anda telah terbiasa.
Jangan perbesar volume suara untuk mengatasi kebisingan sekitar. Peringatan
- Jangan letakkan Produk ini di tempat, dadukan, kepada meja yang tidak stabil. Jika terjatuh,produk dapat mengalami kerusakan parah.
- Slot dan rongga tersedia sebagai ventilasi untuk menjamin keandalan pengoperasian dan melindungi Produk dariapanas yang berlebihan. Rongga tersebut tidak boleh tertutup kepada terhalang. Rongga tidak boleh terhalang dengan meletakkan Produk ini di atas kasur, sofa, matras, atau permukaan lainnya yang sejenis. Produk ini tidak boleh diletakkan di dekat kepada di atas radiator maupun sumber panas, kepada instalasi terpasang, kecuali jika terdapat ventilasi yang memadai.
- Jangan masukkan benda apapun ke dalam Produk ini melalui slot cabinet karena dapat menyentuh titik tegangan berbahaya kepada.myebabkan hubungan arus pendek yang akan menimbulkan kebakaran kepada sengatan arus listrik. Jangan tumpahkan cairan apapun pada kepada ke dalamproduk.
- Untuk menghindari kerusakan komponen internal dan mencegah kebocoran baterai, jangan letakkan Produk ini di atas permukaan yang bergetar.
- Jangan gunakan Produk ini di area yang menimbulkan guncangan, hentakan, atau getaran, karena dapat说我debabkan hubungan singkat atau kerusakan perangkat rotor, HDD, Drive optik, bahkan Bahayakontak luar dari unit baterai lithium.
- Permukaan bagian bawah, daerah di sekitarlah ventilasi dan adaptor AC mungkin menjadi panas. Guna kepada cedera, pastikan kulit ata tubuh Anda jangan sampai tersentuh bagian tersebut.
- Perangkat ini beserta perangkat tambahannya mungkin dilengkapi dengan menjadi komponen kecil. Jauhkan dari jangkauan anak-anak.Menggunakan daya listrik
Adaptor AC produit ini dilengkapi konektor ground tiga kabel. Konektor haya boleh dipasang ke stopkontak yang telah di-ground. Pastikan stopkontak telah di-ground dengan benar sebelum memasang konektor adaptor AC. Jangan pasang konektor ke stopkontak yang tidak di-ground. Untuk informasi rinci, hubungi teknisi listrik Anda.

Perbaikan Produk
produk terkena cairan
produk terkena hujan atau air 
Panduan untuk menc gunakan baterai dengan aman
Mengganti unit baterai

Perhatian bidi Perangkat Drive Optik (hanya untuk model-model tertentu)
Keamanan kabel telepon

Lingkungan pengoperasian

Peralatan medis
Jangan dekatkan perangkat dengan alat pacu jantung bila perangkat dihidupkan. Jika terjadi interferensi, nonaktfikan perangkat, lalu jauhkan.Kendaraan
Lingkungan rawan ledakan
Panggilan darurat
Petunjuk pembuangan

Informasi tentang merkuri

ENERGY STAR

ENERGY STAR
Secara otomatis masuk ke mode "layar tidur" dan "komputer tidur" masing-masing setelah tidak aktif selama 10 dan 30 menit. Tips dan informasi untuk kenyamanan penggunaan
sakit, pegal, atau linu
- nyeri,;bengkak,atau sakit berdenyut
- kaku atau tegang
- menggigil atau lemasMengetahui tingkat kenyamanan Anda
Menjaga penglihatan Anda
XII
Mata
Layar
- Posisikan kepada Anda lebih tinggi dari sisi atas layar, sehingga pandangan mata Anda mengarah ke bawah saat menatap bagian tengah layar.
- Atur kecerahan dan/atau kontras layar ke tingkat yang nyaman agar teks lebih mudah dibaca dan gambar lebih tajam.
- Hindari silau dan pantulan dengan cara:
- mengurangi cahaya ruangan mencgunakan gorden, tirai, atas kerai
- seksional
- aktivierung von 1000 kVA
- eingunganakan lampu baca
- mengubah sudut pandang ke layar
- [{engunakan penyaring anti silau}
- téléphone penutup layar, misalnya potongan karton yang dileetakkan di sisi depan atas layar
Membiasakan perilaku kerja yang baik
Lakukan bereits gerakan peregangan. 

Informasi penting
Panduan Anda
2 Klik Buku Petunjuk AcerSystem (AcerSystem User Guide).
Pemeliharaan dan tips dasar penggunaan komputer
Menghidupkan dan mematikan komputer
Gunakan tombol daya
Memelihara komputer
Jangan letakkan komputer di tempat berdebu atau kotor.
Jangan tempatkan benda di atas komputer.
Jangan letakkan komputer di atas permukaan yang tidak rata.Memelihara adaptor AC
- Jangan injak kabel daya kepada jangan letakkan benda berat di atasnya. Buat alur kabel daya dan kabel apapun dengan hari-hati dan jauhkan dari tempat yang dapat terinjak.
Bila melepaskan kabel daya, jangan tarik kabel, namun tarik konektornya.
- Nilai ampere total pada peralatan yang dipasang tidak boleh melebihi nilai ampere kabel jika Anda menc gunakan kabel ekstensi. Nilai arus total pada semua peralatan yang dipasang ke tahun stopkontak juga tidak boleh melebihi nilai sekering.Memeliharat unit baterai
Jangan rusak baterai. Jauhkan dari jangkauan anak-anak. Membersihkan dan memperbaiki
2 Lepaskan sambungan adaptor AC.
3 Gunakan kain lembut yang lembab. Jangan gunakan pembersih cair ataa aerosol.
Informasi untuk keselamatan dan kenyamanan Anda
Informasi penting
Panel sentuh
Menggunakan keyboard
Audio
Video
Menggunakan utilitasystem
Manajemen daya
Acer eRecovery Management
Unit baterai
Memasang dan melepaskan unit baterai 15
Mengisi daya baterai 16
Memeriksa tingkat daya baterai 16
Mengoptimalkan masapakai baterai 16
Peringatan baterai hampir habis 17Membawa serta PC notebook Anda 18
Berpindah tempat 18
Persiapan untuk pertemuan 19
Perlengkapan yang perlu dibawa serta 19
Pertimbangan khusus 20
Mempersiapkan rumah kantor 20
Perlengkapan yang perlu dibawa seda 20
Pertimbangan khusus 21
Perlengkapan yang perlu dibawa seda 21
Pertimbangan khusus 21Mengamankan komputer 22
Menggunakan sandi 22
Mengatur sandi 23Berekspansi melalui pilihan 24
Fitur jaringan terpasang 25
USB (Universal Serial Bus) 25
Port IEEE 1394 (hanya untuk model-model tertentu) 26
ExpressCard (hanya untuk model-model tertentu) 27
Memasangmemori 28
Aktifkan pemulihan setiap disk 29
Sandi 29Tanya jawab 31
Mengatasi masalah 35
Informasi peraturan dan keselamatan 36
Panel sentuh
Dasar-dasar panel sentuh (dengan pembaca sidik jari)
- Tekan tambol kiri (2) dan kanan (4) yang terdapat di bawah panel sentuh untuk memilih dan menjalankan fungsi. Kedua tambol tersebut serupa dengan tambol kiri dan kanan pada mouse. Menekan panel sentuh sama speertiCCCCCC kiri.
Fungsi Tombol kiri (2) Tombolkanan (4) Panel sentuh utama (1) Tombol toughness (3) Menjalankan Klikdia kali dengan cepat. Tekan dia rumah (pada kecepatan yang sama).[seperti kepada orang lain]kali pada tambol mouse). Memilih Klik sekali. Tekan sekali. Menarik Klik terus, kemudian gunakan jari pada panel sentuh untuk menarik;kursor. Tekan dia rumah (pada kecepatan yang sama).[seperti kepada orang lain]kali pada tambol mouse); letakkan jari Anda pada panel sentuh sama penekanan kedua, kemudian tarik;kursor. Mengakses menu konteks Klik sekali. Dasar-dasar panel sentuh (dengan tambol klik duala kali)
- Tekan tambol kiri dan kanan yang terdapat di bawah panel sentuh untuk memilih dan menjalankan fungsi. Kedua tambol tersebut serupa dengan tambol kiri dan kanan pada mouse. Menekan panel sentuh samasepertiCCCCCCklik tambol kiri.Fungsi Tombol kiri Tombol kanan Panel sentuh utama Menjalankan Klik Duala kali dengan cepat. Tekan Duala kali (pada kecepatan yang samasepertiCCCCCCduala kali pada tambol mouse). Memilih Klik sekali. Tekan sekali. Menarik Klik terus, kemudian gunakan jari pada panel sentuh untuk menarik kursor. Tekan Duala kali (pada kecepatan yang samasepertiCCCCCCduala kali pada tambol mouse);letakkan jari Anda pada panel sentuh saat penekanan kedua, kemudian tarik kursor. Mengaksi menu konteks Klik sekali. 


Menggunakan keyboard
Tombol kunci dan tambol numerik tertanam*
Tombol kunci Keterangan Caps Lock Bila Caps Lock diaktifkan, semua kakter abjad yang diketik telah dalam huruf tersebut. Num Lock+Fn> + <F11>* Bila Num Lock diaktifkan, keypad tertanam berada dalam mode numerik. Tombol tersebut berfungsi sebagai kalkulator (lengkap dengan fungsi penghitungan aritmetika +/-, *, dan /). Gunakan mode ini bila Anda harus menjadi entri data numerik. Solusi yang lebih baik adalah menghubungkan keypad eksternal. Scroll Lock+Fn> + <F12> Bila Scroll Lock diaktifkan, layar akan bergerak tahun baris ke atas dan bawah saat menekan tombol tanda panah atas untuk bawah. Scroll Lock tidak berfungsi pada aplikasi tertentu. Akeses yang dikehendaki Num Lock aktif Num Lock tidak aktif Tombol pengunta keypad tertanam Ketik penguntaseperti biasa. Tombol kontrol kursor pada keypad tertanam Tekan terus tambol <Shift>sewaktu mencarbonkan tambol kontrol kursor. Tekan terus tambol <Fn>sewaktu mencarbonkan tambol kontrol kursor. Tombol keyboard utama Tekan terus tambol <Fn>sewaktu mengetik huruf pada keypad tertanam. Ketik hurufseperti biasa. Tombol Windows
Tombol Keterangan Tombol Windows Jika ditekan, fungsi tambol ini samaseperti meldkit tombol Start di Windows,yakni menampilkan menu Start.Tombol ini juga dapat digunakan dengan tambol lain untukmenjalankan berbagai fungsi seperi:<=>: Membuka kepada menutup menu Start<=>+ <D>: Menampilkan desktop<=>+ <E>: Membuka Windows Explorer<=>+ <F>: Mencari file kepada folder<=>+ <G>: Beralih di antara gadget Sidebar<=>+ <L>: Mengunci komputer (jika Anda terhubung kedomain jaringan), oleh meningganti pengguna (jika Anda tidalterhubung ke domain jaringan)<=>+ <M>: Miminimalkan semua jendela<=>+ <R>: Membuka kotak dialog Run<=>+ <T>: Beralih di antara program pada baris tugas<=>+ <U>: Membuka Ease of Access Center<=>+ <X>: Membuka Windows Mobility Center<=>+ <BREAK>: Menampilkan tersebut dialog SystemProperties<=>+ <SHIFT+M>: Mengembalikan jendlada yang diferkecilke desktop<=>+ <TAB>: Beralah di antara program pada baris tugamenggunakan Windows Flip 3-D<=>+ <SPACEBAR>: Menampilkan semua gadget danmemilitih Windows Sidebar<CTRL>+<=>+ <F>: Mencari komputer (jika Anda terhubungke jaringan)<CTRL>+<=>+ <TAB>: Mengmunakan tambol tandapanahuntuk beralih di antara program pada baris tugas menggunakanWindows Flip 3-DCatatan: Tergantung pada edisi Windows Anda,beberapa cara pintas masyarakattidak berfungiisperti yang dijelaskan. Tombol applikasi Fungsi tambol ini samaseperti meldkitkanan tombol mouse,yakni mengbuka menu konteks applikasi. Audio
Acer PureZone (hanya untuk model-model tertentu)

Video
Tampilan 16:9 (hanya untuk model-model tertentu)
Menggunakan utilitasystem
Acer Bio-Protection (hanya untuk model-model tertentu)

Acer Backup Manager

2 Pilih tempat penyimpanan untuk salinan cadangan tersebut. Anda perlu memilih drive eksternal oleh drive D: Acer Backup Manager tidak dapat mencapitulan cadangan pada drive sumber.
3 Pilih%C>berapa sering Anda ingin Acer Backup Manager,membuat cadangan.
Manajemen daya
Tombol Acer PowerSmart

Tombol Acer PowerSmart mengungakan fitur hemat daya sub-sistem grafis
komputer Anda untuk mengurangi konsumsi daya secara keseluruhan.
Ketika Anda menekan tambol Acer PowerSmart, makacecerahan layar akan
berkurang dan chip grafis dialihkan ke kecepatan yang lebih rendah; PCI dan
WLAN beralih ke mode hemat daya. Tekan tambol Acer PowerSmart lagi untuk
kembali ke setelan Anda sebelumnya.Acer eRecovery Management

- Puluikan Sistem Pengoperasian dan Pertahankan Data Pengguna
- Instal ulang Driver atau Aplikasi

Bakar cakram cadangan
2 Acer eRecovery Management membruka halaman Cadangan.
4 Ikuti petunjuk pada layar untuk menyelesaikan proses tersebut.
Kembalkan
2 Alihkan ke halaman Pulihkan denganCCCCCC Puhikan.
4 Ikuti petunjuk pada layar untuk menyelesaikan proses tersebut.Memulihkan Windows dari cakram cadangan

2 Selama pengawalan, pada saat logo Acer muncul, tekan tambol F2 untuk memasukkan Pengaturan BIOS, di mana Anda bisa menetapkan parameter systemd.
3 Gunakan tambol panah kanan dan kiri untuk memilih submenu Utama.
4 Gunakan tambol panah naik dan turun untuk memilih F12 Menu Boot.
5 Gunakan tambol F5 atau F6 untukCCCCCCF12 Menu Boot ke Diaktifkan.
6 Tekan tambol ESC untuk masuk ke submenu Keluar,Tekan tambol ENTER untuk Keluar Dengan Menyimpan Perubahan. Tekan tambol ENTER luiq untuk memilih Ya. Sistem akan makukan boot ulang.
7 Setelah boot ulang, pada saat logo Acer muncul, tekan tambol F12 untuk membuka Menu Boot. Di sini Anda bisa memilih dari per orangkat apa dilakukan boot ulang.
8 Gunakan tambol-tombol panah untuk memilih IDE1*, kemudian tekan tambol ENTER. Windows akan diinstal dari cakram pemulihan.
9 Masukkan cakram pemulihan kedua saat diminta, kimudian ikuti prom pada layar untuk menyelesaikan pemulihan.
10 Keluarkan cakram pemulihan dari drive optik setelah pemulihan sebelum. Lakukan hal ini sebelum mem-booT ulang komputer Anda.
2 Selama pengawalan, pada saat logo Acer muncul, tekan tambol F2 untuk masuk ke Pengaturan BIOS, di mana AndaISA mengatur parameter systemd.
3 Gunakan tambol panah kanan dan kiri untuk memilih submenu Boot.
4 Gunakan tambol panah naik dan turun untuk memilih perangkat IDE1.
5 Gunakan tambol F6 untuk menggerakkan perangkat IDE1 ke perangkat boot tertinggi, atas gunakan tambol F5 untuk menggerakkan perangkat-perangkat lainnya ke prioritas boot yang lebih rendah. Pastikan Bahwa perangkat IDE1* adalah prioritas tertinggi.
6 Tekan tambol ESC untuk masuk ke submenu Keluar,Tekan tambol ENTER untuk Keluar Dengan Menyimpan Perubahan. Tekan tambol ENTER lui untuk memilih Ya. Sistem akan makukutan boot ulang.
7 Ketika Anda seksukan boot ulang, Windows akan diinstal dari cakram pemulihan.
8 Masukkan cakram pemulihan kedua saat diminta, kimudian ikuti prom pada layar untuk menyelesaikan pemulihan.
9 Keluarkan cakram pemulihan dari drive optik setelah pemulihan sebelum. Lakukan hal ini sebelum mem-booT ulang komputer Anda.Unit baterai
Karakteristik unit baterai
Memberikan peringatan baterai hampir habis.Memaksimalkan masa pakai baterai
Mempersiapkan unit bateraibaru
2 Sambungkan adaptor AC, lalu isi penuh daya baterai.
3 Lepaskan sambungan adaptor AC.
4 Hidupkan komputer, lalu operasikan komputer.metrongunakan daya baterai.
5 Habiskan daya bateraiHINGga peringatan baterai hampir habis muncul di layar.
6 Sambungkan kembali adaptor AC, lalu isi penuh daya baterai.
Memasang dan melepaskan unit baterai

2 Dorong baterai ke dalam tempatnya, lalu dorong secara perlahan tingga baterai terkunci dengan benar.
2 Tarik baterai dari tempatnya.Mengisi daya baterai

Memeriksa tingkat daya baterai
Mengoptimalkan masa pakai baterai
Peringatan baterai hampir habis

Kondisi Tindakan yang disarankan Tersedia adaptor AC dan catu daya. 1. Pasang adaptor AC ke komputer, lalu sambungkan ke stopkontak.
2. Simpan seksua file yang diperlukan.
3. Lanjutkan=tugas Anda.
Matikan komputer jika Anda ingin menjadi umlang daya baterai dengan cepat. Tersedia unit baterai tambahan yang terisi PENuh daya. 1. Simpan seksua file yang diperlukan.
2. Tutup seksua aplikasi.
3. Matikansystem operasi untuk mematikan komputer.
4. Ganti unit baterai.
5. Hidupkan komputer, kemudian lanjutkan=tugas Anda. Tidak tersedia adaptor AC dan catu daya. Anda tidak memiliki unit baterai cadangan. 1. Simpan seksua file yang diperlukan.
2. Tutup seksua aplikasi.
3. Matikansystem operasi untuk mematikan komputer. Membawa serta PC notebook Anda
Mengakhiri sambungan dari desktop
2 Lepaskan media, disk floppy, atau compact disc dari drive.
3 Matikan computer.
4 Tutup penutup layar.
5 Lepaskan kabel dari adaptor AC.
6 Lepaskan keyboard, perangkat penunjuk, printer, monitor eksternal, dan perangkat eksternal lainnya.
7 Lepaskan kunci Kensington jika Andaffectiveungakannya untuk mengamarkan komputer.Berpindah tempat
Mempersiapkan komputer

Persiapan untuk pertemuan
Membawa pulang komputer
Mempersiapkan komputer

Perlengkapan yang perlu dibawa{serta
Buku Panduan cepatPertimbangan khusus
Mempersiapkan rumah kantor
Beergian dengan membraca komputer
Mempersiapkan komputer
Perlengkapan yang perlu dibawa seda
Unit baterai cadangan yang terisi;penuh
- File driver printer tambahan jika Anda akan seksungakan printer lainPertimbangan khusus
- Jika perlu, lakukan pemeriksaan komputer oleh petugas. Mesin sinar-X keamanan bandara@cukup aman, namun jangan bawa komputer melewati detektor logam.
- Hindari pemaparan floppy disk pada detektor logam genggam.Bepergian ke luar negeri dengan membrawa komputer
Mempersiapkan komputer
Perlengkapan yang perlu dibawa seda
Kabel daya yang sesuai dengan negara tujuan
Unit baterai cadangan yang terisi摄入
- File driver printer tambahan jika Anda akan menc gunakan printer lain
Bukti pembelian, untokeplerluan pemeriksaaon oleh petugas beacekai
- Paspor International Travelers WarrantyPertimbangan khusus
Mengamankan komputer
Menggunakan kunci keamanan komputer
Menggunakan sandi

Memasukkan sandi

Mengatur sandi
Berekspansi melalui pilihan
Pilihan konektivitas
Modem faks/data (hanya untuk model-model tertentu)



Fitur jaringan terpasang

USB (Universal Serial Bus)

Port IEEE 1394 (hanya untuk model-model tertentu)

Antarmuka Multimedia Definisı Tinggi (hanya untuk model-model tertentu)

ExpressCard (hanya untuk model-model tertentu)

MemasangExpressCard

Mengeluarkan ExpressCard
2 Klik kiri ikon lepaskan perangkat keras pada baris tugas, kimudian hentikan penggunaan kartu.
3 Tekan kartu perilahan ke arah slot, kimudian lepaskan untuk mengeluarkan kartu. Lalu tarik kartu keluar dari slot.Memasangmemori
2 Lepaskan sekrup dari penutup memori, kemudian angkat dan lepaskan penutup memori tersebut.
3 (a) Masukkan modul memori ke slot secara diagonal, lalu (b) tekan perlahan tingga terpasang dengan benar.
5 Pasang kembali unit baterai, kemudian sambungkan ke adaptor AC.
6 Hidupkan computer.Utilitas BIOS
Urutan boot
Aktifkan pemulihan setup disk
Sandi
Menggunakan perangkat lunak
Memutar film DVD


Kode kawasan Negara atau kawasan 1 Amerika Serikat, Kanada 2 Eropa, Timur Tengah, Afrika Selatan, Jepang 3 Asia Tenggara, Taiwan, Korea Selatan 4 Amerika Latin, Australia, Selandia Baru 5 Sebelumnya Uni Soviet, sebagian benua Afrika, India 6 Republik Rakyat China 
Tanya jawab
Tidak terdengar suara dari komputer.
Saya ingin melepas tempat drive optik tanpa menghidupkan komputer.
Keyboard tidy merespons.
Printer,IDAK Berfungsi.
- Pastikan kabel printer telah terpasang dengan benar ke port paralel computer kepada port USB dan port yang seksuai pada printer.
2 Pastikan pengaturan D2D Recovery [Pemulihan Setiap Disk] dalam Main [Utama] diatur ke Enabled [Aktif].
3 Akhiri utilitas BIOS, kimudian simpan perubahan. Sistem akan menjalankan boot ulang.
2 Sewaktu logo Acer ditampilkan, tekan
3 Untuk menjalankan pemulihan system, lihat petunjuk pada layar.
Meminta servis
ITW (International Travelers Warranty)
Persiapan sebelum menghubungi
Mengatasi masalah
Tips seksutasi masalah
Pesan kesalahan
Pesan kesalahan Tindakan perbaikan Baterai CMOS rusak Hubungi dealer Anda atas pusat layanan resmi. Kesalahan pemeriksaan CMOS Hubungi dealer Anda atas pusat layanan resmi. Kegagalan boot disk Masukkan diskystem (yang dapat di-boot) ke drive floppy (A:), lalu tekan <Enter> untuk menjalankan boot ulang. Kesalahan konfigurasi peralatan Tekan <F2> (sewaktu POST) untuk aktivuitas BIOS, lalu tekan Exit dalam aktivitas BIOS untuk menjalankan boot ulang. Kesalahan hard disk 0 Hubungi dealer Anda atas pusat layanan resmi. Kesalahan hard disk 0jisensambahan Hubungi dealer Anda atas pusat layanan resmi. Kesalahan keseimbangan I/O Hubungi dealer Anda atas pusat layanan resmi. Kesalahan keyboard atas keyboard tidak tersambung Hubungi dealer Anda atas pusat layanan resmi. Kesalahan antarmuka keyboard Hubungi dealer Anda atas pusat layanan resmi. Ketidaksesuaian ukuran memori Tekan <F2> (sewaktu POST) untuk aktivuka aktivas BIOS, lalu tekan Exit dalam aktivas BIOS untuk menjalankan boot ulang. Informasi peraturan dan keselamatan
Pernyataan FCC
Jauhkan jarak antara perangkat dengan antenna tenerima. Catatan: Kabel berpelindung
Catatan: Perangkat periferal
Perhatian
Catatan: Pengguna di Kanada
Remarque à l'intention des utilisateurs canadiens
Kesesuaian dengan sertifikasi peraturan di Rusia

ME61Informasi modem (hanya untuk model-model tertentu)
Informasi untuk Amerika Serikat

TBR 21
Informasi untuk Australia
Informasi untuk Selandia Baru
2 Peralatan ini tidak memiliki kemampuan untuk beroperasi dengan benar dalam semua kondisi pengoperasian pada kecepatan yang lebih tinggi dari yang ditetapkan. Telecom tidak akan bertanggung jawab jika terjadi masalah dalam kondisi tersebut.
3 Beberapa parameter yang diperlukan untuk kesesuaian dengan persyaratan Telepermit Telecom, tergantung pada peralanat (PC) yangkekuit dengan perangkat ini. Peralatan yangkekait harus diatur agar beroperasi dalam standar yang seksuai dengan Spesifikasi Telecom sebagai berikut:
b Peralatan harus terpasang selama jangka waku kurang dari 30 detik antara akhir situ upaya panggilan dengan awal upaya panggilan berikutnya.
5 Peralatan ini tidak boleh diatur untuk membuat penggilan otomatis ke Layanan Darurat Telecom 111.
6 Perangkat ini dilengkapi tombol putar, sedangan standar Telecom dilengkapi tombol tekan DTMF. Tidak ada jaminan bahwa sambungan Telecom akan selelu mendukung tombol putar.
7 Penggunaan tambol tekan saat peralatan ini terhubung ke jalur yang sama dengan peralatan lain, dapat menimbulkan suara bel atau bising dan menyebabkan kondisi kesalahan menjawab. Jika masalah tersebut terjadi, sebaiknya pengguna TIDAK menghubungi Layanan Kesalahan telecom.
8 Peralatan ini mungkin tidak menyediakan pengalihan panggilan yang efektif ke perangkat lain yang terhubung ke jalur yang sama.
9 Peralatan ini mungkin tidak beroperasi dalam kondisi listrik mati. Pastikan tersedia telepon terpisah yang tidak tergantung pada listrik lokal untuk penggunaan darurat.Pernyataan piksel LCD
Informasi peraturan perangkat radio

Umum
Pernyataan Kesesuaian untuk negara di Uni Eropa
Daftar negara yang berlaku
Persyaratan FCC tantal kese Alamatan RF



3 Radar berdaya tinggi dialokasikan sebagai pengguna utama gelombang 5,25 tingga 5,35 GHz dan 5,65 tingga 5,85 GHz. Stasiun radar tersebut dapat mengakibatkan interferensi pada dan/atau merusak perangkat ini.
4 Pemasangan tidak dapat terat penggunaan tidak sah dapat mengakibatkan interferensi berbahaya terhadap komunikasi radio. Kerusakanapan pada antenna internal juga akan membatalkansertifikasi FCC dan jaminan Anda.Kanada — Perangkat komunikasi radio berdaya rendah tanpa lisensi (RSS-210)
Exposure of humans to RF fields (RSS-102)
Design viewing distance 500 mm Design inclination angle 0.0° Design azimuth angle 90.0° Viewing direction range class Class IV Screen tilt angle 85.0° Design screen illuminance • Illuminance level:
[250 + (250cosα)] lx where α = 85°
• Color: Source D65 Reflection class of LCD panel
(positive and negative polarity) • Ordinary LCD: Class I
• Protective LCD: Class III Image polarity Both Reference white: • Yn Pre-setting of luminance and
color temperature @ 6500K
(tested under BM7) • u'n
• v'n Pixel fault class Class II TravelMate
yunnnnnaaunnnnnnnnnnnnnnnnnnnnnnnnnnnnnnnnnnnnnnnnnnnnnnnnnnnnnnnnnnnnnnnnnnnnnnnnnnnnnnnnnnnnnnnnnnnnnnnnnnnnnnnnnnnnnnnnnnnnnnnnnnnnnnnnnnnnnnnnn
nnnnnnnnnnnnnnnnn
-
n
-
WuJnTuH,WuTJUeYiOgUoJUeYiOgUoJUeYiOgACJnTuH
-mnnnnnwn
Wnwnnnn nn nnnnnnnnnnnnnnnnnnnnnnnnnnnnnnnnnnnnnnnnnnnnnnnnnnnnnnnnnnnnnnnnnnnnnnnnnnnnnnnnnnnnnnnnnnnnnnnnnnnnnnnnnnnnnnnnnnnnnnnnnnnnnnnnnnnnnnnnnnnn
WwWwWwWwWwWwWwWwWwWwWwWwWwWwWwWwWwWwWwWwWwWwWwWwWwWwWwWwWwWwWwWwWwWwWwWwWwWwWwWwWwWwWwWwWwWwWwWwWwWwW
AC 1
-

CLASS 1 LASER PRODUCT
LASERATTENTION: RADIATION DU FAISCEAU LASER INVISIBLE EN CAS D'OUVERTURE. EVITTER Toute EXPOSITION AUX RAYONS.LUOKAN 1 LASERLAITE LASER KLASSE 1
PRODUCTO LÁSER DE LA CLASE I


6
Wnwnnnnnnnnnnnnnnnnnnnnnnnnnnnnnnnnnnnnnnnnnnnnnnnnnnnnnnnnnnnnnnnnnnnnnnnnnnnnnnnnnnnnnnnnnnnnnnnnnnnnnnnnnnnnn27667996
aannnnnnae nnne nnnnnnne
nnsna
176466666666

777777777777777

ENERGY STAR

ENERGY STAR
7777777777777777777777
山
y
-
1
W
JUUL
L
aennnnnnaeannne
-
-

nauu
中
TravelMate


Junuunwauuunrnrnnae AcerSystem User Guide annnuuunrnuuunrnuuauo Adobe Reader uuuuuuuuuuuuuuuuuuuuuuuuuuuuuuuuuuuuuuuuuuuuuuuuuuuuuuuuuuuuuuuuuuuuuuuuuuuuuuuuuuuuuuuuuuuuuuuuuuuuuuuuuuuuuuuuuuuuuuuuuuuuuuuuuuuuuuuuuuuuuuuuuuuuuuuuuuuuuuuuuuuuuuuuuuuuuuuuuuuuuuuuuuuuuuuuuuuuuuuuuuUU
- 1234567890123456789012345678901234567890123456789012345678901234567890123456789012345678901234567890123456789
W AC
777777777777777
-
mnnnnae nnnnne
2 甲AC
3
y

### ### (2) ### (4) ### (1) ### (3) ### ### ### ### ### (###) ### ### ### ### ### ### ### ### ### ### ### ### ### (###) ### ### ### ### ### ### ### ### ### ### ### ### WwWuWuWu (Wuuuuuuuu)
### ### ### ### ### ### ### ### ### ### ### ### ### ### ### ### ### ### ### ### ### ### ### ### ### ### ### ### ### ### ### ### ### ### ### ### 


y
Caps Lock Caps Lock Num Lock Num Lock +Fn> + <F11> Wan Numananang dananang dananang dananang dananang dananang dananang dananang dananang dananang dananang dananang dananang dananang dananang dananang dananang dananang dananang dananang dananang dananang dananang dananang dananang dananang dananang dananang dananang dananang dananang dananang dananang dananang danANANANANANANANANANANANANANANANANANANANANANANANANANANANANANANANANANANANANANANANANANANANANANANANANANANANANANANANANANANANANANANANANANANANANANANANANANANANANANANANANANANANANANANANANANANANANANANANANANANANANANNANANANANANANANANANANANANANANANANANANANANANANANANANANANANANANANANANANANANANANANANANANANANANANANANANANANANANANANANANANANANANANANANANANANANANANANANANANANANANANANANANANANANANANANANANANANANANANANANANANANNNANANANANANANANANANANANANANANANANANANANANANANANANANANANANANANANANANANANANANANANANANANANANANANANANANANANANANANANANANANANANANANANANANANANANANANANANANANANANANANANANANANANANANANANANANANANANANANANANANANANNAANANANANANANANANANANANANANANANANANANANANANANANANANANANANANANANANANANANANANANANANANANANANANANANANANANANANANANANANANANANANANANANANANANANANANANANANANANANANANANANANANANANANANANANANANANANANANANANANANANANAMANANANANANANANANANANANANANANANANANANANANANANANANANANANANANANANANANANANANANANANANANANANANANANANANANANANANANANANANANANANANANANANANANANANANANANANANANANANANANANANANANANANANANANANANANANANANANANANANANANANMANANANANANANANANANANANANANANANANANANANANANANANANANANANANANANANANANANANANANANANANANANANANANANANANANANANANANANANANANANANANANANANANANANANANANANANANANANANANANANANANANANANANANANANANANANANANANANANANANANANAN安 namalnumlock numNumLock J J Windows
22216
Acer PureZone (

Video

nra 1y nnnrssu
Acer Bio-Protection (
Acer Bio-Protection Fingerprint Solution 1111111111111111111111111111111111111111111111111111
Acer Bio-Protection Fingerprint Solution 123456789
Acer FingerLaunch
Acer Backup Manager

2 1000000000000000000000000000000000000000000000000000000000000000000000000000D: 199999999999999999999999999999999999999999999999999999999
3 Acer Backup Manager
692yjy jywnnyy 1
Acer PowerSmart

Acer eRecovery Management

-

Acer eRecovery Management Settings
W
2 Acer eRecovery Management ziluln Backup
4
5
2 1
4
2 2
3
4
5 F5 F6 F6 Wauuuu F12 Boot Menu uuuu Enabled.
6 nau ESC Wauanauu Exit uanauu ENTER wau Exit Saving Changes (wnuaa) nau ENTER anwauan Yes
7
8 IeIeIeIeIeIeIeIeIeIeIeIeIeIeIeIeIeIeIeIeIeIeIeIeIeIeIeIeIeIeIeIeIeIeIeIeIeIeIeIeIeIeIeIeIeIeIeIeIeIeIe
9
10 1
2 2
3 1
4 1
5 F6 WwauuWuIDE1* wunwnunnuuWu F5 Wwauuununwunwunwunwunwunwunwunwunwunwunwunwunwunwunwun
6 njuEESC Wauuunueuauuauuauuuuua uauuauu uuuuuuauuuuuuuuuuuuuuuuuuuuuuuuuuuuuuuuuuuuuuuuuuuuuuuuuuuuuuuuuuuuuuuuuuuuuuuuuuuuuuuuuuuuuuuuuuuuuuuuuuuuuuuuuuuuuuuuuuuuuuuuuuuuuuuuuuuuuuuuuuuuuuuuuuuuuuuuuuuuuuuuuuuuuuuuuuuuuuuuuuuuuuuuuuuuuuuuuUU
7
8 lauiyuaaiaaaeaaan anuunnnnnaaannnnaaennnnaaennnnaaennnnaa
966
a
yannnnnnaaunlulauuunnuuun
2 10000000AC
3 甲AC
4
5
6
WAC 1

2 1
2
()
10°C (50°F) 30°C (86°F)
mnnnnaaunnnnnaaannnnnnnnnnnnnnnnnnnnnnnnnnnnnnnnnnnnnnnnnnnnnnnnnnnnnnnnnnnnnnnnnnnnnnnnnnnnnnnnnnnnnnnnnnnnnnnnnnnnnnnn
AC
### ### ### AC ### 1.### AC ### AC ### 2.### 3.### ### ### AC ### 1.### 2.### 3.### 4.### 5.### ### AC ### 1.### 2.### 3.### 7777777777777777777777777777
Jnnnnnnae nnne nnnnne
2
3
4
5
6
7yIi
W


y
mnnn nnnn nn nnnn
nnnnnnnnnnnnnnnnnnnnnnnnn
7
1
--
W W
日
-
JnJooaWwOo
n
Hernation
Hernbation
mJn
Wwwwnnnnnaaannnnnnae
-
Wwwwawwwwwwwwwwwwwwwwwwwwwwwwwwwwwwwwwwwwwwwwwwwwwwwwwwwwwwwwwwwwwwwwwwwwwwwwwwwwwwwwwwwwwwwwwwwwwwwwwwwwwwwwwwwwwwwwwwwwwwwwwwwwwwwwwwwwwwwwwwwwwwwwwwwwwwwwwwwwwwwwwwwwwwwwwwwwwwwwwwwwwwwwwwwwwwwwwwwwwwwwwwwwwwwwwwwwwwwwwwwwwwwwwwwwwwwwwwwwwwwwwwwwwwwwwwwwwwwwwwwwwwwwwwwwwwwwwwwwwwwwwwwwwwwwwwwwwwwwwwwwwwwwwwwwwwwwwwwwwwwwwwwwwwwwwwwwwwwwwwwwwwwwwwwwwwwwwwwwwwwwwwwwwwwwwwwwwwwwwwwwwwwwwwwwwwwwwwwwwwwwwwwwwwwwwwwwwwwwwwwwwwwwwwwwwwwwwwwwwwwwwwwwwwwwwwwwwwwwwwwwwwwwwwwwwwwwwwwwwwwwwwwwwwwwwwwwwwwwwwwwwwwwwwwwwwwwwwwwwwwwwwwwwwwwwwwwww
y
y




Universal Serial Bus (USB)






EXPRESS CARD
2
3mnnnnae
2
3 (a) lauunanununununununununununununununununununununununununun
5
6BIOS
0
1
7


region code) Region code 1 2 3 4 5 6 
nannnnnnnnnnnnnnnnnn
-
WuWuaanuusleep aunuunuunuunuunuunuunuunuunuunuunuunuunuunuunuunuunuunuunuunuunuunuunuunuunuunuunuunuunuunuunuunuunuunuunuy
-
aunnnnnae nannnnae nnne aen ananee
-

2 2
3 0aannnBIOS
2 1nAcer gnauagaae
3
m
(ITW)
77
nuuulunnswn:
nuuunnuuua:
nuu:nraan
nnaaannnnn
y
CMOS battery bad
(PCM) CMOS 1000uH CMOS checksum error
(CMOS checksum 1000uH) Disk boot failure (����원신지에�어로고 썸戰) ### Equipment configuration error
(※�류류류류류류류류류류류류류류류류류류류류류류류류류류류류류류류류류류류류류류류류류류류류류류류류류류류류류류류류류류류류류류류류류류류류류류류류류류류류류류류류류류류류류류류류류류류류류류류류류류류류不良信息 (A) ### Hard disk 0 error
(※�류류류류류류류류류류류류류류류류不良信息) Hard disk 0 extended type error
(※�류류류류류류류류류不良信息) I/O parity error (I/O parity 1000uH) Keyboard error or no keyboard connected
(※�류류류류류류류류류不良信息) Keyboard interface error
(※�류류류류류류不良信息) Memory size mismatch (※�류류류류류不良信息) ### 2
FCC
y
-2017年/3月2日
Remarque à l'intention des utilisateurs canadiens

ME61

TBR 21
1
2
2 1nnn nn nnnnnnnnnnnnnnnnnnnnnnnnnnnnnnnnnnnnnnnnnnnnnnnnnnnnnnnnnnnnnnnnnnnnnnnnnnnnnnnnnnnnnnnnnnnnnnnnnnnnnnnnnnnnnnnnnnnnnnnnnnnnnnnnnnnnnnnnnnnnnnnnnnn
3 1
b 30
6 1
7 nnnnnsnnnnnnnnnnnnnnnnnnnnnnnnnnnnnnnnnnnnnnnnnnnnnnnnnnnnnnnnnnnnnnnnnnnnnnnnnnnnnnnnnnnnnnnnnnnnnnnnnnnnnnnnnnnnnnnnnnnnnnnnnnnnnnnnnnnnnnnnnnnnnnnnnnn nnannn nnannn nnannn nnannn nnannn nnannn nnannn nnannn nnannn nnannn nnannn nnannn nnannn nnannn nnannn nnannn nnannn nnannn nnannn nnannn nnannn nnannn nnannn nnannn nnannn nnannn nnannn nnannn nnannn nnannn nnannn nnannn nnannn nnann nenn nann nann nann nann nann nann nann nann nann nann nann nann nann nann nann nann nann nann nann nann nann nann nann nann nann nann nann nann nann nann nann nann nann nann nann nann nann nann nann nann nann nann nann nann nann nann nann nann nann nann nenn
8
9 1nannnnnnae nnnnne ne aee

1
y
FCC



3 5.25 5.35 GHz uae 5.65 5.85 GHz aenennnnnne nnnnnnnnnnnnnnnnnnnnnnnnnnnnnnnnnnnnnnnnnnnnnnnnnnnnnnnnnnnnnnnnnnnnnnnnnnnnnnnnnnnnnnnnnnnnnnnnnnnnnnnnnnnnnnnnnnnnnnnnnnnnnnn
4 nnnnnaaennnnnnnnnnnnnnnnnnnnnnnnnnnnnnnnnnnnnnnnnnnnnnnnnnnnnnnnnnnnnnnnnnnnnnnnnnnnnnnnnnnnnnnnnnnnnnnnnnnnnnnnnnnnnnnnnnnnnnnnnnnnnnnnnnnnnnnnnnnnnnnnnnn nn
LCD panel ergonomic specifications
Design viewing distance 500 mm Design inclination angle 0.0° Design azimuth angle 90.0° Viewing direction range class Class IV Screen tilt angle 85.0° Design screen illuminance • Illuminance level:
[250 + (250cosα)] lx where α = 85°
• Color: Source D65 Reflection class of LCD panel
(positive and negative polarity) • Ordinary LCD: Class I
• Protective LCD: Class III Image polarity Both Reference white: • Yn Pre-setting of luminance and color temperature @ 6500K
(tested under BM7) • u'n
• v'n Pixel fault class Class II
ΕύκολοΕγχειρίδιο