TRAVELMATE 5742Z - Sülearvuti ACER - Tasuta kasutusjuhend
Leidke seadme juhend tasuta TRAVELMATE 5742Z ACER PDF-formaadis.
Laadige alla juhend oma Sülearvuti PDF-formaadis tasuta! Leidke oma juhend TRAVELMATE 5742Z - ACER ja võtke oma elektrooniline seade uuesti kätte. Sellel lehel on avaldatud kõik teie seadme kasutamiseks vajalikud dokumendid. TRAVELMATE 5742Z kaubamärgi ACER.
KASUTUSJUHEND TRAVELMATE 5742Z ACER
Informatsoon ohutuse ja mugavuse tagamiseks
Ohutusjuhised
Lugege neid juhiseid tahelepanelikult. Hoidke seda dokumenti alles tulevikus lugemiseks. Järgige kõiki tootele märgitud hoiatusi ja juhiseid.
Toote vãjlalulitamine enne puhastamist
Tömmake toode enne puhastamist seinakontaktist välja. Ärge kasutage vedelaid või aerosoolpuhasteid. Puhastamiseks kasutage niisket riidelappi.
ETTEVAATUST pistikuga seadme lahtiuhendamisel
Järgige toiteploki uhendamisel vooluvörguga järgmisi juhiseid:
Uhendage toiteplokk külge enne voolujuhtme seinakontaktiga uhendamist.
Enne toiteploki arvuti kuljest lahti uhendamist tõmmake voolujuhe valja.
Kui susteemil on mitu vooluallikat, tommake susteemi vooluvorgust lahtiuhendamiseks koki voolujuhtmed vooluallikatest valja.
ETTEVAATUSABINÖUD ligipääsu jaoks
Vaadake, et seinakontakt, kuhu voolujuhtme ühendate, oleks kergesti ligipäätsetavning asuks seadme kasutajale nii lahedal kui voimalik. Kui tekib vajadus seadevooluvorgust lahti ühendada, tommake kõigepealt voolujuhe kontaktist valja.
ETTEVAATUSABINÖUD komplekti kuulvate kaardimitatsionide jaoks (ainult teatud mudelitet)
Teie arvutiga olid kaasas kaardipesadesse paigaldatud plastist imitatsoinid. Kaardiimitatsionid kaitsevd kasutamata pesa tolu, metallist esemete ja muude osakeste eest. Jatke imitatsoonid alles, et neid kasutada, kui pesadesse pole paigaldatud ühtegi kaarti.
ETTEVAATUSABINÖUD kuulamisel
Oma kuelmise kaitseks jargige alljargnevaid juhiseid.
- Suurendage helitugevust järk-järgult, kuni kuulete heli puhtalt ja hösti.
- Arge suurendage helitugevust pärast seda, kui Teie körvat on sollega kohastunud.
- Arge kuulake muusikat pikalt korgel helitugevusel.
- Arge suurendage helitugevust keskkonnamura summutamiseks.
Kui Te ei kuule enda lahedal konelevaid inimesi, alandage helitugevust.
iv
Hoiatused
- Arge kasutage toodet vee lahedal.
- Arge asetage toodet ebastabiilsele kärule, letile või lauale. Kikkumisel võib toode saada rängalt vigastada.
- Pilud ja avad on mōeldud ventilatssooni jaoks, et tagada toote töökindlus ning kaitsta seda ülekuumenemise eest. Neid avasid ei tohi blokeerida ega kinni katta. Avasid ei tohi kunagi blokeerida toote asetamisega voodile, diivanile, vaibale või muule sarnasele pinnale. Toodet ei tohiks kunagi asetada radiatori või soojaohuava lahedale või khale ega kappi, välja arvatud juhul, kui on tagatud korralik ventilatssoon.
- Arge suruge labi toote kestas olevate pilude mitte mingisuguseid asju, kuna need voivad puutuda vastu ohtliku pingega punkte voi luhistada detaile, mis voib pohjustada tulekahju voi elektrilooki. Arge kunagi loksutage toote peale voi sisse vedelikke.
- Sisekomponentide kahjustamise ning akude lekkimise vältimiseks arge asetage toodet vibreeivale pinnale.
- Arge kasutage seda sportimise või võimlemise ajal ega vibreerivates keskkontdades, kuna see võib tõenäoliselt põhjustada ootamatuid lühuhendusi või kahjustada põrdseadeid, kõvaketast, optimist seadet või isegi kokkupaute riski liitiumakuga.
- Aluspind, ventilatsioniavade umbrus ja vahelduvvooluadapter voivad kuumeneda. Vigastuste valtimiseks jalgige, et need pinnad ei puutuks kokkuteie kehaosade ja nahaga.
- Teie seade ja selle lisad võivad sisaldada väikesi detaile. Hoidke neid vãjaspool väikelaste käulatust.
Elektrivoolu kasutamine
- Toodet tuleb kasutada markeeringul osutud voolul. Kui Te pole kindel olesasoleva voolu tuubis, konsulteige om edasimüja voi kohliku energiafirmaga.
- Arge laske mitte millelgi seista voolujuhtmel. Arge paigutage toodet kohta, kus inimesed voivad juhtmele peale astuda.
- Kui togeta kasutatakse pikendusjuhet, vaadake, et pikendusjuhtmega ühendatud seadmete koguvoolutugevus ei ületaks pikendusjuhtme lubatud voolutugevust. Vaadake ka, et kõigi sealakontakti ühendatud toodete koguvoolutugevus ei ületaks kaitsme om.
- Arge koormake seinakontakti, pikendusjuhet või pistikupesa üle, uhendades sinna liiga palju seadmeid. Susteemi kogukoormus ei tohiks ületada 80% vooluringi nimitugevusest. Kui kasutatakse pikendusjuhtmeid, ei tohiks koormus ületada 80% pikendusjuhtme nimisisendvoolust.
- Toote vahelduvvooladapter on varustatud kolmekontaktilise maandatud pistikuga. Pistik mahub ainult maandatud kontakti. Enne adaptereti pistiku kontakti ühendamist vaadake, etkontakt oleks korralikult maandatud. Årge ühendage pistikut maandamataseinakontakti. Täpsema info saamiseks vötke ühendust omalelektrikuga.

Hoiatus! Maanduskontakt on moeldud ohutuse tagamiseks. Korralikult maandamata seinakontakti kasutamine võib põhjustada elektrilöki ja/või vigastusi.

Markus: Maanduskontakt pakub ka head kaitset teiste lahedral asuvate elektriseadmete poolt tekitatud ootamatu mura eest, mis voib hairida toote tdd.
- Süstemi toiteks saab kasutada erinevaid pingeulatusi: 100 kuni 120 vōi 220 kuni 240 V vahelduvvoolul. Süstemiga kaasasolev toitejuhe vastab sūsteemi ostukoha riiklikele/piirkondlikele kasutusnormatiividele. Teistes riikides/ piirkondades kasutatavad toitejuhtmed peavad vastama selles riigis/piirkonnas kehtivatele normatiividele. Lisateabe saamiseks toitejuhtmete normatiivide kohta pōörduge volitatud edasimuūja vōi hooldusteenuse pakkuja poole.
Toote hooldustödd
Ärge proovige ise viä läbi hooldustöid, kuna katete avamisel vöi eemaldamisel võite Te kokku puutuda ohtliku pingega punktidea vöi muude riskidea. Laske kõiki hooldustöid teha selleks kvalitseeritud personalil.
Uhendage toode seinakontaktist lahti ning põrduge hooldustödeks kvalitseeritud hoolduspersonali poole, kui:
- voolujuhe või pistik on viga saanud, katki või kulunud
tootesse loksus vedelikku
toode puutus kokku veega või jäi vihma kätte
toode kukkus maha voi selle kest on vigastatud
toote joudluses on tunda margatavat erinevust, mis naitab vajadust teeninduse jarele
toode ei töta pārast kasutusjuhiste järgimist normalaelselt

Markus: Reguleerige ainult kasutsjuhistes kirjeldatud juhtnuppe, kuna teiste juhtnuppude ebaöige reguleerinme vöib pöhjustada kahjustusi ning vöib tihtilugu toote normalse seišukorra taastamiseks nõuda pikka tõöd kvalitseeritud tehniku poolt.
Juhtnöörid aku ohutuks kasutamiseks
See sulearvuti kasutab liitium-ionakut. Arge kasutage seda niiskes, márjas voi korrosiivses keskkonnas. Arge asetage, ladustage voi jatke omtooodet soojsallika sisse voi lahedale, korge temperatuuriga kohta, tugeva otsese päikseirguse katte, mikrolaineahju voi surve all anumasse ega laske sellel kokku puutuda temperatuuridega üle 60^ (140^) . Nende juhtnooride jargimata jatmisel vob aku lekitada hapet, muutuda kuumaks, plahvatada voi suttida ja pöhjustada vigastusi ning kahjustusi. Arge torkige, avage ega lammutage akut. Kui aku lekib ning Te
puutute kokku lekkinud vedelikega, loputage end pōhjalikult veega ning otsige koheselt arstiabi. Ohutuse eesmärkidel ning aku eluea pikendamiseks ei laadita seda temperatuuridel alla 0^ (32^) ega üle 40^ (104^) .
Uue aku taisvoiimsus saavutatakse alles kahe voi kolme tailiku laadmis- ja tuhjenemistsukli jarel. Akut voblaadida ja tuhjendada sadu kordi, kuid lopuks kulub see ara. Kui tooaeg muutub tavalisest margatavlt luhemaks, ostke uus aku. Kasutage ainult tuubikinnitusega akusid ning laadige akut ainult tuubikinnitusega laadjatega, mis on moeldud ainult selle seadme jaoks.
Kasutage akut ainult sellel eesmãrgil, milleks see on moeldud. Årge kunagi kasutage vigastatud laadjat vöi akut. Årge lühistage akut. Kui metallist ese, naiteksmönt, kirjaklamber vöi pliats pöhjustab otsekontakti乾坤 pluss- (+) ja miinusklemmi (-) vahel, vöib aset leida juhuslik lühihendus. (Klemmid næved valja nagu akul olevad metallirabad.) Seda vöib juhtuda naiteks siis, kui Kannate tagavaraakut taskus vöikotis. Klemmide lühistamine vöib akut vöi uhendavat objekti kahjustada.
Kui aku jatta kuuma voi kulma kohta, naiteks suvel voi talve suletud ustega autosse, vahenevad aku mahutavus ja tooiga. Puedke akut alati hoida vahemikus 15^ kuni 25^ (59^ kuni 77^) . Kuuma voi kulma akuga seade voib ajutiselt mitte tootada, isegi kui aku on tailikult laetud. Aku tooiga on eriti piiratud temperatuuridel kovasti alla nulli.
Ärge visake akusid tulle, kuna nad vöivad plahvatada. Akud vöiva plahvatada ka siis, kui nad on saanud vigastada. Körvaldage akusid vastavalt kohalikele regulatsionidele. Taaskädelge, kui voimalik. Ärge körvaldage olmejätmetena.
Akud voivad hairida traadita seadmeid, mis voib mojutada seadmete tdd.
Akude asendamine
Sulearvuti kasutab liitiumakusid. Asendage aku sama tüpi akuga kui see, mis tuli koos tootega. Teist tüpi aku kasutamine vöib pöhjustada talekahju vöi plahvatuse riski.

Hoiatus! Akud võivad plahvatada, kui neid ùogesti ei käsitseta. Arge lammutage neid ega visake neid tulle. Hoidke neid laste käeulatusest eemal. Akude körvaldamisel järgige kohalikke regulatsioone.
Ettevaatusabinõud optimise seadme kasutamisel (ainult teatud mudelitet)
Hoiatus: See seade sisaldab lasersusteemi ja on klassifitseeritud kui „1. KLASSI LASERTOODE". Seadme juures probleemide tekkimisel põrduge palun lahimasse VOLITATUD hooldusteenindusse. Vältimaks otsest kokkupuudet laserkirega arge provvige korpust avada.
KCLASS 1 LASERTOODE
HOIATUS: NAHTAMATU LASERKIIRGUS, KUI KAAS ON AVATUD. VÄLTIDA
KOKUPUUDET
KIIREGA
APPAREIL A LASER DE CLASSE 1 PRODUIT
LASERATTENTION: RADIATION DU FAISCEAU LASER INVISIBLE EN CAS
D'OUVERTURE. EVITTER TOUTE EXPOSITION AUX RAYONS.
LUOKAN 1 LASERLAITE LASER KLASSE 1
Telefonijuhtmed ja ohutus
- Enne hooldustoid või kui seade pole kasutuses, uhendage selle küljest lahti kõik Telefonjuhtmed.
- Et văltida voimaliku elektrilögi ohtu, ærge ühendage Telefonijuhtmeid seadmega äkese või tormi ajal.

Hoiatus! Ohutuskaalutlustel arge kasutage componente lisades voi vahetades mitteuhildvaid osi. Ostuvöimaluste kohta küsige infot omā edasimüjalt.
Tökeskond

Hoiatus! Ohutuse eesmargil lulitage sulearvuti kasutamisel alljargnevates tingimustes valja koik traadita voi raadiolainetel tootavad seadmed. Selliste seadmete hulka kuuluvad: traadita vorgu (WLAN), Bluetooth ja/voi 3G ning muud seadmed.
Järgige igal pool kehtivaid eriregulatsoione ning lülitage omaseade alati valja, kui selle kasutamine on keelatud voi kui see vobpohjustada haireid ohte. Kasutage seadet ainult selle tavalistes tooasendites. Tavakusatamisel vastab seade raadiokiirgust puudutavatele reeglitele ning selle antennid asuvad vahemalt 1,5 sentimeetri (5/8 tolli) kaugusel Teie kehast (vaadake allpooltoodud joonist). See ei tohiks sisaldada metaIe ning peaksite seadme asetama omah kehast ulalmaintud kaugusele. Andmefailide voi solumite edukaks edastamiseks vajab see seade kvaliteetset vorguuhendust. Moningatel puhkudel lukkub andmefailide voi solumite edastamine edasi, kuni selline uhendus on olemas. Vaadake, et üdekande
viii
Ilopetamiseni oleks taidetud ulaltoodud vahemaa kohta kaivd juhised. Seadmeteatud osad on magnetilised. Seade voib tommata ligi metallaterjale ningkuuldeaparaatidega inimesed ei tohiks sedet hoida kuuldeaparaadiga korva aares. Arge asetage seadme lahedale krediitkaarte voi muid magnetkandjaid, kuna neile salvestatud informatsoon voib kustuda.
Meditsiinitehnika
Raadiosaatjate, sealhulgas mobiltelefonide töö vöib hairida ebapiisavalt kaitstud meditsiinitehnika tööd. Konsulteerige arsti vöi meditsiniseadme tootjaga, et teada saada, kas see on valiste raadiolainete eesti piisavalt varjestatud vöi kui Teil on selle kohta kusimusu. Lulitage seade raviasutistes valja, kui seda käsivad teha umbruskonnas rippuvad juhised. Haiglad vöi raviasutused vöivad kasutada tehnikat, mis vöib olla tandlik valiste raadiolainete suhtes.
Südamestimulatorid. Südamestimulatorite tootjad soovitavad hoida traadita seadmete ja stimulatori vahel vahemal 15,3 sentimeetrist (6 tollist) vahemaad, et välida voimalikke Häireid stimulatoris. Need soovitused on kooskolas Wireless Technology Research'i soltumatute uuringute tulemuste ning soovitustega. Südamestimulatoriga inimesed peaksid tegema järgmist:
Alati hoidma seadet stimulatorist kaugemal kui 15,3 sentimeetrit (6 tolli)
- Mitte kandma seadet sudamestimulatori lahedal, kui seade on sisse lulitud. Kui kahtlustate vöimalikke Häireid, lulitage seade valja ning vahetage selle asukohta.
Kuuldeaparadid. Moned digitaalsed traadita seadmed voivad hairida kuuldeaparaatide tood. Häirete tekkimisel konsulteerie omteenusepakkujaga.
Sōidukid
Raudiosignaalid võivad mõjutada valesti paigaldatud või ebapiisavalt varjestatud mootorsõidukite elektronikasüsteeme, năteks elektronilisi kutuse sissepritse sõusteeme, elektronilisi libisemisvastaseid (lukustumisvastaseid) pidurisüsteeme, elektronilisi kiirusepiirajaid ning turvapadjasüsteeme. Lisainformatsooni saate omä sõiduki või lisatud seadmete tootjalt või nende esindajatelt. Seadet võivad hooldada või sõidukisse paigaldada ainult salleks kvalitseeritud isikud. Väär paigaldus või hooldus võib olla ohtlik ning tühistada seadmele kehtiva garantii. Kontrollige regulaarselt, kas sõidukis olevad traadita seadmed on kinnitatud ja tõtavad korralikult. Arge hoidke või transportige seadme, selle osade või lisaga samas ruumis kergestisüttivaid vedelikke, gaase või plahvatusoftlikke materjale.
Turvapadjaga sōidukite puhul tuleb meees pidada, et turvapadjad tāituvad suure jōuga. Årge paigutage turvapadja kohale vōi selle avamisteele esemeid, sealhulgas paigaldatud ega kaaskantavaid traedita seadmeid. Kui traedita seade on sōidukisse paigaldatud valesti ning turvapadi tāitub, vōivad tagajäreks olla tōsised vigastused. Seadme kasutamine lennukis lennates on kelatud. Enne lennukisse sisenemist lūlitage seade välja. Traedita teleseadmete kasutamine lennukis vōib olla ohtlik lennuki toöle, segada traedita Telefonivörgu tōd ning olla ebaseaduslik.
Potentsiaalselt plahvatusohtlikud keskkonnad
Potentsiaalselt plahvatusoftliku keskkonnaga alades lulitage omaseade valja ning jargige koiki hoitusmärke ja juhiseid. Potentsiaalselt plahvatusoftlike keskkonndade hulka kuuluvad koik alad, kus Teil tavaliselt kastakse soiduki mootor valja lulitada. Sellistes kohtades voivad sademed pohjustada plahvatust voi talekahju, mis voib loppeda kehavigastuste voi koguni surmaga. Tankimiskohtades, naiteks hooldusjaamade bensiinipumpade laheduses, lulitage seade valja. Jargige koiki piiranguid, mis kehtivad raadioseadmete kasutamisel kutuseterminalides, ladustamis- ja jaotuskohtades; keemiatehastes voi kohtades, kus teostatakse ohkimistoid. Tihti on plahvatusoftliku keskkonnaga alad selgelt margistatud, kuid mitte alati. Nende hulka kuuluvad ka laevatekialused, kemikaalide transpondi- voi laostuspunktid, vedelgaasi (naiteks propaani voi butaani) kasutavad soidukid ning alad, kus ohk sisaldab kemikaale voi muid osakesi, naiteks tolu mu, vilja-voi metallitolmu. Arge lulitage sulearvutit sisse, kui traadita telefoni kasutamine on keelatud voi kui see voib pohjustada hairid voi ohtu.
Hädaabiköned
Hoiatus: Seadme kaudu ei saa sooritada hadaabikonesid. Hadaabikone tegemiseks kasutage omai mobiltelefoni voi muud Telefonisusteemi.
Käitlemisjuhised
Ärge visake seadet prügikasti. Palun taaskäidelge see saaste vähendamiseks ning globaalse keskkonna suurima kaitse tagamiseks. Et saada rohkem informatsooni elektronikajäätmete kohta käivatest regulatsoonidest, vaadake http://www.acer-group.com/public/Sustainability/sustainability01.htm.

Nōuanded elavhōbeda kohta
Höoglambiga varustatud Projektorid või elektronikaseadmed, millel on ilma LED-tagantvalgustuseta LCD-/CRT-monitor või ekraan: toote sees olevad lambid sisaldavad elavhobedat ning neid tuleb taaskäidelda või körvaldada vastavalt kohlikule, osariigi või föderaalsele seadusandlusele. Et saada rohkem informatsoioni, kontakteeruge Electronic Industries Alliance'iga aadressil www.eiae.org. Lampide käitt käivate juhiste kohta vaadake www.lamprecycle.org.

ENERGY STAR

ENERGY STAR'i margistusega Acer'i tooted aitavad säästa teie raha, kuna kulutavad vahem energiat ning on keskkonnaśōbralikud ilma, et nende odadused või jõudlus selle tõttu Kannataks. Acer'il on hea meel omä klientidele pakkuda tooteid, millel on ENERGY STAR'i mark.
Mis see ENERGY STAR on?
ENERGY STAR'i margistusega tooted tarbivad vahem voolu ning kuna need vastavad USA Keskkonnakaitseagentuuri kehtestatud rangetele nouetele, vahendavad ka ǒhku paisatavate kasvuhoonegaaside hulka. Acer on seadnud endale eesmargiks pakkuda ülmaailmselt tooteid ja teenuseid, mis aitaksid kliented sāsta raha ning muuta keskonda paremaks. Mida rohkem me tänu suurremale energiatōhususele energiat sāstame, seda rohkem vahendame me kasvuhoonegaaside hulka ning klimamuuutusega kaasnevoid probleme. Lisainformatsooni leiate Aadressidelt http://www.energystar.gov vɔi http://www.energystar.gov/powermanagement.
ENERGY STAR'i margistusega Acer'i tooted:
- Eraldavad vāhem soojust ning vāhendavad jahutuskoormust ja Sellega klima soojenemist.
Kui ekraani voi arvutit ei kasutata vastavalt 10 ja 30 minuti jooksul, lulitub ekraan voi arvuti automaatelt unereziimile.
Väljuvad unerežiimist, kui vajutatakse klaviatuuril suvalist klahvi või liigutatakse hiirt.
Unerežiimil tarbivad arvutid enam kui 80% vahem yoolu.
ENERGY STAR ja ENERGY STAR'i mark on USA-s registreeritud margid.
Näpunäited ja informatssoon mugavaks kasutamiseks
Arvutikasutajad vöivad pikaajalise kasutamise järel kurta silmade väsimise ja peavalude üle. Kasutajad riskivad pikaajalisel arvuti taga töṭamisel ka füusiliste vigastustega. Pikk toöaeg, vale poos, halvad toöharjumused, stress, halvad toötingimused, isiklik tervis ning muud faktorid suurendavad füusilise vigastuse risktunduvalt.
Arvuti vale kasutamine võib põhjustada tunnelsündroomi, kõõluse-, ja liigesepõletikku ning muid muskuloskeetaalseid Häireid. Kätel, randmetel, käsivartel, ölgadel, kaelal või seljal võivad ilmnda järgmised sümptomid:
tuimus, poletav voi kihelev tunne
- valutamine, hellus voi tundlikkus
valu,paistetusvoituikamine
- kangus või pinge
külmus voi norkus
Kui Teil esinevad need sümptomid või muu korduv või pusiv arvuti kasutamisega seotud ebamugavustunne või valu, konsulteerie koheselt arstiga ning informeiger omafirma toötervishoiu osakonda.
Järgnevad osad pakuud nõuandeid arvuti mugavamaks kasutamiseks.
Mugavustsoon leidmine
Leidke omamugavustsoon, seades monitori vaatenurka, kasutades jalatuge voitostes maksimaalse mugavuse saavutamiseks omistekorgust. Jargige alljargnevaid napunaiteid:
- änge liialt pikaks ajaks likumatult uhte asendisse
välte ettepoole kummardamist või tahapoole nõjatumist
touske regulaarselt pusti ja kondige ringi, et vahendada jalalihaste pinget - tehke lühikesi pause, et puhata omä kaela ja ölgu
välte lihaste pingutamist voi olgade kehitamist
paigaldage vâline ekraan, klaviatuur ning hiir korralikult ja mugavasse kaugusse - kui vaatate ekraani rohkem kui omä dokumente, paigutage ekraan laua keskele, et vähendada kaela pinget
Silmade eest hoolitsemine
Pikk ekraani vaatamine, valede prillide vōi kontaktläatsede kandmine, helkimine, liighele valgus, halvasti fouluses ekraanid, väiksed kirjatahed ning madala kontrastiga ekraanid vōivad silmi kurnata. Järgnevates osades antakse soovitusi silmapinge vähendamiseks.
Silmad
Puhake silmi sagedasti.
Andke silmadele regulaarselt puhkust, vaadates monitorist körvale ning fokuseerides eemal asuvale punktile.
Pilgutage sagedasti silmi, et nad ei kuivaks.
Ekraan
Hoidke ekraan puhtana.
- Hoidke omä pea ekraani ülemisest servast körgemal, et silmad vaataksid ekraani keskpunkt vaadates allapoole.
Reguleeringe teksti loetavuse ja pildi selguse parandamiseks ekraani heledus ja/ voi kontrast mugavale tasemele.
Peegelduste ja vastuhelgi körvaldamiseks:
-asetage ekraan nii, et see oleks küljega akna või valgusallika poole
vahendage kardinate, ruloode voi aknakatete abi ruumi valgustastust
- kasutage kohtvalgustit
- muutke ekraani vaatenurka
- kasutage ekraanifiltrit
- kasutage ekraanivarju, năiteks ekraani ulaserva külge kinnitatud papitükki
Valtige ekraani seadmist ebamugava nurga alla.
Vältrige pikalt ereda valguse, näiteks avatud akende vaatamist.
Heade too'harjumste kujundamine
Arvuti kasutamise mugavamaks ja produktiivsemaks muutmiseks kujundage endal valja jargmised harjumused:
- Tehke regulaarselt ja sagedasti luhikesi pause.
- Sooritage venitusharjutusi.
- Hingake nii tihti kui voimalik värsket öhku.
- Tehke regulaarselt sporti ning hoidke keha tervena.

Hoiatus! Me ei soovita kasutada arvutit kusetil voi voodil. Kui see on valtimatu, tootage korraga luhikest aega, tehke regulaarselt pause ning sooritage venitusharjutus.

Markus: Rohkem informatssooni saate peatukist "Regulatsoonid ja markused ohutuse kohta" lehekuljel 35.
Köigepealt tähtsamad asjad
Tāname Teid selle eest, et valisite omā kaasankantavaks arvutiks Acer'i sulearvuti.
Teie teejuhid
Et aidata Teil kasutada omAcer'i sulearvutit, oleme loonud komplekti juhiseid:
Köigepealt aitab poster Just for Starters... (Alustuseks...) Teil alustada omaravuti üles seadmist.
TravelMate seeria üldkasutusjuhend sisaldab kõigile TravelMate tooteseeria mudelitele kohalduvat kasulikku tevet. See katab põhilisi teemasid nagu Acer eRecovery Management, klaviatuuri kasutamine, heli jne. Palume moista, et tulenevalt nende loomusest viitavad nii Üldkasutusjuhend kui ka allpool mainitud AcerSystemi kasutaja teatmik (AcerSystem User Guide) aeg-ajalt funktsionidele või omadustele, mis on ainult teud seeria mudelitel, kuid mitte tingimata Teie ostetud mudelil. Sellised juhtumid on tekstis margitud vãljenditega nagu „ainult teatud mudelitel".
Lühijuhend tutvustab Teile ue arvuti pöhilisi omadusi ja funktsioone. Kui soovite saada rohkem teada sellest, kuidas arvuti Teil aitab produktivsem olla, vaadake AcerSystemi kasutaja teatmik (AcerSystem User Guide). Teatmik sisaldab täpsem informatsoioni teemadel nagu susteemiutiillid, andmete taastamine, laiendusvöimalused ja probleEMide lahendamine. Sellele lisaks sisaldab see garantiiinformatsoioni ning sulearvuti kohta kehtivaid üldiseid regulatsioone ja ohutuseeskirju. See on saadaval PDF-formaadis (Portable Document Format) ning on laetud Teie sulearvutisse. Juhised selle avamiseks:
1 Klöpsake ja avage (Start, All Programs, AcerSystem.
2 Klopsake real AcerSystemi kasutaja teatmik (AcerSystem User Guide).

Märkus: Fali vaatamiseks on vaja Adobe Reader'it. Kui Adobe Reader pole arvutisse installeeritud, käivitab AcerSystemi kasutaja teatmik (AcerSystem User Guide) 'ile kõigepealt Adobe Reader'i installeerimisprogrammi. Installeerimise lõpetamiseks järgige ekraanil olevaid juhiseid. Juhiseid Adobe Reader'i kasutamiseks leiate menüust Help and Support.
Üldine hooldus ning napunäited arvuti kasutamiseks
Arvuti sisse-ja valjalulitamine
Arvuti sisselulitamiseks vajutage vaid korraks LCD-ekraani all kiirkäivitusnuppude körval asuvat voolunuppu. Voolunupu asukoha kohta lugege juhendist "Quick Guide" ("Luhijuhend").
xiv
Arvuti valjulitamiseks on erinevaid viise:
- Kasutage Windowsi sulgemiskasku Klopsake Start, seejärel klopsake Shut Down (Sulge arvuti).
- Kasutage voolunuppu
Võite lūltada arvuti unerežiimile, vajutades unerežiimi kiirklahvi
+ .

Markus: Kui Teil ei onnestu arvuti normalseit valja lulitada, vajutage voolumuppu ja hoidke seda all üle nelja sekundi, et arvuti valja lulituks. Kui lulitate arvuti valja ning tahate seda uuesti sisse lulitada, oodake enne sisselulitamist vahemalt kaks sekundit.
Arvuti eest hoolitsemine
Arvuti teenib Teid hasti, kuiSELLE eest hoolitsete.
- Arge jatke arvutit otsese päiksekiirguse kätte. Arge asetage seda soojisallikate, naiteks radiaatori lahedusse.
- Arge laske arvutil kokku puutuda temperatuuridega alla 0^ ( 32^ ) ega üle 50^ ( 122^ ).
- Arge laske arvutil kokku puutuda magnetväljaga.
- Ärge jätte arvutit vihma või niiskuse kätte.
- Ärge loksutage arvuti peale vett vōi muid vedelikke.
- Hoidke arvutit rankade pörutuste ja vibratsiooni eest.
- Hoidke arvuti tolmust ja mustusest puhtana.
- Arge kunagi asetage asju arvuti kaenele.
- Arge lõöge arvuti ekraani hooga kinni.
- Arge asetage arvutit ebatasasele pinnale.
Vahelduvvooolafteri eest hoolitsemine
Siin on mōned viisid, kuidas kanda hoit omà vahelduvvooluadapteri eest:
- Arge ühendage adapterit ühegi teise seadmega.
- Arge astuge voolujuhtmele ega asetage sellele raskeid objekte. Paigutage voolujuhe ning muud juhtmed hoolikalt likumisteedest eemale.
Kui juhetseinastvalja tombate, arge tommake juhetennast vaid vo'tke kinnipistikust. - Kui kasutate pikendusjuhet, ei tohi sellesse uhendatud seadmete kogutugevus ületada juhtme nimivoolutugevust. Ühte seinakontakti uhendatud seadmete koguvöimsus ei tohiks uhendada kaitsme nimivöimsust.
Akude eest hoolitsemine
Siin on mõned viisid, kuidas kanda hoolt omä akude eest:
- Kasutage ainult sama tuupi varuakusid. Enne akude eemaldamist voi vahetamist lulitage vool valja.
- Arge surkige akusid. Hoidke neid laste käeulatusest eemal.
Korvaldage akusid vastavalt kohalikele regulatsioonidele. Kui voimalik, taaskäidelge.
Puhastamine ja hooldustoo
Arvuti puhasamisel tehke jargmist:
1 Lulitage arvuti valja ning eemaldage aku.
2 Ühendage lahti vooluadapter.
3 Kasutage pehmet, niisket riidetukki. Arge kasutage vedelaid voi aerosoolpuhasteid.
Kui juhtub, et:
- arvuti kukkus maha võiSELL sele kest on vigastatud
- arvuti ei tõta korralikult
Informatsoon ohutuse ja mugavuse tagamiseks
Ohutusjuhised iii
Ettevaatusinoud optimise seadme kasutamisel
(ainult teatud mudelitel) vi
Tökeskkond vii
Meditsiinitehnika viii
Soidukid viii
Potentsiaalselt plahvatusohtlikud keskkonnad ix
Hädaabiköned ix
Käitlemisjuhised ix
Nouanded elavhobeda kohta ix
ENERGY STAR
Napunäited ja informatsoon mugavaks kasutamiseks
Köigepealt tahtsamad asjad xili
Teie teejuhid xiii
Uldine hooldus ning napunaited arvuti kasutamiseks xiii
Arvuti sisse-ja valjalulitamine xiii
Arvuti eest hoolitsemine xiv
Vahelduvvooluadaptereri eest hoolitsemine xiv
Akude eest hoolitsemine XV
Puhastamine ja hooldustöd XV
Puuteplaat 1
Pohitöed puuteplaadi kohta (koos sörmejälgejaga) 1
Puuteplaadi pōhitōed (kahe klahviga) 2
Klaviatuuri kasutamine 3
Lukuklahvid ja sisseehitatud numbriklahvistik* 3
Windowsinupud 4
Heli 5
Acer PureZone (ainult teatud mudelitel) 5
Video 5
16:9 kuva (ainult teatud mudelitet) 5
Süsteemi utiliseitide kasutamine 6
Acer Bio-Protection (ainult teatud mudelitel) 6
Sulearvuti endaga kaasaskandmine 18
Töolauast lahti ühendamine 18
Ringiliikumine 18
Arvuti ettevalmistamine 18
Mida koosolekutele kaasa votta 19
Arvutiga reisimine rahvusvahelistel reisidel 21
Arvuti ettevalmistamine 21
Mida kaasa votta 21
Tasub silmas pidada 21
Arvuti turvalisus 22
Arvuti turvaluku kasutamine 22
Paroolide kasutamine 22
Paroolide sisestamine 23
Paroolide seadmine 23
Faks/datamodem (ainult teatud mudelitel) 24
Sisseehitatud vorgukaart 25
Universal Serial Bus (USB) 25
IEEE 1394 port (ainult teatud mudelitel) 26
High-Definition Multimedia Interface (körglahutusega
multimeedialides) (ainult teatud mudelitel) 26
ExpressCard (ainult teatud mudelitel) 27
Mälu paigaldamine 28
BIOS-i utiliit 29
Algraadimisejärdekord 29
Kettalt kettale taaste sisselulitamine 29
Parool 29
Tarkvara kasutamine 30
DVD-filmide mängimine 30
Korduma kippuvad küsimused 31
33
Rahvusvaheline Reisigarantii (ITW) 33
Enne helistamist 33
Probleemide lahendamine 34
Napunäiteid probleemide lahendamiseks 34
Veateated 34
Regulatsioonid ja markused ohutuse kohta 35
FCC teade 35
Markused modemi kohta (ainult teatud mudelitel) 36
Teade LCD pikslite kohta 38
Markused raadioseadmete alaste regulatsionide kohta 38
Uldinfo 38
FCC raadiosageduste ohutuse nõue 39
Kanada — Madala võiimsusega litsentsist vabastatud
raudio-kommunikatsooniseadmed (RSS-210) 40
Inimesto kokkupuude RF-väljadega (RSS-102) 40
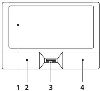
Sisseehitatud puuteplaat on osutusseade, mis tajub liikumist plaadi pinnal. See tahendab, et kursor vastab sorme liigutamisele mooda puuteplaadi panda. Asukoht randmetoe keskel pakub voimalikult suurt mugavust ja tuge.
Pöhitöed puuteplaadi kohta (koos sörmejäljelugejaga)
All järgneb öpetus, kuidas kasutada Acer BioProtection sörmejälgeugejaga puuteplaati.
Kursori liigutamiseks vedage sormega moeda puuteplaadi (1) pinda.
- Valimis- ning käivitamisfunktsionide teostamiseks vajutage vasakule (2) ja paremale (4) nupule puuteplaadi allservas. Need kaks nuppu on sarnased hiire vasakule ja paremale nupule. Puuteplaadi toksimine on sama mis vasakpoolse nupuga klöpsamine.

| Funktsion | Vasak nupp (2) | Parem nupp (4) | Puuteplaat (1) | Keskmine nupp (3) |
| Käivita | Kiire topeltklöps. | Toksi kaks korda (sama kiiresti kui hiirenupuga topeltklöpsu tehes). | ||
| Vali | Klöpsa üks kord. | Toksi üks kord. | ||
| Venita | Klöpsa ja hoia nuppu all ning vea kursorit sörmega puuteplaadil. | Toksi kaks korda (sama kiiresti kui hiirega topeltklöpsu tehes); hoia pärast teist toksu sörme puuteplaadil ning vea Sellega kursorit. | ||
| Ava kontekstimenüle | Klöpsa üks kord. |
Puuteplaadi pōhitōed (kahe klahviga)
All järgneb öpetus, kuidas kasutada kahe valikuklahviga puuteplaati.
Kursori liigutamiseks vedage sormega moeda puuteplaadi pinda.
- Valimis- ning kävitamisfunktsionide teostamiseks vajutage vasakule ja paremale nupule puuteplaadi allservas. Need kaks nuppu on sarnased hiire vasakule ja paremale nupule. Puuteplaadi toksimine on sama mis vasakpoolse nupuga klöpsamine.
| Funktsion | Vasak nupp | Parem nupp | Puuteplaat |
| Käivita | Kiire topeltklöps. | Toksi kaks korda (sama kiiresti kui hiirenupuga topeltklöpsu tehes). | |
| Vali | Klöpsa üks kord. | Toksi üks kord. | |
| Venita | Klöpsa ja hoia nuppu all ning vea kursorit sörmega puuteplaadil. | Toksi kaks korda (sama kiiresti kui hiirega topeltklöpsu tehes); hoia pärast teist toksu sörme puuteplaadil ning vea Sellega kursorit. | |
| Ava kontekstimenüle | Klöpsa üks kord. |

Markus: Ilustratsionid on ainult uldieks vordlusaluseks. Arvuti tapne konfiguratsoon soltub ostetud mudelist.

Märkus: Puuteplaati kasutades hoidke see — ning oma sörmed — puhaste ja kuiivadena. Puuteplaat on tundlik sörme liikumisele; seega, mida kergem puudutus, seda parem on reaktsioon. Kōvemini puuteplaadil toksimine ei paranda sellereaktsooni.

Markus: Vertikaalne ja horisontaalne kerimine on puuteplaadil vaikimisi sisse lulitatud. Valja saab seda lulitada Hiireseadete alt Windowsi Juhtpaneelil (Control Panel).
Klaviatuuri kasutamine
Klaviatuuril on taissuuruses klahvid ning sisseehitatud numbriklahvistik*, eraldi kursori-, luku-, Widowsi, funktsioni- ja erinupud.
Lukuklahvid ja sisseehitatud numbriklahvistik*
Klaviatuuril on kolm lukuklahvi, mida saate sisse ja valja lulitada.
| Lukuklahv | Kirjeldus |
| Caps Lock | Kui Caps Lock (suurtähelukk) on sees, on kõik trükitavad tãhed suured. |
| Num Lock +Fn> + <F11>* | Kui Num Lock (numbrilukk) on sees, on sissehitatud klavistik numbrirežiimil. Numbriklahvid funktsioneerivad kalkulaatorina (olemas on aritmeetilised tehted +, -, * ja /). Kasutage seda režimi siis, kui Teil on vaja sisestada suurel hulgal arvandmeid. Parem lahendus oleks ühendada arvutiga vãline numbriklahvistik. |
| Scroll Lock +Fn> + <F12> | Kui Scroll Lock (kerimislukk) on sees, liigub ekraan nool-ûles või nool-alla klahvile vajutades rea võrra üles või alla. Mõnedes rakendusprogrammides kerimislukk ei tõõt. |
Sisseehitatud numbriklahvistik funktsioneerib tavalise numbriklahvistikuna. Selle asukohta naitavad väikesed numbrid klahvidel ülal paremas nurgas. Klaviatuurilegendi lihtsustamiseks ei ole klahvidele trukitud kursorinuppude sümboleid.
| Kasutatavad klahvid | Num Lock sees | Num Lock väljas |
| Numbriklahvidsisseehitudklahvistikul | Sisestage nombreid tavalisel visil. | |
| Kursorinupd sisseeehitudklahvistikul | Hoidke kursorinuppude kasutamiseajal all klahvi<Shift>. | Hoidke kursorinuppudekasutamise ajal all klahvi<Fn>. |
| Klaviatuuri pöhinupud | Hoidke sisseehitud klaviatuuriltähti trükkides all klahvi<Fn>. | Trükkige tāhti tavalisel visil. |
- ainult teatud mudelitel
Windowsi nupud
Klaviatuuril on kaks nuppu, mis teostavad Windowsi funktsoone.
| Nupp | Kirjeldus |
| Windowsi nupp | Ainult sellele nupule vajutamise efekt on sama mis Windowsi Stardinupule klöpsamisel: see avab Stardimenüu. Teiste klahvidega koos kasutades on sellel hulgaliselt funktsioone: < >: Avab või sulgeb Start-menüu < >: + <D>: Näitab tõölauda < >: + <E>: Avab Windows Exploreri < >: Otsi faili või kausta < >: + <G>: Kerib Sidebar'i vidinaid < >: + <L>: Lukusta arvuti (kui olete ühendatud mõne võrgudomeeniga) või vaheta kasutajat (kui Te ei ole ühendatud ühegi võrgudomeeniga) < >: Minimeerib kõik aknad < >: + <R>: Avab dialoogikasti Run (Käivita) < >: + <T>: Kerib tegumiribal olevaid programme < >: Avab Ease of Access Center'i < >: + <X>: Avab Windows Mobility Center'i < >: + <BREAK>: Näitab dialoogikasti System Properties (süsteemi andmed) < >: + <SHIFT+M>: Taastab minimeeritud aknad tõölaule < >: + <TAB>: Kerib tegumiribal olevaid programme, kasutades Windows Flip 3-D-d < >: + <SPACEBAR>: Toob esile kõik vidinad ning valid Windows Sidebar'i <CTRL> + < > + <F>: Otsib arvuteid (kui olete ühendatud võru) <CTRL> + < > + <TAB>: Kerge noolenuppude abi tegumiribal olevaid programme, kasutades Windows Flip 3-D-d |
| Rakenduse nupp | Selle nrup vajutamise efekt on sama mis hiirega paremklöpsu tegemisel; see avab rakenduse kontekstimenüu. |
Heli
Arvutil on ka sisseehitatud 32-bitine High Definition (HD) heliseade ning kõlar(id).
Acer PureZone (ainult teatud mudelitel)
Helisüsteem pakub Teile täiesti uut audiokogemust, sealhulgas Acer PureZone'i sisseehitatud stereomikrofonidega, mis kasutavad kiire formeerimise ja kajasummutustehnoloogiat. Acer PureZone-tehnoloogia toetab puhta heli salvestamiseks akustilist kajasummutust, kiire formeerimist ja mürasummutust. Mikrofoni seadistamiseks käivitagec Acer HD Audio Manager topeltklöpsuga Acer HD Audio Manager'i ikoonil Windowsi susteemisalves. Avaneb Acer HD Audio Manager'i dialoqiaken. Klöpsake sakil Microphone (Mikrofon), seejärel sakil Microphone Effects (Mikrofon efektid). Mikrofon efektide sattimiseks valige Beam Forming (Kiire formeerimine) ja Acoustic Echo Canellation (Akustiline kajasummutus).

Markus: Lulitage kiire formeerimine valja, kui soovite saada mitme allikaga sisendheli.
Video
16:9 kuva (ainult teatud mudelitel)
16:9 kuva vöimaldab kodus vaadata selliseid Full HD-filme nagu ei kunagi varem. Ülikörge varvikūllustus tagab ehtsa HD-(pegeneraldusiku) vaatamiselamuse. 16:9 kvaliteet tāhendab, et sulearvutiga meeelalahutuse nautijateni on viimaks jōudnud toeline kodukino pilt.
Süsteemi utilisekasutamine
Acer Bio-Protection (ainult teatud mudelitel)
Acer Bio-Protection Fingerprint Solution on mitmeotstarbeline Microsoft Windows operatsionisüsteemiga integreeritud sörmejäljetarkvara pakett. Iga inimese sörmejälje ainulaadsust ára kasutav Acer Bio-Protection Fingerprint Solution sisaldab paroolipanka, mille tsentraliseeritud paroolihaldus kaitseb teie arvutit loata juurdepääsu eest ja vöimaldeb kiiret rakenduste/veebisaitide avamist ning sisselogimist utilidiga Acer FingerLaunch.
Acer Bio-Protection Fingerprint Solution pakub Teile voimalust lisada omapersonaalarvutile veel uks kaitsekiht, ent lubab samas igapäevastele tödele ligipääseda lihtsa sörmeliigutusega!
Lisainfo saamiseks vaadake Acer Bio-Protection'i abifaile.

Acer Backup Manager

Märkus: See faktssoon on saadaval ainult teatud mudelite korral.
Acer Backup Manager võimaldab lihtsa kolmesammulise protseduuriga teil kogu susteemist või valitud failidest ja kaustadest teha regulaarselt või vajaduse tekkides varukoopiaid.
Rakenduse Acer Backup Manager käivamiseks vajutage klaviatuuri kohl paiknevat Acer Backup Manager'i klahvi. Acer Backup Manager'i käivamiseks võite klöpsata ka Start > Kõik programmid > Acer Backup Manager > Acer Backup Manager. Selle tulemusel avaneb tervitusaken, mis võimaldab varukoopiate tegemise kolme sammu abil ajastada. Järgmisesse aknasse siirdumiseks klöpsake Jätka. Klöpsake nupul + ning järgige ekraanile kuvatavaid juhiseid.
1 Valige sisu, mida soovite varundada. Mida vahem sisu te valite, seda kiirem on varundusprotssess, kuid seda suurem on oht andmete kaotamiseks.
2 Valige koht, kuhu soovite varukoopiad salvestada. Te peate valima välise draivi voi omä D: draivi. Acer Backup Manager ei salvesta varukoopiaid låhtedraivile.
3 Valige sagedus, millega Acer Backup Manager varukoopiaid tegema hakkab.
Köigi kolme sammu lübimise järel hakatakse varukoopoiaid tegema vastavalt ajakavale. Te saate varukoopoiaid teha ka käsitsi. Selleks vajutage Acer Backup Manager'i klahvi.
Kui soovite enda märatud seadeid muuta, käivitage Acer Backup Manager menuust Start ning lübige uuesti ülalkjeldatud sammud.

Energiahaldus
Sellel arvutil on sisseehitatud energiahaldusmoodul, mis jalgib susteemi aktiivsust. Susteemi aktiivsus tähendab ühe vöi mitme nimetatud seadme tegevust: klaviatuur, hiir, kovaketas, arvutiga uhendatud lisaseadmed ja videomälu. Kui teatud aja (niinimetatud tegevusetusaja) jooksul ei tuvastata mingit aktiivsust, peatab arvuti energia säastmiseks möned neist vöi kok need seadmed.
Arvuti kasutab energiahaldusskeemi, mis toetab tāiustud konfiguratsioni- ja energialidest (ACPI), mis pakub korraga maksimaalset energiasäästu ja maksimaalset jōuldust. Windows tāidab ise kōiki Teie arvuti energiasäästmisülesandeid.
Acer'i PowerSmart-klahv

Markus: See funktsion on saadaval ainult teatud mudelite korral.
Acer'i PowerSmart-klahv vahendab üldist voolutarvet, kasutades selleks teie arvuti graafika alamsüsteemi energiasäästufunktssioone. Kui vajutate nuppu Acer PowerSmart, vahendatakse ekraani heledust ning graatifakiip lulitub madamalale kiirusele; PCI ja WLAN lulituvad energiasäästurežiime. Eelneva seadistuse taastamiseks vajutage uuesti Acer'i PowerSmart-klahvi.
Acer eRecovery Management on töörist süsteemi kiireks taastamiseks. Te saate teha koopia/taastada vibriku vaiketömmise ning uuesti installeerida rakendusi ja draivereid.

Markus: Kogu järgnev informatsoon on ainult üldiseks vördlusaluseks. Toodete tegelikud odused vöivad olla erinevad.
Acer eRecovery Management koosnej jargmistest funktsionidest:
1 Varundamine:
Loo tehaseseadetega varuketas
Loo draiverite ja rakendustega varuketas
2 Taastamine:
Süsteemi tehaseseadete täielik taastamine
Taasta operatsioonisüsteem ja saïlita kasutajateave
Installi draiverid voi rakendused uesti
See peatukk juhib Teid labi kõigi nende protssside.

Markus: See funktsoon on saadaval ainult teatud mudelitel.
Süsteemidega, millel puudub sisseehitadut optiline kirjutaja, peate enne Acer eRecovery Management' i avamist optimise kettaga seotud töde jaoks ühendama välise optimise kirjutaja.
Acer eRecovery Management paroolikaitse funktsiooni kasutamiseks peate määrama parooli. Parool märatakse Acer eRecovery Managementi käivitamisel ja Sseadistused klöpsamisel.

Acer eRecovery Management varunduslehekuljelt (Backup) saate te körvetada vibriku vaiketömmise või varundada draivereid ja rakendusi varundada.
1 Klopsake ja avage Start, All Programs, Acer, AcerRecovery Management.
2 Acer eRecovery Management avab lehe Backup (Varundamine).

3 Valige varunduskoopia tuup (vabiku vaiketommis voi draiverid ja rakendused), mille soovite plaadile körvetada.
4 Protsessi lôpetamiseks järgige ekraanil olevaid juhiseid.

Markus: Looge tehase vaiketömmis, kui soovite körvetada buuditavad plaati, mis sisaldaks kogu arvuti operatsioonisüsteemi sellisel kujul, nagu see tehasest tuli. Kui soovite saada plaadi, mis voimaldab Teil sirvida sisu ja installida valitud draivereid ja rakendusi, looge selle asemel draiverite ja rakenduste varunduskoopia — see plaat ei ole buuditav.
Taastamine
Taastamisfunktssoon vöimaldeb teil taastada susteemi vibriku vaiketömmiselt vöivarem loodud CD- vöi DVD-variukoopiatelt. Võite ka uuesti installeerida om Acer'i susteemi rakendusi ja draivereid.
1 Klöpsake ja avage Start, All Programs, Acer, Acer eRecovery Management.
2 Avage leht Taasta, klopsates Taasta.

3 Te võite taastada susteemi fabriku vaiketömmiselt või uesti installeerida rakendusi ning draivereid.
4 Protsessi lôpetamiseks järgige ekraanil olevaid juhiseid.
Windows taastamine varundusketastelt

Märkus: See faktssoon on saadaval ainult teatud mudelite korral.
Windows eelnevalt korvetatud varundusplaatidelt taastamiseks on Teil esmalt vaja plaat sisestada ja lubada F12 Boot Menu BIOS Setup Utility (BIOS-i häälestusutiliidi) kaudu.
1 Lülitage omaravuti sisse ja sisestage esimene susteemi varundusplaat optilisesse kettaseadmesse. Taaskäivitage omarvuti.
2 Kui käivitamise ajal kuvatakse Aceri logo, vajutage klahvi F2, sisenemaks BIOS Setup (BIOS-häälestusse), kus saate seada susteemi parameetrid.
3 Kasutage alammenüü Main (Peamine) valimiseks vasakut ja paremat nooleklahvi.
4 Kasutage F12 Boot Menu valimiseks üles- ja allanooleklahvi.
5 Kasutage klahvi F5 voi F6, et muuta F12 Boot Menu olek lubatuks Enabled.
6 Vajutage paoklahvi ESC, et siseneda alammenüsse Exit (Väljumine), vajutage sisestusklahvi ENTER, et valida suvand Exit Saving Changes (Välju muudatuste salvestamisega). Vajutage uesti sisestusklahvi ENTER, et valida kask Yes (Jah). Süsteem teeb seejärel taaskäivituse.
7 Pärast taaskäivitamist, kui kuvatakse Aceri logo, vajutage klahvi F12, et avada Boot Menu. Siin saate valida, milliselt seadmelt algraadida.
8 Kasutage nooleklahve suvandi IDE1* valimiseks, siis vajutage sisestusklahvi ENTER. Windows installeeritakse varundusplaadilt.
9 Kui kusitakse, sisestage teine varundusplaat, siis jargige taastamise lopule viimiseks ekraanil olevaid juhiseid.
10 Kui taastamine on lopetatud, eemaldage varundusplaat optilisest draivist. Tehke seda enne arvuti taaskäivitamist.
Kui eelistate algraadimise prioriteeti pikaajaliseks kasutamiseks märata, peaksite valima alammenü Boot (Algraadimine).
1 Lülitage omaravuti sisse ja sisestage esimene susteemi varundusplaat optilisesse kettaseadmesse. Taaskäivitage omarvuti.
2 Kui käivitamise ajal kuvatakse Aceri logo, vajutage klahvi F2, sisenemaks BIOS Setup (BIOS-häälestusse), kus saate seada susteemi parameetrid.
3 Kasutage alammenüü Boot (Algraadimine) valimiseksVASAKUT ja paremat nooleklahvi.
4 Kasutage seadme IDE1* valimiseks üles- ja allanooleklahvi
5 Kasutage klahvi F6, et liigutada seade IDE1* kõige prioriteetsemaks alglaadimise valikute hulgas või kasutage klahvi F5 teiste seedmete madalamale prioriteeditasele liigutamiseks. Veenduge, et seade IDE1* on kõrgeima priorteediga.
6 Vajutage paoklahvi ESC, et siseneda alammenüsse Exit (Väljumine), vajutage sisestusklahvi ENTER, et valida suvand Exit Saving Changes (Väljmuudatuste salvestamisega). Vajutage uuesti sisestusklahvi ENTER, et validakask Yes (Jah). Süsteem teeb seejärel taaskäivituse.
7 Kui te taaskäivitate, installeeritakse Windows varundusplaadilt.
8 Kui kusitakse, sisestage teine varundusplaat, siis jargige taastamise lopule viimiseks ekraanil olevaid juhiseid.
9 Kui taastamine on lopetatud, eemaldage varundusplaat optilisest draivist. Tehke seda enne arvuti taaskäivitamist.
Aku
Arvuti kasutab akupatareid, mis vöimaldeb laadimiste vahel pikalt toötada.
Aku omadused
Akul on järgmised omadused:
- Kasutab kehtivaid akutehnoloogia standardeid.
Annab tuhjenemisel hoiatussignaali.
Akut laetakse iga kord kui uhendate omarvuti vahelduvvooluadapterera. Arvuti toetab too ajal laadimist, mis voimaldab Teil akut laada arvutit samal ajal edasi kasutades. Valjalulitatud arvutiga laadimisel on laadimisaeg aga tunduvalt luhem.
Akut lāheb vāga tarvis reisides vōi elektrikatkestuse ajal. Soovitatav on hoida tagavaraks tāielikult laetud varuakut. Täpsemat infot varuaku tellimise kohta kūsige omā edasimuūjalt.
Aku eluea pikendamine
Nii nagu koki teised akumulaatorid, vananeb aja moödudes ka arvuti ale. See tähendab, et kasutamise käigus aleku toövoime aja jooksul vaheneb. Aku eluea pikendamiseks soovitatakse Teil kinni pidada allpool toodud soovitustest.
Uue aku sissetötamine
Enne aku esmakordset kasutamist peaksite Te salle järgmisel viisil "conditioning":
1 Pange uus aku sisse ilma arvutit sisse lulitamata.
2 Ühendaga taha vooluadapter ning laadige aku tais.
3 Ühendage lahti vooluadapter.
4 Lulitage arvuti sisse ning tootage akuvoolul.
5 Tuhjendage aku taelikult, kuni ilmub aku tuhjenemise hoiatus.
6 Ühendaga vooluadapter uuesti külge ning laadige aku jalle tais.
Korrake neid samme, kuni akut on kolm korda täielikult laetud ning tuhjendatud.
Järgige seda sissetöötamisprotssesi kõigi uute akude puhul või juhul kui akut pole kaua aega kasutatud. Kui arvuti jaab rohkem kui kaheks nădalaks seisma, soovitame aku sellest välja võtta.

Hoiatus: Ärge laske akul kokku puutuda temperatuuridega alla 0^ (32^) ega üle 45^ (113^) . Årmustemperatuurid vöivad akule halvasti mõjuda.
Sissetöotamisprotsessi järgides saate aku panna vastu vötmamaksimaalselt suurt laengut. Kui Te seda protseduuri ei järgi, ei ole Teil voimalik akut maksimaalselt laadida; see luhendab ka aku tegelikku töiga.
Sellele lisaks mõjuvad aku kasulikule tõeale halvasti ka järgmised kasutusharjumused:
- Arvuti pidev kasutamine vahelduvvoolul kui aku on sees. Kui soovite kasutada pidevalt vahelduvvoolu, soovitatakse Teil aku valja votta, kui see on tailikult laetud.
Aku ülalkirjeldatud viisil taelikult tuhjendamata ja laadimata jatmine. - Tihe kasutus; mida rohkem Te akut kasutate, seda kiiremini jouab lôpule selle eluiga. Standardse arvutiaku eluiga on umbes 300 laadimist.
Aku paigaldamine ja eemaldamine

Tähelepanu! Kui soovite arvuti kasutamist jatkata, ühendage enne
aku arvutist välja vötmist külge vooluadapter. Kui ei, lulitage
köigepealt arvuti välja.
Aku paigaldamiseks:
1 Joondage aku avatud akusektsooniga; vaadake, et kontaktidega ots läheks enne sisse ning aku pealmine pool oleks ülespoole.
2 Lükake aku akusektsooni ning suruge seda Örnalt, kuni aku kohale likustub.
Aku eemaldamiseks:
1 Lukake akuriivi, et akulukk avada.
2 Vötke aku akusektsoonist välja.
Aku laadimine
Aku laadimiseks vaadake kõigepealt, et see oleks korralikult akusektsooni paigaldatud. Ühendage vooluadapter arvutiga ning selle pistik seinakontakti. Aku laadimise ajal võite jatkata arvuti kasutamist vorgutoitel. Väljulitätud arvutiga laadimisel on laadimisaeg aga tunduvalt lühem.

Markus: Soovitame aku enne magamaminekut āra laadida. Kui laete akut öösel enne reisi, saate uut päeva alustada täielikult laetud akuga.
Windowsi voolumootja naitab aku hetkeseisu. Aku hetkeseisu nagemiseks liigutage hiirekursor tegumiribal olevale aku/vooluikoonile.
Aku toöea optimiseerimine
Aku toöea optimiseerimine võimaldab Teil aku tõd maksimaalselt ára kasutada, pikendades laadimistsüklit ning parandades laadimise efektiivsust. Soovitame Teil järgida allpool toodud soovitusi:
Ostke tagavaraaku.
Kui voimalik, kasutage vorguvoolu, hoides akut tee peal kasutamiseks.
Vötke valja PC-kaart, kui te seda ei kasuta, sest see tarbib voolu edasi (valitud mudelil).
- Hoidke akut jahidas ning kuivas kohas. Soovitatav temperatuur on 10^ (50^) kuni 30^ (86^) . Körgemal temperatuuril tuhjeneb aku iseenesest kiiremini.
Liigne laadimine luhendab aku tooiga.
Kandke hoolt omavooluadaptereringaku eest.
Aku tühjenemise hoiatus
Akutoidet kasutades hoidke silm peal Windowsi voolumõjtjal.

Hoiatus: Kui saate hoiatuse aku tuhjenemise kohta, ühendage voimalikult kiiresti arvutiga vooluadapter. Kui aku saab taielikult tuhjaks ja arvuti valja lulitub, lahevad andmed kaotsi.
Kui ilmub aku tühjenemise hoiatus, soltub soovitatav kaitumisviis olukorrast:
| Olukord | Soovitatav käitumisviis |
| Olemas on vooluadapter jaseinakontakt. | 1. Ühendage vooluadapter arvutiga ning selle pistikseinakontakti.2. Salvestage kõik vajalikud failid.3. Jätkake tõd.Kui soovite akut kiiresti laadida, lūlitage arvuti välja. |
| Olemas on tãielikultlaetud tagavaraaku. | 1. Salvestage kõik vajalikud failid.2. Sulgege kõik rakendusprogrammid.3. Sulgege operatsionisüsteem, et arvuti välja lūlitada.4. Vahetage aku välja.5. Lūlitage arvuti sisse ning jätkake tõd. |
| Vooluadapterit võisinakontakti ei ole.Teil puudubtagavaraaku. | 1. Salvestage kõik vajalikud failid.2. Sulgege kõik rakendusprogrammid.3. Sulgege operatsionisüsteem, et arvuti välja lūlitada. |
Sülearvuti endaga kaasaskandmine
Sellest peatukist leiate napunäiteid ja soovitusi, mida arvutiga ringi liikudes või reisides arvesse võtta.
Töölauast lahti ühendamine
Arvuti välistest lisaseadmetest lahtiuhendamiseks järgige alljärgnevoid juhtöre:
1 Salvagekok avatud failid.
2 Eemaldage seadme(te)st koki andmekandjad, flopid voiplaadid.
3 Lulitage arvuti valja.
4 Sulgege ekraani kaas.
5 Tommake valja vooluadaptereri juhe.
6 Ühendage lahti klaviatuur, osutusseade, printer, väline monitor ja kõik muud välisseadmed.
7 Avage Kensington-lukk, kui seda arvuti turvamiseks kasutate.
Ringiliikumine
Kui liigute ainult luhikest maad, naiteks omakontorist koosolekuruumi.
Arvuti ettevalmistamine
Enne arvuti liigutamist sulgege ja lukustage ekraani kaas, et lulitada arvuti Unereziimile. Võite nuud arvuti hoone pires ohutult endaga kaasa võtta. Unereziimist valjumiseks avage arvuti kaas, seejärel vajutage korraks voolunuppu.
Kui võtate arvuti kaasa kliendi kontorisse või teise hoonesse, võite arvuti valja lūlitada:
Klopsake Start, seejärel klopsake Shut Down (Sulge arvuti).
Voi:
Võite lūltada arvuti unerežiimile, vajutades
Kui olete jälle valmis arvutit kasutama, avage ekraani kaas, seejärel vajutage korraks voolunupule.

Markus: Kui unereziimi indikaator ei põle, on arvuti talveunereziimis ning on välja lulitunud. Kui vooluindikaator ei põle, kuid unereziimi indikaator põleb, on arvuti unereziimis. Mõlemal juhul peate arvuti sisselulitamiseks vajutama korraks voolunupule. Pange tâhele, et arvuti vöib lulituda talveunereziimile, kui on mônda aega olnud unereziimil.
Mida koosolekutele kaasa votta
Kui koosolekud on vordlemisi luhikesed, pole Teil ilmselt tarvis endaga kaasa votta midagi peale arvuti. Kui koosolek tuleb pikem voi kui aku pole taielikult laetud, voiksite kaasa votta vooluadaptereri, et arvuti koosolekuruumis vooluvorku uhendada.
Kui ruumis pole seinakontakte, lülitage arvuti aku tuhjenemise aeglustamiseks unereziimile. Vajutage <Fn> + <F4> voi sulgege ekraani kaas, kui Te parajasti arvutit aktivelt ei kasuta. Töö jatkamiseks avage kaas (kui see on suletud) ning vajutage korraks voolunupule.
Arvuti koju kaasa võtmine
Kui hakkate minema kontorist koju või vastupidi.
Arvuti ettevalmistamine
Pärast arvuti tõolaust lahti ühendamist järgige selle kojusõiduks ettevalmistamiseks järgmis juhtnöre:
- Kontrollige, kas olete seadmetest valja vötnud kõik andmekandjad ja plaadid. Andmekandjate jätmine seadmesse võib kahjustada lugeja pead.
- Pakkige arvuti kaitsvasse kotti, mis ei lase sellel kohalt libiseda ning pehmendab kukkumisel looki.

Hoiatus: Vältige asjade pakkimist arvuti kaane körvale. Röhk kaanel vöib ekraani kahjustada.
Mida kaasa votta
Kui Teil kodus neid ei ole, vötke endaga kaasa:
Vouuadapter ja voolujuhe
Trukitud Luhijuhend
Tasub silmas pidada
Järgige neid juhtööre, et kaitsta omaravutit tole ja tõlt koju soitmisel:
Vähendage temperatuurimuutuste moju, hoides arvutit enda kōrval.
- Kui peate pikemaks ajaks peatuma ning ei saa arvutit kaasas kanda, jätke arvuti auto pagasiruumi, et arvuti ei jäks liigkorge kuumuse käte.
- Temperatuuri- ja Žhuniiskuse muutused võivad põhjustada kondensatssooni. Enne arvuti sisselulitamist laske sellel jõuda toatemateratuurini ning kontrollige, ega ekraani pole kondenseerunud niiskust. Kui temperatuirerievus on suurem kui 10^ (18°F), laske arvutil aeglaselt jõuda toatemateratuurini. Kui voimalik, jätke arvuti 30 minutiks keskkonda, mille temperatuur on valistemperatuuri ja toatemateratuuri vahepeal.
Kodukontori üsseadmine
Kui toötate omaravutiga tihti kodus,voiksite kodus kasutamiseks osta teise vooluadapteri. Teise adapteri kasutamisega valdite ülliigse koorma kandmist koju ja toöle.
Kui kasutate arvutit kodus pikemateks töödeks, võiksite lisada ka valise klaviatuuri, monitori ja hiire.
Arvutiga reisimine
Kui peate sōitma pikemaid vahemaid, năiteks omà kontorihoonest kliendi kontorihoonesse vöi reisima riigiseseselt.
Arvuti ettevalmistamine
Valmistage arvuti ette samamoodi kui seda koju kaasa vöttes. Vaadake, et arvuti aku oleks laetud. Lennujaama turvatöötajad vöivad Teil paluda arvuti sisse lülitada, kui lahete Sellega varavaalasse.
Mida kaasa vötta
Vötke endaga kaasa:
Vooluadaptereri
Täielikult laetud tagavaraaku(d)
- Printeridraiverid, kui planite kasutada teist printerit
Tasub silmas pidada
Lisaks arvuti koju kaasa vötmise juhtnööridele järgige reisimisel arvuti kaitsmiseks järgmisi juhiseid:
Kandke arvutit alati kaasas käsipagasina.
Kui voimalik, laske seda inspekteerida käsitsi. Lennujaamade rontgenaparaadid on ohutud, kuid arge viige arvutit labi metallidetektori.
Välidge flopiketaste sattumist käsimetallidetektori lahedusse.
Arvutiga reisimine rahvusvahelistel reisidel
Kui soidate uhest niigist teise.
Arvuti ettevalmistamine
Valmistage arvuti ette samamoodi kui tavalisteks reisideks.
Mida kaasa votta
Vötke endaga kaasa:
Vooluadaptereri
Voolujuhtmed, mis sobivad kasutada riigis, kuhu Te reisite
Täielikult laetud tagavaraakud
- Printeridraiverid, kui plaanite kasutada teist printerit
- Ostutoend, kui peate seda naitama tolliametnikele
Rahvusvahelise Reisigarantii (ITW) pass
Tasub silmas pidada
Järgige samu ettevaatusjuhiseid kui arvutiga reisimisel. Neile lisaks võivad rahvusvahelistel reisidel kasulikud olla järgmised napunăited:
- Kui reisite teise riiki, kontrollige, kas kohaliku vahelduvpinge ning vahelduvvooluadapteri juhtme karakteristikud on omavahel sobivad. Kui ei, ostke voolujuhe, mis sobiks kohaliku vahelduvpingega. Ärge kasutage arvutile voolu undmiseks kodutehnikale moeldud konvertereid.
Kui kasutate modemit, kontrollige, kas modem ja konnektor ühilduvad spre riigi telekommunikatsionisüsteemiga, kus Te reisi.
Arvuti turvalisus
Teie arvuti on vaartuslik investeering, mille eest Te peate hoot kandma. Oppige, kuidas kaitsta ja kanda hoot omaravuti eest.
Turvafunktsionide hulka kuuluvad riist- ja tarkvaralukud — a security notch ning paroolid.
Arvuti turvaluku kasutamine
Arvutil on olemas Kengsington-tüpi turvapesa turvaluku jaoks.
Vedage arvuti turvaluku kaabel ümber liikumatu objekti, năiteks laua või lukustatud sahti käepideme. Lükake lukk avasse ning keerake luku sulgemiseks võit. Saadaval on ka võtmeta mudelid.
Paroolide kasutamine
Paroolid kaitsevad Teie arvutit autoriseerimata kasutamise eest. Paroolide seadmine loob mitu erinevat kaitsekihti arvuti ja andmete kaitseks:
- Haldajaparool kaitseb autoriseerimata sisenemise eest BIOS-i utiliti. Kui see parool on seatud, tuleb ta BIOS-i utiliti sisenemiseks uesti sisestada. Vaadake lahemalt alapeatukist "BIOS-i utili" leheküljel 29.
- Kasutajaparool kaitseb arvutit autoriseerimata kasutamise eest. Maksimaalse turvalisuse saavutamiseks kombineerige seda parooli kusimisega algraadimisel ning Talveunereziimist käivitamisel.
- Algraadimise parool kaitseb arvutit autoriseerimata kasutamise eest. Maksimaalse turvalisuse saavutamiseks kombineerige seda parooli kūsimisega algraadimisel ning Talveunerežiimist kāivitaminisel.

Tähelepanu! Ärge unustage omahaldajaparooli! Kui olete parooli unustanud, vötke ühendust omadasimüju vöi autoriseritud teeninduskeskusega.
Paroolide sisestamine
- Kui arvutile on seatud haldajaparool, ilmub parooliaken ekraanile, kui vajutate algraadimisel BIOS-i utiliti sisenemiseks
.
BIOS-i utilitiesisenemiseks trukkige sisse haldajaparool ning vajutage. Kui sisestasite vale parooli, ilmub ekraanile hoiatusteade. Proovige uesti ning vajutage. - Kui arvutile on seatud kasutajaparool ning alglaadimisparool on sisse lulitatud, kusitakse parooli alglaadimisel.
- Arvuti kasutamiseks trükkige sisse kasutajaparool ning vajutage
. Kui sisestasite vale parooli, ilmub ekraanile hoiatusteade. Proovige uesti ning vajutage .

Tähelepanu! Parooli võib proovida sisestada kolm korda. Kui kolme korra järel ei ole Te sisestanud ðiget parooli, susteem seiskub.
Vajutage voolunuppu ning hoidke seda neli sekundit all, et arvuti valja lulituks. Siis lulitage arvuti uuesti sisse ning proovige uuesti.
Paroolide seadmine
Paroole saab seada BIOS-i utilitiga.
Laiendusvöimalused
Teie sulearvuti pakub Teile täeliikult moÅbiilset tokogemust.
Uhendusvöimalused
Pordid vöimaldavad Teil samamoodi kui lauaarvutiga ühendada om arvutiga välisseadmeid. Altpoit leiate juhised erinevate välisseadmete arvutiga ühendamiseks.
Faks/datamodem (ainult teatud mudelitel)
Arvutil on sisseehitatud V.92 56 Kbps faks/datamodem. (ainult teatud mudelitel)

Hoiatus! Modemiport ei ole ühilduv digitaaltefoniliinidega.
Modemi ühendamine digitaaltefoniliiniga kahjustab modemit.
Faks/datamodemi pordi kasutamiseks ühendage Telefonijuhe modemipordi ja Telefonjuhtme pesaga.


Hoiatus! Vaadake, et kasutatav juhe oleks sobiv sellel maal kasutamiseks, kus Te toötate.
Sisseehitatud vorgukaart
Sisseehitud vorgkaart voimaldab Teil uhendada omarvuti Etherneti-pohisesse vorku.
Vörgufunktssiooni kasutamiseks ühendage Etherneti-kaabel Etherneti (RJ-45) cordiga arvuti kestas ning vörgupistikuga või vörgujaoturiga.

Universal Serial Bus (USB)
USB 2.0 port on kiire jadaport, mis vöimaldab Teil arvutiga ühendada USBvälisseadmeid, kulutamata selleks susteemi ressursse.

IEEE 1394 port (ainult teatud mudelitel)
Arvuti IEEE 1394 port võimaldab sellega ühendada IEEE 1394 ühilduvusega seadmeid, năiteks videokaamera või digikaamera. Lähemat infot saate omă videovõi digikaamera dokumentatsionist.

High-Definition Multimedia Interface (körglahutusega multimeedialiides) (ainult teatud mudelitel)
HDMI (High-Definition Multimedia Interface, körglahutusega multimedialiides) on tõöstuoega, tiendamata, tãisdigitaalne audio-/videoliides. HDMI pakub liidest uhendamaks iga ühilduvat digitaalse audio/video låhteseadet, näiteks teleriboksi, DVD ja A/V vastuvöjtat ühilduva digitaalse audio/video monitoriga, nagu näiteks digitaaltelevisionniga, vaid ühe kaabli abiL.
Kasutage omaravutil olevatHDMI portikorgetasemelisteaudio-ja videoseadmetegauhendamiseks.Ainult uhe kaabli kasutamine voimaldab lihtsat ulesseadmistajikiretuhendamist.

ExpressCard (ainult teatud mudelitel)
ExpressCard on PC-kaardi uusim version. See on väiksem ja kiirem liides, mis veelgi suurendab Teie arvuti kasutatavust ja laiendatavust.
ExpressCard'id toetavad suurt hulka laiendusvöimalusi, sealhulgas väkmälukaardiadaptereid, TV-tuunereid, Bluetooth-ühenduse ja IEEE 1394B-adaptereid. ExpressCard'id toetavad USB 2.0 ja PCI Express rakendusi.

Tähelepanu! Kaarte on kahte tüüpi, ExpressCard/54 ning
ExpressCard/34 (54mm ja 34mm), mõlemad erinevate
funktsionidega. Mitte kõik ExpressCard-pesad ei toeta mõlemaid
tüüpe. Kaardi paigaldamise, kasutamise ja selle funktsionide kohta
lugege kaardi kasutusjuhendist.
ExpressCard'i sisestamine
Lukake kaart pessa ning vajutage sellele kergelt, kuni see klopsatab paigale.

ExpressCard'i valjastamine
Enne ExpressCard'i valjavotmist:
1 Väljuge kaarti kasutavast rakendusest.
2 Tehke vasakklops riistvara eemaldamise ikoonil tegumiribal ning peatage kaardi to.
3 Vajutage kaart ornalt pessa ning laske lahti, et kaart välja huppaks. Seejärel tōmmake kaart pesast välja.
Malu paigaldamine
Mälu paigaldamiseks tehke järgmist:
1 Lülitage arvuti välja, ühendage lahti vooluadapter (kui see on ühendatud) ning eemaldage aku. Seejärel keerake arvuti Ümber, et pääseda ligiSELLe pöhjale.
2 Keerake lahti mäluluugi kruvid, seejärel tõstke luuk üles ning eemaldage see.
3 (a) Lükake mälumoodul diagonalalt pessa ning (b) vajutage seda örnalt, kuni moodul kohale likustub.

4 Pange maluluuk tagasi ning keerake kruvi kinni.
5 Pange aku tagasi kohale ning uhendage vooluadapter arvutiga.
6 Lulitage arvuti sisse.
Arvuti tuvastab mälu kogumahu ning seadistab selle automaatelt ümber.
Palun pidage nõu kvalitseeritud tehnikuga või võtke ühendust kohaliku Acer'i edasimuüjaga.
BIOS-i utiliit
BIOS-i utilise on riistvara konfigurerimisprogramm, mis on arvuti BIOS-i sisse ehitatud.
Arvuti on juba korralikult seadistatud ja optimiseeritud, nii et Teil puudub vajadus seda utilisei käivitada. Kui Te puutute kokku konfiguratsiooniprobeemidega, vöib Teil vaja olla seda käivitada.
BIOS-i utiliidi avamiseks vajutage POST-i ajal, siis, kui ekraanil on sulearvuti logo,
Alglaadimise järjekord
BIOS-i utiliseis algraadimise järjekorra seadmiseks avage BIOS-i utiliseit, seejärel valige ekraani ulaservas loetletud kategoriortate hulgast Boot (Algraadimine).
Kettalt kettale taaste sisselulitamine
Kettalt kettale taaste (kovakettataste) sisselulitamiseks avage BIOS-i utilisei, seejärel valige ekraani ulaservas loetletud kategoriortate hulgast Main (Pöhimenü). Leidke ekraani alumisest osast D2D Recovery ning seadke klahvide
Parool
Alglaadimisparooli seadmiseks avage BIOS-i utiliseit, seejärel valige ekraani ülaservas loetletud kategoriarate hulgast Security (Turvalisus). Leidke Password on boot: (Alglaadimisparool:) ning kasutage funktsooni sisselulitamiseks klahve
Tarkvara kasutamine
DVD-filmide mängimine

Märkus: See faktssoon on saadaval ainult teatud mudelite korral.
Kui optimise seadme lahtrisse on paigaldatud DVD-seade, saate omaravutis mangida DVD-filme.
1 Valjasta DVD-ptaat.

Tähelepanu! DVD-lugeja esmakordsel käivitaminisel kusib programm Teilt regioonikoodi. DVD-plaadid on jagatud kuude regiooni. Kui Teie DVD-seade on seatud ühele regioonikoodile, mangib see ainult selle regiooni DVD-sid. Regioonikoodi saab muuta kuni viis korda (kaasa arvatud esimene kord), mille järel salvestatakse viimane regioonikood permanentelt. Kōvaketta taastamine ei nulli regioonikoodi muutmise kordade arvu. Allpooltoodud tabelist leiate infot DVD-filmide regioonikoodide kohta.
DVD-film hakkab mone hetke pärast automaatsetmängima.
| Regioonikood | Riik või regioon |
| 1 | USA, Kanada |
| 2 | Euroopa, Lãhis-Ida, Lõuna-Aafrika, Jaapan |
| 3 | Kagu-Aasia, Taiwan, Lõuna-Korea |
| 4 | Ladina-Ameerika, Austraalia, Uus-Meremaa |
| 5 | Endine NSVL, Aafrika osad, India |
| 6 | Hiina Rahvavabariik |

Markus: Regioonikoodi muutmiseks sisestage seadmesse teise regioonikoodiga DVD. Rohkem informatsoioni leiate vorgust.
Korduma kippuvad küsimused
Järgneb nimekiri vöimalikest situatsionidest, mis vöivad arvuti kasutamisel ette tulla. Köigile neist on toodud lihtsd lahendused.
Ma vajutasin voolunupule, kuid arvuti ei käivitu või ei soorita alglaadimist.
Vaadake vooluindikaatorit:
Kui see ei põle, ei saa arvuti voolu. Kontrollige järgmist:
Kui kasutate akut, võib see olla tuhi ja võimetu andma arvutile energiata. Ühendage vooluadapter uku laidimiseks arvutiga.
- Vaadake, kas vooluadapter on arvuti ja seinakontaktiga korralikult ühendatud.
Kui indikaator poleb, kontrollige jargmist:
- Ega välises USB-flopidraivis pole mittebuuditavat ketast (mittesüsteemiketakst)? Vötke see välja vōi asendage süsteemikettaga ning vajutage süsteemi taaskäivitamiseks
+ + .
Ekraanil pole midagi naha.
Arvuti energiahaldussüsteem lulitab ekraani automaatselt välja, et säasta energiat.
Vajutage ekraani sisselulitamiseks suvalisele klah vile.
Kui klahvivajutus ei lulita ekraani sisse, võibSELLPEhjuseks olla kolm asja:
Heledus võib olla liiga modal. Vajutage heleduse reguleerimiseks (tõstmiseks)
- Kuvaseade võib olla seatud välisele monitorile. Vajutage kuvaekraani valimise kirklahve
- Kui unereziimi indikaator poleb, on arvuti unereziimis. Töjätkamiseks vajutage korraks voolunupule.
Arvutist ei kosta heli.
Kontrollige järgmist:
- Heli võib olla vaigistatud. Vaata Windowsis helitugevuse (kõlari) ikooni tegumiribal. Kui sellel on rist peal, klopsa ikoonile ning eemala linnuke suvandi Mute all (vaigista kõik) körvalt.
- Helitugevus võib olla liiga modal. Vaata Windowsis helitugevuse (kõlari) ikooni tegumiribal. Helitugevuse reguleerimiseks võite kasutada ka helitugevuse juhtnuppe.
- Kui arvuti helivaljundi cordiga on uhendatud körvaklapid, kuularid voi valised kolarid, lulituvad integreeritud kolarid automaatseit valja.
Ma tahan avada optimise seadme sahtlit voolu sisse lulitamata.
Optilisel seadmel on mehaaniline väljastusava. Sahtli avamiseks lukake lihtsalt sellesse avasse kirjaklamber või pliiatsi teravik.
Klaviatuur ei reageeri vajutustele.
Proofige arvuti USB-porti ühendada vâline klaviatuur. Kui see tötab, vötke ühendust om edasimiüja vöi autoriseeritud teeninduskeskusega, kuna sisemine klaviaturikaabel vöib olla lahti.
Printer ei töta.
Kontrollige järgmist:
- Kontrollige, kas printer on uhendatud vooluvörku ning on sisse lulitatud.
- Kontrollige, kas printeri juhe on korralikult ühendatud arvuti paralleelpordi või USB-pordiga ning printeri vastava cordiga.
Ma soovin arvuti algseaded taastada ilma taaste-CD-sid kasutamata.

Markus: Kui Teie susteem on mitmekeelne version, on susteemi esmakordsel kävitamisel valitud operatsionisusteem ja keel hilsemal taastamisel ainsad vöimalikud valikud.
Taasteprotsess aitab Teil taastada C: ketta algse tarkvara, mis oli installeeritud siis, kui omä sulearvuti ostsite. C: ketta taastamiseks järgige alljärgnevoid juhiseid. (Teie C: ketas formaeditakse üle ning kõik andmed kustutatakse.) EnneSELL fuktsioni kasutamist on oluine teha varukoopiad kõigist andmefailidest.
Enne taasteoperatsiooni sooritamist kontrollige BIOS-i seadeid.
1 Kontrollige, kas Acer disk-to-disk recovery (Acer'i kettalt kettale taastamine) on sisse lulitatud voi mitte.
2 Vaadake, et D2D Recovery menuus Main oleks asendis Enabled (sees).
3 Väljuge BIOS-i utilidist ning salvestage muudatused. Süsteem teeb seejärel taaskäivituse.

Markus: BIOS-i utilise aktiveerimiseks vajutage POST-i ajal
Taasteprotsessi käivitamiseks:
1 Tehke susteemile taaskäivitus.
2 Kui ekraanil on Acer'i logo, vajutage korraga <Alt> + <F10> , et käivitada taasteprotsess.
3 Süstemi taastamiseks järgige ekraanil olevaid juhiseid.

Tähelepanu! See funktsion vōtab enda alla 15 GB ruumi peidetud partitsionis Teie kōvakettal
Teeninduse nõudmine
Rahvusvaheline Reisigarantii (ITW)
Teie arvutit kaitseb Rahvusvaheline Reisigarantii (ITW), mis tagab Teile reisides turvalisuse ja rahu. Meie ülemaailmne teeninduskeskuste vorgustik on valmis pakkuma Teile abi.
Arvutiga on kaasas ITW-pass. Passis on kirjas kõik, mida Teil on ITW programmi kohta tarvis teada. Bukletis on nimekiri olesasolevatest autoriseritud teeninduskeskustest. Lugege pass põhjalukult läbi.
Hoidke ITW-passi alati käepärast, eriti kui olete reisil, et saada meie teeninduskeskustest toetust. Pange ostutšekk ITW-passi esikaane sees olevasse vahesse.
Kui riigis, kus Te asute, ei ole Aceri poolt autoriseeritud ITW teeninduskoha, võite siiski saada ühendust meie kontoritega üle kogu maailma. Vaadake palun http://global.acer.com.
Enne helistamist
Kui helistate Aceri online-teenindusse, hoidke käepärast järgmine informatsoin ning olge palun helistamise ajal omaravuti juures. Teie abiga saame me vähendada kõnele kuluvat aega ning lahendada Teie probleme efektivsemalt. Kui Teie arvuti valjastab veateateid vöi piiksub, pange need ekraanile ilmudes kirja (piiksumise puhul nende arv ja järdekord).
Teilt noutakse järgmise informatsoioni andmist:
Nimi:
Aadress:
Telefoninumber:
Masina ja mudeli tüp:
Seerianumber:
Ostukuupäev:
Probleemide lahendamine
Selles peatukis räagitakse, kuidas lahendada susteemis sagedamini esinevaid probleeme. Probleemi tekkides lugege seda enne, kui helistate tehnikule. Lahendused tõsisematele probleemidele nõuvad arvuti lahtivötmist. Ärge uritage arvutit ise lahti võtta, vaid võtke abi saamiseks ühendust edasimüuja või autoriseritud teeninduskeskusega.
Näpunäiteid probleemide lahendamiseks
Sulearvuti kasutab korgtehnoloogilist lahendust, mis naitab ekraanil veateateid, mis aitavad Teil lahendada probleeme.
Kui susteem vãjastab veateate või esineb mõni vea symptom, vaadake palun alapeatükki "Error messages". Kui probleem ei lahene, võtke ühendust om edasimujuaga. Vaadake lãhemalt peatükist "Teeninduse nõudmine" leheküljel 33.
Veated
Kui saate veateate, markige teade üles ning vötke tarvitusele parandusmeetmed. Alljargnevas tabelis on tāhestiku järjekorras kirjas veateated koos soovitusliku tegutsemisviisiga.
| Veateated | Parandusmeetmed |
| CMOS battery bad | Võtke ühendust omadesimūjvaõi autoriseritud teeninduskeskusega. |
| CMOS checksum error | Võtke ühendust omadesimūjvaõi autoriseritud teeninduskeskusega. |
| Disk boot failure | Sisestage flopiseadmesse (A:) susteemiketas (buuditav ketas) ning vajutage taaskäivitamiseks <Enter>. |
| Equipment configuration error | Vajutage BIOS-i utliiti sisenemiseks (POST-i ajal) <F2>, seejärel vajutage BIOS-i utliidis Exit (Välju), et arvuti taaskäivitada. |
| Hard disk 0 error | Võtke ühendust omadesimūjvaõi autoriseritud teeninduskeskusega. |
| Hard disk 0 extended type error | Võtke ühendust omadesimūjvaõi autoriseritud teeninduskeskusega. |
| I/O parity error | Võtke ühendust omadesimūjvaõi autoriseritud teeninduskeskusega. |
| Keyboard error or no keyboard connected | Võtke ühendust omadesimūjvaõi autoriseritud teeninduskeskusega. |
| Keyboard interface error | Võtke ühendust omadesimūjvaõi autoriseritud teeninduskeskusega. |
| Memory size mismatch | Vajutage BIOS-i utliiti sisenemiseks (POST-i ajal) <F2>, seejärel vajutage BIOS-i utliidis Exit (Välju), et arvuti taaskäivitada. |
Kui paranduslike meetmete rakendamise järel on Teil ikka probleeme, vötke palun abi saamiseks uhendust om edasimüuja vöi autoriseeritud teeninduskeskusega. Möningaid probleeme saab lahendada BIOS-i utilidi abil.
Regulatsioonid ja markused ohutuse kohta
FCC teade
Antud seadet on testitud ning leitud, et see vastab B-klassi digitaalseadmele kehtivatele piirangutele, vastavalt FCC reeglite 15. jaotusele. Need pirangud peavad tagama moistliku kaitse hairete vastu kodutehnika juures. Seade tekitab, kasutab ning vobib vioib kiirata raadiosagedusenergiat ning vioib pohjustada hareid raadiosides, kui seda ei paigaldata ega kasutata juhistele vastavalt.
Samas puudub garantii, et mingi kindla seadmestiku puhul häireid ei esine. Kui seade pöhjustab häireid raadio- vōi televisioninivastuvötus, mida saab kindlaks teha seadet valja ja sisse lūltades, soovitatakse kasutajal proovidence häireid korrigeerida mōnel alljargnevatest viisidest:
Keerake vastuvotuantenni voi paigutage see umber.
Suurendage seadme ja vastuvotjva vahelist vahemaad.
- Ühendage seade kontakti, mis asub teises vooluringis kui vastuvõtja.
- Pöörduge abi saamiseks edasimüuja või kogenud raadio/telehtniku poole.
Markus: varjestatud juhtmed
Köik ühendused teiste arvutusseadmetega peavad kasutama varjestatud juhtmeid, et olla kooskolas FCC regulatsioonidega.
Markus: välisseadmed
Selle seadmega vöib ühendada ainult B-klassi pirangutele vastavatena tertifitseritud välisseadmeid (sisend-väljundseadmeid, terminale, printereid jne). Sertifitserimate välisseadmetega toötamine vöib pöhjustada Häireid raadio- ja TV-vastuvötus.
Hoiatus
Tootja poolt otsesetkinnitamata muudatused voi modifikatsionid vovad tuhistada kasutajale Foderalse Kommunikatsionikomisjoni (FCC) poolt antud oiguse seda arvutit kasutada.
Markus: kasutajatele Kanadas
See B-klassi digitaalne aparaat vastab Kanada ICES-003-le.
Markused modemi kohta (ainult teatud mudelitel)
ME61
Markus USA jaoks
Seade on kooskolas FCC reeglite 68. jaotusega. Modemile on kinnitatud silt, mis sisaldab peale muu informatsoioni ka salle seadme FCC registreerimisnumbrit ning aparaadi ekvivalentsinumbrit (REN). Nende noudmisel peate salle informatsoioni esitama omatefonifirmale.
Kui Teie Telefoniseade pōhjustab kahju Telefonivorgule, vōib Telefonifirma Teie teenuse ajutiselt peata. Vōimaluse korral teavitatakse Teid sellest ette. Kui etteetatemisest pole praktilist kasu, teavitatakse Teid niipea kui vōimalik. Teile antakse teada ka òigusest esitada FCC-le kaebus.
Telefonifirma võib omarajatistes, seadmetes, tegevuses voi protsedurides teha muudatusi, mis võivad mõjutada Teie seadme normalalet tõd. Kui see on nii, teavitatakse Teid sellest ette, etanda Teile voimalus sailitada katkestustete telefoniuhendus.
Kui seade ei tota korralikult, uhendage see Telefonjuhtme kuljest lahti, et teha kindlaks, kas probleem tuleneb seadmest. Kui probleem tuleneb seadmest, lopetage selle kasutamine ning vötke uhendust tarnija vöi edasimuüjaga.

Hoiatus: Tuleohu vāhendamiseks kasutage ainult Nr. 26 AWG vōi suuremat UL-testitud vōi CSA sertifikadaigatalekommunikatsoonijuhet.
TBR 21
Seade on heaks kiidetud [Noukogu Otsus 98/482/EÜ - "TBR 21" üksiku loppseadme ühenduse jaoks commuteeritava analogogetelefonivorguga (PSTN). Samas ei anna see heakskit erinevuste tottu erinevate riikide analogogetelefonivorkude vahel tingimusteta garantiiid seadme edukale toole iga PSTN-i lopp-punkti puhul. Probleemide korral peaksite te esmajärjekorras ühendust vötma seadme tarnijaga. Kohaldatavate riikide ninekirja vaadake palun peatükist "Regulatsionid ja märkused ohutuse kohta" leheküljel 35.
Markus Australia jaoks
Ohutuse eesmärkidel ühendage seadmega ainult telekommunikatsooniks sobivuse mängistusega peatelefone. Selle hulka kuuluvad eelnevalt lubatutena või sertifitseeritutena mängistatud kasutajaseadmed.
Markus Uus-Meremaa jaoks
1 Teleloa andmine teatud loppseadmele tahendab vaid, et Telekom on aktsepteerinud, et seade vastab minimumnouetele selle vorku uhendamiseks. See ei tahenda toote heakskiitmest Telekomi poolt, ega anna mingitki sorti garantiid. Udekige ei anna see garantiid, et teatud seade tootab igati korrektelt koos mingi teist tüpi voi teise mudeli Teleloa saanud seadmega ega viita sellele, et mingi toode oleks uhilduv koki Telekomi vorguteenustega.
2 Seade ei ole mitte mingitel tötingimustel suuteline korralikult tötama körgematel kiirustel kui need, mille jaoks ta ehitatud on. Telekom ei kanna mingit vastutust särastes olukordades kerkinud raskuste eest.
3 Möned Telekomi Teleloa nõuetele vastamiseks vajalikud parameetrid sõltuvad selle seadmega seotud seadmetest (arvutist). Seonduv seade peab Telekomi spetsifikatsionidele vastamiseks olea seadistatud tõtama järgmiste piirangutega:
a Samale numbrile ei tohi ühe käsitsi alustatud kohe kohta olla 30-minutilise ajahemiku vältel olla enam kui 10 kõnekatset, ning
b Seade ei tohi kõnekatse loppemise ning järgmise kõnekatse alguse vahel minna hargile vähemaks kui 30 sekundiks.
4 Möned Telekomi Teleloa nõuetele vastamiseks vajalikud parameetrid sõltuvad selle seadmega seotud seadmetest (arvutist). Selleks, et tõtada Telekomi spetsifikatsionidele vastavuse piirides, peab seonduv seade olemaseadistatud nii, et oleks kindlustatud see, et automaatsed kõned erinevatele numbritele oleksid järjestatud nii, et ühe kõnekatse lõpu ja teise alguse vahel oleks vähemalt viiesekundiline paus.
5 Seadet ei tohi seadistada tegema automaatseid konesid Telekomi hādaabinumbrile 111.
6 Seade toötab impulsssvalimisega, samas kui Telekomi standard on DTMF toonvalimine. Puudub garantii, et Telekomi liinid ka edaspidi alati impulsssvalimist toetavad.
7 Impulssvalimise kasutamine situatsoonis, kus see seade on uhendatud sample liinile teiste seadmetega vob tekitada kellahelinat voi mura ning lisaks sellele pohjustada vale kone olukordi. Kui saarased probleemid peaksid tekkim, EI PEAKS kasutaja uhendust votma Telekomi rikete teenistusega.
8 See seade ei pruugi konet efektiivsettuleanda teisele samale liinile uhendatud seadmele.
9 Voolukatkestuse olukorras ei pruugi see aparaat toötada. Vaadake, et hädaolukorras kasutamiseks oleks olemas eraldi Telefon, mis ei sõltuks kohalikust voolust.
Teade LCD pikslite kohta
LCD-ekraani tootmisel on kasutad korgtapsusega tootmistehnoloogiaid. Sellest hoolimata vovad moned pikslid monikord valesti tottada voi ilmuda ekraanile musta voi punase punktina. Sellet pole mingit moju salvestatud pildile ning tegemist pole rikkega.
Markused raadioseadmete alasteregulatsioonide kohta

Markus: Alljargnev regulatoorne informatsoon käib ainult traadita vörgu vöi Bluetooth'iga mudelite kohta.
Uldinfo
Seade vastab kõigi riikide raadiosageduste ja ohutuse standarditele, kus see on heaks kiidetud traadita võrgu kasutamiseks. Sõltuvalt konfiguratsionist võib see toode sisaldada või mitte sisaldada traadita raadioseadmeid (nagu traadita võrgu ja/ või Bluetooth-moodulid). Alljärgnev informatsoon käib selliste moodulitega seadmete kohta.
Nõuetele vastavuse deklaratsioon Euroopa Liidu riikidele
Acer deklareerib, et see sulearvutite seeria on vastavuses direktiivi 1999/5/Eü pöhiliste nõuete ning teiste relevantse tingimustega.
Riikide nimekiri, kus see on kohaldatav
EL-i liikmesriigid on.SEIsuga juuli 2009:Belgia,Taani,Saksamaa,Kreeka, Hispaania, Prantsusmaa, lirimaa, Itaiia, Luksemburg, Holland,Austria, Portugal, Soome,Rootsi,Uhendkuningriik,Eesti,Lati,Leedu,Poola,Ungari,Tsehhimaa, Slovakia, Slovenia, Kupros, Malta, Bulgaria ja Rumeenia. Kasutamine on lubatud Euroopa Liidu riikides, ning ka Norras, Sveitsis, Islandil ning Liechtensteinis. Seadet tuleb kasutada rangelt kooskalas rigist kehtivate regulatsionide ja piirangutega.Lahema informatsooni saamiseks votke uhendust selles riigis oleva esindusega.Varskeima riikide nimekirjaga tutvumiseks kulastage palun veebilehte http://ec.europa.eu/enterprise/rtte/implem.htm.
FCC raadosageduste ohutuse nõue
Traadita LAN Mini PCI-kaardi ja Bluetooth-kaardi kiiratav valjundvoimsus on kaugelt alla FCC raudiosageduste kiirguspiiranguid. Sellest hoolimata peaks selle seeria sulearvutit kasutama selliselt, et tavakusatamise tingimustes oleks imkontakti voimalus jargmisel viisil minimiseeritud:
1 Kasutajad peavad järgima traadita lisaseadmete raadiosageduste ohutusjuhiseid, mis on ára toodud köigi raadiosagedusel lisaseadme kasutusjuhendis.

Hoiatus: Et vastata FCC raidosageduse kiirguse nōuetele, peab hoidma vāhemalt 20 cm (8 tollist) vahemaad ekraani sisse ehitatud seesmise traadita vōrgu Mini PCI-kaardi antenni ning kōigi isikute vahel.


Märkus: Traadita Mini PCI-adapter kasutab ülekande vaheldumise funktsioni. See funktsoon ei edasta raadiolaineid molemast antennist korraga. Raadiokommunikatsioni hea kvaliteedi tagamiseks valitakse üks neist antennidest edastamiseks automaatelt vöi käsitsi (kasutaja poolt).
2 Seadme kasutamine on piiratud siseruumidega, kuna see tootab 5,15-5,25 GHz sagedusvahemikus. FCC nouab, et seda toodet kasutataks sagedusvahemikus 5,15-5,25 GHz ainult siseruumides, et vahendada voimalike kahjulike häireid sama kanalit kasutavates mobil-satelliitsüsteemides.
3 5,25-5,35 GHz ja 5,65-5,85 GHz ribade peamisteks kasutajateks on määratud suure vöimsusega radarid. Need radarijaamad vöivad seadmel pöhjustada Häireid ja/vöi seda kahjustada.
4 Vale paigaldamine voi lubamatu kasutus vovad pohjustada kahjulike hairid raudiosides. Sisemise antenni kallal lubamatu nokitse mine tuhistab FCC certifikatsioni ning Teie garantii.
Kanada — Madala võimsusega litsentsist vabastatud raudio-kommunikatsioniseadmed (RSS-210)
Inimesto kokkupuude RF-väljadega (RSS-102)
Sulearvutid sisaldavad madala vöimendusega siseantenne, mis ei emiteeri RF-välja üle Health Canada seatud üldelanikkonna piirnormi; vaadake Safety Code 6 Health Canada veebilehel www.hc-sc.gc.ca/rpb.
LihtneJuhend