TRAVELMATE 5742Z - Prenosnik ACER - Brezplačna navodila za uporabo
Brezplačno poiščite navodila za napravo TRAVELMATE 5742Z ACER v formatu PDF.
Prenesite navodila za vaš Prenosnik v formatu PDF brezplačno! Poiščite svoja navodila TRAVELMATE 5742Z - ACER in vzemite svojo elektronsko napravo nazaj v roke. Na tej strani so objavljeni vsi dokumenti, potrebni za uporabo vaše naprave. TRAVELMATE 5742Z znamke ACER.
NAVODILA ZA UPORABO TRAVELMATE 5742Z ACER
Odojeni od stolniho počitače 18
Prenasení 18
Priprava počitača 18
Co so seabou na schodzky 19
Priprava počitača 19
Co vziat' so seabou 19
Zvlstne opatrenia 20
Priprava počitača 20
Priprava počitača 21
Co vziat' so seabou 21
Zvlaste opatrenia 21
Zabezpečenie počitača 22
Možnosti pripojenia 24
Fax/data modem (len pre urcité modely) 24
Spoš uporabniški priročnik
Izklaplanje izdelka pred cischenjem
Pred cischenjem izkljucite ta izdelek iz zidne vticnice. Ne uporablajte tekocin ali razprsilnih cistilcev. Za cischenje uporabite vlažno krpo.
OPOZORILA za vtikač pri izključevanju naprave
Pri priključervanju in izključevanju napetosti na enoto za dovod napajanja upoštevajte naslednje smernice:
Preden prikljucite napetostni kabel na AC izhod, name-site napravo za dovod napajanja.
Napetostni kabel izkljucite še preden odstranite enoto za dovod napajanja iz računalnika.
Če ima system več virov napajanja, izključite napetost izsystema takó, da izvlečete vse napetostne kable iz virov napetosti.
OPOZORILA za dostopnost
Prepričajte se, da je vtičnica v katero ste vključili napetostni kabel enostavno dostopna in se nahaja čim blíže uporabniku opreme. Ko Želite izključiti napajanje na opremo, izvlecite napetostni kabel iz elektrîne vtičnice.
OPOZORILA glide nepravih varnostnih kartic (le na dolocenih modeli)
Vaš računalnik ima v reže kartic namešěne plastíčne neprave kartice. Neprava kartica šciti neuporabljeno režo pred prahom, kovinskimi predmeti in drugimi delci. Shanite si nepravo kartico in jo uporabite, ko v reži ni kartice.
- Izdelka ne uporablajte v blizini vode.
- Izdelka ne postavljaje na nestabilen voziček, stojalo ali mizo. Če izdelek pade se lahko resno poskoduje.
- Reže in odprtine so na voljo za prezračevanje in zagotavljajo zanesljivo delovanje izdelka in ga šcitijo pred pregrevanjem. Teh odprtin ne blokirajte ali prekrivajte. Odprtin nikoli ne prekrivajte tak, da jih postavite na posteljo, kavč, preprogo ali drugo podobn o povrsino. Izdelka nikoli ne postavljate v blizino ali na radiator ali oddajnik toplote ali v vgrajeno montažo, razen, Če je na voljo primerno prezračevanje.
- Nikoli ne potiskajte nobenih predmetov v izdelke skozi reze, saj se lahko dotaknejo nevarnih napetostnih tock ali kratko sklenejo dele, kar lahko povzroci požar ali elektrčni udar. Nikoli na izdelek ne polivajte nobene tekocrine.
Da bi se izognili poskodbam notranjih component in preprecii iztekanje baterije, izdelka nikoli ne postavlajte na vibrirajo co povrsino. - Izdelka nikoli ne uporabljaje na napravah za šport, vaje ali vibracijskih napravah, saj bodo le-te po vsej verjetnosti povzročile nepričakovane katke stike ali poškodovale naprave z rotorji, HDD, optčni pogon in celo škodovali bateriji.
Spodnja povrsina, prostor okoli ventilacijskih odprtin in elektrnic adapter se lahko segrejejo. Da bi se izognili poškodbam, se izogibaje stiku omenjenih povrsin za sho kožo ali telesom. - Vaša naprava in njene izboljšave lahko vsebujejo majhne dele. Držite jih vstran od majhnih otrok.
Uporaba elektriche napetosti
- Izdelek uporabljaje na tipu napetosti, ki je označena na nalepki. Če niste prepričani od tipu napetosti, ki je na voljo, se posvetujte z vašim prodajalec ali lokalmim elektro podjetjem.
- Ničesar ne postavljajte na napetostni kabel. Izdelka ne postavljajte na mesta, kjerBODY Ijudje lahko hodili po kablu.
- Če z izdelkom uporabljate podaljševalni kabel, se prepričajte, da skupna vrednost amperov opreme, priključene na podaljševalni kabel ne presega vrednosti amperov podaljševalnega kabla. Prav takо se prepričajte, da skupna nazivna napetost vseh izdelkov, priključenih na zidno vticnico, ne presega vrednosti varovalke.
- Napetostne vtičnice, razdelilnika ali vtikača ne preobremenjúte takto, da priključite prevec naprav. Skupno bremeSYSTEMA ne sme preseči 80% vrednosti veje ožičenja. Če uporabljate razdelilnike, breme ne sme presegati 80% moči vchodne napetosti razdelilnika.
- AC adapter izdelka je opremljen s trožicnim ozemljenim vtikačem. Vtikač se prilega le v ozemljeno vtčnico. Pred priključevanjem vtikača AC adapterja se prepričajte, da je napetostna vtčnica primerno ozemljena. Ne vstavljaje vtikača v neozemljeno napetostno vtčnico. Za podrobnosti se obrnite na elektrárja.

Opozorilo! Ozemljitveni zatic je varnostna funkcija. Uporaba neprimerno ozemljene napetostne vticnice lahko povzroci elektrici udar in/ali poškodbo.

Opomba: Ozemljitveni zaticnudi dobrosašcito pred nepričakovanimi šumi, ki jih prodizvajajo blžnje elektrčne naprave, ki lahko motijo delovanje tega izdelka.
- Sistem je mogoce napajati na razlicnih napetostih; 100 do 120V ali 220 do 240 V. Napajalni kabel, prilozen systemdu, ustreza zahtevam za uporabo v državah/regijah, kjer je bil systemd kuplejen. Napajalni kabel, ki ga zeelite uporabljati v drugih državah/regijah, mora ustrezati zahtevam zadevnih držav/ regij. Za vec informacij o zahtevah o napajalnem kablu kontaktirajte pooblašcenega trgovca ali ponudnika storitev.
Servis izdelka
Izdelka ne poskušajte servisirati sami, saj se pri odpiranju in odstranjevanjuPokrov laho izpostavite na nevarne napetostne točke ali druge nevarnosti. Servisiranje prepustite usposobljenim serviserjem.
Izdelek izklučite iz vtčnice in pošljite na servis pooblašćenemu serviserju v naslednjih primerih:
- napetostni kabel ali vtikač je poškodovan, porezan ali obrabljen
na izdelek je bila polita tekočina - izdelek je bil izpostavljen na dež ali vodo
- izdelek je padel na tla oziroma telo se je poškodovalo
vidno je poslabšano delovanje, ki oznanjuje potrebo po servisu - izdelek ne deluje normalno pri sledenju delovnih navodil

Opomba: Nastavite le enega od kontrolnikov, ki je opisan v delovnih navodilih, saj lahko nepravilna nastavitev ostalih kontrolnikov povzroci poskodbe in velikokrat bo potrebno dolgotrajno delo usposobljenega tehnika, da izdelek povrnve normalno stanje.
Smernice za varno uporabo baterije
Ta prenosnik uporablja litij-ionsko baterijo. Ne uporabljajte jo v vraznem, morkem ali korozivnem okolju. Izdelka ne postavite, shranjujte ali pustite v ali v blizini virov toplate, v prostoru z visoko temperaturo, na neposredni sonci svetlobi, v mikrovalovni pečici ali v rezervarju pod pritiskom. Izdelka ne izpostavljaje temperaturam nad 60^ (140°F). Neuostoševanje teh smernic lahko povzroči iztekanje kisline iz baterije, njeno segrevanje, eksplozijo ali vžig ter povzroči poškodbe in/ali škodo. Baterije ne luknjajte, odpirajte ali razstavljaje. Če iz baterije teče kislina in pridete v stik z njo, takoj izperite z vodo in pošćite zdravniško pomoč.
Iz varnostihn razlogov in za podaljisanje zivljenske dobe baterije se polnjenje ne bo izvajalo pri temperaturah pod 0^ (32^) ali nad 40^ (104^) .
Popoln učinek baterije dosežete po dveh ali treh ciklih poljenja in praznenija. Baterijo lahko napolnite in izpraznite na stotine krat, ampak sčasoma se bo baterija obrabila. Ko se Čas delovanja opazno skrajša, kupite novo baterijo. Uporablajte samo odobrene baterije in jih polnite le z odobrenimi polnilci, namenjenimi posebej tej napravi.
Baterijo uporabljaje le za njen namen. Nikoli ne uporabljaje poškodovanega polnilnika ali baterije. Ne naredite kratkega stika z baterijo. Do kratkega stika laho pride po nesreči, ko kovinski predmet, kot je kovanec, sponka ali pisalo, vzpostavi povezavo med positivnim (+) in negativnim (-) terminalom baterije. (Ti izgledajo kot kovinski trakovi na bateriji.) To se laho zgodi,Če dodatno baterijo nosite na primer vŽepu ali torbi. Kratek stik s terminali laho poškoduje baterijo ali predmet.
Kapaciteta inŽivljenjska doba baterije se bosta zmanjsala,Če baterijo pustite na vročih ali hladnih mestih, kot so zaptro vozilo poleti ali pozimi. Baterijo zmeraj hranite pri temperaturi med 15^ in 25^ (59^ in 77^) . Naprava začasno ne bo delovala z vročo ali hladno baterijo, Četudi je baterija Čistvo polna. Učinek baterije postane še posebej omejen pri temperaturah pod lediščem.
Baterije ne zavrzite v ogenj, saj lahko eksplodirajo. Baterije lahko eksplodirajo tudi, ce so poškodovane. Baterije zavrzite v skladu z lokalnimi uredbami. Po možnosti jih recikliraje. Baterije ne zavrzite med gospodinjske odpadke.
Na breziche naprave lahko vplivoj šumi baterije, kar lahko vpliva na učinek.
Zamenjava baterijee
Prenosnik uporablja litjske baterije. Baterijo zamenjaje z istim tipom baterije, ki ste jo dobili z izdelkom. Uporaba druge baterije lahko predstavlja nevarnost požara ali eksplozije.

Opozorilo! Pri nepravilnem rokovanje lahko baterije eksplodirajo. Baterij ne razstavljaje ali zavrzte v ogenj. Držite jih vstran od otrok. Sledite lokalmim uredbam za odstranjevanje rabljenih baterij.
Opozorilo o opticnem pogonu (le na dolocenih modelih)
Pozor: Ta naprava vsebuje laserski systemd in se uvršca med „LASERSKE IZDELKE RAZREDA 1". V primeru kakrsnih koli težav s to napravo, prosimo kontaktirajte svoj najblžji POOBLASÇENI servisi center. Da ne bi prislo do neposredne izpostavljenosti laserskemu Žarku, ohiša naprave ne poskušajte odpirati.
LASERSKI IZDELEK RAZREDA 1
POZOR: NEVIDNO LASERSKO SEVANJE PRI ODPRTJU. IZOGIBAJTE SE
IZPOSTAVLJANJU NA ZAREK.
APPAREIL A LASER DE CLASSE 1 PRODUIT
LASERATTENTION: RADIATION DU FAISCEAU LASER INVISIBLE EN CAS D'OUVERTURE. EVITTER TOUTE EXPOSITION AUX RAYONS.
LUOKAN 1 LASERLAITE LASER KLASSE 1
VORSICHT: UNSICHTBARE LASERSTRAHLUNG, WENN ABDECKUNG GEOFFNET NICT DEM STRAHLL AUSSETZEN
PRODUCTO LÁSER DE LA CLASE I
ADVERTENCIA: RADIACION LÁSER INVISIBLE AL SER ABIERTO. EVITE EXPONERSE A LOS RAYOS.
ADVARSEL: LASERSTRÁLING VEDÁBNING SE IKKE IND I STRÁLEN.
VARO! LAVATTAESSA OLET ALTTINA LASERSATEILLYLLE.
VARNING: LASERSTRÄLNING NÄR DENNA DEL ÅR ÖPPNAD ÅLÅ TUIJOTA SÄTEESEENSTIRRA EJ IN I STRÄLEN
VARNING: LASERSTRÁLNING NAR DENNA DEL ÅR ÖPPNADSTIRRA EJ IN I STRÄLEN
ADVARSEL: LASERSTRÄLING NAR DEKSEL ÅPNESSTIRR IKKE INN I STRÄLEN
Varnost telefonske linije
- Ko telefonske linije niso v uporabi in/ali pred servisom jih izključite.
Da bi se izognili nevarnosti elektricnega udara iz strele, Telefonse linije neprikljucite v to opremo med bliskanjem ali nevihtami.

Oporzorilo! Iz varnostnih razlogov ne uporabljajte nezdružljivih delov, ko dodajate ali zamenjujete componente. Za nakup kontaktirajte vašega prodajalca.
Delovno okolje

Oporzorilo! Iz varnostnih razlogov izkliguste vse breziciene ali radijske naprave, ko uporabljate prenosnik pod naslednjimi pogoji: Med te naprave lahko spadajo, ampak niso omejene na: brezicino omrezej (WLAN), Bluetooth in/ali 3G.
Sledite vsem posebnim uredbam na območijih in napravo zmeraj izključite, ko je njena uporaba prepovedana ali ko lahko povzroči motnje ali nevarnost. Napravo uporabljajte samo v njenih normalnih delovnih položajih. Naprava je v skladu s smernicami o izpostavljenosti na radijsko frekvenco in antenna je postavljena vsaj 1,5 centimetrov (5/8 inčev) vstran od vašega telesa (glejtse spodnjо sliko). Ne sme vsebovati kovin in napravo morate postaviti vstran od telesa nad doloceno razdaljo. Za uspešen prenos podatkovnih datotek ali sporočil, naprava potrebuje dobro povezavo na omrežje. V nekaterih primerih se prenos podatkovnih datotek ali sporočil izvede z zamikom, dokler primerna povezava ni na voljo. Prepričajte se, da upostevate zgoraj zapisana navodila o razdalji, dokler se prenos ne zakljuci.
Deli naprave so magnetni. Naprava lahko privlači kovinske dele in osebe s slušnimi pripomočki ne smejo držati napravo pri ušesu s slušnim pripomočkom. V blžino naprave ne postavljaje kreditinih kartic ali drugih medijev z magnetnim shranjevanjem, saj se lahko shranjene informacije izbrišeo.
yiii
Medicinske naprave
Uporaba radijske opreme, skupaj z brezzičnimi Telefoni, lahko moti delovanje nepravilno zašcitenih medicinskih naprav. Posvetujte se z zdravnikom ali proizvajalcem medicinske opreme, da dolocite ali je primerno zašcitena pred zunanjo radijsko energijo ali Če imate kakšna vprašanja. Napravo izključite v medicinskih ustanovah, kjer urede be dolocajo. Bolnišnice ali zdravstvene ustanove lahko uporabljao opremo, ki je lahko občutljiva na zunanje radijske prenose.
Srčni vzpodbujevalniki. Proizvajalci srčnih vzpodbujevalnikov priporoćazo, da med brežićno napravo in srčnim vzpodbujevalnkom vzdřujete minimalno razdaljo 15,3 centimetrov (6 inčev), da se izognete要考虑 motnjam. Ta priporoćila se ujemajo z neodvisno raziskavo in priporoćili Wireless Technology Research.
Osebe s srčnimi vzpodbujevalniki raj naredijo naslednje:
- Napravo zmeraj držite več kot 15,3 centimetrov (6 inčev) vstran od srčega vzpodbujevalnika.
Vključene napravne nosite v blizini srčega vzpodbujevalnika. Če sumite na motnje, napravo izključite in jo premaknite.
Slušni pripomovički. Nekatere digitalne brežične naprave lahko motijo delovanje nekaterih slušnih pripomovičkov. Če pride do motenj se posvetujte s serviserjem.
Vozila
Radijski signali lahko vplivajo na nepravilno namešcene ali neprimerno zašcitene elektronske sisteme v motorjih vozil, kot so sistemi elektronskega vbrizga goriva, elektronskega protizdrsnega (protizaklepnega) zavormegaSYSTEMA, sistemov za elektronski nadzor hitrosti in sistemov zračnih blatzin. Za več informacij preverite pri proizvajalcu ali predstavniku vašega vozila ali opreme, ki je bila dodana. Napravo njaj servisira ali namešca v vozilo samo usposobljeno osebje. Napačna montaža ali servis sta lahko nevarna in prekineta garancije, ki veljazo za napravo. Redno preverjaje, da je brežična oprema v vašem vozilu deluje pravilino in je pravlino montirana. Ne shranujte ali nosite vnetljivih tekočin, plinov ali eksplozivnega materiala v enakem predelku kot napravo, njene dele ali izboljšave. Upostvejte, da se pri vozilih opremljenih z zračnimi blazinami le-te napihnejo z veliko silo. Na podroćje zračne blazine ali v podroćje namestitve zračne blazine ne postavljate predmetov, tudi namešcene ali prenosne brežične opreme. Če je vgrajena brežična oprema neprimerno namešcena in se zračna blazina napihne, lahko pride do resnih poškodb. Uporaba naprave med letenjem v letalu je prepovedana. Preden se vkrcate v letalo, napravo izključite. Uporaba brežči.nih telenaprav na letalu je lahko nevarna za delovanje letala, prekine brežči no telefonsko omrežje in je lahko nezakonita.
Potencialno eksplozivna okolja
V območju s potencialno eksplozivno atmosfero, napravo izključite in upoštevajte vse znake in navodila. Med potencialno eksplozivne atmosfere spadajo območja, kjer je priporočljivo, da izključite motor vašega vozila. Iskre na takšnih območjih lahko povzročijo eksplozijo ali požar in rezultat tega so telesne poškodbe ali celo smrt. Napravo izključite v blžini napajalnih točko kot so Čpalke za gorivo na
bencinskih Črpalkah. Upoštevajte omejitve o uporabi radijske opreme v skladisčih, depojih in distribucijskih območjih za gorivo; kemijsih tovarnah; ali na območjih, kjer poteka razstreljevanje. Območja s potencialno eksplozivno atmosfero so vecinoma, ampak ne zmeraj, označena. Med območja spadajo podpalubja na ladjah, prostori za kemične prenose in hrambo, vozila, ki uporabljago utekočjinen petrolejski plin (kot sta proban ali butan) in območja v katerih zrak vsebuje kemikalije ali delčke kot so zrna, prah ali kovinski prahovi. Prenosnika ne vklučite na območju, kjer je prepovedana uporaba brežičega Telefona ali ko lahko povzročite šume ali nevarnost.
Klici v sili
Opozorilo: Preko te naprave ne morete izvajati klicev v sili. Za klic v sili moratePoklicati preko mobilega Telefona ali drugega Telefonseka problema.
Navodila za odstranitev
Elektronske naprave ne zavrzite v smeti. Za zmanjsanje onesnaževanja in zašcito globalega okolja vas prosimo, da napravo reciklrate. Za več informacij o uredbah Waste from Electrical and Electronics Equipment (WEEE) obišcite http://www.acer-group.com/public/Sustainability/sustainability01.htm.

Za projektorje z zharnico ali elektronske izdelke, ki vsebujejo monitor alizaslon brez osvetlitve LCD/CRT: Zarnice znotraj izdelka vsebujejo zivo srebro in jih je treba reciklirati ali zavreci v skladu z lokalnimi, državnimi ali zveznimi zakoni. Za več informacij kontaktirajte Electronic Industries Alliance na www.eiae.org. za informacije o odlaganju zharnice poglejte www.lamprecycle.org.

ENERGY STAR

ENERGY STAR
Acerjevi izdelki ENERGY STAR vam prihranijo denar z
zmanjševanjem stroškov energije in šcittijo okolje, brez da bi
žrtvovali funkcionalnost in učinkovitost. Acer svojim strankam
ponosno nudi izdelke z oznako ENERGY STAR.
Kaj je ENERGY STAR?
Izdeli k oznako ENERGY STAR porabijo manj energije in preprecujejo emisije toplogrednih plinov z upoštevanjem strogih smernic energijske učinkovitosti, ki sta jih postavila Ameriška agencija za zašćito okolja (US Environmental Protection Agency). Acer si prizadeva po vsem svetu ponujati izdelke, ki bodo potrošnikom pomagali pri varčevanju denarja, energije in pomagali izboljiševati kakovost okolja. Več energia prihranimo z večjo energetsko učinkovitostjo, več toplogrednih plinov in tveganj podnebnih spremb preprećimo. Za več informacij glejte http://www.energystar.gov in http://www.energystar.gov/powermanagement.
X
Acerjevi izdelki ENERGY STAR:
- Oddajajo manj toplate in zmanjsujejo hladline obretenite in v toplejsih podnebnih razmerah delujeo bolje.
- Samodejna vklučitev „mirovanja zaslona“ ali „mirovanja računalnika“ po 10 oziroma 30 minutah nedelovanja.
- Računalnik zbudite iz načina mirovanja s pritiskom na tipko na tipkovnici ali s premikom miške.
- Računalniki prihranijo več kot 80% energhije v načinu „mirovanja".
Ime ENERGY STAR in oznaka ENERGY STAR sta registrarani ameriški blagovni znamki.
Napotki in informacije za udobno uporabo
Uporabniki računalnika lahko tožijo zaradi bolečih oci in glavobola po dolgotrajni uporabi. Uporabniki tvegaj tudi telesne poskodbe po delu pred računalnikom za vec ur. Daljša delovna obdobja, nepravilna drža, slabe delovne navade, stres, neprimerni delovni pogoji, zdravje in drugi faktorji zelo povečaje nevarnost telesnih poskodb.
Nepravilna uporaba računalnika lahko privede do sindroma zapestnega kanala, tendonitisa, tenoznovitisa in drugih mišićin in skeletnih nepravilnosti. V dlaneh, zapestjih, rokah, ramenih, vratu ali hrbtu se lahko pojavijo naslednji simptomi:
- otrplost ali občutek Žarenja ali mravljincev
- bolečine, razdražljivost ali občutljivost
- bolečina, otekanje ali drhtenje
pretegnjenost ali utesnjenost - hladnota ali slabost
Če imate te simptome ali katerekoli drugi ponavljacoce se ali nenehne bolecine in/ali bolecine povezane z uporabo računalnika, se takoj posvetujte z zdravnikom in obvestite oddelke za zdravje in varnost v vašem podjetju.
Naslednji razdelek nudi namige za bolj udobno uporabo računalnika.
Iskanje cone ugodja
Cono ugodja najdete talok, da nastavite vidni kot monitorja, uporabite počivalo za nogé ali dvignete sedež, da dosežete maksimalno udobje. Upoštevajte naslednje napotke:
ne ostajite dalj casa v enem fiksnepolozaju
ne pripoqibaite se naprei in/ali nazai
redno se vstanite in sprehodite, da odstranite napetost y noznih mišicah
- yzamite si kratke odmore, da sprostite vrat in ramena
- mišic ne napenjaite ali skomigaite z rameni
- pravilno in znotraj udobnega dosega namestite zunanji zaslon, tipkovnico in miško
- Če veç gledate v monitor kot svoje dokumente, postavite zaslon na sredino mize, da zmanjšate napetost v vratu
Skrb za vaš vid
Dolge ure gledanja, uporaba nepravilnih očal ali leč, blešćenje, prekomerna osvetlitev sobe, slabo izostreni zasloni, majhmapisave in zasloni z nizkim kontrastom lahko utrudijo vaše oči. Naslednji razdelki nudijo napotke kako zmanjsati napor za oči.
Oci
Rednospojitevaoseo.
- Redno sprošćajte oči takо, da pogledate vstran od monitorja in pogledate na oddajeno točko.
Redno mezikajte, da preprecite susenje oci.
Zaslon
Zaslon naj bo cist.
- Glavo imeje visje kot zgornji rob zaslona tak, da so oci usmerjene navzdol, ko gledate na sredino zaslona.
- Prilagodite svetlost in/ali kontrast zaslona na udoben nivo za izboljsano berljivost in jasnost grafik.
- Odstranite bleščanje in odboje:
-zaslon postavite takto, da strani gledajo proti oknu ali viru svetlobe
zmanjsajte osvetjenost sare z zastori, sencili ali roletami
- uporabite namensko luč
spremenite vidni kotzaslona
- uporabite filter za zmanjševanje blešcanja
- uporabite vizir zazaslon, na primer kos kartona, ki je nameščena na sprednji robzaslona
Zaslona ne prilagodite na nenavaden vidni kot.
- Ne glejte dalj Časa v svetle vire svetlobe, kot so odpra okna.
Razvijte dobre delovne navade
Razvijte naslednje delovne navade, da bo uporaba računalnika bolj sprošćujoča in produktivna:
Redno in pogosto si jemljite odmore.
Naredite vaje za raztegovanje.
- Cimbolj pogosto vdirhujte svez zrak.
Redno telovadite in vzdržujte zdravo telo.

Opozorilo! Ne priporošamo vam uporabe računalnika na kavču ali postelji. Če se temu ne morete izogniti, delajte le kratekČase, pogosto si v Zamite odmor in se raztegujte.

Opomba: Za več informacij glejte "Uredbe in varnostna obvestila" na strani 35.
X
Prvo kot prvo
Želimo se vam Zahvaliti, ker ste za zadovoljevanje prenosnih računalniških potreb izbrali prenosnik Acer.
Vaša navodila
Za pomoč pri uporabi vašega prenosnika Acer, smo izdelali paket navodil:
Za začetak vam plakat Za začetak... pomaga pri nastavljanju vašega računalnika.
Spoš uporabniški priročnik serije TravelMate vsebuje uporabne informacije, ki veljazo za vse modele serije izdelkov TravelMate. Pokriva osnovne teme, kot so Acer eRecovery Management, uporabo tipkovnice, nastavitev avdio itd. Prosimo, da upostevecate, da bosta se Spoš uporabniški priročnik kot tudi Uporabniški priročnik AcerSystem (AcerSystem User Guide) omenjen spodaj, zaradi svoje splošne narave včasih nanašala na funkcjie ali lastnosti, ki jih imajo le nekateri modeli iz serije, ne pa nujno tudi model, ki ste ga kupili. Takšni primeri so označeni z napisom „velja le za dolocene modele".
Hitri vodic vsebuje osnovne funkcije vašega novega računalnika. Za več infromacije o tem kako vam lahko računalnik pomaga postati bolj produktve, prosimo glejte Uporabniški priročnik AcerSystem (AcerSystem User Guide). Ta navodila vsebujejo podrobne informacije o systemskih pripopočikh, obnovi podatkov, možnostih razširvice in odpravljanju težav. Poleg tega vsebuje garancjske informacije in splošne urede in varnostna obvestila za vaš prenosnik. Navodila so na voljo v obliki prenosega dokumenta (PDF) in so naložena na vaš prenosnik. Za navodila sledite tem korakom:
1 Kliknite Start, Vsi programi, AcerSystem.
2 Kliknite na Uporabniiski priročnik AcerSystem (AcerSystem User Guide).
Start, Vsi programi, AcerSystem.


Opomba: Za pregledovanje datoteke potrebujete Adobe Reader. Če Adobe Reader ni namesčen na računalnik se bo zignant namestitveni program Adobe Reader, ko kliknete na Uporabniški priročnik AcerSystem (AcerSystem User Guide). Za zakljucek postopka sledite navodilom na zaslonu. Za navodila o uporabi Adobe Reader, odprite meni Help and Support.
Osnovno vzdrževanje in napotki za uporabo računalnik
Vklop in izklop računalnika.
Za vklop računalnika pritsnite in spustite tipko za vklop pod zaslonom LCD, poleg tipk za enostaven zagon. Da bi poiskali tipko za vklop, glejte „Hitri vodič".
Za izklop izvedite naslednje:
- Uporabite ukaz za zaustavitev programa Windows Kliknite Start in nato Zaustavitev.
- Uporabite tipko za vklop. Postavite računalnik v način mirovanja takto, da pritisnete
+ .

Opomba: Če računalnika ne morete normalnougasniti, pritsinite in držite tipko za vklop za več kot štiri sekunde, da izključite računalnik. Če računalnik izključite in gaŽelite znova vključiti, počakajte rajmanj dve sekundi pred vklopom.
- Adapterja ne pirklučujte na drugo naprvo.
- Po napetostnem kablu ne stopajte in nanj ne postavljajte težkih predmetov. Pazljivo umaknite napetostni kabel in ostale kable vstran od prehodnih poti.
- Napetostega kabla ne izkljucite takto, da ga povlecate za kabel, ampak ga povlecite za vtikač.
- Skupna amperska vrednost priključene opreme ne sme presegati amperske vrednosti kabla,Če uporabljate podaljiševalni kabel. Prav takno sme skupna vrednost toka vse opreme, priključene v eno vticnico presegati vrednosti varovalke.
xiv
Skrb za baterijo
Tukaj je nekaj načinov kako skrbeti za baterijo:
- Za nadomestne baterije uporabljajte le baterije istega tipa. Pred odstranjevanjem ali zamenjavo baterij izključite napetost.
- Ne posegajte v baterije. Držite jih vstran od otrok.
- Uporabljene baterije zavrzite v skladu z lokalmimi uredbami. Po możnosti jo reciklirajte.
Čiščenje in servis
Pri cišćenju računalnika sledite naslednjim navodilom:
1 Računalnik izkljuci in odstranite baterijo.
Izklijucite AC adapter.
3 Uporabite mehko, vlaznno krpo. Ne uporabljaje tekocin ali razprsilnih cistilcev.
Ce se zgodi eno od naslednjega:
- računalnik je padel na tla oziroma telo se je poskodovalo
računalnik ne deluje normalno.
prosimo glejte "Najpogosteje postavljena vprasnja" na strani 31.
Informacione za va so varnost in ugodje iii
Varnostna navodila iii
Opozorilo o opticem pogonu (le na določenih modelih) vi
Delovno okolje vi
Medicinske naprave viii
Vozila viii
Potencialno eksplozivna okolja viii
Klici v sili ix
Navodila za odstranitev ix
Nasveti za zivo srebro ix
ENERGY STAR ix
Napotki in informacione za udobno uporabo
Prvo kot prvo xii
Vaša navodila xii
Osnovno vzdrrzevanje in napotki za uporabo računalnik xii
Vklop in izklop računalnika. xii
Osnovereynanja s slediln plošco (s citalcem prstnih oditsov) 1
Osnove ravnanja s sledilno plošco (z gumbi za dvakratni klik) 2
Uporaba tipkovnice 3
Tipke za zaklep in vgrajena numerična tipkovnica* 3
Tipke Windows 4
Zvok 5
Acer PureZone (le na dolocenih modelih) 5
Video 5
Zaslon 16:9 (le na dolocenih modelih) 5
Uporaba systemskih pripomočkov 6
Acer Bio-Protection (le na dolocenih modelih) 6
Zapisovanje diskov z varnostno kopijo 10
Obnovi 11
Obnavljanje Windows iz diskov z varnostimi kopijami 12
Baterija 14
Značilnosti baterije 14
Nameščanje in odstranjevanje baterije 15
Polnjenje baterije 16
Preverjanje nivoja baterije 16
Izklop iz namizja 18
Premikanje 18
Posebna pazljivost 20
Postavitev domače pisarne 20
Razširitev preko možnosti 24
Možnosti povezljivosti 24
Faks/podatkovni modem (le na dolocenih modelih) 24
Vgrajene omrežne funkcije 25
Univerzalno serijsko vodilo (USB) 25
Vhod IEEE 1394 (le na dolocenih modelih) 26
Visokoločljivostni večpredstavnostni vmesnik
(le na dolocenih modelih) 26
ExpressCard (le na dolocenih modelih) 27
Nameščanje pomnilnika 28
Pripomoček BIOS 29
Zagonska sekvenca 29
Omogocanje obnovitve disk na disk 29
Geslo 29
Uporaba programske opreme 30
Predvajanje DVD filmov 30
Najpogosteje postavljena vprašanja 31
Zahteva po servisu 33
Odpravljanje napak 34
Napotki za odpravljanje težav 34
Sporocila o napakah 34
Uredbe in varnostna obvestila 35
Izjava FCC 35
Obvestila za modem (le na dolocenih modelih) 36
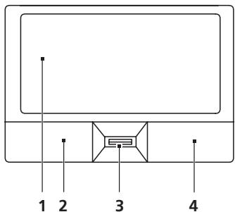
Vgrajena sledilna plošca je naprava, ki zaznava premike na svoji povrsini.
To pomeni, da se kurzor odzove, ko premikate prste po povrsini sledilne naprave.
Osrednji položaj na podpori za dlani nudi optimalno udobje in podporo.
Osnove ravnanja s sledilno plošćo (s Čitalcem prstnih odtisov)
Naslednje tocke vam prikazujejo kako uporabljati sledilno tocko s citalcem prstnih odtisov Acer BioProtection.
- Premikajte prste po sledilni plošči (1), da premaknete kurzor.
- Pritisnite levo (2) in desno (4) tipko, ki se nahajata pod sledilno plošćo, da izvedete funkcjije izbira in zagona. Ti dve tipki sta podobnji levi in desni tipki na miški. Rahlo dotikanje sledilne plošće je enako kot klikanje leve tipke.

| Funkcija | Leva tipka (2) | Desna tipka (4) | Glavna sledilna plošča (1) | Srednja tipka (3) |
| Zaženi | Dvakrat hitro pritisnite. | Dvakrat se dotaknite (z enako hitrostjokot pri dvojinem klikuna na tipko miške). | ||
| Izbira | Enkrat kliknite. | Enkrat se dotaknite. | ||
| Vlečenje | Kliknite in držite in nato s prstom na sledilni plošči premikajte kurzor. | Dvakrat se dotaknite (z enako hitrostjokot pri dvojinem klikuna na tipko miške); ob drugem dotiku naj prst počiva na sledilini plošči in nato povlecite kurzor. | ||
| Dostop do priročnega menija | Enkrat kliknite. |
Osnove ravnanja s sledilno plošćo (z gumbi za dvakratni klik)
Naslednje točke vam prikazujejo kako uporabljati sledilno plošćo z gumbi za dvakratni klik.
- Premikajte prste po sledilni plošči, da premaknete kurzor.
- Pritisnite levo in desno tipko, ki se nahajata pod slediln o ploščo, da izvedete funkcjie izbira in zagona. Ti dve tipki sta podobni levi in desni tipki na miški. Rahlo dotikanje sledilne plošče je enako kot klikanje leve tipke.
| Funkcija | Leva tipka | Desna tipka | Glavna sledilna plošča |
| Zaženi | Dvakrat hitro pritisnite. | Dvakrat se dotaknite (z enako hitrostjo kot pri dvojem kliku na tipko miške). | |
| Izbira | Enkat kliknite. | Enkat se dotaknite. | |
| Vlečenje | Kliknite in držite in nato s prstom na sledilni plošči premikajte kurzor. | Dvakrat se dotaknite (z enako hitrostjo kot pri dvojem kliku na tipko miške); ob drugem dotiku njat prst počiva na sledilni plošči in nato povlecite kurzor. | |
| Dostop do priročnega menija | Enkat kliknite. |

Opomba: Ilustraciye so le del splošnih napotkov. Dejanska konfiguracija vašega PC-ja je odvisna od kuplejenega modela.

Opomba: Ko uporabljate sledilno plošćo, naj bo le-ta — in vasi prsti — suhi in Čisti. Sledilna plošča je občutljiva na premike prstov; zaradi tega je odživ boljsi, Če je dotik bolj rahel. Močnejše dotikanje ne bo izboljsalo odživnosti' sledilne plošće.

Opomba: Po privzetem je navpično in vodoravn odrsenje omogoceno na vaši sledilni plošć. Drsenje lahko onemogocite pod Nastavitvami miske v nadzorni plošć v Windowsih.
Uporaba tipkovnice
Ta tipkovnica ima tipke polne velikosti in vgrajeno numerično tipkolnico*, ločene kurzorje, tipko za zaklep, tipko Windows ter funkcijske in posebne tipke.
Tipke za zaklep in vgrajena numerična tipkovnica*
Tipkovnica imatripke za zaklep,ki jih lahko vklučite ali izključite.
| Tipka za zaklep | Opis | |
| Caps Lock | Ko je tipka Caps Lock vklučena so vsi znaki napisani z veliko začetnico. | |
| Num Lock <Fn> + <F11>* | Ko je tipka Num Lock vklučena je vgrajena številčnica v numeričnem načinu. Tipke funkcionirajo kot kalkulator (skupaj z aritmetičnimi operatorij +, -, * in /). Ta način uporabite, ko morate vnašate dosti numeričnih podatkov. Boljša rešitev bi bila priključitev zunanje tipkovnice. | |
| Scroll Lock <Fn> + <F12> | Ko je tipka Scroll Lock vklučena sezaslon pomika gor in dol za eno vrstico, ko pritsinete smerne tipke za pomikanje gor in dol. Tipka Scroll Lock ne deluje v nefaterih programih. | |
| Vgrajena numerična tipkovnica deluje kot namizna numerična tipkovnica. Številke so označene z malimi znaki, ki se nahajao v zgornjem desnem kotu tipke. Za poenostavitev legende tipkovnice, simboli kurzorjev niso natisnjeni na tipke. | ||
| Želen dostop | Num Lock vklučena | Num Lock izključena |
| Številčne tipke na vgrajeni tipkovnici | Pisanje števik na običajen način. | |
| Kurzorske tipke na vgrajeni tipkovnici. | Držite tipko <Shift> medtem ko uporabljate kurzorske tipke. | Držite tipko <Fn> medtem ko uporabljate kurzorske tipke. |
| Tipke glavne tipkovnice | Držite tipko <Fn> medtem ko tipkate Črke na vgrajeni tipkovnici. | Pisanje Črk na običajen način. |
- le na določenih modelih
Tipke Windows
| Tipka | Opis |
| Tipka Windows | Ta tipka ima enak učinek, ko Če kliknete na tipko Windows Start; zažene meni Start. Tipko lahko uporabljate v povezavi z drugimi tipkami za ostale funkcjë: < ➕: Odprite ali zaprite meni Start < ➕ > + <D>: Prikaže namizje < ➕ > + <E>: Odpre Raziskovalec < ➕ > + <F>: Iskanje datoteke ali mape < ➕ > + <G>: Pomikanje po pripopožćih v stranskij vrstici < ➕ > + <L>: Zaklene računalnik (Če ste priključeni na omrežno domeno) ali preklopi med uporabniki (Če niste priključeni na omrežno domeno) < ➕ > + <M>: Minimira vsa okna < ➕ > + <R>: Odpré pogovorno okno Zaženi < ➕ > + <T>: Pomikanje po programih v opravilni vrstici < ➕ > + <U>: Odpre Središće za dostopnost < ➕ > + <X>: Odpré Središće za prenosni računalnik < ➕ > + <BREAK>: Prikaže pogovorno okno Sistemske lastnosti < ➕ > + <SHIFT+M>: Obnovi minimizirana okna na namizje < ➕ > + <TAB>: Pomikanje po programih v opravilni vrstici z Windows Flip 3-D < ➕ > + <SPACEBAR>: Prikaže vse pripopožće in izbere stransko vrstico Windows <CTRL> + < ➕ > + <F>: Iskanje računalnikov (Če ste na omrežju) <CTRL> + < ➕ > + <TAB>: Uporabite smerne tipke za pomikanje po programih v opravilni vrstici z Windows Flip 3-D Opomba: Delovanje opisanih bližnjic je odvisno od razljice Windows. |
| Tipka za program | Ta tipka ima enak učinek kot desni klik na miški; odpre prirožni meni programa. |
Zvok
Računalnik ima vgrajeno tudi 32-bitno visokolocljivostno (HD) zvočno kartico in zvočnik(e).
Acer PureZone (le na dolocenih modelih)
Sistem nudi povsem novo izkušnjo zvoka, skupaj z Acer PureZone z vgrajenima mikrofonoma stereo, ki vklučujeta technologiji oblikovanjažarkov in odpravljanja odmevov. Tehnologija Acer PureZone podpira odstranjevanje odmevov, ustvaranježarkov in zaviranje hrupa za cistno snemanje zvoke. Za nastavitev mikrofona zaženite Acer HD Audio Manager, takdo dvakrat kliknete ikono Acer HD Audio Manager v systemski vrstici vašegaSYSTEM Windows. Odpre se pogovorno okno Acer HD Audio Manager. Kliknite zavihek Mikrofon in nato kliknite zavihek Učinki mikrofona. Izberite možnost Oblikovanježarka in Akustićno odstranjevanje odmevov, da bi nastavili učinek mikrofona.

Opomba: Onemogocite ustvarjanje zarka za večzvočni vchod.
Video
Zaslon 16:9 (le na določenih modeli)
Zaslon 16:9 prikazuje这部电影 v polni ločljivosti HD kot še nikoli. Izjemno visoka nasičenost barv vam jamči edinstveno doživetje ob gledanju v ločljivosti HD. Kakovost 16:9 pomeni, da se prava slika hišega kina končno prispela tudi za navdušence nad prenosno zapavo.
Uporaba systemskih pripomočkov
Acer Bio-Protection (le na dolocenih modelih)
Acer Bio-Protection Fingerprint Solution je večnamenski programski paket za prstne odtise, ki je integriran z operacjskim systemom Microsoft Windows. Z uporabo edinstvenosti osebnega prstnega odtisa funkcija Acer Bio-Protection Fingerprint Solution omogoca zašćito pred dostopom nepooblašćenih oseb do vašega računalnika z osrednjim upravljanje gamel s pomoćjo banke gamel; za hitro zaganjanje in vpisovanje v aplikacije ter spljetna mesta pa bo poskrbel Acer FingerLaunch.
Z Acer Bio-Protection Fingerprint Solution lahko uživate v dodatnem sloju zašcite za vaš osebni računalnik, kot tudi v enostavnosti dostopa do dnevnih oprvil z enostavnim odčitavanjem vašega prsta!
Za več informacij poglejte v datoteke s pomočjo za Acer Bio-Protection.

Acer Backup Manager

Opomba: Ta funkcija je na voljo le pri nekaterih modelih.
Acer Backup Manager je preprost postopek s tremi koraki, ki vam omogoca izdelavo varnostnih kopij vašega celotnegaSYSTEMA ali izbranih datotek in map v skladu s programom ali po potrebi.
Za zagon Acer Backup Managerja, pritisnite tipko Acer Backup Manager nad tipkovnico. Zaženetete ga lahko tudi s potjo Start > Vsi programi > Acer Backup Manager > Acer Backup Manager. Tako se bo odprl začetni zaslon; s tega zaslona boste s tremi koraki vodeni skozi priapravo programiranih varnostihn kopij. Kliknite Nadaluj, da bi nadaljevali na naslednjem zaslonu. Klikate gumb + in sledite navodilom na zaslonu:
1 Izberite vsebino, za katero zeilite ustvariti varnostno kopijo. Manj vsebine izberete, hitreji bo postopek, vendar bo tveganje izgube podatkov veceje.
2 Izberite mesto, kamor zeIte shraniti varnostne kopije. Morali boste izbrati zunanji pogona ali vaš pogon D.; Acer Backup Manager ne omogoča shranjevanja varnostne kopije na izvorni pogon.
3 Izberite, kako pogosto zeilite izdelati varnostne kopije z Acer Backup Manager.
Ko ste izvedli te tri korake, bodo varnostne kopije izdelane po Časovnem programu.
Varnostne kopije lahko izdelate tudi ročno s pritiskom na tipko Acer Backup Manager.
Čeželite svoje nastavitve kadarkoli spremeniti, zaženite Acer Backup Manager z menija Start in izvedite korake, opisane zgoraj.

Upravljanje z napajanjem
Računalnik ima vgrajeno enoto za uporabljanje z napajanjem, ki nadzoruje aktivnostystema. Aktivnost systemd se nanaša na kakršno koli aktivnost, ki vkljucije eno alivečnaslednjih naprav: tipkovnica, miška, trdi disk, zunanje naprave, priključene na računalnik in video pomnilnik. Če v dolocen obdobiju (imenovanem tudi ācasovni iztekneaktivnosti) ni zaznana nobena aktivnost bo računalnik zaradi varčevanja zenergio zaustvil nekatere ali vse naprave.
Računalnik uporablja shemo upravljana z napajanjem, ki podpira napredno konfiguracijo in vmesnik napajanja (ACPI), kar oben omogoča maksimalno varčevanje z energijo in maksimalen učinek. Windows upravljza z vsemi opravili varčevanja z energijo.
Tipka Acer PowerSmart

Opomba: Ta funkcija je na voljo le pri nekaterih modelih.
Tipka Acer PowerSmart uporablja lastosti varčevanja z energia graficnega podsistema vašega računalnika, da bi zmanjsali splošno porabo energije. Ob pritisku na tipko Acer PowerSmart se svetlost zaslona zmanjsa, procesor graficne kartice se upočasni, vodilo PCI in WLAN pa se preklopita v način varčevanja z energia. Ponovno pritisnite tipko Acer PowerSmart, da bi ponastavili svoje nastavitve.
Acer eRecovery Management je orodje, ki omogoca hitro obnovitevSYSTEM.
Naredite lahko tudi varnostno kopijo/obnovite tovarniško privzeto sliko systema in ponovno namestite programe in gonilnike.

Opomba: Vsa naslednja vsebina je samo za splošne napotke.
Dejanski tehnici podatki izdelka so lahko drugačni.
Acer eRecovery Management se sestavlien iz naslednjih funkcj:
1 Varnostno kopiranje:
Ustvari disk tovarnisko privzetimi nastavitvami
Ustvarite disk z gonilniki in programi
2 Obnovi:
Povsem obnovi system na tovarnisko privzete nastavitve
- Obnovi operacijski system in obdrži uporabniške podatke
- Ponovna namestitev gonilnikov ali programov
To poglavje vas bo vodilo skozi vsak postopek.

Opomba: Ta funkcjja je na voljo le pri nekaterih modelih. Za sisteme, ki nimaoj vgrajenega zapisovalnika opticnih diskov, priklučite zunanji zapisovalnik opticnih diskov prede odprete postopke, povezane z opticnimi diski v programu Acer eRecovery Management.
Da bi uporabili moznost zašcite Acer eRecovery Management za zašcito vaših podatkov, morate najprej nastaviti geslo za. Geslo za nastavite z zagonom Acer eRecovery Management in kliknete na Nastavitve.

Zapisovanje diskov z varnostno kopijo
Iz strani za Varnostno kopiranje v Acer eRecovery Management lahko zapišete sliko s tovarniško privzetimi nastavitvami ali napravite varnostno kopijo gonilnikov in programov.
1 Kliknite Start, Vsi programi, Acer, Acer eRecovery Management.
2 Acer eRecovery Management se odpre na strani Obnovitev.

3 Izberite vrsto varnostne kopije (tovarnisko privzeto ali gonilniki in programi), ki bi ga radi zapisali na disk.
4 Za zakluček postopka sledite navodilom na zailonu.

Opomba: Tovarniško privzeto slikoSYSTEMA izdelajte, ko Želite zapisati zagonsko zgošćenko, ki vsebuje celoten operacijski system, kot vam je bil dobavljen iz tovarne. Če Želite zgošćenko, po kateri boste lahko brskali in z nje namestili izbrane gonilnike in programe, pa izdelajte varnostno kopijo z gonilniki in programi — takšna zgošćença ne bo zagonska.
Obnovi
Možnost obnovitve vam omogoca obnovitev ali okrevanjeSYSTEMA iz tovarniško privzete slike systemdalaiz predhodno ustvarjenih varnostnih kopij na CD-ju ali DVD- ju. Prav taklo lahko ponovno namesite programe in gonilnike vašega Acer systemdata.
1 Kliknite Start, Vsi programi, Acer, Acer eRecovery Management.
2 Preklopite na stran za Obnovitev s klikom na moznost Obnovitev.

3 Izberete lahko obnovitevistema iz tovarnisko privzete systemske slike ali pa pponovno namestitev programov in gonilnikov.
4 Za zakljucek postopka sledite navodilom na zaslonu.
Obnavljanje Windows iz diskov z varnostimi kopijami

Opomba: Ta funkcija je na voljo le pri nekaterih modelih.
Da bi iz predhodno zapisanih varnostnih kopij na diskih obnovili Windows, morate vstaviti prvi disk z varnostno kopijo in omogočiti Zagonski meni F12 v programu za nastavljanje v BIOS-u.
1 Vključte računalnik in v optični pogon vstavite prvi disk z varnostno kopijo systemd. Računalnik ponovno zaženite.
2 Med zaganjanjem, ko se prikaze Acerjev logotip, pritisnite tipko F2, da bi vstopili v BIOS Setup, kjer boste lahko prerligodili sistemske moznosti.
3 Z levo in desno smerno tipko izbirajte po glavnem podmeniju.
4 Z smerno tipko navzgor in navzdol izbirajte po Zagonskem meniju F12.
5 Uporabite tipko F5 ali F6, da bi spremenili możnost F12 Boot Menu (Zagonskega menija F12) na Enabled (Vključeno).
6 Pritisnite tipko ESC, da bi vstopili v podmeni Exit (Izhod) in pritisnite tipko ENTER (vnos) za Exit Saving Changes (izhod s shranjevanjem spremb). Ponovno pritsnite tipko ENTER, da bi izbrali Yes (Da). Sistem se bo ponovno zagnal.
7 Po ponovnem zagonu, ko se prikaze logotip Acer, pritisnite tipko F12 za vstov Boot Menu (Zagonski meni). Tukaj lahko izberete, iz katere naprave zelite zeilite zagnati systemd.
8 S smernimi tipkami izberite IDE1* in pritisnite tipko ENTER. Operacijski systemd Windows se bo namestil iz diska z varnostno kopijo.
9 Ko se pojavisporocilo,vstavite drugisk varnostno kopijo in sleditezaslonskim sporocilom, da bi izvedli obnovitev.
10 Ko je obnovitev konçana, disk z varnostno kopijo odstranite z opticnegapogona. To storite preden ponovno zaženete računalnik.
Čeželite nastaviti zagonske prioritete za dolgoročno uporabo, izberite podmeni Boot (Zagon).
1 Vključite računalnik in v optični pogon vstavite prvi disk z varnostno kopijo systemd. Računalnik ponovno zaženite.
2 Med zagananjem, ko se prikaze Acerjev logotip, pritisnite tipko F2, da bi vstopili v BIOS Setup, kjer boste lahko prilagodili sistemske moznosti.
3 Z levo in desno smerno tipko izbirajte po glavnem podmeniju Boot (Zagon).
4 Z smerno tipko navzgor in navzdol izbirajte po napravah IDE1.
5 S tipko F6 pomikajte napravo IDE1 do njavišje zagonske prioritete ali pa uporabite tipko F5, da bi drugim napravam znižali prioriteto. Preverite, ali je naprava IDE1* nastavljena na njavišjo prioriteto.
6 Pritisnite tipko ESC, da bi vstopili v podmeni Exit (Izhod) in pritisnite tipko ENTER (vnos) za Exit Saving Changes (izhod s shranjevanjem spremb). Ponovno pritsnite tipko ENTER, da bi izbrali Yes (Da). Sistem se bo ponovno zagnal.
7 Ko računalnik ponovno zaženete, se bo operacijski systemd Windows namestil iz diska z varnostno kopijo.
8 Ko se povavi sporocilo, vstavite drigi disk z varnostno kopijo in sleditezaslonskim sporocilom, da bi izvedli obnovitev.
9 Ko je obnovitev koncana, disk z varnostno kopijo odstranite z opticnega pogona. To storite preden ponovno zazenete računalnik.
Baterija
Računalnik uporablja baterijo, ki jo lahko med polnjeni dolgo uporabljate.
Značilnosti baterije
Baterija imasnaslednje značilnosti:
Vsebuje trenutne standarde tehnologije baterij.
- Opozarja pri slabi moči baterije.
Baterija se polni vsakokrat, ko računalnik priključite na AC adapter.
Vaš računalnik podpira poljenje med uporabo in omogoca, da se baterija polni medtem ko uporabljate računalnik. Vendarle, poljenje priugasjenem računalniku pomeni hitrejiši ācas poljenja.
Baterija je priročna med potovanjem ali ob izpadu elektrîne napetosti.
Priporočamo, da imate za vsak slučaj na voljo dodatno napoljeno baterijo.
O podrobnostih naročanja dodatne baterije, kontaktirajte vašega prodajalca.
Kot vse ostale baterije so bo tudi vaša baterija skozi ās poslabšala.
To pomeni, da se bo skozi ās in uporabo učinkovitost baterije slabšala.
Da bi maksimizirali Življenjsko dobo baterije, vam priporočamo, da upostevecate spodnja priporočila.
Klimatiziranje nove baterije
Pred prvo uporabo baterije morate slediti takto imenovanemu postopku "conditioning":
1 Vstavite novo baterijo ne da bi prižgali računalnik.
2 Prikljucite AC adapter in v celoti napolnite baterijo.
3 Izkljucite AC adapter.
4 Vključite računalnik in delajte z napetostjo iz baterije.
5 Baterijo v celoti izpraznite, dokler se ne prikaže opozorilo o prazni bateriji.
6 Ponovno priključite AC adapter in v celoti napolnite baterijo.
Te korake ponavljajte, dokler baterijne niste trikat napolnili in izpraznili.
Postopek klimatizacije uporabite za vse nove baterije ali za baterije, ki jih dalj chasa niste uporabljali. Ce boste računalnik shranili za vec kot dva tedna, vamp priporočamo, da baterijo odstranite iz enote.

Opozorilo: Baterije ne izpostavljaje temperaturam pod 0^ (32^) ali nad 45^ (113^) . Ekstremne temperature lahko skodljivo vplivajo na baterijo.
S postopkom klimatiziranja baterijo prijavite do tega, da sprejme maksimalen mozen naboj. Če postopku ne boste sledili, ne boste dobili maksimalnega naboja baterije, kar bo tudi skrajšalo učinkovitoŽiviljensko dobo baterije.
Poleg tega na uporabnoŽivljenjsko硬度baterije slabo vpliva še naslednje:
- Konstantna uporaba računalnika na napetosti AC z vstavljeno baterijo. ČeŽelite konstantno uporabljat napetost AC, vam priporočamo, da odstranite baterijo, ko se v celoti napolni.
- Ne praznjenje in polnjenje baterije do ekstremov, kot je opisano zgoraj.
- Redna uporaba; več kot uporabljate baterijo, hitreje bo dosegla konec svoje učinkovitosti. Standardna računalniška baterija imaŽivljensko dobo približo 300 polnjenj.
Nameščanje in odstranjevanje baterije

Pomembno! Pred odstranjevanjem baterije iz enote, priključite AC adapter, Če Želite nadaljevati z uporabo računalnika. V nasprotnem原則u njprej izključite računalnik.
Zanameščanje baterije:
1 Poravnajte baterijo z odprtim predelom za baterijo; prepričaje se, da bo del s kontakti vstopil majprej in da zgornja površina baterije gleda navzgor.
2 Potisnite baterijo v razdelek in rahlo pritisnite, dokler se baterija ne zaskoči.
Za odstranjevanje baterije:
1 Potisnite zapah za sprostitev baterije, da baterijo sprostite.
2 Izvlecite baterijo iz razdelka.
Polnjenje baterije
Da bi napolnili baterijo se Najprej prepričajte, da je le-ta pravilno namesčena. Vključite AC adapter v računalnik in ga priključite na vticnico. Z delom na računalniku lahko nadalujete na napetosti AC, medtem ko se vaša baterija polni. Vendorle, poljenje pri ugasnjenem računalniku pomeni hitrejiši ācas poljenanja.

Opomba: Priporočamo vam, da pred koncem dneva nopolnite baterijo. Polnjenje baterije preko noči pred potovanjem vam omogoca začeti naslednji dan s polno napoljeno baterijo.
Preverjanje nivoja baterije
Windows prikazovalnik porabe prikazuje trenuten nivo baterije. Postavite kurzor na ikono baterije/napetosti na orodni vrstici, da pogledate trenutno stanje baterije.
Z optimiziranjemŽivljenske dobe lahko njaveč izstisnete iz delovanja baterije, podaljsate cikel poljenja/ponovnega poljenja in izboljsate učinkovitost poljenja. Svetujemo vam, da sledite spodnjim predlogom:
Kupite dodatno baterijo.
- Uporabljaje napetost AC kadarkoli je mogoče in varčujte baterijo za uporabo na poti.
- Izvrzite PC kartico,重点领域, saj bo ta porabljala napetost (pri izbranih modelih).
- Baterijo hranite na hladnem, suhem mestu. Priporočena temperatura je od 10^ ( 50^ ) do 30^ ( 86^ ). Višje temperature lahko povzročijo, da se baterija hitreje prazni.
- Prekomerno polnjenje skrajsha zavljenjsko dobo baterije.
Pazite na AC adapter in baterijo.
Opozorilo o nizki polnosti baterije
Ko uporabljate baterijo, upostevajte Windows prikazovalnik porabe.

Opozorilo: Takoj, ko se prikaze opozorilo, priključite AC adapter. Če se baterija v celoti izprazni boste izgubili podatke in računalnik se bo ugasinil.
Ko se prikaže opozorilo o nizki polnosti baterije je priporočen ukrep odvisen od vaše situacije:
| Situacija | Priporočen ukrep |
| Na voljo sta ACadapter in vtičnica. | 1. Vključite AC adapter v računalnik in ga priključite na vtičnico.2. Shranite vse potrebne datoteke.3. Nadalujte z delom.Ugasnite računalnik, čeželite baterijo hitreje napoliniti. |
| Na voljo je dodatna,napolnjena baterija. | 1. Shranite vse potrebne datoteke.2. Zaprite vse programe.3. Zaprite operacijski system in ugasnite računalnik.4. Zamenjalte baterijo.5. Vključite računalnik in nadalujte z delom. |
| AC adapter in vtičnica nista na voljo. Nimate dodatne baterije. | 1. Shranite vse potrebne datoteke.2. Zaprite vse programe.3. Zaprite operacijski system in ugasnite računalnik. |
Vzamite svoj prenosni PC s sabo
Ta razdelek vam podaja nasvete in napotke, ko premikate ali potujete začunalnikom.
Izklop iz namizja
Sledite tem korakom, da izkliqucitračunalnik iz zunanjih pripomočkov:
1 Shranite vse odprte datoteke.
2 Odstranite vse medije, gibke diske ali kompaktne diske iz pogonov.
3 Ugasnite računalnik.
4 ZapritPokrovzaslona.
5 Izključite kabel iz AC adapterja.
6 Izkljucite tipkovnico, kazalno napravo, tiskalnik, zunanji monitor in druge zunanje naprave.
7 Izkligite kligcavnico Kensington, ce je uporabljate za varovanje raucunalnika.
Premikanje
Ko se premikate po krajshir razdaljah, na primer od pisarne do sare za sestanke.
Če je sestanek kratek ne boste potrebovali nicésar razen računalnka. Če bo sestanek daljši ali Če nimate napoljenih baterij boste s sabo vzeli AC adapter, da računalnik priključite v sobi za sestanke.
Če soba za sestanke nima elektricne vtičnice, zmanjsajte porabo baterije takto, da računalnik postavite v način mirovanja. Pritisnite
- Preverite ali ste odstranili vse medije in kompaktne diske iz pogonov. Če tega ne naredite lahko medij poskoduje glavo pogona.
- Pospravite računalnik v zašcitno prevleko, ki prepreči premike in blazino vprimeru, da vam računalnik pade na tla.

Pozor: PolegPokrova računalnika ne postavljaje nobenih predmetov.
Pritisk na zgornjiPokrov lahko poškodujezaslon.
Kaj vzetis sabo
Ce nimate doma nobenih stvari, vzameti sabo naslednje:
AC adapter in napetostni kabel
Natisnjeni Hitri vodic
Posebna pazljivost
Zmanjajte vpliv temperaturnih spremb tak, da imate raucunnik zmeraj s sabo.
- Če se morate ustaviti za dalj Časa in ne morete vzet računalnika s sabo ga pustite v avtomobilskemprtlažniku, da računalnika ne izpostavite na prekomerno vročino.
- Spremembe temperature in vlažnosti lahko povzročijo kondenz. Počakajte, da se računalnik ohladi na sobno temperaturo in preden ga vkljucite preverite za kondenzacijo na zaslonu. Če je temperaturna spremba vecja od 10^ (18 °F), pustite, da se računalnik počasi ohladi na sobno temperaturo. Po možnosti pustite računalnik 30 minut v okolju s temperaturo, ki je med zunanjo in sobno temperaturo.
Postavitev domače pisarne
Če redno delate na računalniku od doma, vam priporočamo nakup dodatnega AC adapterja za domačo uporabo. Z drugim AC adaptorjem se izognete nošenju dodatne teže domov in od doma.
Če doma uporabljate računalnik za dalj Časa, lahko razmislite od zunanji tipkovnici, monitorju in miški.
Ko se premikate na daljse razdalje, na primer od vaše pisarne do strankine pisarne ali lokalno potovanje.
Računalnik pripravite takotok, da bi ga nesli domov. Prepričajte se, da je baterija v računalniku napolnjena. Varnost na letališću lahko do vas zahteva, da računalnik vkljucite.
Kaj vzetis sabo
S sabo vzamite naslednje:
AC adapter
Dodatna, napoljena baterija
- Dodatne gonilnike za tiskalnik,Če nameravate uporabiti drugi tiskalnik
Posebna pazljivost
Poleg smernic pri odnašanju računalnika domov, sledite tem smernicam, da zašcit računalnik med potovanjem:
- Računalnik zmeraj v Zamite s sabo na letalo.
- Po możnostiNJ RAÇUNALNIK ročno pregledajo. Rentgenske naprave letališće varnosti so varne, ampak raçunalnika ne spustite skozi zaznavalca kovin.
- Izogibajte se izpostavljanju gibkih diskov na roche zaznavalce kovine.
S sabo vzamite naslednje:
AC adapter
Napetostne kable, ki so primerni za državo v katero potujete
Dodatna, napoljena baterija
Dodatne gonilnike za tiskalnik,Če nameravate uporabiti drugi tiskalnik
- Dokaz o nakupu vprimeru, da ga moratePokazati na carini
- Potni list International Travelers Warranty (ITW) (Mednarodna potovalna garancija)
Posebna pazljivost
Upostevajte neako kot pri potovanju z računalnikom. Poleg tega so pri mednarodnem potovanju uporabni naslednji napotki:
- Ko potujete v drugo državo se prepričajte, da sta lokalna AC napetost in napetostni kabel AC adapterja združljiva. Če temu ni takto, kupite napetostni kabel, ki je združljiv z lokalno AC napetostjo. Za napajanje računalnika ne uporabljaje pretvornikov, ki se prodajazo za naprave.
- Če uporabljate modem, preverite ali sta modem in priključek zdržljiva s telekomunikacijskimSYSTEM države v katero potujete.
Med varnostne funckije spadajo strojne in programske ključavnice — varnostni zapah in gesla.
Uporaba varnostega zaklepa računalnika
Prenosnik imavarnostno rezo za varnostni zaklep, ki je združljiv s Kensington.
Ovijte varnostni kabel okoli nepremičnega predmeta, kot je miza ali ročaj zaklenjenega predala. Vstavite zaklep v zarezo in obrnite ključ, da ga zaklenete. Na voljo so tudi nekateri modeli brez ključev.
Uporaba gesel
Gesla šcitijo vaš računalnik od nepooblašcenega dostopa. Nastavljanje gesel izdela stevilne različne nivoje zašcite za vaš računalnik in podatke:
Nadzorniško geslo prepreči nepooblašćen dostop do pripomočka BIOS. Ko je nastavljeno morate za dostop do pripomočka BIOS vpisati geslo. Glejte "Pripomoček BIOS" na strani 29.
- Uporabinski geslo zašciti računalnik pred nepooblašćeno uporabo. Kombinirajte uporabo tega gesla z geslom ob zagonu in obnovi iz mirovanja za maksimalno varnost.
- Geslo ob zagonu zašciti računalnik pred nepooblašćeno uporabo. Kombinirajte uporabo tega gesla z geslom ob zagonu in obnovi iz mirovanja za maksimalno varnost.

Pomembno! Ne pozabite nadzorniškega gesla! Če geslo pozabite, prosimo, da kontaktirate vašega prodajalca ali pooblasčeni servisni center.
Vnašanje gesel
Ko je geslo nastavljeno se pozivnik za geslo pojavni sredinizaslon.
- Ko je nastvljeno nadzorniško geslo se pozivnik pojav, ko pri zagonu pritisnete
za vstop v pripomoček BIOS. - Vpišite nadzornísko geslo in pritsinite
za dostop do pripopořka BIOS. Če je vpisano geslo napačno se prikaže opozorilo. Poizkusite ponovno in pritsinite . - Ko je nastavljeno uporabniško geslo in je omogocen parameter gesla pri zagonu, se pri zagonu prikaže pozivnik.
- Vpišite uporabniško geslo in pritsinite
za uporabo računalnika. Če je vpisano geslo napačno se prikaže opozorilo. Poizkusite ponovno in pritsinite .

Pomembno! Za vnos gesla imate tri moznosti. Če geslo trikrat neuspešno vnesete, se bo system ustvil. Pritisnite in držite tipko za vklop prblžno štiri sekunde, daugasnete računalnik. Ponovno vljucite računalnik in poizkusite znova.
Nastavljanje gesel
Gesla lahko nastavlaje s pripomočkom BIOS.
Razširitev preko možnosti
Vaš prenosni PC vam ponuja popolno izkušnjo mobilnegra računalnika.
Možnosti povezljivosti
Vrata omogocajo prikrjucitev perifernih naprav na vaš računalnik enako kot pri namiznem PC-ju. Za navodila o prikrjucevanju različnih zunanjih naprav na računalnik, preberite naslednji razdelek.
Faks/podatkovni modem (le na dolocenih modelih)
Vaš računalnik ima vgrajen V.92 56 Kbps faks/podatkovni modem. (le na dolocenih modeli)

Opozorilo! Vrata modema niso združljiva z digitalnimi telefonskimi linijami. Priključevanje tega modema na digitalno telefonsko linijo bo poškodovalo modem.
Za uporabo vrat faks/podatkovnega modema priključite telefonski kabel iz vrat modema na telefonski priključek.


Opozorilo! Prepričajte se, da je kabel, ki ga uporabljate primeren za državo v kateri delate.
Univerzalno serijsko vodilo (USB)
Vrata USB 2.0 so hitro serijsko vodilo, ki omogoča priključevanje USB naprav brez zavzemanja dragocenih systemskih virov.

Vhod IEEE 1394 (le na dolocenih modelih)
Vrata IEEE 1394 omogoćajo prikrjucevanje IEEE 1394 združljivih naprav kot je videokamera ali digitalni fotoparat. Za podrobnosti glejte dokumentacio videokamere ali digitalnega fotoparata.

Visokoločljivostni večpredstavnostni vmesnik (le na dolocenih modelih)
HDMI (Visokoločljivostni večpredstavnostni vmesnik) je industrijski, nestisjen in povsem digitalen vmesnik avvio/video. HDMI zagotavlja vmesnik med vsemi združljivimi digitalimi avvio/video viri, kot so televizijski sprejemniki, predvajalniki DVD in sprejemniki A/V ter združljivi monitorji z digitalnim avdiom in/ali videom, kot je digitalna televizija (DTV) preko enega samega kabla.
Vhod HDMI na vašem računalniku uporabite za prikrjucitev visokokavostne avdioin videoopreme. Izvedba z enim samim kablon omogoca lepo namestitev in hiter priklop.

ExpressCard (le na določenih modelih)
ExpressCard je najnovejsa razlicica kartice PC. Je manjsa in njen hitrejsi vmesnik izboljsa uporabnost in razsirljivost vasega račuunalnika.
ExpressCard podpirajo stevilne moznosti razbiritev med katere spadajo adapterji pomnilniških kartic, TV sprejemniki, povezljivost Bluetooth in adapterji IEEE 1394B. ExpressCard podpira USB 2.0 in PCI Express.

Pomembno! Na voljo sta dva tipa, ExpressCard/54 in ExpressCard/ 34 (54mm in 34mm), vsaka z drugacnimi funkcjiami: Oba tipa ne podpirata vseh rež ExpressCard. Za podrobnosti o namestitvi, uporabi in funkcjiah kartice poglejte v priročnik vaše kartice.
Vstavljanje ExpressCard
Vstavite cartico v rezo in jo neznno potisnite, dokler se ne zaskoci na mesto.

Nameščanje pomnilnika
Zanameschanje pomnilnika sledite temkorakom:
1 Izklučite računalnik, izvlecite AC adapter (če je prikrljučen) in odstrinite baterijo. Obrnite računalnik takto, da imate dostop do spodnje strani.
2 IzPokrova spomina odstranite vijake; nato ga dvignite in odstranitePokrov spomina.
3 (a) Pomnilniški modul vstavite diagonalno v režo in ga nato (b) nežno pritsnite, da se zaskovi.

4 NamestitePokrov in gapritrdizvijaki.
5 Namestite baterijo in priključite AC adapter.
6 Vključite računalnik.
Računalnik samodejno zazna in ponastavi skupno velikost pomnilnika. Prosimo, posvetujte se z usposobljenim tehnikom ali kontaktirajte vašega lokalnegа Acer prodajalca.
Pripomocek BIOS
Pripomocek BIOS je program za konfiguracion strojne opreme, ki je vgrajen v BIOS vašega računalnika.
Vas računalnik je ze primerno konfiguriran in optimiziran, zato vam tega pripopočka ni potrebno zaganjati. Vendorle, ce pride do težav pri konfiguraciji, ga boste morali zagnat.
Za aktiviranje pripomočka BIOS pritisnite
Zagonska sekvenca
Za nastavljanje zagonske sekvence v pripomočku BIOS ga aktivirajte inseznama kategorij na vrhu załona izberite Boot (Zagon).
Omogocanje obnovitve disk na disk
Za omogocanje obnovitve disk na disk (obnovitev trdega diska), aktivirajte pripomocek BIOS in nato iz seznama kategorij na vrhu zaslona izberite Main (Glavno). Na dnu zaslona poiscite D2D Recovery (Obnovitev D2D) in uporabite tipki
Geslo
Za nastavljanje gesla pri zagonu, aktivirajte BIOS in seznama kategorij na vrhuzaslona izberite Security (Varnost). Poieszite Password on boot: (Geslo ob zagonu:) in s tipkama
Uporaba programske opreme
Predvajanje DVD filmov

Opomba: Ta funkcija je na voljo le pri nekaterih modelih.
Če je v optičinem pogonu namešćen DVD modul lahko na računalniku predvajate DVD这部电影.
1 Izvrzite zgošćenko DVD.

Pomembno! Ob prvem zagonu DVD predvajalnika bo program od vas zahteval vpis regijske kode. DVD zgoščenke so razdeljene na 6 regij. Enkrat, ko pigeon DVD nastavite na regijsko kodo bo le-ta predvajal samo DVD zgoščenke iz nastavljene regije. Regijsko kodo lahko spremenite njavec pet krat (skupaj s prvo nastavitijo), po peti nastavitvi bo za zmeraj obveljala zadnje nastavljena regijska koda. Obnova trdega diska ne bo ponastavila števila nastavitjani regijske kode. Za več informacij od regijskih kodah DVD filmov, glejte spodnjotabelo.
2 Po nekaj sekundah se bo DVD film začel samodejno predvajat.
| Regijska koda | Država ali regija |
| 1 | ZDA, Kanada |
| 2 | Evropa, Srednji Vzhod, Južna Afrika, Japonska |
| 3 | Jugovzhodna Azija, Tajvan, Južna Koreja |
| 4 | Latinska amerika, Avstralija, Nova Zelandija |
| 5 | Nekdanja USSR, deli Afrika, Indija |
| 6 | Ljudska republika Kitajtska |

Opomba: Za spremembo regijske kode v DVD pogon vstavite DVD film z drugo regijo. Za vec informacij poglejte v spletno pomoč.
Najpogosteje postavljena vprašanja
Sledi geznam możnih situacctij, ki lahko nastanejo med uporabo vašega računalnika. Za vsako je podana enostavna rešitev.
Pritisnil sem tipko za vklop ampak računalnik se ne przygne ali zažene.
Poglejte indicator vklopa:
-
Če ne sveti pomeni, da se računalnik ne napaja. Preverite naslednje:
-
Če uporabljate baterijo je lahko le-ta skoraj prazna in ne more vključiti računalnika. Priključite AC adapter, da napolnite baterijo.
-
Prepričajte se, da je AC adapter pravilno vključen v računalnik in v ytičnico.
-
Če sveti, preverite naslednje:
Ali je v zunanjem USB gibkem pogonu nezagonska (nesistemska) disketa? Odstranite ali zamenjaje jo s sistemasko disketo in pritsnite <Ctrl> + <Alt> + <Del> , da ponomvno zaženete računalnik.
Zaslon je prazen.
Sistem za upravljanje z napajanjem samodejno ugasnezaslon, da varcuje z energijo. Pritisnite poljubno tipko, da ponovno vklučitezaslon.
Ce pritisk na tipko ne vkluči zaslona so vzroki za to tri stvari:
- Nivo svetlosti je prenizek. Pritisnite <Fn> + <> (povečanje), da prilagodite nivo svetlosti.
- Prikazovalna naprava je morda nastavljena na zunanjizaslon. Pritisnite vroco tipko za preklop zaslona <Fn> + <F5> , da preklopite prikaz nazaj na računalnik.
- Če je prižgan indicator mirovanja je računalnik v stanju mirovanja. Pritisnite in spustite tipko za vklop za nadaljevanje.
Ne slišim nobenega zvoka.
Preverite naslednje:
Mogoče je glasnost izključena. V Windowsih poglejte ikono nadzora zvoka (zvočnik) na opravilni vrstici. Če je prečrtana kliknite na njo in izbrišite možnost Izklopi vse.
- Nivo glasnosti je prenizek. V Windowsih poglejte ikono nadzora zvoka na opravilni vrstici. Za nastavitev glasnosti lahko uporabite tudi tipke za nadzor glasnosti.
- Če so na računalnik vklučene naglavne slušalke, ušesne slušalke ali zunanj zivočniki se bodo notranji zvočniki samodejno izključili.
Na optičnem pogonu je na voljo mehanska luknjá za izvržbo. Vstavite vrh pisala ali sponko za papir v luknjno in pritisnite, da izvržete pladenj.
Tipkovnica se ne odziva.
Poizkusite prikljuciti zunanjo tipkovnico na prikljucek USB na računalniku. Če deluje, kontaktirajte vašega prodajalca ali pooblaščeni servisni center, sj je možno, da se je razrahljal kabel notranje tipkovnice.
Tiskalnik ne dela.
Preverite naslednje:
Prepričajte se, da je tiskalnik priključen v vtčnico in da je vklučen.
- Prepričajte se, da je kabel tiskalnika varno príkjiučen na vzporedna ali USB vrata na računalniku in na pripradajće na tiskalniku.
Želim obnoviti izvirne nastavitve računalnika brez obnovitvenih CD-jev.

Opomba: Če imate vecjeci no razlicico sistema bo za nadaljne obnovitve na voljo le tisti jezik, ki ga izberete pri prvem vklopu?).
Proces obnovitve vam pomaga obnoviti pogon C: z originalno programsko opremo, ki je namescena ob nakupu vaSega prenosnika. Sledite spodnjim korakom, da ponovno sestavite va's pogon C.: (Va's pogon C: bo formatiran in vsi podatki bodo izbrisani.) Pred uporabo te moznosti je pomembno, da naredite varnostno kopijo vseh podatkov.
Pred izvajanem obnovitve prosimo preverite nastavitve BIOS-a.
1 Preverite, ce je moznost Acer obnovitev iz disk na disk omogcena ali ne.
2 Prepričajte se, da je nastavitev Obnovitev D2D v Osnovno Omogćeno.
3 Zaprite pripomoček BIOS in shranite spremembe. Sistem se bo ponovno zignal.

Opomba: Za aktiviranje pripomocka BIOS pritisnite
Za začetak postopka obnove:
1 Ponovno zaenite systemd.
2 Ko je prikazan logotip Acer, naenkat pritisnite <Alt> + <F10> , da vstopite v postopek obnove.
3 Za izvedbo systemske obnove sledite navodilom nazaslonu.

Pomembno! Ta funkcija zasede 15 GB prostora na na skriti particiji trdega diska.
Zahteva po servisu
International Travelers Warranty (ITW) (Mednarodna potovalna garancija)
Vaš računalnik ima International Travelers Warranty (ITW) (mednarodna potovalna garancija) s katero ste varni in nimate skrbi med potovanjem. Naša svetovna mreža servisnih centrov vam je na voljo, če potrebujete pomoč.
Zraven računalnika ste dobili potovalni list ITW. Potovalni list vsebuje vse kar morate vedeti o programu ITW. Seznam pooblašćenih servisnih centroid je v tej priročnik knjižici. Potni list preberite v celoti.
Ko potujete imejte potni list ITW zmeraj pri roki zaradi vseh ugodnosti naših podpopnih centrov. Vstavite dokaz o nakupu v zavihek, ki se nahaja v notranjem ovitku potnega lista ITW.
Če država v katero potujete nima pooblaščenegа Acer ITW servisa, lahko vseeno stopite v stik z našimi pisarnami širom sveta. Prosimo obiščite http://global.acer.com.
PredenPoklicete
Prosimo, da priapravite naslednje informacije, ko klicete na Acer za servis in v casa klica bodite ob računalniku. Z vašo podporo lahko skrajšamo ācas trajanja klica in uspemo rešiti vaše težave učinkoviteje. Če se na računalniku prikazujejo sporocila o napakah ali slišite piske, si zapišite kako se pojavijo na załonu (ali številko in sekvenco v primerus piskov).
Podati morate naslednje informacije:
Ime:
Naslov:
Telefonska stevilka:
Tip naprave in model:
Serijska stevilka:
Datum nakupa:
Odpravljanje napak
To poglavje prikazuje kako ukrepati pri dolocenih systemskih tezavah.
Če se pojav težava, preberite to poglavje preden kotnaktirate tehnika. Resitve resnejših težav zahtevajo odpiranje računalnika. Ne poskusajte odpirati računalnika sami, kontaktirajte vašega prodajalca ali pooblasčeni servisni center za pomoč.
Napotki za odpravljanje težav
Ta prenosni PC ima napredno zgradbo, ki ponuja zaslona sporočila o napakah, ki vam pomagajo pri reševanju težav.
Če systemd javi sporocilo o napaki ali pride do napake, glejte spodnja "Sporocila o napakah". Če težave ne morete odpraviti,kontaktirajte vašega prodajalca. Glejte "Zahteva po servisu" na strani 33.
Sporocila o napakah
Če se vamprakze sporocilo o napaki si ga zapišite in izvedite popravni ukrep.
V naslednji tabeli so po abecednem vrstnem redu sporocila o napakah, skupaj s priporočenimi ukrepi.
| Sporočila o napakah | Ukrep |
| CMOS battery bad | Kontaktirajte vašega prodajalca ali pooblaščeni servisni center. |
| CMOS checksum error | Kontaktirajte vašega prodajalca ali pooblaščeni servisni center. |
| Disk boot failure | V gibki pogon (A:) vstavite systemsko (zagonsko) disketo in pritsinite <Enter> za ponovni zagon. |
| Equipment configuration error | Pritisnite <F2> (med POST) za vstop v pripomošćek BIOS, nato pritsinite Exit (Izhod) v pripomošćku BIOS za ponovni zagon. |
| Hard disk 0 error | Kontaktirajte vašega prodajalca ali pooblaščeni servisni center. |
| Hard disk 0 extended type error | Kontaktirajte vašega prodajalca ali pooblaščeni servisni center. |
| I/O parity error | Kontaktirajte vašega prodajalca ali pooblaščeni servisni center. |
| Keyboard error or no keyboard connected | Kontaktirajte vašega prodajalca ali pooblaščeni servisni center. |
| Keyboard interface error | Kontaktirajte vašega prodajalca ali pooblaščeni servisni center. |
| Memory size mismatch | Pritisnite <F2> (med POST) za vstop v pripomošćek BIOS, nato pritsinite Exit (Izhod) v pripomošćku BIOS za ponovni zagon. |
Če se težava ponavlja kljub izvedenemu popravnemu ukrepu vas prosimo, da za pomoč kontakirate vašega prodajalca ali pooblaščen servisni center. Nekatere težave lahko rešite s priwowčkom BIOS.
Uredbe in varnostna obvestila
Izjava FCC
Ta naprava je bila preizkušena in je v skladu z omejitvami digitalne naprave razreda B v skladu z delom 15 pravil FCC. Te omejitve so narejene, da nudijo razumno zašcitro proti škodljivim interferencam pri stanovanjski namesitvi. Ta naprava izdeluje, uporablja in lahko oddaja radiofrekvenčno energia in, Če ni nameščena in uporabljana v skladu z navodili, povzroča škodljive interference radijskim komunikacijam.
Vendarle, ni garancije, da pri doloceni namestitvi ne bo prišlo do interference. Če naprava povzroča škodljivo interfeenco na radijski ali tevizijski sprejem, kar lahko dolocite takto, da izklujcite in vkljucite napravo, je uporabnik tisti, ki naj poizkuša popraviti interfeenco z enim ali več naslednjimi ukrepi:
- Obrnite ali premaknite sprejemno anteno.
- Povečajte razdaljo med napravo in sprejemnikom.
- Napravo priključite na vtičnico na omrežju, ki je drugačno od tistega na katero je priključen sprejemnik.
- Za pomoč se posvetujte s prodajalcem ali izkušenim radio/televizijskim tehnikom.
Opomba: Zaščiteni kabli
Vse povezave na druge naprave je treba izvesti z zašitenimi kabli, da bi se vzdřevalo skladanje z uredbami FCC.
Opomba: Periferne naprave
Na napravo lahko prikljucite le tiste naprave (vhodno/izhodne naprave, terminalni, tiskalniki, itd.), ki so certificirani, da so v skladu z omejitvami razreda B. Uporaba necertificiranih perifernih naprav lahko povzroci interferenco na radijski in TV sprejem.
Pozor
Spremembe ali modifikacije, ki jih prozivajalec ni izrecno odobril, lahko izničijo uporabnikovo garancijo, ki je za uporabo računalnika podeljena s strani Federal Communications Commission.
Opomba: Kanadski uporabniki
Ta digitalni aparat razreda B je v skladu s kanadskim ICES-003.
Ta naprava je v skladu z delom 68 pravil FCC. Na modemu se nahaja nalepka, ki med drugim vsebuje, registracijski stevilko FCC in Ringer Equivalence Number (REN) za to napravo. Na zahtevo morate te podatke podati vašemu telefonskemu podjetju.
Če vaša Telefonka oprema poskoduje Telefonko omrežje vam lahko Telefonko podjetje začasno prekine storitve. Če je možno vasBODY o tem vnaprej obvestili. Vkolikor vnaprejsne obvešćanje ni praktićno, boste obvešćeni takoj ko bo možno. Prav takо boste obvešćeni o vaši pravici za vlogo pritožbe na FCC.
Văse Telefonski podjetje lahko spremeni svoje prostre, opremo, delovanje in postopke, ki lahko vplivajo na pravilno delovanje vaše opreme. V taksnem primerus vas.Bodyvnaprej obvestili in vam dali možnost, da imate neprekinjene Telefonské storitve.
Če naprava ne deluje pravilno jo izkljucite iztelefonske linije, da preverite kaj povzroča težave. Če je težava v opremi, nehajte z uporabo in kontaktirajte vašega prodajalca ali prodajnega agenta.

Pozor: Da bi zmanjšali nevarnost požara, uporabljajte samo telekomunikacijski kabel št. 26 AWG ali večji, izseznama UL ali certificiran CSA kabel.
TBR 21
Ta oprema je bila odobrena [odločba Sveta 98/482/EC - "TBR 21" ] za priključek z enojnim terminalnom na javno telefonsko omrežje (PSTN). Vendrale, razadi razlik med posameznimi PSTN-ji, ki so na voljo v razljichn državah, odobritev ne zagotavlja neomejenega uspešno delovanje na vsaki PSTN preklopni točki.
V primeru težav najprej kontaktirajte dobavitelja vaše opreme. Za vec informacij o zadevnih državah prosimo glejte poglavje "Uredbe in varnostna obvestila" na strani 35.
Obvestilo za Avstralijo
Iz varnostnih razlogov priključite samo slušalke z nalepko s telekomunikacjsko združljivostjo. Med to spada tudi oprema, ki je bila prej odobrena ali certificirana.
Obvestilo za Novo Zelandijo
1 Dovoljenje Telepermit za vsak del terminalske opreme označuje le, da je Telecom sprejel to, da je predmet v skladu zminimalnimi pogoji za povezovanje v njegovo omrežje. Telecom ne označuje nobene odobritve izdelka, niti ne nudi nobene garancije. Predvsem pa ne nudi nobenega zagotovila, da bo katerikoli del opreme dreoval pravilno v povezavi z drugim delom odobrene opreme drugače izdelave ali modela, niti ne namiguje, da je poljuben izdelek združljiv z vsemi omrežnimi storitvami Telecoma.
2 Ta oprema ni zmożna, pod vsemi delovnimi pogoji, pravilnega delovanja pri visijih hitrosti od tistih za katere je bila izdelana. Telecom ne sprejema odgovornosti za težave, ki nastanejo v takšnih okolišćinah.
3 Potrebni parametri za skladanje z zahtevami Telecomovega Telepermita so odvisni od opreme (PC), ki je povezana s to napravo. Pridružena oprema mora biti narejena, da teče znotraj sledečih omejitev za skladanje s specifikacijami Telecoma:
a Ne sme biti veckot 10 klico na isto stevilko v poljubnem 30 minutnm obdobju za zaetek rocnega klica in
b Opremo je treba odložiti za nic manj kot 30 sekund med koncem enega poizkusa in začekkom naslednjega poizkusa.
4 Potrebni parametri za skladanje z zahevami Telecomovega Telepermita so odvisni od opreme (PC), ki je povezana s to napravo. Da bi delovali znotraj omejitev za skladnost s specifikacijami Telekoma je treba pridruženo opremo nastavite tak, da se zagotovi razmak med samodejnimi klici na razlicitne stevilke na nic manj kot 5 sekund med konem enega poizkusa in začetkom drugega.
5 Opremo se ne sme nastaviti na samodejno klicanje Telecomovih storitev s sili 111.
6 Ta naprava je opremljena s pulznim klicanjem, medtem ko je Telecom standard klicanje s toni DTMF. Ni garancije, da bodo Telecomove linije zmeraj nadaljevale s podporo pulznega klicanja.
7 Uporaba pulznegaklicanja, ko je ta oprema prikljucena na isto linijo kot druga oprema, lahko dvigne zvenenje ali šume in povzroci stanje napačega odgovora. Če pride do takšnih težav, uporabnik nj NE prijavipnapake pri telekomu.
8 Ni nujno, da bo naprava nudila učinkovit prenost klica na drugo napravo, priključeno na isto linijo.
9 Med napakami napetosti naprava ne more delovati. Prosimo, da zagotovite, da imate na voljo ločeni Telefon za uporabo v sili, ki ni odvisen od napajanja.
Izjava o slickovnih pikah LCD-ja
Enota LCD je izdelana z zelo natančnimi proizvodnimi tehnikami. Ne glede na to se lahko dolocene slikovne pike odklonijo ali izgledajo kot Črne ali rdeče pike. To ne vliva na posneto sliko in ne pomeni napake.
Uredbeno obvestilo za radijsko napravo

Opomba: Spodnje uredbene informacije soismo za modele z brezici nim LAN-om in/ali Bluetoothom.
Spošno
Ta izdelek je v skladu s standardi radio frekvence in varnosti vseh držav ali regij v katerih je bila odobrena brežiča uporaba. Ovisno od konfiguracje, ta izdelek lahko ali pa tudi ne vsebuje brežično radijsko napravo (kot sta modula za brežični LAN in/ali Bluetooth). Spodnje informacije so za izdelke s takimi napravami.
Izjava o skladnosti za državfe EU
S tem Acer objavlj, da je prenosni PC te serije v skladu z osnovimi zahtevami in drugimi pripadajočimi ukrepi directiveste 1999/5/EC.
Seznam držav
Države Članice EU v julju 2009 so: Belgija, Danska, Nemčija, Grčija, Spanija, Francija, Irska, Italija, Luksemburg, Nizozemska, Avstrija, Portugalska, Finska, Švedska, Zdruzeno Kraljestvo, Estonija, Latvija, Litva, Poljska, Madžarska, Češka, Slováška, Slovenija, Ciper, Malta, Bolgarija in Romunija. Uporaba je dovoljena v državah Evropske unije, kot tudi na Norveškem, v Švici, Islandiji in Lihtenstajnu. Naprava se mora uporablji v strogem skladu z uredbami in omejitvami države uporabe. Za nadaljinje informacije prosimo kontaktirajte lokalno pisarno v državi uporabe. Prosimo obišcite http://ec.europa.eu/enterprise/rtte/implem.htm za ogled majnovejsega seznama držav.
Varnostna zahteva FCC RF
Oddajana izhodna moč brežične LAN Mini PCI in Bluetooth kartice je zelo pod FCC mejami izpostavljenosti na radijske frekvence. Ne gledo na to je treba prenosni PC uporabljati takto, da se potencialen stik z ljudmi med normalno uporabo minimizira na naslednji način:
1 Od uporabnikov se prosi, da sledijo varnostnim navodilom RF za breziciene naprave, ki so vkljucene v priročniku posamezne naprave.

Pozor: Da bi zadostili zhatevam FCC RF izpostavljenost je treba med anteno., vzaslon vgrajene, breziciene LAN Mini PCI kartice in vsemi ljudmi vzdřevecati razdaljo najmanj 20 cm (8 inčev).


Opomba: Brežični Mini PCI adapter ima implementirano funkcjio za neenake prenose. Ta funkcjja ne oddaja naenkrat radijskih frekvenc iz obeh anten. Ena od anten se izbere samodejno ali ročno (uporabnik), da se zagotovi dobra, kakovostna radijska komunikacija.
2 Naprava je omejena za notranjo uporabo zaradi delovanja v frekvencnem območju od 5,15 do 5,25 GHz. FCC zahteva, da se ta izdelek uporablja znotraj za frekvençno območje 5,15 do 5,25 GHz, da bi se zmanjsale:no ne škodljive interference na kanalne mobilne satelitske sisteme.
3 Visokonapetostni radarji so doloceni kot primarni uporabniki pasov 5,25 do 5,35 Ghz in 5,65 do 5,85 GHz. Taksne radarske postaje lahko povzrocijo interference in/ali poškodujejo to napravo.
4 Nepravilna montaža ali nepooblašcena uporaba lahko povzroci interference na radijske komunikacije. Kakrsnokoli spreminjanje notranje antene bo iznicilo certifikat FCC in vašo garancijo.
Canada — nizkonapetostne, brezlicenčne radiokomunikacijski naprave (RSS-210)
Izpostavljenost ljudi radiofrekvenčnim poljem (RSS-102)
Ta serija prenosnih osebnih računalnikov uporablja šibre inteegrirane antene, ki ne sevajo radiofrekvenčega polja, ki bi presegalo zdravstvene omejitve Health Canada za širse prebivalstvo; ogleje si varnostni kodeks 6, ki je na voljo na splletni strani Health Canada na www.hc-sc.gc.ca/rpb.
Posebna razmatranja 20
Stvaranje kućnog ureda 20
Putovanje s računalom 20
Priprema rauchunala 20
Sto ponijeti sa sobom 20
Posebna razmatranja 21
Posebna razmatranja 21
Osnove dodirne ploche (s tipkama za dva klika)
Sljedecu upute opisuju kako koristiti dodirnu plocu s tipkama za dva klika.
- Za pomakPokazivača, prstom prelazite preko dodirne ploče.
- Pritisnite lijevu i desnu tipku ispod dodirne ploce za funkcjie odabira i izvršenja. Ove dvije tipke djeluju slicno lijevoj i desnoj tipki miša. Lagano lupkanje po dodirnoj ploči ima istu funkcjiu kao i klik lijevom tipkom miša.
| Funkcija | Lijeva tipka | Desna tipka | Osnovna dodirna ploča |
| Izvrši | Brzo kliknite dva puta. | Lagano lupnite dva puta (istom brzinom kao kod dvostrukog klika tipke miša). | |
| Odaberi | Kliknite jegnom. | Lagano lupnite jegnom. | |
| Vuci | Kliknite i držite, zatim uporabite prst na dodirnoj ploči kako biste "vukli"Pokazivač. | Lagano lupnite dva puta (istom brzinom kao kod dvostrukog klika tipke miša); prilikom drugog lupkanja ostavite prst na dodrnoj ploči i "povlačite"Pokazivač. | |
| Pristup kontekstnom izborniku | Kliknite jegnom. |

Napomena: Slikovni prikazi sluze samo za ilustraciju. Točna konfiguracja vašeg računala ovisi o kuplejenom modelu.

Napomena: Pri uporabi dodirne ploce, odrzavajte je — kao i vase prste, — suhim i cistim. Dodirna ploca je osjetljiva na Pokret prsta; stoga, sto je laksi dodir, to je bolja reakcija. Jace lupkanje nece povecati odzivnu reakciju dodirne ploce.

Napomena: Dodirnom pločom standardno je omoguceno uspravno i vodoravno pomicanje. Ono se moze isključiti u postavlkama miša s upravljačke ploče (Control Panel) u programu Windows.
Uporaba tipkovnice
Tipkovnica ima tipke pune velichine i ugradenu numeričku tipkovnicu*, odvojene kursorske tipke, tipke za zaklučavanje, Windows, funkcijske i posebne tipke.
AC adapter i kabel za napajanje
Tiskani Kratki vodič
Posebna razmatranja
Za uporabu priključka fax/data modema, povežite telefonski kabel od priključka modema do telefanske utičnice.


Upozorenje! Molimo, osiguraje da je kabel koji koristite odgovarajuci za državu u kojoj radite.
Ugrăda mrežna mogućnost
Ugrăna mrežna mogućnost omogucava vam povezivanje računala na mrežuzasnovanu na Ethernetu.
Za korištenje mrežne mogućnosti, povežite Ethernet kabel od Ethernet (RJ-45)
priključka na okviru računala do mrežne utićnice ili razvodnika na vašoj mreži.

Univerzalna serijska sabirnica (USB)
USB 2.0 prikljucak je serijska sabirnica velike brzine koja omogucije povezivanja USB perifernih ureda ja bez zauzimanja dragocjenih resursa sustava.

IEEE 1394 prikljucnica (samo za odreene modele)
IEEE 1394 prikjučak računala omogucava povezivanje s IEEE 1394 - kompatibilnim urežajem kao što je video-camera ili digitalna camera. Pogledajte dokumentaciju vaše video ili digitalne kamere za detalje.

Multimedjsko sučelje visoke definicije (samo za odrežene modele)
HDMI (High-Definition Multimedia Interface) multimediajsko sučelje visoke definicije je industrijski podržano, nekomprimirano, potpuno digitalno audio/video sučelje. HDMI osigurava sučelje izmeū svih kompatibilnih digitalnih audio/video izvora, poput prijemnika za digitalnu televiziju (set-top box), DVD player i A/V prijemnik i kompatibilni digitalni audio i/ili video ekran, poput digitalne televizije (DTV) po Jednom kabelu.
Koristite HDMI priključak na vašem računalu za spajanje s audio i video opremom visoke definicije. Primjena jegn kabela omogucava detaljno podešavanje i brzo spajanje.

ExpressCard (samo za odreğene modele)
ExpressCard je najnovija inačica PC kartice. Ona je jedem manje i brze sučelje koje dalje povoljšava uporabljivosti i proširivost vašeg računala.
ExpressCard kartice podržavaju veliki broj opcija proširivanja, uključujuci adaptere za flash memorjske kartice, TV-prijemnike, Bluetooth povezivanje i IEEE 1394B adaptere. ExpressCard kartice podržavaju USB 2.0 i PCI Express aplikacije.

Vazno! Postojevrste,ExpressCard/54 i ExpressCard/34 (54mm i 34mm),svaka sa razlicitim funkcjjama.Nece svi ExpressCard utori podrzavati objve vrste.Molimo,pogledajte priručnik vaše kartice za detalje o instalaciji i uporabi kartice i njenim funkcjjama.
Umetanje ExpressCard kartice
Deklaracija o usklaedenosti za države EU
Ovime, Acer izjavljupe da je ova serija prijenosnih osobnih računala u skladu s bitnim zahtjevima i drugim relevantnim odredbama Direktive 1999/5/EC.
LahkaNavodila