TRAVELMATE 5742Z - Bærbar PC ACER - Gratis bruksanvisning og manual
Finn enhetens veiledning gratis TRAVELMATE 5742Z ACER i PDF-format.
Last ned instruksjonene for din Bærbar PC i PDF-format gratis! Finn veiledningen din TRAVELMATE 5742Z - ACER og ta den elektroniske enheten tilbake i hendene. På denne siden er alle dokumenter som er nødvendige for bruken av enheten din publisert. TRAVELMATE 5742Z av merket ACER.
BRUKSANVISNING TRAVELMATE 5742Z ACER
GeneriskBrukerhandbok
Informasjon for din sikkerhet og komfort
Viktige sikkerhetsinstruktjoner
Les disse instruksjonene nøye. Hold dette dokumentet tilgengelig for fremtidige referanseformål. Respekter alle advarsler og instruksjoner som er angitt på produitet.
Slå av produitet før rengjøring
FORSIKTIG ved frakobling av plugg fra enchet
Observer følgende retningslinjer ved tilkobling og frakobling av strøm til stromforsyningsenheten:
Installer strømforsyningsenheten for tilkobling av strømledningen til nettstrømuttaket.
Hvis systemet har flere strømkilder, kobler du strømmen fra systemet ved Å plugge ut alle strømledninger fra strømforsyningene.
FORSIKTIG for tilgjengelighet
Sørg for at stromforsyningen du plugged strømledningen inn i, erlettigengilig og sa nært utstyrets operatør som mulig. Nár du ma koble strømmen fra utstyret, mA du sorge for á plugge ut strømledningen fra den elektriske kontakten.
FORSIKTIG - medfolgende juksekort (bare for visse modeller)
Beskytt horselen ved a falgde disse instruksjonene.
- Øk volumet gradvis til lyden er klar og har et behagelig niva.
- Ikke øk volumet etter at Ørene har tilpasset seg nivaet.
- Ikke hør på musikk med høyt volum i lengre tidssperioder.
- Ikke øk volumet for a stenge ute lyder i bråkete omgivelser.
- Reduser volumet hvis du/DDke horer at folk snakker i nærheten.
iv
Advarsler
- Ikke bruk dette Produktet i naerheten av vann.
- Ikke plasser produitenetpæetustabilitstativllerbord.Produktetkanfalleavogblalvorligskadet.
- Spor og Åpninger er beregnet på ventilasjon, for Å sikre problemfri drift, og beskytte maskinen mot overoppheting. Disse Åpningenemökke bli blokkert aller dekker. Åpningene mä aldri blokkeres ved ä plassere produiten pa en seng, sofa, matte eller tilsvarende overflate. Dette produiten mä aldri plasseres nær uller en radiator uller ovn, ell er i eninnebygd installationsjuten tilstrekkelig ventilasjon.
Du mä aldri skyve gjenstander av noe slag inn gjennom Åpninger i kabinettet ettersom de kan berøre farlige spenningspunkter eller kortslutte deler med brann eller elektrisk støt som følge. Søl aldri væske av noe slag iproduktet. - Ikke plasser produit på en vibrerende overflate, for ä unngå skade på interne componenter og forhindre batterilekkasje.
- Bruk det aldri under sport, trening eller i vibrerende omgivelser. Det er fare for kortslutning eller skade på rotorenheter, harddisk, optisk stasjon eller eksponderingsfare fra lithiumbatterissettet.
- Den nederste overflaten, områdene rundt ventilasjonsåpningene og batterieliminatoren kan bli veldig varme. Unngå kontakt med hud eller kropp forå forhindre persorskade.
- Enheten og dens utvidelser kan inneholder små deler. Hold demutenfor rekkevidde av små barn.
Bruke elektrisk strøm
- Dette Produktet bør tilfores strømtypen som er angitt på merkeplaten. Hvis du er usikker på den tilgengelige strømtypen, kontakt forhandleren aller det lokale strømselskapet.
- Ikke la noe hvile på strømledningen. Ikke plasser dette produktet der personer kanträ på ledningen.
- Hvis du bruker en skjoteledning sammen med produitet, ma du kontrollere at den samlede stromstyrken for utstyret som er koblet til skjoteledningen, ikke overskrider skjoteledningsens tillatte stromstyrke. Kontroller ogsa at den samlede styrken til alleprodukter som plugges inn i veggkontakten, ikke overskrider sikringsverdien.
- Unngå overbelastning av strømuttak ved Å koble til for mange enheter. Samlet systembelastning pågressive 80% av kursens tillatte verdi. Hvis det brukes strømskinner, på belastningen ikke overskride 80% av skinnens tillatte inggangsverdi.
- Dette Produktets batterieliminator er utstyrt med en trelednings jordet plugg. Pluggen kan bare settes inn et jordet strømuttak. Sørg for at strømuttaket er skikkelig jordet før du setter inn batterieliminatorpluggen. Ikke sett inn pluggen i et ujordet uttak. Kontakt elektriker for Å få flere detaljer.

Advarsell Jordingspinnen er en sikkerhetsfunksjon. Å bruke et strømuttak som ikke er skikelig jordet kan före til elektrisk støt og/eller skader.

Merk: Jordingspinnen gir ogsa god beskyttele mot uventet stoy som produseres av andre elektriske encheter i nærheten og kan forstyre ytelsen til dette produktet.
- Systemet kan drives ved en rekke spenninger: 100 til 120 eller 220 til 240 VAC. Den medfolgende strømledningen oppfyller kravene for bruk i landet/regionen der systemet ble kjopt. Strømledninger for bruk i andre land/regioner på oppfylle de lokale kravene. Kontakt en autorisert forhandler eller tjenestetilbyder hvis du vil ha mer informasjon om krav til strømledninger.
Ikke forsok á vedlikeholde produktet selv, ettersom Åpning eller fjerning av deksler kan utsette deg for farlige spenningspunkter ull andre farer. Alt servicearbeid skal utføres av kvalifisert servicepersonell.
Koble dette produit fra vegkontakten og overlat service til kualifisert servicepersonell under følgende forhold:
- Om strømkabelen eller pluggen er skadet eller slitt.
Hvis vaeske er solt inn iproduktet.
Hvisproduktet har blitt utsatt for regn eller vann.
Hvisproduktet er blitt mistet,ller om kassen er odelagt.
Hvisproduktet fremviser tydelig endret ytelse, som angir behov for service. - Hvisproduktetitives fungerer normalt selv om driftsinstruktjone overholds.

Merk: Juster bare kontroller som dekker av driftsinstruktjone, ettersom feilaktig justering av andre kontroller kan fore til skader og ofte vil kreve omfattende arbeid av en kualifisert teknikker for a gjenopprette produktet til normal tilstand.
Retningslinjer for sikker batteribruk
Denne notisbokmaskinen bruker et lithium-ion-batteri. Ikke bruk det i fuktige aller korroderende omgivelser. Ikke plasser, oppbevar erler etterlat produktet pa aller nær en varmekilde, pa et sted med hoy temperatur, i sterkt direkte sollys, i en mikrobolgeovn erler en beholder under trykk, og ikke utsett det for temperaturer over 60^ (140^) . Manglende etterlevelse av disse retningslinjene kan fore til at batteriet lekker syre, blir varmt, eksploderer erler antennes, og foorer til personskade og/eller materielle skader. Batteriet må ikke gjennomhulles, apnes eller demonteres. Hvis batteriet lekker og dukommen i
vi
kontakt med batterivæsker, på du skylle grundig med vann og söke legehjelp umiddelbart. Av sikkerhetsårsaker, og forå forlenge batteriets levetid, vil lading ikke finne sted ved temperaturer under 0^ (32°F) eller over 40 °C (104°F).
Full ytelse fra et nytt batteri oppnas forst erter to ellre tre fullstendige ladingsog utladingssykluser. Batteriet kan lades og utlades hundredvis av ganger, men det vil til slutt slites ut. Kjop et nytt batteri nár driftstiden blir merkbart kortere enn normalt. Bruk bare godkjente batterier, og lad batteriet bare med godkjente ladere som er beregnet pa donne encheten.
Bruk batteriet bare til dets tiltenkte formål. Bruk aldri en lader erer et batteri som er skadet. Ikke kortslutt batteriet. Kortslutng ved et uhell kan oppsta nár en metallgjenstand, for eksempel en mynt, binders erer penn,kommen i direkte kontakt med de positive (+) og negative (-) terminalene på batteriet. (Disse ser ut som metallstriper på batteriet.) Dette kan for eksempel skje nár du har med deg et reservebatteri i lommen erer en veske. Kortslutng av terminalene kan skade batteriet erer gjenstanden som er i kontakt.
Kapasiteten og levetiden til batteriet vil reduseres hvis batteriet etterlate s pa varme eller kalde steder, for eksempel i en lukket bil pa sommeren uller vinteren. Prov alltid a holde batteriet mellom 15^ og 25^ (59 F og 77 F). En entet med varmt erller kaldt batteri vil kanskje vare midlertidig ute av funksjon, selv nar batteriet er fullt ladet. Batteriytelse er spesielt begrenset i temperaturer godt under frysepunktet.
Tradlose enheter kan vare utsatt for interferens fra batteriet, som kan paviske ytelsen.
Bytte batteri
Notebook-PCer bruker lithium-batteriet. Erstatt batteriet med et av samme type som ble levert med produitet. Bruk av andre batterier kan innebaere en risiko for brann eller eksplosjon.

Advarsell Batterier kan eksplodere ved feilaktig handtering. Ikke demonter dem ell er la dem brenne. Hold dem borte fra barn og kvitt deg med brukte batterier med en gang. Folg lokale bestemmelser for avhending av brukte batterier.
Forholdsregler for optiske stasjoner (bare for visse modeller)
Forsiktig: Dette apparatet inneholder et lasersystem og er klassifisert som et "KLASSE 1 LASERPRODUKT". Hvis du har problemer med这部分enheten, vennligstkontakt din nærmeste AUTORISERTE servicestason. Ikke provå apne innkapslingen, for direkte ekspponering for laserstrålen ma unngås.
KLASSE1 LASERPRODUKT
FORSIKTIG: USYNLIG LASERSTRÄLING I ÅPEN TILSTAND. UNNGÅ STRÄLEN.
APPAREIL A LASER DE CLASSE 1 PRODUIT
LASERATTENTION: RADIATION DU FAISCEAU LASER INVISIBLE EN CAS
D'OUVERTURE. EVITTER TOUTE EXPOSITION AUX RAYONS.
LUOKAN 1 LASERLAITE LASER KLASSE 1
- Trekk alltid ut alle Telefonledninger fra veggkontakten før service eller demontering av dette utstyret.
- Unngå bruk av telefonledningen (bortsett fra tradløs type) under en elektrisk storm. Det er en ørliten fare for elektrisk støt fra lyn.

Advarel! Av sikkerhetsårsaker må du ikke bruke ikke-standard deler nár du legger til ull erendkomponenter. Kontakt forhandleren for kjøpsalternativiterstedet.
Må kun tilkopies kabel-TV nett via galvanisk isolator.
Driftsmiljo

Advarsell Av sikkerhetsårsaker mä du slå av alle trådløs-/ radiosendeenheter nár du bruker den bærbare maskinen under følgende forhold. Disse enchetene kan omfatte, men er/DDie begrenset til: Tråldost nettverk (WLAN), Bluetooth og/eller 3G.
viii
Husk Å folge eventuelle spesielle bestemmelse som gjelder på et sted, og slå alltid av encheten när det er forbidt Å bruke den, eller när den kan føre til interferens allerfare. Bruk encheten bare i dens normale driftsposisjoner. Denne encheten oppfyller retningslinjene for RF-eksponering när den brukes normalt, og när encheten og antennen er plassert minst 1,5 centimeter fra kroppen (se figuren nedenfor). Den bør ikke inneholde metall, og du bør plassere encheten i en avstand fra kroppen som er angitt ovenfor. For korrekt overføring av datafiler eller meldinger trenger dette encheten en nettforbindelse av god kvalitet. I noen tilfeller kan overføring av datafiler eller meldinger bli forsinket inntil en slik forbindelse er tilgengelig. Sørg for at instruksjonene om separasjonsavstand ovenfor blir fulgt inntil overføringen er fullfør. Deler encheten er magnetisk. Metalliske materialer kan bli tiltrukket av encheten, og personer med horeapparater bør ikke holde encheten mot øret som har slikt utstyr. Ikke plasser kredittkort eller andre magnetiske lagringsmedierær encheten, fordi den lagrede informasjonen på dem kan bli slettet.
Medisinske enheter
Drift av radiooverf.orgingsutstyr, medregnet tradlose Telefoner, kan forstyre funksjonaliteten til medisinske enheter med utilstrekkelig beskyttelse. Kontakt en lege erller produsenten av den medisinske enheten for a fastsla om den er tilstrekkelig beskyttet mot ekstern RF-energi, aller hvis du har sporsmal. Sla av enheten pa sykehus, legekontorer og lignende naret der er utplassertt plakater med instruksjoner om at du skal gjore det. Sykehus erller helsevesenstitusjoner kan bruke utstyr som kan vare folsomt for eksterne RF-sendinger.
Pacemakere. Pacemakerproduusenter anbefaler en minimumsavstand pa 15,3 centimeter mellom trådløse enheter og en pacemaker for a unngø potensiell forstyrelse av pacemakeren. Disse anbefalingene stemmer overens med den uavhengige forskningen til Wireless Technology Research og anbefalingene fra deutsche organisasjonen. Personer med pacemakere bør gjore folgende:
- Hold alltid enheten mer enn 15.3 centimeter fra pacemakeren.
- Ikke bær encheten nær pacemakeren nær encheten er slätt på. Hvis du har mistanke om interferens,.slár du av encheten og flytter den.
Horeapparater. Noen digitale tradlse enheter kan forstyrre enkelt horeapparater. Hvis det oppstár interferens, ma du kontakte tjenesteoperatoren.
Kjøretøy
RF-signaler kan påvirke feilaktig installererte eller utilstrekkelig skjermede elektroniske systemer i motorkjoretøy, for eksempel elektroniske drivstoffinnsprytingssystemer, ABS- (blokkeringsfrie) bremser, elektroniske hastighetskontrollsystemer og kollisjonsputer. Kontakt produsenten eller dennes representant hvis du vil ha mer informasjon om kjoretøyet ull eventuelt utstyr som er lagt til. Bare kvalifisert personale bør betjene encheten ull installere den i en kjoretøy. Feilaktig installationsjørller service på encheten kan vare farlig og ugyldiggjørne en eventuell garanti. Sjekk regelmessig at alt trådlost utstyrt i kjoretøyet er montert og fungerer som det skal. Ikke oppbevar ull transporter brennbare æsker, gasser eller eksplosive materialer i samme
rom som encheten, dens deler eller utvidelser. For kjoretøy utstyrt med en kollisjonspute er det viktig ø huske at kollisjonsputer utvider seg med stor kraft. Ikke plasser objekter, verken fastmoniert eller portabelt utstyr, i området over kollisjonsputen erler i kollisjonspustens utblasningsområde. Hvis trådlost utstyr i kjoretøyet er feilaktig installer og kollisjonsputen blaser seg opp, kan det oppsta alvorlig personskade. Bruk av encheten om bord på fly er forbudt. Slø av encheten for du går om bord på et fly. Bruken av trådløse telekomenheter i et fly kan+vare farlig for flyets sikkerhet, forstyrre det trådløse Telefonnettet og kan vare ulovlig.
Potensielt eksplosive miljøer
Slå av,enheten nár du befinner seg i et område med potensielt eksplosiv atmospfere, og respekter alle skilt og instruksjoner. Potensielt eksplosive atmospferer omrader der du normalt vil bli bedt om á slá av kjøretøyets motor. Gnister i slike omrader kan føre til en eksplosjon eller brann med fare for personskade erler i verste fall død. Slå av notisbokmaskinen nær bensinpumper. Overhold restriksjoner på bruk av radioutstyr i bensinlagre, lagrings- og distribusjonsomrader, kjemiske anlegg eller der sprengningsoperasjoner pagar. Omrader med potensielt eksplosiv atmospfere er ofte skiltet, men ikke alltid. De omfatter omrader under dekk på bæter, anegg for distribusjon uller lagring av kjemikalier, kjøretøy somBruker flytende petroleumsgass (som propan uller butan) og omrader der luften ineholder kjemikalier uller partikler som korn, støv uller metallpulver. Ikke slå pa notisboken nárbruak vtrådlo telefon er forbudt uller nár det kan fore til interferens uller faresituasjoner.
Nødanrop
Instruksjoner for avhending
Ikke kast davon elektroniske encheten som vanlig forbrukeravfall. Sorg for resirkulering av encheten for a redusere forurensning og bidra til beskyttelse av det globale miljoet. Hvis du vil ha mer informasjon om bestemmelsene i WEEE-direktivet (Waste from Electrical and Electronics Equipment), besok http://www.acer-group.com/public/Sustainability/sustainability01.htm.

Advarsel om kvikksølv
For projektorer med intern ære eller elektroniskeprodukter som inneholder LCD/CRT-skjerm erler et display uten -LED-bakgrunnslys: Lampe(r)inne iproduktet inneholder kvikksølv og må resirkuleres aller avhendes i henhold til offentlige bestemmelse. Kontakt elektronikkindustriens allianse på www.eiae.org. Konkret informasjon om avhending av lamper på www.lamprecycle.org.

ENERGY STAR

ENERGY STAR
Acers ENERGY STAR-kvalifiserteprodukter sparing deg penger ved Å redusere energikostnader og beskytte miljoetuten Å ofre funksjoner eller ytelse. Acer er stolt over Å tilby våkunderprodukter med ENERGY STAR-merket.
Hva er ENERGY STAR?
Produkter som er ENERGY STAR-kvalifisert, bruker mindfulness energi og forbhindrer utslipp av drivhusgass ved ø oppfylle de strenge retningslinjene til energieffektivitet som er angitt av amerikanske miljovernmyndigheter. Acer forplikter seg til ø tilby produit og tjenester globat for ø hjelpe kunder med ø spare penger, bevare energi og forbedre kvaliteten pa miljoet. Jo mer energia vi kan spare, desto hoyere energieffektivitet, og jo mer reduserer vi drivhusgasser og farene for klimaendring. Mer informasjon pa http://www.energystar.gov ell http://www.energystar.gov/powermanagement.
Acer ENERGY STAR-kvalifiserteprodukter:
- Genererer );inde varme og reduserer kjolebelastninger og varmere klimaforhold.
- Gå automatisk til "displayhvile" og "datamaskinhvile" etter henholdsvis 10 og 30 minutter med inaktivitet.
Vekk datamaskinen fra hvilemodus ved Å trykke på tastaturet eller flytte musen. - Datamaskiner sparer mer enn 80% i "hvilemodus".
ENERGY STAR og ENERGY STAR-merket er registrente USA-merker.
Tips og informasjon om komfortabel bruk
Datamaskinbrukere kan klage over øyeplager og hodepine etter forlenget bruk. Brukere har øgså storre fare for fysisk skade etter mange timer med arbeid foran en datamaskin. Lange arbeidsperioder, darelig arbeidsstilling, uheldige arbeidsvaner, stress, feilaktige arbeidsforhold, personlig helse og andre faktorer øker risikoen for fysisk skade betydelig.
Feilaktig datamaskinbruk kan.fore til musesyke, senekjedebetennelse aller andre muskel/skelett-lidelser. Folgende symptomer kan oppsta i hender, handledd, armer, skuldre, nakke eller rygg:
- nummenhet, aller en brennende aller prikkende føelse
- verk, särhet aller ømhet
smerte, oppsvulming eller pulsering
stivhet ellstramhet - kulde eller svakhet
Hvis du har disse symptomene ell er annet gjentagende ell varig ubehag og/ eller smerte knyttet til datamaskinbruk,kontakt en lege umiddelbart og informer bedriftshelseansvarlig.
Finn din komfortsone ved Å justere skjermens visningsvinkel, bruke en fothviler eller heve sittehøyen den for Å oppnå maksimal komfort. Vurd er følgende tips:
- unngå Å sitte for lenge i en fast posisjon
- unngå à lute fremover og/eller lene deg bakover
- stä opp og gå rundt regelmessig for Å fjerne belastningen på bein Musklene
- ta korte pauser og slapp av i nakke og skuldre
- unngå à spenne muskler aller heise opp skuldrene
- installer det eksterne displayet, tastaturet og musen korrekt og innen komfortabel rekkevidde
hvis du ser mer på skjermen enn på dokumenter, plasserer du displayet i midten av skrivebordet for Å redusere nakkebelastningen
Ta hensyn til synet ditt
Lange timer foran skjermen, feilaktige briller erller kontaktlinser, gjenskinn, overdreven rombelysning, darelig fokusert skjerm, veldig liters skrift og et display med darelig kontrast er belastende for øynene. Følgende avsnitt inneholder forslag til reduksjon av øyebelastninger.
Oyne
Hvil oynene ofte.
Gi øynene regelmessige pauser ved Å se bort fra skjermen og fokusere pæ et punkt langt borte.
- Blunk ofte for a unnga at oynene torker ut.
Skjerm
- Hold displayet rent.
- Hold hodet på et høyere niva enn overste kant av displayet slick at øynene peker nedenfor nár de ser i midten av displayet.
- Juster displayets lysstyrke og/eller kontrast til et komfortabelt niva for utvidet tekstlesbarhet og klar grafikk.
-
Eliminer gjenskinn og refleksjoner ved Å:
-
plassere displayet på en sikmxte at siden vendernot vinduetller en annen lyskilde
- redusere romlyset ved hjelp av gardiner eller persienner
- bruke et lys direkte på arbeidsområdet
endre displayets visningsvinkel - bruke et filter for reduksjon av gjenskinn
- bruke en skjermskygge, for eksempel et stykke papp som stikker ut fra displayets øvre kant
- Unngå Å se på sterke lyskilder, for eksempel Åpne vinduer, i lengretidsperioder.
XII
Utvikle gode arbeidsvaner
Uvtikle ffolgende arbeidsvaner for à gjore datamaskinbruken mer avslappende og produktiv:
- Ta kort pauser regelmessig og ofte.
Utfør noen strekkovelser.
Pust frisk luft sà ofté som mulig
Tren regelmessig og hold kroppen sunn

Advarsell Vi anbefaler ikke Å bruke datamaskinen på en sofa eller seng. Hvis dette er uunngælig, på du bare(arbeide i korte perioder, ta pauser regelmessig og gjøre=noen strekkøvelser.

Merk: Hvis du vil ha mer informasjon, vennligst les "Regularingsog sikkerhetsmerknader" på side 35.
Begynne med begynnelsen
Vi vil gjerne takke deg for at du har valgt en Acer-notesbook til dine mobile databehandlingsbehov.
Dine veiledere
Som hjelp til bruk av Acer-notesbooken har vi utformet et sett av veiledere:
Til Å begynne med vil plakaten För vi begynner... hjelpe deg med Å komme i gang med oppsettet av datamaskinen.
Den generiske handboken for TravelMate-serien inneholder nyttig informasjon om alle modeller i TravelMate-produktserien. Den dekker grunnleggende emner som Acer eRecovery Management, bruk av tastaturet, lyd, osv. Vennligst merk at bade den generiske handboken og AcerSystem User Guide som er nevnt nedenfor, fra tid til annen vil referere til funksjoner erller egenskaper som bare finnes på visse modeller, men/DDvendigvis på modellen du kjopte. Slike forekomster er markert i teksten med commentarer som "bare for visse modeller".
I den Hurtigguide fãr du en innføring i de grunnleggende egenskapene og funksjonene til den nye datamaskinen. Hvis du vil vite mer om hvordan datamaskinen kan gjore deg mer produktiv, kan du slå opp i AcerSystem User Guide. Denne handboken ineholder detaljert informasjon om emner som systemverktøy, datagjenvinning, utvidelsesalternativer og feilsøking/ problemlösing. I tillegg finner du garantiopplysninger, generell informasjon og sikkerhetsmerknader for notisbekmaskinen din. Boken er tilgengelig som PDF-fil (Portable Document Format) og leveres forhandslastet på maskinen. Følg disse trinnene for Å apne den:
1 Klikk på Start, Alle Programmer, AcerSystem.
2 Klikk pa AcerSystem User Guide.

Merk: Visning av filen krever at du har Adobe Reader installment. Hvis Adobe Reader不解 er installment på datamaskinen din, vil klikking på AcerSystem User Guide före til at installeringsprogrammet for Adobe Reader kjøres i stedet. Følg instruksjonene på skjermen for Å fullføre installeringen. Hvis du vil vite hvordan du bruker Adobe Reader, Åpner du menyen Hjelp og Støtte.
xiv
Grunnleggende om vedlkehold og tips om bruk av datamaskinen
Slå datamaskinen av og på
Nar du skal sca pa datamaskinen, trykker du ganske enkelt pää strømbryteren under LCD-skjermen og ved sider av hurtigstarttastene. Se Hurtigguide hvis du vil vite hvor av/pa-knappen befindner seg.
Klikk på Start og klikk deretter på Slå av.
- Bruke av/på-knappen
Du kan ogsa sette datamaskinen i dvalemodus ved Å trykke pa dvalehurtigtasten

Merk: Hvis du ikke kan slå av datamaskinen på vanlig måte, trykker du inn av/på-knappen i mer enn fire sekunder for Å slå av maskinen. Hvis du slår av maskinen og vil slå den på igjen,mödu vente minst to sekunder for du starter på nytt.
Vedlikehold av maskinen
- Ikke koble batterieliminatoren til noen andre enheter.
- Ikke trå på stromledningen eller plasser tunge gjenstander oppå den. Vær nøye med Å plassere stromledningen og eventuelle kabler borte fra persontrafikk.
- Nár du tar ut strømledningen, má du ikke trekke i selve ledningen, mentrekke ut pluggen.
- Total registrert strømstyrke for innplugget utstyr bør ikke overskride stromstyrken til ledningen hvis du bruker en skjøteledning. Og total registrert strømstyrke for alt utstyr som er innplugget i'en veggkontakt, på ikke overskride sikringsverdien.
Ta vare pà batteriene
Her er noen mater a ta vare pabatteriene paa:
- Bruk bare originale batterier nár du bytter. Slá av strømmen før du tar ut ell er bytter batteri.
- Unngå fikling med batterier. Hold dem utenfor barnsrekkevidde.
- Kvitt deg med batterier i henhold til lokale forskrifter. Sørg for resirkulering hvis mulig.
Rengjoring og service
Nár du rengjør datamaskinen, følger duppe trinnene:
1 Slá av datamaskinen og ta ut batteriene.
2Koble fra batterieliminatoren.
3 Bruk en myk klut faktet med vann. IkkeBruk Iosningsmidler erler aerosolbaserte rengjoringsmidler.
Hvis noe av folgende skjer:
Informasjon for din sikkerhet og komfort iii
Viktige sikkerhetsinstruktjoner iii
Forholdsregler for optiske stasjoner
(bare for visse modeller) vii
Driftsmiljo vii
Medisinske enheter viii
Kjoretoy viii
Potensielt eksplosive miljoer ix
Nodanrop ix
Instruksjoner for avhending ix
Advarsel om kvikksølv ix
ENERGY STAR
Tips og informasjon om komfortabel bruk
Begynne med begynnelsen xiii
Dine veiledere xiii
Grunnleggende om vedlkehold og tips om
bruk av datamaskinen xiv
Vedlikehold av maskinen xiv
Ta vare pà batterieliminatoren XV
Ta vare pà batteriene XV
Rengjoring og service XV
Berøringsplate (Touchpad) 1
Berøringsplate - grunnleggende (med fingeravtrykksleser) 1
Beroringsplate - grunnleggende (med tokliksknapper) 2
Bruk av tastaturet 3
Lasetaster og innfelt numerisk tastatur* 3
Windows-taster 4
Lyd 5
Acer PureZone (bare for visse modeller) 5
Video 5
16:9-visiting (bare for visse modeller) 5
Bruke systemverktøyene 6
Acer Bio-Protection (bare for visse modeller) 6
Egenskaper for batteriet 14
Installering og fjerning av batteriet 15
Lade opp batteriet 16
Undersøke batterinivæt 16
Optimaliserebatterilevetiden 16
Advarsel om lavt energinivå på batteriet 17
På reisefot med notebook-PC 18
Koble fra skrivebordet 18
Pà tur 18
Klargjore datamaskinen 18
Reise internasjonalt med datamaskinen 21
Klargjore datamaskinen 21
Bruke en sikkerhetslås på datamaskinen 22
Bruke password 22
Registre passord 23
Angi passord 23
Utvide med ekstrautstyr 24
Tilkoblingsalternativer 24
Faks/data-modem (bare for visse modeller) 24
Integrert nettverksfunksjon 25
Universal Serial Bus (USB) 25
IEEE 1394-port (bare for visse modeller) 26
Hoydefinisjons multimediegrensesnitt
(bare for visse modeller) 26
ExpressCard (bare for visse modeller) 27
Installere mine 28
BIOS-verktøy 29
Oppstartssekvens 29
Bruke programvare 30
Spille DVD-filmer 30
Vanlige sporsmal 31
Beom service 33
Feilsøking og problemlösing 34
Feilsøkingstips 34
Feilmeldinger 34
Regulerings- og sikkerhetsmerknader 35
FCC-erklæring om 35
Modemvarsler (bare for visse modeller) 36
Erklæring om LCD-piksler 36
Regulerende bestemmelser for radioenheter 36
Generelt 36
FCC RF-sikkerhetskravet 37
Canada - Radiokommunikasjonsenheter fritatt fra
lavspenningslisens (RSS-210) 38
Menneskelig pavirkning fra RF-felt (RSS-102) 38
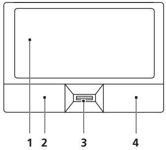
Berøringsplate – grunnleggende (med fingeravtrykksleser)
Folgende elementer viser deg hvordan du bruker pekeplaten med Acer Bio-Protection-fingeravtrykksleseren.
- Beveg fingeren over berøringsflaten (1) for Å bevege markoren.
Trykk pa venstre (2) og hoyre (4) knapp pa kanten av beroringsflaten for a utfore valg og funksjoner. Disse to knappene tilsvarer venstre og hoyre knapp pa en mus. A "tappe" pa beroringsflaten er det samme som a klikke med venstre knapp.

| Funksjon | Venstre knapp (2) Høyre knapp (4) Berøringsflate (1) | Senter-knapp (3) |
| Utføre | Klikk raskt to ganger. | Tapplett to ganger (med samme hastighet som+när du dobbeltklikker på en museknapp). |
| Velge | Klikk en gang. | Tapplett en gang. |
| Dra | Klikk og hold, og bruk sā fingeren for ádra markøren på berøringsflaten. | Tapplett to ganger (med samme hastighet som+när du dobbeltklikker på en museknapp) og hold,sä fingeren nede på berøringsflaten perpeten annet tapp, og dra med deg markøren. |
| Kontekstmenyfor tilgang | Klikk en gang. |
Berøringsplate – grunnlegende (med tokliksknapper)
- Beveg fingeren over berøringsflaten for Å bevege markoren.
- Trykk på venstre og høyre knapp på kanten av berøringsflaten for ø utføre valg og funksjoner. Disse to knappene tilsvarer venstre og høyre knapp på en mus. Å "tappe" på berøringsflaten er det samme som ø klikke med venstre knapp.
| Funksjon | Venstre knapp | Høyre knapp | Berøringsflate |
| Utføre | Klikk raskt to ganger. | Tapplett to ganger (med samme tastigkeit somningar du dobbeltklikker på en museknapp). | |
| Velge | Klikk en gang. | Tapplett en gang. | |
| Dra | Klikk og hold, og bruk på fingeren for ødra markøren på berøringsflaten. | Tapplett to ganger (med samme tastigkeit somningar du dobbeltklikker på en museknapp) og hold på fingeren nede på berøringsflaten perpeten annet tapp, og dra med deg markøren. | |
| Kontekstmeny for tilgang | Klikk en gang. | ||

Merk: Bildene er kun til illustrasjon. PCens eksakte konfigurasjon avhenger av den kjopte modellen.

Merk: Nár du bruker berøringsflaten, má du ha tørre og rene fingre. Hold både flaten og fingre nørre og rene. Berøringsplaten er folsom for fingerbevegelser. Derfor -jo lettere berøring,esto bedre respons.A tappe hardere vil ikke øke folsomheten til berøringsflaten.

Merk: Ifolge standardinnstillingen er loddrett og vannrett rulling aktivert på berøringsflaten. Dette kan deaktiveres i museinnstillingene i Windows Kontrollpanel.
Bruk av tastaturet
Tastaturet har taster i normal størrelse og omfatter et innfelt numerisk tastatur*, separate markortaster, lase-, Windows-, funksjons- og spezialtaster.
Låsetaster og innfelt numerisk tastatur*
Tastaturet har tre lasetaster som kan slas av og pa.
| Låsetast | Beskrivelse |
| Caps Lock | När Caps Lock er på, skrives alle alfanumeriske tegn som STORE bokstaver. |
| NumLk <Fn> + <F11>* | När NumLk er på, er det innfelte tastaturet i numerisk modus. Tastene fungerer som en kalkulator (komplett med aritmetiske funksjoner +, -, * og/). Bruk这部分 modusen när du trenger Å legge inn mange numeriske data. En bedre lösning kan:vare Å koble til et eksternt numerisk tastatur (keypad). |
| Scr Lk <Fn> + <F12> | När Scr Lk er på, beveger skjermen seg en linje opp eller ned;när du trykker på henholdsvis opp-ller nedpil. Scr Lk fungerer ikke med alle applikasjoner. |
Det innfelte numeriske tastaturet fungerer som et separat numerisk tastatur på en standard datamaskin. Det angis av små tegn som befinner seg i øvre høyre hjørne av tastene. For Å bevare tastaturet oversiktlig er markørstyringssymbolene ikke trykt på tastene.
| Ønsket tilgang | NumLk på | NumLk av |
| Talltaster på integrett tastatur | Skriv inn tall på vanlig måte. | |
| Markørstyringstaster på integrett tastatur | Hold < ↑ > nede mens du bruker markørstyringstastene. | Hold <Fn> nede mens du bruker markørstyringstastene. |
| Viktige tastaturtaster | Hold <Fn> nede mens du skriver bokstaver på integrett tastatur. | Skriv bokstavene på vanlig måte. |
* bare for visse modeller
Windows-taster
Tastaturet har to taster som utfører Windows-spesifikke funksjoner.
| Tast | Beskrivelse |
| Windows-tast | Brukt alene har这部分 knappen samme virkning som Å trykke på startknappen i Windows, dvs. Åpne startmeyen. Den kan også bruke i kombinasjon med andere taster for Å utføre ulike funksjoner: |
| <ä>: Åpne eller lukk Start-menyen | |
| <ä> + <D>: Vis skrivebordet | |
| <ä> + <E>: Åpne Windows Utforsker | |
| <ä> + <F>: Søk etter en fil erller mappe | |
| <ä> + <G>: Bla gjennom sidefeltapparater | |
| <ä> + <L>: Lås datamaskinen (hvis du er koblet til et nettverksdomene), eller bytt bruker (hvis du ikke er koblet til et nettverksdomene) | |
| <ä> + <M>: Minimaliserer alle vinduer | |
| <ä> + <R>: Viser dialogboksen Kjør | |
| <ä> + <T>: Bla gjennom programmer på oppgavelinjen | |
| <ä> + <U>: Åpne Ease of Access Center | |
| <ä> + <X>: Åpne Windows Mobility Center | |
| <ä> + <Break>: Vis dialogboksen Systemegenskaper | |
| <ä> + <↑ +M>: Gjenopprett minimerte vinduer til skrivebordet | |
| <ä> + <K- >: Bla gjennom programmer på oppgavelinjen ved hjelp av Windows Flip 3-D | |
| <ä> + <MELLOMROM>: Plasser alle apparater fremst og velg Windows-sidefeltet | |
| <Ctrl> + <ä> + <F>: Søk etter datamaskiner (hvis du er tilkoblet et nettverk) | |
| <Ctrl> + <ä> + <K- >: Bruk piltastene til äbla gjennom programmer på oppgavelinjen ved hjelp av Windows Flip 3-D | |
| Merk: Avhengig av utgaven din av Windows vil enkelte snarveier kanskje ikke fungere som beskrevet. | |
| Applikasjonstast | Denne tasten har samme effekt som Å klikke på hoyre musetast – den Åpner en hurtigmeny. |
Lyd
Datamaskinen leveres ogå med 32-bits Intel High Definition (HD)-lyd og høyttaler(e).
Acer PureZone (bare for visse modeller)
Systemet gir deg en helt ny og entusiastisk lydopplevelse, blant annet Acer PureZone medinnebygde stereomikrofoner som tilbyr tekologi for stråledanning og ekkoannullering. Acer PureZone-tekologi støtter akustisk ekkoannullering, stråledanning og støyundertrykking for ren lydinnpilling. Nár du skal konfigurere mikrofonen, kjører du Acer HD Audio Manager ved Å dobeltklikpe på ikonet Acer HD Audio Manager i systemskuffen i Windows. Dialogbokensen Acer HD Audio Manager vises. Klikk på kategorien Mikrofon og deretter på kategoriem Mikrofoneffekter. Velg Stråledanning og Akustisk ekkoannullering for Å angi mikrofoneffekten.

16:9-visining leverer fullverdige HD-filmer hjemme, bedre enn noensinne. Kjempehoy fargemetting garanter en autentisk HD-opplevelse. 16:9-kvalitet betyr at ekte hjemmekinobilder nä endelig er tilgjengelig for underholdningsformål på notisbokmaskiner.
Bruke systemverktøyene
Acer Bio-Protection (bare for visse modeller)
Acer Bio-Protection fingervavtrykkslønning er en multifunksjonell fingervavtrykksprogramvarepakke som er integrett sammen med Microsoft Windows operativsystem. En persons fingervaykk er som kjent unike, sö Acer Bio-Protection Fingerprint Solution beskytter mot u autorisert tilgang til datamaskinen din. Det benyttes sentralisert passordstyring med en passordbank og rask oppstart og innlogging på program/webside ved hjelp av Acer FingerLaunch.
Med Acer Bio-Protection fingeravtrykksloning fár du nà gleden av en ekstra grad av beskyttele av din personlige datamaskin, og adgang til dine daglige oppgaver med et enkelt fingerstrøk.
For mer informasjon viser vi til Acer Bio-Protection hjelpefiler.

Acer Backup Manager

Merk: Denne funksjonen er bare tilgengelig på visse modeller.
Acer Backup Manager er en enkel tretrinnsproess som gir deg mulighet til Å lage sikkerhetskopier av hele systemet ullvalgte filer og mapper i henhold til en tidsplan, eller ved behov.
Nár du skal starte Acer Backup Manager, trykker du på Acer Backup Managertasten over tastaturet. Alternativt kan du gå til Start > Alle programmer > Acer Backup Manager > Acer Backup Manager. Dette Åpner velkomstskjermbildet.
Fra dette skjermbildet blir du veiledet gjennom tre trinn for Å sette på planlagte sikkerhetskopieringer. Klikk på Fortsett for Å fortsette til fölgende skjermbilde. Klikk på knappen + og følg instruksjonene på skjermen:
1 Velg innholdet du vil sikkerhetskopiere. Jo minded innhold du velger, desto raskere gár prosessen, men det vil øke risikoen for Å miste data.
2 Velg hvor du vil at sikkerhetskopiene skal lagres. Du mä velge en ekstern stasjon aller D:- stasjonen. Acer Backup Manager kan/DDre en sikkerhetskopi på kildestasjonen.
3 Velg hvor ofte Acer Backup Manager skal lage sikkerhetskopier.
Så snart du er ferdig med disse tre trinnene, vil sikkerhetskopiene opprettes i henhold til tidsplanen. Du kan ögså opprette sikkerhetskopier manuelt ved Å trykke på Acer Backup Manager-tasten.
Hvis du vil endre innstillingene, kan du när som helst kjøre Acer Backup Manager fra Start-menyen og gå gjennom trinnene ovenfor.

Strømstyring
Denne datamaskinen har eninnebygd stromstyringsenhet som overvåker systemaktiviteten. Systemaktivitet refererer til aktivitet som involvererén aller flere av følgende encheter: tastatur, mus, hardisk, periferutstyr koblet til datamaskin, og skjermminne. Hvis ingen aktivitet blir oppdaget i lopet av entidsperiode (kalt tidsavbrudd ved inaktivitet), stopper datamaskinen noen uller alle disse enchetene for á spare energia.
Denne datamaskinen følger et stromstyringsoppsett som stotter "Advanced Configuration and Power Interface" (ACPI), som gir bxade optimal strømsparing og ytelse. Windows handtero alle strømsparingsrutiner for datamaskinen.
Acer PowerSmart-tast

Merk: Denne funksjonen er bare tilgengelig på visse modeller.
Acer PowerSmart-tasten bruker strømsparingsfunksjonene i datamaskinens grafikkundersystem til Å redusere samlet stromforbruk. Når du trykker på Acer PowerSmart-tasten, reduseres skjermens lysstyrke og grafikkbrikken svitsjes til lavere hastighet. PCI- og WLAN svitsjer til strømsparingsmodus. Trykk på Acer PowerSmart-tasten igjen for Å gå tilbake til de tidligere innstillingene.
Acer eRecovery Management er et verktøy for rask gjenoppptting av systemet. Du kan ogsa sikkerhetskopiere/gjenopprette et fabrikstandard diskimage og installere applikasjoner og drivere på nytt.

Merk: Alt av følgende innehold er kun for generelle referanseformål. Aktuelleproduktpesifikasjoner kan variere.
Acer eRecovery Management bestär av følgende funksjoner:
1 Sikkherhetskopiering:
Lag fabrikstandard disk
Lag disk for drivere og applikasjoner
2 Gjenopppretting:
Gjenoppprett systemet fullstendig til fabrikkstandard
Gjenoppprett operativsystem og beholdBrukerdata
- Installer drivere eller applikasjoner på nytt
Dette kapitlet vil veilede deg gjennom alle prosessene.

Merk: Denne funksjonen er bare tilgengelig på visse modeller. På systemer uteninnebygd brenner for optiske plater kan du plugge inn en ekstern optisk platebrenner for du apner Acer eRecovery Management for oppgaver i forbindelse med optiske plater.
Hvis du vil bruke passordbeskyttesefunksjonen i Acer eRecovery Management til á besykythe dataene dine, mä du Först definere. Passordet angis ved Å starte Acer eRecovery Management og klikke på Innstillinger.

Lag sikkerhetskopidisk
Fra widen Sikkerhetskopi i Acer eRecovery Management kan du brenne et fabrikstandardimage eller sikkerhetskopiere drivere og programmer.
1 Klikk på Start, Alle Programmer, Acer, Acer eRecovery Management.
2 Acer eRecovery Management apnes pa sider Sikkerhetskopi.

3 Velg typen sikkerhetskopiering (fabrikstandard aller drivere og programmer) du gjerne vil brenne til disk.
4 Følg instruksjonene på skjermen for a fullfore prosessen.

Merk: Lag et fabrikkstandard diskimage nár du vil brenne en oppstartbar disk som ineholder—hele datamaskinens operativsystem sik det ble levert fra fabrikken. Hvis du trenger en disk som gir deg mulighet til á söke i innholdet og installere utvalgte drivere og programmer, lager du et sikkerhetskopi av drivere og programmer i stedet – dette disken vil ikke oppstartbar.
Gjenopppretting
Gjenoppprettingsfunksjonen gir deg mulighet til Å gjenopprette fra et fabrikkstandard diskimage eller fra CD- aller DVD-sikkerhetskopier du har laget tidligere. Du kan och reinstallere applikasjoner og drivere for Acer-systemet.
1 Klikk på Start, Alle Programmer, Acer, Acer eRecovery Management.
2 Bytt til Gjenoppprett-siden ved Å klikke på Gjenoppprett.

3 Du kan velge Å gjenopprette systemet fra et fabrikkstandard diskimage, eller installere programmer og drivere på nytt.
4 Følg instruksjonene på skjermen for Å fullføre prosessen.
Sikkerhetskopiere Windows fra sikkerhetskopier

Merk: Denne funksjonen er bare tilgengelig på visse modeller.
Hvis du vil gjenopprette Windows fra sikkerhetskopidisker du har brent tidligere, på du sette inn den første sikkerhetskopidisken og aktivere F12 Oppstartmeny via BIOS-oppsettprogrammet.
1 Slå på datamaskinen og sett inn den förste gjenoppprettingsdisken i den optiske diskstasjonen. Start datamaskinen på nytt.
2 Under oppstart, mens Acer-logoen vises, trykker du pa F2-tasten for a gäinn i BIOS-oppsett, der du kan angi systemparamete.
3 Bruk venstre og høyre piltast til á velge untermenyen Hoved.
4 Bruk opp- og neddiltastene til á velge F12 Oppstartmeny.
5 Bruk F5-eller F6-tasten til a endre F12 Oppstartmeny til Aktivert.
6 Trykk på ESC-tasten forå gå inn på untermenyen Avslutt. Trykk på ENTER forå avslutte og lagre endringer. Trykk på ENTER igjen forå velge Ja. Systemet starter på nytt.
7 Etter omstart, mens Acer-logoen vises, trykker du pa F12-tasten for Å apne oppstartmenyen. Her kan du velge hvilken enchet du vil starte fra.
8 Bruk piltastene til á velge IDE1*, og trykk deretter på ENTER. Windows vil installereres fra gjenopprettingsdisken.
9 Sett inn den andre gjenopprettingsdisken nár du blir bedt om det, og følg meldingene på skjermen for à fullfère gjenopprettingen.
10 Fjern gjenopprettingsdisken fra den optiske stasjonen sà snart gjenopprettingen er fullfør. Gjör dette før du starter datamaskinen pa nytt.
Hvis du foretrekker á angi OPPstartprioriteten for langsiktig bruk, bør du velge untermenyen Oppstart.
1 Slå på datamaskinen og sett inn den förste gjenopprettingsdisken i den optiske diskstasjonen. Start datamaskinen på nytt.
2 Under oppstart, mens Acer-logoen vises, trykker du pa F2-tasten for a gäinn i BIOS-oppsett, der du kan angi systemparamete.
3 Bruk venstre og høyre piltast til á velge untermenyen Oppstart.
4 Bruk opp- og neddiltastene til Å velge IDE1-enheten.
5 Bruk F6-tasten til Å flytte IDE1-enheten til høyeste oppstartprioritet, ellerBruk F5-tasten for Å flytte andre enheter til en lavere oppstartprioritet. Sorg for at IDE1*-enheten har høyeste prioritet.
6 Trykk på ESC-tasten forå gå inn på undermenyen Avslutt. Trykk på ENTER forå avslutte og lagre endringer. Trykk på ENTER igjen forå velge Ja. Systemet starter på nytt.
7 Nár du starter på nytt, vil Windows installeres fra gjenopprettingsdisken.
8 Sett inn den andre gjenopprettingsdisken nár du blir bedt om det, og følg meldingene på skjermen for à fullfère gjenopprettingen.
9 Fjern gjenopprettingsdisken fra den optiske stasjonen sà snart gjenopprettingen er fullfør. Gjör dette För du starter datamaskinen papyntt.
Batteri
Datamaskinen bruker et batterisett som gir deg lang bruk mellom ladinger.
Egenskaper for batteriet
Bruker moderne batteriteknologi.
Varsler om lav spenning på batteriet.
Batteriet lades hvver gang du kobler datamaskinen til batterieliminatoren. Det gjør det mulig for deg Å fortsette Å arbeide med datamaskinen mens batteriet lades. Lading mens datamaskinen er slätt av gir imidlertid betydelig raskere lading.
Batteriet vil vise seg hendig nár du er ute og reiser, eller ved strombrudd. Det er fornuftig Å ha et ekstra ladet batteri tilgengelig i reserve. Kontakt din forhandler for detaljer om hvordan et ekstra batteri kan bestilles.
Få mer ut av batteriets levetid
Som alle andre batterier vil ogss batteriet i din datamaskins blidarligere etter hvert. Det betyr at batteriets ytelse blir dargiligere medtid og bruk. For a maksimere batteriets levetid anbefales det a ffolge folgLende rad.
Tilpasse et nytt batteri
1 Sett batteriet iuten at maskinen er slatt pa.
2 Koble til batterieliminatoren og lad batteriet fullt.
3 Koble fra batterieliminatoren.
4 Slå på datamaskinen og kjør på batteridrift.
5 Tøm batteriet helt til lampen som advarer mot lav batterikapasitet, lyser.
6 Koble til batterieliminatoren og lad batteriet til det er fullt igjen.
Gjør dette inntil batteriet er ladet og utladet tre ganger.
Bruk davon "tilvenningsprosessen" på alle nye batterier, aller dersom batteriet不解 har vært brukt i en lengreperiode. Dersom datamaskinen skal lagres for mer enn to uker, sä anbefales det Å fjerne batteriet.

Advarel: Utsett ikke batteriet for temperaturer under 0^ (32^) eller over 45^ (113^) . Ekstreme temperaturer kan forårsake skade på batteriet.
- Konstant bruk av den bærbare datamaskin med batterieliminator, mens batteriet er i maskinen. Hvis du ønsker Å bruke nettstrom konstant, sä anbefales det Å ta ut batteriet, etter at det er fullstendig ladet opp.
- Ikke à lade opp aller utlade batteriet som beskrevet overfor.
- Hyppig bruk, jo mer batteriet brukes, jo raskere vil det slites ut. Et standard batteri for bærbare datamaskiner har en livslengde som tilsvar om lag 300 oppladninger.
Installering og fjerning av batteriet

Viktig! Før batteriet fjernes fra maskinen, kobler du til batterieliminatoren om du fortsett onsker Å bruke datamaskinen. Hvis ikke, slår du av datamaskinen første.
Installering av batteri:
1 Legg batteriet på linje med den Åpne batteriskuffen. Sjekk at enden med kontakter gär inn Först, og at batteriets overflate vender opp.
2 La batteriet gli inn i batteriskuffen, og trykk forsiktig inntil batteriet lases pa plass.
Merk: Du rådes til Å sette batteriet til lading før du gær fra arbeidet for dagen. Lading av batteriet over natten gjør at du starter;neste dag med fulladet batteri.
Undersøke batterinivået
Windows energimaler viser det gjeldende nivæt på batteriet. Plasser markøren over ikonet for batterienergi på oppgavelinjen for Å se batteriets gjeldende energinivå.
Optimalisere batterilevetiden
Optimalising av batteriet vil hjelpe deg med Å föm mulig ut av batteriets bruk, forlenge tiden mellom hver opplading og forbedre effektiviteten ved lading. Du rådes til Å fölgé forslagene nedenfor:
Kjope et ekstra batteri.
- Bruk batterieliminator nár det er mulig. Reserver bruken av batteriet til nár du er ute og reiser.
- Ta ut PC-kort nár de ikke er i bruk, fordi de ellers vil forbruke energia (på utvalgte modeller).
Lagre batteriet kaldt og tørt. Anbefalt temperatur er 10^ (50^) til 30^ (86^) . Hoyere temperatur vil føre til at batteriet lader seg selv ut raskere.
Overdreven oppleading forkorter batteriets levetid.
- Ta vare på batterieliminator og batteri.
Advarsel om lavt energinivå på batteriet
Nár maskinen brukes på batteri, sä hold øye med Windows batterimäler.

Adversel: Koble til batterieliminatoren sö raskt som mulig etter at advarselen om lavt niva på batteriet har dukket opp. Data vil gå tapt dersom batteriet blir helt utladet, og datamaskinen slár seg av selv.
Nár advarselen om lav't niva på batteriet dukker opp, sä vil riktig handling avhenge av situasjonen:
| Situasjon | Anbefalt handling |
| Batterieliminatoren og en strømkontakt er tilgengelig. | 1. Koble batterieliminatoren til datamaskinen, og koble på til strømnettet.2. Lagre alle nødvendige filer.3. Gjenoppta arbeidet.Slå av maskinen om du ønsker en rask opplading. |
| Et ekstra fulladet batteri er tilgengelig. | 1. Lagre alle nødvendige filer.2. Lukk alle applikasjoner.3. Avslutt operativsystemet for Å slå av datamaskinen.4. Bytt batteri.5. Skru på datamaskinen og fortsett med Å arbeide. |
| Verken batterieliminatoren eller en strømkontakt er tilgengelig. Du har ikke reservebatteri. | 1. Lagre alle nødvendige filer.2. Lukk alle applikasjoner.3. Avslutt operativsystemet for Å slå av datamaskinen. |
På reisefot med notebook-PC
Koble fra skrivebordet
Følg disse trinnene for á koble datamaskinen fra eksternt tilbehör:
1 Lagre eventuelle apne filer.
2 Fjern eventuelle medier, disketter aller CDer fra stasjonen(e).
3 Slavadatamaskinen.
4 Lukskjermlokket.
5 Koble ledningen fra batterieliminatoren.
6 Koble fra tastatur, pekeenhet, skriver, ekstern skjerm og andre eksterne enheter.
7 Koble fra Kensington-lasen hijs du bruker en slik til a sikre datamaskinen.
Pà tur
Nár du bare beveger deg korte avstandere, for eksempel fra kontorplassen din til et møterom.
Klargjore datamaskinen
För du flytter datamaskinen, lukker du lassen og skjermlokket for Å sette den i dvalemodus. Du kan nà trygt ta med deg datamaskinen hvor som helst i bygningen. Nár du skal ta maskinen ut av sovemodus, æpner du skjermlokket og trykker på og slipper av/pa-knappen.
Hvis du tar med deg datamaskinen ut til en kunde aller en annen bygning, kan du velge Å slå av datamaskinen:
Klikk på Start og klikk deretter på Slå av.
eller
Du kan setzen datamaskinen i dvalemodus ved Å trykke på
Nár du er klar til á bruke datamaskinen igjen, æpner du låsen og skjermen. Deretter trykker du pá og slipper av/pa-knappen.

Merk: Hvis strömindikatoren er av, har datamaskinen gätt i dvalemodus og slätt seg av. Hvis strömindikatoren er av, men dvaleindikatoren er på, har datamaskinen gätt i dvalemodus. I begge tilfeller trykker du på og slipper av/på-knappen for Å slå pa maskinen igjen. Merk deg at datamaskinen kan gå i dvalemodus etter en periode i sovemodus.
Hvis du skal ta med deg til møter
Hvis møt et er forholdsvis kort, behoover du sannsynligvis ikke á ta med deg noe annet enn datamaskinen. Hvis møt et varer longer eller 2 timer aller hvis batteriet ikke er fulladet, bør du kanskje ta med deg batterieliminatoren for á plugged inn datamaskinen i møterommet.
Hvis ømerommet ikke har stromkontakt, kan du redusere belastningen på batteriet ved Å sette datamaskinen i sovemodus. Trykk på
Etter at du har koblet datamaskinen fra skrivebordet, følger du disse trinnene for á klargjore datamaskinen for en tur hjem:
Forsiktig: Ikke pakk gjenstander ved sider av datamaskinens topplokk. Trykk mot lokket kan skade skjermen.
- batterieliminator og stromledning
dentrykethurtigguide
Spesielle hensyn
Følg disse retningslinjene for beskytte datamaskinen på reise til og fra arbeid:
- Reduser virkningen av temperaturendirnger ved Å ha med deg datamaskinen.
- Hvis du på stoppe i en lengre期内e og ikke kan ha med datamaskinen, kan du legge datamaskinen i bagasjerommet for Å unngå at den utsettes for overdreven varme.
- Endringer i temperatur og fuktigkeit kan.fore til kondensering. Gi datamaskinen mulighet til Åkommen tilbake til romtemperatur, og undersök om skjermen har kondens for du slår på maskinen. Hvis temperaturendringen er høyere enn 10^ (18 °F), lar du datamaskinen gjenvinne romtemperatur sakte. Hvis mulig lar du datamaskinen stå 30 minutes i omgivelser med temperatur mellom ute- og romtemperaturen.
Hvis du bruker datamaskinen hjemme i lengre tidsperioder, ønsker du kanskje ogsa Å legge til eksternt tastatur, skjerm og mus.
Reise med datamaskinen
Nár du beveger deg over en større avstand, for eksempel fra kontorbygningen din til en kundes kontorbygning eller på reise lokalt.
Klargjore datamaskinen
Klargjør datamaskinen som om du tar den med deg hjem. Kontroller at batteriet i datamaskinen er ladet. På flyplasser kan du bli bedt av sikkerhetspersonell om Å slå pa datamaskinen.
Ta med deg følgende ting:
- Batterieliminator
- Ett aller flere ekstra, fulladede batterier
Ekstra skriverdriverfilher his du har tenkt a bruke en annen skriver
Spesielle hensyn
I tillegg til retningslinjene for a ta med seg datamaskinen hjem, folger du disse retningene for a beskytte datamaskinen nár du er pa reise:
Ta alltid med datamaskinen som kabinbagsaje.
- Hvis mulig, ber du om at datamaskinen inpiseres manuelt. Gjennomlysing på flyplasser er trygt, men/DDke la datamaskinen passere en metalldetektor.
Unngå ä utsette disketter for handholdte metalldetektorer.
Reise internasjonalt med datamaskinen
Nár du reiser fra land til land.
Klargjore datamaskinen
Klargjör datamaskinen for reise på vanlig måte.
Ta med deg følgende ting:
- Batterjeliminator
Strømledninger som egner seg for landet du reiser til
Ekstra, fulladede batterier
Ekstra skriverdriver filer hvis du har tenkt Å bruke en annen skriver
Kjopsbevis, i tilfelle du ma vise det for tollfunksjonerer
International Travelers Warranty
Spesielle hensyn
Følg de samme retningslinjene som nár du reiser med datamaskinen. I tillegg er disse tipsene nyttige nár du reiser internasjonalt:
Nár du reiser i et annet land, mä du undersøke om den lokale strømspenningen er kompatibel med batterieliminatorens spesifikasjoner. Hvis ikke, kjøper du en strømledning som er kompatibel med lokal spunning. Ikke bruk adaptere for el-utstyr til Å forsyne datamaskinen din med strom.
- Hvis du bruker modem, på du undersøke om modemet og kontakten er kompatible med telesystemet i landet du reiser i.
Sikkerhetsfunksjoner omfatter maskinvare og programvarelåser - en sikkerhetslås og passord.
Bruke en sikkerhetslås på datamaskinen
Notebooken leveres med Kensington-spor for en sikkerhetslås.
Passord beskytter datamaskinen din mot uauthorisert tilgang. Ved Å angi disse passordene oppretter du flere forskjellige beskyttelsenivær for datamaskinen og dataene dine:
- Supervisor-passord (Supervisor Password) forhinderer uauthorisert tilgang til BIOS-verktøyet. Når det er satt, på du taste inn dette passordet for Å få tilgang til BIOS-verktøyet. Se "BIOS-verktøy" på side 29.
Brukerpassord (User Password) sikrer datamaskinen mot u autorisert bruk. Kombiner dette passordet med passordsjekkpunkter ved oppstart og gjenopptak fra dvale forå oppnå maksimal sikkerhet. - Oppstartspassord (Password on Boot) sikrer datamaskinen mot uautorisert bruk. Kombiner dette passordet med passordsjekkpunkteter ved oppstart og gjenopptak fra dvale for ø oppna maksimal sikkerhet.

Viktig! Ikke glem Supervisor-passordet! Hvis du glemmer passordet, ma du kontakte forhandleren eller et autorisert servicesenter.
Nár et passord er satt, blir du bedt om á oppgi passordet i nedre venstre hjørne av skjermen.
- Nár Supervisor-passordet er satt, vises et spørsmål om passord nár du trykker på
for a gå inn i BIOS-verktøyet ved oppstart. - Skriv inn Supervisor-passordet og angi
for Å få tilgang til BIOSverktøyet. Hvis du skriver passordet feil, vises en advarselmelding. Prov papyntt og trykk på . - Nár brukerpassordet er satt og parameteren Oppstartspassord er aktivert, vises en melding ved oppstart.
- Skriv inn brukerpassordet og trykk pa
for a bruke datamaskinen. Hvis du skriver passordet feil, vises en adverselmelding. Prov pa nytt og trykk pa .

Viktig! Du fãr tre sjanser til Å skrive inn et passord. Hvis du ikke har klart Å legge inn passordet fetter tre forsøk, stopper systemet. Skyv og hold strombryteren innen i fire sekunder for Å slå av datamaskinen. Deretter slår du på datamaskinen og prover papy nttt.
Angi passord
Du kan angi passord ved hjelp av BIOS-verktoyet.
Utvide med ekstrautstyr
Notebook-PCen din gir deg alt du trenger til mobil databehandling.
Tilkoblingsalternativ
Ved hjelp av porter kan du koble periferutstyr til notebook-maskinen på samme mæte som til en skrivebords-PC. Hvis du vil ha flere detailjer om tilkobling av eksterne encheter, les følgende avsnitt.
Faks/data-modem (bare for visse modeller)
Datamaskinen din har etinnebygd faks/data-modem, av typen V.92 56 Kbps. (bare for visse modeller)

Advarel! Denne modemporten er/DDie kompatibel med digitale Telefonlinjer. A plugge inn ditte modemet pa en digital Telefonlinje vil skade modemet.
Advarsell Kontroller at du bruker riktig kabel for landet der du arbeider.
Integrert nettverksfunksjon
Den integrerte nettverksenheten gjør det mulig Å koble maskinen din til et Ethernet-basert nettverk.
Nár du skal bruke nettverksfunksjonden, kobler du en Ethernet-kabel fra Ethernet- (RJ-45) porten på datamaskinen til en nettverskkontakt eller hub i nettverket.

Universal Serial Bus (USB)
USB 2.0-porten er en høyhastighetsseriebuss som lar deg koble til USB-utstyruten á legge beslag på verdifulle systemressurser.

IEEE 1394-port (bare for visse modeller)
Datamaskinens IEEE 1394-port lar deg koble til en IEEE 1394-enhet, f.eks. et video- aller digitalkamera. Se dokumentasjonen til video- aller digitalkameraaet hvis du vil ha detaljer.

Høydefinisjons multimediegrensesnitt (bare for visse modeller)
HDMI (High-Definition Multimedia Interface) er en bransjestandard for ukomprimert, heldigitalt lyd/videogrensesnitt. HDMI tilbyr et grensenitt mellom eventuelle kompatible digitale lyd-/videokilder, for eksempel en settop-boks, DVD-spiller og A/V-mottaker og en kompatibel digital lyd- og/eller videoskjerm, for eksempel en digital TV (DTV), over en enkelt kabel.
Bruk HDMI-porten på datamaskinen itl Å koble deg til avansert lyd- og videoutstyr. Implementering med enkeltkabel gir ryddig oppsett og hurtig forbindelse.

ExpressCard (bare for visse modeller)
ExpressCard er den nyeste versjonen av PC Card. Det er etindre og raskere grensesnitt som ytterligere forbedrer datamaskinens brukervennliget og utbyggingsmuligheter.
Et ExpressCard stotter et stort antall utvidselmuligheter, medregnet flashminnekort, TV-tunere, Bluetooth-tilkobling og IEEE 1394B-kort. ExpressCard stotter USB 2.0 og PCI Express-programmer.

Viktig! Det finnes to typer, ExpressCard/54 og ExpressCard/34 (54 mm og 34 mm), hvert med forskjellige funksjoner. Ikke alle ExpressCard-spor støtter begge typer. Slå opp i.Handboken for kortet hvis du vil ha detailjer om hvordan du installerer og bruker det, og informasjon om funksjonene på det.
Sette inn et ExpressCard
Sett inn kortet i sporet og skyv det forsiktig inn til det klikker pa plass.

1 Avsluttprogrammet som brukerkortet.
2 Venstrekkk på ikonet for fjerning av maskinvara på oppgavelinjen, og stopp kortoperasjonen.
3 Skyv kortet forsiktig inn i sporet og slipp for a lose ut kortet. Dra deretter kortet ut av sporet.
Installere mine
Folg disse trinnene for a installere minne:
1 Slá av datamaskinen, plugg ut batterieliminatoren (hvis tilkoblet) og ta ut batteriene. Deretter slár du på datamaskinen for á fā tilgang til basen.
2 Skrue ut skruene fra minnedekselet, og loft opp og ta bort minnedekselet.
3 Sett inn minnemodulen diagonalt i sporet (a), og trykk den nedover til den klikker pa plass (b).

4 Sett på plass minnedekselet og sikre det med en skrue.
5 Installer batteriene pa nytt og koble til batterieliminatoren igjen.
6 Sla pa datamaskinen.
Datamaskinen oppdager og omkonfigurerer minnestørrelsen automatisk.
Kontakt en kualifisert tekniker ellerkontakt din lokale Acer-forhandler.
BIOS-verktøy
BIOS-verktøyet er et program for maskinvarekonfigurasjoninnebygd i datamaskinens "Basic Input/Output System" (BIOS).
Hvis du vil sette opp oppstartssekvensen i BIOS-verktøyet (BIOS utility), Åpner du det og velger Boot fra kategoriene som vises øverst på skjermen.
Aktiver disk to disk recovery (diskgjenopppretting)
När du skal aktivere disk to disk recovery (gjenoppretting av harddisk), Åpner du BIOS-verktøyet (BIOS utility) og velger Main fra kategoriene som vises øverst på skjermen. Finn frem til D2D Recovery nederst på skjermen ogbruK
Password
Hvis du vil ha passord ved oppstart, Åpner du BIOS-verktøyet (BIOS utility) og velger Security fra kategoriene øverst på skjernen. Finn frem til Password on boot: og bruk <F5> / <F6> -tastene til ä aktivere dette funksjonen.
Bruke programvare
Spille DVD-filmer

Merk: Denne funksjonen er bare tilgengelig på visse modeller.
Når DVD erinstalliert i plassen for optisk stasjon, kan du spille DVD-filmer på datamaskinen.
1 Los ut DVD-skuffen, sett inn en DVD-plate og lukk DVD-skuffen.

Viktig! Når du starter DVD-spilleren for første gang, ber programmet om at du oppgir sonekoden. DVD-plater er inndelt i 6 soner. Når DVD-stasjonen er satt til en sonekode, vil den bare spille DVD-plater for den sonen. Du kan angi sonekoden maksimalt fem ganger (medregnet første gang). Etter det blir den sist angitte sonekoden permanent. Ved gjenopppting av hardisken tilbaskestilles ikke antallet ganger sonekoden er angitt. I en tabell senere i dette avsnittet finner du informasjon om sonekoder for DVD-filmer.
DVD-filmen vil spilles automatisk fetter noen fä sekunder.
| Sonekode | Land ellr Sone |
| 1 | USA, Canada |
| 2 | Europa, Miodt-Østen, Sør-Afrika, Japan |
| 3 | Sørøst-Asia, Taiwan, Sør-Korea |
| 4 | Latin-Amerika, Australia, New Zealand |
| 5 | Tidligere SSSR, deler av Afrika, India |
| 6 | Folkerepublikken Kina |

Merk: Hvis du vil endre sonekoden, setter du inn en DVD-film fra en annen sone i DVD-stasjonen. Den elektroniske hjelpen har mer informasjon.
Vanlige spørsmål
Nedenfor finner du en liste over mulige situasjoner som kan oppsta ved bruk av datamaskinen. Enkle svar og lsninger er oppgitt for hver situasjon.
- Hvis du kjører på batteri, kan det gi for lite strom til Å kjore datamaskinen. Koble til batterieliminatoren for Å lade opp batteriet igjen.
- Kontroller at batterieliminatoren er plugget riktig inn i henholdsvis datamaskin og stromkontakt.
Inventing vises på skjermen.
Datamaskinens stromstyringsystem blanker automatisk skjermen for a spare strøm. Trykk på en hvilken som helst tast for a slå på skjermen igjen.
Hvis du trykker på en tast uten at skjermen slås på igjen, kan to ting vare ársaken:
- Lysstyrkenivået kan vare for lapt. Trykk pa
+ > for øke lysstyrken.
- Skjermenheten kan vare satt til en ekstern skjerm. Trykk på skjermbyttetasten <Fn> + <F5> for Å bytte visningen tilbake til datamaskinen.
- Hvis dvaleindikatoren lyser, er datamaskinen i sovemodus. Trykk på og slipp av/pa-knappen for a fortsette.
- Hvis hodetelefoner, øreplugger eller eksterne høytalere kobles til "Line-out" på datamaskinen, blir de interne høytalerne automatisk slätt av.
Jeg vil Iose ut den optiske stasjonen uten a sla pa strommen.
Jeg vil gjenopprette min datamaskin til opprinnelige innstillinger uten gjenoppprettings-CDer.

Merk: Hvis systemet er den flerspraklige versjonen, blir operativsystemet og spraket som velges ved forste gangs bruk, brukt ved fremtidige gjenopprettingsoperasjoner.
Denne gjenopprettingsprossessen vil hjelpe deg med Å gjenopprette stasjon C: med det opprinnelige programvareinnholdet som var installert da du kjopte den bærbare maskinen. Følg trinnene nedenfor for Å bygge opp stasjon C: igjen. (Stasjon C: vil reformateres og alle data vil slettes.) Det er viktig Å sikkerhetskopiere alle datafiler før du bruker dette alternativet.
För du utförer en gjenopprettingsoperasjon, mä du undersøke BIOSinnstillingene.
1 Undersok om funksjonen Acer disk-to-disk recovery er aktivert aller称之.
2 Kontroller at innstillingen D2D Recovery under Main er satt til Enabled.
3 Avslutt BIOS-verktøyet og lagre endringene. Systemet starter på nytt.

Merk: Du Åpner BIOS-verktøyet ved Å trykke på
Slik starter du gjenopprettingsprosessen:
1 Start systemet pa nytt.
2 Nár Acer-logoen vises, trykker du pa
3 Skjerminstruksjonene har mer informasjon om hvordan du utfører systemgjenopppretting.

Viktig! Denne funksjonen kopierer 15 GB til en skjult partisjon på hardisken.
Be om service
Ha alltid ITW-passet for händen, spesielt nár du reiser, for á fá full hjelp fra väre servicesentre. Plasser kjopsbeviset ditt i lommen på innsiden av forsideomslaget på ITW-passet.
Hvis du reiser i et land som/DDEke har et Acer-autorisert ITW-servicekontor, kan du fortssatt comme i kontakt med vare kontorer pa verdensbasis. Besok http://global.acer.com.
För du ringer
Ha alltid følgende informasjon for händen nár du ringer Acer for online-service, og vær ved datamaskinen nár du ringer. Med din hjelp kan vi redusere samtaletiden og lose problemene på en effektiv mæte. Hvis det finnes feilmeldinger eller pipesignaler som rapporterés av datamaskinen din, skriver du dem ned etter hvert som de vises på skjermen (eller antall og rekkefolge hvis du fær pipesignaler).
Du er pålagt á oppgi følgende informasjon:
Navn:
Adresse:
Telefonnummer:
Maskin- og modelltype:
Serienummer:
Innkjoppsdato:
Feilsøking og problemløsing
Dette kapitlet forteller deg hvordan du forholder deg til vanlige systemproblemer. Les det før du ringer en teknikker nár et problem har oppstatt. Løsninger på mer alvorlige problemer krever at datamaskinen apnes. Ikke forsok Å apne datamaskinen selv. Kontakt forhandlere erler et autorisert servicesenter hijus du trenger hjelp.
Feilsøkingstips
Denne notebook-PCen datamaskinen har en avansert design som gir feilmeldinger på skjermen forå hjelpe deg med Å lose problemer.
Hvis systemet rapporter en feil, aller symptom på feil opptrer, se "Feilmeldinger". Hvis problemet ikke kanalandes,kontakt forhandler. Se "Be om service" på side 33.
Feilmeldinger
| Feilmeldinger | Handling |
| CMOS battery bad | Kontakt forhandleren eller et autorisert servicesenter. |
| CMOS checksum error | Kontakt forhandleren eller et autorisert servicesenter. |
| Disk boot failure | Sett inn en systemdiskett (oppstartsdiskett) i diskettstasjonen (A:) og trykk på <Enter> for Å开战e på nytt. |
| Equipment configuration error | Trykk på <F2> (ved POST) for Å äpne BIOS-verktøyet; og trykk på Exit for avslutte og starte datamaskinen på nytt. |
| Hard disk 0 error | Kontakt forhandleren eller et autorisert servicesenter. |
| Hard disk 0 extended type error | Kontakt forhandleren eller et autorisert servicesenter. |
| I/O parity error | Kontakt forhandleren eller et autorisert servicesenter. |
| Keyboard error or no keyboard connected | Kontakt forhandleren eller et autorisert servicesenter. |
| Keyboard interface error | Kontakt forhandleren eller et autorisert servicesenter. |
| Memory size mismatch | Trykk på <F2> (ved POST) for Å äpne BIOS-verktøyet; og trykk på Exit for avslutte og starte datamaskinen på nytt. |
Hvis du fortsatt har problemer etter Å ha fulgt lösningsforslagene, kontakter du forhandleren erler et autorisert servicesenter for Å få assistanse. Noen problemer kan loses ved hjelp av BIOS-verktøyet.
Regulerings- og sikkerhetsmerknader
FCC-erklæring om
Denne encheten er testet og funnet i samsvar med grensene for en digital enchet i klasse B i henhold til del 15 av FCC-reglene. Disse grensene er utformet for Å tilby rimelig beskyttelse mot skadelig interferens i boligmessige installasjoner. Denne encheten lager, bruker og kan avgi stråling innen ditte radiofrekvenser, og kan, dersom den ikke brukes i henhold til instruksjonen, avgi stråling som forstyrrer radiokommunikasjon.
Det finnes imidlertid ingen garanti om at interferens ikke vil oppstå i en bestemt installationsjön. Hvis这部分en enheten forårsaker skadelig interferens ved radio- eller TV-mottak, som kan fastslås ved Å slå enheten av og på, blir brukeren bedt om Å prove Å fjerne interferensen gjennom ett eller flere av følgende tiltak:
- Flytte aller innstille mottaksantennen i en annen retning.
- Øke avstanden mellom,enhet og mottaker.
Koble encheten til et strømuttak som er på en annen krets enn den som mottakeren er tilkoblet.
Spør forhandler eller en erfaren radio/fjernsynstekniker om råd.
Merknad: Skjermede kabler
Alle tinkobliger til andre databehandlingsenheter违法犯罪 med skjermede kabler for Å overholde FCC-bestemmelsene.
Merknad: Periferenheter
Bare periferutstyr (inn/ut-enheter, terminaler, skrivere osv.) tertifisert for klasse B-grensene, kan kobles til dette utstyret. Drift med ikke-sertifisert periferutstyr vil sannsynligvis fore til interferens i radio- og TV-mottak.
Forsiktig
Endringer eller tilpasninger som ikke uttrykkelig er godkjent av produsenten, kan annullere brukerens autorisasjon, som er tildelt av Federal Communications Commission, til Å bruke dette datamaskinen.
Modemvarsler (bare for visse modeller)
TBR 21
Dette utstyret er godkjent [Council Decision 98/482/EC - "TBR 21"] for enkelterminaltikobling til PSTN (Public Switched Telephone Network). På grunn av forskjeller mellom PSTNene som tilbys i forskjellige land, gir ikke godkjenningen i seg selv noen ubetinget garanti om problemfri drift på hvert PSTN-termineringspunkt. Ved problemer bør du kontakte den opprinnelige utstyrsleverandoren. Hvis du vil ha mer informasjon om aktuelle land, se "Regularings- og sikkerhetsmerknader" på side 35.
Erklæring om LCD-piksler
LCD-enheten er fremstilt med høypresise produktsjonsteknikker. Men enkelte piksler kan i speiselle tilfeller ikke bli tent, eller vises som svarte eller rode prikker. Dette har ingen betydning for det registrente bildet og utgjør ikke en vesentlig feil.
Regulerende bestemmelier for radioenheter

Merk: Understande informasjon om forskritter er kun for modeller med tradlost LAN og/eller Bluetooth.
Generelt
Dette Produktet overholder radiofrekvens- og sikkerhetsstandene til ethvert land og enhver region der det er godkjent for tradløs bruk. Avhengig av konfigurasjonen kan dette Produktet inneholde tradløse radioenheter aller化进程 (for eksempel WLAN- og/eller Bluetooth-moduler). Nedenstående informasjon er forprodukter med slike enheter.
Konformitetserklæring for EU-land
Med dette erklærer Acer at davon notebook-PC-serien overholder de grunnleggende kravene og andre relevante bestemmelsei EU-direktiv 1999/5/EC.
Dette var EUs medlemsland i juli 2009: Belgia, Bulgaria, Danmark, Estland, Finland, Frankrike, Hellas, Irland, Italia, Kypros, Malta, Latvia, Litauen, Luxembourg, Nederland, Polen, Portugal, Romania, Slovakia, Slovenia, Spania, Storbritannia (UK), Sverige, Tsjekkia, Tyskland, Ungarn og Østerrike. Bruk er tillatt i EU-land samt Norge, Sveits og Liechtenstein. Denne encheten må brukes i strikt samsvar med reguleringene og begrensingene iBrukerlandet. Ytterligere informason er tilgengelig på lokalkontoret iBrukerlandet. Under http://ec.europa.eu/enterprise/rtte/implem.htm finner du en oppdatert landsliste.
FCC RF-sikkerhetskravet
1 Brukere anmodes om a ffolge RF-instruksjonene for tradlose enheter som er vedlagt i brukerhandboken til hver RF-enhet.

Forsiktig: For öppfylle belastningskravene i FCC RF på det minst vare en avstand på 20 cm (8 tomm) mellom antennen på det integrente tradlose LAN Mini-PCI-kortetinnebygd i skjerm-delen og alle personer.


Merk: Wireless Mini PCI adapter implementer en funksjon for sendedediversifisering. Denne funksjonen sender iciut radiofrekvenser samtidig pa begge antennner. En av antennene blir valgt automatisk eller manuelt (av brukere) for a sikre god kvalitet pa radiokommunikasjon.
2 Denne encheten er begrenset til innendørs bruk på grunn avbruken av frekvensområdet 5,15 til 5,25 GHz. FCC krever at detteproduktet skal bruke innendørs for frekvensområdet 5,15 til 5,25 GHz for Å redusere mulig skadelig interferens med ko-kanals mobile sattelittsystemer.
3 Høyeffekt radar er gitt førsterett som brukere av frekvensområdene 5,25 til 5,35 GHz og 5,65 til 5.85 GHz. Slike radarstasjoner kan interferere med og/eller skadeijke enheten.
4 Feilaktig installering eller uauthorisert bruk kan.fore til skadelig interferens for radiokommunikasjon. Inngrep i den interne antennen vil annullere FCCs fertisering og din garanti.
Canada - Radiokommunikasjonsenheter fritatt fra lavspenningslisens (RSS-210)
Menneskelig påvirkning fra RF-felt (RSS-102)
Notebook-PC-serien harinnebygde antenner med lav forsterkning som icke utstrår RF-felt utover kanadiske helsemyndigheters greseverdier for den generelle befolkningen. Referer til sikkerhetskode 6, som kan innhentes på webområdet www.hc-sc.gc.ca/rpb.
Oplysninger for din sikkerhed og komfort
ADVARSEL ved lytning
Al vedligeholdelse skal overlades til kvalificerede servicefolk.
Tak, fordu har valgt en Acer notebook som din mobile computer.
Vejledninger
Følg disse retningslinjer for at passer på batteriet:
Rengøring og service
Følgdenedefremgangsmadevedrengoringafcomputeren:
Oplysninger for din sikkerhed og komfort iii
Rengoring og service XV
Pegefelt 1
Lasetaster og det integrerede numeriske tastatur* 3
Windows-taster 4
Lyd 5
Installering og fjernelse af batteripakke 15
Fjern tilslutninger 18
Flyt computeren 18
Klargoring af computeren 18
Erklæring om LCD-pixel 37
Låsetaster og det integrerede numeriske tastatur*
Tastaturet har 3 lasetaster, som kan slas til og fra med særlige taster.
1 Klik på Start, Alle programmermer, Acer, Acer eRecovery Management.
2 Skift til sider Gendan ved at klikke pa Gendan.

Installing og fjernelse af batteripakke

Netadapter og netledning
Den trykke Hurtig-guide
Særlige forhold
Du bør medbringe følgende:
Du bør medbringe følgende:
Din notebook-pc er den ultimative bærbare computer.
ExpressCards understøtter et stort antal udvidelsemuligheder, deriblandt flashhukommelses-kortadaptere, TV-tunere, Bluetooth forbindelse og IEEE 1394B adaptere. ExpressCards understøtter USB 2.0 og PCI Express-programmer.

Kontroller følgende:
Computerens type og model:
Seriennummer:
Kobsdato:
Erklæring om LCD-pixel
Undertegnede Acer erklærer herved, at notebook-pc serial overholder de vAESentlige krav og øvrige relevante krav i direktiv 1999/5/EF.
Skötsel av batteriet
Forsiktighetsanvising for optiska skivenheter
(endast for vissa modeller) vii
Driftmiljö viii
Medicinsk utrustning viii
Fordon ix
Potentielt explosiva miljöer ix
Nödsamtal ix
Instruktioner for kassering
Batteripaketets egenskaper 14
Varning om lag batterinivå 17
Ta med din barbara PC-dator
18
Batteripaketets egenskaper
Batteripaketet har foljande egenskaper:
Ta med din bärbara PC-dator
Forbered datorn på samma satt som for en vanlig resa.
EnkelManual