ST 424 - Hómaró HUSQVARNA - Ingyenes használati útmutató
Találja meg az eszköz kézikönyvét ingyenesen ST 424 HUSQVARNA PDF formátumban.
| Jellemzők | Részletek |
|---|---|
| Terméktípus | Hólapát |
| Motor | Benzinmotor |
| Munkaszélesség | 61 cm |
| Hóeltakarítás magassága | 51 cm |
| Hóeltakarítási kapacitás | Akár 40 tonna/óra |
| Súly | 90 kg |
| Világítás | Beépített LED fényszóró |
| Használat | Ideális lakó- és kereskedelmi területekhez |
| Karbantartás | Rendszeres olaj- és légszűrő ellenőrzés |
| Biztonság | Használat közben ajánlott védőfelszerelés viselése |
| Garancia | 2 év |
Gyakran ismételt kérdések - ST 424 HUSQVARNA
Felhasználói kérdések a következőről ST 424 HUSQVARNA
0 kérdés erről a készülékről. Válaszolj azokra, amiket ismersz, vagy tedd fel a sajátod.
Tegyél fel egy új kérdést erről a készülékről
Töltse le az útmutatót a következőhöz Hómaró PDF formátumban ingyenesen! Találja meg kézikönyvét ST 424 - HUSQVARNA és vegye vissza elektronikus eszközét a kezébe. Ezen az oldalon közzé van téve az eszköze használatához szükséges összes dokumentum. ST 424 márka HUSQVARNA.
HASZNÁLATI ÚTMUTATÓ ST 424 HUSQVARNA
Informace o vodici listé a rétézu pily

VYSTRAHA: Pri pouzivani nebo udrzbe retezu pily nods ochranné rukavice. Zraneni muze zpusobit i retez pily, ktery se nepohybuje.
EK megfeleloségi nyilatkozat. 215
Bevezető
Rendeltetesszeru hasznalat
Ez a termek professzionalis faapolasi munkalatokra, peldaal apritasra es a fak reszekben torteno feldarabolasara szolgål.
Megjegyzés: A termek muködtétésere nemzeti jogszabályok általi korlátozások vonatkozhatnak.
Termékleíras
A(z) Husqvarna T525 lancfuresz belso egésu motorral mukodik.
Folyamatosan dolgozunk azon, hogy javitani tudjuk az ügyfeleink hasznalat kozbeni biztonsagat es hatékonysagat. További tajékoztatasert forduljon az illetékes szakszervizhez.
A termék éttekintése

- Lancfek és elso kézvedő
- Indito-/leallitogomb
- Táhékoztató és figyelmeztető címke
- Felső fogantyú
- Szuroburkolat
- Fojtószelep (hideginditó)
-
Kotelakaszto
-
Üzemanyagpumpa
- Üzemanyagartály
- Berantóketel markolata
- Inditószerkezet haza
- Elulso fogantyú
- Láncolaj tartálya
-
Vezetőlemez orrkereke
-
Fureszlanc
- Vezetolemez
- Gazadagoló
- Gázadagólo retesze
- Pantakaszto
- Tengelykapcsoló-fedél
- Lanciafesztó csavar
- Adatlap (termek-és sorozatszám)
- Lancfogó
- Csavar az olajsivattyu beallitasyahoz
- Vezetölemez-rögzító anyacsavar
- Szallitasi vedotok
- Kezelöi kézikönyv
- Kombinált kulcs
- Rezgéscsillapitó rendszer, 3 egység
- Gyujtogyertya
- Gyujtógyertya kupakja
- Kipufogodob
- Legszüro
- Fékszalag
- Láncfeszesség-àllitó túske
- Hangfogó fedele
A termek szimbólumai

Körültekintöen járjon el, és megfeleloen használa a terméket. Agép a kezelő és masok súlyos sérülesét es halalat okozhatja.

Olvassa el a hasznalati utasitast, es a termek hasznalatba vetele elott\ mindenképpen legyen tisztaban a benne foglaltakkal.

Mindig viseljen jovahagyott vedosisakot, valamint jovahagyott hallas- es szemvedot.

Ez a termek megfelela vonatkozo EK iranyelveknek.

A 2000/14/EK számú europá irányelnek és New South Wales „Környezetben törtő munkavégzés (zajszabályozás) szabályozásá, 2017" irányelvenek megfelelo környezeti zajszennyezés. A zajszennyészes vonatkoź adatok a gép címkéjén és a következő fejezetben találhatók: Múszaki adatok212. oldalon.

Lancfek, bekapcsolva (jobb). Lancfek, kikapcsolva (bal).

Uzemanyagpumpa.

Az olajsivattyu szabalyozasa.

Uzemanag.

Lancolaj.

Hasznalat kozben két kezzel kell fogni a lancfurészt.

Soha ne használja a lancfürészt egy kézzel tartva.

A gezetolemez csuca semmilyen korulmenyek koztne erjen hozza semmilyen targyhoz.

Figyelem! Ha a gezetolemez csucsa egy masik targgyal kerul erintkezesbe, visszacsapodas kovetkezhet be, amely a gezetolemezt felfel, es a gepkezel o iranyaba visszafel oki. Ennek az eredmenye sulyos szemelyi sereles lehet.

Hasznaljon megfelelo lab- es labfej-, valamint kar- es kezvedot.

Ezt a fureszt kizarolag olyan szemelyek hasznalhatjak, akik specialis, a faapolasi munkalatokra vonatkozo képszesben részesultek. Lásd a használatiutasítást!
Munkavégzési pozício.

Szivato.

eeehhhxxx A sorozatszam a tipustablan szerepel. eee a gyartasi ev, hh pedig a gyartasi hét.
Megjegyzés: A terméken szereplö többi jel/címke egyes piacok specifikus vizsgáztatási követelmenyèire vonatkozik.
Euro V. kibocsátási norma

FIGYELMEZTETÉS: A motor módosítása érvényteleniti a termékre vonatkozo europai unios típusjóváhagyást.
Biztonság
Biztonsági fogalommeghatározások
Az alábbi fogalommeghatározások az egyes figyelmeztétéskhez tartózó, lehetséges veszélyek súlyosságat határozzák meg.

FIGYELMEZTETÉS: Személyi sérulés veszélye.

VIGYAZAT: A termek károsodásanak veszélye.
Megjegyzes: Ezek az informaciok a termek hasznalatat konnyitik meg.
ÁltalánosBiztonságiutasítások

FIGYELMEZTETÉS: A termé használata elott olvassa el az alábbi figyelmeztetéseket.
- A lancfuresz elovigyazatlan vagy helytelen hasznalat eseten veszelyes szerszam lehet, amely komoly, sot halagos serulseket is okozhat. Nagyon fontos, hovy elolvassa es megertse e hasznalatiutasitas tartalmat.
A termek eredeti kivitelezésen a gyartó ceg engedélye nélkül semmilyen módositast sem szabad végezni. Ne hasznaljon oyan terméket, amelyet esetlegesen módositottak, és mindig kizárólag a termekhez ajänlott tartozékokat hasznaljon. Nem engedélyezett módositások és/vagy potkatrészek komoly serulésekhez vagy halálos balesetakhez gezethetnek.
A hangtompito belsejiben rakkelto vegyi anyagok is lehetnek. Ugyeljenarra, hogy a hangtompito esetleges serulasekor ne erintse meg ezeket az anyagokat. - A motor kipufogózainak, a láncolajgőzöknek és a fürészpornak a hosszas belegzése veszélyeztetheti az egészséget.
A termek mukodes kozben elektromagnes mezot hoz letre. Ez bizonyos korulmenyek eseten hatassal lehet az aktiv vagy passziv orvosi implantatumokra.
A súlyos vagy haláos sérülés kockázatának csökkentése érdekében azt javasoljuk, hogy az orvosi implantátumot használo személyek a termék alkalmazása elótt kérjék ki orvosuk vagy az orvosi implantátum gyártójanak tanácsát.
A jelen felhasznaloi utmutatoban szereplo informaciok nem helyettesitik a hozzaerto szaktudast es tapasztalatot. Ha olyan helyzetbe kerul, amelyben bizonytalannak erzi magat, alljon le a munkaval, es kjeren utbaigazitast egy szakertotol. Vegye fel a kapcsolatot szakszervize képviseljével, esetleg egy tapasztalt lancfurész-hasznalóval. Ne probálkozzon olyan munkával, amelyhez ugy veli, nincs elegendszaktudasa!
Biztonsagiutasitások az üzemeltetéshez

FIGYELMEZTETÉS: A termé használá t elott olvassa el az alábbi figyelmeztetéseket.
Ez a felsö fogantyús lancfūresz kifejezetten fák apolására és karbantartására szolgál. A specialis, kompakt fogantyúkialakítás (egymáshoz bözeli fogantýú) miatt nagyobb a veszélye az eszköz feletti Ellenőrzés elvesztésénék. Ebból az okbólCsak oyan személyek hasznalhatják ezt a specialis lancfūreszt a fákön végzett munkához, akik oktatásban részesültek a specialis vágasi és munkavégzési techníkár területén, és megfeleloen rögzítik magukat (magasállás, kötelek, hevdeder). A foldön végzett minded egyévágasi munkához normal lancfūresz hasznalatát javasoljuk (amelynek távolabb vannak egymástól a fogantyú).
A fán végzett munka során kūlönleges vágasi és munkavégzési technikákat kell alkalmazni, amelyek szabályait a személyi sérului fokozott veszelye miatt feltétlenül be kell tartani. Ne dolgozzon a fán mindaddig, amig nem részesült ilyen munkálatokkal kapcsolatos specialis szakmai felkésztésben, aBiztonsági égyeb maszófelszerelések (hevederek, kotelek, maszóvasak, biztonsági horgok, karabinerek stb.) hasznalatára vonatkozo oktatast is beleertve.
- Soha ne kiserelje meg elkapni a leeso részeket.
Soha ne végazzen vagast a fán, mikozbenCsak egy kotel segitségevel van rogzitve. Mindig két rogzitett kotelet hasznaljon.
Akritikus dontovagasi muveletek soran azonnal vegye le a hallasvedelmi eszkozt, amikor befejezi a fureszelest, hogy hallhassa a munkazajt es a figyelmeztetotutasitasokat.
A lancfurasz hasznalatba vetele elott meg kell ertenie, hogy mik a visszarugas hatasai, es hogyan kerulhetok el. Az utasitasokat iltoen tekintse at a kovetkezot: Visszarugasi informaciok194. oldalon
- Soha ne hasznaljon oylan termeket, amely hibas. Végezze el az ebben a hasznalati utasításban elóirt Ellenörzési, karbantartási és szervizmunkálatokat. Bizonyos karbantartási és szervizmunkákat szakembernek kell vegrehajtania. Az utasításokat iltoen tekintse át a következő: Karbantartás 199. oldalon
- Soha ne használaja a terméket, ha lathatoan serült a gyújtógyertya-pipa vagy a gyújtaskábel. Szikraképzödes veszelye alakul ki, amely tüzet okozhat.
- Soha ne használia a terméket, ha fáradt, ha alkoholt fogyasztott, vagy ha latásat, itelóképességét vagy mozgaskoordinácioját befolyásoló gyogyszert vett be.
- Ne használja a terméket rossz idöben, pédául sürködben, erösen zuhogó esöben, erös szélben, naghyhidegen stb. A rossz idöben vegzett munkafarasztó, és gyakran kockázatokkal is jar, pédául jeges talaj, elore ki nem szamithato dôlési irány stb.
A hibás vagóberendezes vagy a helytelen gezetőlemez-lanc-kombinácio noveli a visszarúgás kockázata! Csak az ajánlett gezetőlemez-lanc-kombinácikat használja, és tartsa be a feltoltesre vonatkozó utasításokat. Az utasításokat ilteönten tekintse át a kovetkező: Tartozékok213. oldalon
- Ne inditsa be a termeket, amat nincs helyesen felszerelve a gezetolemez, a lanc es az összes burkolat. Az utasitásokat illetöen tekintse át a következö: Bevezetó191. oldalon. Ha a gezetolemez és a lanc nincs felszerelve a termékre, akkor a kuplung kilazulhat, és súlyos sérülést okozhat.

- Soha ne inditsa el a terméket zárt terben. A kipufogózok veszelyesek lehetnek.
Vizsgalja meg kornyezet et es gyrozodjon meg rola, hogy sem amber, sem allat nem kerulhet
kapcsolatba Onnel, illetve nem befolyasolhatja a termek feletti uralmat.


A figyelmetlenség visszarugáshoz gezethet, ha a vagoszerkezet visszarugási zónaja veletlenül egy ághoz, egy kozeli fahoz vagy valamilyen mas tárgyhozér.
- Soha ne használja a láncfūrészt egy kézzel tartva. A láncfūrész egy kézzel tartva nem irányithatoBiztonságos módon; a kezelö megvághatja magát. Mindig mindkét kéz hasznalatalval, erösen és szilárdan fogja a fogantyúkat.
- Mindig tartsa szilardan a lancfurészt, a jobb kézzel a felso, a bal kézzel pedig az elülso fogantyúf fogva. Fogja körul az ujiaval és a húvelykujiával a fogantyút. Minden esetben ezt a fogást kell alkalmaznia, akár jobbkezes, akár pedig balkezes. Ez a fogás csökkenti a visszarugás hatását, és lehetőve teszi, hogy megörizze uralmát a lancfurész fölott. A markolatokat ne engedje ell!

- Soha ne használia a lancfúreszt vallmagasságnál magasabban tartva.

-
Ne használja a terméket oyan helyzetben, ha baleset eseten nincs lehetösege segitséget hivni.
-
Néha faforgács szorul a tengelykapcsoló fedele alá, és ezert a lánc elakad. Tiszitásnal mindig állitsa le a motort.
Ha a fureszlanc beszorul a vagatba: allitsa le a motor!
A motor zart, illetve nem megfelelo szellozesuhelyisegben tortenjaratasa szenmonoxidmeregezesbol adod halalhoz gezethet.
A motor kipufogázai forroak, és lehet bennuk szikra, mely tuzet okozhat. Ne inditsa be az egységet zart helyiségben vagy gyulékony anyagok bözelében.
A lancfek rogztofekkent hasznalhato a termek beinditasakor es rovid tavolsagokra valo atvitelekor. A termeket mindig az elulso fogantyunal fogva szallitsa. Ez csokkenti annak kockazatat, hogy a fureszlanc Onnek vagy egy Onhoz kozel allo szemelynek utkozzon.
- Az erós rezgés miatt a verkeringési zavarokban szenvedó személyeknél ér- vagy idegsérülések léphetnek fel. Forduljon orvoshoz, ha oyan tūneteket tapasztal, amelyek az erós rezgés hatása rjohettek létre. Ezek a tūnetek tobbek kozott zsibbadás, érzéskiesés,bizsergés, szúró érzés, fajdalom, erötlenség, a bör szinének vagy felületének megvaltozása. A tūnetek tobbnyire az ujjakban, a kezben vagy a csuklóban jelentkeznek. Az alacsony kullo hörmséklet sulyosbithatja a tūneteket.
Lehetetlen a lancfurasz hasznalatakor eloforduló osszes elkepzelheto helyzet et ismertetni. Mindig megfontoltan es elorelatoan tevekenykedjen. Kerüije az olyan helyzeteket, amelyek sajat megitelese szerint meghaladjak a képességeit. Ha a jelen kézikonyv elolvasasa utan isBizonytalannak erzi magat az uzemeltetesi eljarasokkal kapcsolatban, a folytatas elott kérje ki egy szakerto velemenyet. Ha a furész hasznalatalval kapcsolatban kerdesei adodnak, nyugodtan forduljon a kereskedohoz vagy a kovetkezöhz: Husqvarna. Keszseggel allunk rendelkezésere, hogy tanacsof es segitséget nyujtsunk a lancfurasz hatékony es biztonságos hasznalatalval kapcsolatban. Ha lehet, végezzen el
egy, a lancfuresz hasznalatal val kapcsolatos tanfolyamot. Az oktatasi anyagokrol es tanfolyamokrol a kereskedo, az erdeszeti iskolak vagy a konyvtarak tudnak tajekoztatast adni.

Személyi védőfelszerelés

FIGYELMEZTETÉS: A termék használata elott olvassa el az alábbi figyelmeztetéseket.

A legtobb lancfurresszel kapcsolatos baleset uyg kovetkezik be, hogy a lanc hozzaer a kezelohoz. A termek mukodtetese soran jovahagyott szemelyi vedofelszerelest kell hasznalni. A szemelyi vedofelszerelés nem biztosit teljes vedelmet a serulisekkel szemben, de balesetak eseten csokkenti a serulisek merteket. A megfelelo vedofelszerelest iltoen forduljon az iltekes szakszervizhez.
A ruházatának testhezállónak kell lennie, ugyanakkor nem akadályozhatja a MOZgásban. Rendszeresen ellőrizze a személyi védőfelszerelés allapotát.
-
Használjon jóváhagyott védösisakot.
-
Használjon jováhagyott fulvedôt. Hosszú távon a tartós zajártalom marandó halláskárosodást okozhat.
A repuló tárgyak által okozott sérülsek
kockázatának csökkentese érdekében mindig
viseljen védőszemüveget vagy -maszkot. A termek
képes tárgyakat, pédául faszilänkokat, kisebb
fadarabokat stb. nagy erövel a levgöbe lökni.
Ennek az eredménye súlyos sérülés, foleg
szemsérülés lehet.
Hasznaljon fureszbiztos vedelemmel ellatott kesztyut.
- Hasznaljon fureszbiztos vedelemmel ellatott nadragot.
Hasznaljon furészbiztos vedelemmel ellatott, acéllemezes labujvédos es csuszásgatlós talpu bakancsot.
- Mindig tartson magánal elsosegélykészletet.
- Szikraveszély. Tartson a kölben tuzoló eszkökét ésásot az erdützek elkerülésé érdekében.
Biztonsági eszközok a terméken

FIGYELMEZTETÉS: A termék használata elott olvassa el az alábbi figyelmeztetéseket.
- Ne használjon olyan terméket, amelynek hibásak aBiztonsági eszközei.
Rendszeresen ellenorizze aBiztonsagi eszkozoket. Lasd az A termek biztonsagi eszkozinek karbantartasa es ellenorzese201, oldalon fejezet.
ABiztonsagi eszkozok meghibasodasa eseten vegye fel a kapcsolatot a Husgvarna szakszervizzel.
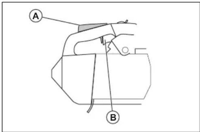
Lancfek es elsekzedo
A termeken lancfek talalhato, amelynek az a feladata, hogy visszarugas eseten leallitsa a lancot. A lancfek ugyan csokkenti a balesetek kockazatat, megakadalyozni azonbanCsak On tutja oket.
A lancfek (A) vagy manuálisan, bal kézzel, vagy a tehetelensegi kioldomechanizmus utján lép muködésbe. Nyomja elorefelé az elso kézvedot (B) a lancfek manuális bekapcsolásához.


Mozdītsa hátraféle az elso kézvedöt a lancfek kikapcsolásához.
Gázadagoló retesze
A gázkar retesze megakadályozza a gázkar véletlen megnyomásat. Ha a kezét a markolat köré helyezi, és megnyomja a gázkar reteszt (A), az felengedi a gázkart (B). Ha elengedi a fogantyút, akkor a gázkar és annak retesze visszaáll az eredeti allásaba. Ezen funkcionak köszonhetöen a gázadagoló automatikusan alapjáraton reteszelődk.

Lancfogó
A lancfogo megfogja a fureszlancot, ha elszakad vagy leugrik a helyerol. A megfelelo lancfeszesseg es a fureszlanc es a vezetolemez megfeleloen vegrehajtott karbantartasa csokkenti a balesetak kockazatat.

Rezgéscsillapíó rendszer
A rezgéscsillapitó rendszer csökkenti a fogantyuk rezgését. A rezgéscsillapitó egységek elvalasztják egymastól a termek forészét és a fogantyuegységet.
A rezgéscillapitó rendszer elhelyezkedésével capcsolatos informaciókat illetöen tekintse át a kovetkezó: A termek attekintese184. oldalon.
Inditó-/leallitó gomb
A motor leallitasahoz nyomja meg a be/ki kapcsolot.


FIGYELMEZTETÉS: A hangfogo a muködes kozben/után és alapjárati fordulatszámon is felforrosodik. Tuzveszély all fenn, különösen akkor, amikor a terméket gyúlékony anyagok és/vagy fust kozelében muködtetik.

FIGYELMEZTETÉS: Semmíkeppen ne mūködtesse a terméket, ha nincs rajta vagy hibás a hangfogó. A hibás kipufogódob megnövelheti a zajsintet és a tuzveszélyt. Tartson a kölben tuzoló eszközöket. Amennyiben az adott területen szikrafogó halókell alkalmaznia, akkor ne használja a terméket szikrafogó haló nélkül vagy szakadt szikrafogó halóval.
A hangfogó minimírisra csökkenti a zajsintet, és elvezeti a kipufogózokat a kezelő Közelébü. Meleg, száraz éghajlatu országokban nagyobb az erdőtuz veszelye. Kövesse a helyi szabályozásokat és karbantartási utasításokat.
Uzemanyaggal kapcsolatos biztonság

FIGYELMEZTETÉS: A termék használata elott olvassa el az alábbi figyelmeztetéseket.
Gondoskodjon boseges szellozteterol tankolaskor es uzemanyag-kevereskor (ketutemu motorok szamara).
- Az uzemanyag és annak goze tuzveszélyes lehet, és belélegezve, illetve börrel érintkezve sulyos sérülseket okozhat. Legyen ezert nagyon ávatos, amikor az uzemanyaggal bänik, és gondoskodjon megfelelo szellözesrol.
- Az uzemanyag és a láncolaj kezelésekor legyen elővigyázatos. Ne menjen nyílt láng kozelébe, és ne lélegezbe be az uzemanyaggőzöket.
- Az uzemanyag kozelében ne dohányozzon, és ne helyezzen el forró târgyakat.
Feltoltés elott kapcsolja ki a motort, és hagyja hülni néhény percig.
Tankoláskor a tanksapkát ovatosan nyissa ki, hogy az esetleges tulnyomás lassan kiegyenlitódhessen.
Tankolás után gondosan húzza meg a tanksapkát.
- Soha ne töltsön üzemanyagot a termekbe, ha a motor jár.
Mielott beinditana, mindig vigye el a termeket a tankolas helyetól es forrasátol legalabb 3 méterre.

Tankolast kovetoen van nehany szituacio, amelybentilos elinditani a motort:
Ha üzemanyag vagy lancolaj kerult a termékre. Törölje le az üzemanyagot, illetve olajat, es varja meg, mig elparolog teljesen.
- Ha üzemanyag került Önre vagy ruházatára. Valtson ruhát és öblitse le azokat a testrészeket, amelyek kapcsolatba kerültek az üzemanyaggal. Használjon szappant és vizet.
Ha a termekboi szivarog az uzemanyag. Ellenorizze rendszeresen, hogy nincs-e szivargas az uzemanyagartalynál, az uzemanyagartaly kupakjánál és az uzemanyag-vezetékeken.
Biztonsági utasítások a karbantartáshoz

FIGYELMEZTETÉS: A terméken végzett karbantartasi muveletek elott olvassa el az alábbi figyelmeztetešeket.
- Kizárolag a jelen hasznalati utasitásban szereplö karbantartási és szervizmunkákat végezze el. Minden egyeb szervizelést és javítást professzionalis szervizszemelyzettel végeztessen el.
- Rendszeresen végeze el az ebben a hasznalatiutasítasban megadott ellenorzési, karbantartási és szervizmunkálatokat. A rendszeres karbantartas megnöveli a termek élettartamát, és csökkenti a balesetek kockázatát. Azutasítasokat illetöntenekintse át a következő: Karbantartás199. oldalon
Ha a karbantartas elvégzése utan nem feel meg a termek a jelen hasznalati utasításban foglaltBiztonsagi ellenörzeseknek, forduljon az illetékes szakszervizhez. Garantáljuk a termékéhzegfelelo, professzionalis javitast es szervizelest.
A vágoszerkezetre vonatkozóBiztonságiutasítások

FIGYELMEZTÉS: A termé használata elott olvassa e az alábbi figyelmeztetéseket.
Kizarolag az altalunk javasolt gezetolemez/ fureszlanc kombinaciokat es elezofelszerellest
hasznalja. Azutasaksokat illetoen tekintse at a kovetkezot: Tartozekok213. oldalon.
A fureszlanc hasznalata es karbantartasa soran hasznaljon vedokesztyut. A nem mozgo fureszlanc is seruliseket okozhat.
Biztositsa a vagofogak megfelelo merteku elezését. Kövesse az utasitásokat, ésCsak a javasolt reszelosablont hasznalja. A károsodott vagy nem megfeleloen megelezett fureszlanc megnöveli a balesetak kockazatát.

A helyes vagasmelyseg-beallitast alkalmazza. Kovesse az utasitasokat, esCsak a javasolt vagasmelyseg-beallitast hasznalja.A tul nagyra beallitott vagasmelyseg-beallitas noveli a visszacapodas kockazatat.

Ellenorizze, hogy a fureszlanc feszessége megfelelo-e. Ha a fureszlanc nem fekszik ra
szorosan a gezetolemezre, akkor a fureszlanc leugorhat a helyerol. A nem megfelelo fureszlancfeszesseg a gezetolemez, a fureszlanc es a csillagkerek fokozott kopasat okozza. Lasd az A fureszlanc feszesssegenek beallitasa207. oldalon fejezetet.


Rendszeresen végezzen karbantartast a vagoszerkezeten,és tartsa megfeleloen kent allapotban.Ha a fureszlanc nincs megfeleloen megkenve, akkor megno a gezetolemez,a fureszlanc es a csillagkerek kopasanak kockazata.

Összeszerelés
Bevezetó

FIGYELMEZTETÉS: Figyelmesen olvassa el aBiztonságról szólo fejezetet, mielott összeallitana a terméket.
A gezetõlemez és a fürészlanc összeszerelése
- Engedje ki a lancfeket.
- Lazitsa meg a gezetolemezt rögzító anyákat, és vegye le a tengelykapcsoló fedelét.
Megjegyzés: Amennyiben a tengelykapcsoló
eltávolítasa nehézségekbe utközik, szoritsa meg a
vezetölemezt rögzítő anyacsavart, és kapcsolja be,
majd engedje ki a lancféket. Megfelelo kiengedes
eseten kattanas hallható.
-
Szerelje össze a gezetölemezt a gezetölemezt rögzító tócsavarral. Mozdītsa el a gezetölemezt a leghátsó poziúoba.
-
Szerelje fel a fureszlancot megfelelo modyn a csillagkerek kore, es helyezze a vezetolemez vajataba.

FIGYELMEZTETÉS: A lancfúresz
összeallitása során mindig viseljen
védokesztýt.
- A vagoszemek fogai a gezetolemez felso felen mutassanak elorefelé.

- Igazítsa egymáshoz a gezetölemez nyilását a lancfeszító beallitó csapjával, és szerelje fel a tengelykapcsoló-fedelet.

-
Szoritsa meg kézzel a lancvezetó anyait.
-
Szoritsa meg a fureszlancot. Azutasitasokat illetoen tekintse at a kovetkezot: A fureszlanc feszessegenek beallitasa207. oldalon,
-
Húzza meg a gezetőlemezt rögzítő anyacsavarokat.
Megegyzés: Bizonyos modelleken egyetlen gezetolemez-rogzito anyacsavar talalhato.
Uzemeltetes
Bevezetó

FIGYELMEZTETÉS: A termé használata elött figyelmesen olvassa el aBiztonságrol szólo fejezetet.
A funkciok ellenőrzése a termék használata előtt
- Ellenorizzee, hogy a lancfek megfeleloen mukodik-e, illetve sertetlen-e.
- Ellenorizze, hogy a gázkar retesze megfeleloen mukodik-e, illetve sertetlen-e.
- Ellenorizze, hogy a be/ki kapcsoló megfeleloen mukodik-e, illetve sértetlen-e.
- Gyözödjön meg arröl, hogy a fogantyúkon nincs olaj.
- Ellenorizzee, hogy a rezgescsillapito rendszernegfeleloen mukodik-e, illetve sertetlen-e.
- Ellenorizze, hogy a hangfogó megfeleloen csatlakoztatva van-e, illetve sertetlen-e.
- Gyözödjön meg arról, hogy minded element helyesenlett csatlakoztatva, és nem serült vagy hiányzik.
- Ellenorizze, hogy megfeleloen csatlakoztatva van-e a lancfogó.
- Ellenorizze, hogy megfelelo-e a fureszlanc feszessége.

Uzemanayag
A termekben kétütemu motor mukodik.

VIGYAZAT: A nem megfelelo uzemanyag hasznalata a motor kurosodasahoz gezehet. Benzin es kétütemu motorolaj keverekét hasznalja uzemanyagkent.
Elokevert uzemanyag
A jo teljesitmény és a motor elettartamának megnövelése erdekében jo minoségü, elokevert Husqvarna alkilüzemanyagot hasznaljon. Ez az üzemanyagtipus kevesebb a hagyományos üzemanyagokhoz képest kevesebb vegyszert tartalmaz, igy a kipufogó károsanyag-kibocsatasa is merséklodik. Az egés utan vissamarado anyagok mennyisége ezen üzemanyag esetében kevesebb, ami tisztabb allapotban tartja a motor alkotoelemeit.
Az uzemanyag keverése
Benzin
- Jó minóségú, legfeljebb 10% etanolt (E10) tartalmazó, olmozatlan benzint használjon.

VIGYAZAT: Ne hasznaljon 90 RON/87 AKI erteknel alacsonyabb oktanszamu benzint. Alacsonyabb oktanszam eseten kopogas jelentkezhet a motorban, am a motor kurosodasat okozhatja.
Javasoljuk, hogy a folyamatos magas fordulatszámot igénlyǒ munkálatok esetében magasabb oktánszámú benzint használjon.
Kétütemu motorhoz valo olaj
A legjobb eredmények es teljesitmény erdekében hasznaljon Husqvarna kétutemu motorolajat.
Ha nem all rendelkezesre Husqvarna kétutemu motorolaj, hasznaljon mas jo minosegu, leghutesses motorokhoz keszült kétutemu olajat. A megfelelo olaj
kivalasztásat illetöen forduljon az illetékes szakszervizhez.

VIGYAZAT: Ne hasznaljon vizhuteses kulso motorokhoz valo kéttemu motorolajat (máns neven "outboard" olajat). Soha ne hasznaljon négyutemu motorokhoz valo olajat.
Benzin és kétütemū olaj összekeverese
| Benzin, liter | Kétütemű olaj, liter |
| 2% (50:1) | |
| 5 0,10 | |
| 10 0,20 | |
| 15 0,30 | |
| 20 0,40 |

VIGYAZAT: Kisebb mennyisegü üzemanyag kikeveresekor fennä a veszelye, hogy az aprobb hibak jelentösen befolyasolják a keverési arányt. A helyes keverési arány erdekében gondosan merje ki a keverekhez adagolandó olaj mennyisegét.


- Töltsbele a benzin felet egy üzemanayaghoz való, tiszta tartályba.
- Tölts be a telies olajmennyiseget.
- Rázza össze az üzemanyag-keveréket.
- Öntse bele a benzin megmaradó részét a tartályba.
- Ovatosan rázza össze az üzemanyag-keveréket.

VIGYAZAT: Ne keverjen be 1 havi adagnal tobb uzemanyagot egyszerre.
Az üzemanyagartály feltoltese
- Tartsa tisztan az uzemanyagtartaly sapkajanak kornyekét.

- Rázza össze a tartályt, és gyózódjön meg rola, hogy az üzemanyag megfeleloen összekeveredett-e.
- Távolítsa el az uzemanyagtartály sapkajat, és töltsel az uzemanyagtartályt.
- Húzza meg Óvatosan az Üzemanyagṭartály sapkajat.
- A motor beinditasa elott, vigye el a termeket a tankolas helyetol es forrasatol legalabb 3 m tavyolsagra.
Megegyzés: Ha szeretné megtudni, hogy az uzemanyagtartály hol van a terméken, lásd: A termek áttékintése184. oldalon.
Bejaratas elvégzese
A mukodes elso 10 oraja soran ne alkalmazzon teljes gazt terhelés nelkül hosszabb idön keresztul.
A megfelelo lancolaj hasznalata

FIGYELMEZTETÉS: Ne hasznaljon fáradt olajat, mert az az On és a környezet sérulisét/károsodásat okozhatja. A fáradt olaj nem csupan az olajsivattyut, hanem a gezetölemezben és a lancban is képes károsodast okozni.

FIGYELMEZTETÉS: A fûreszlanc elszakadhat, ha a vagoszerkezet kenésene nem megfelelo. A kezeló sulyos serulésenek és halalanak kockázata.

FIGYELMEZTETÉS: Ez a termek rendelkezik egy oyan funkcióval, amely lehetőve teszi, hogy az uzemanyag a láncolaj elott fogyjon ki. A megfelelo láncolaj hasznalata szükséges a funkció helyes mückodeséhz. A láncolaj kivalasztásakor kérje ki az illetékes szakserviz tanácsat.
Hasznaljon Husqvarna lancajat a maximalis furészlanc-élettartam, valamint a kornyezetre kifejtett negativ hatasok megelözese erdekében. Amennyiben Husqvarnalancolaj nem hozzaferheto, hagyományos lancaj hasznalatat javasoljuk.
Olyan láncolajat hasznaljon, amely megfelelokeppen tapad a fureszlánchoz.
- Megfelelo viszkozitasa lancolajat hasznaljon, amely megfelela levego homserekletenek.

VIGYAZAT: Ha az olaj tul hig, akkor az üzemanayag elott fog kifogyni. A 0 °C/32 °F alatti homersekleti ertekek esetenBizonyos Iancolajak tul surove valnak, amizolajsivattyu osszetevoinek kurosodasat okozhatja.
Az ajanylott vagoeszkozoket hasznalja. Lásd az Tartozékok213. oldalon fejezet.
- Vegye le a lánckeno olaj tartalyanak sapkajat.
Toltse fel a lancolaj tartalyat lancolajjal.
Körultekintöen helyezze fel a sapkát.

Megjegyzés: Ha meg szeretné tudni, hogy a lanckenő olaj tartálya hol van a terméken, lásd: A termek attekintese184. oldalon.
Visszarugasi informaciok

FIGYELMEZTETÉS: A gép a kezelő és masok súlyos sérülését és halált okozhatja. A kockázat csökkentese erdekében ismerni kell a visszarugás okait, valamint a megelözesük modjat.
VisszarugasCsak akkor tortenik,amikor avezetolemez visszarugasi zonaja hozzaer egy targyhoz.A visszarugas varatlanul es nagy erovel tortenhet,amiakezel fele dobja a termeket.

A visszarugás mindig a gezetőlemez sikjában történik. A termek általában a kezelő felé mozdul el, de más irányba ismozoghat. Az határozza meg, hogy merrefelé
torténik elmozduñas, hogy a visszarugás pillanatában hogyan hasznalták a terméket.

Ha kisebb a gezetolemez csucsanak sugara, az csokkenti a vissarugas erejét.
A vissarugas hatasainak csokkentese erdekuben kis vissarugasu fureszlancot hasznaljon. Ugyeljen, hogy a vissarugasi zona ne erjen hozza semmihez.

FIGYELMEZTETÉS: Egyetlen fureszlanc sem elözi meg teljes mertékben a visssarugást. Minden esetben kovesse azutasitásokat.
Gyakori kerdesek a visszarugassal kapcsolatban
- A kezem mindig muködésbe aktivalni fogja a lancféket visszarugás eseten?
Nem. Szükség van nemi eröre ahhoz, hogy az elülso kézvedöt elorenyomja. Ha nem alkalmazza a szükséges mertékú eröt, akkor elofordulhat, hogy a lancfek nem fog aktivalódni. Emellett két kézzel stabilan kell tartania a termek markolatait a munkavegzes bözen. Ha visszarugás történik, akkor elofordulhat, hogy a lancfek nem allitja le a fureszlancot, mielott az hozzaérne Önhöz. Emellett van nehány oyan pozićio, amelyben a keze nim tud hozzaérni az elülso kézvedohöz a lancfek aktivalásahoz. Erre jalent példat a dontovagasi pozićio.
- A tehetetlenségi kioldomechanizmus mindig aktivalni fogja a lancféket visszarugás kozben?
Nem. Eloször is, a lancéknek megfeleloen kell muködnie. A lancék ellenörzésével kapcsolatos utasitásokat illetöen tekintse á t a kovetkezöt: A lancék ellenörzese201. Oldon. Javasoljuk, hogy minden alkalommal végeze el a termek hasznalata elott. Emellett a visszarugás erejének eleg intenszivnek kell lenni ahhoz, hogy aktivalja a lancéket. Ha a lancék tul érzekeny, akkor nehéz muveletek kozben aktivalódhat.
A lancék mindig megvéd majd engem a serulésektól visszarugás eseten?
Nem. A lancfeknek megfelelokeppen kell mukodnie ahhoz, hogy vedelmetBiztositson. Emellett a lancfeknek is aktivalodnia kell a visszarugas kozben, hogy megalltsa a fureszlancot. Ha On a gezetolemez kozeleben van, akkor elofordulhat, hogy a lancfeknek nem lesz eleg ideje a fureszlanc leallitasara, mielott az Onhoz er.

FIGYELMEZTETÉS: Kizárolag On és a megfelelo munkavégzési technika képes a visszarugások megelözesére.
A termék elindítása
Inditás hideg motorral

FIGYELMEZTETÉS: A termé beinditásakor a lancféknek bekapcsolt allapotban kell lennie, ezáltal csökkentve a sérului kockázatát.
- Mozditsa elore az elso kezvedot a Iancfek bekapcsolasahoz.

- Nyomja meg körülbelül 6 alkalommal az üzemanyagpumpat, amig el nem kezd üzemanyaggal telitodni. Az üzemanyagpumpat nem szükséges teljes mertékben megtölteni.

- Allitsa a hideginditot szivato allasba.

- Továbbiutasítások a kóvetkező helyen állnak rendelkezésre: A termek elinditása 196. oldalon
Felkészülés indítársa meleg motor esetén

FIGYELMEZTETÉS: A termé beindításakor a lancféknek bekapcsolt allapotban kell lennie, ezáltal csökkentve a sérului kockázatát.
- Mozditsa elore az elso kezvedot a lancfek bekapcsolasahoz.

- Nyomja meg kb. 6 alkalommal az üzemanyagpumpat, amig el nem kezd üzemanyaggal telitödni. Az üzemanyagpumpat nem szükséges teljes mertékben megtölteni.

- Mozditsa el a hideginditot szivatoallasba, majd kozvetlenul munkavegzesiallasba.

- Továbbiutasítások a kóvetkező helyen állnak rendelkezesre: A termek elinditása 196. oldalon.
A termek elinditasa

FIGYELMEZTETÉS: A labait mindedképpen
tartsa stabil allasban a termek
beindításakor.

FIGYELMEZTETÉS: Ha a fūreszlanc alapjárati fordulatszámon forog, forduljon az illetékes szakszervizhez, és ne használja a terméket.
- Helyezze a terméket a talajra.
- Helyezze a bal kezét az elüso fogantyura.
- Helyezze a terdet a felso fogantyú帽子ó részere.
- Húzza meg lassan az inditokötelet jobb kézzel, amig Ellenállast nem érez.


FIGYELMEZTÉS: Ne tekerje az inditózsinór a keze köré.

VIGYAZAT: Ne huzza ki teljesen az inditozsinort, es ne engedje el a berantokotel fogantuyjat.
a) Ha a terméket hideg motor mellett inditja be, akkor addig húzza az inditokotel fogantuyjat, amig a motor be nem indul.
Megegyzés: A motor beindulásat pöfög hang jerzi.
b) Helyezze a szivatokart szivato allasba.
- Húzza meg az inditózsinófogantyúját, amig a motor be nem indul.
- Gyorsan engedje ki a gazadagol o reteszét, ezaltal alapjaratra allitva a termeket.

- Mozditsa el hatafelé az elso kezvedot a Iancfek kikapcsolasahoz.

- Használjá a terméket.
A termek fán történő beindítása
Megjegyzés: A termek hasznalata elott gyrozódjön meg arról, hogy eigegendü uzemanyag all rendelkezesre.
-
Aktivalja a lancfeket.
-
A termek beinditásakor tartsa a terméket a teste bal vagy jobb oldalan.
a) Ha a terméket a bal oldalan tartja, akkor a bal kezét helyezze az elülso fogantúra. Tartsa az inditokötelet a jobb kezével, és a termek beindításakor a testétöl távolodó irányba likje meg a terméket.
b) Ha a terméket a jobb oldalan tartja, akkor a jobb bal kezét helyezze a két fogantyu egyikère. Tartsa az inditokötelet a bal kezével, és a termek beindításakor a testétól tavolodó irányba likje meg a terméket.
A termek leallitasa
- A be/ki kapcsolot allitsa STOP allasba.

A munkavégzési technikával Kapcsolatos tudnivalók

FIGYELMEZTETES: A kezikonyvben olvashato, munkavegzessel kapcsolatos informaciok nemBiztositanak megfelelo képzest a termek muködtetesehz. Kizarolag akkor hasznalja ezt a termeket, ha megfelelo képzesben részesult a faapolas teren.A megelelo képzes nélkuli muködtetes a kezel o vagy masok sulyos serulését vagy halalat okozhatja.
A vágás kózben teljes fordulatszámot alkalmazzon, majd az egyes vágások után hagyja alapjáraton jární a terméket.

VIGYAZAT: A motor károsodhat akkor, ha tul hosszü ideig jaratjak terhelés nélkül maximalis fordulatszámion.
Vagás kózben helyezze a rönktámaszt a rönkbe, és használja emelokarként.
Megegyzés: Nem denen típus van rönktamasszal ellatva. További tajékoztatásert forduljon az illetékes szakszervizhez.

Húzó irányu vágás es tolo irányu vágás
A terméket 2 kūlōnbözō pozicioban használatja fa vágására.
A húzó irányu vágás az, amikor a gezetölemez also résével végez vágást. A fürészlanc athalad a fán a
vágás során. Ebben a pozúcioban jobban irányítható a termek és a visszarúgási zóna poźćója.

A tolo iranyu vagas az, amikor a gezetolemez felso részével végez vágast. Ekkor a fureszlanc a kezeló irányaba tolja el a termeket.


FIGYELMEZTETÉS: Ha a lancfúresz elakad a törzsben, a termek On felé nyomóhat. Tartsa szorosan a termeket, és ügyeljen arra, hogy a gezetolemez visszarugási zónaja ne erjen hozza a fához, ezáltal visszarugást okozva.


A termek elokészítese a fán vegzett munkához
Talajon ally dolgozó
Talajon allo dolgozoként tegye meg a kovetkezó lépeseket.
- Vizsgalja meg a terméket.
-
Töltse fel az üzemanyag- és a láncolajtartályt.
-
Csatlakoztassa egy jovahagyott biztonsagi heveder veget a kotelakasztóhoz.

Megegyzés: ABiztonsági hevederbiztositja, hogy a termek ne utodjön hozzá a talajhoz, ha leesik.
- Ügyeljen arra, hogy a biztonsági heveder masik végén legyen egy karabiner.
- Inditsa be es melegitse be a terméket.
- Állitsa le a terméket.
- Aktivalja a lancfeket.
- Emelöeszközök hasznalatával emelje fel a terméket a fán tartózkodó kezelöhöz.

FIGYELMEZTETES: Gyözödnjön meg arról, hogy a termek megfeleloen csatlakoztatva van, mielott felemeli a fara.
Fán tartózkodolgozó
Fan tartózkód ðolgozóként kövesse az alábbiutasításokat.
- Mielott lecsatolja a biztonsagi kotelet az emeloeszkozról, csatolja a termeket a hevederhez. Csatolja a termeket a hevederhez a pantakasztoval vagy a biztonsagi kotalen lev'o acelgyurvel.


FIGYELMEZTETÉS: Csatolja aBiztonsági kotelet a hevederen levó javasolt rögzítési pontok egyíkehez.

FIGYELMEZTETÉS: Ha csak aBiztonsagi kotelet használjaarra, hogy aterméket a hevederhez csatolja, akkor aterméket teljesen le kell ereszteni a
biztonsagi kotalen. Ne engedje el magasrol a termeket.
- Hasznaljon jovahagyott karabinereket, hogy aBiztonsagi kotel szabad veget a hevederen levorogzitesi ponthoz csatolja. Ez az elsodleges rogzitesi pont.

VIGYAZAT: ABiztonsagi koteletCsak a kotelakasztóhoz szabad csatlakoztatni.
- Ügyeljen arra, hogy stabil és biztonságos helyzetben legyen a vágashoz.
- Vegye ki a terméket a masodlagos rogzítési pontból, inditsa el a terméket, és végezze el a vágást.
- Közvetlenül a vágás befejezése után aktivalja a lancféket.
- Allitsa le a terméket, és helyezze vissza a masodlagos rögzítési pontba.
A termek fán történő muködtetese

FIGYELMEZTETÉS: A legtöb baleset
akkor történik, amikor a kezelö nim
rendelkezik teljes mertékü irányitással a
termék vagy a munkavégészisi poziónfelett.
Tartson fenBiztonsagos munkavegzési poziciot.
Vizszintes darabokat csipomagassagban, fuggoleges darabokat pedig koldokmagassagban vagjon.
Két kézzel tartsa a termeket.
Fuggoleges iranyu agakon torten munkavegzes kozben ügyeljenarra, hogy stabilan alljon a laban, es kis erot fejtsen ki oldaliranyban. Vezesse at aBiztonsagi kotelet egy masik csatlakoztatasi ponton, ezaltal megszuntete vagy megelozve az egyrenagyobb oldaliranyu eroket. Emellett egy allithato kotelet is rogzithet kozvetlenul a hevederbol egymasik csatlakoztatasi ponthoz.

- ABiztonsagos munkavegzési pozició megtartásához hasznaljon labhurkot.

- Rendszeres idokozonkentvegezee el a heveder, az ov es a kotelek ellenorzését.
Ha a termekkel egyutt kell masznia, csatlakoztassa a termeket a hevederen levo hatso csatlakoztatasi ponthoz. A hatso csatlakoztatas tavol fogja tartani a termeket a maszokotelektol, esBiztositani fogja, hogy a tomege a gerince menten kozepen legyen alatamasztva.


FIGYELMEZTETÉS: A lancékek
mindenképpen aktivalni kell akkor, ha a
terméket leereszti a hevederère.
Beakadt termék eltávolítása
- Allitsa le a terméket.
- Rögzütse a terméket a fa belso részén, a rönk vagas felòi oldalan vagy egy masik eszkóztartó kotelen.
- Ovatosan húzza ki a fúreszt a vágásból, kōzben szükség szerint megemelve az ágat.

FIGYELMEZTETÉS: Ne probálaj meg kirantani a terméket. Súlyos sérulis veszélye.
- Szükség esétén hasznaljon kézi fürészt vagy egy masik lancfürészt a termek kiszabaditásahoz. Vágja el az ágat legalább 30 cm/12 húvelyk távolságra a beakadt terméktól. A vágast a termék beakadásihelyehez képest a külso részen végezze el.
Karbantás
Bevezetó

FIGYELMEZTETÉS: A termék karbantartása elött olvassa el és értelmezze a biztonsággal foglalkozó fejezet.
Karbantartási terv
| Napi karbantartás Heti karbantartás Havi karbantartás | ||
| Tisztítsa meg a termék külso alka-trészeit, és ügyeljen arra, hovy ne maradjon olaj a fogantúkon. | Tisztítsa ki a hütörendszert. Lásd az A hütörendszer kitiszítása210. olda- lon fejezetet. | Ellenorizze a fékszalagot. Lásd az A fékszalag ellenörzese201. oldalon fe- jezetet. |
| Ellenörizze a gázadagoló és a gáza-dagoló reteszt. Lásd az A gázada-goló és a gázadagoló reteszének ellenörzese201. oldalon fejezetet. | Ellenörizze az inditóegységet, az in-ditózsinórt és a visszahužórgót. | Ellenörizze a tengelykapcsól kõze-pét, a tengelykapcsól dobot és a tengelykapcsól rugót. |
| Győzödljön meg arról, hagy a rez-géscsillapító egységek nem sérülteke. | Kenje meg a tugörgős csapágyat. Lásd az A tugörgős csapágy olajozá-sa208. oldalon fejezetet. | Tiszütsa meg a gyújtógyertyát. Lásd az A gyújtógyertya ellenörzese204. oldalon fejezetet. |
| Tiszütsa meg és ellenörizze a láncfé-ket. Lásd az A láncfék ellenörzé-se201. oldalon fejezetet. | Távolítsa el az esetlegesen kialakult sorjákat a vezetölemez széleiröl. Lásd az A vezetölemez ellenörzé-se209. oldalon fejezetet. | Tiszütsa le a karbaturk külso alka-trészeit. |
| Ellenörizze a láncfogót. Lásd az A láncfogó ellenörzese202. oldalon fejezetet. | Tiszütsa meg, illetve cserélje ki a hangtompító szikrafogó hlóját. | Ellenörizze az üsumanyagszürǒt és az üsumanyag-vezetéket. Ha szük-seges, cserélje ki. |
| Fordütsa meg a vezetölemezt, ellenörzüze a kenőjáratot, és tiszütsa meg a vezetölemez vajatát. Lásd az A vezetölemez ellenörzese209. oldalon fejezetet. | Tiszütsa meg a karbaturk környékét. | Ellenörizze az összes kábelt és csa-tlakozót. |
| Győzödljön meg arról, hagy a vezetölemezre és a füreszlánca elegendő olaj jut. | Tiszütsa meg vagy cserélje ki a leve-göszürǒt. Lásd az A levegöszürö megtisztítása204. oldalon fejezetet. | Ürítse ki a benzintartályt. |
| Végezze el a füreszlanc ellenörzését. Lásd az A vágoszerkezet ellenörzé-se208. oldalon fejezetet. | Tiszütsa meg a hengerbordák kõzötti részeket. | Ürítse ki az olajartályt. |
| Élezze meg a füreszlancot, és ellenörzüze a feszességét. Lásd az A fü- részlanc elezese205. oldalon fejezetet. | ||
| Ellenörizze a lánç csillagkerekét. Lásd az A homloklänckerék ellenörzese208. oldalon fejezetet. | ||
| Tiszütsa meg az inditó levegöbeömlő nyilását. | ||
| Győzödljön meg arról, hagy az anyac-savarok és a csavarok szorosan meg vannak-e húzva. | ||
| Ellenörizze a leállitókapsoló. Lásd az A ki/bekapsológomb ellenörzese202. oldalon fejezetet. | ||
| Ellenörizze, hagy nem szivárog-e üzemanyag a motorból, a tartályból vagy az üzemanyag-vezetékekból. | ||
| Győzödljön meg arról, hagy alapjára-ton működő motor mellett a füresz-lanc nem forog. |
| Napi karbantartás Heti karbantartás Havi karbantartás | |
| Győződjön meg arról, hogy a hangfó-gó megfelelően van-e csatlakoztatva, nincsenek-e rajta károsodások, és a hangfogó egyetlen alkatrésze sem hiányzik. |
A termek biztonsági eszközeinek karbantartása és Ellenőrzese
A fékszalag Ellenörzese
- Kefe hasznalatalával távolitsa el az összes fûreszport, gyantát és szennyezödést a lancfékról és a tengelykapcsoló dobról. A szennyezödések és a kopás befolyasolják a fék muködéşét.

- Ellenorizzee a fekszalagot. A fekszalagnak a legvekonyabb pontjan minimum 0,6 mm/0,024 huvelyk vastagnak kell lennie.
Az elso kézvedo ellenörzese
- Gyözödjön meg arröl, hogy a vágoburkolat nem sérult, és hogy hibáktól, pédául repedésektől mentes.
- Ellenorizze, hogy szabadon mozog-e az elülso kézvedo, és hogyBiztonságosmodoncsatlakozik-a tengelykapcsoló burkolatahoz.

A lancék ellenorzese
- Inditsa be a termeket. Az utasitasokat illetoen tekintse at a kovetkezot: A termek elinditasa195. oldalon

FIGYELMEZTETÉS: Gondoskodjon arról, hogy a fúreszlanc se a talajhoz, se egyé tárgyakhoz ne érjen hozza.
- Tartsa erösen a terméket.


FIGYELMEZTETÉS: Gondoskodjon arról, hogy a fúreszlanc se a talajhoz, se egyé tárgyakhoz ne érjen hozza.
- Adjon teljes gázt, és a bal csuklóját döntse elore az elso kezvedő irányába a lancfék aktivalásahoz. A fürészlánçnak azonnal meg kell allnia.


FIGYELMEZTETES: A lancfek aktivalasakor ne engedje el az elulso fogantuyt.
A gázadagoló és a gázadagoló reteszének Ellenőrzese
- Győződjön meg arról, hogy a gázadagoló és a retesze akadálymentesen mozog, a visszatérítő rugó pedig megfeleloen működk.

- Nyomja le a gazadagoló reteszt, es gyrozódjón meg arról, hogy a felengedése után vissatér alaphelyzetbe.

- Ellenőrìzze, hogy a reteszt elengedve a gázadagoló alapjárati poziúban reteszelődik-e.

- Inditsa be a lancfurészt, es adjon teljes gázt.
- Engedje el a kapcsologombot, es gyozodjon meg arról, hogy a lánc megáll és nyugalomban marad.

FIGYELMEZTETÉS: Ha a lánc alapjárati helyzetben levö gázadagolóval is körbejár, akkor forduljon az illetékes szakszervizhez.
- Gyözödjön meg arröl, hogy a láncfogó nem sérult.
- Győződjön meg arról, hogy a lancfogó stabil, és illeszkedik a termék testéhez.

A rezgéscsillapíto rendszer Ellenörzese
- Gyözödjön meg arról, hogy nincsenek repedések vagy eldeformálodás a rezgéscsillapíto rendszer egységein.
- Ellenorizze, hogy a rezgescsillapitó egységek megfeleloen kapcsolódnak-e a motortesthez és a fogantyukhoz.
A rezgéscsillapíto rendszer elhelyezkedésével kapcsolatos informaciókat illetöen tekintse át a kōvetkezǒt: A termék attekintese184. oldalon-
A ki/bekapcsologomb ellenzese
- Inditsa be a motort.
- A be/ki kapcsolot allitsa STOP allasba. A motornak ekkor le kell allnia.

A hangfogó ellenörzese
- Ellenőrizze, hogy nem hibásodott-e meg a hangfogó.
- Ellenorizze, hogy a hangfogó megfeleloen
csatlakozik-e a termekhez.

A karburátor beállítása
Kornyezetvedelmi es kurosanyag-kibocsatasi
tovenyekbol adofoan a termek beallitasi korlatozaszokat
tartalmaz a karburator beallitocsavarjainal. Ez csokkenti
a termek aldalt kibocsatott kros kipufogogazok
mennyisegt. A beallitocsavarokat legfeljebb fél
fordulattal lehet elforditani.

Alapvető beállitások és bejáratas
A karburátor alapvető beallitásait elvégzik a gyárban. A javasolt alapjárati fordulatszámot ilteöen tekintse át a következtó: Mûszaki adatok212. oldalon.

VIGYAZAT: Az elso 10 munkaoraban ne mukodtesse a termeket tul magas fordulatszamon.

VIGYAZAT: Ha a fureszlanc alapjarati fordulatszamon forog, forditsa el az alapjarati fordulatszam csavarjat az oramutato jarasaval ellentetes iranyban, amig a fureszlanc le nem all.
Az alacsony fordulatszám tüjenek (L) beallitasa
- Forgassa el az alacsony fordulatszám tujét az oramutato jarásával egyező irányba, amíg meg nem áll.
Megegyzés: Ha a terméknek gyenge a gyorsulási teljesitménye, vagy az alapjárati fordulatszám nem helyes, forditsa el az alacsony fordulatszám tujét az oramutató jarásával ellentêtes irányban. Forditsa el az alapjárati fordulatszám tujét,(amig el nim éri a megfelelo gyorsulási teljesitményt és alapjárati fordulatszámot.
Az alapjarati fordulatszám csavarjának (T) beallitasa
- Inditsa be a terméket.
- Forditsa el az alapjarat-beallito csavart az oramutato jarasaval megegyezo iranyban, amig a fureszlanc forogni nem kezd.
- Forditsa el az alapjarat-beallito csavart az oramutato jarasaval ellentetes iranyban, amig a fureszlanc le nem all.
Megjegyzés: Az alapjarati fordulatszám akkor van helyesen beallitva, ha a motor minded helyzetben megfeleloen jr. Az alapjarati fordulatszám és a fürészlanc forgásához szükséges fordulatszám közötttBiztonságos különbségnek kell lennie.

FIGYELMEZTETÉS: Ha az alapjárat-beallitó
csavar elforditásakor a fureszlanc nem áll le,
forduljon a szakservizhez. Addig ne
használja a terméket, amig az nincs
megfeleloen beallitva.
A magas fordulatszám tüjenek (H) beallitasa
A motort gyárilag a tengerszinten valo mukodéshez állitották be. Ennel nagyobb tengerszint feletti magassag, illetve elteró idójarasi vagy hörmsékleti viszonyok esétén szükség lehet a magas fordulatszám tujének beallitására.
- Forditsa el a magas fordulatszám tujét a beallitas elvégzeséhez.

VIGYAZAT: A magas fordulatszám
tujenek csavarjat ne forditsa el a
beallitasi korlatozas pontjanal nagyobb
mertekben. Ez a dugatty es a henger
karosodásat okozhatja.
A karburátor helyes beállitásának Ellenőrzése
Gyözödjön meg arról, hogy a termek gyorsulási teljesitménye megfelelo.
- Győződjön meg arról, hogy a termék képes teljes gázon működni.
- Gyözödjön meg arról, hogy a fürészlanc alapjarati fordulatszámon nem forog.
Ha a terméket nem egyszerü beinditani, vagy kisebb a gyorsulási teljesitménye,参加会议 el az alacsony és a magas fordulatszám tujének beallitásat.

VIGYAZAT: A nem megfelelo beallitasok kart tehetnek a motorban.
Hibás vagy elhasznált indítokötel cseréje
- Lazitsa meg az inditószerkezet burkolatának csavarjait.
- Távolítsa el az indítoszerkezet burkolatát.

- Huzza ki az inditokokelet korulbelul 30 cm/12 huvelyk tavolsagra, es helyezze a zsinortarcsan levo vajatba.
- Engedje a tárcsát lassan visszaféle forogni, hogy a visszahúzórgó kioldódjon.

- Távolítsa el a tárcsa közepén levő csavart, és vegye ki a tárcsát.

- Távolítsa el a használt inditokötelet a fogantúból és a tárcsáról.
- Csatlakoztasson egy uy inditokokelet a tarcsahoz. Tekerje fel az inditokokelet korulbelul 3-szor a tarcsa kore.
- Csatlakoztassa a tarcst a visszahuzorugohoz. A visszahuzorugo vegenek rogzulnie kell a tarcsan.
- Csatlakoztassa a csavart a tárcsa közepehéz.
- Húzza ḅτα ḅπεινίδιτόκοτelet az ḅπεινίσszerkezet hazán levo lyukon ες az inditokotel fogantuyuján.
- Kossön szoros csomót az inditokotel vegere.
A visszahúzórgó megfesztése
- Rögzütse az inditokötelet a tárcsán levő vajatba.
- Csavarja el a zsinortarcsat korulbelul ketszer az orajarasanak megfelelo iranyban.
- Gyözödn meg arról, hogy a tárcsát 12 fordulattal el tudja forditani az inditokotel teljesen kihuzott allapotaban.

Az indítószerkezet burkolatának felszerelése a termékre
- Huzza ki az inditokotelet, es helyeze az inditoszerkezet a forgattyuhaz fele.
-
Engedje vissza lassan a kotelet uyg, hogy a tarcsa raakadjon a tengely inditofogaira.
-
Húzza meg a csavarokat, amelyek az indítószerkezetet rögzítik.

A levegőszűrő megtiszítísa
Rendszeresen tiszitsa meg a levegőszürrot a szennyezódéşktól és a portól. Ez megelözi a karburátor meghibásodásait, az inditasi problémkat, a motorteljesitmény csökkenését, a motor alkatrészeinek kopását és a szokásosnal nagyobb üzemanyagfogyasztást.
- Távolítsa el a levegószúrö fedelét és a levegószúró.
- Kefe segitségevel tiszitsa meg a levegoszürot. Tisztitoszer es viz hasznalatalval teljes mertekben tiszitisa meg.
Megjegyzés: A hosszü ideje használt levegöszürôt nem lehet teljesen kitisztitani. Rendszeresen cserélje ki a levegöszürôt, és minded esetben cserélje ki a meghibásodott levegöszürôt.
- Csatlakoztassa a szurot, es gyozodjon meg arrol, hogy a szuró szorosan illeszkedik a szurotartóba.

Megegyzés: Az eltero munkavégzési körülmenyekból, idójarási viszonyokból vagy évszakból adódoan a termék kūlönbozo típusu levegoszürkkel hasznáhlato. További tajékoztatasert forduljon az illetékes szakszervizhez.
A gyújtógyertya Ellenőrzese

VIGYAZAT: Hasznaljon ajanlott tipusu gyujtogyertyat. Lasd az Muzaki adatok212. oldalon fejezet. A nem megfelelo gyujtogyertya kurosithatja a termeket.
- Ha a termek nehezen indul vagy nehéz muködtetni, illetve ha a termek rendellenesen mukodik alapjárati fordulatszamon, Ellenörizze, hogy nincs-e szennyezódes a gyüjtógyertyán. A gyüjtógyertya elektrédái kozotti lerakódások kialakulásanak csökkentése érdekében végezze el a következô lépéseket:
a) gondoskodjon az alapjarati fordulatszam megfelelo beallitatasarol;
b) gondoskodjon a megfelelo üzemanyagkeverekrol;
c) gondoskodjon a levegoszuro tisztasagarol.
- Tisztlsa meg a gyujtógyertyát, ha elszennyezóddott.
- Ellenorizzee, hogy megfelelo-e a szikrakoz. Lásd: Múszaki adatok212, Oldalon

- Havonta vagy szükség esétén ennél gyakrabban cserélje ki a gyújtógyertyát.
A fureszlanc elezese
A gezetölemezzel és a füreszlánccal kapcsolatos tudnivalók

FIGYELMEZTETÉS: A fûreszlanc hasznalata és karbantartása során hasznaljon védokesztyut. A nem mozgo fûreszlanc is seruléseket okozhat.
A kopott gezetölemezt és füreszlancot a Husqvarna által javasolt gezetölemez és füreszlanc kombinációjára cserélje le. Erre azert van szükség, hogy megmaradjanak a termek biztonsági funkciói. A csere-vezetölemezek és -füreszlancok általunk ajánlott kombinációit illetöen tekintse á t a következőt: Tartozékok213. oldalon.
- Vezetolemez hossza, huvelyk/cm. A gezetolemez hosszával kapcsolatos adatok általaban a gezetolemez hatso részen szerepelnek.

- Fogak száma a gezetőlemez orrkerekén (T).

Lancosztas, huvelyk. A lanc gezetoszemei kozotti tavolsagnak egyeznie kell a lancvezetovegen levol lanckerek es a meghajto lanckerek fogai kozotti tavolsaggal.

- Meghajtószemek száma. A meghajtószemek számát a gezetőlemez típusa határozza meg.

A gezetolemez nyomszelessege, huvelyk/mm. A gezetolemez vajatanak szelessege ugyanolyan kell, hovy leqyen, mint a lanc meghaitoszemeinek.

Láncolajóz nyilás, és nyilás a lancfeszitöhoz. A gezetőlemeznek a terméknek megfelelőnek kell lennie.

- Meghajtószemek szelessége, mm/hüvelyk.

A vagoszemek elezésével kapcsolatos altalanos tudnivalok
Ne hasznaljon tompa fureszlancot. Ha a fureszlanc tompa, akkor nagyobb nyomast kell kifejteni ahhoz, hogy a vezetolemez athaladjon a fan. Ha a fureszlanc nagyon tompa, akkor nem jön letre faorgacs,Csak fureszpor.
Az éles fūreszlanc konnyeden áteszi magat a fan, és a faforácsok hosszúak és vastagok lesznek.
A vagofog (A) es a melyseg (B) egyuttesen teszi ki a fureszlanc vagasra szolgalo reszét, a vagoszerszámot. A kettó magassaga kozotti kulönbség adja ki a vagasi melyseget (vagasmelyseg-beallitas).

A vágószemek élezésekor a következokre kell figyelni:
- Reszelésizog.

Vagasi szog.

- Reszelópozífio.

Hengereresrezelóatmeroje.

Megelelo eszkoz hiányaban nem egyszeru megelezni a furészlancot. Hasznaljon Husqvarna reszelosablont. Ez elo fogja segiteni a maximalis vagasi teljesitményt, illeteve minimalis szinten tartja a vissarugas kockazatat.

FIGYELMEZTETÉS: A visszarugás ereje nagymértékben megno, ha nem kovetik az élezésre vonatkozó utasitáskat.
Megjegyzés: A fureszlanc élezésével kapcsolastosudnivalokat iltoen tekintse át a kovetkezót: Afureszlanc élezese205. oldalon.
A vágoszemek élezese
- A vagofogakat hengeres reszelövel és reszelösablonnal elezze meg.

Megegyzes: A Husqvarna altal az On
fureszlancahoz ajanlott reszelot es sablont illetoen
lasd: Tartozekok213. oldalon
- Helyezze el megfelelo modon a reszelosablont a vagoszemen. Lásd a reszelosablonhoz mellekeltutasitásokat.
- A reszelöt a vagófogak belso oldalaról kifelé MOZgassa. Csökkentse a nyomást a huzó irányú vagason.

- Távolítsa el az anyagot az összes vágófog egyik oldalaról.
- Forditsa meg a terméket, és avertisingoldalról istávolítsa el az anyagot.
- Ügyeljen arra, hogy minded vagófog azonos hosszúsagu legyen.
A vagasmélység-beallitas módosításával Kapcsolatos altalános tudnivalók
A vagásmélység-beaillitas (C) csokken, amikor megelezik a vagofogakat (A). A maximális vagasi
teljesitmény megartása érdekében el kell távolitani a
reszelés során létrejött anyagokat a mélységhatárolórl
(B), hogy megkapjuk az ajánlott vágasmélység
beallitást. Az adott fureszlanc megfelelo vágasmélység
beallitásanak elérésével kapcsolatos utasításokat
iltoen lásd: Tartozékok213. oldalon.


FIGYELMEZTETÉS: A visszarugás kockázata megno, ha a mélységhatároló távolsága tú nagy!
A mélységhatárolo beaillitásanak modosítasa
A vagasmélység-beallitás modosítása és a vagoszmek élezese el'tz az utasítasokat iltoen tekintse à a kovetkezö: A vagoszmek élezese206. oldalon. Azt javasoljuk, hogy(AP)harmadik lancelezés utan végezze el a mélyseghataroló tavolsagänak beallitásat.
Javasoljuk, hogy a mélységhatarolu beaillitasához használja a sablont, hogy pontosan le tutja mérnia atávolságot, és el tutja érní a helyes oldalszöget.

-
Lapes reszelot es melyseghatarolo eszkocz
hasznaljon a vagasmelyseg-beallitashoz. A
melyseghatarolo beallitasyhoz kizarolag Husqvarna
sablont hasznaljon, hogy a tavolsagot这点an
tudja lemerni, es a helyes oldalszoget tutja elerni. -
Helyezze a mélységhatároló eszközt a fûreszlanc fölé.
Megegyzes: Az eszkoz hasznalatalk valkapcsolatos tovabbi tudnivalokat illetoen tekintse at a melyseghatarolo csomagolasat.
- A laposreszello hasznalatalval tavolitsa el a melységhataroló kialló részeröl a felesleget.

A fureszlanc feszesssegenek beallitasa

FIGYELMEZTETÉS: Ha a feszesség nem megfelelo, a fureszlanc leugorhat a gezetolemezrol, ami sulyos sérulést vagy halalt okozhat.
A fureszlanc hasznalat soran meghosszabbodik. Rendszeresen allitsa be a fureszlancot.
- Lazitsa meg a gezetolemezt rögzitó anyacsavarokat, amelyek a tengelykapcsoló fedelét/lancféket tartjak. Használjon csökulcsot.

Megjegyzés: Bizonyos modelelencsak egy gezetolemez-rogzito anyacsavar talalható.
- Húzza meg az anyacsavarokat kézzel, amilyen erösenCsak tudja.
- Emelje meg a gezetolemez elejet, és forgassa el a feszitocsvavart. Hasznaljon csokulcsot.
- Szoritsa meg a fureszlancot, amig szorosan ra nem fekszik a vezetolemezre, de meg konnyen mozog.

- Szoritsa meg a gezetolemez anyacsavarjait a csavarkulccsal, és eközben emelje fel a gezetolemez elülsö részet.
- Győzödjön meg arról, hogy a lánc kézzel szabadon körbehúzható, és hogy nem log lazán a gezetőlemezrol.

A termek feszitocsavar-pszicjat iltoen tekintse at a kovetkezot: A termek attekintese184. oldalon.
A fureszlanc kenésének Ellenörzese
- Inditsa el a terméket, és hagyjá ránni 34 gázzzal.
- Tartsa a gezetolemezt korulbelul 20 cm/8 huvelyk tavolsagban egy vilagos szinu felulet felett.
- Ha a fureszlanc kenese megfelelo, akkor a feluleten 1 perc elteltével egyertelmü olajcsik fog megelenni.

- Ha a fureszlanc kenese nem mukodik megfeleloen, végezze el a gezetolemez ellenörzését. Azutasításokat illetöen tekintse á t kóvetkezőt: A gezetolemez ellenörzese209. oldalon. Forduljon az illetékes szakszervizhez, ha a karbantartásí lèpések nem segitenek a problémán.
A homloklánckerék Ellenőrzésé
A tengelykapcsoló dobon talalhato egy homloklanckerek, amely ra van hegesztve a tengelykapcsoló dobra.

Rendszeresen nezzen ra, es ellenorizze, mennyire latszik kopottnak ez a homloklanckerek. Cserelje le atengelykapcsol dobot a homloklanckerekkel, ha tul nagy merteku a kopas.
A tugorgos csapagy olajozasa
- Mozditsa hatafela az elso kezvedot a Iancfek kikapcsolasahoz.
- Távolítsa el a vezetólemezt rögzíto anyacsavarokat, és vegye le a tengelykapcsoló fedelét.
Megjegyzés: Bizonyos modeleleken egyetlen verzetoilemez-rogzito anyacsavar talalhato.
-
Helyezze a terméket stabil felületre, uyg, hogy a tengelykapcsoló dobja felfel é all.
-
Távolítsa el a tengelykapcsoló dobot, és kenje meg a tugörós csapágyat zsirzópréssel. Kivaló minőségő motorolajat vagy csapágyzsirt használjon.

A vágószerkezet Ellenőrzésé
- Gyózódjön meg arról, hogy nincsenek repedèsek a szegecseken és a szemeken, és hogy egyik szegecs sem laza. Szükség esétén cseréljé ki.

- Gyózódjön meg arról, hogy a fureszlanc konnyen Hajlithato. Ha a fureszlanc merev, cserélje le.
- Hasonlitsa ossze a lancot egy uy lancaal annak megallapitasahoz, hogy a szegecsek es a meghajtoszemek elhasznalodtak-e.
- Cserelje ki a fureszlancot, a vagofog leghosszabb része rovidebb, mint 4 mm/0,16 huvelyk. Emellett akkor is ki kell cserelni a fureszlancot, ha repedesek vannak a vagoszemeken.

A gezetőlemez Ellenőrzése
- Ellenorizzee, hogy nincs-e eltomodve az olajcsatorna. Szukseg eseten tiszitsa meg.

- Ellenorizze, hogy nincs-e sorja a gezetolemez szélein. Reszelö segitségével tavolitsa el a sorjakat.

- Tisztoiša meg a gezetõlemez vajatat.

- Ellenorizze, hogy nem kopott-e a gezetolemez vajata. Szukseg eseten cserelje ki a gezetolemezt.

- Ellenorizzee, hogy nem durva vagy nagyon kopott-e a gezetolemez csucsa.

- Ellenorizze, hogy az orrkerek szabadon forog-e, es hogy nincs-e eldugulva a vezetolemez csucsan levokenonyilas. Szukseg eseten tiszitsa meg es kenje meg.

- Naponta forditsa meg a gezetolemezt az elettartama meghosszabbitasa erdekében.

Az uzemanyagtartaly es a láncolajartaly karbantartásanak elvégzese
Rendszeresen eressze le es tiszitsa meg az uzemanyagtartalyt es a lancolajtartalyt.
- Évente vagy szükség eseten ennél gyakrabban cseréljekaz üzemanyagszürôt.

VIGYAZAT: Az uzemanyagtartalyba kerult szennyezodesek uzemzavart okoznak.
A láncolajáramlás beállitasa

FIGYELMEZTETÉS: Az olajsivattyu beallitásanak elégzése elott allitsa le a motort.
- Fordítsa el az olajszivattyu beallitócsavarját. Használjon csavarhúzóvagy kombinációs csavarkulcsot.
a) Az olajaramlas noveléséhez forgassa el a beallitócsavart az oramutato jarásával egyezö irányban.
b) Az olajaramlás csökkentéséhez fordítsa el a beallitócsavart az oramutato jarásával ellentétés irányban.

A hútórendszer kitisztítása
A hütörendszer alacsonyan tartja a motor hōmér sékletét. A hütörendszer magában foglalja az
inditószerkezeten talalhato levegőbeömlôt és a levegőterelő lemezt, a lendkeréken lévo fogakat, a hengeren levő hütóbordákat, a hütócsatornát és a hengerfedelet.
- Tisztitsa meg kefevel a hutorendszt hetente egyszer, illetve szukseg eseten ennel gyakrabban.
- Ellenorizzee, hogy nem szennyezodott-e a hutorendszer, illetve nincs-e eltomodve.

VIGYAZAT: A szennyezett vagy
eltomodott hutorendszer a gep
tulhevuléséhez gezethet, ama termek
károsodásat okozhatja.
Hibaelhárítás
A motor nem indul
| A termék megvizsgálandó alkatrésze | Lehetséges ok Teendő | |
| Inditófogak Az inditófogak eltömdtek | Állítsa be vagy cserélje ki az inditófo- | gakat. |
| Tiszíttsa meg a fogak környékét. | ||
| Beszéljen egy hivatalos szakszerviz-zel. | ||
| Üzemanyagartály Nem megfelő üzemanyag. | manyag. Engedje le az üzemanyagartályt és töltsön be megfelő üzemanyagot. | |
| Az üzemanyagartály láncolajjal van tele. | Haár megprébálta beindítani a ter-méket, forduljon az illetékes szaks-zervizhez. Ha mág nem pródálta meg beindítani a terméket, eressze le az üzemanyagartályt. | |
| Inditó, nincs szikra A gyújtógyertya koszos vagy nedves. Bizonyosodjön meg | róla, hogy a gyújtógyertya száraz és tiszta. | |
| A szikraköz nem megfelő. Tiszíttsa | meg a gyújtógyertyát. Üglyeljenarra, megfelő legyen a szikraköz és a gyújtógyertya, és hovy a javasolt vagy azzal egyenérétékü gyújtógyertya legyen behelyezve. | |
| A helyes szikraköz illetóen tekintse át a következőt: Műszaki adatok212. oldalon. | ||
| A termek megvizsgálandó alkatrésze | Lehetséges ok Teendő | |
| Gyújtógyertya és henger A gyújtógyertya | a kilazult. Húzza meg a gyújtógyertyát. | |
| A motor befulladt, mert ismételten tel-jes szívatást alkalmaztak a beindítá-sa után. | Távolítsa el és tiszítlsa meg a gyújtó-gyertyát. Helyezze el a terméket az oldalára fordíva úgy, hogy a gyújtó-gyertya nyílása Öntöl tívol helyez-kedjen el. Húzza meg 6-8 alkalom-mal erösen az indítokötelet. Szerelje össze a gyújtógyertyát, és inditsa be a terméket. Lásd az A termék elindi-tása195. oldalon fejezetet. |
A motor elindul, de leall
| A termék megvizsgálandó alkatrésze | Lehetséges ok Teendő | |
| Üzemanyagartály Nem megfelelő üzmanyag. Engedje le az üzemanyagartályt és töltsön be megfelelő üzmanyagot. | ||
| Porlasztó Az alapjárati fordulatszám nem meg-felelő. | Forduljon az illetékes szakszerviz-hez. | |
| Légszűrő Eltömódott a légszűrő. Tiszütsa meg vagy cserélje ki a leve-gőszűrőt. | ||
| Üzemanyagszűrő Eltömódott üzemanyagszűrő. Cserélje ki az üzemanyagszűrőt. | ||
Szállitas és raktározás
Szállítás és raktározás
A termek es az üzemanyag tárolásához és szállitásához győzódjön meg rola, hogy nincsenek szivargások vagy gozk. Szikra vagy nyilt láng, pédául elektramos készüléktől vagy kazánoktól, tüzet okozhat.
- Mindig engedélyezett tartályokat használjon az üzemanyag tárolására és szállítására.
- Szallitás es hosszú tává lárolás elött urütse ki az üzemanyag- és a láncolajtartályt. A felesleges üzemanyagot és láncolajat adja le egy erre kijelölt gyüjtóponton.
A sérulések é a termék károsodásanak elkerulése érdekében használa j a terméken talalhato szallitasiBiztositószerkezet. A nem MOZgó fureszlanc is sulyos séruléseket okozhat.
- Távolítsa el gyertyapipát a gyrojtogyertyáról, és kapcsolja be a lancéket.
- Szállítskor rögzítseBiztosan a terméket.
A termek felkészítese hosszú idón át tartó tárolásra
- Szerelje szét és tiszítlsa meg a füreszlancot és a gezetőlemezen lévő vajatot.

VIGYAZAT:Ha a furészlanc es a gezetolemez nincs megisztitva, akkor merevvé valhatnak vagy eltomodhetnek.
- Csatlakoztassa a szállításí védőtokot.
- Tisztitsa meg a terméket. Az utasításokat illetöen tekintse át a kovetkezőt: Karbantartás 199. oldalon.
- Végezé el a termék teljes körü szervizelését.
Muszaki adatok
Muszaki adatok
| Husqvarna T525 | |
| Motor | |
| Hengerürtartalom, cm3 | 27,0 |
| Alapjárati fordulatszám, ford/perc 2900 | |
| Legnagyobb motorteljesítmény az ISO 8893/sheint, kW/hp @ rpm | 1,1/1,5@9500 |
| Gyújtásrendszer19 | |
| Gyújtógyertya NGK CMR6A | |
| Elektródahézag, mm 0,75 | |
| Üzemanyag- és olajozási rendszer | |
| Üzemanyagartály Úrtartalma, liter/cm3 | 0,19/190 |
| Olajartály Úrtartalma, liter/cm3 | 0,17@170 |
| Olajszivattyú típusa Állitható | |
| Tömeg | |
| Tömeg, kg 2,7 | |
| Zajkibocsátás | |
| Hangeljesítmenyszint, dB(A)-ben méve 110 | |
| Hangeljesítmenyszint, garantált, LwA dB(A) 111 | |
| Zajszintek20 | |
| Ekvivalens hangnyomásszint a felhasználó fülénél, dB(A) | 98 |
| Ekvivalens rezgésszintek, a hveq21 | |
| Első fogányú, m/s2 | 4,9 |
| Hátső fogányú, m/s2 | 5,2 |
| Fürészlanc/vezetőlemez | |
| Csillagkerék típusa/fogak száma 3/8"/Spur 6, 1/4"/Spur 8 | |
| A fūrészlanc sebessége m/s-ban, a maximális motorse-besség 133%-a esétén. | 24,1 |
Tartozékok
Javasolt vágószerkezet
A(z) Husqvarnaés a(z) T525 láncfürésztipust
kiertékeltek biztonságosság szemportjából a
következőnek megfeleloen: EN ISO 11681-2:2011/
A1:2017 (Erdészeti gépek - Hordozható láncfürészekre
vonatkozíbiztonsági követelények és tesztelés. 2.
rész: Faapolásra szolgálo láncfürészek), és ennek
alapján megfelelnek a biztonsági követelényeknek,
amennyiben az alabb felsorolt gezetolemez-fureszlanc kombinaciokkal vannak felszerelve.
Kis visszarugásu fureszlanc
A kis visszarugasu fureszlanckent megelolt fureszlancok megfelelnek a kovetkezoben meghatarozott, kis visszarugasra vonatkozo elorasnak: ANSI B175.1-2012.
Visszarugás és a gezetőlemez orrkerekének sugara
| Vezetőlemez Fürészlanc | ||||||
| Hossz, Hüve-lyk/cm | Osztás, Hüve-lyk | Mélység, Hü-velyk/ mm | Max. orrsugár Típus Hossz, meg-hajtószemek (sz.) | 60 | Kis visszarú-gás | |
| 10@25 1@4 0,050@1,3 R10 Husqvarna | ||||||
| 12@30 1@4 0,050@1,3 R10 68 | ||||||
| 10@25 3@8 0,050@1,3 7T Husqvarna | H37 | 40 Igen | ||||
| 12@30 3@8 0,050@1,3 7T 45 | ||||||
| 10@25 3@8 0,050@1,3 7T Husqvarna | S93G | 40 Igen | ||||
| 12@30 3@8 0,050@1,3 9T 45 | ||||||
Az alkalmazhato vágashossz általában 1 húvelykkel kisebb, minta vezetőlemez névleges hossza.
Reszelöberendezés és reszelési szögek
Hasznaljon Husqvarna reszelosablont a furészlanc megelezesehez. Husqvarna reszelosablon
hasznalatalbizi tan a megfelelo elezési szogeket erheti el. A cikkszamok az alabbi tablazatban olvashatok.
Ha nem biztos abban, hogy hogyan tudja azonositani a fureszlanc tipusat az adott termek esetében, a további tudnivalokat illetöen tekintse át a kovetkezőt: www.husqvarna.com.
| 1. | 2. | 3. | 4. | |
| H00 | 5/32 hülvetyk / 4,0 mm | 580 68 74-01 | 0,025 hülvetyk / 0,65 mm | 30° 85° |
| H37 | 5/32 hülvetyk / 4,0 mm | 505 24 37-01 | 0,025 hülvetyk / 0,65 mm | 30° 80° |
| S93G | 5/32 húvelyk / 4,0 mm | 587 80 90-01 | 0,025 húvelyk / 0,65 mm | 30° 60° |
EK megfelelośegi nyilatkozat
EK megfeleloségi nyilatkozat
Husqvarna AB, SE-561 82 Huskvarna, Svedorszag, tel: +46-36-146500, sajat felelosségere kijelenti, hogy azok a Husqvarna T525 faapolasra szolgalo lancfurészek, amelyek a 2017-as évben vagy ezt kovetoen kaptak sorozatszamot (az ev jol latatoan fel van tuntete a típustablán, a sorozatszam elott), megfelelnek az EGK TANÁCSA kovetkező IRÁNYELVEI kovetelményeinek:
a 2006. majus 17-i, "gepekre vonahtozo" iranyelv 2006/42/EK.
a 2014. február 26-i, "elektromágneses megfelelo séggel kapcsolatos" irányelv 2014/30/EU.
a 2000. majus 8-i, kornyezeti zajkibocsatassal kapcsolatos" iranyelv 2000/14/EK.
a 2011. junius 8-i, az egyes veszelyes anyagok elektromos es elektronikus berendezesekben valo alkalmazasananak korlaotozasara" vonatkozo iranyelv 2011/65/EU.
A következő szabványok kerültek alkalmazásra: EN ISO 12100:2010, EN ISO 14982:2009, EN ISO 11681-2:2011/A1:2017, EN 50581:2012
Bejentett tanusitasi szervezet: 0404, RISE SMP Svensk Maskinprovning AB, Box 7035, SE-750 07 Uppsala, Svédorszag, elvegezte az EK szerinti bevizsgalast a gépekrol szoló irányelv (2006/42/EK) 12. cikkelyenek 3b pontjavallosszhangban. Az EK tipusu bevizsgalasra vonatkozo tanusitvanyok a IV. melleklettel összhangban a kovetkez szamot visilik: 0404/17/2479 -T525.
Ezen tulmenoen a 0404, RISE SMP Svensk Maskinprovning AB, Box 7035, SE-750 07 Uppsala igazolt, "a kornyezeti zajkibocsatasról szol", 2000. majus 8-i 2000/14/EK sz. tanácsi irányel V. mellekletenek valo megfelelesi tanusitványal rendelkezik. A tanusitvány a kovetkező számmal rendelkezik: 01/161/111 - T525.
A zajkibocsatársa vonahtkoz tajekoztatst ilteoentekintse át a kovetkezö: Muszaki adatok212. oldalon.
A szállitott lancfúrész megfelel az EK-tipusvizsgálaton átesett példának.
Huskvarna, 2017-07-21

Per Gustafsson, Fejlesztési Igazgató (A Husqvarna AB technikai dokumentációrt feelö's hivatalos képviselete).
KönnyűKézikönyv