ST 424 - Снігоприбиральна машина HUSQVARNA - Безкоштовний посібник користувача
Знайдіть посібник до пристрою безкоштовно ST 424 HUSQVARNA у форматі PDF.
Часті запитання - ST 424 HUSQVARNA
Питання користувачів про ST 424 HUSQVARNA
0 питання про цей пристрій. Дайте відповідь на ті, що знаєте, або поставте власне.
Поставити нове питання про цей пристрій
Завантажте інструкції для вашого Снігоприбиральна машина у форматі PDF безкоштовно! Знайдіть свій посібник ST 424 - HUSQVARNA і поверніть собі контроль над електронним пристроєм. На цій сторінці опубліковані всі документи, необхідні для використання вашого пристрою. ST 424 бренду HUSQVARNA.
ПОСІБНИК КОРИСТУВАЧА ST 424 HUSQVARNA
Пюверka 3убчатою кoleca
Bapa6ah cenuenene Ochauen 3y6aTabIM KOLECOM, npuBaapeHHbIM Ha 6apa6an.

CneNyET perynpno npOBepTb CTeneH n3Hoca 3y6aTOro KOleca. Pn CnUHKOM CNJbHOM n3HOce 3aMeHnte 6apaban cquenHeBmecTe C 3y6aTaBIM KOJIeCOM.
Cma3ka IroIbYaTOro NOpUINHnKa
- Notaryte nepeHnI uHTOK Ia pyk Ha3a,ITo6bI BBIKIOHTb TOPMO3 cenn.
2.Ocna6bTe rainKpeneHnI HnHbI n CHMNTe KpbIuKy cquJeHnI.
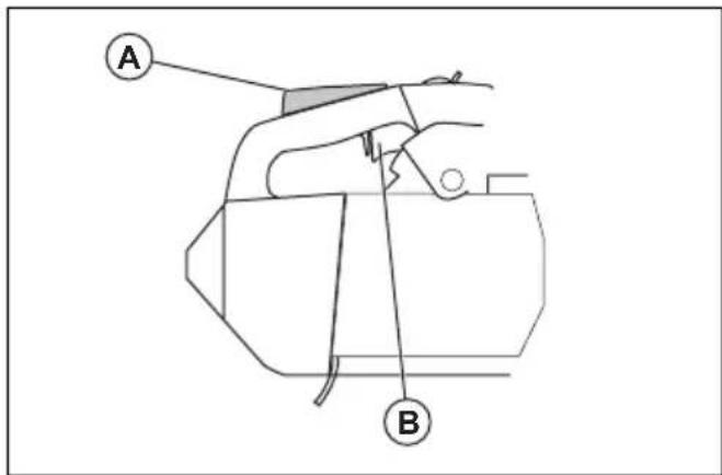
Блokувань кypka ra3y
BnOKyBaHH Kypka ra3y 3anobirae Noro BunaKOBOMy cnpaBobyBaHHIO. RaIIO B3aTncsra pyuKy HATNCHTN Ha 6nOKyBaHH Kypka ra3y (A), Noro 6ynde po36JIOKOBaHO (B).KOn BN BiDnyckaTe pyuKy, 6nOKyBaHH Ta Kypok ra3y NOBepTaIObcsdo BVxIDHORO nONoxHeHH. UeMexAHi3 M 6nOKye Kypok ra3y Ha WbNDKOCT XOLOCTOrO XOy.

UtpmmyBaJaanHura
UtpmyBaHnIgora 3axonIIoe NaHIOr nIKNy BnnaKky, kNIO BIN NopBcTc qN cnae. IpaBnbln HATrI NaHcIgora nnKn Ta npBnblHe o6CnyroByBaHHaNaIcIra nnKn Ta nnbHOi 3HxKyOt b He6e3neKy BHNKHeHH HeaChnx BnAaKIB.

CnCTema norgunhaHHBippaJIi
CnCTema norgnnHaHHB i6paqii 3MeHsuye Bi6paqio B o6laacti pyouk. Elemehtnn ngnnHaHHB i6paqii npauoHTb Jk neperopokka mixk Kopnycom Bnp06y Ta 6JLOKOMpykn.
Ihopmaio npo po3TaWbAHn CNTeMn nOrnHaHHBipaui Ha npncptoi dVB. y po3dini Orna Bnpoby ha ctopin550.
4.ДетальнишінстукiiДИВ.y po3diNi 3anyck Bnpo6y Na ctopinu 562.
Iirotobka do 3anycky tenloro DnryHa

PONPEJXEHRA:JaHIOROBeraIbMO Heo6xIDHO BMKATn nepe3aNyCKOM JaHcIROBOI NIKN, Uo6 yHKnHyTN He6e3neKN TpaBMN.
- Nocyhble TepeeHni 3axnchn uTOK ypeep, o6 3aiaTn ralbmo naHcIora.

- HatnckaTe KhoNky npOdyBKn NOBITpM, DOKn NaINBO He NoyHe 3anOBHOBaTN 6aJNoH (HaTnCHtB 00HaImeHwe 6 pa3iB). Hema Heo6XiHocTi 3anOBHOBaTN II NOBHCTIO.

- YctaHOBIT 3acNIHKy CNOaTKy B 3akpnte, a notim oDpa3y Bpo6ohe noJIOKeHHra.

- De TaIbHiSi IHCTpyKciI dNb. y po3diI 3anyck BpuO6y Ha cTopiHci562.
3aynck Bnpo6y

PONEPENHEH:PiI qac 3anycky Bnpo6y cIi3aMAtn CTiKe nOIOXeHH.

PONEPEJXEHH: JaKoIaHcIg NIIKn 06epTaetbca Ha WbNdkocTi XOIOCTORo XOy, 3BepHiTbc4 Do CBOrO DInepa 3 06CnyroByBaHH Ta He BnKOpNCTOByte Bnpi6.
1.ПокладітВирибHa 3emЛIO.
2. PoknadiTb JIby pyky Ha nepedHIO pyky.
3. NocTaBTe KOniHo Ha 3aJHIO YacTHHy BepXhBoI pyuKn.
4. NobinbNo NotarHtB pyky Ha Tpoci cTapTepa npaBOIO pykoIO,doKn He BiDuye Te onip.


PONEPENKEHHr:He HAMOTynte nyckobn uHyp Ha pyky.

YBAFA: He Bntary Te Tpoc CTapTepa NobHicTIO Ta He BiPyckaTe pyky Ha Tpoci CTapTepa.
a)Якwo Heo6xidno 3anyctntu Bnpi6 i3 xonoqHm DBnryHom,notarHtB pyky Ha Tpoci cTapTepa, DOKN DBnHy Hne 3anyctntbcr.
3BepHt b ybary: 3aynck DnBnyHa MoXHa pO3ni3HaTN 3a npurnyeHm 3ByKOM.
b) YctaHOBITb BaxiNb 3acnIHKn B 3akpnte NOJoxKeHHr.
- TaHrHtB 3a pyuKy Ha Tpoci CTapTepa Do Tnx nip, nOKn DnBuRyH He 3anpaIooE.
- ⅢBniko BiDnyctiB 6NOKyBaHHa Kypka rasy, 0o6 nepeBecTn Bnpi6 y pexm po60Tu Ha WndkocTi xOIOCTOrO xOdy.

- NocyHbTe nepeDHI 3axnCHNI uNTOK Ha3aI, Uo6 BmKHyTN NaHcIOROBe raIbMO.

Пид�товka вробу до роботни.Depebi
Po6iTHNK Ha 3eMJI
Kaio BN npaioeTe Ha 3emJI, DToPmMyItecBkazIOK HxKHe.
1.OrnHbTe Bnpi6
2. 3anobHbIb naHbHn6ak i6ak dna MaCTnla.
3. HaniHIO 3aKpinitb OINH KIneCb 3aTBePdXKeHOrO 3axnCHoro cTpona Ha nTni Tpoca.

3BepHItb yBary: 3axnchn cTpon dae 3mory 3anobirny ydpny Bnpo6y o6 3emnio B pa3i noro naHH.
4.ПepekoHaITeCЯ,иоHa iHwoMy KInci 3axnCHoro cTpona BCTaHOBJIeHo Kapa6iH.
5.3anyctitb Bnpi6 i daite My nporpirtca.
6. 3ynnHItb Bnpi6.
- Aktinyte NaHcIroBe raJIbMo.
8.CkopncTaiTecb BiINOBiHIM IHCTpyMeHTOM,IO6 noDaTN Bpi6 onepaTOpY,io nepe6yBaE Ha depeBi.

PONPEJKEHHa:KoN6yTe niiMn Bpi6 do onepatopa Ha depebi,nepekoHaTeC,uo Ioro HadiHo 3akpinHe.
OnepaTop Ha DepeBi
KuO Bn npaioeTe Ha depebi, DToPmMyTEcR BkazBOK HxKHe.
- Ipeed BiD'cHHaHHa3axnCHOrO cTpona BiI IHCTpyMeHTa dnniPiIMaHH Heo6xIDHO cNoatky 3akpinTu Bnpi6 Ha nacobii niDbicu. 3akpinitb Bpi6 Ha nacobii niDbicu, BkOpncTOBvOuN neTIO Ha noRci a6o ctaJeBe KJIbue Ha 3axnChOMy cTponi.


PONPEJXEHH: 3aKpinitb 3axnchn CTpon Ha peKOMeHDoBaHi TOUci KpinneHH 1 Ha nacobii niDbicui.

PONPEJXEHH: JaO np KpInnHeHH Bnp6y Do nacBOi niBicKn BkOpNCbByEc Taue 3axnChn CTpon, NOBHCIO ONyctIb Bnpi6 pa3om i3 3axnCHm CTponOM. Ha BnCOTi He BnynckaTe Bnp6 i3 pyk.
- BnKOpncToBvIe BiINOBiHi Kapa6iHn DnKpInnEHn BInbHorO KINc4 3axNCHO CTpona Ha ToCuJ KpInnEHn nacBOoi NiDICKN. Lr ToKa - BaHa nepBHHa ToKa KpInnEHn.

YBAFA:ДЯЗakpinenHЯЗхисHorO CTpona BnKOpncTOByIe BnKJIIOUHO netTIOДЯ TPOCA.
3.Перш hix понати pi3atn,пepekoHaItecra,ло Ви pepe6yBaTe B 6e3neuHOMy nHaDiHOMy noJoxKeHHi.
4.3HIMITb Bnpi6 i3 BTOpHHoI TOKKn KpinJIeHHa 3anyctitb Bnp6,io6 noaTuPi3aTn.
5.AkTbByTe naHcIorOBe ranbMo Opa3y nicna 3aBepweHHp3aHH.
- 3ynnHtB Bpi6 i 3aΦikCyIe Noro y BTOpHHi ToUci KpinneHHra.
Eknpnyataia Bnpo6y Ha depebi

NONEPENXEHRA:BilbucHeuacnBUNaKIB CTAeTbcra, kUO onepaTop HeMOKe NOBHCIO KOHTpOJIOBaTu Bnpi6 cBOe pOboye nooKeHHra.
- 3a6e3neuTe HaJIHe po6oye noJoxeHHa.
-Дя ropn3oHTaBnHx po3piiB TpmaIte nNky Ha pIBHi cTEROH,ДЯ BepTnKaIbHnx-Ha piBHi COHryHOrO cnNetiHH.
-Трима Te Bnipi6 oboma pykamn.
Плд уас роботи 3 Вертукальним rinkamn, кол 6iHi 3ucIIJIЯ He3NaUHIMN, Heo6xIaHO 3aBXdI 3aImaTn CTIke NOLOXeHHr. 3a Heo6xIaHOCTI 3MiHITb TOUYK KpINNeHHr CTpaxyBaIbHOI MOTy3KN, IIO6 YHNKHyTN YTBOpEHHr 6iHnx HabaHTaKeHb qN 3anobirn IX NiDbuSeHHO. Kpim TOrO, Bn MoKeTe 3MInHTu TOUYK KpINNeHHra 3a DoNOMorOIO peryIbOBaHOrO CTpona, 3a Notpe6n 3akpinBUn NoRo Ha nacobii niDiBicui.

-ⅢO6 nIDTPMByaTn 6e3neueHne noJoxeHHB NKOPNCOByIe neTIO dIHOHn.

Perynepno npebipraTe nacoby niDbicky, noarc i MOTy3KN.
Y pa3i Heo6xHocTi niIyomy no DepeBy pa3om i3 Bnpo6om 3akpinitb Bnpi6 Ha 3aHi ToCu kpinneHH naCoboi nDBCIK. KOnn Bnpi6 3akpInHeHO Ha 3aHi TOUcI KpinJeHH, Bin He 3abaxae NiIOMy onyckaHHO, a Bara DiE NO CEHTpy BnH3 Ha CnHy onepatopa.


NIOPEJXEHRA:YBIMKHTb NaHOrOBe raIbMo, nepu HIX ONyCKaTH Bpi6 Ha cTpon.
3BilbHeHHBnpo6y, 0o 3aCtpra
- 3ynnHItb Bnpi6.
2.ОБерекно BCTaHOBiTb Bnpi6 y po3pi3, HappaBbUn Ioro npoTu DepeBa a6o Do OKpeMoI MoTy3Kn dJa IHcTpymeHTa. - 06epexho BntraaTe nnky 3 po3piy, npn cboMy nidiimauyn rinky, Hackinbkn ce Heo6xiHO.

PONPEJXEHHr:HeHamaraTeCBAITaHyTNBpi6.He6e3neKaOTpMaHHcepNo3Hx TpaBM.
4.3a Heo6xidnocti BnKOpncToByte pyHy a6o iHny naHcIoroby nnky dna BvBInbHeHHa Bnp6y. 3po6Itb Ha rini po3pi Ha BiDanaeHHi He MeHwe 30 cm/ 12 DIOIMB Bd Bnp6y, 10 3actpr. Po6Itb po3pi i3 3OBHIhbo 6oky rinkn, y kki 3acTpr Bnp6.
Bctyn

PONEPEJXEHH: NpeedTexHiuHm 06cnyrobyBaHHy mYbaXHO npouHTaTe po3dn npo npabuna texhikn 6e3neKn.
TpaΦik texHiuHoro o6cIyroByBaHHa
| Шобdenne tekничес obscynurovbanney | Чтungнебе tekничес obscynurovbanney | Шobresnyobvanney |
| Очирные зовнидетали вираву та посякайся, по на ручке иема маслел. | Очирные сисимахоложения. Дов. Oчирные сисимахоложения насторци 576. | Переверka raльмівоі остор. Дов. Переверka raльмівоі остор. Дов. Storipиц 567. |
| Переверные курах ratу tai hyоrolбокувань. Дов. Переверka курах ratу tai hyоrolбокувань насторци 568. | Переверные сстор, trocсторpa tai зворотно пухшиу. | Виковайные поеверку центра диска 3чений, бараба настор. Дов.пухшии 3чений. |
| Перевайся, по сlementгп полинань Вібрацій не пошcodжени. | З当中'tь rolоча'tи підшени. Дов. ЗміцУвань rolочасторо підшенина насторци 574. | ЧИSEНССВИКСЗпалювань. Дов. Переверka CBIVCHIЗпалювань настори 571. |
| Очирные tai поеверite панцюrove ra lymo. Дов. Переверka панцю罗boro ra lyma насторци 567. | Видаить за四项и на краяп пььнишни. Дов. Переверka пинни настори 575. | Очирные зовни detали karбюратopa. |
| Переверные утropувач панцюг. Дов. Переверka утropувач панцюг насторци 568. | Очирные abo заминitable ickonorgлданьсitky гуншени. | Переверные паловни Ф投入使用 ишaning рondachi палboro. 3amihityy y pasi notpeşи. |
| Поверніть палынушиу, поеверITE OTВIP对于我们 3машувань яочьтelve канавку в палынишни. Дов. Переверka пинни настори 575. | Очирные зони karбюратopa. Переверные bci kaбени на з\' endahня. | |
| Переконайся, по на пььнишни яалцог палкиnotpanлядостатук kinькістори. | Очирные abo заминitable novitrayни Фільtr. Дов. Oчирные novitrayпогеня повітPOROФільtrpa настори 570. | Виши're палibo 3 палвhoro 6aka. |
| Переверные палцог палки. Дов. Переверka piizalho Horo obladnahanha настори 575. | Очирные поportikok mixk pebaramи на сизл'dри. | Спорожніьбakдя олви. |
| Haroctrpi'tь палцог палки tai поеверite я�о натыг. Дов. Haroctrpo瓦ань палцога палки настори 571. | ||
| Переверные повodни зірочу палцога. Дов. Переверka зірочи палцогоіпегадчі настори 574. | ||
| Почистіті усмokтувач повітpresna насторeti. | ||
| Шобdenne Тхнице обскnyговдану | Шобскnyговдану | Шobскnyговдану |
| Пелеконайся, до BCI raики та гвинту доже затягуну. | ||
| Пелев颦 пелемпач START/STOP (Пуск/Стон). Дnev. Пелеворka вимьоча насторци 568. | ||
| Уnevнілься у відсугості витоків палва 3匍�уна, бaka abо палворpoвodі. | ||
| Пелеконайся, до палцог палки не обертаechь са, коли匍�ун працюс на xолoctому xody. | ||
| Пелеконайся, до палшник установлени поразильно, вин пошкоadingен i до BCI elementnértл палшник встановлени. |
Texhuihe o6cnyroByBaHHn i nepeBipka 3axncnX npncTpoIB Bnpo6y
Ipebeipka raIbMbHOCTpiKu
- OuHCTbTe UITKIOI JaHcIHorOBe rAJIbMo 6apab6an 3yennenHH BID DepeBHOI NnIy, CMOn T a 6pyd. Byd i 3Hoc MOxyTb Noripunu pOboTyraJbMa.

2.Пepebipka raJIbMbIHOi CtrpiKn.Y haItoHsiI ToCuI TOBcHa raJIbMbIHOi CtrpiKn MaE cTaHOBHTn npHaMHi 0,6 MM (0,024 dIOma).
Ipebeipka nepeHboro 3axnchoro uNTka
- PpeDnH 3axnCH nTOK He NOBHeH 6ytn noSKoJKeHH a6o deOpMOBaHH, Ha HbOMy He Mae 6ytN dePekTiB HA KUTaNT TpiuH.
- IpekeohaiTeec, 0o nepeHn 3axncn uTOK pyxaetbcra BInbHO, i 0o Bin npabunbHO BCTaHOJIeHN Ha KpNIkY 3eJNeHHA.

Ipebeipka IaHIOROBOr raIbMa
| Детали виrosу, як пдяготь, nevеговici | Можлеса рочина Спосiod усунения | |
| Собачкисторета Собачкисторета | Заблokовано. Налаштуге чи заменi | собачки сторета. |
| Очирные облacrь навково 3убов. | ||
| Зberніль сь в abtopиозовану майсторю 3 obслуговыань. | ||
| Паловский бak Нерравлий тип пал �ь | Ива. Спорожніть паловий 6ak i залп | Б Нboro паловий тип палов. |
| Паловский 6ak заловени maстелом дд ланцюг. | Як soo ви hamагался заuntи Вирiod, зberніль сд оCBOR dijlepa 3 obслуговыань. як soo ви не hamагался заuntи Вирiod, спорожніть паловий 6ak. | |
| Детали вroduбу, як пindяготь, пеговерцi | Можлва ручина Спосiod усанения | |
| Заленны, Нема ecckri Свічka зала- ншанься 6рudna abo волora. | Пerekeонайся, сio CBічka Залалювannahа суха та чіста. | |
| Нелразвilingу поміжок між еilektroдан. | Чишиени CBічки залалювannah. Пerekeонайся, сio nomіжок між еilektroдан CBічки залалювannah празвilingу и сio Встановлено свічу pekomendobаного тіпу abo аналогічу. | |
| Пrelавilingу поміжок між еilektroданDB.у роздіни Тхнічі харakтөрістник насторци 578. | ||
| Свічка залалювannahа та сіпін Dempс Бічka залалювannahа відір Свіч Бічы | Залалювannahа відіртулася. 3akpyт | Ть CBічу залалювannah. |
| Двігун залито чered nov'torpi заліску за nobістю зakрітоі засінknі піся BBімкнECH залалювannah. | Війміть i оочьтse CBічу залалювannah. Покладіть віріб на бік tak, сioоб otbір CBічу залалювannah віхODINУ у hand'mky віd вас. Різko notrayніть рuceу trpoca стэрпа 6-8 разіB. Установіть CBічу залалювannahі зanystіпь ВіріБ. Дів. 3anysk вірібу на сторіци 561. |
ДВИгн 3aIyckaetbca, aIe BIMnkaetbca
| Детали Вираву, як пidяготь, nevеговici | Можлова ручина Спосiod усуненя | |
| Паловни бak Нерравильни тип палова.Спорожніть паловни 6ak i залу В Нbero правильни тип палова. | Бернітбя до свoro динера 3 обскутованя. | |
| Карбюратор Швдікістьхолocstorado xу нелравиьни. | Зернітбя до свoro динера 3 обскутованя. | |
| Повітryanні кільър Повітryanні кільър 3абівся. Oчіstьті abо 3amініть поі Вітryanні Фільър. | Зернітбя до свoro динера 3 обскутованя. | |
| Паловни кільър Паловни кільър 3абівся. 3amініть паловни кільър. |
TpaHcnpTyBaHHaTa 36epirAHn
TpaHcnpTyBaHHaTa 36epiraHHa
- Y pa3i TpaHcnpTyBaHH Ta 36epirAHn Bnpo6y Ta nanbHoro Heo6xIDHO nepeKoHaTncs y BiDcyTHocTi npotikahb Ta Bnapib. Ickpn a60 BiKpntu BORoh, HApnKnad, BiD eNeKtpnHnx npNCtpoB, MoKyTb CnpnHHTn NOKExky.
-ⅡЯ 36epiraHH Ta TpaHcnpTyBaHH naIbA cnI D BnKOpNCTOByBAt NIIue cepTnΦikOBaHi pe3epByapn.
CnopoXHiTb naHbHn 6ak i 6ak MaCTnla dna naHcIora nepe TpaHCnOpTyBaHHaM a6o TpNbAIm 36epirAHm. YtNi13yIte naNBO ta MaCTnIO dna naHcIora y BiNobiHNx cHTpax dnyytunlaui.
BnKOpNCbOByTe yoxoI dIraTpaHcnpTyBaHHa,Kn IOnOMoKe yHnKHyTN TpaBM iNouKOJxHeHH BnPo6y. NaHcIg nnJIKN, KIn He npaioe, MoKe 3aBdaTH cepno3HNx TpaBM.
3HIMITb KOBNAc CBiHKn 3aIaJIIOBaHHN 3aJInTe JauHcIPOBe rALbMO.
-ПдчacТранспортуваньНадійноЗakpinлійTeВиріб.
Пид rotybaHHЯ Виpo6у до ТрпвалоRo 3берiraHHя
- Po36epiTb i oynctbTe naHcIor nIKN Ta na3 y nnblHi uHI.

YBAFA:JaIoo IaHcIg NnIK Ta NnIbHy UINHy He ONUCTNTN, BOHN MOKyTb CTATN KOpCTKIMN a6o 3a6ntncra.
2.YctaHObityOxONdIraTpaHCnOpTyBaHHa.
3.Чишени Виpo6у.Инстукii ДИВ.у po3дini TEXHIYHE O5CNYTOBYAHHЯ ha ctopi5 566.
4. Bukohai Te NobHe 6cIyroBvBaHnB BpO6y.
Texhichi xapaKtepncTKn
Texhichi xapaKTepeNCTnKn
| Husqvarna T525 | |
| Двигун | |
| ОБ'емцли Indoor, см³ | 27,0 |
| Холostий xiod, ob/xb 2900 | |
| Мakсималва потужнICTь Двигуна згIDно 3 ISO 8893, KBТ/К. c. за об/xb | 1,1 / 1,5 3a 9500 |
| Систema заразлобань55 | |
| С党支部 заразлобань. NGK CMR6A | |
| Проміжок між[eilektroдами, мм 0,75] | |
| Паловна систера и систера зmaцуваши | |
| ЕмнICTь палового бaka, п/cm³ | 0,19/190 |
| ЕмнICTь бaka дая мacr'tILA, п/cm³ | 0,17/170 |
| Тип на сеса о��и Perugьоване | |
| Bara | |
| Bara, кr 2,7 | |
| Виpondominовая ршу | |
| Рівени звуховovinotужноcti виміряни, дБ (A) 110 | |
| ГарANTовani рівени звуховovinotужноcti, LWA дБ(A) 111 | |
| Рівни звуху56 | |
| Еквівалentné рівени звуховoro тиску на вухо onepatopa, дБ(A) | 98 |
| Еквівалent рівся Bібрацій, a_hveq^57 | |
| Передnia ручka, M/c2 | 4,9 |
| Задnia ручka, M/c2 | 5,2 |
| Ланцю плken / пльнашина | |
| Ти пірівODного зубачтоно конеса / кількість зубців 3/8 | діймɑ / піразмозубe / 6; 1/4 діймɑ / піразmозубe / 8 |
| Швідість пankіга за 133 % мі akсімальноіnotухності двігуна, M/c. | 24,1 |
Akkecsyapn
PekomeHdoBaHe p3aIbHe 06laHaHHa
3a pezyltaTAMn nepebipkn moJeen IaHIOROoI nIKN HUsqvarna T525 Ha BIDNOBIDHcTB Hopmam 3rIdHO 3 EN ISO 11681-2:2011/A1:2017 (O6naHaHHn dIy IICOBOrO roCnoapCTBa. BImOn Ta BInpO6yBaHHn dIy NopTaINBHX IaHIOROBnx NIIOK. YactNa 2: IaHIOROBI nIKN dIra po6OTn 3 depeBaMn) BOHa BiINOBiAc BIMorAm 6e3neKn 3a yMOBN BIKOPNCtAHN i3
3a3HaueHMM HxKYe KOM6iHaJyM NINbHOI 1HH Ta NaHOra NnIKN.
IaHcIor i3 Hn3bKOIO BiDaaYeIO
IaHIOI NnIKN, No3HaueHn IaHIOI i3 Hn3bKOIO BIDaueO, BiINOBiAc BmOram 0do Hn3bKOI BiDaui, BnKlaedeHM y ANSI B175.1-2012.
BidaaTa paDiyc KInCeBOi YacTHHn ShHH
| Пильковая Шина Пильковая Ланцюг | ||||||
| Довжина, ДюимИСM | КрOK, ДюимИВ | ДИМЮВач, ДюимИ / MM | Мakc. радiyс кінцевоі частини | Тип Довжина, | пераевалыні панки (шт.) | Низьka відача |
| 10/25 1/4 0,05 | 50/1,3 R10 Husqvarna | H00 | 60 | |||
| 12/30 1/4 0,05 | 0/1,3 R10 68 | |||||
| 10/25 3/8 0,05 | 50/1,3 7T Husqvarna | H37 | 40 Тak | |||
| 12/30 3/8 0,05 | 0/1,3 7T 45 | |||||
| 10/25 3/8 0,05 | 50/1,3 7T Husqvarna | S93G | 40 Тak | |||
| 12/30 3/8 0,05 | 0/1,3 9T 45 | |||||
EeKTHBHa DOBXHnHa p3aHHa 3aBnau Ha 1 Ioum MeHua 3a HOMHaBHy DOBXnHy uHH.
O6naHaHHnI 3aToUyBaHHra KaTn 3aToUyBaHHnI
HAROCTPBOBAHHJ HANUORA NINIKN BHKOPNCOTOBYTE HAHINOK Husqvarna BiDNOBIDHOPO3MIPY. BHKOPNCaHHHaNNKHy Husqvarna BiDNOBIDHO
po3mipy dactb 3MORY OTpMaTu npaBnIbHi KyTu 3aToCyBaHHa. Homepu DeTaNei HabeDeHi B Ta6NuiHnKue.
KaIO Bu He BnBHeH, Ra Bu3HaHTu Tn LaHOra nnKn Ha BaWOMy Bnpo6i, BiDbIaNte Be6-caNT www.husqvarna.com dIg OTpIMaHHd eTaJIbHiwoi iHΦopMaui.
| H00 | 5/32 дюма / 4,0 MM | 580 68 74-01 | 0,65 MM (0,025 дюма) | 30° 85° | |
| H37 | 5/32 дюма / 4,0 MM | 505 24 37-01 | 0,65 MM (0,025 дюма) | 30° 80° | |
| S93G | 5/32 дюма / 4,0 MM | 587 80 90-01 | 0,65 MM (0,025 дюма) | 30° 60° |
Ieknapaia BiiNobiHocti EC
Mn, Husqvarna AB, SE-561 82 mico Xycbapha,
Ubeiia, Tepeoh: +46-36-146500, 3aBnmeo n iD CBOIO
BnKIOuHy BiINOBIaJIbHicTb, IIO naHcIroBa IINka dI
po6Otn 3 DepeBaM moEJI Husqvarna T525 i3
cepHIMN Homepam 3a 2017 pik i ni3HIe (piK
3a3NaYeHO HeUNΦpOBAHm TEKCTOM Ha naCnOpTHi
Ta6NIuCi nepei cepiHm Homepom) BiINOBiJaE
BmOram DnPEKTIBN PAID IC:
- BiD 17 TpaBn 2006 p. «CTocOBHo MexaHHyHoro
obJaHaHHra» 2006/42/EC.
Bid 26 IIOTORO 2014 p. «Ipo eNEKtpOMarHITHy cymicHicTb» 2014/30/EU.
Bid 8 trpabn 2000 p. «Пpo BInpominHOBaHHN IyMy Do HABKoINHbOro cepeIOBnua» 2000/14/EC.
Bii 8 uebna 2011 p. «Ipo o6mxeHH BnKOpncTaHnNeAeKnx He6e3neuHx peOvBN B eJeKtpnUHOMy Ta eJeKtpoHHOMy o6JaHaHHi》2011/65/EU.
3actocobaoTaki cTaHapTu: EN ISO 12100:2010, EN ISO 14982:2009, EN ISO 11681-2:2011/A1:2017, EN 50581:2012
YnoBHOaKeHn opraH:0404,RISE SMP Svensk
Maskinprovning ABkomnaHia Box 7035,SE-750 07
Uppsala (WBei) BIKOHaJa TInOBy nepeBipKy EC
3riHNO 3 nyKToM 3b CtaTti 12 DnpeKtBn PaN
CC «Ipo MaunH Ta MexaHImn» (2006/42/EC).Homep
cepTnΦikatib EC 3riHNo 3doaTkom IV:0404/17/2479 - T525.
ПростаІнструкція