SDL 2500 - Mechanical chipper Wolf Garten - Free user manual and instructions
Find the device manual for free SDL 2500 Wolf Garten in PDF.
Frequently Asked Questions - SDL 2500 Wolf Garten
User questions about SDL 2500 Wolf Garten
0 question about this device. Answer the ones you know or ask your own.
Ask a new question about this device
Download the instructions for your Mechanical chipper in PDF format for free! Find your manual SDL 2500 - Wolf Garten and take your electronic device back in hand. On this page are published all the documents necessary for the use of your device. SDL 2500 by Wolf Garten.
USER MANUAL SDL 2500 Wolf Garten
Please read the instructions carefully and familiarize yourself with the different control elements and how to operate the device properly. The operator is responsible for accidents involving other persons and/or their property. Observe the instructions, explanation and regulations. Keep the operating instructions in a safe place.

Never let children or other persons who have not read these instructions use the device. Persons younger than 16 must not use the device. Local regulations may determine the minimum age for users.
Contents
Safety advice. 9
Operation. 10
Maintenance 12
Fixing problems 12
Guarantee terms 13
Safety advice
Meaning of symbols General notes

Warning!
Read the operating instructions prior to commissioning!

Danger from centrifuging parts when the engine is running - those not participating, as well as domestic pets and livestock must be kept away from the danger area.

Before carrying out setting, cleaning and maintenance work and in the event of damage to the line, remove the plug from the mains!

Take care with rotating blades. Do not place hands and feet in openings when the machine is running.

Wear protective gloves!

Use eye and ear protection!

Protect from moisture.
Before using, check the connection lead for any signs of damage or ageing.
If the mains connection lead is damaged when using the appliance it may not be touched until the plug has been removed from the mains.
- Attention! Blades continue to run after the motor has been switched off.
Pull the plug from the socket,
- when you leave the appliance,
before removing a blockage,
before checking, cleaning or repairing the appliance, - when a foreign body has been found (check the appliance for damage and repair if required),
- when the appliance vibrates a lot (check the appliance immediately).
Preparatory measures
- Never allow children to use the appliance.
- Never use the appliance when people are in the vicinity.
Wear hearing protection and protective glasses. Wear these throughout the entire operating duration of the appliance.
Do not wear loose or hanging clothes or clothes with hanging straps or cords.
-Only use the appliance outdoors (i.e. not near a wall or any other rigid object) on a firm, even surface. - Do not use the appliance on a plastered surface scattered with gravel.
Before commissioning the appliance, check the firm seating of all screws, nuts and bolts, as well as other fixing material and check that the covers and protective signs are in place. - Replace damaged or illegible stickers.
Cable
Attention! Electric shock through cable damage When the cable is cut through or damaged, the safety fuse does not always trip.
- Do not touch cable before pulling out the power plug out of the socket.
A damaged cable must be completely replaced. Repairing the cable with insulating tape is not permitted.
Repairs to the cable should be performed only by an expert.
- Do not scrape against corners, spikes or sharp objects.
- Do not squeeze the cable between door jams or through windows.
- Switchgears must not be removed or bridged.
Use only extension cable not lighter than rubber hose, type HO 7 RNF, minimum cross section 3 × 1.5 ~mm^2 , length: max. 25 ~m . - Cables have to be protected against splashing water.
Handling
- Ensure before starting the appliance that the feed hopper is empty.
- Keep your head and body away from the feed opening.
- Do not place hands, other parts of the body and clothes in the feed hopper, discharge channel or near moving parts.
Always ensure that you are balanced and on firm footing. - Do not stretch forward. Never place yourself higher than the appliance when feeding in material.
- When commissioning the appliance always stand outside the discharge area.
-
When feeding in material ensure in particular that no metal, stones, bottles, cans or other foreign bodies are included.
If foreign bodies should enter the cutting tool or should the appliance make unusual noises, switch the motor off immediately and allow the appliance to stop gradually. Remove the mains plug and carry out the following procedures: -
Check the appliance for damage
- Check that the parts are firmly seated and tighten if required.
-
Repair or replace any damaged parts (only use original WOLF spare parts).
-
Do not allow processed material to accumulate within the discharge area. This could compromise correct discharge and lead to the kickback of material through the feed opening.
- If the appliance is blocked, switch the motor off and remove the mains plug before starting with the cleaning.
- Ensure that the motor is free from waste and other accumulations to protect the motor from damage or overheating.
- Ensure that all covers and baffles are in place and in correct working order.
Do not transport the appliance when the motor is running. - Switch the motor off as soon as you leave the workstation and remove the mains plug.
- Do not tilt the appliance when the motor is running.
Maintenance and storage
If the appliance is to be switched off for maintenance, storage or accessory replacement purposes, ensure that the energy source is switched off and that the mains plug is removed. Ensure that the moving parts are at a standstill. Allow the appliance to cool before maintenance, adjustment etc.
- When servicing the cutting tool, ensure that it can still always run on, even when the motor is switched off.
Disposal

Power tools do not belong in household garbage. Bring the device, accessories and packaging to an environmentally-friendly recycling location.
Operation
Times of operation
- Please consult regional/local regulations.
Inquire about the operating times at your local regulatory agency.
Connect to the socket (230 Volt, 50 Hz)
-Only connect the equipment to sockets which are shielded with a 16 Amp. fuse (inertial or LS switch type B).

Note: Residual current protection device
These safeguards provide protection against severe injuries resulting from touching damaged cables, insulation defects and in some cases cables that conduct electricity.
We recommend that the equipment only be plugged into a power socket, which is protected by a residual current protection device (RCD) with a residual current of no more than 30mA .
Retrofit kits are available for old installations. Consult an electrician.
Working with the garden chopper

Wear protective gloves and hearing protection!
-
Adopt a working position which is at the side of or behind the appliance. Never stand in the area of the discharge opening.
-
Never put your hands in the feed or discharge opening.
Before switching on the appliance check whether there is any chaff in the hopper.
If foreign bodies should enter the hopper or should the appliance make unusual noises or vibrations, switch the appliance off immediately and allow it to come to a standstill. Remove the mains plug and carry out the following:
- Check the appliance and tighten any loose parts.
- Replace damaged parts.
Repairs to the appliance must be performed by an authorised service centre.
What can be chopped
- Organic waste from the house and garden e.g. hedge and tree cuttings, dead flowers, kitchen scraps.
What cannot be chopped?
Glass, metal parts, plastics, plastic bags, stones, material waste, roots with earth, food, fish and meat waste.
Switching on / off

- Press the green button to switch on. B
- Press the red button to switch off. C
The machine has a circuit breaker to prevent switching back on unintentionally after a power cut.
Overload protection
An overloading of the appliance (e.g. culminating in the blocking of the cutting roller) can lead to the standstill of the appliance after a few seconds. To protect the motor from damage the appliance is automatically disconnected from the mains by the overload protection.
Before putting into operation again wait for at least one minute before immediately pressing the reset button A and then ON/OFF switch.
Toggle switch
The toggle switch enables freeing trapped material.
Position E
The blade pulls in the crushed material.
Position D
The blade rotates backwards and frees any trapped material.
- Toggle switch to position . D
- Press green button B and do not release.
The toggle switch can only be used when the appliance is switched off.
Special instructions for chopping
- Chop branches, twigs and wood shortly after cutting (this chopped material will become very hard once it has dried out, therefore the maximum diameter which can be processed is less).
- Remove the side shoots on severely ramified branches.
- When processing garden or kitchen waste with a high water content with a tendency to stick, crush alternately with wooden chopping material to avoid blocking the appliance).
Do not allow the chopping material in the area of the discharge opening to accumulate too high. This can lead to material which is already chopped blocking the discharge channel. This can cause a kickback of the material through the filling opening. - Ensure that the maximum branch diameter for processing permitted for your appliance is observed.
The blade unit pulls in the chopping material largely by itself.
Do not overload or block the motor in the case of tough branches by frequently pulling back the branch.
Maintenance
General

Remove the mains plug before any maintenance and cleaning work!
When servicing the cutting tool ensure that it can still always run on even when the motor is switched off.
Wear protective gloves.
- Store the appliance in a dry location out of the reach of children.
Cleaning

Remove the mains plug before any maintenance and cleaning work!
- Handle the appliance with care and clean it regularly to prolong its service life.
- Keep the ventilation slits clean and dust-free.
- Only use a warm and moist cloth to clean the appliance as well as a soft brush.
Do not allow the appliance to get wet and do not spray with water.
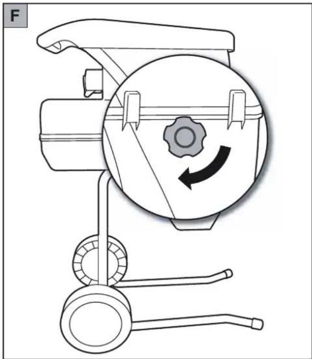
Setting the cutting unit F

The cutting unit is factory set and must not be set during the first commissioning.
- Switch on appliance.
- Turn the adjustment knob clockwise until grinding noises are audible and fine aluminium chips fall from the discharge chute (worn points on the cutting plate are optimally balanced. The chopping material is then better cut through).

Fixing problems
| Problem Possible cause Solution | ||
| Motor does not start. | Not connected to voltage supplyFaulty connection cableAppliance overloaded (the motor is equipped with a circuit breaker and automatically switches off in the event of overloading). | Check protectionCheck the cable (electrical expert)The motor can be switched back on after a cooling down break (ca. 5 min.). |
| Motor hums but does not start | Cutting roller blockedFaulty capacitor | Change direction of rotation, proceed to switch off appliance and clean.Give appliance to authorised WOLF customer service centre for repair. |
| Chopping material is not pulled in | Incorrect switch positionChopping material trapped in the hopperToo soft or wet chopping materialWear on the cutting roller | Adjust direction of rotationChange direction of rotation, proceed to switch off appliance and clean.Push with a branch and chop through Set cutting unit |
| Chopping material is not cleanly cut through | Profile plate not set sufficiently. | Set cutting unit. |
When in doubt, always seek out a WOLF Service location.
Attention: Put down the appliance and pull out the power plug before performing any checks or work on the blades.
Guarantee terms
Please carefully retain the guarantee card completed by the seller, or the proof of purchase.
The company WOLF-Garten provides a guarantee for 2 years from the date of purchase. This guarantee is in accordance with the relevant state of technology and the utilisation purpose / area of application. The consumer's statutory rights are not affected by the following guarantee guidelines.
Pre-conditions for the 2-years guarantee entitlement:
- Deployment of the device solely for private use.
The guarantee is reduced to 12 months in the commercial sector or leasing business.
- Proper handling and observance of all information given in the operating manual, which forms part of our guarantee terms.
- Observance of the prescribed maintenance intervals.
-
No unauthorised alteration of the design.
-
Installation of original WOLF replacement parts / accessories.
- Presentation of the completed guarantee card and/or proof of purchase.
This guarantee does not extend to normal wear-and-tear on accu's, blades, blade mounting components or friction disks, V-belts/toothed belts, running wheels/tyres, air filters, spark plugs and spark plug connectors. Any guarantee claim shall be immediately void in the event of unauthorised repairs. Faults and defects which can be traced to material or manufacturing faults will be rectified exclusively by our contracted workshops (the seller has the right to remedy a defect) in your vicinity, or by the manufacturer if the latter is closer. Any claims going beyond the provision of a guarantee are ruled out. There is no entitlement to a replacement. Any transport damage should be reported not to us but to the shipper in question since, otherwise, any compensation claims vis-à-vis the shipper would be voided.
Merk: Jordfeilbryter
P03dpablenna 3a nokynkata Ha npoodyKT ot WOLF

Ipooyete BHNMaTeJHNO INCTpyKunra 3a ynoTpe6a n ce 3ano3HaTe C OTdEnHnTe eJeMeHTn HauHnHa Ha pa60Ta HA ypeA. POn3BaTeNt E OTROBOpen 3a eBeHTyAnHn 3IIOJyKn C Dpyn Nlua nn TxHOTo IMUeCTBO. O6bpHe T BHNMaHne Ha HAnbTcBnTa, pa3rCHEHnTa n npednncAHnTa.CbxpaHnBaIte Do6pe INCTpyKunra 3a ynoTpe6a 3a n3No3BaHe No-HaTaTBk.

He donyckaTe ypebT da ce n3no3Ba ot deca nn npyn pyuNnua, KOTo He ca 3aNo3HaTu C NHCptykuTAta 3a ynotpe6a. Nua no16 roDnHn HmaT npabo Da n3non3Bat ypeDa. MecTHn pa3nUry B 3akOHte donyckat Ta3n Bb3pactoBa rpaHnua da e dpya.
CbDbpxKaHne
PpeDncaHna 3a cnpyhocT. 78
Ecknloatauia 79
PoiipbXka 81
OTcTpaHraBaHe Ha NOBpeDn 82
TapaHnOHHyCIOBna. 82
PpeDnncnna 3a cnrypnoct
3NaueHHe Ha CmMBOJnTe 06u yka3aHn

Ppeynpexdene!
PpeNeknnoataa npoTeTnePpeNncanHeTo 3a cnpypHoc!

Onachoct npapdi n3XbplnHn napyeta npa paboTeu DnBraTeI -- dpkTe BbHnHte Nua, KaKTo I DOMaHnTE n CeNCKOCTOnaHCKN XMBOTHN daJeU OT Onachata 30Ha.

Ppei npabotn no hactpoikata, NOuHCTBaHETO INTEXHueCKOTO 06cnykbahe n pni nobpeda Ha Ka6ena n3BaXdaiTe uencena ot MPexkoBATA po3eTka!

BHHMaHHe, BbPraUc ce pexeUnc octpeta. He npbxTe pbuteN kpaKaTa CN B OTBOpNT, DOKaTo MaunHaTpa60n.

HocTe npedna3n pbkabu.

Hocete npedna3n cpeCTBa 3a3aunTa Ha OHTe n cnyuxa.

KaKo He mpa68a da pa3dp06reame
CTbKIO,MetaJIHn YactN,IIaTMacOBn IpeMeTN, HAIIOHOBn TO6uKN,KaMbHN,TEKCTUNHn OTNaDbuN,KopeHN C NOyBa No TReX,XpaHHTeJHn OTNaDbuN,OTNaDbuN OTp6a N MECO.
BkIOuBaHe/IV3KIOUBaHe

3a BKIOUBAHe HaTINCHTe 3eHTo KOnue . B
3a n3kIIOUbaHe HaTnChTe YepBeHoTo KOnYe . C
MaunHata pa3nonara cbc 3aunTeH npekbcbay 3a npedOTbpaTBAHe Ha NOBtOHPo BkIOUbaHe Nn HEBHMaHne CJeD npekbcaHe Ha eJekTp03axpaHbHeTo.
3aunTa ot npetobapBaHe

IpeTOBapBaHTo Ha ypeHa (HAnp. Do 6noknpaHe Ha peKeunu WHeK) MoKe CneJ HApKO KeyHn Da DOBeDe Do NbHnOTo My cnnpaHe. 3a da ce npedna3n DBnATeJIrOT NOBpeIn, ypeBt ce n3KnUoyBa ABTOMaTHNo OT MPexKaTa Ype3 3aUnTata OT npetOBAPBaHe.
PpeNIOBTOPOTo My NyCKaHe B DeIeCTBne I3UaKaIte MHNIMYM eHa MNHyTa, PpeN Da HATNCHe T HaHnpeKoNcTe 3a HyNpaHe, AcNeT TOBa IN ppeBKIOuBaTeJIra 3a BKIOUBAHe/IN3KIOUBAHe (EIN/AUS).
PpeBknUoyBaTeHaNoCokaTaHaBbTpHe

IpeBKnHouBaTeTnHa Nocokata Ha BbPteHe DaBa Bb3MOxHOCT da ce OCBO6Ou 3aKInHHnna Ce MaTepnaI.
NoJoxeHue E
Pexeune octpna npnbnbat Habbtppe pa3do6raHnmaTepaan.
IonoXeHue D
PexeuneocptnCeBbPTB6paTHaNOCOKNAOcBO6KdaBaT ceJINHJIeMaTePnA.
- PpeBknOuBaTeHnNoCokataHaBbPteHeHaNoIOnKeHne D.
2.3eHHeTO KOnue B ceHaTnCKaNce3aIbPka.

PpeBKnHcyBaTeJrHa Nocokata Ha BbPteHe MoKe Da ce n3non3Ba cmo npn n3knOyuH ypeI.
CneunnHn yka3aHHa pa3pO6BaHe
Pa3dpo6BaIte KnoHite, KNOHcTeTa n napYeTa Ta DbPBeCnHa BeDHa rCeI OTrp3BaHeTo (To3n MaTePnAn 3a pa3dpo6BaHe CTaBA MHOrO TBbPd, KOrATo N3cbxHe, nopAIn KOeTO Ce HamaJIbRa N MaKcMmAHnN DoNyCTUm DnAmEtbp Ha KNoHtE 3a o6pa6oTka).
PnCnHOPa3KnOHeHNKIOHNOCTpaHraBte CTPaHnHTeOTKIOHeHH.
-Obpa6oTaHa CbIbPkaaHn BnCk npOeHT Bna nCKNoHHnKbM CnEBAhe rpaHnckn NIn KyxHeHcN OTnabu (pa3np6BaIte n, KaTo rnppeyBaTe CdbpBeCeH MaTePnAn 3a pa3np6BaHe, 3a da npedeocBpATne 3aDpbcTbaHe BypeDa).
He donyckaIte npekaneHo HATpynBaHe Ha pa3npo6eMaTePnAJI B 3OHaTa Ha OTBpa 3a n3xBbPnIe. Toba MoKe DaIOBeDe Do 3aDpbcTbaHe Ha OTBpa OT BeYe pa3npo6eHmMaTePnAJI. ITO To3n HauHH MoKe Da Ce CTnHr He Do o6paTHOn3XbPnIe Ha MaTePnAn Ppe3 OTBopa 3a 3apeKdahe.
BHHMaaBnTe Da ce CnA3Ba MaKcMmJHo pa3peHnTdNaMeTbp Ha KIOHnTe 3a 06pa6oTKa 3a Baunr ypeI.
PexeioTo yctpoCTBO npnIbprnBa Hnblno camocToTeHOMatepna3a pa3do6rahe.
-ПпсдтВьразыг Te npETOBaHeto N 6нКИранeto Ha DBNarTeJI OT NO-de6eJI KIOHn, KaTO no-YecTo n3dIbPnBaTe KNOHIne O6paTHo.
Noaepbxxka
06n yka3aHna
IpeneBcnynpa6oTn no o6cnykBaHe n noocntBaHe n3KnIOyBaTe 9eNceJa 3a 3axpaHbAe OT po3eTKata! PnpO6cnykBaHe Ha peKeeuHaNCTpyMeHT Tp86Ba da ce HMa npEbnD, Ye ToI BUNHar MoKe Da npOdblJkaBa Da ce DnBxN No NHePun, DOpN AKO DnBraTeJIrTa e n3KnIOueH. Hocete 3aunTHn pbKaBUn.
BunHn CbXpaHbAte ypeHa Ha cyxo MxCTo, HeIOCTbNHO 3a deua.
NouchBaHe
IpeDn BcNk np60tn no 06CnyKBaHe n nouHCTBaHe n3KnIOyBaTe uenceLa 3a 3axpaHbAe oT po3eTKata!
EopaBeTe Cypea BHNMaTeJIHO IIO NOuNCTBaIte PeEOBHO, 3a Da yDbJxNTE EKCNIOATAUOHHHMy KINBOT.
-ⅠoⅡdⅢpkaIte BeHTnlaUHOnHHTe npope3n uCTn 6e3 npax.
3a nouCTBaHe Ha ypeHa n3noJ3BaIte n3KIOHHTeHOTnna IN BNaXHa KbpNa, KaTO u MEka YeTka.
He do nyckaIte ypeIbT da ce MOKpn Hr ro npckaIte c BOda.
HactpoKaHapeKeunMexaHn3bM F
PexeunrMexaHn3bEme a6pnuHo perynpan H He Tpa6Ba da ce hacTpoBaNpni PbBOTo nycKaHe B DeiCTBne.
- BknuBaHe Ha ypea.
2.3abpTeKOMaHnHOTOKONHeNoNOCKaHaYacOBnKOBaCTpeIka,doKaTOceYeUWMOTCTbpXKeHEnOTn3nyckateJIHHaKaHnIpaHHTaHnAnyMmHneBnCTpykKn(13HOceHInTeMeCTaNOpeXeUInTePiactHNCe13paBHBaTOnTMnAHO.MaTePnaNTb3aPa3Dpo6BaBeOTHOBo cecp3BaNo-Do6pe).

OCTpaHЯBaHe Ha nobpei
| ПюбLEM Пю徳олагаема | почна Начи на остраве | |
| Двигателов не павOTи | •Ная мрекову нарекенue •Проберete заштite и •Свьрзвашит кабел e.Deфekten •Уразьт e петоварен (Двигателов e оборчан cьс 3ашten пекьсвayи се ИЗлочь abTomatчho по петоварve). | пождамитени. •Проберete кабela (чес eilektroteхник) •Двигателов може дс сьс ВКлочи OTHOBO след nayza 3a oxлajdahe (прибл. 5 MHN.). |
| Двигателов брмч,но не павOTи | •Рекшгшн e blokиран •Дeфekten kondeнзатор •Дайу урда на ремont в | •Сmenete посока та на Вьртени, след koeto ИЗлочete и поис te урда. слесаллиман сөрвiz на WOLF. |
| Матералт за раздробявае не се поЕмa | •Грешино поожене на пекьк nullчытеля •Мateriel't 3a раздробявае зацbethва phунята •пекално мекся влажен матералл за раздробявае •Изнocвае на рекш納шнek | •Коригирaite посokа та на Вьртени •Сmenete посokа та на Вьртени, след koeto ИЗлочete и поис te урда. •Бутchete с有很大й клон,does to 3aДрbethвогуTo прени •Peruginäte рекш納 мени. •Peruginäte рекш納 мени. |
| Матералт за раздробявае не се рек- чосто | •Плоча та зачinctвае сел орг reasonably he e peruginapana дoctaын. |
PnKoJIe6aHnI noTbpcTe cepBn3 Ha WOLF.
BHMHHe: Ppei BcKa npOBepKa Hn npEa pa6oTH no pexeunte ocTprna nKIOuBaIte ypea n3BaXdaTe 3aXpaHbAHeto oT po3eTKata.
TapaHnOHHyCIOBnA
BnmaTeHcxbxpaHbAte NoTbIHeHata OT npOdaBaHa rapaHOnHnKa KapTa pecn. kacOBaTa 6eJekka.
Φπμmata WOLF-Garten daba rapaunca on 2 roDnHn ot daTata Ha 3aKnyBaHe cnopeHa hactoJeTo CbCTOHN He TExNkata n ceNTa Ha n3noI3BaHe/ cepata Ha yNoTpe6a. 3akOHOBte npaba Ha kpaHnna noTpe6nten He ce hapuwaBat OT n36poEHnTe no-dony rapaHnOHHn npabnla.
YcnoBna 3a nckane Ha 2-roDnH npaHnra
-Ⅰ3noJ3BaH e Ha ypeDa cAmo 3a JnUHO non3BaHe.
PnH3noJ3BaHe C TbPROBcN cEJI NII INI pN cDeJIka Cbc 3aemaHe rapaHcNtA HamaJIbRa Ha 12 Meceua.
-Пявинна уnotpe6а И са3baHe Ha BCuKn yka3aHnB INHCTpykunra 3a ynotpe6a, KOrTo e Hepa3deHa Yact OT HauNTe rapaHcnoHH yCNoBn.
- CnazBaHe Ha npenopbuaHIne INHTepBaJIn 3a noDpBxxKa.
- HnkaBcBOeBONHa npOMraHbKo HCTpykunraTa.
-MoHTnpaHe Ha opuHnHaHn pe3epBn YacTn /pInHaJnxHocTn Ha WOLF.
-П配电站报电Ha nonbHeHata rapaHcNoHHa KapTa n/ nIn Ha Kacobata 6eEka.
TapaHnraTa He ce OTHacr 3a HopMaHnHO tNcBaHe Ha akymlaTopn, HOKObe, YKpeBaUu qactn 3a HOKOBeTe KaTO Tpneu nnCKOBe, KINHOBn/3b6aTu n peMbUu, DBnraTeHNn KOEna/ rymn, Bb3dyuHn FInTPn, 3anaNTeHN CBeu N KOHEKTOpn 3a 3anaNTeHN CBeu.
Pn camOBONH peMOHTn npabOTn Ha rapaHcIOHOENCK
ABTOMATNUHO OTnada. Bb3NHNKANITE NOBpeINn HeoCTaTbU,
NHTO npuHHn Ca npeDn3BKNAHn OT MaTePNaHn INn
npoN3BOCTBeHn DEeKTHn, CE OCTpaHBAAT cMo OT HauNTe
pneCTaBNTeHN CepBn3n (PnoDABaHT NMa npaBOHa
DOblNHtEnHO OTCTpaHBAHe NaOBpeTa),HAMIPAunCe B
6bn30ct Do Bac nn Ako e no-6bn30 - ot npo3BOVNTeNn. NcKobE
n3BbH pAMKHe HA rapaHua Tc NkIoHcHn. He cbIeCTByBa Nc3a
doCTaBA Cbc 3amHa. EBeHTyANHTe UeTN o TpaHCNoPTpAHeTO
TPraBa Da Ce o6BbET He npu Hac, a npu CbotBeTHata TpaHCNoPTHa
fHPMa, Tb KaTO B npOTbHE CnyaH NcKOBeT 3a NoDMHa KbM Te3n
KOMPAHn Ce ry6T.

BnHMaTeNbHO O3HaKoMbTecb C nHCTpykUnei no 3KcNlPyatauun N 3aONMHTe Ha3HaueHHe 3NeMeHTOB ynpabIeHn npabIna 3KnCnPyataun yctpoICTBa. POnlb3ObaTeNb yctpoIcTB HeceT OTBeTCTBeHHocTb 3a HechacThbIe Cnyan, KOTOpbIE MOy T pOn30iT N dpymm NIOdbMN, u yUep6, KOtOpbI MOKeT 6blb NaHeceH IN NmUyIeCTBy. CoBIOdaIte yka3aHn, 06bAcHEnH IN npedncaHn. CoxpaTe HnCTpykUnn NO 3KcNlPyatauun Dn daNBHeIwero nCNOb3ObaHn.

He no3b0nlaTe nIpym Iuqam, KOtOpbIe He O3HaKOMJIeHbIC NHCPTyKUmaMn NO 3KcNpYaTaunu, NCNoB3oBaTb yctpoiCTBO. JIuam, He doCTNRuIM 16 JeT, zanpeSeHO nCNOJb3ObaTb yctpoiCTBO. MecThbIMN HopMaTINBaMn MOKeT 6blb YcTaHOBLeH MInHMaJIbHbI B03paCT NlUc, 3KcNpYaTnpUoyux DaHHoe yctpoiCTBO.
Copepkanhe
IpaBnla TeXnKn 6e3OnacHocTn .83
3Kcnnyataa 84
Texnueckoe o6cnykBaHne 85
YctpaHHe HncnpaBHOCTeI 86
TapaHTnHbIe ycIOBn87
PpaBnla TexHnK 6e3onacHOCTu
3haehne cmbboIob 06uue yka3aHnA

PpeynpeXeHne!
Ipeep BBoDm B EKcnjyatauHn npouTnte daHHe pykoBOdCTBO!

He donyckaIte haxoxdHnB 0nachO3oHe nocToPOHHIX Iu, a TaKke DOMaUHINx CenbckOXO3raCTBeHHbIX XINBOTbIX -OTNeTaUOne YacTn npi pa6oTaOuSeM dBiratene npedTabNHOt OAnCHOCtB.

Ipeep npoBedeHnem pa60T no
perynpoBKe, ouNCTke n
TexHueckomy 6cbnykBaHHIO, a
TaKKe npn NobpeJeHN Ka6eJIa
cLeyet OKnOuHaTB wTeKePOT cTeN!

Co6IIOaIteOCTOpOxHocTb npn
pa6oTe C BpaauoUIMMCRA
peKyuUMN NOnIoTHAm. Pnp pa6oTe
INCTpyMeHTa He DonyckaIte
nonaHaY PyK N Uacte OdExDbB
OTBepCTN.
HaedeBaIte 3aunTHbIe nepuATKn.

IcnoIb3yIte cpeIcTba 3aunTbi 3peHnN Cnyxa.

3aunuaainTeOTBnaI.
Peped 3Kcnpnyataune npobepbTe coeHNHTeHbI Ka6eJIb Ha npedmet NOBpeJdeHn.
PnOBpeKHeHn Ka6eI NtAHN BO BpeMa paOToB HCTpyMeHTa K HeMy MoKHO 6yDet npKacatbCra TOnbKO nocne OTKIOUeHn WTeKepa OT cTu.
BHHMaHHe! Pocne OTKIOUeHnI DnIRaTeJI B03MOKeH BbI6er peKyuixn nonoTeH.
Bcerda BbHmMaTe Bnky n3 po3eTkn, -Korda nHCTpyMeHT He nCNoIb3yeTcra, -nepeydaneHem 3actpRbux qactei, -nepeKDOKHTPOJeOCHTKoINPi peMOHTOM nHCTpyMeHTa,
- npn nonaHnn HnoOpDnHO TeHa (IpyOBepkn HnCTpyMeHTa Ha npeDMET NOBpeKdEHHN pEmoHTa B Cnyae Heo6xOAnMocTn),
- npn CnIbHOB Bn6paun HNCTpyMeHTa (Heo6xOIMHOmeJeHHNO pOBepuTb HNCTpyMeHT).
PpOJIaKTnueckne MeponpTn
He pa3pewaTe DeTm INCNOb3OBA Tb HNCTpyMeHT.
HnKOrda He nCNoJIb3yIte NHCtpymeHT, KOrda B HEnocpeDCTBeHHo6n3OcTn HaxoJrTc npyrne nua.
HaedeBaIte 3aunTHbIe HayuHnKn n ouKn. Bcerda HaedeBaIte TaKne 3aunTHbIe npncnocO6NeHnA np na6oTe c INHCTpymEHTOM.
HnKorda He HaneBaIte Ipa6oTb Cbo6OHyIO nIN CBnCAHOU OeKdy INN OeKdy CO CBnCAHOUM NHeHTAMN INI IOrCAMN.
NcnoIb3yIte HCTpyMeHT TOJIbKO HA OTKpbIT OM MeCTe (BdAIOT CTeH IN DpyTnx TBepDbIX PpeMToB),a TAKKe Ha POBHOI N TBepDoN NOBepXHOCTN.
He nCnoJIb3yIte HnCTpyMeHT Ha nobepxHocTn, 3acbinaHHoI rpaBneM.
-Nepei 3anyckOM HhctpyMeHT Heo6xOIMNO npOBepntb, YTO BnHTbl, rainu N 60NTbl, a TaKke Dpyne KpeNEXHbIe DeTaN HaedexHO 3aTMyTbI, a KpbUKN 3aunTHbIe npncnocobneHH AxOJrTaHa CBOX MecTx.
Heo6xOIMMO 3aMeHHTb NOBpeKdeHHbIe HIN HeuHTaEMbIe NaKeiKn.
Ka6eJb

BHHMaHHe! YApd 3JNeKTpNueCKnM TOKOM npn NOBpeXeHN Ka6eJIa
Ecn Ka6eB pa3pe3an nn noBpeKdEh, npedoxpaHntenb He Bcergda cpa6aTb1Baet.
He npikacaiTecb K Ka6eHIO Do Tex nop, noka He OTcoeHNHTe CeTeBOI WTEKeP OT pO3eTKN.
Повржднй Кабь сеует NOHOCТБО 3amEHtB. 3anpeuaetcpeMOHTNPOBaT Ka6eNb c NOMOsbu H3ONRAUHOHONJIENTbl.
Pemont Ka6eIa DOJIxHeN IPOU3BOIDITbCra TOJIbKO CNEuaJIACrOm.
He onyckai Te TpeHn o Kpa, BbCTynbl nIn ocTpbIe deTaII.
-He DonnyckaIte 3aXIMa Ka6eJIa B DBePHoI IeIN NnN OKOHbIX CTBOpKax.
3aPpeaaetcyaJalTbNnUHTnpoBaTnepeKIOHauOuue yctpoiCTBA.
He noIb3yItec b yIINHITeJIbHbIM Ka6eJEM, KOTOpBITRAKeJee pe3INHOBOrO 7RN-F; MNHMaJIbHOe nonepueHoe ceeyHne: 3x1,5MM2; dNHa: He60nee 25 M.
Ka6eBbDnKhbl6bTtBnArOHeHPOHuaembIMN.
06cnyxnbHne
-Перед зашистом Исту мenteя убадпесь, до зашистов пастуг пос.
-Сларддддддддддддддддддддддддддддддддддддддддддддддддддддддддддддд
-Сларддддддддддддддддд
-Сларддддддд
-Сларддд
-Слар
-Слар
-Слар
-Слар
-Слар
-Слар
-Слар
-Слар
-Слар
-Слар
-Слар
-Слар
-Слар
-Слар
-Слар
-Слар
-Слар
-Слар
-Слар
-Слар
-Слapel
-Слapel
-Слapel
-Слapel
-Слapel
-Слapel
-Слapel
-Слapel
-Слapel
-Слapel
-Слapel
-Слapel
-Слapel
-Слapel
-Слapel
-Слapel
-Слapel
-Слapel
-Слapel
-Слapel
-Слpel
-Слapel
-Слapel
-Слapel
-Слapel
-Слapel
-Слapel
-Слapel
-Слapel
-Слapel
-Слapel
-Слapel
-Слapel
-Слapel
-Слapel
-Слapel
-Слapel
-Слapel
-Слapel
-Слapel
-Слел
-Слел
-Слел
-Слел
-Слел
-Слел
-Слел
-Слел
-Слел
-Слел
-Слел
-Слел
-Слел
-Слел
-Слел
-Слел
-Слел
-Слел
-Слел
-Слел
-Слasel
-Слasel
-Слasel
-Слasel
-Слasel
-Слasel
-Слasel
-Слasel
-Слasel
-Слasel
-Слasel
-Слasel
-Слasel
-Слasel
-Слasel
-Слasel
-Слasel
-Слasel
-Слasel
ΓOnoBAHpyrHeYacTNeTeJaHE DoJNkHbI HaxOuNTcB HEnocpeDCTBeHHo6n30ctNOT 3aRpy3OHHo pactpy6a.
PyknI npyrnue qactn TeNa, a TaKke OdekJa He DOnkHbI nonaTb B 3arpy3OHyb pactpy6, KaHan BbIbPoca nn HaxoJNTcB HENOCpeDCTBeHHoB 6n3OCTN OT dpYrNX DBXKyUHXcqAChTe.
Kpome toro, npmnt e yctouuBoe n HadeXHoe noNoxKeHne.
He BbITrBaIteCBBpePe.Ipnpa36paCbBAHm MaTePnAHa HkOrda He CToIe BBiWe INCTpyMeHTa.
Пиунларуcke ИСТPyMeHTa HNKOrДа He CToIe B 3OHe Bbl6poca.
Pn 3aRpy3ke MATEpnaIa CneJyET CoBIOdaTb OcO6yO octopoXHocTb, YTO6bl BMeCTe C HIM He IOnaII MeTaIIInueckne npEdMeTb, KaMHN, 6yTBlnKn, BaHN INI IN dpYrHe IHOpOHNBe npEdMeTb.
Ecnn HnOpOHyIe TeNa BCE-Ta KN nonaIN B pexyunm MexAHN3M, INCHTpymENT n3daet Heo6bHbN 3ByK nnBnBnpyET,OTKNIOHTeBn DOxNTecb NOHOr octaONOBKn INCHTpymEtA.OTKNIOHTe CTeBOB uTEKePn BblNOHNTe CneDyUOuNE DeiCTBnA:
-ПpoBepbTe HhCtpyMeHT Ha npeMeT NOBpeKdEHN
-Поверьт,хорошллзakpenHbI Bce DeTALIN,ИЗakpenITE IX pRn Heo6xOdmoctn
Bce noBpeKdHbIe deTaN HeoXoMOHOpTePMoHTnPoBaTbNt3aMeHbT (cneJeTy nCNoJb3ObaTbTOJbKO opUmHbJIbHe 3aNaChbIe YactN KOMaHN WOLF).
He donyckaite cKoPnHnI nepepa60TaHHoro MaTePnAna B o5NaCTN Bb16pOca, TAK KAK 3TO MoKeT npNBecTn K HeHaJaEkaUeMy Bb16pocu N 3aTOpY MaTePnAna B OTBepCTNu Bbl6poca.
Pn3aTopeB INHCTpyMeHTe nepe erO OCHKoB BBIKIOHTe DBIRATeIb NOTKIOHTe CTeBOI WTEKeP.
CneIte 3a Te M, YTO6bIB DnIRaTeNb He nonaNtOXOdbI IN pyrHe npEeMeTb, YTO6bI npEoTbPaTb ero nobpeXdHne nn n peperbe.
-6eNTecb, YTO BCE KpbIuK N IuNTKn HaxoJrTcR Ha CBOx MecTaX N IcnpaBhl.
He TpaHcnpTnpyIte yCTpoIcTBO npn pa6oTaioeM DBnraTeJe.
IIOOKOHuaHn pa6ObTb cpa3y BbIKIOuAaTe DmraTeIb nOTKIOUaHTe CTeBOI WTEKeP.
He haknohnyte yctpoicTBO np npa6oTaHcem DnBaTeJe.
TexHnueckoe 06cJyXnBaHne n xpaHeHne
EcIn HnCTpymEnBbIKHouen dIaTexHueckoro 0cNyKuBaHN, XpaHeHn IIN 3aMeHbI DetaneH, y6eINTecb, YTO OTKIOUEN HCTOCHNK nITaHN I N CTeBOI WTEKeP. Y6eINTcE, YTO BCE DBNrAIOUINEc DeTaN OCTAOHBUNCb. Ipeed TeXHnueCKIM OcNyKuBaHNem IIN perynnpOBkOY cTPOINCTBA Heo6xOIMo DaTb EMy OCTbTb.
PnOcbLyKuBaHmpeKyUeroMexAHMa CneIyET yHTbBaTb, YTO OH MOKe TDbVaTbCra DaXe NocNe OTKnIOueHn DBVaTeN.
YTNIN3aun

m = 311 ;
3anpeaetcyaTINnHnnpoBaTB3eKtpnueckne yCTpoCTBA BMeCTe C 6bITOBbIMN XO3JXCTBHeHHbIMN OTXoAMN. YCTpoCTBO, npHaIJIeXHOCTn IyNAKOBy Heo6xOJIMO cTaT B nyHKT EKOJIOrnueCKN UCTOn nepepa60TKN.
3Kcnnyatauia
Bpem3knpnyataun
Co6nIpaTepeHnoHaBbHbIe npedncaHna.
YTOUHTHE BpEMy 3KcNpyaTaunB MeCTHO aDMNHnCTpaUN.
IopknioueHne Kpo3eTke (230 B, 50 Tc)
HCTpymEnT CneNyET NOKJIIOUaTB TOnbKO Kpo3eTKam, KOtOpBle 3auuueHbI npedoxpaHntenEM 16 A (nna 3auNTbIM aBTOMaTOM Tnna B).

PpmeaHne.3aunTHbI aBtOMaTnueckn BblIOyateNb
3Tu 3aunthbIe yctpoiCTBa 3aunuauOT npN KOHTaKe T c NOBpeKDeHbIMn KaBeJIaMn NIN IN3OJIaNe, a B ONpeJeHbIX CnyaX - TaKCe OT nOlyueHnT JxKeIbIX TpaBM pN KOHTaKe T C NOBpeKDeHbIMn KaBeJIaMn, HaxoJAAUMNCPOd HAnpRaeHHeM.
PekomeHnyeTc noKIOuOaYyCTpOJcTOToIbKO Kpo3ETKE,3aunueHHoABTomatueckmBbIKIOUaTeJeM(RCD)cTOKOMyTeuKNHe60nee30MA.
-ⅡЯ yctapeBuxxCCTEM PO3ETOK IMEOTcKOMNKeTbI DnA DOO6OpyDObAHn. O6paTntecb 3a COBtOM K 3JIeKTpykY.
Pa60Ta C caOBbIM N3MeJIbHTeJIem

HaedeBaIte 3aunTHbIe npuATkn HauWNKn!
3aMnTe pa6ooye noIooKeHne c6Oky nIIN no3aIN HcTpymEHTa. HNKOrda He BcTaBaIte B ObnaCTb BbI6poca.
HnKOrHa He 6epntecb 3a 3arpy3oHbI pactpy6 nnn OTBepCTne Bb6poca.
-NepeB BKIOHHeM HNCTpyMeHTa y6eIITecb,TOB 3arpy3OHAM pactpy6e OTCYTCTBYOT OCTaTK paCTeHNI.
EcInB3aRpy3OuHbIpaCTpy6nonaINTBepdbIeIpeDMeTbI INyUCPTPOINCTBOHaunHaETn3daBaTbIpOMKHe3BykNINN Bn6PnpOBaTb,INCHTpymENT Heo6XoIMHOHEMeDNeHNO TKNIOHTbNDOxTaBcERoOCTaHOKn.OTKIOHTeCTeBOI WTEKeP INBbINOHNTE CNeDyUOueWar:
-ПоберпгЕИнстугм entиЗakpennteocna6wneДeТАЛ.
-3aMeHHTe HEnCpAbHbIe DeTaJI.
—PemOH INHCTpyMeHTA DOJXeH IPOUN3BOIDNTbCBA CNEUaIN3NPOBaHHo MactepckoI.
H3yeo moxho deanb ceky?
OpraHHeckne OTXOJa n3 Doma nn caJa, HapnMep, OCTaTKn KycTOB nn DepeBbeB, YBaJnne UBeTbI, KxOHhble OTXoDbI.
H3yeo Hnbl3a deanmbceky?
CTeKNo,MetaJIHmUHeCKnIpeJMeTbI,IIaCTMaCCy,KAMHN, OCTaTKnTKaHei, KopHn COCTaTKamn rpyHTa,OCTaTKn NIMu, PbIbbl, Mca.
BkHoueHne nn BbIKHoueHne

-ⅡBKNIOHHeHnAHXMNTe3eNeHyIOKHOKy.B
-ДЯВБКИЧЕHЯнHAЖМТЕКРACHУKOKNONKY.C
TexHnueckoe 06cIyXnBaHne
06uaHΦopMaun

NpeBbINONHeHnemTexHnueckoro 06cnyKBAHnna
YnCTKO INCHTPMEnTA OTKNIOaHTe CTeBOI WTeKeP!
PiO 06cnyKBAHN pexyUero MExAHn3Ma CneDyET
yHTbIBaTb, YTO OH MOXET DBIRATbC daJe NOcNe
OTKnIOUeHn DBrarTeJ.
HaDeBaIte 3aunTHbIe nepuATKn.
Bcerda xpaHnTe IHCTpyMeHT BCyXOM HEDOCtynHom dIa TeT MeCTe.

HCTpymEHTOBpyOBAH3aunTHbIMBbIKIOHateJeM, KOtOpbI npedOTBpaaaet OwN6oHoe NOBTOPHoe BKNUeHHe Bcnyae c60nNTAHn.
3aunTa oT neperpy3kn

Ipeperpy3ka HnchtpymeHa (Hanpimep,do 6nokpoBaHH pexyux BannKOB) MoKet Ype3 HeckoJIbKO cekyH npNBecT N OcTaHOBKe IHCTpyMeHTa. Yo6bl 3aunITb DnRatEnb OT NOBpeXdHn, INCHtpmEHT ABTomATnueCKN OTKnIOuAETCg OT CnOMOuBu yCTpOHTBa 3aunTbOT nepeperpy3kn.
PepednoBtOpHbIM3anyckOM Heo6xOdmoNoDoxKaTb noKpaHeMepeOHyMnHyTy,HaKaTb KhoNky BO3BpataAaNOTOM BbIKIOuateBJBKJ./BblKJI.
IpeeknouateIb HanpaBHeHra BpaueHra

IpeeknoyateHnpaBneHbpaueHn no3BOJrae Tnerko n3Bneb 3actpBm MaTePnAn.
NooxeHue E
Pexyune noIOnTHa 3axBaTbIbAIOT n3MeJIbuaeMOe cbIpbe.
Tnojoxehue D
Pexyui ne noIOTHa OTBOaTcH a3aN I OCBo6XdaIOT 3aKaToe cbipbe.
1.ПepeknIyateIb HanpaBneHn BpaUeHn B noLoXeHn .D
2. Haxmte n ydepkBaTe 3eNeHyKhONky . B
IpeeknouaTeNb HanpaBHeHna BpaSeHnMoXHo NCNoJIb3OBAbTOJbKO npu BBIKHOueHHOM HhCTpyMeHTE.
CneuaNbHbIe COBtI NO CEyKe
N3MeJIbUeHHeBToK INecOMaTePuaNoB CneDyET BbINOnHrTb cpa3y nocne 6pe3Kn (Tak KAK 3TO cbIpBe DnI N3MeJIbUeHn IPN BbICbIXaHN CTaHOBNTcOueHb TBepdbIM UymeHbUaeTcMAKcMajbHo DOynCTmbl dNppepaOtKn DnAmetp BetOK).
PnHaHnuypa3BETBIAHOxxCBeTOKydaJIITb OTBETBHeHn.
-Nepepa6oTka cbipb, coepjxauero 60nbwoe konuyeCTBO Bnarn: caOobble n KkyoHHbe OTXoDbI MOry T cnnNaTbc np
UncTka

IpeBbINONHeHHemTexHueCKOrO6cnyXnBaHnI NCTKOn HCTpymEnTaOTKnIOuAte cTeBOw wTekeP!
TtataTeNbHO yXaxnBaIte 3a INCTpyMeHToM N BbINOJIHrTe eroperynpyHyuNTKy, YTO6blyBENHTcPOK cnykbI.
Copeknte BHTNIAOHHbIe OTBepCTnB YHCTOTc nCneNTe,TOB HIX He 6blIO PbIN.
ДЯчNTКИHCTPymeHTa INCNoIb3yTe TOJIbKO TKAHBCMOUeHHyTO TeNIOBdoO, a TaKKe MRAKHy OTeKy.
He noiBepraTe HnCTpyMeHT BO3deIeCTBIO BnAri N He 6pbiaraTe Ha Hero BoDoi.
HactpoKa peKyUero MexaHn3Ma F
Pexyun MexaHm3M OtperynpoBaH Ha 3aObe n erO He HxKHO perylnpoBaTb neped nepBbIM npimeHenem.
- BkIIOUHTe INHCTpyMeHT.
2.ПовернITE KONКУ ynpablenHЯ NO YACOBI CTpeJIke, NOKA He YcbluINTe 3ByK KaN npu IUnnFOBaHN N n3 KaHAna BbIbPocA He NoBbTcR MeIKNe aIbOMUNHeBBle CTPyKKn (U3HOseHHbIe MecTa 6dyT ONtIMaIbHo C6aIaNCHpOBAHbIMN.3TO CHOBa yNyUHT npoxoKeHne cbIpBa dNnI3MeJIbYeHn).

YcTpaHHe HeNCnPaBHOCTe
| HeincpaBnOCTb Bo3MoXHЯ prunHna Cnocob yctpaHene | |
| ДиогаTeIb He 3anUcKaeTc | ● He nodaetc seTeBoe habpJxHene ●HeinCpABeH coeDInHteNbHbK Ka6JIb ●PererpyKeHHoe uCTpoiCTBO (ДиогaTeIb o6OpudOBaH 3aunTHbIM BbIKNoUaTeJIem a ABToMaTueckn OTknLooaETc npu nepeRpy3ke). |
| ДиогaTeIb I3Daet HeinpYrTHb 3Byk IIN He 3anUcKaeTc | ● 3a6lOkPobBaHb peJxUe BaIIKcN ●HeinCpABeH KOHdEHCATOp |
| He 3axBaTbIbAeTc sbIpbe IIN 3MeJIbYeHЯ | ● HeinpaBilbHoe noLoJxHne BbIKLIOUaTeHra ●CbIpbe IIN 3MeJIbYeHЯ 3aCTpIb O paCTpy6e ●cIINKOM MjaKOE IIN BbIAJHoe cbIpbe IIN 3MeJIbYeHЯ ●ИЗошЕHb peJxUe BaIIKcN |
| CbIpbe IIN 3MeJIbYeHЯ He npoxOHT cB6oDlno | ●HeIoCTaTOHNo OTperyIipOBaHa 3aUnCTNaI pIaCTnHa. |
B cnyae comHeHnB Bcerda o6paauTeCb B cepBncHb ueHTp WOLF.
BnMaHne!peep npOBepKo nn pa60ToC pexyumnoIOTHAMN BbIKNoHTe HcTpyMeNT OTKNoHTe cTeBOWtKeep.
TapaHTnHbIe ycNoBna
Ppoc6a akypatHO xpaHTb rapaHTnHbT aIoh, 3anONHeHHb npOdaBcM nIN KBNTauN O oKynke.
B TeueHne 2 let noCte daTbI nokynKn fnpMa WOLF-Garten npedocabTnepaHTnIO, COOTBeTCTBYUOy UpOBHIO texHNKn I cENN/O6NaCTn npimeHeH.NOpDnueckne npaba KOeHOro notpeBnteHa He HapuAOTc npBeEHHbIMn Hxke rapaHTTHbIMn npedncaHnMn.
IpegnocbIKn dny npaba Ha rapaHTnHbI peMOHT B TeueHne 2 net:
-Приимеени arperataToIbKO NCKNIOHTeIbHOДЯЛIN YHORONJb3OBAHn.
PnHcNoJIb3OBAHNB INpOMbiUHeHHo 6bactn HIn cdae BHaEM rapaHTN COKpaAaeTcdo 12 MecaeB.
- HaJnHexauee o6paueHne i co6IIOJeHne Bcex yka3aHn HNCTpyKuIN NO npIMHeHIO YBJIeTcR COCTABHO YaCTbHO HaJINX rapaHTnHBx ycNOBn.
- Co6IIOdaHne npedncaHHo nepnoDnHocTn Texo6cJyKbAHna.
-OTcyTCTBnE cAMOBONbHOrO n3MeHeHHa KOHCTpyKUIM.
-YctahOBka opunHnabHbix 3anacte/detaneel WOLF.
-ПпeдьгеленеЗаюн electro rapaHTmHoro TaNoHa n/nn KBITaunO nOKyUnke.
RapaHTnHa He paacnpocpTaHReTcHa OobuHbI N3HOC aKkyMnyTopOB, HOKeJ, KpenKbHbIX DeTaeNe HoxKeJ, TaKx KAK pPknUHOHbIe DNCKN, KNHObIe/3y6CbatbIe PemHn, XOIOBle KOIEca/UHNbI, BO3DyUHbIe fNttpbI, CBeYn 3aKnArHnI NwTekePbIe pa3bEMeI Cbeey 3aKnArHn. PnI camoCToTeNbHom pEmoHTe npBa HapaHTnIO abTOMaTneckn HEmeDneHNO AHYNuPyTeC. Bo3NHkUe deFeKTb I NOBpeKdHenr, npuHNoKOTbX BnRETCHe NDooCTaOK MaTePnAna nIN N3rTOBLeHn, yCTpaHHTcN CKNHOHTeBHO HaUMM DOrOBOPHBIM Mactepckm (npodabeuC Meet npBa YCTpaHrtb DeFeKTb) No6N3OCTn OT Bac INn Camm IN3rTOBNTeMe, ecIn OH HaxoHTcB 6nKke. IpTeEH3N, BbXODaUe 3a pamKn rapaHTn, NCKNHOAOTc. TpeBOBaHne Ha NocTbKBy BzAmEn He npHHMaETc. O6o BcEx TpaHCnOpTHbIX NobpeKdHenr CledyEt COoBsaTb He Ham, aOTBeTCTBeHHbIM EKCNedITopam, NCKONbKY B pOTNBHom CUYae npTeEH3N K 3TMM NpeDnPaTmHa BO3MeueHne y6bTKOB CHTaIOTC HeDeECTBNTeHBIM.
EvpyoioiOn/atevpeyoiOn

VY TO EVEPYOTIOINOTE ITYTHOTE TIPaivo KOUPTI .B
VY TO YTVEVEPYOTIOHOETIYTHOTe KOKKIO KOUPTI C
Hnxavn biatheiaikottn aospaleias yia tny atopuyniakouios eTAVEPOToinos mTa ano biakottn tou pEuupatos.
Euvtnpn
Evika

Piv aro kabe epyaia ouvtnpnnckai kaapioou
aTOOUVDEETo peuatoanTTn!
Kata n ouvtnpnTou TEpaXIOH 0a TpeTei va Aba
Utoyn otAutoc mTopei va EakolouBei VAeIToupy
akoun K av Okvntnpac eivai aTVEpyOTInuevos.
Opate pootateutikayvta.
ATo0nKExTe To mnxavnuY TAVrY oE npo mepos, OTOOnio 8ev exouv TpoaBYo n YIia.
PpOoTaOia uTepΦoPTiOns

Mia utepopotion Tou mnxavnmaos (T.x. expi kai
mloakipou Tou kuivpou kootns) mtopei 5iya
deutepoletta va obnynei o akivntotoinon Tou
mxaovnatos. Ia va npoataeuaetov kivtnpa ato
baabe, to mxaovna aTOOuvdeteai autopa tto T
peu ma eow nTPOOATAIAC UTEPOPOTIONs.
MTD Poland sp. z o.o.
UL.Ogroodicza 1
84-252 Orle

058 57 20 701

058 57 20 699

EasyManual