SDL 2500 - Mekanisk flistugg Wolf Garten - Gratis bruksanvisning och manual
Hitta enhetens manual gratis SDL 2500 Wolf Garten i PDF-format.
Vanliga frågor - SDL 2500 Wolf Garten
Användarfrågor om SDL 2500 Wolf Garten
0 fråga om denna apparat. Svara på dem du kan eller ställ din egen.
Ställ en ny fråga om denna apparat
Ladda ner instruktionerna för din Mekanisk flistugg i PDF-format gratis! Hitta din manual SDL 2500 - Wolf Garten och ta tillbaka ditt elektroniska enhet i hand. På denna sida publiceras alla dokument som behövs för att använda din enhet. SDL 2500 av märket Wolf Garten.
BRUKSANVISNING SDL 2500 Wolf Garten
1 Omkopplare for rotationsriktning
2 Strömbrytare
3 Aterställningsknapp/
överbelastningskydd
4 Uppsamlingssack
5 Elkontakt
6 Pafyllningstratt
7 Installningsknapp for skarverk
NL
Innstilling av knivanordningen F

Tack for att du har kocht en WOLF-produkt

Läs brauksanvisningen noga och bekanta dig med manöverorganen och korrekt använding av maskinen. Användaren ansvarar ensam for olyckor med andra personer eller skador pa deras egendom. Beakta anvisningar, förklaringar och foreskrifter. Förvara brauksanvisningen pa en saker plats for senare använding.

Låt aldrig barn eller andra personer som inte känner till brauksanvisingen använda maskinen. Ungdomar under 16år fär inte använda maskinen. Eventuellt kan lokala bestämmelser föreskriva en viss lögsta älder.
Inneháll
Sakerhetsinformation 44
Anvandning 45
Underhäll 47
Atgardenvidfel. 47
Garantivillkor 48
Sakerhetsinformation
Förklaring av symbolerna Allman information

Varning!
Las braksanvisingen fere idrifttagande!

Fara p.g.a. ivagslungade delar narnotorn gár -kontrollera att ingaobehoriga personer uller hus- ochnyttdjur uppehaller sig riskomradyet.

Lossa alltid elkontakten fran elnätet
fore installings-, rengörings- och
underhällarsbeten och vid skador pa
kabeln!

Varning for roterande knivar. Häll inte händer och fötter i öppningar Near maskinen gär.

Använd skyddshandskar!

Använd ögon- och hörskelskydd!

Utsatt inte maskinen for fukt.
- Undersök anslutningsledningen med avseende på skador eller alderstecken fore användning.
- Om natanslutningsledningen skadas vid drift av maskinen, fár ledningen inte beröras forrän kontakten lossats fran elnätet.
- Varning! Knivarna fortsetter att rotera en period after att motorn har stängts av.
-
Lossa kontakten fran eluttaget,
-
när du lämnar maskinen,
- innan du tar bort en blockering,
- innan du kontrollerar, rengör aller reparerar maskinen,
- om ett främande foremal traffas (kontrollera om maskinen ar skadad och reparera den vid behov),
- nar maskinen vibrar kraftigt (kontrollera genast maskinen).
Förberedande arbeten
Lát aldrig barn anecdva maskinen.
- Använd aldrig maskinen nar manniskor uppehäller sig i narheten.
Använd hörsksydd och skyddsglasögon. Bär dessa under hela tiden som maskinen används.
Anvand inga losa klader erer nerhängande klader. Anvand inte heller klader med hangande band ell fransar.
- Använd endast maskinen utomhus (d.v.s. inte i narheten av viggar aller andra fasta foremål) och på fasta och jämna underlag.
Anvand aldrig maskinen paett underlag med singel.
- Innan maskinen tas i drift sca alla skruvar, muttrar och bultar samt andra faskdar kontrolleras sa att de sitter fast samt alla kapor och skyddsplattor.
Skadade aller olasliga dekalera ske bytas ut.
Kabel
Varning! Elektriska stötar p.g.a. kabelskada
När kabeln ar genomskuren eller skadad på annat satt fungerar inte alltid sakringen.
Rör inte kabeln innan du har dragit ut stickkontakten fran vagguttaget.
En skadad kabel maste bytas ut. Det ar forbjudet att reparera kabeln med isoleringsband.
-
Endast fackpersonal fär utföra reparationer på kabeln.
Lat den inte ligga emot kanter, spetsar aller vassa foremål. -
Klam inte kabeln i dorr arller fonster.
Kopplingsanordninger far inte tas bort aller forbikopplas.
Anvand endast forlangningssladdar som ar minst lka kraftiga som en gummislang av typ: HO 7 RNF, minimum diameter 3× 1 5m h langd: max.25 m.
Kabeln skara varaspolsaker.
Hantering
- Kontrollera innan maskinen startas att päfyllningstratten ar tom.
Hall huvudet och kroppen paett sakert avstand fran pafyllningsoppningen.
For inte in harder, andra kroppsdelar och klader i pafyllningstratten, utloppskanalen erler i narheten av andra rorliga delar.
-Var noga med att hälla balansen och stå alltid stabil. - Strack dig inte framåt. Stå aldrig högre øn maskinen dæ material ská foras in.
Sta aldrig i maskinens utloppszon da den tas i drift. -
Kontrollera alltid innan du for in material i maskinen att det inte innehaller metall, stenar, flaskor, burkar aller andra fremmande foremål.
Stang genast av maskinen och lát den gär tills den stannar om främnde foremålkommen in i skärverktyget aller om maskinen genererar ovanliga ljud eller vibrationner. Lossa elkontakten och utfor foljande steg: -
Kontrollera om maskinen ar skadad
- Kontrollera att alla delar sitter fast och dra Åt dem vid behov
- Reparera aller byt ut alla skadade delar (anvand endast originalreservdeler fran WOLF).
Lät aldrig stora mangder bearbetat material samlas upp i utloppsomrädet. Materialet kan forsvara utloppet och leda till att materialet leds tillbaka upp genom pafyllningsöppningen.
Stanna motorn och lossa elkontakten innan maskinen rengörns om den ar igensatt.
- Kontrollera att det inte finns avfall aller annat på motorn für att skydda motorn mot skador eller overhetting.
- Kontrollera att alla kápor och skydd ar pá plats och i gott skick.
Transporterainte maskinennarnmotorng.
Stang genast av motorn och lossa elkontakten nar du lamnar arbetsplatsen.
Luta inte maskinen nar motorn gär.
Underhäll och Förvaring
- Om maskinen ar avstängd p.g.a. underhäll, forvaring erler byte av tillbehör sca du alltid kontrollera att energikällan ar avstängd och elkontakten ar lossad. Kontrollera att alla rørliga delar ar stillastäende. Låt maskinen svalna fore underhäll, inställning, o.s.v.
Tänk på vid unterhalb av skärverktyget att det även kan rotera after att motom stängts av.
Avfallshantering

Släng aldrig elektriska apparater med hushallsavfallet. Lämna maskinen, tillbehören och forpackningen till den lokala ätervinningscentralen.
Användning
Användningsstider
-Ta hansiyn till lokala bestammelser.
Kontakte de lokala myndigheter for information om anvandningstider.
Anslutting till eluttag (230 volt, 50 Hz)
- Maskinen fär endast anslutas till eluttag som ar sakrade med en 16 A sakring (eller jordfelsbrytarem typ B).

Information: Jordfelsbrytare
Skyddsutrustingen skyddar mot svara skador vid beroring av skadade ledninger, isoleringsfel och i vissa fall även mot skador orsakade av skadade ledninger.
Vi rekommenderar att maskinen endast koplas till etluttag som ar skyddat med en jordfelsbrytare med en reststrom pa hogst 30mA
- Satser for aftermontering finns for ädre installationer.
Tala med en elektriker.
Arbete med flismaskinen

Använd skyddshandskar och hörsksydd!
Sta alltid vid sidan av ellr bakom maskinen vid arbete. Sta aldrig i utloppsoppningens omrade.
For aldrig in kroppsdelar i pafyllnings-ller utloppsoppningen.
-
Kontrollera att det inte finns nagra materialrester i pafyllningsöppningen.
Stang genast av maskinen och lat den stanna om det finns frammande foremal i pafyllningstratten erer om maskinen ger ifran sig ovenliga ljud erler vibrationener. Lossa elkontakten och utfor foljande punkter: -
Kontrollera maskinen och dra at söla delar.
- Byt ut skadade delar.
- Låt fackpersonal utföra reparationer på maskinen.
Vilka material kan bearetas?
- Organiska avfall frän hem och tradgård t.ex. hack- och traddelar, overblommade blommor, köksavfall.
Vilka material kan inte bearetas?
Glas, metalldelar, plast, plastpasar, stenar, tgyavfall, rottmer med jordrester, mat-, fisk- och kottavfall.
Till- och frankoppling

Tryck pa den grona knappen B for att tillkoppla maskinen.
Tryck pa den roda knappen C for att frankoppla maskinen.
Maskinen har en skyddsbrytare som forhindrar att den tillkopplas automatiskt after strömavbrott.
Overbelastningsskydd
I Om maskinen overbelastas (t.ex. sa att knivvalsen blockeras) kan maskinen stoppas inom nagra sekunder. For att skydda motorn mot skador sikls maskinen automatiskt fran elnaret av overbelastningskyddet.
Vänta minst en minut med att ta maskinen i drift. Tryck Först på Återställningsknappen Ach sedan på strombrytaren.
Omkopplare for rotationsriktning
Använd omkopplaren für rotationsriktning für att lossa material som har fastnat.
Lage E
Knivarna drar in materialet som ska bearbetas.
Lage D
Knivarna rör sig baktanges och lossar material som har fastnat.
- Omkopplare for rotationsriktning i lage . D
- Tryck in knappen B
Omkopplaren for rotationsriktning kan endast anecdas nar maskinen ar avstangd.
Särskild information om bearbeting
- Bearbeta stammer, grenar och tradelar direkt after att de har tagits ner (detta material blir mycket hart om det torkar ut, max. rend diameter som fär bearbetas sjunker härigenom).
-Ta bort sidoskotten pa stammar med mycket grenar. - Bearbetning av tradgards-ller koksavfall med hog vattenhalt och som ar klibbigt (bearbeta sadant material omvaxlande med trabaserat material, for att undvika att maskinen blir igensatt).
L'at inte for mycket material samlas i omradyet vid utloppsoppningen. Detta kan leda till att flismaterial satter igen utloppskanalen. Detta kan leda till att materialet stots tillbaka genom pafyllningsoppningen. - Beakta max. grund diameter for bearbetning fordin maskin.
Knivverket drar in i princip in materialet sjalv.
Undvik att overbelasta och blockera motorn vid kraftigare grenar genom att dra tillbaka grenarna ofta.
Underhäll
Allmänt
! Lossa alltid elkontakten fore underhalls- och rengoringsarben! Tank pa vid underhall av skarverktyget att det aven kan rotera after att motorn stangts av. Anvand skyddshandskar.
Fórvara maskinen pæ en torr plats som ár oåtkomlig for barn.
Rengöring
! Lossa alltid elkontakten fore underhalls- och rengoringsarbeten!
- Behandla maskinen forsiktigt och rengör den regelbundet für att öka dess livsländ.
Hallventilationsoppningarna rena och fria frandamm.
Anvand endast en varm och fuktig trasa samt en mjuk borste vid rengoring av maskinen.
Lat aldrig maskinen bli blot och spruta aldrig vatten over den.
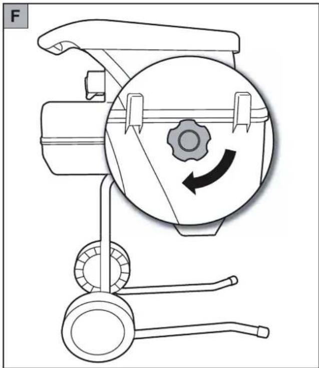
Installingn av knivkeret F
Knivverket ar installet fran fabrik och behöver inte ställas in fore forsta driftstarten.
- Slå pa maskinen.
- Vrid inställningsknappen medurs tills slipljud hors och finala aluminiumspan kommer ut ur utloppsschaktet (slitna stallen paskarplattan jämnas ut perfekt. Materialet som skabearbetas skars darefter batre).

Atgarder vid fel
| Problem Möjlig orsak Åtgåd | ||
| Motorn startar inte | Nätspänning saknasAnslutningskabel defektMaskinen überbelastad (motorn har en skyddsbrytare och stängs av automatiskt vid überbelastning). | Kontrollera säkringenKontrollera kabeln (elektriker)Motorn kan startas på nytt afteren nedkylningspaus (ca 5 min.). |
| Motorn brummar, men startar inte | Skärvalsen blockeradKondensator defekt | Ändra rotationsriktning. Stäng)därefter av maskinen och rengör den.Lämna maskinen for reparation på en WOLF-verkstad. |
| Materialiet som skabearbetas dras inte in | Omkopplaren stär i fel ögeMaterialiet har fastnat i/TRattenFör mjuk eller blätt materialSkärvalsen ar sliten | Ändra rotationsriktningÄndra rotationsriktning. Stäng)därefter av maskinen och rengör den.Skjut in materialet med en greNStäll in skärverket |
| Materialiet ar)dallig bearbetat | Efterskärningsplattan ar felaktigt inställd. | Ställ in skärverket. |
Kontakta alltid en WOLF-serviceverkstad vid oklarheter.
Varning: Stäng alltid av maskinen fore kontroller erler arbete på knivarna. Lossa även elkontakten.
Garantivillkor
Spara omsorgsfullt det av säljaren ifyllda garantikortet resp köpebeviset.
Firma WOLF-Garten lämnar en garanti for 2 Å, räknat frän inköpsdatum och motsvarande vid tillfället gängse teknik och användningsandamal / användningsområde. Konsumentens lagiga rattigheter pāverkas ej av afterfoljande garantiriktlinjer.
Forutsättningar for garantiansprak under 2 År:
För yrkemässig använding eller uthyrningsföretag reduceras garantitiden till 12帽子.
- Korrekt använding och iaktagande av all information i braksanvis-ningen som ar en del avvara garantivillkor.
-
laktagande av foreskrivna underhallsintervaller.
-
Inga egenmaktiga andringar av konstruktionen.
- Montering av originalreservdelar/-tillbehör fran WOLF-Garten.
-Forevisande av ifyllt garantikort och/eller kvitto.
Garantin omfattar inte normal slitage av akku's, svardet, svardfasdelar som friktionsskivor, kiloch tandremmar, drivhjul/dack, luftfl iter, tandstift och tandstifstkontaker. Garantin galler inte vid egenmaktiga reparationer. Eventuella fel och brister som orsakats av materialoch tillverkningsfel atgardas uteslutande av vara kontraksverkstader (aterforsaljaren har ratt att reparera) i din narhet erer av tilverkaren om detta ar narmare. Alla ansprak utover denna garanti ar uteslutna. Ansprak pa leverans av reservdeler ar uteslutet. Eventuella transportskador sha inte rapporteras till oss utan den ansvariga leveranten eftersom ansprak pa ersattning fran det foretaget upphor att galla i annat fall.

MTD Trädgårdsmaskiner
Sätunavägen 3
52141 Falköping

051517100

0515711414

OOO MTД CaIOBAЯ TeXnIka
109651 Pocca, MockBa
YJ. JIOBAIcka, DOM 2b
ctp.1,o0nc 12

4953567001

4953567001
| WOLF Garten | Original EC Declaration of Conformity | form no. drawing no. revision | 770-769-08/09 | |||||||||||||
| by Machinery Directive 2006/42/EC II 1.A. | ||||||||||||||||
| This conformity refers on the delivery status, any technical changes of the customer are forbidden and conformity expires | ||||||||||||||||
| DGBFICNLSDKFINCSZ | EG KonfomitätserklärgungDie Forderungen folgender Richtlinien und Normen der EG sind erfüllt.EC Conformity declarationThe demands of EU standards and rules listed below are fulfilled.Déclaration de conformité CELes exigences définies par les directives et normes suivantes de l'Union Européenne sont remplies : article R 233-84 du Code du Travail.Dichiarazione di conformità CEESono soddisfatti i requisiti delle seguenti direttive e norme CE.EU conformiteitsverklaringDe machine beantwoordt volledig aan de Europees normen.EF-overensstammelserklaeringKravene i følgende EF-direktiver og EF-normer er opfyld.Täytää alla luetellut EU:n direktivit ja standardit.EF-conformitetserklärgingAlle krav i henhold til følgende direktiver og normer fra EU er opfylt.EU Försakran om overensstammelseDenna maskin uppfyller kraven i nedanständende EU-direktiv och standarder.Prohášeni o shodē EU.Požadavyk následujicich norem a směřEU jsou splény. | HCE Megfelelöségi NyilatkozazAz alábbi EU elöirasoknak és szabványoknak megfele.IDeklaracja zgodnosci z unia europejskponizsze standardy i zaśady wymagane w unii europejskiej są spelñione.IEU Izjava o suglasnostiIspunjeni su zahtjevi slijedech smjemica i normi EU.SKPrehlásenie o zhode EUPożiadavyk nasledovnych noriem a smericu EC susplné.NLCE Izjava o skladnostIzpolnjene so zahéve naslednjih smernic in standardov Evropske skupnosti.EC - déknapațnia 3a czbotbétCTBNEcne dinhe na Stickvačbanyra Na HOPMITEи dinpektibite Na EC ca nazehi.RUSDéknapațnia cootbétCTBNIteBcevaertTreboBaHnIMCne duynuOxms CTanapdTobNidpektibN EC.Declaratie de conformitate UECerintele urmatóarelor directive.si norme ale UE sunt ñndeplinite.ASağüzdeni AB standartlarinda ve yönelmeliklerinde söz konusu olanailepler yerine getirilmistr.Ghλωση πιοτόπας EKÖI απατίπεις πλρούνις ακόλουθες σθηγίες και πρότιτα τηςΕυρωταikίςKoióvtólας. | ||||||||||||||
| Low Voltage Directive2006/95/EC | Machine Directive98/37/EC effective until 28.Dec.20092006/42/EC effective from 29.Dec.2009 | EMC Directive2004/108/EC | RoHS Directive2002/95/EC | Outdoor Directive2005/88/EC, 2000/14/ECAnnex V | ||||||||||||
| Harmonized EU Standards (The indicated standards are consistent with the valid revision): | ||||||||||||||||
| Electrical SafetyEN60335-1:2002 | Mechanical SafetyEN13683:2009 | EMC ComplianceEN61000-3-2:2006; EN61000-3-3:1995;EN55014-1:2006; EN55014-2:1997; EN50366:2003 | ||||||||||||||
| 7513 ... | SDL 2500 | 40 mm | 26 | 2500 W | 40 min-1 | 230 V~ / 50 Hz | 16 A | LwA / LwAg = 91/ 92dB (A) L | pA = 80dB (A) | |||||||
| BG-Градноча розуши; CZ-Zahrdní dříč; DK-Kompostkvažerní; D-Gartenhäcksler; GR-Téμáχioιngs; GB-Garden chopper; FIN-Puutarhasilppuri; F-Hachoir de jardin; HR-Vrtna sjeckalica; H-Keri szečskážó; I-Trinciatrice da giardino; NL-Hakselaar; N-Kompostkvermen; PL-Rozdrabniarka do galeži; RO-Tocātor pentru grădina; RUS-Cadobýи有很大менистов; SK-Zahrdná rezačka; SLO-vrtni drobilnik; S-Flismaskinen; TR-Bahçegmakinasi | |
| BG-Maxcimamen Дамамер на клонITE; CZ-Maximálni prümér větve; DK-maksimal dendrimester; D-maximaler Asturchmessner; GR-mεγίσηδiáeτρος κλαβίου; GB-Maximum branch diameter; FIN-Oksan enimmäispaksuus; F-Diamètre maxi des branches; HR-maksimalni presjek grane; H-Legvastagabb ág; I-Diametro massimo dei rami; NL-Maximale diameter takken; N-maksimal dendrimester; PL-maksymalna srednica gaiezi; RO-diametru maxim cráci; RU-Maccimailbny的大damaertp betok; SK-maximálny preier konárov; SLO-maksimalni premer vej; S-maximal dendrimester; TR-Maksimum dal capi | |
| BG-Tero; CZ-Hmotnost; DK-Vægt; D-Gewicht; GR-Bápoc; GB-Weight; FIN-Paino; F-Poids; HE-Težina; H-Súly; I-Peso; NL-Gewicht; N-Vekt; PL-Ciežar, RO-Greurate; RUS-Maccia; SK-Hmotnost; SLO-Teža; S-Vikt; TR-Agrlik | |
| BG-Mошноct/оборoti elektromotor; CZ-Výkon / otáčky elektromotoru; DK-Elmotorens ydelse / omdrejningstal; D-Leistung / Drehzahl Elektromotor; GR-Ióxüç / Apiθücosotroffovny λέκτροκινηθρα; GB-Power / speed of electric motor; FIN-Teho / kierrosluku sähkömoottori; F-Puisance / Vitesse du moteur électriche; HR-Snaga / Broj okretaja elektromotora; H-Teljesitmény / Elektromotor fordulatszáma; I-Potenza / numero di giri motore elettrico; NL-Vermogen/toerental elektromotor; N-Ytelse / turtall elektromotor; PL-Moc / licsba obrotów silnilka elektrycznégo; RO-Putere / turatie electromotor; RUS-Moшноct/Hicno obportovDBiratérga; SK-Výkon / otáčky elektromotora; SLO-Moc / Stevilo vrtljajev elektromotorja; S-Effekt / varvital elmotor; TR-Güç / Devir sayisi, elektronik motor | |
| BG-Hanpěgenne; CZ-Napétí; DK-Spaending; D-Spannung; GR-Táoŋ; GB-Voltage; FIN-Jännite; F-Tension; HR-Napon; H-Feszültseg; I-Tensione; NL-Spanning; N-Spenning; PL-Napięcie; RO-Tensiune; RUS-Hanpěgenne; SK-Napätie; SLO-Napetost; S-Spanning; TR-Gerilim | |
| BG-Предимител; CZ-Pojistka; DK-Sikring; D-Sicherung; GR-Aφáλιση; GB-Fuse; FIN-Sulake; F-Fusible; HR-Osigurač; H-Biztositék; I-Fusible; NL-Zekering; PL-Bezpiecznik; RO-Sigurantà; RUS-Предхаленьл窥е усточво; SK-Poistka; SLO-Varovalka; S-Säkring; TR-Sigorta | |
| BG-IЗмегета/hapantirana zhykobá мошноct (Lw/LwAg); CZ-Změřeny / zaruceny akustický výkon (Lw/LwAg); DK-Malt / garanteret lydeftektniveau (Lw/LwAg); D-gemessene / garantierte Schalleistleuk (Lw/LwAg); GR-Metropény / evyyunévy nyntikn 10x25; GB-Measured / guaranteed sound power (Lw/LwAg); FIN-Mitattu / taattu ännitohetu (Lw/LwAg); F-Puisance sonore mesurer / garante (Lw/LwAg); HR-Izmjerena / zajemčena jakost zvuka (Lw/LwAg); H-Mert / garantált hangeltesimény (Lw/LwAg); I-Potenza acustica misurata / garantita (Lw/LwAg); NL-Gemeten/gegarande-erd geluidsniveau (Lw/LwAg); N-Malte / garantierte lydeffect (Lw/LwAg); PL-Zmierzony / gwarantowany poiziom halasu (Lw/LwAg); RO-Putere sonora māsurata / garantata (Lw/LwAg); RUS-IЗмегеты / rapaHTPOBANHуровны зуков�оюпсун; SK-Namerany / zaruceny akustický výkon (Lw/LwAg); SLO-Izmerjena / zagotovljena akustichna moč (Lw/LwAg); S-Uppmatt / garanterad bullereffekt (Lw/LwAg); TR-Ölcülmûş/Garantie edilen ses guču (Lw/LwAg) | |
| BG-3bykofo na hyraigne (LpA); CZ-Akustický tlak (LpA); DK-Lydtryk (LpA); D-Schalldruck (LpA); GR-Akouotíkn triéçony (LpA); GB-Sound pressure (LpA); FIN-Aänenpainetaso (LpA); F-Pression acoustique (LpA); HR-Zvučni tlak (LpA); H-Hangnyomás (LpA); I-Pressione acustica (LpA); NL-Geluidsdruk (LpA); N-Lydtrykk (LpA); PL-Cisnienie akustyczne (LpA); RO-Presiunea sunetului (LpA); RUS-Upovembézhý zbykovoboro давлиения (LpA); SK-Akustický tlak (LpA); SLO-Akusticiplitrisk (LpA); S-Ljudtryck (LpA); TR-Ses basinci (LpA) | |
| BG-Technequeck do kozmezzua primi; CZ-Technické Dokumenty; DK-teknisk dokumation for; D-Technische Unterlagen bei; GR-Tévýké TKunpiöwn; GB-Technical documentation at; FIN-Tekniset asiakirjat; F-Dossier technique chez; HR-Technické dokumentaciye na; H-Technikai dokumentacié...náj; I-Documentation technica presso; NL-Technische gegevens bij; N-Techniske dokumenter pá; PL-Dokumentacja techniczna jest archiwowsa i dostepna (w firmie); RO-Documente tehnice; RUS-Technueckaśdokumentażna b ...; SK-Technické podklady u; SLO-Technicna Dokumenti; S-Tek-niska dokument; TR-deki teknik belgeler |
WOLF Garten










EnkelManual