SDL 2500 - Rębak mechaniczny Wolf Garten - Bezpłatna instrukcja obsługi
Znajdź bezpłatnie instrukcję urządzenia SDL 2500 Wolf Garten w formacie PDF.
Często zadawane pytania - SDL 2500 Wolf Garten
Pytania użytkowników dotyczące SDL 2500 Wolf Garten
0 pytanie dotyczące tego urządzenia. Odpowiedz na te, które znasz, lub zadaj własne.
Zadaj nowe pytanie dotyczące tego urządzenia
Pobierz instrukcję dla swojego Rębak mechaniczny w formacie PDF za darmo! Znajdź swoją instrukcję SDL 2500 - Wolf Garten i weź swoje urządzenie elektroniczne z powrotem w ręce. Na tej stronie opublikowane są wszystkie dokumenty niezbędne do korzystania z urządzenia. SDL 2500 marki Wolf Garten.
INSTRUKCJA OBSŁUGI SDL 2500 Wolf Garten
Oryginalna instrukcja 59
Originalhe upute za uporabu 64
Originaly naved na obsluhu 69
Originalna navodila za uporabo 74
OpurnhaHa Hnctpykun 3a ekcnnoataua78
OpurnhaHbHa Hcptyua No eknnyataaun 83
Manual de utiliser original 88
Orinal kitapcik 93
Auovnikg odny's (nons 98
SDL 2500



D
1 Przelacznik kierunku obrotu
2 Wlacznik/wylacznik
3 Przyczisk Reset / zabezpieczenia przy部分地区
4 Worek zbierajacy
5 Wtyczka sieciowa
6 Lej napelniajacy
7 Pokretlo ustawien nozy
HR
1 Prekidač za smjer vrtnje
2 Gumb za ukli./iskli.
3 Gumb za vračanje na početni položaj / zašita od preopterećenja
4 Vreca za prihvat
5 Mrezni utikač
6 Lijevak za punjenje
7 Izvrsni gumb mehanizma za rezanje
SK
1 Spinašmeru otáčania
2 V y p i n a c
3 Nulovacie tlacidlo / ochran proti pret'azeniu
4 Zachytávací sáčok
5 Sietová zasuvka
6 Plniaci likivik
7 Nastavovacie tlacdido zaceho mechanizmu
SLO
1 Vrtljivo stikalo
2 Stikalo za vklop/izklop
3 Ponastavitveni
Utmutatas a szecskażashoz
Prosimy dokladnie przyczytać instrukcje obstugi i zapoznać sie z sprawidłowoa obstruga urzadzenia. Za szkody poniesione w wypadkach przyez osoby trzechie oraz poniesione przyez nich szkody materialne, odpwiada uzytkownik urzadzenia. Naleź przyestręgać wzystkich wskazowej, wyjasnieni przyepisów. Naleź przyechowyȩć instrukcje obstugi w taki spośb, aby zawsze moziwy byl donej dostep.

Nie nalezy pozwalać na uzytkowanie urzadzenia przy czcieci lub inné osoby, kto're Nie zapoznaly sie z instrukcja obstugi. Urzadzenia nie maye byc uzywane przy czsody osoby nieletnie ponijej 16 roku zycia. Minimalny wiek uzytkownika tego rodzaju urzadzen maybe byc teil regulowany przypisami obowiazujacymi w danym kraju.
Spis tresci
Wskazowski dot. bezpieczestewa. 59
Uzytkowanie 60
Konserwacja 61
Rozwiagzywanie problemów 62
Warunki gwarancji 63
Wskazówki dot. bezpiecznychsta
Znaczenia symboli Informacja ogólne

Uwaga!
Przed Rozpoczeciem praczy urzadzeniem nalezy zapoznać sie z instrukcja obslugi!

Niebepezicznstwo stwarzane przy wypadajace elementy podczas praczy silnika - usunan zbebne osoby, zwierzeta domowe i gospodarcze z obszaru praczy urzadzenia.

Podczas prac konfiguracyjnych, konserwacci przechowyania urzadzenia oraz w razie uszkodzeniu kabla nalezy wyłaczyc zasilanie!

Uwaga: wirujace noze. Nie umieszczacrak ani nog w povlizu otworow urzadzenia podczas pracy.

Nosic rekawice ochonne.

Nalezy chronic oczy iuszy podczas pracy.

Chronic urzadzenie przed wilgocia.
- Przed Rozpoczeciem przy z urzadzeniem nalezy sprawdzić,czy urzadzeniaNie wykazuje sladow uszkodź ani zuźycia.
- Ježeli podczas przy z urzadzeniem dojdzie do uszkodzenia kabla, urzadzenie mozza dotknac wylacznie po wczesniejszym odlaczeniu wtyczki od zrodla zasilania.
Uwaga! Noze moga dzialac rowniez po wylaczeniu urzadzenia.
Nalezy odaczyc urzadzenie od pradu, - po zakończeniu przyc y urzadzeniem,
- przed usunieciem blokady,
- przyrozprésoczeciem prac zwiazanych z kontrola, czyszczemen lub naprawa urzadzenia,
- gdy urzadzenie trafi na cialo obce (nalezy sprawdzić,czy urzadzenie nie zostalo uszkodzone i czy nie jest wymaganajejogo naprawa),
-gdy urzadzenie silnie wibrjue (nalezy niedwocznie sprawdzić stan urzadzenia).
Czynnosci przygotowawcze
- Nie nalezy umozliwiać dzieciom korzystania z urzadzenia.
- Nie nalezy wączać urzadzenia, sąli w poplitu znajduję są innie osoby.
- Podczas pracy naleźychronic oczy iuszy. Zabepieczenia naleźnosic calcy czas podczas praczy z urzadzeniem.
- Nie nalezy nosic luzych lub zwisajycch ubran ani ubran ze zwisajacymi elementami, takimi jak paski lub sznurki.
-Urzadzenie uzywac wylacznie na wolnej, twardej i plaskiej powierzchni (nie nalez y uzywac w povlizu scen i innych obiectow stalych). - Nie uzywać urzadzenia na powierzchni zwirowej.
- Przed Rozpoczeciem przy z urzadz eniem nalezy sie upewnic, ze wzystkie s Ruby, sworznie i innate elementy ruchome są dobrze przymocowane do urzadzenia, a Pokrywy i ekrany ochronne znajduja sie na swoim miejscu.
- Uszkodzone albo nieczytelne etykiety naleź wymienić.
Kabel

Uwaga! Uszkodzenia kabla moze stać six przyczyna porazenia elektrycznégo.
W razie przechecchia lub uszkodzenia kabla, bezpiecznik nie zawsze zadzia.
-
Nie nalezy dotykać przywodu przyd wycnięciem wtyczki z gniażda.
Uszkodzony przy wod nalezy wymienic. Nie nalezy dokonywać napraw kabla przy pomocy taśmy izolacyjnej. -
Naprawy kabla powinny być wykonywane wylącznie przyżfachowcow.
Kabel nie powinien szorowac o ostre krawedzie i przydmioty. - Niezaciskać kabla, zamykajć drzwī lub okna.
- Nie wolno usuwacwcznikow i wytcznikow, nie wolno ich takze mostkowa.
Nalezy stosowac wyłacnie przywoe nie lzejszy od gumowego weza, typ: HO 7 RNF, minimaly przykraj: 3 × 1 , 5 ~m^2 dlugosc: maks. 25 ~m .
Kable powinny byc zabeepieczzone przed woda.
Obsluga
- Przed Rozpoczeciem przy z urzadzeniem nalezy sie upewnić, ze lej wrzutowy jest pusty.
Nalezy zachowac odpowiedni odstep między cialem a urzadzeniem. - Nie nalezy umieszczacr rak i innych czeci ciala oraz ubrania w povlizu leja wrzutowo, kanalu wyrzutowo ani innych ruchomych elementów.
Zawsze naleź zapewnic sobie rownowage i stabilne oparcie. - Nie pochylać sie do przydodu. Przy wrzucaniu materiały nie stać wyzej niż urzadzenia.
- Podczas uruchamiania urzadzenia nie stać w obszarze wyrzutu
-
Przy wrzucaniu materialiu naleź sie upewnic, ze nie zawiera on elementów metalowych, kamieni, butelek, puszek oraz innych ciał obczych.
-
Ježeli do urzadzenia dostana sie ci ale obce albo wydobywajcie z niego nietypowe odglosyczy wibracje, nalezy natychmiast wyłaczyc urzadzenia. Odlaczyc urzadzenia od pradu i wykonac ponizsze czynnosci:
-
Sprawdzić,czy urzadzenie nie jest uszkodzone.
- Sprawdzic,czy wzystkie elementy urzadzenia sa odpowiednio przymocowane, w razie potrzeby dokrecic je.
- Naprawic lub wymienic uszkodzone czeci (uzywac wyłacznie oryginalnych czeci firmy WOLF).
Nalezy zapobiega cromadzeniu sie materiau w obszarze wyrzutu, gdy z moze to uniemozliwiac odpowiedni wyrzut materiau i cofanie sie go do otworu wrzutowo.
W razine zatkania urzadzenia nalezy wylaczy silnik i odlaczyczasilanie przy Rozpoczeciem czyszczenia.
Nalezy zapobiegać gromadzeniu sie odpadów w silniku w celu ochrony silnka przyd uszkodzeniami i przyegrzaniem.
Nalezy sie upewnic,czy wzysztkiePokrywy i ekrany ochronne sa w dobrym stanie oraz znajduja sie we wsiawym przyscu.
- Nie nalezy przyzewozić urzadzenia przy wączonym silniku.
- Po zakońzeniu przy sąȩ wyłączyć si Inik i odźćzyc urzadzenia od prȩdu.
- Nie nalezy przechylac urzadzenia przy wączonym silniku.
Konserwacja i przechowywanie
- Podczas konserwacja, przechowywnia lub wymiany czesci urzadzeniaNSE wy sie upewnić, ze jest ono odłaczone od zrodla zasilania. Zatrzymać wszystkie ruchome czesci urzadzenia. Przed przystapieniem do konserwacja, ustawiania itd. daneź odczekać, az urzadzenia ostygnie.
- Podczas konserwaczji noźy urzadzenia naleź wymią pod uwage fakt,ź moga są one poruszać mimo wymią zonego silnika.
Utylizacja

Urzadzen elektrycznych nie wolno wyrzucac razem
z domowymi odpadkami. Urzadzenie, akcesoria
oraz opakowanie nalezy poddać utylizacje zgodnia
z przypepisami ochronyŚrodowska.
Uzytkowanie
Czas wykonywania prac
Prosz przesterzegac przyepisow obowiazujacych lokalnie.
Prosz zapyac w odpowiednim urzedzie o godziny, w ktorych wolno prowadzic prace ogrodnicze.
Podlaczanie do gniazdka elektrycznego (230 Volt, 50 Hz)
Nalezy podlączać urzadzenia jedynie do gniazd, ktore są zabezmieczzone bezpiecznikiem 16 A (lub gniazd typu B).

Uwaga: Bezpiecznik pradu uszkodzeniowego
Te bezpieczniki chronià na wypadek dotknięcia uszkodzonych przywodów i wad izolacje, a w pewnych przypadkach zapobiegajä také czkim obrażeniom w razie uszkodzenia przywodów pod napieciem.
- Sprzet nalezy podlaczac wytcznie do gniazda zabezmiezonego bezpiecznikiem prudu uszkodzeniowego (RCD), przy wartoosci prudu uszkodzeniowego ponizej 30mA
Dostepne sq zestawy modernizacyjne dla starych instalacji. Naleź skonsultowac sie z technikiem elektrykiem.
Praca z rozdrabniark?

Nosic rxkawice ochonne oraz chronicuszy!
- Stanowisko roboczne znajduje sie z przyd u lub z boku urzadzenia. Nigdy nie nalezy stać w obszarze wyrzutu urzadzenia.
- Nie umieszczacć konczyn w otworze wrzutowym ani wyrzutowym.
- Przed wączeniem urzadzenia naleź sie upewnić, ze w leju napelniajacymNie znajduja sie zadne odpady.
W przypadku, gdy do urzadzenia dostana sie ciała obce lub wydobywaja sie z niego nietypowe dzwieki lub wibracja, naleź niezwlocznie wylaczyc urzadzenia. Natestpnie naleź odłaczyc urzadzenia odźrdla zasialnia i wykonac nastepuiece czynnosci; - Sprawdzić urzadzenia i dokrecić luźne elementy.
- Wymiethnicuszkodzone czȩci.
- Naprawy powinien wykonywac wyspecializowany zaklad naprawczy.
Przeznaczenia rozdrabniarki
Urzadzenie sluzy do Rozdrabniania opadow organicne z domu i ogrodu, np. galezi drzew i krzewow, przyekwitnietychkwiatow, opadow kuchennych.
Czego niewolnorozdrabniac?
Szkla, elementów metalowych i plastikowych, butelek plastikowych, kamieni, ubran, korzeni wraz z ziemia, odpadów po potrawach, miesie i rybach.
Włacznie/wylacznie

- Aby wączyć urzadzenia, naleź ynescić zielony przycisk B.
- Aby wylaczyc urzadzenie, nalezy nacinac czerwony przycisk C.
Konserwacja
Zalecenia ogolne:

Przed Rozpoczciem konserwaci i czyszczenia urzadzenia nalezy odlaczyc zasilanie! Podczas konserwaci nozy nalezy zwrocić uwagx na fakt, ze moga six one poruszac mimo wylaczonego silnika.

Urzadzenia zostalo wyposazone w wylacznik beziepceznstwa, ktory zapobiega przypadkowemu wlaczeniu urzadzenia w razie awarii zasilania.
Zabepieczenie przy bez przyceniem

Przeciȩzenia urzadzenia (np. poprzej zablokowaniakiego noźmy)...MHz prowadzić do zatrzymania przyc. W celu zapobieȩzenia uszkodzeniom silnika zabezpieciezenia przyd.Przeciȩzenia automatycznie wymipty zasilanie.
- Przed ponowym Rozpoczeciem przytie sązy odczekać przyznajmiej jeder minute, po czym nacisnac przycisk Reset Aa nastepnie przycisk Wlacz/Wylacz.
Przelacznik kierunku obrotu

Przelcznik kierunku obrotu umozliwa odklokowie materialu, któr six zablokowal w urzadzeniu.
Ustawienie E
Urzadzenie wciaga material do srodka.
Ustawienie D
Urzadzenie dziala w odwrotnym kierunku, co pozwala na wciagniecie zablokowanego materialiu.
-
Przelacznik kierunku obrotuw pozycji .D
-
Przycinac i przytrzymać zielony przycisk. B

Przelacznik kierunku obrotu besoiny byc wykorzystwyany\ jedynie przy wylaczonym urzadzeniu.
Szcęgólowe wskazówki dotyczne rozdrabniania
Galezie i drewno nalezy rozdrabniac krtok po sceciu (Trudno rozdrobnic drewno po loro wyschnieciu. W zwiazku z tym maksymalna srednica elementow, ktore moga byc rozdrabniane, zminiejsza sie.).
Nalezy usunac odgalezionia w przypadku mocno rozgalezionych gatezi.
-Obrobka odpadów, zawierajacych duza ilosc wody (np. odpadow ogrodniczych lub kuchennych)要去 prowadzic do zaklejenia elementow urzadzenia (takie odpady nały obrabiac nazmiane z drewnem w celuuniknięcia zatkania urzadzenia).
- Nie naleźny pozwalać na gromadzenia sie odpadów w obszarze wyrzutu. Może toUniemozliwiac wsiuciwe wyrzucanie elementów. W nastepstwie sąźⁿawocfanie sie materiały do oworu napelniajacego.
Do urzadzenia wkladać elementy o wlasciwej srednicy.
- Urzadzenie samo wciaga wkladane elementy.
Nalezy unika przeciązania i blokOWANIA urzadzenia poprzej popychanie wkladanych elementów.
Nalezy pracowac w rxkawicach ochronnych.
- Urzadzenie nalezy przechowywać w suchym mięscu, do ktorego nie majora dostepu daneci.
Czyszczenie

Przed RozpoczxCiem konserwaci i czyszczenia urzadzenia nalezy odlaczyc urzadzenie od pradul
- Aby przyduzyc zwyotnosc urzadzenia, nalezy traktowac je znalezyta starannoscia oraz regularnie czyscić.
Upewnicie, ze otwory wentylacyjne urzadzenia sa czyste. - Do czyszczenia urzadzenia nalezy uzywac szmatki zmoczonejciepla woda oraz miekkie szczotki.
- Nie pozostawiać urzadzenia mokrego ani nie oblewac go woda.
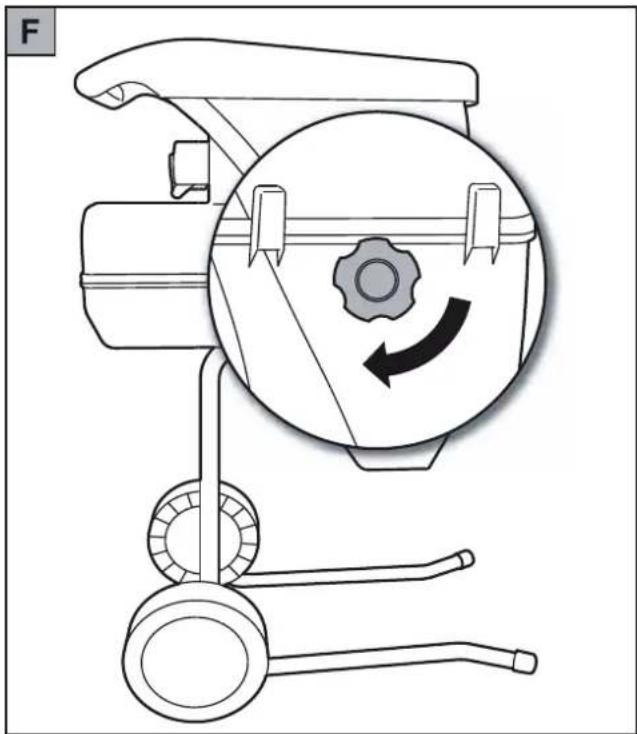
Konfiguracja mechanizmu tnacego

Urzadzenie jest ustawione fabrycznie i nie ma potrzeby konfiguraci podczas pierwSzego uruchamiania.
- Włączycz urzadzenia.
- Przekrecić Pokretlo zgodnie ze wskazówkami zagara, aż do uslyszenia charakterystycznégo dzwieku oraz wypadniaćia małych aluminowych elementów z kanalu wyjsciowego (Noźestana sąsciwie ustawione. Material;będzie lepiej obrabiany.).

Rozwiagywanie problemów
Problem Mozliwa przyczyna Rozwi空气质量
| Silnik sie nie uruchamia | ●Brak zasilania ●Sprawdzić zabepezieczenie ●Usterka kabla zasilajacjaco ●Przeciȩzenia urzadzenia (Silnik jest wyposzaźny w y空气质量 bezpiecieżstwa i w razie przeciȩzenia wę空气质量 sie automatyczne). | ●Sprawdzić kabel zasilȩćy (kontrola przy elektryka) ●SilnikMZ mość być ponownie wączyń po przy przerwie na schłodzenia (około 5 min.). |
| Silnik załącza są, ale nie uruchamia są | ● Blokada noźby ● Usterka kondensatora | ●Zmienić kierunek obrotu, wączyć i wyczyȩscić urzadzenia. ●Oddać urzadzenia do naprawy do warsztatu firmy WOLF. |
| Material ≠ jest wciagany do urzadzenia | ●Zȩ ustawuminium wączynika ●Material ≠ blokuje są w uzadzeniu ●Za miękki albo za mokry material ●Zuȩcycie wȩ ostrzy | ●Zmienić kierunek obrotu. ●Zmienić kierunek obrotu, wączyć i wyczyȩscić urzadzenia. ●Popchność material przy pomocy gałezi. ●Ustawić Mechanizm tnący |
| Material ≠ jest dobrze obrabiany | ● Płyta noźny są wąSciwu wie uzawiona. | ●Ustawić Mechanizm tnący. |
W raziejakichkolwiekwatpliwości proszx skontaktowac six z serwisem firmy WOLF.
Uwaga: Przed przystapieniem do jakichkolwiec czynnosci przy nozuczy tez kontrli, nalezy wylaczyc urzadzenie i odlaczyc wtyczkx od zrodla zasilania.
Warunkigwarancj
Wypelniona przysz prszedawcx kartx gwarancyjna wzglxdnie dowod zakupu nały starannie przechowywać.
Firma WOLF-Garten udziela gwarancji na okres 2 lat od daty zakupu zgodnie z danym stanem technicznym oraz celem/obszarem zastosowania. Ponizsze wytyczne gwarancyjne nie naruszaja ustawowych spraw uzytkownika.
Warunki 2 lat spraw do swiadczén gwarancyjnych:
-Urzadzenie przyznaczone jest wyłacznie do uzytku prywatnégo.
Gwarancja zostaje ograniczona do 12 mieszcy,重点领域 urzadzenie stosowane jest w sektorze uslugowym lub na potrzeby wypożyczali.
- Prawidowej obchodzenia sie z urzadzeniem oraz przyestrzejanie wskazowej zawartych w instrukcji oblsugi, ktora jest integralna czȩci naszych warunkowy gwarancyjniych.
-
Przeestrzejanie zalecanej czestolwość prac konserwacyjnych.
Niedokonywanie samowolnyzhzmian konstrukcyjnych. -
Montañ oryginalnych céşci zamiennych oraz wyposañenia firmy WOLF.
- Przedozenia wypelnionej karty gwarancynej i/lub dowodu zakupu. Gwarancja nie obejmude normalneo zužycia akumulatorów, nozy, częsci mocujacych noź, jak tarcze cierne, pasów klinowych/zebatych, kól/opon, fi ltra powietrza, swiec zapłonowych i końcowski przewodu zapłonowej. W przypadku przyperowadzenia samodzielnej naprawy prawa do swiadczemu gwarancynych wygasaja automatycznie. Wystepujuce bledy lub braki, tkorych przyczyna są bledy materialowe lub nieprawidłowosci wykonania, usuwane są wyłacznie przy bez nasze punkty serwisowe (sprzedoȩajy posiada sprawo do przyperowadzenia napraw) znejdujace są Waństwa najbliszzej odlegósci lub bezposrednio przyez producenta. Wyklucza są przywa wykraczące poza swiadczenia gwarancynej. Nie istmieje sprawo do dostawy zastępczej. Ewertualne uszkodzenia transportowe nały zglaszaćNie nam, lecz odpwiedzialnemu za transport urzadzenia spedytorowy, poniewaN w przechiwnym razie przypedañaj roszczenia w stosunku do spedytra.
Odstrańovanie poruch 72
Podmienky zarukey 73
ProstaInstrukcja