SDL 2500 - Mekanik parçalama makinesi Wolf Garten - Ücretsiz kullanım kılavuzu
Cihazın kılavuzunu ücretsiz bulun SDL 2500 Wolf Garten PDF formatında.
Sık sorulan sorular - SDL 2500 Wolf Garten
Kullanıcıların soruları hakkında SDL 2500 Wolf Garten
0 soru bu cihaz hakkında. Bildiklerinizi cevaplayın veya kendinizinki sorun.
Bu cihaz hakkında yeni bir soru sor
Cihazınız için talimatları indirin Mekanik parçalama makinesi PDF formatında ücretsiz! Kılavuzunuzu bulun SDL 2500 - Wolf Garten ve elektronik cihazınızı yeniden ele alın. Bu sayfada cihazınızın kullanımı için gerekli tüm belgeler yayınlanmaktadır. SDL 2500 markasının Wolf Garten.
KULLANIM KILAVUZU SDL 2500 Wolf Garten
Kullanim kilavuzunu dikkatte okuyunuz, ve kumanda parçalarınin ve cihazın檩ğru kullanildigiÖgreniniz. Kullanıci,çişileri ve mülklerini kapsayan kazalardan sorumludur. Hatılatmaları, açıklamaları ve talimatlar goz onünde bulundurun. Kullanim kilavuzunuz bir sonraki kullanım icin muhafaza edin.

Kullanim talimatlari nibmeyen sahislarin ve cocosclarin cihazi kullanmasina asla izin vermeyiniz. 16 yasindan kucuk genclerin cihazi kullanmasi yasaktir. Yerel yasalar kullanin asgari kullanim yasin belirleyebilir.
icindekiler
Güvenlik talimatlari. 93
Kullanim 94
Bakim 96
Arizalarin giderilmesi 97
Güvenlik talimatlari
Simgelerin açıklanması Genel Hatılatmalar

Uyari!
Calistirmadan once isletim talimatlarini okuyunuz!

Motor calisir vaziyettyken firlayan parcalar nedeniyle - yapilan isle ilgisi olmayan kiseleri, evcil hayvanlar tehlike bolgesinden uzak tutunuz.

Ayar, temizlik ve bakim calismalarindan once kabolarin hasar gormesi halinde fişiGPC baglantisindan cekin!

Dönen böcklara dikkat ediniz.
Makine calisirken ellerinizi ve ayaklarinizi boşluklara tutmayıniz.

Koruyucu eldiven giyinin.

Göz ve kulak koruyucsu kullaniniz.

Rutubetten koruyunuz.
Kullanimdan once baglanti kablosunu hasara vya yipranmaya karsi inceleyiniz.
Güç baglanti kablosu cihazin kullanilmasi esnasinda hasar görürse, Güç baglanti kablosuna ançak fisin Güç baglantisindan seksilmesinden sonra dokunulabilir.
Dikkat! Motor duruktan sonra, bicakarl calismaya devam eder.
Fi prizden asagidaki durumlarda cekiniz: cihazdan uzaklastiginizda,
- kilitlenmeyi (blokaji) gidermeden once,
- - cihazi gozdenGPCirmeden, temizlemeden veya tamir etmeden once;
- bir yabanci madde isabet ettiiginde (Cihazi hasarlara karsti kontrol ediniz ve gerekli oldugunda tamir ediniz),
Cihaz yogun sekilde titreme yapiyorsa (Cihazi derhal kontrl ediniz).
Önlem hazirliklari
Hicbir zaman cocuklarin cihazi kullanmasina izin vermeyiniz.
Yakinda insanlar bulundugu surece cihazi calistirmayiniz.
Kulaklik ve koruyucu gozluk kullaniniz. Cihazi calistirdiginiz tum sure boyunca bunlari cikarmayiniz.
Bol veya sarkan tipte kiyafet ya da sarkik kemerleri ve kurdeleleri olan giysiler giymeyiniz.
Cihazi sadece aik alanda (yani, duvara yakin veya sert bir nesneye yakin degil) ve sert, diz bir yuzey uzerinde kullaniniz.
Cihazi cakilla kaplanmig bir yuzey uzerinde kullanmayiniz.
Cihazi kullanmaya baslamadan once, tum civatalar, somunlar, pimler ve diger tespit malzemeler sabit bir sekilde yerlerinde oturup oturmadiklari ve kapaklarin ve koruyucu levhalarin yerlerinde olup olmadiklari kontrol edilmelidir.
- Hasarli veya okunaksiz etiketler degiistirilmelidir.
Kablo

Dikkat! Hasarli kablo sebebycle elektrik carpmasi
Kablo kesildiginde veya hasar gordugunde, guvenlik
sigortasi her zaman hareket etmez.
Elektrik fisini prizden sikarmadan once kabloya dokunmayin.
Hasarli kablo tamamen yerlesteilmelidir. Kabloyu yalitm bandiyla onarnak yasaktir.
Kablodaki tamiratlari yalinizca bir uzmana yaptiriniz.
Köselere, sivri veya keskin nesnelere surtmeyiniz.
Kabloyu kapi veya pencere araliklarina sikisturmayiniz.
Kumanda tertibatlari uzaklastirilmamali ya da koprulenmemelidir.
- Plastik hortumdan daha hadif olmayan bir uzatma kablosu kullanin, turi: HO 7 RN-F, asgari kesit alani 3 × 1.5 ~mm^2 , uzunluk: azami. 25 m.
Kablolar su puskurtmeye karsi korunakl olmalidir.
Kullanim
Cihazi calistirmadan once, girisi (alma) hunisinin bos oldugundan emin olunuz.
- Basinizi ve vucutunuzu giriş hunisine yeterince mesafe dedirakiniz.
Eller, organlar ve ve kiyafet giris hunisine, atm kanalina vya diger hareketli parçalarin yakinina getirilmemelidir.
Daima dengede durmaniza ve yere saglam basmaniza dokkat ediniz.
One do gru egilmeyiniz. Materyalin iceri atilmasi esnasinda higbir zaman cihazdan yuksekte olmamaya dikkat ediniz.
Cihazin calistirmaya baslarken kendinizi daima atim bolgesinin disinda tutunuz.
Materyalin iceri atilmasi esnasinda ozellkle, metalin, tasin, sigenin, kutularin veya diger yabanci maddelerin bulunmamasina ozen gosteriniz.
Kesme alelterine yabanci madde girse, vya cihaz alislagermis sesler cikariyorsa, ya da anomal sekilde titreme yapiyorsa, motoru derhal durdurunuz ve cihazin hareketsiz kalmasini bekleyiniz. Elektrik fisini cekiniz ve asagidaki adimlaruyugulayiniz:
Cihazda hasar olup olmadigiin kontrl ediniz
- Parçaların sikliklari nkontrol ediniz ve gerekirse yüz konusu parçaları ilaveten.Sincez
- Her turlu hasar gormus parcalari tamir ediniz vya deigistiriniz (sadece ornal WOLF yedek parcalari kullaniniz).
Islenmis materyalleri atim bolgesine yigmayiniz, bu durum dokru atim seklini engelleyebilir ve materyallerin giris deligiinden geri tepmesine neden olabilir.
Cihaz tikaliysa, motoru durdurunuz ve elektrik fisini, temizlige,. baslamadan once cekiniz.
Motorun hasarlardan ve asiri isinmadan korumak icin motorun coplerden ve diger yiginlardan arimis olmasina dikkat ediniz.
Tum kapaklarin veyonlendiricilerin yerlerinde ve iyi bir durumda olup olmadiklarina dikkat ediniz.
Cihazi motor calisirken taismayiniz.
Ca Iisma bolgesini terk eder etmez, motoru durdurunuz ve elektrik fisini cekiniz.
Cihazi motor calisirken devirmeyiniz.
Bakim ve depolama
Cihaz bakim, depolama veya bir aksesuari degistirme amacli devre dişi birakilmisga, guc kaynaginin devre dişi ve elektrik fisinin seksili oldugundan emin olunuz. Butun hareketli parçalarin duragan konumda oldugundan emin olunuz. Cihazi bakim, ayar vs. calismalarindan once soğumaya birakiniz.
Kesme aletinbakimi yapilmasi halinde, motor durdurulmog olmasina ragmen kese m aletin ilave olare bir sure daha calisiyor olmasini daima goz onune aliniz.
Tasfiye

Elektronik cihazlar evdeki coplerle birlikte atilmaz. Cihazi, aksesuari ve ambalajini cevre dostu bir yeniden kullanim icin ilgili yere gonderiniz.
Kullanim
Calisma suresi
Lutfen yerel talimatlari gozetiniz.
Calisma surelerini yerel makamlara sorunuz.
Prizdeki baglanti (230 Volt, 50 Hz)
Cihazi sadece bir 16 Amp. sigortasi taqiyicisi (veya LS salteri Tip B) ile emniyete alinmis prizlere baglayiniz.

Not: Geride kalan akimdan koruma aleti
Bu koruma tertibatlari, hasarli kablolara olan temaslardara, izolasyon hatalarinda ve belirl durumlarda gerilim aldindaki kablolarin hasar gormesi durumunda dahi agir yaralanmalara karsi koruma saglamaktadlar.
Cihazin yalnizca 30 mA'dan fazla olmayan geride kalan akimdan koruma cihazi (RCD) ile korunan bir elektrik przyzine takilmasini oneririz.
- Eski kurulumlar icin uyarlama seti bulunmaktadir. Bir elektrik tekni syenine danisiniz.
Bahçemakinesileçalisirken

Koruyucu eldiven ve kulaklik takiniz!
Cihazin yaninda veya arkasinda yer alacak sekilde bir calisma konumu aliniz. Hiçbir zaman atm bolgesinde durmayiniz.
Hiçbir zaman dolum veya atim deligine elle muddahale etmeyiniz.
Cihazi kontrol etmeden once, dolum hunisinde kesilmis kalintilarin bulunup bulunmadigini kontrol ediniz.
Yabanci nesnelerin dolum hunisine girmesi durumunda veya cihaz, anomal sesler cikariyor veya titreme yapiyorsa, cihazi derhal kapatiniz ve durana kadar bekleyiniz. Elektrik fisi nici cekiniz ve asagidaki noktalari yerine getirinz:
Cihazi kontrol ediniz ve gezek parçaları sikilastiriniz.
-HasarI parcalari degistiriniz.
-Cihazdaki tamir islerini bir uzman servise yaptirtiniz.
Nelerkesilebilir
Evden ve bahçeden Çikan organik atiklar orn. calık ve ağac kesiminden gerije kalın kalıntilar,;cıçeklerin artiklari,mufak atiklari.
Nelerkesilemez?
Cam, metal parçalar, plastikler, plastik poEetler, taElar, kumaE artJklarJ, toprakIJ kokler, yemek, balJk ve et atJklarJ.
Devreye alma/Devreden cikarma

- Devreye almak icin yeEil duHmeye basJnJz .B
- Devreden ÇJkarmak icin kJrmJzJ duHmeye basJnJzC.
Makine, bir elektrik kesintisinin ardindan yanlisliklata tekrar devreye alinmaması icin bir koruma salterine sahipir.
Aşirlikoruması
Cihaza asiri yuk binmesi (orn. kesme silindirinin bloke olmasina kadar) birkac saniye sonra cihazin tamamen durmasina neden olabilir. Motoru hasarlardan korumak icin, cihaz otomatik okayak asiri yuk koruması tarafindan guc kaynagindan ayrilr.
-Once geralma duHmesine VA sonra da ACMA/KAPAMA Ealterine basmadan once tekran calJEtJrmaya baElamadan once en az bir dakika bekleyiniz.
Donus yonu salteri
Donus yonu salteri, sikusan bir materyali serbest birakmaya olanak tanir.
Konum E
BJcaklar OHutlen materyali iceri ceker.
Konum D
Kesici gerije doHru doner ve sJkJEan tum malzemeleri tekrar serbest bJrakJr.
-
DonuE yonu Ealteri Bonumunda.
-
YeEil duHmeye B basJnJz ve basJJ halde tutunuz.
Donus yonu salteri sadece cihaz devre deisiyken kullanilabilir.
Budamaya iliskin özel açıklamalar
Budama iEleminden hemen sonra filizleri, dolarJ ve odunarJ (bu kesilen urunler kuruduktan sonra cok sertleEirler, azami iElenebilir dal capJ bu nedenle duEer) kesiniz.
YoHun budaklanma durumunda yan filizleri uzaklaEtJrJnJz.
YoHun su emen, yapJEmaya neden olan bahce ve mutfak atJklarJnJn iElenmesi (bunlarJ cihazda bir TJkanmayJ onlemek icin donuEuml olar tahtadan kesilen urunlere uflTJz).
Kesilen urunun atJm bolgesinde fazla yukseHe gelmesine izin vermeyiniz. Bu durum kesilen urunun atJm kanaiJnJ tJkamasJna neden olabilir. Buna baHIJ olarak GiriE deliHinden materyal geri tepebilir.
CihazJnJzJn ilgili azami iElenebilir dal capJna uyulmasJna dikkat ediniz.
Kesi ci alet kesilen urunu mumkun olduHunca KendiliHinden iceri ceker.
KalJn dallarda dalJn birçok kez gerçekilmesi suretyle motora aEJrJ yuk binmesini ve motorun bloke olmasJnÖnleyiniz.
Bakim
Genel
!Butunbakimve temizlik calismalarindan once elektrik fisini cekiniz!
Kesme aletinin bakimi yapilmasi halinde, motor durdurulmug olmasina ragmen kesme aletinin ilave olarak bir sure daha calisiyor olmasini daima goz onune aliniz.
Koruyucu eldiven giyiniz.
Cihazi daima tocuklar icin erislimez olan kuru bir yerde muhafaza ediniz.
Temizlik
!Butun bakim ve temizlik calismalarindan once elektrik fisini cekiniz!
Cihazitina gostererek kullaniz ve cihazimrunu artirmak icin duzenli aralklarla temizleyiniz.
Havalandirma yariklarini temiz ve tozdan arindirimis olarak tutunuz.
Cihazin temizlenmesi icin sadece sicak ve nemli bir bez yumşak bir FIRCA kullaniniz.
Cihazin Islanmaması saglayiniz ve cihaza su tutmayiniz.
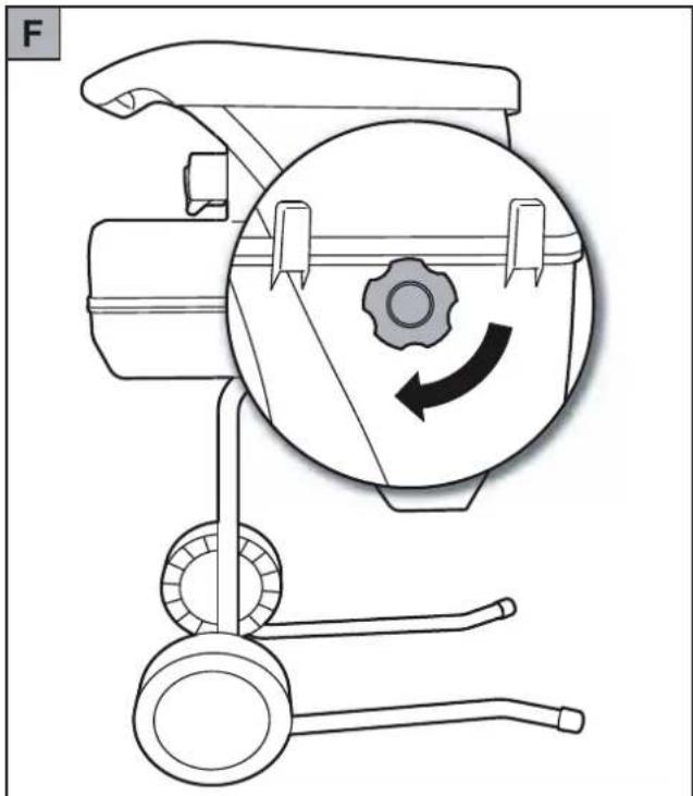
Kesme aletinin ayari F
Kesme aleti fabrika tarafindan ayarlanmistir ve ilk isletime alindiiginda ayarlanmasina gerek yoktur.
1.Cihazi calistiriniz.
2. Ayar dugmesini, taqlama sesleri duyulana ve alumiyum talaslarin atim bolmunden cikana kadat yonunde ceviriniz (kesme plakasindaki asinan yerler en uygun sekilde dendgelenir. Kesilen urunler tekar da h i yi bir sekilde kesilip ayirilir).

Arizalarin giderilmesi
| Problem Olası neden Önlük | ||
| Motor ilelemiyor | Ağ gerilimi eksikBağlanti kablosu arizalıCihaza aşkı yükbindi (Motor bir koruma olteriyledonatilmalık ve aşkı yük durumunda cihazı otomatikolarak devredenmiş). | Emniyeti kontrol edinKabloyu kontrol ettiriniz (Elektronikuzman)Motor bir次会议 suresinden (yakl. 5dk.)sonra tekrar calistirilabilir. |
| Motor homurduyor, amaçalşmiyor | Kesme silindiri bloke olmugasKondanzator arizalı | Dönus)yünundehyegriftiniz, ardında ncdihazıdevredençıkariniz ve temizleyiniz.Cihazı tamir edilmesi icin WOLF muşterihizmetleri atolyesine veriniz. |
| Kesilen ürün icericekilmiyor | Şalter konumu yanlışKesilen ürün huni sikişkı durumdaKesilen ürün;cok yumşak vya nemliKesme silindirinde asınma | Dönus)yünun un uyarlanmasıDönus)yünundehyegriftiniz, ardında ncdihazıdevredençıkariniz ve temizleyiniz.bir dalla arkadan ittiriniz ve kestirinizKesme aletini ayarlayın |
| Kesilen ürün temizbirsekilde kesilipaprilmýor | Ilave kesme plakasi yeterli seksilde ayarlanmamış. | Kesme aletini ayarlayın. |
Süpheli durumlarda her zaman WOLF Bakim-Atölyesine basvurunuz.
Dikkat: Cihazi her kontrl veya bicakla calisma oncesinde durdurunuz, ve elektrik fiagini kekiniz.
Garanti Kosullari
Satici tarafindan garanti kartini veya alisveris belgesini güvenli bir yerde saklayiniz.
WOLF-Garten sirketi, satin alim tarihinden itibaren 2 yil boyunca gänümuz teknojoi seviyesine ve kullanim amacina/kullanim alanina uygun bir garanti hizmeti vermektedir. Son tuketicinin yasal haklar, asagida belirtilen garanti kosullarindan etkilenmemektedir.
2 yīl garantīden faydalanmak içın gerekli on kosullar:
-Cihazin sadece kiisisel kullanim amaciyla kullanilmasi.
Ticari amaçli kullanimda veya kiralamalarda garanti suresi 12 ayadusmektedir.
- Garanti kosullarimizin bir parcasi alan kullanim talimatlari dokultusunda kullanim ve tum uyarilarin dikkate alinmasi.
- Ongorulen bakim araliklarina riayet edilmesi.
-Tasarimda yetkisiz degisiklik yapilmaması. - Original WOLF yedek parcalarin/aksesuararin kullanlmasi.
- Doldurulmus garanti kartinin ve/veya alisveris belgesinin ibraz edilmesi.
Garanti, akulerin, bicaklarin, surtunme diskleri gibi bicak tespit parcalarin, kama/disli kayislarin, hareketli carklarin/tekerlerin, hava fi trelerin, bujilerin ve buji suketlerin normal asinmasini kapsamaz. Yetkisz yapilan onarimlarda her turlu garanti aninda gelerliligi ni yirmektedir. Sebepleri malzeme yeva uretim hatasa bagli olan eksikler ve kusurlar sadece yakininizdaki yetkili servislerde (satici kusurlar giderme hakkina haizdir) yeva daha yakinda olmasi halinde, uretici tarafindan ciderilecektir. Garanti kapsami disindaki tum talepler geçersizdir. Makinenin komple değistirilmesi talap edilemez. Nakliye sirasinda ortaya;cikabilecek hasarlar,aksi takdirde soz konusu sirkete)yönelik tazminat talepleri intikal ettirilemeyeçinden, dokrudan ilgili nakliye sirketine bildirilmelidir.
Meydana gelen hata ve kusurlar, bunlarin malzeme üzerindeki sonuclarin - veya bitim hatalarin telafi edilmesi yakininizdaki anlasmai atolyelerimizde veya daha yakin olmasi durumnda imalatcı tarafindan gereklesteirilmektedir (satici dizeltme hakkina sahiptir). Garantinin kapsam haricindeki talepler cegersizdir. Yedek parca teslimati talebi yoktur. Nakliyat zararalarin bize degil ilgili nakliyatciya bildiriniz aksi halde tazminat talebi hakkin kaybedersiniz.
Euxapiotoupe TOnu yia Tnv ayopacuto Tou PpoivtoC Tc WOLF

UIYbaote TPOOeKTiKa Tc Ondyies Xpans KYI
Eoikeiweite me TY oToixeiY xeipioox KYI tn Owatn
Xpnan Tou mXvnuToc. O xpntns EivY UTeXeuvos
Y TYuxnuTy priwv n Tpokanon Znmuov otny
Tpeiouai Tou. Tnpite Tc ODnyies, Tc Eynaeic KYI
Tc Dytaceis. DuAeTE TPOOeKTiKa Tc ODnyies XpnoN
YIETeTIy xpnn.

Mny Ynvte TOTe TYiDi n aALY aTOU Y, TY OToiY yywipouv Tc odnyies xpnans, vY xpnaioTIOXV TO unxavnmu. Etns, eTTpeTETY n xpnoTns YTo vYpa atoMu KATW Tuv 16 tuv. OI toNIkeS dYtaceic evdoexTvi VY opicouv To eaXIOto opio naIKiYc Tou xpntn.
NepieXóEvα
O8nyies YoYxIyS. 98
AetoupyiY 99
Σuvπρηση 100
Avtuietwni npoBnauv. 101
Opoi eyyxnonc 102
Osnyies aopaaia
Enaaia twv ouufoawr evikc odnyiec

PnoεIδoTroiŋσ!
Piiv Tnv evYp9n Tn5 aeitoupyiYs diYbaote Tc odnyie xpnons!

Kivvoc YTIO EKIVYaOoEvY Iepn OTYv o KIVtnpYc BiioKETYI Oe AIToupyI -TpIY aTOU, KYtoiKOiY I KYI aAAY ZwY BY TpeTeV Y evouv yKpiA YTO nTV TEPioxkivxvou.

PiYIO epyOies pXoung, KYOPIaOx KI ouvtnpnOg KYI O TepiTTwn BApns Tou KYawoiou, YTOoovEeTo x Y YTOV TpiY!

PpoexTe TY TepiOppeoEvY
yXyipY.MnVbaCETe TY TIOIY KYITY
xepiY OYcOTY YvoiyTY,otYv
Aetoupyei nynxYvni.

ΦopATE TPOoTYTeutika yavTIY.

Φopate TpOoTYTeutiko μYTIwV KYI YKoNc.

IpooTYTEXOTE YTOUyPOyOIY.
Piv n xpion tou KYawoiu tropoooiYc eEyEte yIY evoeieicis Baaqns n IYYawon.
Av to KYAomega tropooooyC utooatei n KYta tn diapkeiY Tns xpongs, mny to YyyieTe Tpiiv ByaaleTo BxouY YTIO TnV TpiCiY.
Ppooyn! TY yXyipI Y EYkoAouOoxv vY KIOoVrYi KYi μετa to σβnσiμo tou kivntnpY.
ByaTeTOBxOyYToTynIpi CY -OTyVYnveTeTOynXavnY,
-ππiv YπoμYKpxvETε μπδiY,
-πpiv ελέγξετε, κΥθΥροετη ἡπιακεύσετε Μμχανημγ,
-Yv ouyVytnoYTe eVY oWuYtiOY (eAevETo mXavnuY iY BλaBεC KYI ETIOKEUoTe, Yv xpeiaTуi),
-YvTo mnxavmY DovietY eTVOTV (eAeYsTe TnV YmuOwC).
PpOaTnKα μετρα
Mny Ypivete TOTe ^a xpooiotiooxv to uXavuY.
Mny xpnoiopoioie Te TOTe To uXavnY, Yv utapxouv KovTa atoY.
Φopate TPOOTYTEUTIKA YKON KI TPOOTYTEUTIKA yUYIA. Φopate TY KYθ' oAN tN δiAPKEI Y λεIToupyiYtou μnXVnμYTOc.
Mny φopáte ΦYpδiá n μYKpiá poxy Y Tnou KpeμovrYi Kατω n poxy Y e Tipavteç n KopóviY.
XpnoioutoieTe to n xavnUy mOvo sto xTyrpo (0nAYo n oxKovtao 6e Toio n aAlo oTyrEpo YvtkeiEvO) KYI 6e OTepen,ETITEN 514VcY.
MnyxnpoiitooiteTe to npxavnY oE YAYkootpOtn EITiAPeYI.
Pniv nV evYp5n aeitoupyiYG tou mXvnyTOG, 0Y pTei VY eAeyTe Tn Owotn epYpOyN oAW vTwv BiOW, twv NfUyDiwv KY1 TWV MTOAUovW, KY0wC KY1 TWv aAAWv meoW vstepewng KY1 VY BcBiyIomegae OTY KAYxmuTYY KTY TPOOTYEUTIKA BpiokovrY1 OTN tEaon Touc.
-AvIKYrOtnoTe TY KYTEoTpYmuEvYn duoYvayvwotY YutokoAantY.
Kaλωδιο

Ppoooyn! HAEKPTponla aTRO qBapuEvkaawdi
Otav to kaawio kobetai n oepetai, ev evpyoioi tari tvan aopaaia.
Mny ayyicTe To kaawio, Tpv byaaleTo kaawio Tpoqooiaa ato tv npica.
To kateopapmuvo kaowio npetiei navta va avtikaiotatai. Aattayopeuai va etIOKEuaeTe to kaowio eovwtkn taivia.
OI EITIOKEUc Oa KaWoi TIPETe VAYoVTO aO tioEiKO.
PpOoTeUeTeTo aTROaIXμεS, μUTeN aixμnpa avtkeiμεva.
Mny Tepvate To Kaawio aTo TOpTe n TApaUpa, dIOTI TIEETAI.
Xpnoiotoei ovo kaowio Tpoektao n oxiaaeputeo ano eaoikoc owahya, turo: HO 7 RNF, xaiotn diatoun 3× 1 5 m m koc: ev.25 m.
Ta kaIomegaII pTeTIE VA δiaθEToUV aδiαβpoxη TIpooTaia.
XeipiooC
Bεβaiωθeite πριν ηχροδι Κου μnxavμatoc Θι έανη ειαaywγns ειλικενή.
KpatnoTe To kepai KaI To oWpa Oac paKpi aTIO To avoivya Eoiaywns.
Mnvyzete Ta xepia oas, aaaa np Tou owpatos aac kai pouxa otn xoavn Eioaywyns, 0to kavali Eeyawync n Kovta e aaaa kivnta epn.
Ppoexe TnVtn VIOOP poTia kai tn Oaepn oac Theon.
Mny oKubeTe mTPOoTa. KaT a Tnv Eiaaywyn Tou uAikou nV OTEKEOTIe TAVW aTO Uxavnua.
Kata nTv evapen Ieitoupyias tou unxavmuatoa va neveTe TnVTA EKTOS nCswns Eaaywns.
KaTaNvEioaywn Tou uikou va TPOeXETIaitepa va mnu Unpoxuva eaoae auto metaalaa, TETPec, MTOUKaia, Kovoepec n aalaa Eevavntkeiueva.
Av taoauv tov Teuaxiotn Eva oomegaia n aoTo uXavna aokuvoyta TepiepyoBopuo n TpooeTe Tapaeeves doyoeic, atevepyoToinote kateueeiav to Kivntnpa kai apnote To unxavna va atapatnei. AtoouvdeTo peuatoan nn kai ekeleote Ta npakatw Bmuata:
KolayKılavuz