KD65XG8096 - Televizija SONY - Brezplačna navodila za uporabo
Brezplačno poiščite navodila za napravo KD65XG8096 SONY v formatu PDF.
Pogosto zastavljena vprašanja - KD65XG8096 SONY
Prenesite navodila za vaš Televizija v formatu PDF brezplačno! Poiščite svoja navodila KD65XG8096 - SONY in vzemite svojo elektronsko napravo nazaj v roke. Na tej strani so objavljeni vsi dokumenti, potrebni za uporabo vaše naprave. KD65XG8096 znamke SONY.
NAVODILA ZA UPORABO KD65XG8096 SONY
*V imenih dejansikh modelov »□□« oznacuje stevilke in/ali znake, ki veljajo za posamezen model.
Zakupce
Za namen zašcite izdelka in iz varnostnih razlogov druzba Sony močno priporoča, da montažo televizorja prepustite prodajalcem Sony ali pooblašćenim izvajalcem. Montaže ne poskusajte izvesti sami.
Za prodajalce Sony in pooblascene izvajalce
Pri montaži, rednem vzdřeovanju in pregledih tega izdelka bodite izredno pozorni na varnost.
Za montažo tega izdelka potrebujete dovolj znanja, to še posebej velja za dolocanje nosilnosti stene glide na težo televizorja. Stensko montažo tega izdelka zaupajte prodajalcem Sony ali pooblasčenim izvajalcem, med samo montažo pa bodite posebej pozorni na varnost. Družba Sony ne odgovarja za nobeno škodo ali poskodbo, ki je posledica malomarnega ravnanja ali nepravilne montaže.
Zaradi varnosti in ustrezne montaže sledite Navodilom za uporabo nosilca za stensko montažo, Priročniku za namestitev TV in napotkom v teh navodilih.
O varnosti
Zahvaljujemo se vam za nakup tegia izdelka.
Zakupce
Za vgradnjogo tega izdelka potrebujete dovolj znanja. Vgradnjpo prepustite prodajalcem Sony ali pooblasenim izvajalcem in bodite med vgradnjgo se posebej pozorni na varnost. Podjetje Sony ne prevzema odgovornosti za kakrsno koli skodo ali telesne poskodbe, ki nastale zaradi nepravilnegra ravnanja ali vgradnjie ali zaradi vgradnjce cesar koli razen predpisana izdelka. To ne vpliva na vase (morebitne) pravice, ki jih imate kot potrošnik.
Za prodajalce Sony
Za vgradnjogo tega izdelka potrebujete dovolj znanja. Obvezno temeljito preberite ta priročnik za vgradnjno, da boste lahko varno opravilni vgradnjno. Podjetje Sony ne prevzema odgovornosti za kakršno koli škodo ali telesne poskodbe, ki nastale zaradi nepravlinega ravnanja ali vgradnjne. Po vgradnj diaje ta priročnik kupcu.
Ta priročnik z navodili opisuje pravilno ravnanje iz idelkom in dane pomembna ravnostna navodila za preprečevanje nesreč. Obvezno temeljito preberite ta priročnik in pravilno uporabljate izdelek. Ta priročnik shranite za uporabo v prihodnje.
Izdelki Sony so razviti tak, da so varni.
Vseeno pa lahko pri nepravilni uporabi izdelkov pride do hudih telesinih poskodb
zaradi pozara, elektricnaega urada,
prevraanja izdelka al padca izdelka. Za preprecevanje takih nesre obvezno
upostevajte varnostna navodila.
POZOR
Predpisani izdelki
Ta nosilec za stensko montazo je namenjen za uporabo s predpisanimi televizorji. Pri televizorjih gleje Referencni vodič, da vidite, ali lahko uporabljate nosilec za stensko montazo.
Zakupce
OPOZORILO
Cne upostevate naslednjih varnostnih navodil, laho pride do hudih telesnih poskodb ai smtri zaradi pozara, elektricnega udara ai padca izdelka.
Vgradnjo prepustite pooblaschenim izvajalcem in pri tem pazite, da v blizini ni majhnih otrok.
Ce nosilec za stensko montazo ali televizor nista pravilno vgrajena, lahko pride do naslednjih nesre. Poskrbite, da vgradnjno opravijo pooblašeni izvajali.
- Televizor lanko pade in povzroči hudo telesno poskodbo, na primer podplatbo ali zlom.
- Ce je stena, na katero je vgrajen nosilec za stensko montažo, nestabilna, neravna ali nepravokotna na tla, lahko enota pade in povzroci telesne poskodbe ali materialno skodo. Stena mora prenesti najmanj Štirikratno težo tevizorja. (Za težo tevizorja glejtne njegov Referenčni vodic.)
- Če vgradnjá nosilica za stensko montažo ni dovolj trdna, lahko enota pade in povrozči telesne poskodbe ali materialno škodo.
Selitev ali snemanje televizorja prepustite pooblascenim izvajalcem.
Ce televizor prevazajo ali snemajo osebe, ki niso poobla'sceni izvajlci, lahko pade in povrozci teltesne poskodbe ali materialno skodo. Poskrbite, die televizor prenašata ali smemata vedn no majnajd vde osebi (najmjan tri osebe pri 75-palcinih in vecjih televizorjih).
Ne odstranite vijakov itd., ko vgradite televizor.
Sicer lahko televizor pade in povzroci telesne poskodbe ali materialno skodo.
Ne predelujte delov nosilca za stensk o ntazo.
Sicer lahko nosilec za stensko montažo pade in povzroci telesne poskodbe ali materialno skodo.
Ta nosilec za stensko montazo je namenjen za uporabo samo s predpisanimi izdelki. Če namestite opremo, ki ni predpisana, lahko pade ali se polomi in povzroč telesne poskodbe ali materialno skodo.
Na nosilec za stensk o montozo ne namešćajte nobenega drugega bremena kot televizor. Televizorja ne tresite v smeri levo/desno ali navzgor/navzdol.
Sicer lahko televizor pade in povzroci telesne poskodbe ali materialno skodo.
Na televizor se ne naslanjaje in se nanj ne obesajte.
Na televizor se ne naslanjate in se nanj ne obesajte, saj lahko pade na vas in povzroci hude telesne poskodbe.
POZOR
Ce ne upostevate naslednjih varnostnih navodil, lahovite do telesnih poskodb ali materialne skode.
Izdelka med cischenjem in vzdrrzevanjem ne obravnavajte s preveliko silo.
Na zgornjo stran televizorja ne delujte s preveliko silo. Sicer lahko televizor pade in povzroci telesne poskodbe ali materialno skodo.
Varnostna opozorila
- Ce dolgo uporabljate televizor, namešcen na nosilcu za stensko montažo, se lahko stena za ali nad televizorjem razbarva ali pa se lahko odlepi tapeta, odvisno od materiala stene.
- Če odstranite na steno vgrajeni nosilec za stensko montažo, ostanejo luknjé za vijake.
- Nosilca za stensko montazo ne uporabljate na mesti, kjer bi lahko bil izpostavljen mehanskim tresljajem.
Vgradnja nosilca za stensko montažo
Za prodajalce Sony
OPOZORILO
Ta navodila so namenjenaismo za prodajalce Sony.Obvezno preberite zgornja varnostna navodila in bodite med vgradnjco, vrdrzevanje ter preverjanem tega izdelka posebej pozorni na varnost.
Nosilca za stensko
montažo ne namestite na
stenske povrsine, kjer bi
vogali ali stranice
televizorja štrleli stran od
povrsine stene.
Nosilca za stensko montazo ne namestite na
stenske povrsine, kot so stebri, kjer bi vogali
ali stranice televizorja streli stran od
povrsine stene. Ce se oseba ali predmet
zadane ob streci vogal ali stranico
televizorja, lahko povzroci telesne poskodbe
ali materialno skodo.

Televizorja ne vgradite nad ali pod klimatsko napravo.
Če je televizor dolgo izpostavljen puščanju vode ali zračnim tokovom iz klimatske napravne, lahko zato Pride do požara, elektrickega udara ali okvare na televizorju.
Nosilec za stensko montažo obvezno trdno vgradite na steno po navodilih v teh navodilih za uporabo.
Če je kateri od vijakov razrahljan ali pade, lahko nosilec za stensko montažo pade in povrozci telesne poskodbe ali materialno skodo. Obvezno uporabite primerne vijake za material stene in trdno vgradite enoto z majnanj Štirimi vijaki premera 8 mm (ali enakovrednimi).

Obvezno pravilno
uporabite priložene
vijake in prisdritvene
dele, skladno z navodili
v tem priročniku z
navodili. Če uporabite
druge dele, lahko
televizor pade in koga
telesno poskoduje ali
pa se lahko poskoduje
televizor.
Obvezno pravilno sestavite nosilec po navodilih, ki so razložena v teh navodilih za uporabo.
Ce je kateri od vijakov razrahljan ali pade, lahko televizor pade in povzroci telesne poskodbe ali skodo na televizorju.
Vijake obvezno trdno zategnite na predvidenem mestu.
Ce tegane storite, lahko televizor pade in koga telesno poskoduje ali pa se lahko poskoduje televizor.
Pazite, da med vgradnjo televizorja ne izpostavite udarcem.
Ce je televizor izpostavljen udarcem, lahko pade ali se polomi. To lahko povzroci telesne poskodbe.
Televizor obvezno
vgradite na navpično in
ravno steno.
Sicer lahko televizor pade in povzroci telesne poskodbe.
Po pravilni vgradnji televizorja pravilno pritrdite kable.
Ce se Ijudje ali predmeti zapletejo v kable, lahko to koga telesno poškoduje ali pa se lahko poškoduje televizor.
Ne dovolite, da bi prihajalo do stiskanja napajalnega ali povezovalnih kablov.
Ce se napajalni ali povezovalni kabli stisnejo med enoto in steno ali se na silo zvijajo ali upogibajo, se lahko razkrierejo notranji vodniki, kar lahko povzroci kratek stik ali elektrino prekinitev. To lahko povzroci pozar ali elektrici ni udar.

Vijaki za pritrditev nosilca
za stensko montažo na
steno niso priloženi.
Pri vgradnji nosilca za stensko monta zo uporabite vijake, ki so primerni za material in zgradbo stene.
Vsebina
Priprava za vgradnjo 5
Preverjanedelov 5
Priprava na vgradnjo televizorja. 9
KD-75XG80□□ 9
KD-65XG81□□/65XG80□□ 10
KD-55XG81□□/55XG80□□ 11
KD-49XG81□/49XG80□/43XG81□/43XG80□ 12
Namestitev televizorja na steno. 14
KD-75XG80□□ 14
KD-65XG81□□/65XG80□□/55XG81□□/ 55XG80□□/49XG81□□/49XG80□□/ 43XG81□□/43XG80□□
Preverjanje vgradnje. 19
Druge informacije 19
Tehnični podatki 19
Vgradnja televizorja na steno
Postopek vgradnje se razlikuje glede na televizor.
Za pritrditev televizorja na steno uporabite Nosilec za stensko montazo SU-WL450.
Opomba
- Ce je na televizor pritrjeno Namizno stojalo, ga pred prićetkom montaže odstranite. Glejte Priročnik za priapravo in opravite korake v obratnem vrstnem redu, da odstranite drugo stran namiznegа stojala.
Kadar namescate dele za pritrditev Nosilca za stensk o mntazo ali pri odstranjevanju Namiznega stojala, televizor polozite z zaslonom navzdol na ravno in stabilno povrsino, ki jo pred tem prekrijte z debelejsim mehkim blagom, da preprecite poskodbezaslona LCD. - Odstranjene vijake shranite na varnem mestu, zunaj dosegatotrok.
Priprava za vgradnjo
Pred montažo imejte pri roki Referencni priročnik za TV in Priročnik za namestitev.
Pred sestavljanjem poskrbite, da imate križni izvijač, ki se prilega vijakom.
- Potrdite mesto vgradnje televizorja.
- Pripravite rajmanj stiri vijake premera 8 mm in en premera 5 mm ali enakovredne (niso prilozeni). Izberite vijake, ki so primerni za material stene.
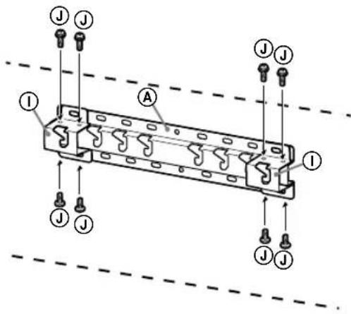
Preverjanje delov
Priloženo pri SU-WL450
- Preverite, ali so vsi deli prilozeni.
| A Podstavek (20) (1) B Škripec (2) | |
| ◎ Vijak 6x20 (4) ⊕ Vij | jak 4x20 s pušo (2) |
| ◎ Distančnik (20) (2) F Jermen (1) | |
| ◎ Puša (20) (M4) (2) H Vijak 4x20 (2) | |
| ①Prilagodilnik podstavka (2) | ◎ Vijak 4x10 (8) |
| ◎ Distančnik (60) (2) L Vijak 6x50 (2) | |
| ◎ Puša (M4) (2) N Vij | jak 4x50 (2) |
Izbiranje mesta vgradnje
1 Odločite se za mesto vgradnje.
Na steni naj bo dovolj prostora za televizor, stena pa mora prenesti najmanj štirikratno težo televizorja.
Za stensko montažo televizorja upostevajte naslednjo tabei. Težo televizorja preverite v Referencnem vodiču televizorja.

Enota: mm
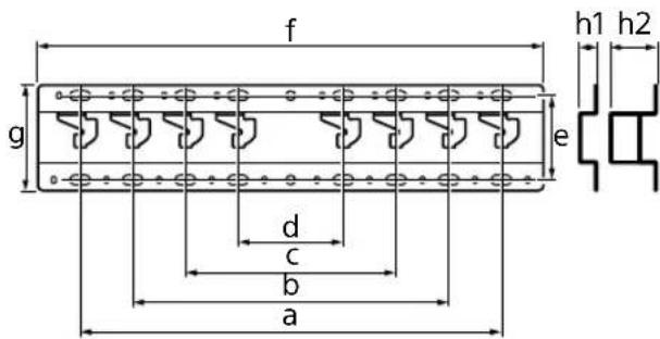
| Naziv modela | Mere zaslona | Središčna mera zaslona | Dolžina nosilca | |||
| a | b | c | d | e | ||
| Standardni nosilec | Tanki nosilec | |||||
| KD-75XG80□□ | 1.686 | 970 | 202 | 690 | 142 | 100 |
| KD-65XG81□□ | 1.463 | 845 | 173 | 597 | 142 | 100 |
| KD-65XG80□□ | 1.463 | 845 | 173 | 597 | 142 | 100 |
| KD-55XG81□□ | 1.241 | 721 | 95 | 460 | 141 | 100 |
| KD-55XG80□□ | 1.241 | 721 | 95 | 460 | 141 | 100 |
| KD-49XG81□□ | 1.101 | 645 | -15* | 314 | 119 | 78 |
| KD-49XG80□□ | 1.101 | 645 | -15* | 314 | 119 | 78 |
| KD-43XG81□□ | 970 | 570 | 23 | 315 | 119 | 77 |
| KD-43XG80□□ | 970 | 570 | 23 | 315 | 119 | 77 |
- Položaj nosilca je pod središćno točko zaslona.
Opomba
Vrednosti v tabeli se lahko rahlo razlikujugo glede na vrsto montaze.
Pri stenski montaži televizorja se zgornja stranica televizorja malce nagne naprej.
Pazite na primerno razdaljo med televizorjem in stropom ter strlecimi deli stene, kot je prikazano spodaj.
Enota: mm

-
Za zagotovitev ustreznega prezračevanja in preprečevanje nabiranja umazanje ali prahu:
-
Televizorja ne polagajte plosko, ne namescajte ga obrnjenega na glavo ali zzaslonom ali s stranico proti steni.
- Televizorja ne postavljaje na polico, preprogo, posteljo ali v omaro.
- TelevizorjanePokrivajteskrpoalipredmeti,ketje casopisipd.
- Televizorja ne namešćajte, kot je prikazano spodaj.
Kroženje zraka je blokirano.

Opomba
- Ce nameravate napeljati kable po steni, pred začetkom vgradnje naredite luknjov steni, da vstavite kable.
Da preprecite stiskanje kablov, prijavite luknjov steni zunaj območja podstavka (20) A, prilagodilnik podstavka 1 in distancnika (20) E, distancnika (60) K.
2 Izberite način vgradnje na steno. Razdalja od zadnje strani televizorja do stene je nastavljiva, kot kaže spodnja slika.
2-a Standardni nosilec
2-b Tanki nosilec
3 Za položaj prisrditve
prilagodilnika podstavka glejte
spodnjo tabei. Če izberete 2-b,
preskočite ta korak.
| Naziv modela Lokacija kavlja | |
| KD-75XG80□□ | |
| KD-65XG81□□ | b |
| KD-65XG80□□ | |
| KD-55XG81□□ | |
| KD-55XG80□□ | |
| KD-49XG81□□ | c |
| KD-49XG80□□ | |
| KD-43XG81□□ | d |
| KD-43XG80□□ | |

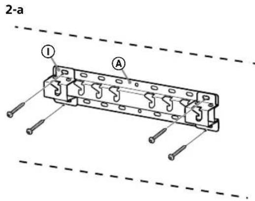
Namestite prilagodilnik podstavka ① z vijakom (PSW 4x10) ② na podstavek (20) A, ce izberete 2-a.

4 Dolcite polozaje vijakov za vgradnjo podstavka (20) A. Glejte tehnicne podatke na strani 19. Ce izberete 2-a, uporabite polozaje lukenj prisagodilnika podstavka ①.
OPOZORILO
Stena mora prenesti najmanj stirikratno tezo televizorja (Za tezo televizorja gleje njegov Referencni vodič.).
Dolocite nosilnost stene, na katero boste namestili televizor. Po potrebi ustrezno okrepite steno.
Vgradnja podstavka na steno
- Prijavite najmanj stiri vijake premera 8 mm ali enakovredne (niso prilozeni).
- Namestite štiri vijake na luknje prilagodilnika podstavka ① s podstavkom (20) (samo 2-a).
- Podstavek (20) A vgradite vodoravno na steno.


Priprava na vgradnjotelevizorja
Za montazo stojala si preberite Priročnik za namestitev.
KD-75XG80□□
1 Na steni označite mesto vgradnje.
- Za označevanje položaja televizorja v blizini podstavka ali prisagodilnika podstavka uporabite maskirni trak itd. (ni priložen). Glejte naslednjo tabelo.

Enota: mm
| Naziv modela | Dolžina za označevanje | Središčna mera za SLona | ||
| a | b | c | d | |
| KD-75XG80☐☐ | 1.686 | 564 | 150 | 202 |
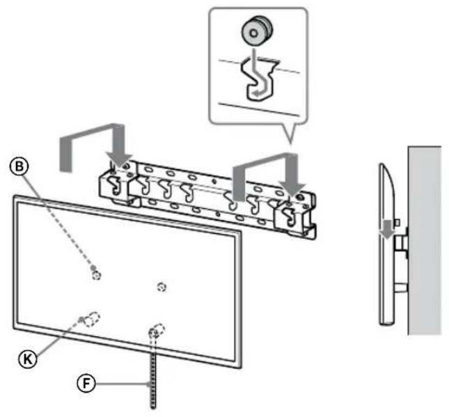
2 Namestite dele za pritrditev Nosilca za stensko montazo. Preverite dele za pritrditev, glejte Prilozeno pri SU-WL450« v Preverjanje delov« na 5. strani.
Opomba
- Dele za pritrditev trdno prritdte z vijaki.
Pri uporabi elektricnega izvija cnavor nastavite na priblizno 1,5 N-m{15 kgf·cm}.
Rabljene ali nerabljene dele obvezno shranite na varno za uporabo v prihodnje. Shranite ta prirocnik za prihodnjo uporabo.
Standardni nosilec (2-a)

Tanki nosilec (2-b)
Opomba
Pri tem naclinu vgradnje ne morete uporabljati dolocenih priključkov na zadnji strani televizorja.


3 Na televizor priključite potrebne kable.
Pred vgradnjo televizorja na steno obvezno prikljucite kable. Ko je televizor vgrajen, kablov ne boste mogli prikljuciti. Gleje televizorju prilozen Referencni vodič.
Opomba
Napeljevanje kablov v steni prepustite pooblascenemu izvajalcu.
- Se preden namestite napravo na zid, zvijte priključne kable, da ne boste hodili po njih.
4 Namizno stojalo odstranite s televizorja.
- Odstranite vsako stran namiznegastojala posebej. Namizno stojalo trdno primite z obema rokama, drugi pa njdvignejo televizor.

- Ponovite prejsnji korak in odstranite drugo stran namiznegstaojala.
Opomba
Za odstranjevanje namiznega stojala so potrebne najmanj tri osebe.
- Pazite, da pri odstranjevanju namiznega stojala s televizorja ne uporabite prevelike sile, saj lahko sicertelevizor pade, kar lahko povzroci telesne poskodbe ali skodo na televizorju.
Pri delu z namiznim stojalom bodite previdni, da preprecite skodo na televizorju.
- Bodite previdni, ko dvignete televizor pri snemanju namiznegaa stojala, saj se lahko namizno stojalo prevrine in povzroci telesne poskodbe.
Pri snemanju namiznegaa stojala s televizorja bodite previdni, da ne pade in poskoduje povrsine, na kateri je televizor.
KD-65XG81□□/
65XG80□□
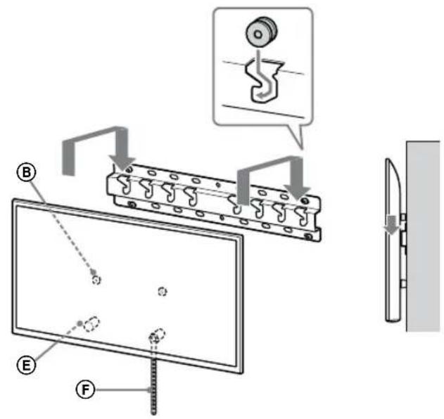
1 Namestite dele za pritrditev Nosilca za stensko montažo. Preverite dele za pritrditev, glejte «Priloženo pri SU-WL450« v «Preverjanje delov« na 5. strani.
Opomba
- Dele za pritrditev trdno pritrditez vijaki.
Pri uporabi elektricnega izvija cavor nastavite na priblizno 1,5 N·m {15 kgf·cm}.
Rabljene ali nerabljene dele obvezno shranite na varno za uporabo v prihodnje. Shranite ta prirocnik za prihodnjo uporabo.

Standardni nosilec (2-a)
Tankinosilec (2-b)
Opomba
Pri tem na Cinu vgradnje ne morete uporabljati dolocenih priključkov na zadnji strani televizorja.


2 Na televizor priključite potrebne kable.
Pred vgradnjo televizorja na steno obvezno priključite kable. Ko je televizor vgrajen, kablov ne boste mogli priključiti.
Glejte televizorju prilozen Referencni vodic.
Opomba
Napeljevanje kablov v steni prepustite pooblašćenemu izvajalcu.
- Se preden namestite napravo na zid, zvijte priključne kable, da ne boste hodili po njih.
3 Namizno stojalo odstranite s televizorja.
- Odstranite vsako stran namiznega stojala posebej. Namizno stojalo trdno primite z obema rokama, drugi pa njdvignejo televizor.

- Ponovite prejsnji korak in odstranite drugo stran namiznega stojala.
Opomba
- Za odstranjevanje namiznega stojala so potrebne najmanj tri osbe.
- Pazite, da pri odstranjevanju namiznega stojala s televizorja ne uporabite prevelike sile, saj lahko sicer televizor pade, kar lahko povzroci telesne poskodbe ali skodo na televizorju.
Pri delu z namiznim stojalom bodite previdni, da preprecite skodo na televizorju. - Bodite previdni, ko dvignete televizor pri snemanju namiznega stojala, saj se lahko namizno stojalo prevrne in povzroci telesne poskodbe.
Pri snemanju namiznegaa stojala s tevizorja bodite previdni, da ne pade in poskoduje povrsine, na kateri je tevizor.
KD-55XG81□□/55XG80□□
1 Namestite dele za pritrditev Nosilca za stensko montazo. Preverite dele za pritrditev, glejte Prilozeno pri SU-WL450« v Preverjanje delov« na 5. strani.
Opomba
- Dele za pritrditev trdno pritrditez vijaki.
Pri uporabi elektricnega izvija cnavor nastavite na priblizn0 1,5 N-m{15 kgf·cm}.
Rabljene ali nerabljene dele obvezno shranite na varno za uporabo v prihodnje. Shranite ta prirocnik za prihodnjo uporabo.

Standardni nosilec (2-a)
Tankinosilec (2-b)
Opomba
Pri tem naclinu vgradnje ne morete uporabljati dolocenih priključkov na zadnji strani televizorja.


2 Na televizor priključite potrebne kable.
Pred vgradnjo televizorja na steno obvezno priključite kable. Ko je televizor vgrajen, kablov ne boste mogli priključiti.
Glejte televizorju prilozen Referencni vodič.
Opomba
Napeljevanje kablov v steni prepustite pooblašćenemu izvajalcu.
- Se preden namestite napravo na zid, zvijte priključne kable, da ne boste hodili po njih.
3 Namizno stojalo odstranite s televizorja.

Opomba
- Bodite previdni, ko dvignete televizor pri snemanju namiznegaa stojala, saj se lahko namizno stojalo prevrine in povzroci telesne poskodbe.
Pri snemanju namiznegaa stojala s televizorja bodite previdni, da ne pade in poškoduje povrsine, na kateri je televizor.
KD-49XG81□□/
49XG80□□ / 43XG81□□ /
43XG80□□
1 Namizno stojalo odstranite s televizorja.

Opomba
- Televizor podložite z mehko krpo, da preprečite poskodbe załona.
- Za montazo stenskega nosilca ne uporabite vijakov, ki ste jih odstranili iz namiznega stojala.
- Odstranjeno namizno stojalo in vijake shranite na varnem mestu, zunaj dosegao otrok. Ce boste televizor zeeli nekoct spet postaviti na mizo, jih boste potrebovali. Namiznegaa stojala ni mogoce kupiti loceno.
OPOZORILO
- Televizor vklopite šele, ko stoji v navpicnem položaju. Ko tevizor leži obrnjen z zaslonom navzdol, pri tem ne sme biti vklopljen, da preprečite neenakomernost slike.
- Ce televizor izpostavite povecanemu pritisku ali močnemu udarcu, lahko pride do poskodbe ali okvare televizoria.
- Televizor položite na stabilno in ravno povrsino s prednjo stranjo navzdol tak, da namizno stojalo visi Čez rob te povrsine. Če tevizor in namizno stojalo položite na isto ravno povrsino, tevizor ne bo stabilen in zaradi tega lahko pride do poskodbe televizorja.
Pri odstranjevanju namiznegaa stojala s televizorjana mizno stojalo trdno primite z obema rokama.
2 Namestite dele za pritrditev
Nosilca za stensko montažo.
Preverite dele za pritrditev, glejte Prilozeno pri SU-WL450« v Preverjanje delov« na 5. strani.
Opomba
- Dele za pritrditev trdno pritrdite z vijaki.
Pri uporabi elektricnega izvija cnavor nastavite na priblizn01,5 N-m{15 kgf·cm}.
Rabljene ali nerabljene dele obvezno shranite na varno za uporabo v prihodnje. Shranite ta prirocnik za prihodnjo uporabo.

Standardni nosilec (2-a)
Tankinosilec (2-b)
Opomba
Pri tem naclinu vgradnje ne morete uporabljati dolocenih priključkov na zadnji strani televizorja.


3 Na televizor priključite potrebne kable.
Pred vgradnjo televizorja na steno obvezno prikljucite kable. Ko je televizor vgrajen, kablov ne boste mogli prikljuciti. Gleje televizorju prilozen Referencni vodič.
Opomba
Napeljevanje kablov v steni prepustite pooblascenemu izvajalcu.
- Se preden namestite napravo na zid, zvjte priključne kable, da ne boste hodili po njih.
Namestitev televizorja na steno
KD-75XG80□□
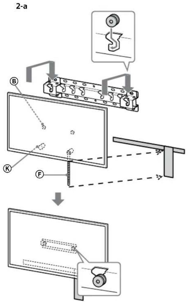
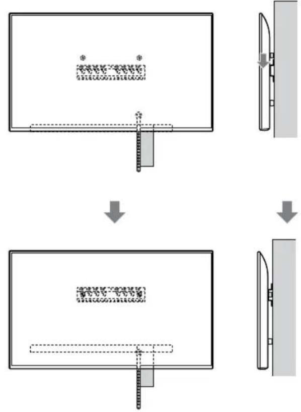
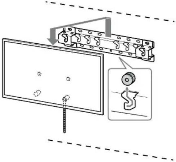
1 Dvignite televizor.
- Za mesto škripcev ⑧ za obesanje na podstavek ali prisagodilnik podstavka gleje tabela za korak 3 v «Izbiranje mesta vgradnej « na strani 7.
- Ko držite televizor, poskrbite, da se zadnji del televizorja dotika podstavka ali prislagodilnika podstavka.
Opomba
- Televizor dobro držite z obema rokama in se prepričajte, da sta jernen F in dno televizorj a poravnana z maskirnim trakom.
- Televizor nosite v troje, oseba, ki je pred televizorjem, pa naj druge usmerja, da prilagodijo položaj.

Pri vgradnji televizorja na steno bodite zelo previdni, se posebej za osebo, ki televizor podpira od spodaj, saj lahko televizor pade, kar lahko povzroci hude telesne poskodbe ali celo smrt.

2 Televizor vgradite na podstavek ali prilagodilnik podstavka.
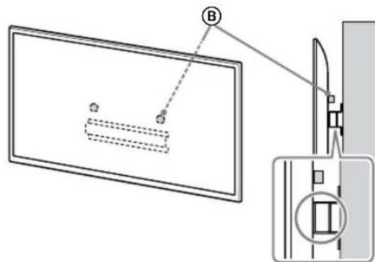
- Televizor previdno spustite navzdol in skripce ⑧, ki so pritrjeni na zadnjo stran televizorja, obesite na podstavek ali prislagodilnik podstavka, pri tem pa obvezno preverite obliko lukenj.
- Po vgradnji televizorja na steno potrdite, da so škripci (B) trdno zataknjeni v podstavek ali prilagodilnik podstavka.
- Pocasi sprostite obe roki, da zagotovite, da televizor ne pade.

- Po vgradnji televizorja na steno s stene odstranite maskirni trak itd.




OPOZORILO
- Poskrbite, da televizor pri prenašanju vedno držita najmanj dve osebi (najmanj tri osebe pri 75-palčnih in vecjih televizorjih).

3 Preprečevanje premikanja spodnjega dela televizorja.
Potegnite ohlapni del jermena (F) in gadobro pritrdite na steno.


- Uporabite vijak premera 5 mm ali enakovrednega (ni prilozen).
Opomba
- Spodnji del televizorja poskusite potegniti malo k sebi, da se prepri cate, da se ne bo premaknil naprej. Ce se premika, ni pravilno pritjen in morate znova trdno pritrditi jernen
KD-65XG81□□/
65XG80□□ / 55XG81□□ /
55XG80□□ / 49XG81□□ /
49XG80□□ / 43XG81□□ /
43XG80□□
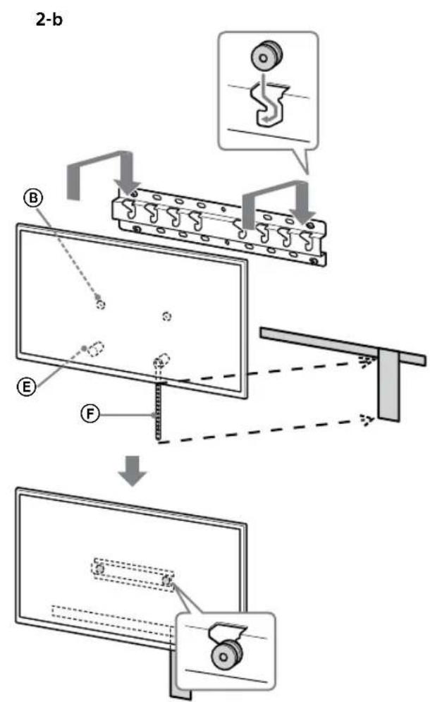
1 Dvignite televizor.
- Za mesto škripcev ⑧ za obesanje na podstavek ali prisagodilnik podstavka glejte tabela zo korak 3 v « Izbiranje mesta vgradnje « na strani 7.
- Ko držite televizor, poskrbite, da se zadnji del televizorja dotika podstavka ali prislagodilnika podstavka.

Opomba
- Televizor trdno držite z obema rokama.
2 Televizor vgradite na podstavek ali prilagodilnik podstavka.
- Televizor previdno spustite navzdol in skripce ⑧, ki so pritrjeni na zadnjo stran televizorja, obesite na podstavek ali prisagodilnik podstavka, pri tem pa obvezno preverite obliko lukenj.
- Po vgradnji televizorja na steno potrdite, da so škripci (B) trdno zataknjeni v podstavek ali prilagodilnik podstavka.
- Pocasi sprostite obe roki, da zagotovite, da televizor ne pade.


2-a

2-b

↓

↓
OPOZORILO
- Poskrbite, da televizor pri prenašanju vedno držita najmanj dve osebi (najmanj tri osebe pri 75-palčnih in vecjih televizorjjh).

3 Preprečevanje premikanja spodnjega dela televizorja.
- Potegnite ohlapni del jermena (F) in gadobro pritrdite na steno.


- Uporabite vijak premera 5 mm ali enakovrednega (ni prilozen).
Opomba
Spodnji del televizorja poskusite potegniti malo k sebi, da se prepri cate, da se ne bo premaknil naprej. Ce se premika, ni pravilno pritrjen in morate znova trdno pritrditi jernen
Preverjanje vgradnje
Preverite naslednje tocke.
- Skripci B so trdno zatakjni v podstavek ali prilagodilnik podstavka.
Kabli niso zviti ali stisnjeni.
Jernen F je napet.
OPOZORILO
Napačna postavitev izmenićnega napajalnega kabla itd. lahko povzroci požar ali elektrichi udar zaradi katkega stika. Poskbrite, da zaradi varnosti preverite vgradnjoo.
Druge informacije
Pri odstranjevanju televizorja opravite prejsnji postopek vgradnje v obratnem vrstnem redu.

OPOZORILO
- Poskrbite, da televizor pri odstranjevanju vedno držita najmanj dve osebi (najmanj tri osebe pri 75-palčnih in vecjih televizorjih).
Tehnični podatki

Mere: (priblizno) (mm)
a:400
b : 300
c:200
d : 100
e:80
f:480
q : 100
h1:20(pri 2-b)
h2:60(pri 2-a)
Teža (samo podstavek): (priblžno) (kg)
0.8
Zasnov in tehnici podatki se lahko kadar koli
nenapovedano spremenijo.
Informacije za instalaciju Sony nosača za postavljanje na zid (SU-WL450)
Podržani modeli:
KD-75XG80□□*/65XG81□□*/65XG80□□*/55XG81□□*/
LahkaNavodila