KD65XG8096 - טלוויזיה SONY - מדריך משתמש חינמי
מצא את מדריך המכשיר בחינם KD65XG8096 SONY בפורמט PDF.
שאלות נפוצות - KD65XG8096 SONY
הורד את ההוראות עבור טלוויזיה בפורמט PDF בחינם! מצא את המדריך שלך KD65XG8096 - SONY וקח בחזרה את המכשיר האלקטרוני שלך לידיים. בדף זה מפורסמים כל המסמכים הדרושים לשימוש במכשיר שלך. KD65XG8096 של המותג SONY.
מדריך למשתמש KD65XG8096 SONY
Informations d'installation pour l'utilisation du support de fixation murale sony (su-wl450)
Modèles pris en charge :
KD-75XG80□□* / 65XG81□□* / 65XG80□□* / 55XG81□□* /
- Dans les noms de modèles réels, « □□ » indique des chiffres et/ou des caractères propres à chaque modèle.
Pour des raisons de sécurité et de protection du produit, Sony recommande vivement de confier l'installation de votre téléviseur à des revendeurs ou installateurs/agréés Sony. N'essayez pas de l'installer vous-même.
À l'attention des installateurs et revendeurs Sony
Soyez particulièrement attentif à la sécurité pendant l'installation, l'entretien périodique et l'examen du produit.
L'installation de ce produit exige un certain savoir-faire, notamment pour vérifier la résistance du mur qui devra soutenir le poids du téléviseur. Veillez à confier la fixation de ce produit au mur à des revendeurs ou installateurs agréés Sony et portez une attention suffisante aux consignes de sécurité pendant l'installation. Sony ne saurait être tenue responsable de tout dommage ou de toute blessure découlant d'une mauvaise utilisation ou d'une installation incorrecte.
Pour la sécurité et une installation correcte, suivez le Mode d'emploi du support de fixation murale, le Guide d'installation du téléviseur et les consignes de ce manuel.
Sécurité
Nous vous remercions d'avoir fait l'acquisition de ce produit.
L'installation de ce produit exige un certain savoir-faire. Veillez à confier l'installation à des revendeurs Sony ou à des installateurs agréés et portez une attention particulière aux consignes de sécurité pendant l'installation. Sony ne saurait être tenue responsable de tout dommage ou de toute blessure découlant d'une mauvaise utilisation ou d'une installation incorrecte, ou encore de l'installation d'un produit autre que celui spécifique. Vos droits légaux (éventuels) ne sont pas affectés.
L'installation de ce produit exige un certain savoir-faire. Lisez ce mode d'emploi attentivement afin de procéder à l'installation en toute sécurité. Sony ne saurait être tenue responsable de tout dommage ou de toute blessure découlant d'une mauvaise utilisation ou d'une installation incorrecte. Une fois l'installation terminée, veuillez remettre ce manuel d'installation au client.
Ce mode d'emploi indique comment manipuler le produit correctement et contient des précautions essentielles à prendre pour éviter tout accident. Lisez attentionnément ce mode d'emploi et veillez à utiliser le produit correctement. Conservez ce mode d'emploi pour toute référence ultérieure.
Les produits Sony sont conçus pour vous offrir le maximum de sécurité. Toutefois, si les produits sont utilisés de façon incorrecte, ils peuvent entraîner des blessures graves en provoquant un incendie ou l'électrocution, ou encore la chute de l'appareil hors de son support. Veillez à observer les consignes de sécurité préconisées pour éviter de tels accidents.
Produits spécifiés
Ce support de fixation murale est conçu pour être utilisé avec les téléviseurs spécifiés. Pour plus d'informations sur les téléviseurs, reportez-vous à leur Guide de référence pour vous assurer que vous pouvez bien utiliser le support de fixation murale.
Avertissement
Le non-respect des consignes suivantes peut être fatal ou entraîner des blessures graves en provoquant un incendie, l'électrocution ou la chute de l'appareil.
Si le support de fixation murale ou le téléviseur n'est pas installé correctement, les accidents suivants peuvent se produire. Veillez à confier l'installation à des installateurs agréés.
Le téléviseur peut tomber et causer des blessures graves comme des hématomes ou des fractures. - Si le mur sur lequel le support de fixation murale est fixé est instable, inégal ou non perpendiculaire au sol, l'appareil risque de tomber et de provoquer des blessures ou des dommages matériels. Le mur doit pouvoir supporter un poids équivalent à au moins quatre fois celui du téléviseur. (Pour connaître le poids du téléviseur, reportez-vous à son Guide de référence.) Si l'installation du support de fixation murale n'est pas assez solide, l'appareil risque de tomber et de provoquer des blessures ou des dommages matériels.
Veillez à confier le déplacement ou le démontage du téléviseur à des installateurs agrées.
Si des personnes autres que des installateurs agréés transportent ou démontent le téléviseur, celui-ci peut tomber et provoquer des blessures ou des dommages matériels. Deux personnes au moins (trois personnes ou plus pour les téléviseurs de 75 pouces ou plus) doivent porter ou démonter le téléviseur.
Ne retirez pas les vis, etc. après l'installation du téléviseur.
Dans ce cas, le téléviseur pourrait tomber et provoquer des blessures ou des dommages matériels.
Ne modifies pas les pièces du support de fixation murale.
Dans ce cas, le support de fixation murale pourrait tomber et provoquer des blessures ou des dommages matériels.
N'installez aucun appareil autre que ceux spécifiés.
Ce support de fixation murale est conçu pour être utilisé avec les produits spécifiés uniquement. Si vous installez un appareil autre que ceux qui sont spécifiés, il aurait tomber ou se briser et provoquer des blessures ou des dommages matériels.
Ne secouez pas le téléviseur vers la gauche/ droite, le haut/bas.
Dans ce cas, le téléviseur pourrait tomber et provoquer des blessures ou des dommages matériels.
Ne vous appuyez pas sur le téléviseur et ne vous y suspendez pas.
Ne vous appuyez pas sur le téléviseur et ne vous y suspendez pas, car il risque de tomber et de causer des blessures graves.
Attention
Le non-respect des consignes suivantes peut entraîner des blessures ou des dommages matériels.
N'exerce aucune pression excessive sur le dessus du télévisieur. Dans ce cas, le télévisieur pourrait tomber et provoquer des blessures ou des dommages matériels.
Précautions
- Si vous utilisez le téléviseur fixe au support de fixation murale pendant une longue période, le mur situé derrière le téléviseur ou au-dessus de celui-ci peut se décolorer, ou encore le papier peint peut se décoller, selon le matériel du mur.
- Les trous des vis restent apparents si vous démontez le support de fixation murale après son installation.
- N'utilisez pas le support de fixation murale dans un endroit soumis à des vibrations mécaniques.
Avertissement
Les instructions suivantes concernent les détaillants Sony uniquement. Lisez attentivement les consignes de sécurité ci-dessus et accordez une attention particulière à la sécurité lors de l'installation, de l'entretien et de la vérification de ce produit.
N'installez pas le support de fixation murale sur une surface où les coins ou les côtés du téléviseur dépasseraient.
N'installez pas le support de fixation murale sur une surface verticale telle qu'une colonne, ou les coins ou les côtés du téléviseur dépasseraient de la surface murale. Si une personne ou un objet venait à heurter le coin ou les côtés du téléviseur, cela risquerait de provoquer des blessures ou des dommages matériels.

N'installez pas le téléviseur sur ou sous un climatiseur.
L'exposition prolongée du téléviseur à des fuites d'eau ou à des courants d'air provenant du climatiseur pourrait provoquer un incendie, l'électrocution ou des problèmes de fonctionnement du téléviseur.
Veillez à installer le support de fixation murale solidement en suivant les instructions de ce mode d'emploi.
S'il manque des vis ou si elles sont desserrées, le support de fixation murale pourrait tomber et provoquer des blessures ou des dommages matériels. Veiliez à utiliser les vis appropriées selon le matériel du mur et installez le téléviseur solidement en utilisant au moins quatre vis de 8 mm de diamètre (ou équivalentes).
Veillez à utiliser correctement les vis et les pièces de fixation fournies conformément aux instructions du mode d'emploi. Si vous utilisez d'autres éléments de fixation, le téléviseur pourrait tomber et causer des blessures corporelles ou être endommagé.
S'il manque des vis ou si elles sont desserrées, le téléviseur pourrait tomber et causer des blessures corporelles ou être endommagé.
Veillez à serrer les vis solidement dans la position indiquée.
Si vous oubliez, le téléviseur pourrait tomber et causer des blessures corporelles ou être endommagé.
Si le téléviseur subit des chocs, il pourrait tomber ou se briser. Ceci pourrait causer des blessures.
Dans le cas contraire, le téléviseur pourrait tomber et provoquer des blessures.
Une fois le téléviseur installé correctement, fixez solidement les câbles.
Si des personnes ou des objets s'accrochent aux câbles, cela risque de provoquer des blessures ou d'endommager le téléviseur.
Veillez à ce que le cordon d'alimentation CA ou le câble de raccordement ne soit pas coincé ni écrasé.
Si le cordon d'alimentation CA ou le cable de raccordement est coincé entre l'appareil et le mur, ou s'il est plié ou tordu, les conducteurs internes peuvent être exposés et provoquer un court-circuit ou une coupure électrique. Un incendie ou l'électrocution pourrait en résulter.

Les vis nécessaires à l'installation du support de fixation murale au mur ne sont pas fournies.
Utilisez les vis appropriées selon le matériel et la structure du mur lors du montage du support de fixation murale.
Table des matières
Préparation de l'installation 5
Vérification des pièces. 5
Choix de l'emplacement d'installation 6
Installation de la base au mur. 8
Préparation à l'installation du téléviseur...... 9
KD-75XG80□□ 9
KD-65XG81□□/65XG80□□ 10
KD-55XG81□□/55XG80□□ 11
KD-49XG81□/49XG80□/43XG81□/43XG80□
Installation du téléviseur au mur 14
KD-75XG80□□ 14
KD-65XG81□□/65XG80□□/55XG81□□/55XG80□□/49XG81□□/49XG80□□/43XG81□□/43XG80□□
Vérification de l'achèvement de
L'installation 19
Informations complémentaires. 19
Spécifications 19
Installation du téléviseur au mur
La procédure d'installation varie selon votre téléviseur.
Utilisez le support de fixation murale SU-WL450 pour installer le téléviseur sur le mur.
Remarque
- Si le support de table est fixé au téléviseur, retirez-le au préalable. Consultez le Guide d'installation et suivez les étapes dans l'ordre inverse pour démonter le support de table.
- Posez le téléviseur, écran vers le bas, sur une surface horizontalement stable recouverte d’un linge épais et doux lorsque vous installez les pièces de fixation du support de fixation murale ou lorsque vous détachez le support de table du téléviseur afin d’éviter d’endommager la surface de l’écran LCD.
- Les vis que vous retirez doivent être rangées en lieu sûr, hors de portée des enfants.
Préparation de l'installation
- Gardez le Guide de référence du téléviseur et le Guide d'installation à portée de main avant l'installation.
- Avant de procéder au montage, vérifie que vous disposez d'un tournevis cruciforme adapté aux vis.
- Vérifiez la position d'installation de votre téléviseur.
- Préparez au moins quatre vis de 8 mm de diamètre et une vis de 5 mm ou équivalente (non fournies). Choisissez des vis adaptées au matériel du mur.
Fournies avec le SU-WL450
- Vérifiez que vous disposez de toutes les pièces.
| A Base (20) (1) B Pou Lie (2) | |
| © PSW 6x20 (4) © PSW 4x20 avec manchon (2) | |
| E Entreose (20) (2) F Courroie (1) | |
| G Manchon (20) (M4) (2) | H PSW 4x20 (2) |
| I Adaptateur de base (2) | J PSW 4x10 (8) |
| K Entreose (60) (2) L PSW 6x50 (2) | |
| M Manchon (M4) (2) N PSW 4x50 (2) | |
1 Choisissez l'emplacement d'installation.
Assurez-vous que le mur dispose d'un espace suffisant pour le téléviseur et qu'il peut supporter un poids équivalent à au moins quatre fois celui du téléviseur.
Reportez-vous au tableau suivant lorsque vous installez le téléviseur au mur. Pour connaître le poids du téléviseur, reportez-vous à son Guide de référence.

Unité : mm
| Nom du modele | Dimensions d'affichage | Dimension du centre écran | Longueur de montage | |
| a | b | c | d | |
| Montage standard | ||||
| KD-75XG80□□ | 1686 970 202 690 142 100 | |||
| KD-65XG81□□ | 1463 845 173 597 142 100 | |||
| KD-65XG80□□ | 1463 845 173 597 142 100 | |||
| KD-55XG81□□ | 1241 721 95 460 141 100 | |||
| KD-55XG80□□ | 1241 721 95 460 141 100 | |||
| KD-49XG81□□ | 1101 645 | -15* 314 119 | 78 | |
| KD-49XG80□□ | 1101 645 | -15* 314 119 | 78 | |
| KD-43XG81□□ | 970 570 23 315 119 | 77 | ||
| KD-43XG80□□ | 970 570 23 315 119 | 77 | ||
- L'emplacement des parenthèses est sous le point central de l'écran.
Remarque
- Les chiffres repris dans le tableau peuvent varier légèrement selon l'installation.
- QuandVotre télécirsur est installé au mur, sa partie supérieure est légèrement inclinée vers l'avant.
Prévoyez un espace suffisant entre le téléviseur et le plafond ainsi que les parties saillantes du mur, tel qu'indiqué ci-dessous.
Unité: mm

- Pour assurer une bonne ventilation et éviter l'accumulation de poussière et de saleté :
- Ne posez pas le téléviseur à plat et ne l’installez pas tête en bas, à l’envers ou de biais.
- Ne placez pas le téléviseur sur une étagère, un tapis, un lit ou dans une armoire.
- Ne recouvre pas le téléviseur avec du tissu, notamment des tentures, ou des objets tels qu'un journal, etc.
- N'installez pas le téléviseur de la manière illustrée ci-dessous.
La circulation d'air est bloquée.

Remarque
- Si vous envisagez d'acheminer les câbles à travers la paroi murale, percez un trou dans le mur et insérez-y les câbles avant de procéder à l'installation.
Pour ne pas pincer les câbles, préparez un trou dans le mur, en dehors du périmètre de la base (20) A, Adaptateur de base ① et de l'entretoise (20) E, de l'entretoise (60) K.
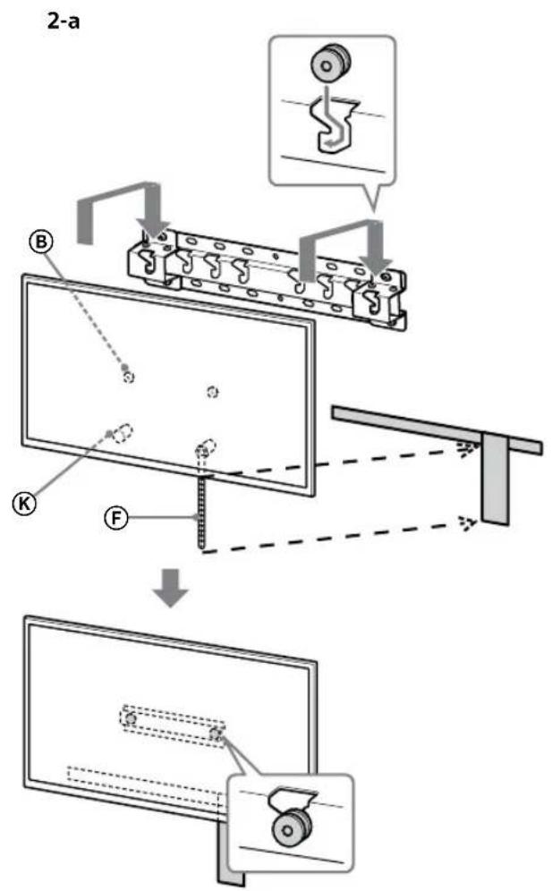
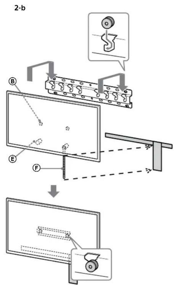
2 Sélectionnez le style de fixation murale. Il est possible de sélectionner la distance entre l’arrière du téléviseur et le mur comme indiqué ci-dessous.
2-A montage standard 2-b montage fin
Reportez-vous au tableau de l'étape 1.
Avertissement
Lorsque 2-b est sélectionné, l'accès à la borne arrêté est limité.

3 Reportez-vous au tableau ci-dessous pour connaître l'emplacement de montage de l'adaptateur de base. Lors de la sélection de 2-b, omettez cette étape.
| Nom du modele | Emplacements des crochets |
| KD-75XG80□□KD-65XG81□□KD-65XG80□□ | b |
| KD-55XG81□□KD-55XG80□□KD-49XG81□□KD-49XG80□□ | c |
| KD-43XG81□□KD-43XG80□□ | d |

Montez l'adaptateur de base ① avec les vis (PSW 4x10) ② sur la base (20) ④ lors de la sélection de 2-a.

Determinez les positions des vis pour l'installation de la base (20) A.
Reportez-vous aux spécifications de la page 19.
Lors de la sélection de 2-a, utilisez les positions des orifices de l'adaptateur de base ①
Avertissement
Le mur sur lequel vous installez le téléviseur doit pouvoir supporter un poids équivalent à au moins quatre fois celui du téléviseur (Pour connaître le poids du téléviseur, reportez-vous à son Guide de référence).
-Déterminez la solidité du mur sur lequel vous allez installer le téléviseur. Au besoin, renforcez suffisamment le mur.
Installation de la base au mur
Utilisez au moins quatre vis de 8 mm de diamètre ou équivalentes (non fournies) - Insérez quatre vis dans les orifices de l'adaptateur de base ① avec la base (20) (2-a seule). - Installez la base (20) au mur à l'horizontal.


Préparation à l'installation du téléviseur
Reportez-vous au Guide d'installation pour plus de détails.
1 Marquez l'emplacement d'installation sur le mur.
Utilisez du ruban de masquage, etc. (non fourni) pour marquer l'emplacement du téléviseur à proximité de la base ou de l'adaptateur de base. Reportez-vous au tableau suivant.

Unite: mm
| Nom du modele | Longueur pour lemarquage | Dimensiondu centreécran | ||
| a | b | c | d | |
| KD-75XG80□□ | 1 686 | 564 | 150 202 | |
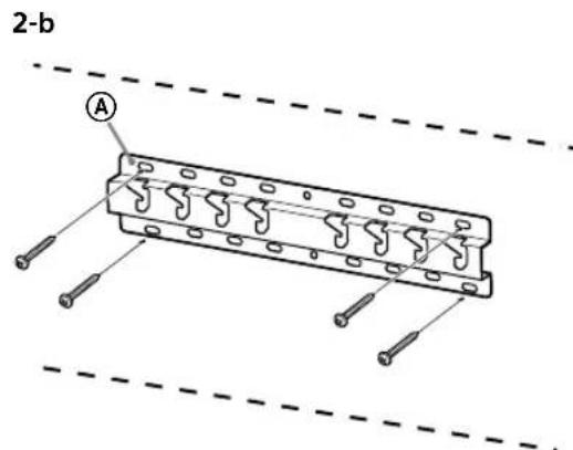
2 Installez les pièces de fixation du support de fixation murale. Vérifiez les pièces de fixation en vous reportant à la section « Fournies avec le SU-WL450 » sous « Vérification des pièces » à la page 5.
Remarque
Fixez convenablement les pièces de fixation à l'aide des vis. - Si vous utilisez un tournevis électrique, régalez son couple sur 1,5 N·m {15 kgf·cm} environ. Veillez à ranger en lieu sûr les pièces utilisées ou excédentaires en vue d'une utilisation future. Conservez ce manuel pour toute référence ultérieure.
Montage standard (2-a)
Remarque
- Vous ne pouvez pas utiliser certaines des bornes situées à l'arrière du téléviseur lorsque vous optez pour ce style de montage.


3 Raccordez le(s) cable(s) requis au téléviseur.
Veillez à raccorder les câbles avant d'installer le téléviseur au mur. Vous ne pourrez plus raccorder les câbles une fois le téléviseur installé.
Reportez-vous au Guide de référence fourni avec le téléviseur.
Remarque
- Confiez l'acheminement du câble dans le mur à un installateur/agréé.
- Rassemble les câbles de raccordement pour éviter de marcher dessus avant le montage mural.
4 Détachez le support de table du téléviseur.
- Retirez un côté du support de table à la fois. Tenez fermement le support de table à deux mains pendant que les autres personnes soulèvent le téléviseur.

- Répétez l'étape précédente et retirez l'autre côté du support de table.
Remarque
-La présence de trois personnes ou plus est nécessaire pour détacher le support de table. Veillez à ne pas exercer de force excessive en détachant le support de table du téléviseur car ce dernier pourrait tomber et ainsi être endommagé et occasionner des blessures corporelles. Lorsque vous manipulez le support de table, prenez soin d'éviter d'endommager le téléviseur. - Faites preuve de prudence lorsque vous soulevez le téléviseur alors que le support de table est détaché, car le support de table pourrait se renverser et provoquer des blessures. - Faites attention lorsque vous retirez le support de table du téléviseur afin d'éviter qu'il ne tombe et endommage la surface sur laquelle repose le téléviseur.
KD-65XG81□□/65XG80□□
1 Installez les pièces de fixation du support de fixation murale. Vérifiez les pièces de fixation en vous reportant à la section « Fournies avec le SU-WL450 » sous « Vérification des pièces » à la page 5.
Remarque
Fixez convenablement les pièces de fixation à l'aide des vis. - Si vous utilisez un tournevis électrique, régalez son couple sur 1,5 N·m {15 kgf·cm} environ. Veillez à ranger en lieu sûr les pièces utilisées ou excédentaires en vue d'une utilisation future. Conservez ce manuel pour toute référence ultérieure.
Montage standard (2-a)
Remarque
- Vous ne pouvez pas utiliser certaines des bornes situées à l'arrière du téléviseur lorsque vous optez pour ce style de montage.


2 Raccordez le(s) câble(s) requis au téléviseur.
Veillez à raccorder les câbles avant d'installer le téléviseur au mur. Vous ne pourrez plus raccorder les câbles une fois le téléviseur installé. Reportez-vous au Guide de référence fourni avec le téléviseur.
Remarque
- Confiez l'acheminement du câble dans le mur à un installateur agréé.
- Rassemblez les câbles de raccordement pour éviter de marcher dessus avant le montage mural.
3 Détachez le support de table du téléviseur.
- Retirez un côté du support de table à la fois. Tenez fermement le support de table à deux mains pendant que les autres personnes soulevent le téléviseur.

- Répétez l'étape précédente et retirez l'autre côté du support de table.
Remarque
- La présence de trois personnes ou plus est nécessaire pour détacher le support de table. Veillez à ne pas exercer de force excessive en détachant le support de table du téléviseur car ce dernier pourrait tomber et ainsi être endommagé et occasionner des blessures corporelles. Lorsque vous manipulez le support de table, prenez soin d'éviter d'endommager le téléviseur.
- Faites preuve de prudence lorsque vous soulevez le téléviseur alors que le support de table est détaché, car le support de table pourrait se renverser et provoquer des blessures.
- Faites attention lorsque vous retirez le support de table du téléviseur afin d'éviter qu'il ne tombe et endommage la surface sur laquelle repose le téléviseur.
Remarque
Fixez convenablement les pièces de fixation à l'aide des vis. Si vous utilisez un tournevis électrique, régalez son couple sur 1,5 N·m {15 kgf·cm} environ. Veillez à ranger en lieu sûr les pièces utilisées ou excédentaires en vue d'une utilisation future. Conservez ce manuel pour toute référence ultérieure.
Montage standard (2-a)
Remarque
- Vous ne pouvez pas utiliser certaines des bornes situées à l'arrière du téléviseur lorsque vous optez pour ce style de montage.


2 Raccordez le(s) câble(s) requis au téléviseur.
Veillez à raccorder les câbles avant d'installer le téléviseur au mur. Vous ne pourrez plus raccorder les câbles une fois le téléviseur installé.
Reportez-vous au Guide de référence fourni avec le téléviseur.
Remarque
- Confiez l'acheminement du câble dans le mur à un installateur agréé.
- Rassemblez les câbles de raccordement pour éviter de marcher dessus avant le montage mural.

Remarque
- Faites preuve de prudence lorsque vous soulevez le téléviseur alors que le support de table est détaché, car le support de table pourrait se renverser et provoquer des blessures.
- Faites attention lorsque vous retirez le support de table du téléviseur afin d'éviter qu'il ne tombe et endommage la surface sur laquelle repose le téléviseur.
KD-49XG81□□ / 49XG80□□ / 43XG81□□ / 43XG80□□

Remarque
Veillez à placer le téléviseur à un endroit recouvert d’un linge doux afin de ne pas risquer de griffer sa surface. - Lorsque vous installez le support de fixation murale, n’utilisez pas les vis retirées du support de table. - Une fois retirés, le support de table et ses vis doivent être rangés en lieu sûr, hors de la portée des enfants. Vous en aurez besoin si vous décidez un jour d’utiliser à nouveau le téléviseur posé sur une table. Le support de table ne peut pas être acheté séparément.
Avertissement
Assurez-vous que le téléviseur est en position verticale avant de le mettre sous tension. Le téléviseur ne doit pas être mis sous tension lorsque sa dalle LCD se trouve face vers le bas, sinon l'image n'est pas uniforme. - Si la surface du téléviseur subit une pression ou un choc, son écran risque de se briser ou d'être endommagé. - Posez l'écran, face vers le bas, sur une surface stable et horizontale en laissant dépasser le support de table au-delà du bord de la surface. En effet, si vous posez la surface du téléviseur et la base du support de table sur une même surface horizontale, vous créez des conditions de travail instables et vous risquez d'endommager le téléviseur. Lorsque vous détachez le support de table du téléviseur, saisissez fermement le support de table des deux mains.
2 Installez les pièces de fixation du support de fixation murale. Vérifiez les pièces de fixation en vous reportant à la section « Fournies avec le SU-WL450 » sous « Vérification des pièces » à la page 5.
Remarque
Fixez convenablement les pièces de fixation à l'aide des vis. - Si vous utilisez un tournevis électrique, réglez son couple sur 1,5 N·m {15 kgf·cm} environ. Veillez à ranger en lieu sûr les pièces utilisées ou excédentaires en vue d'une utilisation future. Conservez ce manuel pour toute référence ultérieure.
Montage standard (2-a)
Vis

Remarque
- Vous ne pouvez pas utiliser certaines des bornes situées à l'arrière du téléviseur lorsque vous optez pour ce style de montage.

Vis

3 Raccordez le(s) câble(s) requis au téléviseur.
Veillez à raccorder les câbles avant d'installer le téléviseur au mur. Vous ne pourrez plus raccorder les câbles une fois le téléviseur installé. Reportez-vous au Guide de référence fourni avec le téléviseur.
Remarque
- Confiez l'acheminement du câble dans le mur à un installateur/agréé.
- Rassemblez les câbles de raccordement pour éviter de marcher dessus avant le montage mural.
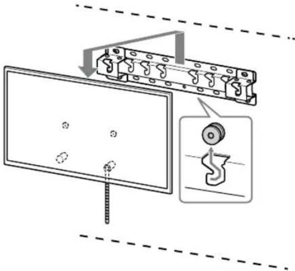
1 Soulevez le téléviseur.
- Pour connaître l'emplacement des poulies (B) auxquelles accrocher la base ou l'adaptateur de base, reportez-vous au tableau de l'étape 3 dans « Choix de l'emplacement d'installation » à la page 7. Veillez à ce que l'arrière du téléviseur touche la base ou l'adaptateur de base lorsque vous saisissez le téléviseur.
Remarque
Saisissez solidement le téléviseur avec les deux mains et veillez à ce que la courroie F et le bas du téléviseur s'alignent avec le ruban de masquage. - Portez le téléviseur avec trois personnes, la personne se trouvant à l'avant du téléviseur guidant les autres pour ajuster la position.

- Faites très attention lors de l'installation du téléviseur au mur, en particulier pour la personne qui soutient le téléviseur par le bas. Le téléviseur peut tomber et occasionner de graves blessures corporelles, voir la mort.

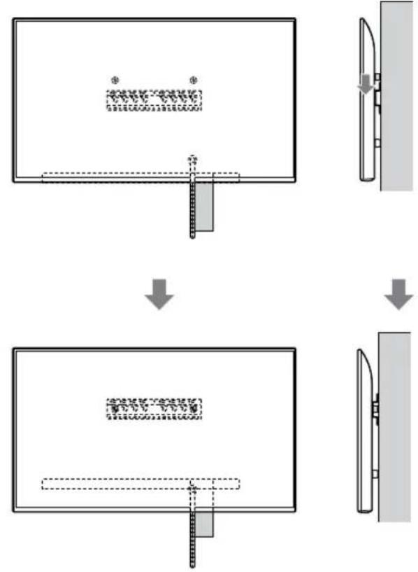
2 Installez le téléviseur sur la base ou l'adaptateur de base.
- Faites doucement coulisser le téléviseur vers le bas et accrochez les poulies fixées à l'arrière du téléviseur à la base ou à l'adaptateur de base, en veillant à vérifier la forme des trous.
- Avec avoir installé le téléviseur au mur, vérifie que les poulies ⑧ sont fermement enclenchées dans la base ou l'adaptateur de base.
- Retirez les deux mains lentement pour vous assurer que le téléviseur ne tombe pas.

- Avec avoir installé le téléviseur au mur, retirez le ruban de masquage, etc. du mur.




Avertissement
- Deux personnes au moins (trois personnes ou plus pour les téléviseurs de 75 pouces ou plus) doivent soutenir le téléviseur pour le déplacer.

3 Maintien en place du dessous du téléviseur.
Supprimez le jeu de la courroie F et attachez-la solidement au mur.


Utilisez une vis de 5mm de diamètre ou équivalente (non fournie).
Remarque
- Essayez de tirer légèrement le dessous du téléviseur vers vous pour vous assurer qu'il n'avance pas. S'il a du mouvement, cela signifie qu'il n'est pas fixé correctement et qu'il faut à nouveau fixer solidement la courroie (F).
KD-65XG81□□ / 65XG80□□ / 55XG81□□ / 55XG80□□ / 49XG81□□ / 49XG80□□ / 43XG81□□ / 43XG80□□
1 Soulevez le téléviseur.
- Pour connaître l'emplacement des poulies (B) auxquelles accrocher la base ou l'adaptateur de base, reportez-vous au tableau de l'objet 3 dans « Choix de l'emplacement d'installation » à la page 7. Veillez à ce que l'arrière du téléviseur touche la base ou l'adaptateur de base lorsque vous saisissez le téléviseur.

Remarque
- Saisissez solidement le téléviseur avec les deux mains.
2 Installez le téléviseur sur la base ou l'adaptateur de base.
- Faites doucement coulisser le téléviseur vers le bas et accrochez les poulies fixées à l'arrière du téléviseur à la base ou à l'adaptateur de base, en veillant à vérifier la forme des trous.
- Après avoir installé le téléviseur au mur, vérifie que les poulies ⑧ sont fermement enclenchées dans la base ou l'adaptateur de base.
- Retirez les deux mains lentement pour vous assurer que le téléviseur ne tombe pas.

2-a
2-b
Avertissement
- Deux personnes au moins (trois personnes ou plus pour les téléviseurs de 75 pouces ou plus) doivent soutenir le téléviseur pour le déplacer.

3 Maintien en place du dessous du téléviseur.
Supprimez le jeu de la courroie F et attachez-la solidement au mur.


Utilisez une vis de 5mm de diamètre ou équivalente (non fournie).
Remarque
- Essayez de tirer légèrement le dessous du téléviseur vers vous pour vous assurer qu'il n'avance pas. S'il a du mouvement, cela signifie qu'il n'est pas fixé correctement et qu'il faut à nouveau fixer solidement la courroie (F).
Vérification de l'achèvement de l'installation
Vérifiez les points suivants.
- Les poulies (B) sont solidement accrochées à la base ou à l'adaptateur de base.
- Le cordon et le câble ne sont pas tordus ou coincés. La courroie F est bien tendue.
Avertissement
- Si le cordon d'alimentation CA ou autre n'est pas correctement installé, un court-circuit pourrait survenir et provoquer un incendie ou l'électrocution. Pour cette sécurité, vérifie que l'installation est effectuée complètement.
Informations complémentaires
Lors du retrait du téléviseur, inversez la procédure d'installation décrite précédemment.

Avertissement
- Deux personnes au moins (trois personnes ou plus pour les téléviseurs de 75 pouces ou plus) doivent soutenir le téléviseur pour le retenir.

La conception et les spécifications sont sujettes à modification sans préavis.
Contrôle final après l'installation 19
a : 400 b : 300 c : 200 d : 100 e : 80 f : 480 q : 100
a:400 b:300 c:200 d:100 e:80 f:480 g:100
h1:20(2-beseten) h2:60(2-aeseten)
h2 : 60 (2-a variants)
0,8
Notice-Facile