KD65XG8096 - Телевизор SONY - Безплатно ръководство за потребителя
Намерете безплатно ръководството на устройството KD65XG8096 SONY в PDF формат.
| Технически характеристики | LED телевизор 4K HDR, 65 инча, резолюция 3840 x 2160 пиксела |
|---|---|
| Технология на дисплея | TRILUMINOS™ за по-богати и естествени цветове |
| Честота на кадрите | 100 Hz |
| Свързаност | 4 x HDMI, 3 x USB, вграден Wi-Fi, Bluetooth |
| Звук | 2 x 10 W, Dolby Digital Plus, DTS |
| Размери (без стойка) | 144,3 x 83,5 x 6,5 см |
| Тегло (без стойка) | 24,5 кг |
| Употреба | Идеален за гледане на филми, сериали и видеоигри в висока резолюция |
| Поддръжка | Почиствайте екрана с мека кърпа, избягвайте агресивни химикали |
| Безопасност | Не излагайте на влага, използвайте подходяща стойка, за да избегнете падания |
| Обща информация | Съвместим с гласови асистенти, софтуерни актуализации през интернет |
Често задавани въпроси - KD65XG8096 SONY
Въпроси на потребители за KD65XG8096 SONY
0 въпрос за това устройство. Отговорете на тези, които знаете, или задайте свой въпрос.
Задайте нов въпрос за това устройство
Изтеглете инструкциите за вашия Телевизор в PDF формат безплатно! Намерете ръководството си KD65XG8096 - SONY и вземете отново електронното си устройство в ръце. На тази страница са публикувани всички документи, необходими за използването на вашето устройство. KD65XG8096 на марката SONY.
РЪКОВОДСТВО ЗА ПОТРЕБИТЕЛЯ KD65XG8096 SONY
| Име на м odeл | Дължина за отбелязвае | Размер на центыра на ekранa |
| a b c d | ||
| KD-75XG80☐☐ 1686 564 150 202 | ||
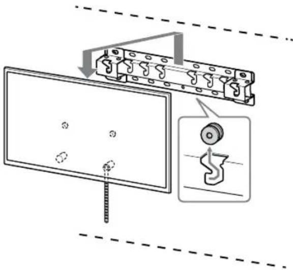
2Прикpenete OKaUbauNTe qactn 3a KOH3OJaTa 3a 3aKpeNBaHe KbM cTeHa. ПрOBepTe qactnte 3a OKaUbHe, KaTO cpaBHTe C "ДocTaBeHo c SU-WL450"В "ПрOBерka Ha qactnte"Ha cTpaHnua 5.
3a6eJexkka
3aKpeIe Tactte 3a OKaYBaHe C NOMOHTa HbNHTOBe.
Korato n3non3BaTe eNeKTpUeCeKa OTBepTka, 3aJaTe HacTpoKaTa Ha BbPTaMmOMeHT pN6IIN3nTeJIHo Ha1,5N·m{15kgf·cm}.
3ana3eTe m3no3BaHInTe nn HEn3no3BaHInTe yactn Ha 6e3oNaCHO MRCTO 3a 6bDeu aynotpe6a.3ana3eTo BA pBkoBOcTBO 3a 6bDuea cnpabka.

CTaHdapTeH MoHTaX (2-a)
TeceH MOHTAX (2-b)
3a6eJexKka
Korato N3NOJ3BaTe TO3N CTIN 3a MOHTaK, HMa Da MoXKeTe Da N3NOJ3BaTe HAKON OT TepMNHaJIte Ha Tb6a Ha TeNeBu3Opa.


3 CbpxKeTe Heo6xOdUmnte Ka6eJI N KbM TeJeBn3opa.
YBepTe Ce,Ye CTE Cbbp3aJn Ka6JInte
IpeN Da MOHTnpaTe TeJeBN3Opa Ha
CTeHata.HMa Da MoKTe Da rC BbPKeTe,
Cnei KATO TEJEBN3OpbT e MOHTnpaH.
BxKTe cnpaBOCHOTo pBKOBoDCTBO,
IOCTaBeHO C Baunr TEJeBN3Op.
3a6eJexkka
Bb3JnoKTe npokapBaHHeTo Ha Ka6eJIte B CteHa Ta HJIuCEHnpaH NOIN3NBJHnTeI.
- YBnTe CbP3BaUnte Ka6eI npEIM MOHTnpaHTo KbM CTHeTAta, 3a Da He CTbNITe BBypXy TIX.
4 CbaleTe nocTaBkata 3a Maca OT TeJIeBu3Opa.
- OtctpaheTe eHaTa CTpaHa Ha CToiKaTa 3a Maca. IpbXte 3npaBO CToiKaTa 3a Maca cTa6nHc DBeTe CN Pbue, DOkato dpyrnoOBdnrAT TeIeBn3Opa.

- Nobtopete npednHaTa CTbNka n OTcpaHete pyrata CtpaHa Ha cToiKaTa 3a Maca.
3a6eJexKa
CbaHrToHaNoCTaKaTa3aMacaCneBaJaCe n3BbPmOTDbMaNIN NOBcE Dywn.
BHMabaTe da He npunaTaTe pekomepHa cnla, KOraTO CBaIte NOCTaKaTa 3a Maca OT TeLEBu3Opa, Tb KaTo TEBeBu3OpbT MoKe Da NaHHe N Da npuHn H TeneCHO HapaHbHe uN camuT TeLEBu3Op da ce nobpei.
-БыдenteВиMuMaTeHи,КORAto paBoTnTe CnoCTaBkTa3a Maca,3aДаИЗбeRHeTe NOBpeXdAHe HaTeNEBu3Opa.
BHHMabAte, KOraTo NOBnIraTe TeJeBn3Opa, TbKaTO CToIkaTa 3a Maca He e 3akaueHa n CToIkaTa 3a Maca MoKe Da ce I3Cnne N da PnPunHn HapaHnBaHe.
BHMaBae, KORATo npEmaxBaTe CTOnKaTa 3a MacaOT TeLEBn3Opa, 3a Da npEoTbPaTtE NaHaTeO HapaHbBAHeTo Ha NOBbPxHocCTTa, BbpxO KoTo CTOn TELEBn3Opa.
KD-65XG81□□/65XG80□□
1Прикpenete OKaUbaunteЧа'te 3a KOH3OJaTa 3a 3aKpeINBaHe KbM cTeHa. Проветe ча'te 3a OKaUbaHe, KaTO cpaBnTe C "ДocTaBeHo c SU-WL450"В "Провета Ha Cha'te" Ha CTpaHnca 5.
3a6eJekka
3akpenete yactnte 3a OKaYBaHe C NOMOHTa HbNTOBe.
Korato n3no3BaTe eNEkTpuecka OTBepKa, 3aadaTe HacTpoKaTa Ha BbPTTuN MOpENT npu6n3nteJHo Ha 1,5 N·m {15 kgf·cm}.
3ana3eNTnOIN3BaHInTe NIN HEn3NO3BaHInTe YacTNa 6e3oNACHO MCTO 3a 6bDeu yNoTpe6a.3ana3eTOBa pKOBODCTBO 3a 6bDua cnpabka.

CTaHdapTeH MoTtax (2-a)
TeceH MOHTaX (2-b)
3a6eJexKka
Korato n3noJI3BaTe TO3n CTnI 3a MoHTaK, HMa Da MOKeTe Da n3noJI3BaTe HAKON OT TepMNHaJInte Ha TbP6a Ha TeNeBUN3opa.


2 CbpxKeTe Heo6xOIMnTe Ka6eJI N KbM TeJeBn3opa.
YBepTe Ce, Ye CTe Cbbp3aN Ka6enIte
Ipei Da MOHTnpaTe TeJeBN3Opa Ha
CTeHata. Hma Da MoKTe Da rN CBbpKTe,
CleD KATO TEJeBN3OpBT e MOHTnpaH.
BnKTe cnpabOCHOTo pBKOBOdCTBO,
DOCTaBeHO C Baunr TeJeBN3Op.
3a6eJexKka
Bb3noKTe npokpBaHTo Ha Ka6eNtE BCTeHa HJIuCEHnPAH NOIN3bJHnTeI.
- YBnIte CbP3BaUnte Ka6eI npEi MoHTnpaHTo KbM CTHeTAta, 3a Da He CTbNITe BBypX TIX.
3 CbaleTe nocTaBkata 3a Maca OT TeJIeBu3Opa.
- OtctpaHete eHaTa cTpaHa Ha cToiKaTa 3a Maca. IpbXTe 3dpaBO cToiKaTa 3a Maca cTaNHO C DBeTe CN Pbue, DOkATO dpyrN NOBnIgat TeNeBu3Opa.

-Повторе пedingнота CTbнka n OTсразене Дугата CTpaHa Ha CTоиКаТа 3a Maca.
3a6eJekka
CbaHHeTo Ha NoCTaBkTa 3a Maca CneIeBa Da ce H3BbPm OT DbMa Mnn NOBeYe Duyu.
BHMabaTe da He npunaTaTe npeKomepHa cnla, KOraTO CBaIte NoCTaKaTa 3a Maca OT TeLEBu3Opa, Tb KaTo TEBeNu3OpbT MoKe Da NaHHe N da npuHHn TeNEcHO HapaHbAHe nn CamnT TeLEBu3Op da ce NobpeDn.
-БьдeTe BnMaTeHn, KOrato pa60nte C nOCTaBkata 3a Maca, 3aДа n36eHete NOBpeKdaHe Ha TeJIeBu3Opa.
BHMmaBaTe, KOraTo NOBmraTe TeJeBn3Opa, TbKaTO CToiKaTa 3a Maca He e 3aKaayeha n CToKaTa 3a Maca MoKe Da Ce N3Cnne N da PnUHN HapaHbAHe.
BHHMabTe, KORATO npEmaxBaTe CToKkata 3a Maca ot TeJEBn3Opa, 3a Da NpeDoTbPaTne NaDaHeTo n HapaHBAHeTO Ha NOBbpxHOCTTa, Bbpy KOrTO CToI TeJEBn3Opa.
KD-55XG81□□/55XG80□□
1Прикpenete OKaByaunteЧа'tn 3a KOH3OJaTa 3a 3aKpeINBaHe KbM cTeHa. Проветe ча'tte 3a OKaYBaHe, KaTO cpaBHTe C "ДocTaBeHo c SU-WL450"В "Провета Ha ChaTnte" Ha cTpaHnca 5.
3a6eJekka
3akpeeneTcactnte 3a OKaYBaHe c NOMOHTa HbNTOBe.
Korato n3no3BaTe eNEKtpnuecka OTBepKa, 3aadaTe HacTpoKaTa Ha BbPTaMOMeHT npu6n3NTeJHo Ha1,5N·m{15kgf·cm}.
3ana3eTe N3no3BaHInTe nn HeN3no3BaHInTe aactn Ha 6e3oNaCHO MRCTo 3a 6bDeu yNoTpe6a.3ana3eToBa pkoBOcTO B3 6bDua cnpabka.
CtahdapTeH MoHTaK (2-a)

TeceH MOHTaX (2-b)
3a6eJekka
Korato N3NOJ3BaTe TO3N CTNI 3a MOHTaX, HMa Da MoKeTe Da N3NOJ3BaTe HAKON OT TepMNHaJIte Ha Tbp6a Ha TeLEBUN3opa.


2 CbpxKeTe Heo6xOIMnTe Ka6eI N KbM TeJIeBn3Opa.
YBepTe ce,Ye cTe Cbbp3aN Ka6eNITE
Ipei Da MOHTnPATE TeJeBN3Opa Ha
CTeHata.HMa Da MoKTe Da rC CBpKTe,
Cnei KaTO TeJeBN3OpBT e MOHTnpaH.
BnKTe cPpABOCHOTo pBKOBOdCTBO,
IOCTaBeHO C Baunr TEJeBN3Op.
3a6eJexKka
Bb3noxete npokapbaHeto Ha Ka6eHnTe BCTeHa HJIuEHNpaH NOINNbHnTeI.
- YBnTe CbP3BaUnte Ka6en Ipeu MoHTnpaHTo KbM CTHeTAt, 3a Da He CTbNTe Bpxy TIX.
3 CbaleTe nocTaBkata 3a Maca OT TeJeBu3Opa.

3a6eJekka
BHMabaTe, KOrato NOBnIraTe TeneBn3opa, TbKaTO CToIKaTa 3a Maca He e 3aKaueHa n CToIKaTa 3a Maca MoKe Da ce N3cUne N da PnUHN HapaHBAHe.
BHHMaBaTe, KORATo npEmaxBaTe CTOnKaTa 3a Maca OT TeLEBn3Opa, 3a Da npEoTbPaTnte NaHaHeTo n HapaHbBAHeTo Ha NOBbPxHOCTTa, BbPxy KOrTO CTOn TELEBn3Opa.
KD-49XG81□□/ 49XG80□□ / 43XG81□□ / 43XG80□□
1 Cbane Te nocTabkata 3a Maca OT TeJeBn3opa.

3a6eJexkka
- YBepeTe ce, ye CTe NocTabuN TeJeBu3Opa Bbpxy MeKa Kbpna, 3a Da npedOTbpaTne NOBpeHa NoBbpxHOCTTa Ha DnCnJIe.
Korato MOHTnpaTe KOH30nata 3a 3aKpenBaHe KbM CTeHa, He N3NOJ3BaIte BINTOBeTe, CBaJIeHN OT NOCTaBKATA 3a Maca.
3ana3eCTBaIeHaTIOCTaBka 3a Maca n HeHnHTe BnHToBe Ha CnrypHo MrcTo, HAcTpaHn OT Deua. Te Ue Bu NOTPbBAt, Ako NcKaTe Da N3No13BaTe TeneBn30pa Bbpxy Maca BbDeue. NocTabKaTa 3a Maca He MoKe da Ce nopByoTdeHNO.
PNEyNPEKDEHNE
-Ппсддд ВКИОчITE TeLEBи3Opa,УВepeTe ce,ЧЕТо
e BbB BepTnKaIHa No3nUЯ. TeLEBи3OpBT He Tpr6Ba
da 6bDe BKIIOUeH B 3axpaHbaHeTo c LCD naHena,
obbpHaT HaIoNy, 3a Da ce N36erHe HepaBHomepHocCT
Ha KapTnHaTa.
Ako NOBbpxHOCTa Ha TeIeBn3opa 6bJe I3JIOKeHa Ha HATNCK NnYdap, ToI MoKe Da ce Cuynn NnNOBpeN.
-Пложete TeLEBn3opa cIицeto HANOly Ha CTa6HnHa n paBHa NOBbpxHocT, KaTO NOCTaBkata 3a Maca BnCn I3BbN Pb6a Ha NOBbpxHocTTa. Ako JInTeTo Ha TeLEBn3opa n OCHOBaTa Ha NOCTaBkata 3a Maca ca Ha eDHO HnBO, TOBa ue IOBeDe Do HeCTa6HnH yCIOBnA 3a pa6oTa n MOKe da NOBpeNi TeLEBn3opa.
KoratoOTkaate NOCTaKaTAta 3a Maca OTeneBnOpa, DpbkTe 3dpaBO NOCTaKaTAta 3a Maca C DBe pBuCe.
2Прикpenete OKaUbIteЧаTe 3a KOH3OJIaTa 3a 3aKpeINBaHe KbM cTeHa. ПрOBepTeЧаTe 3a OKaUbAHe, KaTO cpaBHTe C "ДocTaBeHo c SU-WL450"В "ПрOBерka HaЧаTe"Ha CTpaHnua 5.
3a6eJekka
3akpenete yactnte 3a OKaYBaHe C NOMOHTa HbNHTOBe.
Korato n3noJI3BaTe eNEkTpuecka OTBepTka, 3aJaTe HacToPouKaTa Ha BbPTaUN MomeHT npu6n3nteJHo Ha 1,5 N·m {15 kgf·cm}.
- 3ana3eTe IN3NO3BaHInTe ININ HEn3NO3BaHInTe YaCTNa 6e3oNaCHO MRCTO 3a 6bDeu yNtpe6a. 3ana3eToBa pKOBODCTBO 3a 6bDua cnpBaKa.
CTaHdapTeH MoHTaX (2-a)

TeceH MOHTax (2-b)
3a6eJexKka
KoratoN3NOJ3BaTe TO3n CTNI 3a MOHTaK, HMa Da MoKeTe Da N3NOJ3BaTe HAKOu OT TepMNHaJIte Ha Tbpo6a Ha TeNeBUN3opa.


3 CbpxKeTe Heo6xOIMnTe Ka6eJI N KbM TeJIeBn3opa.
YBepTe ce,Ye cTe Cbbp3aN Ka6eNITe
npedn Da MOHTnPATE TeJeBN3Opa Ha
CTeHata.HMa Da MoKTe Da rN CBpKTe,
Cnei KaTO TeJeBn3OpBT e MOHTnpaH.
BnxTe cPpABoCHOTo PbKOBoDCTBO,
IOCTaBeHO C Baunr TeJeBn3Op.
3a6eJekka
Bb3noKTe npokapBaHeto Ha Ka6eJIte B CTeHa HJIuEHNpaH NOIN3NBJHHTeI.
- YBnTe CbP3BaUnte Ka6eI npEi MOHTnpaHTo KbM CTHeHaT, 3a Da He CTbNITe Bpxy Tx.
Mоntаж Ha TeJIeВиЗopa Ha CTeHaTа
KD-75XG80□□
1 Повдигнелу TeIeBn3opa.
3a MecToNoIooKeHHeTo Ha MaKapnte ⑧ 3a OKaUBaHe Bbpxy OCHOBaTa Nnna aAnTepa 3a OCHOBaTa, BxKTe TaBnuaTbCTbnka 3B "OnpeJeIHe Ha MCTOTO Ha MOHTaX"OT CTpaHnua 7.
- YBepete ce, Ye 3aHaTa CtpaHa Ha TeJIeBu3Opa IOKOCBa OCHOBaTa NII aAnTepe 3a OCHOBaTa, KOraTO DbpxKInTe TeJIeBu3Opa.
3a6eJexKka
-ДрькTe 3дпавTo TeleBn3opa CдБе рьси СуверTe, Ye KonaHbT F И ДолнATERСТраHAНТeLEBn3opa Ca HapabHOb Cbc CamO3aJIenBaIcTO CeTNKCo.
- Tpma DuyuHocTe TeIeBn3opa, nTo3n KoTTo e nped TeIeBn3opa Da BOuOCTaHaJInte, 3a da perynipaNo3nUOHHpaHeTo.

MHOROBHIMBaIte, KORATo MOHTnPaTe TeneBu3Opa KbMCTeHaTa,OCo6eHa 3a YOBeKa,KoITo rO JBpXn OTdony,Tb KaTo TeBn3Opa MoKe Da NaDHe N da npuHHcepNo3Ha KOHTyNn IIN DOpn Cmbpt.

ПриключванTo Ha MOHTаЖа
PpOBepTe cIeHNHTe TOnKn.
- MakapuTe ⑧ ca 3aKaueHn 3dpaBO 3a OCHOBaTa NIn aDantepa Ha OCHOBaTa.
- KašeniTe He ca yCyKaHN nIi npNTncHaTn.
KoJahF e 3aTeHaTa n Hma Xna6nHa.
PNEyIPEKDEHNE
- HenpaHIOHO NOCTaBHe Ha 3axpaHbAunna Ka6eI IN dpyrMoKe Da npuHnNoXapnN enEkeTpuecknydap npaN KbCO cBeHNHeHne. COrneHa 6e3oNaChocTTa npOBepTe daJI MOnTakbTe 3aBbpWeH.
Дрuya Информацnia
Korato cBaIaTe TeIeBn3opa, n3nbHHeTe npoueDypata Ha MOHTaxa B o6paTeH pei.

PNEyIPEKDEHNE
- YBepTe ce, ye Dbama nnnoBee duu (Tpma nn noBee duu 3a KOMnIeK TeJeBn3Op cpa3Mepn OT 75 nHa) dbpxat TeJeBn3opa, koraTo ro npemaxBaTe.
Cpeunfkauni

ЛеснаИнструкция