543AE15 - Vŕtačka HUSQVARNA - Bezplatný návod na obsluhu
Nájdite návod k zariadeniu zdarma 543AE15 HUSQVARNA vo formáte PDF.
Často kladené otázky - 543AE15 HUSQVARNA
Stiahnite si návod pre váš Vŕtačka vo formáte PDF zadarmo! Nájdite svoj návod 543AE15 - HUSQVARNA a vezmite svoje elektronické zariadenie späť do rúk. Na tejto stránke sú zverejnené všetky dokumenty potrebné na používanie vášho zariadenia. 543AE15 značky HUSQVARNA.
NÁVOD NA OBSLUHU 543AE15 HUSQVARNA
Noste pevné protismykove cizmy alebo topanky.
Zapalovanie, sytic: Vytyihnite sytic.









Palivová pumpa.
Hlukové emisie do okolia su v sulade so smernicou Europskej unie. Emisie stroja su stanovené v kapitole Technické udaje a na nálepke.
Ziadnou castou tela sa nedotykajte horucich povrchov.



Ostatné symbo/emy na stroji odkazuju na zvlastne poziadaky certifikacie pre urcitry
Vypnite motor posunutim yvpinaca do polohy STOP, predym nez budete vykonavat akekofvek kontroly alebo udrzbu.
Vyžaduje sa pravidné Čistenie.
Vizuána kontrola.




OBSAH
Obsah Pred nastartovanim dbajte na
KLUCK SYMBOLOM
Symboly 324
OBSAH
Obsah 325
Pred nastartovanim dbaje na nasledovne: 325
UVOD
Vázéný zákaznik 326
COJE CO?
Co je co? 327
VSEOBECNE BEZPECNOSTNE OPATRENIA
Dolezite 328
Osobné ochrannesprostriedky 328
Bezpečnostné vyavenie stroja 329
MONTAZ
Upevnienie rukovate 331
Montaž vrtaka 331
NARABANIE SPALIVOM
VAROVANIE! Za ziadnych okolnosti nemeinte povodnu konstrukcu stroja bez schvalenia od vyrobcu. Vždy pouzivajte origináne nahradné diely. Nepovolené zmeny alebo príslušenstvo možu viest k vázznemu zraneniie alebo smtri obshluy alebo ostatnych osob.

VAROVANIE! Zemny vrtak sa stava nebezpecnym nastrojom, ak sa pouziva neopatrne alebo nespravne a moze sposobit'vezne, dokonca az smrte'né urazy. Je mimoriadne dolezite, aby ste si precitali tento navod na obsluhu a porozumeli jeho obsahu.
UVOD
Vázeny zákaznik,
Blahoželáme vám, ze ste sa rozhodli pre kúpu vyrobku spoločnosti Husqvarna! Spoločnost' Husqvarna je založné na tradicii, ktorá siaha az do roku 1689, keš svédsky král Karl XL. nariadil postavit továreć na vyrobu muskiet na brehoch rikey Huskvarna. Vyber polohy bol logický, pretože vodná elektrárěn ziskvala energia z vody rikey Huskvarna. V priebehu viac ako 300 rokov svojej existencié vyprodukovala továreć Husqvarna veíké množstvo vyrobkov od pecí na drevo po moderné kuchynské spotrebíče, šijacie stroje, bicykle. motocykle atd. V roku 1956 boli na trh uvedené prve elektrické kosáčky na trávu a za nimi v roku 1959 nasledovali retazové píly a v tomto odvetvi spoločnost' Husqvarna pracuje dodnes.
V suciastnsto j spoloocnst Husvarna Jednym z poprednch svetovych vrocbov lesnych a zahrdnickchy vrokbov. priom najvyssou prioritou je kvalita. Obchodna koncepcia je vyvijat, yraba'ta uvdzata na tr motorove lesne a zahrdnicke vrobky, rovnako ak ovo vrobkv y oblasti stavebného priemyslu. Cielom spoloocnsti Husvarna te iez zastavt popredne miesto v oblasti ergonomie. pouizelnosti, bezpecnosti a ochray zivotného prostredia. Preto sme vyvinuli mnozstvo Rozlichnych funkci pre naše vrobkv y rámci tychto oblasti.
Sme presvedceni, ze yvsoke ocenite kvalitu a vkon nahoVyrobku aj o mnoho rokov neskor. Kupou jegneho z naich vyrobkov ste ziskali pristup k odbornej pomoci pri opravach a servise, kedyko'evk ich budete potrebovat. Ak maloobchodny predajca, ktory vam predava stroj, nie je Jednym z autorizovanych predajcov, poziadaje o adresu njblizeho autorizovaneho servisu.
Vasa spokojnost's nasim vyrobkom a jeho dlhorocna funkcnost su nasim prianim. Nezabudnite, ze tento navod na oblsuhu je cenny dokument! Dodrziavanim v nom uvedenych Pokynov (tykajucich sa pouzivania. servisu. udrzby a pod.) mozte predlizit zivotnost stroja a zvysit jeho hodnotu pri dalsom predaji. Ak stroj predvate, skontrolujte, ci ste kupujucemu poskytli aj tento navod na obsluhu.
Nikdy nepoužívaje stroj na ktorá boli vykonane upravy a nezhoduje sa s originnym prevedenim.
Nikdy nepoužívajte stroj pri unave, po požítí akohlou alebo liekov, pretože to može viest kznizeniu zrakovej schopnosti, schopnosti usudzovania, alebo telesnej rovnáhy.
Vždy nods vhdný ochranný odev. PozritePokyny v rámci kapitoly Osobné ochranné prostriedky.
Nikdy nepoužívajte poškodené zariadenie. Vykonávajte bezpečnostné kontroly. udžby a dodžiavajte servisné pouky uvedené v tomto námode. Určite opatrenia týkajuce sa servisu a udžby zariadenia musia vykonávat iba odborníci. Pozrite si pouky v ľcasti Udžba.
Pred nastartovanim sa musia nasadit vsetky kryty a ochranné prvyk. Skontrolujte, ci nie su kryt zapalovacej sviecky a zapalovac i vodic poškodené, aby ste predisci riziku elektrického šoku.
Zaistite, aby sa poças prace nikto nepribilizl do vzdialenosti mensej ako 5 m.
Pred pouzitim vykonajte celkovú kontrolu stroja - pozrite si plan údržby.

VAROVANIE! Tento pristroj vytvara poças prevadzky elektromagneticke pole. Toto pole doitza urcitych okolnosti sposobovat ruosenie aktivnych alebo pasivnych implantovanych lekarskych pristrojov. Na zniženie rizika vázneho alebo smrteńeho zranenia odporucame osobám s implantovanymi lekárskymi pristrojmi, aby sap doud použivanim tohto stroja poradili so svojim lekarom a s vyrobcom implantovaného lekárskeho pristroja.

VAROVANIE! Pouzivanie motora v zle vetranych alebo uzavretych priestoroch moze sposobit smr'v dosledku zdusenia alebo otravou CO.
DOLEZITEI
Zemny vtak sa stava nebezpecnym nastrojom, ak sa pouziva neopatrne alebo nespravne a moze sposobit vazne, dokonca az smrte'ne urazy. Je mimoriadne dolezite, aby ste si prectali tento nadvod na obsluhu a porozumeli jeho obsahu.
Pri akomkolvek pouzivan stroja musite pouzivat schvalenoeosobne ochranné prostriedky. Osobne ochranné prostriedky nevylucuju riziko nehod, ale moze zniizit ucxky zranenia vpriada nebody. Pri vybere spravnych ochrannychprostriedkov sa poradte so svojim predajcom.

VAROVANIE! Ak nosite chranié slachu, davajte pozor na varovné signály alebo vykriky. Chranié slachu si skladajte vždy hned'ako motor zastane.
CHRÁNICE SLUCHU
Noste chranié sluchu, ktoré zarucujú primeranú redukciu hluku.

CHRANICE OCI
Treba nosit ochranné okuliare alebo stit.


RUKAVICE
Rukavice musite nosit vzdy, ked je to nevyhnutne. napr. pri upevnovani reznych nastrojov.

TOPANKY
Noste pevné protismykové czmy alebo topányk.


ODEV
Nikdy nenoste volné oblečenie, šály, šperky alebo podobné predmétry, ktoré by sa mohli zachytić do vrtáka. Zaistite, aby vám vlasy nesiahali nizsie ako po plicia.
VŠEOBECné BEZPECNOSTNÉ OPATRENIA
LEKÁRNÍČA
Majte vždy poruke lekárnicku.

Tato Cast ysvetufje rozne bezpecnostré Funktion streja, ako funguju a zakladnu inspekciu a udzbu, ktoré by ste mali vykonavat na zabepezecenie bezpečnej prevadzky. Pozrite si cast Co je co?, kde najdete umiestnienie tychto casti na stroji
Ak udrzbu stroja nevykonávate spravnym sposobom a servis alebo opravy nevykonáva profesónal, moze sa skrátit zivotnost stroja a zvyšit riziko nehod. Ak chcete ziskat viac informáci, kontaktujiţaNJblizsui autorizovany servis.
DOLEZITEI
Vsetky serviné a opravne prace na stroji si vyzaduju Specialnki. Toto zvlast plato bezpecnostnom vbyaveni stroja. Ak stroj neprejde niedtorou kontrl popisanych nizsie, doneste ho do servisnej dielne. Pri kupe ktorehokolvekznasichyrobkovvam zarucujeme dostupnost odbornychoprav a servis. Ak maloobchodny predajca. ktorvam predava stroj nie je servisny zastupca. poziadajte ho adresu njblizsej servisnej dielne.

VAROVANIE! Nikdy nepouzivaje stroj, ktory ma chybné bezpechnostné sučasti. Bezpechnostné vybavenie stroja sa musi kontrolovat a udrziavat tak, ako je to popisané v tejo casti. Ak stroj neprejde vsetkymi kontrolami, doneste ho do autorizovaného servisu na opravu.
Vypinač
Vypinač sa používa na vypnutie motora

Nastartujte motor a presvedcte sa. ci sa motor zastavi. ked pohnete vypinacom do polohy stop.
Tlmič výfuku

Tlmič yvfuku je konstruovany na udžovanie minimálnych urovní hluku a na smerovanie yvfukovych plynov smerom od použivateťa.


V krajinach steplym a suchym podnebim hrozi veke riziko poziaru. Niektoré tlmiče vyfuku su preto vybavené zachytávacom iskier. Skontrolujte. Č je tlmič vfyfuku vo vašom stroji vybavený takýmtó zachytávacom.
V priade tmiča vyfuku je velmi doležite, aby ste sa riadiliPokynmi ohladom kontroly, udrzby a servisu stroja.
Nikdy nepoužívajte stroj, ktorý má chybný tlmic vyfuku!
Pravidelne kontrlujte. Či je tlmic vyfuku pvne pripevné k motoru.
Ak je tlmič vfyku na vašom stroji vybavený zachytávačom iskier. je potrebné ho pravidelne Čistit. Zaneseny zachytávač spôsobí prehriatie motora a može zapricinit jeho vázne poskodenie.


VAROVANIE! TImic vyfuku obsahuje chemické latky, ktoré mozu mat karcinogenne učinky. Vyhybajte sa kontaktu s tymito chemickymi latkami v pripe, ze sa tImic vyfukuPokazi.

VAROVANIE! Nezabudajte, Ze: Vyfukové plyny z motora su horuce a mozu obsahovat iskry, ktoré mozu vyvolat poziar. Nikdy nestartujte stroj vo vnutri alebo v blizkosti hor'aveho materialu!

MONTAZ
Upevnenie rukovate

Priskrutkujte favu rukovat k podere na rame a bezpečne utiahnite.

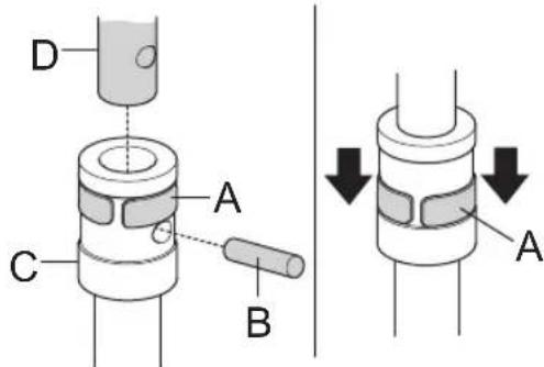
Montáž vrtáka

Posunte okruhlu sponu (A) a odstrante poistnu zavlacku (B) z vrtaka.

- Nasad'te vrtak (C) na vystupny hriadel (D).
Vlozte poistnuzavlaacku aposunte okruhlu sponu tak.aby zakryvala poistnuzavlaacku.
NARÁBANIE SPALIVOM
Stroj a palivo uchovávejte a prepravujte tak, aby nevznikalo ziadne riziko presakovania alebo vyparov, ktoré by prišli do kontaktu siskrami, otvoreným plameñom, napr. z elektrických strojov, elektrických motorov, elektrických rele/spinačov alebo ohrievacov.
Pri skladovani a preprave paliva vzdy pouzivajte na to urcené schvalene kanistre.
Pri skladovani stroja na dlhe obdobia je potrebne vyprazdnit nadrz. Ohladom zbavenia sa zvy-snheho paliva sa spoje s benzinovym cerpadlom vo va som okoli.
Pred dlhodobym skladovanim vykonajte kompletny servis a ycistite stroj.
Nahodnemu naśtartovaniu motora predidete tak. ze necháte kryt zapalovacej sviecky vždy odmontovaný poças dlhodobého uskladenia, kad stroj nie je pod priamym dohfadom a pri vykonávani servisnych opatreni.

VAROVANIE! Pri zaobchodzani's palivom budte opatrn. Pamatajte na nebezpecenstvo poziaru, vybuchu alebo nadychania sa vyparov.
Palivo
UPOZORNENIE! Stroj je vybaveny dvojtaktnym motorom a vždy sa musi prevaldzkovat's pouzitim zmesi benzinu a dvojtaktného motorovohe oleja. Je doležite presne namerat množstvo oleja, ktoré sa mazmiešat. aby sa zabezpečilo dosiahnutie správynej zmesi. Pri miesani malych množstiev paliva mozu aj male nepresnosti značne ovplyvni't pomer zmesi.

VAROVANIE! Palivo a vypary z neho su yvsoko hor'ave a ich vdychnutie alebo kontakt s pokozkou mozu sposobit vazne poranenie. Z tohto dovodu dorziavajtePokyny na manipulaciu s palivom a zabezpece dostatochnu ventilaciu.
Benzin

UPOZORNENIE! Vždy používajte kvalitnu zmes benzínu a oleja s oktánovym cislom minimálne 90 (RON). Ak je vaš stroj
vybaveny katalyzatorom (pozri kapitolu Technické udaje), použivajte vždy kvalitnu zmes bezolovnatého benzínu a oleja. Olovnatý benzín katalyzátor zniči.
Ak je dostupny. používajte benzín s nízkymi emisiami. známty tiež akо alkylátový benzín.

Palivo so zmesou etanolu. moze sa pouzit E10 (max. 10% zmes etanolu). Pouzivanie zmesi etanolu vyssich apo E10 zapricini prevadzku schudobnou zmesou, co moze sposobit poskodenie motora.
Najnizsie odporucane oktanove cislo je 90 (RON). Ak prevadzkujete motor pri nizsom oktanyom cisle aka 90, moze sa objavit tzv. klepanie. Toto vyvolava vysoku teplotu motora, ktora moze mat za nasledok vazne poskodenie motora.
- Ak dlhodobo pracujete s plnym plynom, odporuca sa pouzit benzin s vyssim oktanovym cislom.
Dvojtaktny olej
Použivajte olej pre dvojtaktné motory HUSQVARNA, ktory sa spezialne vyraba pre vzduchom chladene dvojtaktné motory, aby ste tak dosiahl majleps yvsledok a vykon.
Nikdy nepouzivajte dvojtaktny olej urceny pre vodou chladene zavesne motory, niekedy nazyvany aj olej pre lodné motory (TCW).
Nikdy nepoužívajte olej určeny pre štvoraktné motory.
Nizkokvalitny olej alebo prilis obohatenz mjes oleja apaliva mozu ohrozit funkciu katalyzatora a zniizj jeho zivotnost.
- Pomerzmiešavania
Zmes 1:50 (2%) dvojtaktneho oleja HUSQVARNA. 1:33 (3%) sinymi olejmi urcenymi pre vzduchom chladene dvojtaktne motory zaradené do triedy JASO FB/ ISO EGB.
| Benzín, liter | Dvojtaktný olej, liter | |
| 2% (1:50) 3% (1:33) | ||
| 5 0,10 0,15 | ||
| 10 0,20 0,30 | ||
| 15 0,30 0,45 | ||
| 20 0,40 0,60 | ||
NARÁBANIE SPALIVOM
Miesanie
Benzin a olej vzdy mieajte v cistej nadoby urenej na palivo.
Vzdy zainajte tak, ze nalejete polovicne mnozstvo benzinu. ktory sa ma pouizit. Potom pridajte cele mnozstvo oleja. Palivovu zmes premiesajte (pretraste). Pridajte zvy-snne mnozstvo benzinu.
Palivovu zmes pred naplenim do palivovej nadrze stroja度过 premiešajte (pretraste).


- Nenamiesavaje viac akomaximalne jednomesacnuzasobu paliva.
Ak sa stroj dlhsiu dobu nepouziva, palivova nadrz by sa mala vyprazdnit a ochestit.
Dopinanie paliva


VAROVANIE! Ak budete dodrziavat nasledovné opatrenia, zmensité tym riziko požiaru:
Nefajcite alebo neklad'te teple predmety v blizkosti paliva.
Pred dopñanim paliva vždy vypnite motor.
Pred doplenin paliva motor vždy
zastavte a nechajte ho na siekolko minut
vychladnút.
Vzdy pred nastartovanim sa so strojom vzdialte od miesta dopnania paliva a od zdroja.
Vzdy pouzivaje nadobu na palivo s ventilom proti pretecniu paliva.
Vycistite priestor okolo palivoveho veka. Zneciistenie nadrze moze sposobit prevadzkove problemy.
- Pretrasenim nádoby pred naplánim nadrize zabezpece,
aby palivo bolo dobre premiesane.


START A STOP
- Skontrolujte rezáky. Nikdy nepoužívajte tupé, prasknuté alebo poškodené rezáky.

- Skontrolujte. Č je stroj v dobrom stave. Skontrolujte. Č sú vsetky matice a skrutky dotiahnute.
- Skontrolujte. Či pri chode motora na volnobeh rezný nástavec vždy zastaví.
Stroj používajte len na učel. na ktroj ye určeny. - Skontrolujte, ci su rukovat a bezpečnostné funkcie stroja v dobrom stave. Nikdy nepouživajte stroi. ktorému chyba urcità CAST alebo bol upravený inak, ako je uvedene v jeho špecifikáciach.
Pred nastartovanim stroja musia byt vsetky kryty spravne nasadené a nesmu byt poškodené.
Start a stop


VAROVANIE! Pred nastartovanim sa vždy vdialte so strojom prblizne 3 metre od miesta doplánia paliva. Položte stroj na rovn'y povrch. Zabezpecte, aby rezací nastroj neprisiel dokontaktu so ziadnym predmetom. Zaistite, aby sa v pracovnej oblasti nephybovali ziadne neopravné osoby, v opacn pripadhe hrozi riziko važneho poranenia.
Studený motor
Zapalovanie: Prepnite vypinač stop do polohy start.
Palivová pumpa: Opakovane stlacajte klobucik palivovej pumpy. kym sa nenaplni palivom. Palivová pumpa nemusi byt naplnena uplne.

UPOZORNENIE! Nevstupujte ziadnou castou tela do vyznaçeneho priestoru. Kontakt moze ma' za nasledok popálenie pokožky alebo elektrický šok, ak je kryt zapalovacej sviečky poskodeny. Vždy používajte rukavice. Nepoužívajte stroj s poskodenym krytom zapalovacej sviečky.

Zastavenie
V tejto casti su uvedené základné bezpečnostné opatrenia týkajúce sa prace so zemným vrtákom.
Ak si nie ste isti. ako d'alej postupovat. obratte sa na odbornika. Kontaktujte svojho predajcu alebo servisnu dielnu.
Vyvarujte sa kazdemu pouzitiu stroja, ktore podla vas presahuje vaš možnosti.

VAROVANIE! Stroj moze sposobit'vaźne poranenie použivatei. Starostlivo si precitajte bezpećnostnéPokyny.Naučte sa stroj použivat.

VAROVANIE! Rezací nástroj. Nedotýkajte sa nástroja skór, akó vypnete motor.
Bezpečnostné opatrenia týkajúce sa okolia
Stroj nikdy nesmú používat deti.
Zaistite,aby sa pocas prace nikto nepribizil do yzdialenosti mensej ak0 5 m.
Nikdy nedovol'te pouzivat stroj inej osobe bez toho,aby ste sa najprv nepresvedcili, ze tato porozumela obsahu operatorskej priuCKy.
VAROVANIE! Vraniie do elektrickych
kablov a drotov alebo kontakt s nimi moze
sposobit usmretenie alebo važny uraz.
Zariadenie nie je elektricky izolované.
Pred vrtanim sa vždy uistite, ze v zemi nie
je zakopane potrubie, kable alebo droty,
aby ste predisci zasahu elektrickym
prudom. Pre poskytnutie informaci o
umiesteni kablov alebo potrubia sa
obratte na miestneho spravcu
inzinierskych sieti alebo na poruchovu
sluzbu. Podla potreby skontrolujte
skutočné umiestenie pozorným
vyhibenim zakopu alebo pouzitim
vyhladavacich zariadeni, ako je napriklad
detektor kablov.

VAROVANIE! Náraz do tvrdého predmetu v zemi, akou skaly alebo korene stromov, moze sposobit nahle zastavenie vtáka. Moze sposobit spatn reakciu v pohybe vtáka, v dosedku t Korej moze obsluhjuci procavnik stratit kontrlu nad zariadenim alebo ho moze zhodit na zem a sposobit tak važny uraz. Aby ste predisi urazu, vždy drzte vták pevn, aby ste mali takýto pohyb pod kontrlou.
PRACOVNE TECHNIKY

VAROVANIE! Nadmerne vystavovanie sa vibraciam moze sposobit problemy s krvnym obehom u ludi, ktori ho maju zhorseny, a taktiez moze sposobit poskodenie nervov. Ak sa u vas objavia priznaky nadmerneho vystavenia sa vibraciam, kontaktujhe svojho lekara. Tieto priznaky su trpnetie, strata citu, chvenie, pichanie, bolest, strata sily, zmeny vo farbe a stave pleti. Priznaky sa bezne pocituju v prstoch, na rukach alebo na zapasti. Riziko je vacsie pri nizkych teplotach.
VAROVANIE! Ak otáčky pri volnobehu nemožno nastavit, tak aby sa rezný nastroj zastavil, spoje sa s predajcom/ servisnou dielnou. Nepoužívaje stroj, kým nebol správné nastavený alebo opravený.
Tlmič výfuku


Tlmič výfuku je navrhnuty na znižovanie hladiny hluku a na smerovanie výfukovych plynov preč od obsluhy. Výfukové plyny su horuce a možu obsahovat iskry. ktoré, ak su namierene proti suchemu a hor'avému materílu, možu spősobit požiar.
Niektor tlmie yfuku su vybavené speciaiou sietkou na zachytabanie isikier. Ak ma vasa pila tento typ tlmica, mali by ste sietku cistit aspoj jederkrat tyzdenne. Najlepsie sa sietka cisti drtoenou kefou.
Sietku na tmičoch vyfuku bez katalyzátrora je potrebné raz za týžden vyčisté alebo v pripadé potreby vymenit. Ak je sietka poskodená, treba ju vymenit.
Ak je zachytávac casto zaneseny. moze byt poskodeny katalyzátor. Ak chcete skontrolovat tlmic yfuku,kontaktujte svojho predajcu. Zaneseny zachytávac sposobi prehriatie stroja a moze sposobit poskodenie valca a piestu.
UPOZORNENIE! Nikdy nepoužívajte stroj, ktorý má chybný tlmic výfuku.
Vzduchovy filter

Cistenie vzduchového filtra
Ak sa do motora dodáva nedostatočné množstvo paliva, otvorteviečko palivovej nadrze a skontrolujte. ci nie je znečistený palivový filter.
UDRZBA
Skrina prevodovky

Vždy po 50 hodinach prevadzky skontrolujte hladinu oleja v prevalovke alebo olej podla potreby ymeite (SAE 80-90).


-Uistite sa. ze vrtak stoji v zvislej polohe.
- Otvorte veko plniaceho otvoru oleja A a odskrutkujte skrutku B.
Napihite prevodovku olejom. Spravne mnozstvo oleja zistite, ked' z otvoru skrutky B vytecie kvapka oleja.
Zaskrutkujte skrutku B a zatvorte veko plniaceho otvoru oleja A.
Zapalovacia sviecka

Stav zapařovacej sviečky je ovplynnév:
- Nesprávnym nastavením karburatóra.
- Nesprávnou zmesou paliva (prilis ve' alebo nesprávny druh oleja).
Znečisteným filtrom.
Tieto cinitele sposobuju povlaky na elektrédach zapalovacej sviecky, ktore mozu mat za následok prevadzkové problémy a startupe tázkosti.
Ak ma stroj nizky vykon, problemy pri nastartovani alebo bezi nedostatočne: pred vykonanim akychkol'vek dalsich krokov vždy skontrolujte zapa'ovaciu sviečku. Ak je zapa'ovacia sviečka znečistena, yvčistje ju a skontrolujte, ci medzera medzi elektrédami je 0,9 - 1,0 mm. Zapa'ovaciu sviečku je
potrebne vymenit' po priblizne mesiaci prevadzky, v pripe de potreby aj skor.

UPOZORNENIE! Vzdy pouzivajte odporucany typ zapaovacej sviecky! Nespravna zapalovacia sviecka moze vazne poskodit piest/ Valec. Skontrolujte, ci je zapalovacia sviecka spravne nasadena.
UDRZBA
Plan udrzby
Nasleduje zoznarn postupov udrzby. ktoré musite vykonat. Väčsina z nich je opisáná v āsti Udržba. Použivatel'moze vykonávat iba udrzbu a servis popisané v navode na obsluhu. Náročnejsie práce sa musia vykonávat v autorizovanej servisnej dielni.
| Śdrżba Denná udrzba | Tyzdenná udrzba | Mesačná udrzba | |
| Vycistite vonkajšok stroja. X | |||
| Skontrolujte. Či rukovat a držadlo nemesú známky poškodenia a Či su správné zaistené. | X | ||
| Skontrolujte. Či vypínač funguje správné. X | |||
| Skontrolujte. Či pri voínobehu nerotuje rezací nastroj. X | |||
| Vycistite vduchovy filter. Vymeřte ho, ak je to potrebné. X | |||
| Skontrolujte rezáky. Nikdy nepoužívajte tupé, prasknuté alebo poškodené rezáky. | X | ||
| Skontrolujte. Či su matice a skrutky dotiahnute. X | |||
| Skontrolujte. Či z motora. nárdrze na palivo alebo palivovych vedení nepresakuje palivo. | X | ||
| Skontrolujte štarté răstovaciu šnúru. X | |||
| Skontrolujte. Či nie su poškodené Časti na tlmenie vibrácii. X | |||
| Vycistite vonkajšok zapařovacej sviečky. Odmontujte ju a skontrolujte medzeru medzi elektrédami. Nastavte medzeru na 0,9-1,0 mm alebo vymeřte zapařovaciu sviečku. Skontrolujte. Či je zapařovacia sviečka správné nasadená. | X | ||
| Vycistite vonkajšok karburátora a priestor okolo neho. X | |||
| Skontrolujte hladinu oleja v prevodovke. v pripline potreby olej doplěte. X | |||
| Niektoré tlmiče výfuku su vybavené špeciálnou sietkou na zachytávanie iskier. Ak má vaša Pilà tento typ tlmiča, mali by ste sietku Čistí asponůjenkrát tyzdenne. Najlepšie sa sietka Čistí drótenou kefou. | X | ||
| Skontrolujte. Či nie je palivový filter znečistený Či nie je palivová hadica prasknutá alebo inak poškodená. Vymeřte ich, ak je to potrebné. | X | ||
| Skontrolujte vsetky káble a pripojenia. X | |||
| Skontrolujte. Či nie su spojka, pruziny spojky a bubon spojky opotrebované. Potrebné výmnu vykoná autorizovaná servisné dielna. | X | ||
| Vymeřte zapaťovaciu sviečku. Skontrolujte. Či je zapaťovacia sviečka správné nasadená. | X |
TECHNICKE UDAJE
Technické udaje
543 AE15
Motor
Objem valca, cm3 40,1
Vrtanie valca, mm 40.5
Zdvih, mm 31,1
Otacky pri volnobehu, ot./min. 3000
Odpurucanamaximalnarychlost,otacky/min 12000
Max. vkykon motora podla ISO 8893, kW/ ot./min. 1,5/9000
Tlmič katalyzátrora vyfuku Nie
Zapalovaci system s obmedzovačom otacok Ano
Zapalovacisystem
Vyrobca/typ zapalovacieho systemu CDI
Zapafovacia sviecka NGK CMR7H-10
Medzera medzi elektródami.mm 0.9-1.0
Hladina akustického vykonu, meraná v dB(A) 106
Hladina akustického vykonu, garantovaná LwA dB(A) 108
Hladiny hluku
(vid poznámka 2)
Poznárka 1: Emisie hluku do okolia sa meraju ako akusticky vykon (LwA) v sulade so smernicou EU 2000/14/ES. Uvadzana hladina akustického vykonu pre stroj bola meraná s originalnym rezacim nastrojom. ktory produkuje majvyssiu uroven. Rozdiel medzi zarucenym a nameranym akustickým vykonom je, ze zaruceny akustický vykon zahina aj rozptyl yvsledkov merania a rozdliely medzi jegnotlivymi strojmi rovnakého modelu v sulade so smernicou 2000/14/ES.
Poznámka 2: Uvádzané udaje pre ekvivalentnu hladinu akustického tlaku majú typický statistický Rozptyl (standardnu odchylku) 1 dB (A).
Poznámka 3: Uvédzane udaje pre ekvivalentnu hladinu vibráci majú typický statistický roztpty (standardnu ochyiku) 1 m/s².

Slovak-341




TECHNICKE UDAJE
EU vyhlasenie o zhode (Uplatnuje sa iba na Europu)
Spolocnost Husqvarna AB, SE-561 82 Huskvarna, Svedsko, tel.: +46-36-146500, zodpovedne vyhlasuje, ze zernny vrtak Husqvarna 543 AE15 so seriovymi cislami z roku 2012 a novími (rok je jasne uvedeny obycajný pismom na typovom stitku. nasledovaný seriovém cislom), splha poziadavky SMERNICE RADY.
- zo 17. maya 2006. "Smernica o strojoch" 2006/42/ES.
- Z 15. decembra 2004 „ohádom elektromagnetickej kompatibility"2004/108/EEC.
- z 8.5.2000 ohfadom emisi hluku do okolia"2000/14/EG. Hodnotenie zhody podla dodatku V. Informácie o emisiéch hluku najdete v kapitole Technické udaje.
Boli uplatné nasledovné normy:
EN ISO 12100:2010, ISO 5349-1:2001, EN ISO 3744:2010, EN ISO 22868:2011
SMP Svensk Maskinprovning AB, Box 7035, SE-750 07 Uppsala, Svedsko, vykonal dobrovolnu typovsu skusku pre Husgvarna AB.
Certifikat mácísló: 543 AE15 - SEC/13/2365
Huskvarna 11.juana 2013

Bengt Frögelius, Development manager (Oprávné zástupca spolčnosti Husqvarna AB a zodpovedné za technickú dokumentáciu.)
OBJASNJENJE ZNAKOVA
Znakovi
UPOZORENJE! Syrdlo za zemlju je opasno orude akse koristi nepažljivo ili nepropisno i moze izazvati teske, pa cak i smrtonosne ozljede. Od iznimne je vaznosti procitati i shvatiti sadrzaj ovih uputa za uporabu.
Pazljivo procitajte piručnik i robno shvatite sadžaj prije rukovanja strojem.
Hladina akustického vykonu. zmeñá dB(A) 106
Hladina akustického vykonu, zarucená L_WAB(A) 108
Hladiny hluku
(viz poznámka 2)
JednoduchýManuál