543AE15 - Borrmaskin HUSQVARNA - Gratis bruksanvisning och manual
Hitta enhetens manual gratis 543AE15 HUSQVARNA i PDF-format.
Vanliga frågor - 543AE15 HUSQVARNA
Ladda ner instruktionerna för din Borrmaskin i PDF-format gratis! Hitta din manual 543AE15 - HUSQVARNA och ta tillbaka ditt elektroniska enhet i hand. På denna sida publiceras alla dokument som behövs för att använda din enhet. 543AE15 av märket HUSQVARNA.
BRUKSANVISNING 543AE15 HUSQVARNA
VARNING! En jordborr kan felaktigt
eller slarvigt anecd vara ett farlig
redskap, som kan orsaka allvarlig, till
och med livshotande, skada. Det ar
mycket viktigt att du laser och forstär
innehallet ienna bruksanvising.
Läsigenbruksanvisningen noggrant och Första innehället innan du anvander maskinen.
Använd alltid:
- Godkända hörskénydd
- Godkända ögonskydd
Att borra i ellert kontakt med elektriska kablar erler ledninger kan leda till dodsfall erller allvarlig kroppsskada. Maskinen ar inte elektriskt isolerad.
Om borren slar mot nagot hart i jorden, t.ex. stenar eller rottter kan detta orsaka att borren plotsligt stannar.Det kan leda till en motreaktionsrorelse pa skruven, vilket kan leda till att anvandaren forlorar kontrollen over maskinen erler kasta honom till marken, vilket resulterar i allvarliga skador.
Använd alltid godkända skyddshandskar.
Använd halkfria och stadiga stövlareller skor.
Tändning; choke: Ställ chokereglaget i chokeläge.









Branslepump
Bulleremissioner till omgivningen enligt
Europeiska Gemenskapens direktiv.
Maskinens emission anges i kapitel
Tekniska data och pa dekal.
Undvik all kontakt med heta ytor.



Övriga pa maskinen angivna symboler/dekaler avser specifica krav for certifleringar pa vissa marknader.
Kontroll och/eller unterhalb skall utforas med motorn franslagen, med stoppkontakten i lage STOP.
Anvand alltid godkanda skyddshandskar.
Regelbunden rengöring kravs.
Okular kontroll.




INNEHÄLL
Innehäll Innan start maste följande
SYMBOLFÖRKLARING
Symboler 21
INNEHÄLL
Innehall 22
Innan start maste foljande observeras: 22
INLEDNING
Bastekund! 23
VAD AR VAD?
Vad ar vad? 24
ALLMÄNNASÄKERHETSINSTRUKTIONER
Viktigt 25
Personlig skyddsutrustning 25
Maskinens sakerhetsutrusting 26
MONTERING
Montering av handtag 28
VARNING! Under inga forhallanden far maskinens ursprungliga utformning andras utan tillstand fran tillverkaren. Anvand alltid originaltillbehör. Icke auktoriserade andringar och/eller tillbehör kan medföra allvarliga skador erller dödsfall for foraren erler andra.

VARNING! En jordborr kan felaktigt aller slarvigt anvand vara ett farligt redskap, som kan orsaka allvarlg, till och med livshotande, skada. Det ar mycket viktigt att du laer och forstar innehallet ienna braupsanvisning.
INLEDNING
Bäste kund!
Gratulerar till Ditt val att kopa en Husqvarna-product! Husqvarna har anor som gár tillbaka till 1689 dà kung Karl XI lát uppfora en fabrik pá stranden av Huskvarnaan for tillverkning av musköter. Placeringen vid Huskvarnaan var logisk, eftersom ān användes for att alstra vattenkraft och pá sá satt utgjorde ett vattenkraftverk. Under de mer ān 300 ar som Husqvarna-fabriken funnits har otaliga produkter tillverkats, all frán vedspisar till moderna koksmaskiner, symaskiner, cyklár, motorcyklar mm. 1956 lanserades den Första motorgräsklipparen som följdes av motorsagen 1959 och det ār inom detta område Husqvarna idag verkar.
Husqvarna ar idag en av varldens ledande tillverkare av skogs- och tradgardsprodukter med kvalitet och prestanda som hogsta prioritet. Affarsiden ar att utveckla, tillverka och marknadsfor motordrivna Produktker for skogs- och tradgardsbruk samt bygg- och anlaggningsindustrin. Husqvarnas mal ar ocks at vara i framkant vad galler ergonomi, anvandarvanlight, sakerhet och miljotankande, varfor en mangd olica finesser tagits fram for att forbättra Produkterna inom dessa områden.
Vi ar övertygade om att Ni med tillfredsstälsekommen att uppskatta vār produits kvalitet och prestanda under en lang tid framöver. Ett köp av nagon av vāraprodukter ger Dig tilgang till professionell hjälp med reparationser och service om nagot anda skulle hända. Om inköpsstället for maskinen inte var nagon av vāra auktoriserade äterförsäljare, fraga dem after narmaste serviceverkstad.
Vi hoppas att Du kommt att vara nojd med Din maskin och att den ska fara vara Din foljeslagare under en lang tid framover. Tank pa att denna brauksanvisning ar en vardehandling. Genom att folja dess innehall (anvandning, service, underhall etc) kan Du vasantigt hoja maskinens livslangd och aven dess andrahandsvarde. Om Du saljer Din maskin, se till att overlata brauksanvisningen till dennya agaren.
Tack for att du anvander en Husqvarna-product!
Husqvarna AB arbetar ständigt med att vidareutveckla sinaprodukter och forbehaller sig därfor ratten till andringar beträffande bl.a. form och utseende utan foregäende meddelande.

VAD AR VAD?

Vad ar vad?
1 Pafylling av olja
2 Luftfilterkapa
3 Chokereglage
4 Gasreglage
5 Växel
6 Borr (Finns som tillbehör.)
7 Skär (Finns som tillbehör.)
8 Skarutrusting
9 Startgasknapp
10 Stoppkontakt
11 Starhandtag
12 Branslepump
13 Bransletank
14 Tändhatt och tändstift
15 Cylinderkapa
16 Bruksanvisning
17 Kombinyckel
ALLMÄNNASÄKERHETSINSTRUKTIONER
Viktigt Personlig skyddsutrustning
VIKTIGT!
Maskinen arendast konstruerad for att borra i jord med. Nationell lagstiftning kan reglera maskinens anvandning. Ta reda pa vad som galler pa din arbetsort innan maskinen tas i bruk.
Använd aldrig en maskin som modifierats sa att den ej langre overensstämmer med originalutforandet.
Använd aldrig maskinen om du ar trott, om du har druckit alkohol erer om du tar mediciner, som kan paverka din syn, ditt omdöme erler din kroppskontroll.
Använd personlig skyddsutrustning. Se anvisningar under rubrik "Personlig skyddsutrustning".
Använd aldrig en maskin som ar felaktig. Folj
underhälls-, sakerhetskontroll- och serviceinstruktioner
ienna bruksanvisning. Vissa underhälls- och
serviceatgärder skull utforas av tränade och
kvalificerade specialister. Se anvisningar under rubrik
Underhäll.
Samtiga kapor och skydd maste vara monterade fore start. Se till att tandhatt och tandkabel ar oskadade for att undvika risk for elektrisk stot.
Se till att ingen kommt narmare an 5 m under arbetet.
Inspektera hela maskinen innan anvandning. Folj
underhällsschemat under kapitel Underhall.

VARNING! Denna maskin alstrar under drift ett elektromagnetiskt falt. Detta falt kan under vissa omständigheter ge paverkan pa aktiva erer passiva medicinska Implantat. For att reducera risken for allvariga erer livshotande skador rekommenderar vioridae personer med Implantat att radgora med lakare samt tillverkaren av det medicinska implantatet innanenna maskin anvands.

WARNING! Att kora en motor Iett instangt.
eller daltigt ventilerat utrymme kan
orsaka dodsfall genom kvvning eller
kolmonoxidforgiftning.
VIKTIGT!
En jordborr kan felaktigt aller slarvigt anvand vara ett farlig redskap, som kan orsaka allvarlig, till och med livshotande, skada. Det ar mycket viktigt att du laser och forstar innehallet ienna braksanvising.
Vid all användning av maskinen skall godkänd personlig skyddsutrustning anvandas. Personlig skyddsutrustning eliminerar inte skaderiskeken, men den reducerar effekten av en skada vid ett olyckstillbud. Be din Återförsäljare om hjälp vid val av utrustning.

WARNING! Var alltid uppmarksam pa varningssignaler erer tillrop nar horselskydd anvands. Tag alltid av
horselskydden sa snart motorn stoppats.
HORSELSKYDD
Horselskydd med tillracklig dampeffekt ske anvandas.

OGONSKYDD
Skyddsglasogon eller visir maste anvandas.


HANDSKAR
Handskar ske anvandas naretbehovs, tex vid montering av skarutrusting.

STÖVLAR
Använd halkfria och stadiga stövlar erler skor.


KLÄDSEL
Använd aldrig lost sittande kläder, halsduk, smycken aller dylikt som kan fastna i borret. Se till att hareit inte hänger nedanfor axlarna.
ALLMÄNNASÄKERHETSINSTRUKTIONER
FÖRSTA FÖRBAND
Forsta forband aka alltid finnas till hands.

Maskinens sakerhetsutrustning
I detta avsnitt forklaras vilka maskinens sakerhetsdetaljer ar, vilken Funktion de har somt hur kontroll och underhall skall utforas for att sakerstalla att de ar i Funktion. Se kapitel Vad ar vad?, for att hitta var dessa detaljer ar placerade pa din maskin.
Maskinens livslängd kan förkortas och risken for olyckor kan öka om unterhäll av maskinen inte utförs på rätt satt och om service och/eller reparationer inte utförs fackmannamässigt. Om du behöver ytterligare uppliesningar kontakta narraste serviceverkstad.
VIKTIGT!
All service och reparation av maskinen kraver specialutbildning. Detta gäller särskilt maskinens sakerhetsutrustning. Om maskinen inte klararningar av nedan listade kontroller sku du uppsoka din serviceverkstad. Ettkop av nagon av varaprodukter garanterar att du kan fä en fackmannamassig reparation och service utfords. Om inkopsstallet for maskinen inte ar en av vara servande fackhandlare, fraga dem after narrmaste serviceverkstad.

WARNING! Använd aldrig en maskin med defekt sakerhetsutrustning. Maskinens sakerhetsutrustning ska kontrolleras och underhallas som beskrivits i detta avsnitt. Om din maskin inte klarar alla kontrollerna ska serviceverkstad uppsokas for reparation.
Stopkontakt
Stopkontakten ske anvandas for att stanga av motorn.

Starta motorn och kontrollera att motorn stangs av när stoppkontakten fors till stopplaget.
Ljuddampare

Ljuddamparen ar konstruerad for att ge sa lag ljudniva som mojigt samt for att leda bort motorns avgaser fran anvandaren.

I lander med varmt och torrt klimat ar risken for bränder pataglig. Vi har dafor utrustat vissa luddampare med ettsk. gnistfangarnat. Kontrolera om din maskins luddampare har ett sadant nat.
For ljuddampare ar det mycket viktigt att instruktionerna for kontroll, underhall och service foljs.
Använd aldrig en maskin som har en defekt ljuddämpare. Kontrollera regelbundet att ljuddämparen sitter fast pa motorn.
Ar din maskins ljuddampare utrustad med ett gnistfangarnat, skall detta rengoras regelbundet. Ett igensatt nat leder till varmkorning av motorn med allvarlig motorskada som foljd.


VARNING! Ljuddamparen innehaller kemikalier som kan vara cancerframkallande. Undvik kontakt med dessa kemikalier ifall ljuddamparen skulle g asonder.

WARNING! Tänk på att: Motorns avgaser ár heta och kan innehálla gnistor vilka kan orsaka brand. Starta dārfor aldrig maskinen inomhus eller nara eldfängt material!

MONTERING
Montering av handtag

- Skruva i vänster handtag i fästet på ramen och dra at ordentlich.

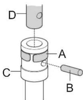
Montering av borr

- Skjut lásbandet (A) och tag bort láspinnen (B) fran borren.


- Montera borret (C) på den utgående axeln (D).
- Montera laspinnen och skjut laspandet sa att det tacker laspinnen.
BRÄNSLEHANTERING
Branslesakerhet
Starta aldrig maskinen:
1 Om du spilt bransle pa den. Torka av allt spill och lat bensinresterna avdunsta.
2 Om du spilt bransle pa dig sjalv aller dina klader, byt klader. Tvatta de kroppsdelar som varit i kontakt med bransle. Anvand tval och vatten.
3 Om maskinen lacker bransle. Kontrolera regelbundet after lackage fran tanklock och bransleledningar.
Transport och forvaring
- Förvara och Transportera maskinen och branslet sa att eventuellt lackage och angor inte riskerar att komma i kontakt med gnistor erller oppen laga, exemplvis fran elmaskiner,elmotorer, elkontakter/ strombrytareEller varmepannor.
- Vid forvaring och transport av bransle skar for andamalet specielt avsedda och godkanda behallare anvandas.
- Vid langre tids forvaring av maskin sca bransletanken tommas. Hör med narmaste bensinstation var du kang Göra dig av med bransleöverskott.
- Se till att maskinen ar väl rengjord och att fullständig service ar utförd innan langtidsforvaring.
For att undvika ofrivillig start av motorn, aka alltid tandhatten avlagnas vid langtidsforvaring, om maskinen ej ar under uppsikt och vid alla forekommande serviceatgarden.

VARNING! Var försiktig vid hantering av brändsle. Tänk på brand-, explosions- och inandningsrisker.
Drivmedel
OBS! Maskinen ar forsedd med en tvataktsmotor och maste alltid koras pa en blandning av bensin och tvataktsolja. For att sakerstalla ratt blandningsforhallande ar det viktigt att noggrant mata den oljemangd som skall blandas. Vid tillblandning av sma branslemangder inverkar aven sma felaktigheter i oljemangden krattigt pa blandningsforhallandet.

VARNING! Bransle och bransleangor ar mycket brandfarliga och kan ge allvarliga skador vid inandning och hudexponering. Var darrfor forsiktig vid hantering av bransle och sorj for god luftventilation vid branslehantering.
Bensin

OBSI Anvand alltid oljeblandad kvalitetsbensin med minst 90 oktan (RON). Om din maskin ar utrustad med
katalysator (se kapitel Tekniska data) skall alltid blyfri oljeblandad kvalitetsbensin anvandas. En blyad bensin forstor katalysatorn.
Där miljöanpassad bensin, s.k. alkylatabensin finns tillganglig skā sādān anvandas.

Etanolblandat bransle, E10, fär användas (max 10 % etanolblandning) Om etanolblandninger högre an E10 används blir körforhällandet for magert, vilket kan leda till skador pa motorn.
- Rekommenderat lagsta oktantal ar 90 (RON). Om man kör motorn pa bensin med ett lagre oktantal an 90 kan sa kallad spikning upptrada. Detta leder till okad motortemperatur, som kan orsaka svara motorhaverier.
- Vid arbete med kontinuierigt hoga varvtil rekommenderas hogre oktantal.
Tvataktsolja
- För bösta resultat och Funktion använd HUSQVARNA tvataktsolja, som ar speicielt tillverkad for vara luftkylda tvataktsmotorer.
- Anvand aldrig tvataktsolja avsedd for vattenkylda utombordsmotorer, s.k. outboardoil (benamnd TCW).
- Använd aldrig olja avsedd for fyraktsmotorer.
- En låg oljekvalitet aller for fet olje/bransle blandning kan äventyra katalysatorns Funktion och minska dess livstid.
Blandningsforhallande
1:50 (2%) med HUSQVARNA tvataktsolja.
1:33 (3%) med andra oljor giorda for luftkylda tvataktsmotorer klassade for JASO FB/ISO EGB.
| Bensin, liter | Tvåtaktsolja, liter | |
| 2% (1:50) | 3% (1:33) | |
| 5 0,10 0,15 | ||
| 10 0,20 0,30 | ||
| 15 0,30 0,45 | ||
| 20 0,40 0,60 | ||
BRÄNSLEHANTERING
Blandning
Blanda alltid bensin och olja i en ren behallare godkand for bensin.
Borja alltid med att fylla i halften av bensinen som skall tillblandas. Fyll direfter i hela oljemängden. Blanda (skaka) bransleblandningen. Fyll aterstændemängd bensin.
- Blanda (skaka) branslebandningen omsorgsfullt innan maskinens bransletank fylls.


Blanda inte bransle for mer an max 1 manads behov.
- Om maskinen inte används under en langre tid skall bransletanken tomas och rengöras.
Tankning

WARNING! Foljande forsiktighetsatgärder minskar brandrisken:
Rokinte ellper placera nagot varmt foremal i narheten av bransle.
Tanka aldrig med motorn i drift.
Stanna motorn och lat den svalna nagra.
minute fore tankning.
Öppna tanklocker sakta vid branslepaflinyning sa att eventuelt overtryck sakta forsvinner.
Flytta alltid maskinen fran tankningsplatsen och bensindanken fore start.
- Använd branslebehällare med overflynadsskydd.
- Torka rent runt tanklocket. Föroreninger i tanken orsakar driftstörningar.
- Se till att branslet ar val blandat genom att skaka behallaren innan tanken fylls.


START OCH STOPP
Kontroll fere start

- Kontrollera skaren. Använd aldrig sloa, spruckna aller skadade skär.

- Kontrollera maskinen sa att den ar i fullgott skick. Kontrollera att alla muttrar och skruvar ar atdragna.
- Kontrollera att skärutrustingen alltid stannar pa tomgäng.
- Använd maskinen endast till det den är avsedd for.
- Se till att handtag och sakerhetsfunktioner ar i ordning. Anvand aldrig en maskin som saknar nagon del aller som andratsutanfor specifikationen.
- Samtiga kapor scall vara korrekt monterade och felfria fore start av maskinen.
Start och stopp


VARNING! Flytta alltid maskinen ca 3 m fran tankningsplatsen fore start. Placera maskinen pa ett fast underlag. Se till att skärutrustningen ej kan ta I nagot foremål. Se till at inga obehöriga finns inom arbetsområdet, annars finns risk for allvarliga persorskador.
Kall motor
Tändning: Ställ stoppkontakten i startläge.
Branslepump: Tryck pa bransleumpens gummiblasa
upprepade ganger tills bransle borjar fylla blasan. Blasan behover ej fyllas welt.

Choke: Ställ chokereglaget i chokeläge.

Startgas:
Startgasläge erhält genom att forst trycka in gasreglaget och sedan trycka in startgasknappen (A). Slapp sedan gasreglaget och därefter startgasknappen. Startgasfunktionen ar nu aktiverad. For att aterstalla motorn till tomgang trycks gasreglaget in.

Varm motor
Använd sama startforarde som für kall motor men utan att stalla chokereglaget i chokeläge.
START OCH STOPP
Start

VARNING! När motorn startas med chokereglaget i choke-ller startgasläge börjar skärurtrustningen omedelbart att rotera.
Häll maskinen upprättstaende med vänster hand. Grip starthandtaget, drag med höger hand langsamt ut startlinan tills ett motständ kännns (starthakarna griper in) och gör därefter snabba och kraftfulla ryck.
För tillbaka chokereglaget till ursprungslaget omedelbart
när motorn tänder och gör förnnyade startförsök tills
motorn startar.
OBS! Drag inte ut startlinan helt och slapp inte Heller starthandtaget frän helt utdraget lage. Detta kan orsaka skador pa maskinen.

OBS! Placera inte nagen del av kroppen pa den markerade ytan. Kontakt kan resultera i brannskador pa huden aller elekrisk stot om tandhatten ar defekt. Anvand alltid handscar. Anvand aldrig en maskin med defekt tändhatt.

Stopp
Motorn stangs av genom att stoppkontakten firs till stopplage.

ARBETSTEKNIK
Allmanna arbetsinstruktioner
VIKTIGT!
Detta avsnitt behandlar grundlaggande sakerhetsregler for arbete med jordborr.
När du rák ar ut För en situation som gör dig osäker angäende fortssatt använding skadu radfraga en expert. Vänd dig till din äterförsäljare eller din serviceverkstad.
Undvik all användning du anser dig otilräcklig kvalificerad for.

WARNING! Maskinen kan valla allvarlig personskada. Las
sakerhetsinstruktionerna noga. Lar dig hur du ska anvanda maskinen.

WARNING! Skärande verktyg. Vidrö ej verktyget atan att Först stänga av motorn.
Sakerhetsinstruktioner for omgivningen
- Tillat aldrig barn att anvanda maskinen.
- Se till att ingen kommt narmare an 5 m under arbetet.
- Lat aldrig nagan annan anvanda maskinen utan att forsakra dig om att de har LAST och forstatt innehallet i bruksanvisingen.
Sakerhetsinstruktioner under arbetet

- Se alltid till att du har en saker och stadig arbetsposition.
- Använd alltid báda handerna für att hälla i maskinen.

-
Använd höger hand für att manovrera gaspádraget.
-
Se till att händer och fötter intekommen at skärutrustningen nar motorn ar i gang.

- Starta borning med halv gas och gradvis öka motorvarvtalet sa att borren kan komma ner i marken smidigt.
- Om borren har fastnat i marken och inte kan dras ut, stanna motorn och vrid skruven moturs.
- Stang alltid av motorn när du har borrat fardigt.
Nar motorn stangts av, hall hander och foter borta fran skarurustningen tills den stannat helt. - Om nagot främande foremäl träffas aller om vibrationer uppstár sca du stanna maskinen. Ta bort tandkabeln fran tandstiftet. Kontrollera att maskinen inte År skadad. Reparera eventuella skador.

WARNING! Att bora i aller kontakt med elektriska kablar erler ledninger kan leda till dödsfall erler allvarlig kroppsskada. Maskinen ar inte elektriskt isolerad. For att minska risiken for elstotar,kontrollera alltid underjordiska ledninger, kablar och ledninger innan borrning. Kontakta det lokala elbolaget for information om kabel-och ror platser. Om det behovs, bekrafta den verkliga placeringen av kabeln genom att anecd kabeldetektorer och grava rorgravar.

VARNING! Om borren slár mot nagol帽子 I jorden, t.ex. stenar eller rotter kan detta orsaka att borren plotsligt stannar.Det kan leda till en motreaktionsrörelse pa skruven, vilket kan leda till att användaren forlorar kontrollen over maskinen eller kasta honom till marken, vilket resulterar I allvarllga skador.For att minska risken for skador, hall alltid jordborren ordentligt for att styra en sadan rorelse.
ARBETSTEKNIK

VARNING! Overexponering av vibrationer kan leda till blodkarls-ller nervskador hos personer som har blodcirkulationssörninger. Uppsök likare om ni upplever kroppsliga symptom som kan relateras till overexponering av vibrationer. Exempel pa sadana symptom ar domningar, avsaknad av kanseI, "kittlingar", "stickninger", smarta, avsaknad ellreducing er normal styrka, forandringar i hudens farg erller dess yta. Dessa symptom upptrader vanligtvis i fingrar, harder erler handleder. Riskerna kan oka vid laga temperaturer.
Sakerhetsinstruktioner after arbetets slut

- Färe rengöring, reparation aller inspektion skä du se till att skärutrustingen har stannat. Tag bort tändkabeln frän tandstiftet.
- Använd alltid kraftiga handskar vid byte av skären.
- Skären ar mycket vassa och skärskador kan mycket lätt uppsta.

- Forvara maskinen ötkomlig for barn.
- Använd endast originalreservdelar vid reparation.
UNDERHALL
Förgasare
Justering av tomgang (T)
Kontrollera att luftfrittaret rent. Nar tomgangen ar korrekt installd, skall skarutrustningen ej rotera. Om justering kravs, stang (medurs) T-skruven med motorn igang tills skarutrustningen boorjar rotera. Oppna (moturs) skruven tills skarutrustningen stannar. Korrekt tomgangsvarvtal har upnatts nar motorn gär jamnt i alla positioner, med god marginal till det varvthal da skarutrustningen boorjar rotera.


VARNING! Kan tomgängsvarvtalet ej justeras sa att skärutrustingen stär stilla, kontakta din aterforsäljare/ serviceverkstad. Använd inte maskinen forrän den ar korrekt installd eller reparerad.
Ljuddampare

Ljuddamparen ar utformad for att dampa ljdnivan och for att leda avgaserna bort fran anvandaren. Avgaserna ar heta och kan innehalla gnistor vilka kan orsaka brand om avgaserna riktas mot ett torrt och brannbart material.
Vissa ljuddampare ar utrustade med ett specielt gnistfangarnat. Om Din maskin ar utrustad med en sadan ljuddampare bor naret rengoras en gang per vecka. Detta gors bist med en stalborste.
Pá ljuddàmpare utan katalysator bör nátet rengóras och eventuelt bytas en gāng per vecka. Vid ev. skador pánatet skadetta bytas.
Om nätet ofter ár igensatt, kan delta vara ett tecken på att katalysatorns fonction ár nedsatt. Kontakta din Återförsäljare for kontroll. Med ett igensatt nat overhettas maskinen med skador på cylinder och kolv som följd.
OBS! Använd aldrig maskinen med en Ijuddämpare som ar i)dalgit skick.
Luftfilter

Luftfiltret skall regelbundet rengoras frandamm och smuts for att undvika:
Forgasarstorningar
- Startproblem
- Samre effekt
- Onodigt slitage pà motorns delar.
- Onormalt hog bransleforbrukning.

Rengör filtret after 25 timmars drift aller oftare om forhällandena ar ovanligt dammiga.
Demontera luftfilterkapan och tag bort filtret. Blås rent med tryckluft.
Ett lange anvant luftfilter kan aldrig bli fullstandigt rent.
Darfornaste filtret med jamna mellanrum ersattas med
ett nytt. Ett skadat luftfilter maste alltid bytas ut.
Branslefilter


1
1 Bransfeilter
När motorn inte fär nagot bransle, kontrollera att tankloket och branslefiltret inte ar blockerade.
UNDERHÄLL
Växel

Kontrollera oljenivan i vaxelladan var 50 timmars
anvandning och byt med ny olja vid behov (SAE 80-90).


- Kontrollera att jordborren stär i uppratt lage.
- Oppna oljepafyllningslocket A och skruven B.
Fyll vaxelladan med olja. Ratt niva av olja nas nr du kan se en drope olja kommt ut ur halet for skruven B. - Montera skruv B och stäng oljepäfyllningsloket A.
Tändstift

Tändstiftets kondition paverkas av:
- En felaktigt installd forgasare.
- En felaktig oljebandning i branslet (for mycket aller felaktig olja).
- Ett smutsigt luftfilter.
Dessa faktorer orsakar belaggningar på tändstiftets elektroder och kan fororsaka driftstörningar och startsvärgisher.
Om maskinens effekt ar lag, om den ar svär att starta eller om tomgangen ar orolig: kontrollera alltid forst tändstiftet innan ytterligare atgärder vidtages. Om tändstiftet ar igensatt, rengör det och kontrollera samtidigt att elektrodgapat ar 0,9-1,0 mm. Tändstiftet bör bytas after ungefär en manad i drift aller om nödvändigt tidigare.

OBS! Använd alltid rekommenderad tändstiftstyp! Felaktigt tändstift kan forstöra kolv/cylinder. Se till att tändstiftet har s.k. radioavstörning.
UNDERHÄLL
Underhãllsschema
Nedan följer en lista über den skötsel som skull utforas pa maskinen. De flesta av punkterna finns beskriva i avsnittet Underhall. Användaren far endast utfora sādana underhalls- och servicearben som beskrivs ienna bruksanvising. Mer omfattande ingrepp skall utforas av en auktoriserad serviceverkstad.
| Underhäll Daglig tillsyn Veckotillsyn Mânadstillsyn | |||
| Rengör maskinen utvändigt. X | |||
| Kontrolera att handtaget och styret är hela och sitter fast ordentigt. | X | ||
| Kontrolera att stoppkontakten fungerar. X | |||
| Kontrolera att skärutrustningen inte roterar på tomgang. X | |||
| Rengör luftfiltret. Byt om det behövs. X | |||
| Kontrolera skären. Använd aldrig slöa, spruckna eller skadade skär. | X | ||
| Kontrolera att skruvar och muttrar äådragna. X | |||
| Kontrolera att inget brändsläckage finns frän motor, tank eller brändsledningar. | X | ||
| Kontrolera startapparaten med dess lina. X | |||
| Kontrolera att vibrations-isolatorerna inte är skadade. X | |||
| Rengör tändstiftet utvändigt. Demontera det och kontrolera elektrodavständet. Justera avständet till 0,9-1,0 mm erler byt tändstift. Se till att tändstiftet har s.k. radioavstörning. | X | ||
| Rengör forgasaren utvändigt och utrymmet runtenna. X | |||
| Kontrolera oljenivän iväxeln, afteryll vid behov X | |||
| Vissa ljuddämpare är utrustade med ett speciellt gnistfängarnät. Om Din maskin är utrustad med en sādan ljuddämpare bör;nätet rengöras en gäng per vecka. Detta gös bist med en stälborste. | X | ||
| Kontrolera att brändslettret ej är förenat aller att brändslangen har sprickor aller andra defekter. Byt om erforderligit. | X | ||
| Kontrolera alla kablar och anslutninger. X | |||
| Kontrolera koppling, kopplingsfjädrar och kopplingstrumma med avseeende på slitage. Byt om nödvändigt hos auktoriserad serviceverkstad. | X | ||
| Byt tändstift. Se till att tändstiftet har s.k. radioavstörning. | X |
TEKNISKA DATA
Tekniska data
543 AE15
Motor
Cylindervolym, cm3 40,1
Cylinder diameter, mm 40,5
Slagländg, mm 31,1
Tomgangsvarval, r/min 3000
Rekommenderat max rusvarvatal, r/min 12000
Max. motoreffekt enligt ISO 8893, kW/ r/min 1,5/9000
Katalysatorljuddampare Nej
Varvtalsreglerat tandsystem Ja
Tändsystem
Tillverkare/typ av tändsystem CDI
Tändstift NGK CMR7H-10
Elektrodgap, mm 0,9-1,0
Bransle-/smörjsystem
Tillverkare/typ av forgasare Walbro WTEA
Volym bensintank, liter 0,75
Vikt
Vikt, utan bransle och skarverktyg, kg 9,3
Bulleremissloner
(se anm. 1)
Ljudeffektnivá, upmatt dB(A) 106
Ljudeffektnivá, garanterad LwA dB(A) 108
Ljudnivaer
(se amm. 2)
Ekvivalent ljudtrycksniva vid anvandarens ora, uppmatt enligt EN ISO 22868, dB(A):
Ekvivalent ljudeffektnivá, upmatt enligt ISO 3744, dB(A) 101
Vibrationsnivae
(se amm. 3)
Ekvivalenta vibrationsniväer (ahv,eq) i handtag uppmatt enligt EN ISO 22867, m/s²
vänster/höger handtag: 9,5/11,1
Anm. 1: Emission av buller till omgivningen uppmatt som ljudeffekt (Lw) enligt EG-direktiv 2000/14/EG. Redovisad ljudeffektniva for maskinen ar med den original skarutrustning som ger hogst niva. Skillnaden mellan garanterad och uppmatt ljudeffekt ar att den garanterade ljudeffekten även inkladerar spridning i matresultat och variation mellan exemplar av sama modell enligt Direktiv 2000/14/EG.
Anm. 2: Redovisade data for equivivalent ljudtrycksniva for maskinen har ett typiskt pridningsmatt (standardavvikelse) pa 1 dB (A).
Anm. 3: Redovisade data for evivalent vibrationsnivá harett typisk pridningsmatt (standardavvikelse)pà 1m / s^2
TEKNISKA DATA
EG-forsakran om overensstammelse (Galler endast Europa)
Husqvarna AB, SE-561 82 Huskvarna, Sverige, tel: +46-36-146500, fösakrar harned att jordborren Husqvarna 543 AE15 frän 2012 árs serienummer och framåt (äret anges i klartext på typskylten plus ett afterfoljande serienummer) motsvarar foreskriftna i RÄDETS DIREKTIV:
- av den 17 maj 2006 "angaende maskiner" 2006/42/EG
- av den 15 decanber 2004 "angaende elektromagnetisk kompatilitet" 2004/108/EG.
- av den 8 maj 2000 "angäende emission av buller till omgivningen" 2000/14/EG. Bedömming av överensstammelse utförd,enigt Bilaga V.För information angäende bulleremissionerna,se kapitel Tekniska data.
Foljande standarder har tillampats:
EN ISO 12100:2010, ISO 5349-1:2001, EN ISO 3744:2010, EN ISO 22868:2011
SMP Svensk Maskinprovning AB, Box 7035, SE-750 07 Uppsala, Sverige, har utfört frivillig typkontroll at Husqvarna AB.
Certifikatet har nummer: 543 AE15 - SEC/13/2365
Huskvarna 11 januari 2013

Bengt Frogelius, Utecklingschef (Bemyndigad representant for Husqvarna AB somt ansvarig for tekniskt underlag.)

SYMBOLFORKLARING
Symboler
Certifikatet har nummer: 543 AE15 - SEC/13/2365
Sertifikatet har nummer: 543 AE15 - SEC/13/2365
Huskvarna, 11 januari 2013

EnkelManual