543AE15 - Bohrmaschine HUSQVARNA - Kostenlose Bedienungsanleitung
Finden Sie kostenlos die Bedienungsanleitung des Geräts 543AE15 HUSQVARNA als PDF.
Häufig gestellte Fragen - 543AE15 HUSQVARNA
Laden Sie die Anleitung für Ihr Bohrmaschine kostenlos im PDF-Format! Finden Sie Ihr Handbuch 543AE15 - HUSQVARNA und nehmen Sie Ihr elektronisches Gerät wieder in die Hand. Auf dieser Seite sind alle Dokumente veröffentlicht, die für die Verwendung Ihres Geräts notwendig sind. 543AE15 von der Marke HUSQVARNA.
BEDIENUNGSANLEITUNG 543AE15 HUSQVARNA
Inden start skal du vare opmaerkso m pa folgende: 41
INDLEDNING
Tilvorekunder! 42
HVADERHVAD?
Hvad er hvad? 43
GENERELLE SIKKERHEDSINSTRUKTIONER
Vigtigt 44
opmaerksom pa folgende:
Brennstoffskerhet 86
Brennstoff 86
Turtallsreguliert tenningssystem Ja
Tenningsystem
Brennstoff-/smoresystem
Folgende standarder er blitt tilempet:
EN ISO 12100:2010, ISO 5349-1:2001, EN ISO 3744:2010, EN ISO 22868:2011
SMP Svensk Maskinprovning AB, Box 7035, SE-750 07 Uppsala, Sverige, har utfør frivillig typeprving for Husqvarna AB.
Technische gegevens 133
WARNING! Ein unsachgemäß oder nachlüssig angewendeter Erdbohrer kann zu einem gefährlichen Gerät werden und zu schweren oder gar lebensgeführlichen Verletzungen führen. Es ist sehr wichtig, dass Sie den Inhalt dieser Bedienungsanleitung verstehen.
Lesen Sie die
Bedienungsanweisung sorgfältig durch und machen Sie sich mit dem Inhalt vertraut, bevor Sie das Gerät benutzen.
Benutzen Sie immer:
Einen zugelassenen Gehorschutz
Zugelassener Augenschutz
Dieses Produkt stimmt mit den geltenden CE-Richtlinien überein.
Das versehentliche Anbohren von elektrischen Kabeln und Leitungen und der Kontakt mit diesen konnen zu schweren Verletzungen oder zum Tod führen. Das Gerät ist nicht elektrisch isoliert.
Bei plottlicher Berührung mit einem harten Gegenstand in der Erde (z. B. Steine oder Baumwurzeln) kann der Bohrer unvermittelt zum Stillstand kommt. Daraus kann eine plottliche Bewegung der Förderschnecke resultieren, durch die der Benutzer die Kontrolle über das Gerät verlieren oder zu Boden geschleudert werden kann. Dies kann schwere Verletzungen zur Folge haben.
Stets zugelassene
Schutzhandschuheragen.
Rutschfeste und stabile Stiefel oder Schuhe/TRagen.
Zündanlage; Choke: Den Chokehebel in Choke-Lage führen.









Kraftstoffpumper.
Umweltbelastende
Gerauschemissionen gemäß der Richtlinie der Europäischen Gemeinschaft. Die Emission des Gerätes ist im Kapitel Technische Daten und auf dem Geräteschild angegeben.
Samtliche Körperteile von hoBen Oberflächen fernhalten.
Sonstige Symbole/Auftkleber am Gerät beziehen sich auf spezielle Zertifizierungsanforderungen, die in bestimmten Ländern gelten.
Eine Kontrolle und/oder Wartung ist bei abgestelltem Motor vorzunehmen, wenn der Stoppschalter in Stellung STOP steht.
Stets zugelassene Schutzhandschuhe trag.
Regelmäßige Reinigung ist notwendig.
Visuelle Kontrolle.







INHALT
Inhalt Vor dem Start ist Folgendes
SYMBOLERKLÄRUNG
Symbole 173
INHALT
Inhalt 174
Vor dem Start ist Folgenden zu beachten: 174
EINLEITUNG
Sehr geehrter Kunde! 175
WASIST WAS?
Wasistwas? 176
ALLGEMEINE SICHERHEITSVORSCHRIFTEN
Wichtig 177
Persönliche Schutzausrüstung 177
Sicherheitsaurüstung des Gerätes 178
MONTAGE
Montage des Handgriffs 180
Montage der Förderschnecke 180
UMGANG MIT KRAFTSTOFF
Sicherer Umgang mit Kraftstoff 181
Kraftstoff 181
Tanken 182
STARTEN UND STOPPEN
Kontrolle vor dem Start 183
Starten und stoppen 183
ARBEITSTECHNIK
Allgemeine Arbeitsvorschriften 185
WARTUNG
Vergaser 187
Schalldampfer 187
Luftfilter 187
Kraftstofffilter 188
Gettriebe 188
Zündkerze 188
Wartungsschema 189
TECHNISCHE DATEN
Technische Daten 190
EG-Konformitätserklarung 191
beachten:
Die Bedienungsanweisung sorgfältig durchlesen.

WARNING! Eine längerfristige Beschaltung mit Larm kann zu bleibenden Gehorschaden führen. Daher stets einen zugelassenen Gehorschutz/TRagen.

WARNING! Unter keinen Umständen darf die ursprüngliche Konstruktion des Gerätes ohne Genehmigung des Herstellers geändert werden. Es ist immer Originalzubehör zu verwenden. Unzulässige Änderungen und/oder unzulässiges Zubehör können zu schweren oderSolar tödlichen Verletzungen des Anwenders oder anderer Personen führen.

WARNING! Ein unsachgemäß oder nachlüssig angewendeter Erdbohrer kann zu einem gefährlichen Gerät werden und zu schweren oder gar lebensgefährlichen Verletzungen führen. Es ist sehr wichtig, dass Sie den Inhalt dieser Bedienungsanleitunglesen und verstehen.
EINLEITUNG
Sehr geehrter Kunde!
Herzlichen Glückwunsch zu ihrer Kauf eines Husqvarna-Produkts!Husqvarnas Geschichte reicht bis ins Jahr 1689 zusammen, als König Karl XI eine Fabrik an den Ufern des Flusses Huskvarna erreichen ließ, in der Musketen gefertigt werden sollen. Die Lage am Huskvarna bot sich an, da der Fluss zur Erzeugung von Wasserkraft verwendet wurde und so als Wasserkraftwerk diente. In den mehr als 300 Jahren seit dem Bestehen des Husqvarna-Werks wurden unzählige Produkte hergestellt, angefangen von Holzöfen bis hin zu modernen Kuchenmaschinen, Nahmaschinen, Fahr- und Motorräden usw. 1956 wurde der ersten Motorrasenmaher auf den Markt gebracht, gefolgt von der Motorsäge 1959, und in dieserem Bereich ist Husqvarnas auch heute tätig.
Husqvarna ist gegenüber einer der weltfuhrenden Hersteller von Forst- und Gartenmaschinen und legt vor allem Wert auf Qualität und Leistungskraft. Das Unternehmenskonzept umfasst die Entwicklung, Herstellung und den Vertrieb von Produkten für den Einsatz in Wald und Garten sowie in der Bauindustrie. Husqvarnas Ziel ist es, auch in den Bereichen Ergonomie, Benutzerfreundlichkeit, Sicherheit und Umwelt führend zu sein - dies lasst sich an vielen Details erkennen, die aus diesen Geschichtspunkten hereaus entwickelt wurden.
Wir sind überzeugt, dass Sie mit der Qualität und Leistung unserer Produkte über lange Jahre mehr als zufrieden sein werden. Mit dem Erwerb unserer Produkte erhalten Sie professionelle Hilfe bei Reparaturen und Service, falls noch einmal etwas passieren sollen. Haben Sie die Maschine nicht bei einem unserer Vertragshändler gekauft, Fragen Sie dort nach der nachsten Serviceworkstatt.
Wir hoffen, dass Sie mit ihrer Maschine über lange Jahre zufrieden sein werden. Denken Sie daran, diese Bedienungsanleitung sichere aufzubewahren.Die genaue Befolgung ihres Inhalts (Verwendung, Service, Wartung usw.) verlangert die Lebensdauer der Maschine erheblich und erhöht zudem ihren Wiederverkaufswert.Solten Sie ihre Maschine verkaufen, handigen Sie dem neuen Besitzeritte auch die Bedienungsanleitung aus.
Vielen Dank, dass Sie sich für ein Husqvarna-Produkt entschieden haben.
Die Husqvarna AB arbeitet ständig an der Weiterentwicklung ihrer Produkte und behalt sich daher das Recht auf Änderungen ohne vorherige Ankündigung, z. B. von Form und Aussehen, vor.

WASIST WAS?

Was Ist was?
1 Auffullen von Öl
2 Luftfiltergehäuse
3 Choke
4 Gasbel
5 Getriebe
6 Bohrer (Als Zubehör erhältlich.)
7 Schneidmesser (Als Zubehör erhältlich.)
8 Schneidausrüstung
9 Startgasknopf
10 Stoppschalter
11 Starhandgriff
12 Kraftstoffpumper.
13 Kraftstofftank
14 Zündkappe und Zündkerze
15 Zylinderdeckel
16 Bedienungsanweisung
17 Kombischlussel
ALLGEMEINE SICHERHEITSVORSCHRIFTEN
Wichtig Persönliche Schutzausrüstung
WICHTIG!
These Maschine ist ausschließlich für das Bohren in der Erde vorgesehen.
Die Benutzung dieser Maschine konnte durch eine nationales Gesetz geregelt sein. Finden Sie hereaus, welche Gesetze Anwendung finden, bevor Sie mit der Benutzung der Maschine beginnen.
Niemals mit einem Gerät arbeiten, das ohne Zustimmung des Herstellers modifiziert wurde und nicht länger mit der Originalausführung übereinstimmt.
Arbeiten Sie niemals mit dem Gerät, wenn Sie mäde sind, Alkohol getrunken oder Medikamente eingenommen haben, da hierdurch Sehrkraft, Urteilsvermögen oder Körperkontrolle beeinträchtigt werden konnen.
Tragen Sie persönliche Schutzausrüstung. Siehe die Anweisungen unter der Überschrift "Persönliche Schutzausrüstung".
Niemals mit einem defekten Gerät arbeiten. Die Kontroll-, Wartungs- und Serviceanweisungen in dieser Bedienungsanweisung sind bereits zu befolgen. Gewisse Wartungs- und Servicemabnahmen sind von geschulten, qualifizierten Fachleuten auszuführen. Siehe Anweisungen unter dem Titel Wartung.
Alle Gehäuse- und Schutzteile müssen vor dem Start montiert werden. Sicherstellen, dass Zündkappe und Zündkabel unbeschädigt sind, um elektrische Schläge zu vermeiden.
Darauf achten, dass bei der Arbeit niemand naher als 5 m herankommen.
Vor dem Gebrauch der Maschine eine Gesamtüberprüfung durchfuhren, siehe Wartungsplan.

WARNING! These Maschine erzeugt beim Betrieb ein elektromagnetisches Feld. Dieses Feld kann sich unter bestimmten Bedingungen auf die Funktionswelse aktiver oder passiver medizinischer Implantate auswirken. Um die Gefahr für schwere oder tödliche Verletzungen auszuschleben, sollenn Personen mit einem medizinischen Implantat vor der Nutzung dieser Maschine ihren Arzt und den Hersteller des Implantats konsultieren.

WARNING! Einen Motor in einem geschlossenen oder schlecht belufteten Raum laufen zu halten, kann zum Tod durch Ersticken oder Kohlenmonoxidvergifting führen.
WICHTIG!
Ein unsachgemäß oder nachlüssig angewendeter Erdbohrer kann zu einem gefährlichen Gerät werden und zu schweren oder gar lebensgefährlichen Verletzungen führen. Es ist sehr wichtig, dass Sie den Inhalt dieser Bedienungsanleitung lesen und verstehen.
Bei der Benutzung des Gerätes muss die vorgeschriebene persönliche Schutzaurüstung angewendet werden. Die persönliche Schutzaurüstung beseitigt nicht die Unfallgefahr, begrenzt aber den Umfang der Verletzungen und Schaden. Bei der Wahl der Schutzaurüstung einen Fachhändler um Rat Fragen.

WARNING! Bei Benutzung von Gehorschützern Immer auf Warnsignale oder Zurufe achten. Den Gehorschutz immer abnehmer, sobald der Motor abgestellt ist.
GEHÖRschUTZ
Ein Gehorschutz mit ausreichender Dammwirkung ist zu tragen.

AUGENSCHUTZ
Schutzbrille oder Gesichtsschutz müssen benutzt werden.


HANDSCHUHE
Handschuhe sind dann zu tragen, wenn dies notwendig ist, z. B. bei der Montage der Schneidausrüstung.

STEIFEL
Rutschfeste und stabile Stiefel oder Schuhe/TRagen.

German-177
ALLGEMEINE SICHERHEITSVORSCHRIFTEN
KLEIDUNG
Tragen Sie niemals weite oder lose Kleidung, Schals, Schmuck oder ähnliche Gegenstände, die sich in der Förderschnecke verfangen können. Dafür sorgen, dass das Haar nicht weiter als auf Schulterhöhe herabfällt.
ERSTE HILFE
Ein Erste-Hilfe-Set soll immer griffbereit sein.

Sicherheitsausrüstung des Gerätes
In diesen Abschnitt werden einzelnen Teile der Sicherheitsausrüstung des Gerätes beschrieben, welche Funktion sie haben und wie ihre Kontrolle und Wartung ausgeführt werden sollen, um saferzustellen, dass sie funktionsfähig sind. (Siehe Kapitel Was ist was? um Herauszufunden, wo die Sicherheitsdetails an ihrem Gerät zu finden sind).
Die Lebensdauer der Maschine kann verstürt werden und die Unfallgefahr kann steigen, wenn die Wartung der Maschine nicht ordnungsgemäß und Service und/oder Reparaturen nicht fachmännisch ausgeführten werden. Weitere Informationen erteilt Ohnenigeria die nachste Serviceworkstatt.
WICHTIG!
Service und Reparatur des Gerätes erfordern eine Spezialausbildung. Dies gilt besonderss für die Sicherheitsausrüstung des Gerätes. Wenn Ihr Gerät den unten aufgeführten Kontrollanforderungen nicht entspricht, mussen Sie ihre Servicewerkstatt aufsuchen. Beim Kauf eines unserer Produkte wird gewährleistet, dass Reparatur- oder Servicearbeiten fachmännisch ausgeführten werden. Soltte der Verkauf Ihres Gerätes nicht an unser Fachhändler-Service-Netz angeschlossen sein, Fragen Sie nach unserer nachstgelegen den Servicewerkstatt.

WARNING! Benutzen Sie nie ein Gerät mit defekter Sicherheitsausrüstung. Die Sicherheitsausrüstung des Gerätes muss so kontrolliert und gewartet werden, wie dies in dieser Abschnitt beschrieben wird. Wenn Ihr Gerät den Kontrollforderungen nicht entspricht, muss eine Servicewerkstatt aufgeschucht werden.
Stoppschalter
Mit dem Stoppschalter wird der Motor abgestellt.

Den Motor starten und kontrollieren, ob der Motor stoppt, wenn der Stoppschalter in Stoppstellung geführt wird.
Schalldampfer


Der Schalldampfer soll den Gerauschpegel so welt wie möglich senken und die Abgase des Motors vom Anwender fernhalten.


In Ländern mit warmem, trockenen Klima besteht erhöhte Brandgefahr. Bestimmte Schalldämpfer haben wir deshalb mit einem sog. Funken-fängernetz ausgestattet. Kontrollieren Sie, ob der Schalldämpfer Ihres Geräts ein solches Netz hat.
Für Schalldampfer ist es sehr wichtig, dass die Kontroll-, Wartungs- und Serviceanweisungen befolgt werden.
Niemals ein Gerät mit defektem Schalldämpfer benutzen.
Regelmäßig kontrollieren, ob der Schalldämpfer fest am Gerät montiert ist.
ALLGEMEINE SICHERHEITSVORSCHRIFTEN
Ist der Schalldampfer Its Heres Gerates mit einem Funkenfangnetz versehen, muss these regelmbigereinigt werden. Ein verstopfes Netz verursacht ein HeiBlaufen des Motors mit schweren Motorschaden als Folge.


WARNING! Der Schalldämpfer enthalt Chemikalien, die karzinogen sein konnen. Falls der Schalldämpfer beschädigt wird, vermeiden Sie es, mit diesen Stoffen in Berührung zu kommt.

WARNING! Denken Sie darüber: Die Motorabgase sind hei und konnen Funken enthalten, die einen Brand verursachen konnen. Aus thisem Grunde sollen das Gerät niemals im Innbereich oder in der Nähe von feuergefährlichen Stoffen gestartet werden!
Schneidmesser



Prufen Sie das Schneidewerkzeug. Arbeiten Sie niemals mit einem stumpfen, gesprungen oder beschädigten Schneidewerkzeug.
Stellen Sie sicher, dass das Schneidewerkzeug sicherebefestigt ist.

Das Messer wird bei der Herstellung mit einer speziellen, hochentwickelten Methode geschäft. Dadurch kann das Messer nicht auf herkömmliche Weise neu geschäft werden. Damit das Gerät problemos fungkioniert, mussen verschlissene Messer durch neue ersetzt werden.
MONTAGE
Montage des Handgriffs

- Schrauben Sie den linken Griff an den Halter am Rahmen undziehen Sie ihn grundlich fest.

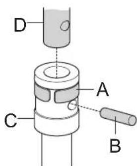
Montage der Förderschnecke

- Schieben Sie den Klemmring (A) nach oben und entfernen Sie den Verriegelungsstift (B) vom Bohrer.


- Bringen Sie die Förderschnecke (C) an der Antriebswelle (D) an.
- Bringen Sie den Verriegelungsstift an und schiben Sie den Klemmring nach unter, so dass er den Verriegelungsstift bedeckt.
UMGANG MIT KRAFTSTOFF
Sicherer Umgang mit Kraftstoff
Das Gerät niemals starten, wenn:
1 Wenn Kraftstoff darüber verschüttet wurde. Alles abwischen und restliches Benzin verdunsten{lassen.
2 Wenn Sie Kraftstoff über sich selbst oder ihre Kleidung verschüttet haben, ziehen Sie sich um. Waschen Sie die Körperteile, die mit dem Kraftstoff in Berührung gekommen sind. Wasser und Seite verwenden.
3 Wenn es Kraftstoff leckt. Tankdeckel und Tankleitungen regelmäß auf Undichtigkeiten überprüfen.
Transport und Aufbewährung
Das Gerät und den Kraftstoff so transportieren und aufbewahren, dass bei eventuellen Undichtigkeiten entweichende Dämpfe oder Kraftstoff nicht mit Funken oder offenem Feuer in Kontakt kommt konnen, z. B. von Elektrogeräten, Elektromotoren, elektrischen Kontakten/Schaltern oder Heizkesseln.
Zum Transport und zur Aufbewährung von Kraftstoff sind speziell für diesen Zweck vorgesehene und zugelassene Behälter zu verwenden.
- Bei längerer Aufbewährung des Geräts ist der Kraftstofftank zu leeren. An der nachsten Tankstelle konnen Sie erfahren, wie Sie überschüssigen Kraftstoff am besten entsorgen.
Vor der Langzeitaufbewährung sicherstellen, dass die Maschine gründlich gesaubert und komplett gewartet wurde.
Um ein ungewolltes Starten des Motors zu vermeiden, ist die Zündkappe bei der Langzeitaufbewährung und bei allen Servicemabnahmen zu entfern, sowie wenn das Gerät ohne Aufsicht ist.

WARNING! Beim Umgang mit Kraftstoffvorsichtig sein. Denken Sie an das Feuer- und Explosionsrisiko und an die Gefahr des Einatmens.
Kraftstoff
ACHTUNG! Das Gerät ist mit einem Zweitaktmotor ausgestattet und darauf ausschließlich mit einer Mischung aus Benzin und Zweitaktöl zu betreiben. Damit das Mischungsverhältnis richtig ist, muss die beizumischende Ölmenge unbedingt genau abgemessen werden. Wenn keine Kraftstoffmengen gemisch werden, wirken sich auch keine Abweichungen bei der Ölmenge stark auf das Mischungsverhältnis aus.

WARNING! Kraftstoff und Kraftstoffdampfe sind sehr feuergeführlich und können beim Einatmen und auf der Haut schwere Schäden verursachen. Beim Umgang mit Kraftstoff Ist dazu Vorslicht geboten und für eine gute Belüftung zu sorgen.
Benzin

ACHTUNG! Stets Qualitätsbenzin mit Ölbeimischung mit mind. 90 Oktan (ROZ) verwenden. Wenn Ihr Gerät mit Katalysator ausgestattet ist (siehe Kapitel Technische Daten), muss stets bleifreies Qualitätsbenzin mit Ölbeimischung verwendet werden. Verbleites Benzin zerstört den Katalysator.
Wenn umweltgerechtes sog. Alkylatbenzin zur Verfugung steht, ist diese zu verwenden.

Ethanol-Kraftstoffgemisch, E10 kann verwendet werden (max. 10 %ige Ethanol-Mischung). Die Verwendung von Ethanol-Mischungen higher als E10 führt zu Magerlauf, der Motorschäden verursichen kann.
- Als niedrigste Oktanzahl wird ROZ 90 empfohlen. Wenn der Motor mit Benzin einer niedrigeren Oktanzahl als 90 betrieben wird, lauft er nicht einwandfrei. Das führt zu erhöhten Motortemperaturen, die schwere Motorschaden verursichen können.
- Wenn kontinuierlich bei hohen Drehzahlen garbeitet wird, ist eine höhere Oktanzahl zu empfehlen.
Zweitaktöl
- Das Beste Resultat und die Beste Leistung wird mit HUSQVARNA-Zweitaktmotor erzielt, das speziell für unsere luftgekühten Zweitaktmotoren hergestellt wird.
- Niemals Zweitaktöl für wassergekühte Außenbordmotoren, sog.Outboardoil (TCW), verwenden.
- Niemals Öl für Viertaktmotoren verwenden.
- Eine unzureichende Ölqualität oder ein zu fettes Öl/Kraftstoff-Gemisch kann die Funktion des Katalysators beeinträchtigen und seine Lebensdauer reduzieren.
- Mischungsverhältnis 1:50 (2%) mit HUSQVARNA-Zweitaktöl. 1:33 (3%) mit anderen Ölen für luftgeühte Zweitaktmotoren der Klasse JASO FB/ISO EGB.
UMGANG MIT KRAFTSTOFF
| Benzin, Liter | Zweitaktöl, Liter | |
| 2% (1:50) 3% (1) | 33) | |
| 5 0,10 0,15 | ||
| 10 0,20 0,30 | ||
| 15 0,30 0,45 | ||
| 20 0,40 0,60 | ||
Mischen
- Benzin und Öl stets in einem sauberen, für Benzin zugelassenen Behälter mischen.
- Immer zuerst die Hälfte des Benzins, das gemisch werden soll, einfllen. Danach die gesamte Ölmenge einfllen. Die Kraftstoffmischung mischen (schütteln). Dann den Rest des Benzins dazugeben.
Vor dem Einfullen in den Tank der Maschine die Kraftstoffmischung noch einmal sorgfältig mischen (schütteln).


Kraftstoff hochstens für einen Monat im Voraus mischen.
- Wenn das Gerät über einen längeren Zeitraum nicht benutzt wird, den Kraftstofftank entleeren und reinigen.
Tanken

WARNING! Folgende
Vorsichtsmaßnahmen verringern die Feuergefahr:
Beim Tanken nicht rauchen und jegliche Wärmequellen vom Kraftstoff fernhalten.
Niemals bei laufendem Motor tanken.
Den Motor abstellen und vor dem Tanken eine Minute abkühlen{lassen.
Den Tankdeckel stets vorsichtig öffnen, so dass sich ein evtl. vorhandener Überdruck langsam abbauen kann.
Den Tankdeckel nach dem Tanken wieder sorgfältig zudrehen.
Die Maschine vor dem Start immer aus dem Auftankbereich und von der Auftankquelle weg bewegen.
- Verwenden Sie einen Kraftstoffbehälter mit Überfüllungsschutz.
- Um den Tankdeckel herum sauberwischen. Verunreinigungen im Tank verursachen Betriebsstörungen.
Vor dem Einfullen in den Tank den Behalter noch einmal schütteln, damit der Kraftstoff gut gemisch ist.


STARTEN UND STOPPEN
Kontrolle vor dem Start

- Prufen Sie das Schneidewerkzeug. Arbeiten Sie niemals mit einem stumpfen, gesprungen oder beschädigten Schneidewerkzeug.

- Kontrollieren, ob das Gerät in einwandfreiem Zustand ist. Kontrollieren, ob alle Muttern und Schrauben angezogen sind.
- Kontrollieren, ob die Schneidausrüstung im Leerlauf immer stehen bleibt.
- Benutzten Sie das Gerät nur für solche Arbeiten, für die es vorgesehen ist.
- Dafur sorgen, dass Handgriffe und Sicherheitsfunktionen in Ordnung sind. Niemals ein Gerät benutzen, an dem ein Teil fehlt oder das so modifiziert wurde, dass es nicht mehr mit der Spezifikation übereinstimmt.
Vor dem Start des Gerats mussenSAMTliche Gehause korrekt montiert und in einwandfreiem Zustand sein.
Starten und stoppen


WARNING! Das Gerät vor dem Starten Immer ca. 3 m von der Auftankstelle entfern. Das Gerät auf festem Untergrund abstellen. Darauf achten, dass die Schneldausrüstung keine Gegenstände berührt. Sorgen Sie darüber, dass sich innerhalb des Arbeitsbereichs keine unbefugten Personen aufhalten, andernfalls besteht die Gefahr von schweren Verletzungen.
Kalter Motor
Zündung: Den Stoppersalter in Startposition stellen.
Kraftstoffpumper: Mehrmals auf die Gummblase der Kraftstoffpumper drucken, bis diese sich mit Kraftstoff zu
fullen beginnt. Die Blase braucht nicht ganz gefüllt zu werden.

Choke: Den Chokehebel in Choke-Lage fuhren.

Startgas:
Stellen Sie zum Start den Gashebel in die Startposition, drucken den Gasgriff und anschließend den Startgasknopf (A). Lassen Sie dann den Gashebel und danach den Startgasknopf los. Nun ist die Startgasfunktion aktiviert. Um den Motor wieder auf Leerlauf zurückzustellen, drucken Sie erneut den Gashebel.

Warmer Motor
Startvorgang wie bei kaltem Motor, ohne den Choker in Choke-Lage zu führen.
Starten

WARNING! Wenn der Chokehebel beim Starten des Motors auf Choke oder Startgas eingestellt ist, fängt die Schneidausrüstung sofort an zu rotieren.
Halten Sie die Maschine mit der linken Hand aufrecht. Mit der rechten Hand den Starthandgriff fassen und das Startseil langsam Herausziehen, bis ein Widerstand spürbar wird (die Starthaken greifen), und dann schnell und kräftigziehen.
Den Choke sofort wieder in die Ausgangsstellung zurückführren, wenn der Motor zündet, und weitere Startversuche machen, bis der Motor anspringt.
STARTEN UND STOPPEN
ACHTUNG! Das Startseil nicht ganz Herausziehen und den Startgriff aus ganz herausgezogener Lage nicht loslassen. Schaden am Gerät konnten die Folge sein.

ACHTUNG! Kein Körperteilarf auf die markierte Fläche geraten. Der Kontakt kann zu Hautverbrennungen oder elektrischen Schlagen führen, wenn die Zündkappe defekt ist. Stets Handschuhe tragen. Niemals eine Maschine mit defekter Zündkappe verwenden.

Stoppen
Zum Abstellen des Motors den Stoppschalter auf Stoppstellen.

ARBEITSTECHNIK
Allgemeine Arbeitsvorschriften
WICHTIG!
Dieser Abschnitt behandelt grundlegende
Sicherheitsregeln für die Arbeit mit einem Erdbohrer.
Wenn Sie in eine Situation kommt, die Sie in Bezug auf die weitere Anwendung des Geräts verunsichert, halten Sie sich von einem Experten beraten. Wenden Sie sich an ihren Fachhändler oder ihre Servicewerkstatt.
Vermeiden Sie, Arbeitsen auszuführen, denen Sie sich nicht gewachsen fahren.

WARNING! Das Gerät kann schwere Verletzungen verursachen. Die Sicherheitsvorschriften gründlich durchselen. Lernen Sie, wie das Gerät anzuwenden ist.

WARNING! Schneldendes Werkzeug. Das Werkzeug nicht berühren, ohne vorher den Motor abzustellen.
Sicherheitsvorschriften für die Umgebung
- Niemals Kindern die Anwendung des Geräts erlauben.
- Darauf achten, dass bei der Arbeit niemand{naher als 5m herankommen.
- Lassen Sie niemals jegmand anderen das Gerät benutzen, ohne sich zu vergewissen, dass die Person den Inhalt der Bedienungsanweisung verstanden hat.
Sicherheitsvorschriften während der Arbeit

- Sorgen Sie immer damit, dass Sie bei der Arbeit fest und sichere stehen.
Die Maschine stets mit beiden Händen halten.

Die rechte Hand benutzen, um den Gashebel zu betätigten.
- Dafür sorgen, dass Höhe und Fuß nicht an die Schneidausrüstung kommt, wenn der Motor lauft.

- Beginnen Sie den Bohrvorgang zunachst mit Halbgas. Steigern Sie dann langsam die Motordrehzahl, so dass der Bohrer wichtardslos in den Boden eindringt.
- Wenn der Bohrer im Boden feststeckt und nicht mehr herausgezogen werden kann, stoppen Sie den Motor und drehen Sie den Bohrer gegenüber den Uhrzeigersinn.
Schalten Sie nach dem Bohren stets den Motor aus. - Wenn der Motor abgestellt worden ist, Höhe und Fuß von der Schneidausrüstung fernhalten, bis diese vollig still stehen.
- Wenn ein Fremdkörper getroffen wird oder Vibrationen auftreten, müssen Sie das Gerät abstellen. Das Zündkerzenkabel von der Zündkerze abziehen. Kontrollieren, ob das Gerät beschädigt ist. Eventuelle Schäden reparieren.
ARBEITSTECHNIK

WARNING! Das versehentliche Anbohren von elektrischen Kabeln und Leitungen und der Kontakt mit diesen konnen zu schweren Verletzungen oder zum Tod führen. Das Gerät ist nicht elektrisch Isollert. Um die Gefahr eines Stromschlags zu verringern, untersuchen Sie vor dem Bohren stets, ob in dem zu bearbeltenden Bereich unterirdische Rohre, Kabel oder Leitungen verlaufen. Wo sich Kabel und Rohre befinden, erfahren Sie bei ihrem ortlichen Stromversorgungsunternehmen oder einem Suchdienst. Falls nitig, bestätigten Sie den tatsächlichen Verlauf durch Kabeldetektoren oder ähnliche Geräte, sowie vorsichtig gezogene Gräben.

WARNING! Bei platzlicher Berührung mit einem harten Gegenstand in der Erde (z. B. Steine oder Baumwurzeln) kann der Bohrer unvermittelt zum Stillstandkommen. Daraus kann eine platzliche Bewegung der Förderschnecke resultieren, durch die der Benutzer die Kontrolle über das Gerät verlieren oder zu Boden geschleudert werden kann. Dies kann schwere Verletzungen zur Folge haben. Um bei derartigen Bewegungen nicht die Kontrolle zu verlieren und damit Verletzungen zu vermeiden, halten Sie den Bohrer stets fest in den Handen.

WARNING! Personen mit Blutkreislaufstörungen, die zu oft Vibrationen ausgesetzt werden, laufen Gefahr, Schäden an den Blutgefäben oder am Nervensystem davonzutragen. Gehen Sie zum Arzt, wenn Sie an Ihr Körper Symonte feststellen, die auf Vibrationsschäden deuten. Beispiele solcher Symonte sind: Einschlafen von Körperteilen, Gefühlsverlust, Jucken, Stechen, Schmerz, Verlust oder Beeinträchtigung der normalen Körperkraft, Veränderungen der Hautfarbe oder der Haut. Diese Symptome treten am früigsten in den Fingern, Handen oder Handgelenken auf. Bei niedrigen Temperatoren kann erhöhte Gefahr bestehen.
Sicherheitsvorschriften nach abgeschlossener Arbeit



Vor Reinigung, Reparatur oder Inspektion mussen Sie darauf auf achten, dass die Schneidausrüstung zum Stillstand gekommen ist. Das Zündkerzenkabel von der Zündkerze abziehen.
- Tragen Sie beim Austauchen des Schneidewerkzeugs stets schwere Schutzhandschuhe. Das Schneidewerkzeug ist extrem scharf. Schnittwunden können sehr leicht entstehen.

- Das Gerät für Kinder unzugänglich aufbewahren.
- Bei Reparaturen ausschließlich Original-Ersatzteile verwenden.
WARTUNG
Vergaser
Einstellung des Leerlaufs (T)
Kontrollieren, ob der Luftfilter sauber ist. Wenn der Leerlauf korrekt eingestellt ist, damit die Schneidausrüstung nicht rotieren. Falls eine Einstellung notwendig ist, die T-Schraube (im Uhrzeigersinn) bei laufendem Motor schlieben, bis die Schneidausrüstung zu rotieren beginnt. Dann die Schraube (gegen den Uhrzeigersinn) öffnen, bis die Schneidausrüstung stehen bleibt. Die korrekte Leerlaufdrehzahl ist eingestellt, wenn der Motor in allen Positionen gleichmäßig lauft, mit gutter Spanne bis zu der Drehzahl, bei der die Schneidausrüstung zu rotieren beginnt.


WARNING! Kann die Leerlaufdrehzahl nicht so eingestellt werden, dass die Schneidausrüstung stehenbleibt, wenden Sie sie an ihren Handler/Ihre Servicekeworkstatt. Das Gerat erst wieder verwenden, wenn es korrekt eingestellt oder repariert ist.
Schalldampfer

Der Schalldampfer hat die Aufgabe, den Schallpegel zu dampfen und die Abgase vom Anwender wegzuleiten. Die Abgase sind hei und konnen Funken enthalten, die einen Brand verursachen konnen, wenn die Abgase auf trockenes und brennbares Material gerichtet werden.
Bestimmte Schalldämpfer sind mit einem speziellen Funkenfangnetz ausgerüstet. Ist Ihr Gerät mit einem derartigen Schalldämpfer ausgestattet, so ist das Netz einmal wochentlich zu sauben. Dies geschieht am besten mit einer Stahlbürste.
Bei Schalldampfern ohne einen Katalysator ist das Netz, wenn nötig, einmal wöchentlich zu saubern oder auszutauschen. Beschädigte Netze müssen ausgetauscht werden.
Wenn das Netz hαufig verstopft ist, kann dies ein Zeichen darauf sein, dass der Katalysator nicht einwandfrei arbeitet. Lassen Sie das Gerät bei ihrer Fachhändler überprüfen. Wenn das Netz verstopft ist, wird das Gerät überhützt, was Schäden an Zylinder und Kolben zur Folge hat.
ACHTUNG! Das Gerät niemals benutzen, wenn sich der Schalldämpfer in schlechtem Zustand befindet.
Luftfilter

Luftfilter regelmäßig von Staub und Schmutz reinigen, zur Vermeidung von:
Vergaserstörungen
- Startschwierigkeiten
Leistungsminderung
- Unnötigem Verschleiß der Moterteile.
- Unnormal hohem Kraftstoffverbrauch.

Den Filter jeweils nach 25 Betriebsstunden reinigen, bei besonderss staubigen Verhältnissen*hufiger.
Reinigung des Luftfilters
Luftfilterabdeckung abnehmer und Filter entfernen. Mit Druckluft reinigen.
Ein Luftfilter, der länger Zeit verwendet wurde, wird sie vollkommen sauber. Der Luftfilter ist davon in regelmäßigen Abständen auszuwechseln. Beschädigte Filter sind immer auszuwechseln.
WARTUNG
Kraftstofffilter


1 Kraftstofffilter
Wenn der Motor nicht ausreichend mit Kraftstoff versorgt wird, Tankdeckel und Kraftstofffilter auf Verstopfungen überprüfen.
Gettriebe

Überprüfen Sie alle 50 Betriebsstunden den Ölstand im Getriebe und füllen Sie je nach Bedarf neues Öl nach (SAE 80-90).


- Stellen Sie sichere, dass der Bohrer aufrecht besteht.
- Offnen Sie den Öltankdeckel A und lösen Sie die Schraube B.
- Fullen Sie Öl in das Getriebe. Der korrekte Ölstand ist erreicht, sobald Sie einen Tropfen Öl aus der Öffnung für die Schraube B austreten sehen.
- Setzen Sie die Schraube B wieder ein, ziehen Sie sie fest und schreiben Sie den Öltankdeckel A.
Zündkerze

Der Zustand der Zündkerze wird durch folgende Faktoren verschlechter:
Falsch eingestellter Vergaser.
- Falsche Ölmenge im Kraftstoff (zuviel Öl oder falsche Ölsorte).
- Verschmutzter Luftfilter.
These Faktoren verursachen Beläge an den Elektroden der Zündkerze und können somit zu Betriebsstörungen und Startschwierigkeiten führen.
Bei schwacher Leistung, wenn das Gerät schwer zu starten ist oder im Leerlauf ungleichmäßig lauft, immer zuerst die Zündkerze prüfen, bevor andere Maßnahmen eingeleitet werden. Ist die Zündkerze verschmutzt, so ist sie zu reinigen; gleichzeitig ist zu prüfen, ob der Elektrodenabstand 0,9-1,0 mm beträgt. Die Zündkerze ist nach ungefahr einem Monat in Betrieb oder bei Bedarf offen auszuwechseln.

ACHTUNG! Stets den vom Hersteller empfohlenen Zündkerzentyp verwenden! Eine ungeeignete Zündkerze kann Kolben und Zylinder zerstoren. Dafur sorgen, dass die Zündkerze eine sog. Funkentstörung hat.
WARTUNG
Wartungsschema
Nachstehend sind die an der Maschine vorzunehmenden Wartungsmaßnahmen aufgelistet. Die meisten der Punktwe werden im Abschnitt "Wartung" beschreiben. Der Bedienerarf nur die Wartungs- und Servicearbeiten ausfuhren, die in dieser Bedienungsanleitung beschreiben sind. Gröbere Eingriffe sind von einer autorisierten Serviceworkstatt auszuführen.
| Wartung | Tägliche Wartung | Wöchentliche Wartung | Monatliche Wartung |
| Das Gerät äußlich reinigen. X | |||
| Kontrollieren, ob Handgriff und Lenker intakt und gut befestigt sind. | X | ||
| Die Funktion des Stopschalters kontrollieren. X | |||
| Kontrollieren, ob die Schneiedaurüstung im Leerlauf rotiert. X | |||
| Luftfilter reinigen. Bei Bedarf austauschen. X | |||
| Prüfen Sie das Schneidewerkzeug. Arbeiten Sie niemals mit einem stumpfen, gesprungen oder beschädigten Schneidewerkzeug. | X | ||
| Schrauben und Muttern nachziehen. X | |||
| Sicherstellen, dass von Motor, Tank oder Kraftstoffleitungen kein Kraftstoff ausläuft. | X | ||
| Die Startvorrichtung und ihr Startseil kontrollieren. X | |||
| Die Vibrationsdämpfer auf Beschädigung überprüfen. X | |||
| Die Zündkerze äußlich reinigen. Die Zündkerze demontieren und den Elektrodenabstand prüfen. Den Abstand auf 0,9-1,0 mm einstellen oder die Zündkerze austauschen. Dafür sorgen, dass die Zündkerze eine sog. Funkentstörung hat. | X | ||
| Den Vergaser von außen und den Bereich um ihn herum reinigen. | X | ||
| Prüfen Sie den Ölstand im Getriebe und fullen Sie Öl nach. X | |||
| Bestimmte Schalldämpfer sind mit einem speziellen Funkenfangnetz ausgerüstet. Ist ihr Gerät mit einem derartigen Schalldämpfer ausgestattet, so ist das Netz einmal wächentlich zu säubern. Dies geschieht am besten mit einer Stahlbürste. | X | ||
| Kraftstofffilter auf Verschmutzungen oder Kraftstoffschlauch auf Risse oder andere Schäden untersuchen.Bei Bedarf austauschen. | X | ||
| Alle Kabel und Anschlüsse kontrollieren. X | |||
| Kupplung, Kupplungsfedern und Kupplungstrommel auf Verschleiß kontrollieren.Bei Bedarf von einer autorisierten Servicewerkstatt austauschen{lassen. | X | ||
| Zündkerze austauschen. Dafür sorgen, dass die Zündkerze eine sog. Funkentstörung hat. | X |
TECHNISCHE DATEN
Technische Daten
543 AE15
Motor
Hubraum, cm3 40,1
Bohrung, mm 40,5
Hübänge, mm 31,1
Leerlaufdrehzahl, U/min 3000
Empfohlene max. Drehzahl, unbelastet, U/min 12000
Motorhochstleistung gemäß ISO 8893, kW/ U/min 1,5/9000
Katalysatorschalldampfer Nein
Drehzahligereltes Zündsystem Ja
Zündanlage
Hersteller/Typ des Zündsystems CDI
Zündkerze NGK CMR7H-10
Elektrodenabstand, mm 0,9-1,0
Kraftstoff- und Schmiersystem
Hersteller/Vergasertype Walbro WTEA
Kraftstofftank, Volumen, Liter 0,75
Gewicht
Gewicht ohne Kraftstoff und Schneidewerkzeug, kg 9,3
Gerauschemlssionen
(siehe Anmerkung 1)
Gemessene Schalleistung dB(A) 106
Garantierte Schalleistung L_WAdB(A) 108
Lautstärke
(siehe Anmerkung 2)
Aequivalenter Schaldruckwert am Ohr des Anwenders, gemessen gem. EN ISO 22868, dB(A):
Aequivalenter Schalleistungswert, gemessen gem. ISO 3744, dB(A) 101
Vibrationspegel
(siehe Anmerkung 3)
Aequivalente Vibrationspegel (a_hv,eq) an den Griffen, gemessen gemäß EN ISO 22867, m/s²
linker/rechter Handgriff: 9,5/11,1
Anmerkung 1: Umweltbelastende Gerauschemission gemessen als Schalleistung (L_WA) gemeaEG-Richtlinie 2000/14/ EG. Der aufgezeichnete Lautstarkepegel fur die Maschine wurde unter Verwendung der originalen Schneidausrustung mit dem hochsten Pegel gemessen. Die Differenz zwischen garantiertem und gesessenem Lautstarkepegel besteht darin, dass bei der garantierten Lautstärke auch eine Streuung im Messergebnis und Variationen zwischen verschiedene Maschinen desselben Models gemaB der Richtlinie 2000/14/EG berücksichtigt werden.
Anmerkung 2: Berichten zufolge entspricht der Schaldruckpegel für diese Maschine normalerweise einer Ausbreitungsklasse (standardmäßige Ausbreitung) von 1 dB (A).
Anmerkung 3: Berichten zufolge liegt der äquivalente Vibrationspegel normalerweise bei einer Ausbreitungsklasse (Standardabweichung) von 1m / s^2


TECHNISCHE DATEN
EG-Konformitätserklung (nur für Europa)
Wir, Husqvarna AB, SE-561 82 Huskvarna, Schweden, Tel. +46 36 146500, erklaren hiermit unsere alleinige Haftung davon, dass der Erdbohrer Husqvarna 543 AE15, auf den sich diese Erklärung bezieht, von den Seriennnummern des Baujahrs 2012 an (die Jahreszahl wird im Klartext auf dem Typenschild angegeben, mitsamt einer nachfolgenden Seriennnummer) den Vorschriften folgender RICHTLINIE DES RATES entspricht:
-vom 17. Mai 2006 „Maschinen-Richtlinie' 2006/42/EG
- vom 15. Dezember 2004 "über elektromagnetische Verträgelichkeit" 2004/108/EWG.
Vom 8. Mai 2000 "über umweltbelastende Gerauschemissionen von zur Verwendung im Freien vorgesehenen Geräten und Maschinen" 2000/14/EG. Bewertung der Konformität wurde im Sinne von Anhang V durchgeführt. Für Information betreffend die Gerauschemissionen, siehe das Kapitel Technische Daten.
Folgende Normen wurden angewendet:
EN ISO 12100:2010, ISO 5349-1:2001, EN ISO 3744:2010, EN ISO 22868:2011
SMP Svensk Maskinprovning AB, Box 7035, SE-750 07 Uppsala, Schweden, hat die freiwillige Typenprüfung für Husqvarna AB durchgefuhrt.
Das Prüfzertifikat hat die Nummer: 543 AE15 - SEC/13/2365
Huskvarna, den 11. Januar 2013

Bengt Frogelius, Entwicklungsliefer (Bevollmächtigter Vertreiter für Husqvarna AB, verantwortlich für die technische Dokumentation.)

EinfachAnleitung