543AE15 - Perforar HUSQVARNA - Manual de uso y guía de instrucciones gratis
Encuentra gratis el manual del aparato 543AE15 HUSQVARNA en formato PDF.
Preguntas frecuentes - 543AE15 HUSQVARNA
Descarga las instrucciones para tu Perforar en formato PDF gratis! Encuentra tus instrucciones 543AE15 - HUSQVARNA y toma tu dispositivo electrónico nuevamente en la mano. En esta página están publicados todos los documentos necesarios para el uso de su dispositivo. 543AE15 de la marca HUSQVARNA.
MANUAL DE USUARIO 543AE15 HUSQVARNA
ACLARACION DE LOS SIMBOLOS
Simbolos
jATENCION! Una barrena para tierra empleada de forma erronea o negligente puede ser una herramienta peligrosa que pueda causar daños graves e incluo la muerte. Es muy importante que lea y comprende el contenido de este manual de instruccion

Lea detenidamente el manual de instrucciones y asegúrese de "...entender su contenido antes de..."utilizar laquina.
Utilice siempre:
- Protectores auriculares homologados
- Protección ocular homologada
Si lega a golpear algo duro en la tierra, como rocas o las raices de un arbol, el taladro可以选择 detenerse repentinamente. Este puede conllevar un movimiento de reación en la barrena, lo que haria que el usuario perdiese el control de laquina o Cayese al suelo, con los daños graves.
Utilice botas o zapatos antirresbalantes y fuertes.

Encendido; estrangulador: Ponga el estrangulador en la posicion de estrangulamento.

Bomba de combustible.
Las emisiones sonoras en el entorno segun la directiva de la Comunidad Europea. Las emisiones de laquina se indican en el capitulo Datos技术和 en la etiqueta.
Mantenga todas las partes de su cueroApartadas de las superficies calientes.



Los demas@simbolos/etiquetas que aparecen en laquina corresponden a requisitos de homologacionspecificos en determinados mercados.
Los controlles y/o mantenimiento deben efectuarse con el motor parado, con el botón de parada en la posición STOP.
ACLARACION DE LOS SIMBOLOGS
Simbolos 154
INDICE
I ndice 155
Equipo de proteccion personal 158
Equipo de seguidad de laquina 159
MONTAJE
Montaje de la empuñadura 161
Montaje de la barrena 161
MANIPULacion DEL COMBUSTIBLE
Seguridad en el uso del combustible 162
Carburante 162
Repostaje 163
ARRANQUEY PARADA
Controlantesdarrancar 164
Arranque y parada 164
TECNICA DE TRABAJO
Instrucciones generales de trabajo 166
MANTENIMIENTO
Carburador 168
Silenciador 168
Filtro de aire 168
Filtro de combustible 168
Engranaje 169
Bujia 169
Programa de mantenimiento 170
DATOSTECNICOS
Datos techniques 171
Declaracion CE de conformidad 172
siguiente:
Lea detenidamente el manual de instrucciones.

ATENCLl La exposicn prolongada al ruido peutcaesar daos cronicos en el oido Por consiguiente,use siempre protectores auriculas homologados.

ATENCLON! Bajo ninguna circunstancia debe modificarse la configuracion original de laquina sin autorizacion del fabricante. Utilizar siempre recambios originales. Las modifications y/o la utilizacion de accesorios no autorizadas peuvent occasionar accidentes graves o incluo la muerte del operador o de terceros.

ATENCLON! Una barrena para tierra empleada de forma erronea o negligente peut ser una herramienta peligrosa que pueda causar daños graves e incluso la muerte. Es muy importante que lea y comprende el contenido de este manual de instrucciones.
INTRODUCCION
Apreciado cliente:
Felicidades por haber adquirido un producto Husqvarna! La historia de Husqvarna data del ano 1689, cuando el Rey Karl XI encargo la construccion de una fabrica en la ribera del río Huskvarna para la fabricacion de mosquetes. Laubicacion junto al río Huskvarna era lógica dato que el río se utilizes para generar energia hidráulica. Durante los mas de 300 años de existencia de la fabrica Husqvarna, se han fabricado products inumerables; desde estufas de leña hasta modernas MQinas de cocina, MQinas de coser, bicyclicas, motocicletas, etc. En 1956 se introdujo el primer cortacesped motorizzato, seguido de la motosierra en 1959; y es en este segmento en el que actualmente trabaja Husqvarna.
Husqvarna es hoy uno de los principales fabricantes del mundo de produits de bosque y jardín, con la calidad y las prestaciones como principal prioridad. La idea de trabajo es desarrolloar, fabricar y commercializar productos motorizados para silvicultura y jardineria, asi como para las industries de construccion y obras publicas. Husqvarnaiene como objetivo estar en la vanguardia por lo que respecta a ergonomia, calidad de empleo, seguidad y consideracion ambiental; motivo por el qual ha desarrollado una series de detalles para mejorar los productos en estas areas.
Estamos convencidos de queusted appreciarcon satisfacion la calidad y prestaciones de.nuestro producto por mucho timepo en adelante. Con la adquision de algoo de nuestros productos,usted dispone de asistencia profesonal con reparaciones y service in caso de occurir algo. Si ha adquirido el producto en un punto de compra que no es uno de nuestros concessionarios autorizados, pregunteles por el taller del service mas cercano.
Esperamos que suquina le proporcione plena satisfacion y le sirva de ayuda por mucho tiempo en adelante. Tenga en cuenta que este manual de instrucciones es un documento de valor. Siguiendo sus instrucciones (de uso, servicios, mantenimiento, etcétera) pueda alargar considerablemente la vidautilde laquina e incrementar su valor de reventa. Si vende suquina, entrega elmanual de instrucciones al nuevo propietario.
jGracias por utiliser un producto Husqvarna!
Husqvarna AB trabaja constanmente para perfeccionar sus productos y se reserva, por lo tanto, el derecho a introducirmericanas en la construccion y el diseño sin previo aviso.

¿QUE ES QUE?

Que es que?
1 Repostado de aceite
2 Cubierta del filtró de aire
3 Estrangulador
4 Acelerador
5 Engranaje
6 Taladro (Disponible como accesorio.)
7 Cuchillas (Disposable como accesorio.)
8 Equipo de corte
9 Botón de acceleración de arranque
10 Botón de parada
11 Empuñadura de arranque
12 Bomba de combustible.
13 Depóstito de combustible
14 Capuchón de encendido y bujía
15 Cubierta del cilindro
16 Manual de instrucciones
17 Llave combinada
INSTRUCCIONES GENERALES DE SEGURIDAD
Importante Equipo de proteccion personal
IMPORTANTE!
Laquina está diseñada para taladrar únicamente en tierra.
Lautilación de estaquina podría estar regulada por la legislación nacional vigente. Informese sobre la legislación vigente en el lugar donde trabajo antes de empezar a utiliser laquina.
No utilise nunca unaquina que haya sido modificada de modo que ya no coincida con la configuracion original.
Nunca utilise laquina si está cansado, si ha ingeredo alcohol o si toma medicamentos que pueda afectarle la vista, su capacité de discernimiento o el control del cuerpo.
Utilice el equipo de proteccion personal. Vea las instrucciones bajo el titulo "Equipo de proteccion personal".
No utilise nunca unaquina defectuosa. Lleve a cabo las comprobaciones de seguridad y siga las instrucciones deostenimiento y servicios de este manual. Algunas medias deostenimiento y servicios deben ser efectuadas por especialistas formados y@cualificados.Consulte las instrucciones del apartado Mantenimiento.
Todas las cubiertas y protecciones deben estar montadas antes de arrancar laquina. Compruebe que el capuchon y el cable de encendido estén intactos para evaporar sacudidas electricas.
Controle que nadie se acerque a menos de 5 metros durante el trabajo.
Antes de utiliser laquina,realice una inspeccion general.Consulte el programa deostenimiento.

ATENCLI! Estequina genera un Campo electromagnetico durante elFuncionamento. Este Campo magnetoico peut, en determinadas circunstancias, Interferir con Implantes medicos activos o pasivos. Para reducir el riesgo delesiones graves o letales, las personas queutilizaran Implantes medicos deben consultar a su medico y al fabricante del implante antes de emplear estaquina.

ATENCLI Si se hace funcionar el motor en un local cerrado o mal ventilado, se corre riesgo de muerte por asfixia o intoxicacion con monoxido de carbono.
IMPORTANTE!
Una barrena para tierra empleada de forma erronea o negligente pueda ser una herramienta peligrosa que pueda causar daños graves e inclujo la muerte. Es muy importante que lea y comprenda el contenido de este manual de instrucciones.
Para trabajo con laquina debeutilizarse un equipo de proteccion personal homologado. El equipo de proteccion personal no elimina el risgo de lesiones, pero reduce su efecto en caso de accidente.Pida a su distribuidor que le asesore en la eleccion del equipo.

ATENCLI Cuando use proteccion auditiva prestie siempre atencion a las snales o llamados de advertencia. Saquese siempre la proteccion auditiva inmediamente afterwards de parre el motor.
PROTECCION AUDITIVA
Se debe utiliser proteccion auditiva con suficiente capacité de reduccion sonora.

PROTECCION OCULAR
Debe utilizes gafas protectoras o visor.


GUANTES
Se deben utilizar guantes cuando sea Neededo, por exemple al montar el equipo de corte.

BOTAS
Utilice botas o zapatos antirresbalantes y fuertes.

INSTRUCCIONES GENERALES DE SEGURIDAD
VESTIMENTA
No实用性 nunca ropa amplia, bufandas, joyas o articulos semejantes que podrian engancharse en la barrena. Compruebe que el cablo no este sueyto por debajo de los+hombres.
PRIMEROS AUXILIOS
Tenga siempre a mano el equipo de primeros auxilios.

Equipo de seguridad de laquina
En este capítulo se describes los componentes de seguridad de laquina, su funciona y el modo de efectuar el control y el mantenimiento para garantizar un functionality optimo. En cuando a laubicacion de these components en suquina,vea el capitulo Que es que. La vidautilde laquina可以使 acortarse y el riesgo de accidentes peutecountar si elmantimiento de laquina no se hace de forma adecuada y si loseworkos de serviceo/oreparacion no se efectuan de forma profesional. Para mas informacion, consulte con el taller de service oficial mas cercano.
IMPORTANTE!
Todo los trabajo de servicios y reparación de laquina requieren una formación especial. Esto especialmente importante para el equipo de seguidadde laquina. Si laquina no pasa algo deloscontroles indicados a continuacion, acuda a su taller deservicio local. La compra de algo n de nuestrosproducts le garantiza que pueda recibir unmantenimiento y servicios profesofesional. Si no ha adquiridolaquina en una de nosaras tiendas especializadascon serviceo, Solicite informacion sobre el taller deservicio mas cercano.

ATENCLN! Nunca utilise unaquina queonga un equipo de segundad defectuoso. Efectue el control y mantenimlento del equipo de segundad de laquina como se describioso en este capitulo. Si suquina nooca todos los controles, entregaa a un taller de service para su reparacion.
Boton de parada
El botón de parada se usa para parar el motor.

Arranque el motor y compruebe que separe cuando se mueve el boton de parada a la posicion de parada.
Silenciador


El silenciador está Diseño para reducir al máximo possible el;nvel sonoro y paraaabarlos gases de escape del usuario.


En paises con clima calido y seco, puede ser grande el riesgo de incendio. Por ese, hemos equipado a ciertos silenciadores con cortafuegos. Controle si el silenciador de suquina lo tiene.
Para el silenciador, es sumamente importante seguir las instrucciones de control, mantenimiento y servicios.
Nunca utilise unaquina que teng un silenciador defectuoso.
Compruebe regulamente que el silenciador esté firmamente montado en laquina.
Si el silenciador de suquina行业内 revilla apagachispas, limpiela a intervalos regulares. La obturacion de la revilla produce el sobrecalentamento del motor, con el riesgo consiguiente de averias graves.

INSTRUCCIONES GENERALES DE SEGURIDAD

ATENCLON! En el interior del silenciador hay sustancias quimicas que peuvent ser cancerigenas. Evitar el contacto con estas sustancias si se daña el silenciador.

ATENCLON! Recuerde que: Los gases de escape del motor estan calientes y pueda CONTENER chispas que pueda provocar incendio. Por estarzon, junca arranque laquina en interiores ooca de material inflamable!
Cuchillas



Compruebe las cucillas. No utilise nunca cucillas romas, agrietadas o danadas.
Compruebe que las cucillas esten firmamente montadas.

Durante el proceso de fabricacion, las cucillas se afilan siguiendo un método avanzado. Esto significa que no pueda volver a afilarse con métodos convencionales. Las cucillas gastadas deben sustituirse por cucillas新品as para asegurarde que laquina funciona satisfactoriamente.
MONTAJE
Montaje de la empuñadura

- Atornille el mango izquierdo al soporte incluido en el bastidor y apriételo con firmeza.

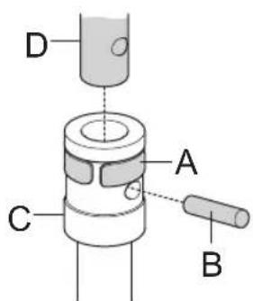
Montaje de la barrena

- Deslice la abrazadora de anillo (A) y retire el pasador de bloqueo (B) de la barrena.


- Coloque la barrena (C) en el eje de salute (D).
- Coloque el pasador de bloqueo y deslice la abrazadora de anillo de forma que lo cubra.
MANIPULacion DEL COMBUSTIBLE
Seguidad en el uso del combustible
Nunca arranque laquina:
1 Si derramó combustible sobre laquina. Sequerialquier residuo y espere a que se evaporen los restos de combustible.
2 Si se salpico el cuerpo o las ropas, cambie de ropas.
Lave las partes del cuerpo que hanentrado en contacto con el combustible. Use agua y jabón.
3 Si hay fugas de combustible en laquina. Compruebe regularmente si hay fugas en la tapa del deposito o en los conductos de combustible.
Transporte y almacenamento
- Almacene y transporte laquina y el combustible de manera que eventuales fugas o vapeores no pueda entrada en contacto con chispas o llamas, por exemple, mecinas electricas, motores electricos, contactos electricos/interruptores de corriente o calderas.
- Para almacenar y transporte combustible se deben utilizar recipientes diseñados y homologados para tal efecto.
- Si laquina se va a almacenar por un periodo长大o, se debe vaciar el deposito de combustible. Pregunte en la estacion de serviceo mas cercana que hacer con el combustible sobre.
- Antes del almacenaje prolongado, limpie bien laquina y haga el serviceo completo.
- Para evaporar el arranque imprevisto del motor, se debe quitar siempre el capuchon de encendido para el almacenaje prolongado de laquina, si se va a partir laquina sin vigilar y para efectuar todas las medidas de servicios previstas.

ATENCLl! Sea cuidadoso al manejar el combustible. Piense en los riesgos de incendio, explosiOne intoxicacion respiratoria.
Carburante
NOTA! Laquina tiene un motor de dos tiempos, por lo que debe utilizarse siempre una mezcla de gasolina con aceite para motores de dos tiempos. Para Obtener una mezcla con las proporciones correctas, deben medirse con precisionla cantidad de aceite que se meclarar. En la mezcla de��eñas cantidades de combustible, los erros mas insignificantes en la medicacion del aceite influyen considerablemente en las proporciones de la mezcla.

ATENCL! El combustible y los vapores de combustible son muy inflamables y pueda causar daños graves por inhalacion y contacto con la piel. Por consiguiente, al manipular combustible proceda con calidad y procure que haya buena ventilacion.
Gasolina

iNOTA! Use siempre gasolina de buena calidad mezclada con aceite de como minimum 90 octanos (RON). Si suquina está equipada con catalizador (vea el capitulo Datos先进技术),Debe usese siempre gasolina sin plomo de buena calidad mezclada con aceite. La gasolina con plomo averia el catalizador.
Si hay disponible gasolina menos nociva para el medio ambiente, denominada gasolina de alquilato, se debe usar este tipo de gasolina.

Puede utiliser combustible con mezcla de etanol E10 (mezcla maxima de etanol del 10% ). El uso de mezclas de etanol de mayor concentracion que E10 originala un mal funciona como que pueda causar daños en el motor.
- El octanaje minimumo recomendado es 90 (RON). Si se设有 functionar el motor con gasolina de octanaje inferior a 90,uede producirse clavazon. Esto augmente la temperatura del motor, con el consiguiente riesgo de averias.
- Para trabajo durante mucho tiempo en altas revoluciones se recomienda el uso de gasolina con más octanos.
Aceite para motores de dos tiempos
- Para un resultado y prestacionesolestimos,utilice aceite para motores de dos tiempos HUSQVARNA, especialmente fabricado para motores de dos tiempos refrigerados por aire.
- No utilise nunca aceite para motores de dos tiempos fuera borda refrigerados por agua (llamado outboard oil), con designacion TCW.
- No utilise nunca aceite para motores de quatre tiempos.
- Un aceite de calidad deficiente o una mezcla de aceite/combustible demasiado rica pueda perjudicar el funciona del catalizador y reducir su vida uyil.
- Mezcla 1:50 (2%) con aceite para motores de dos tiempos HUSQVARNA.
1:33 (3 %) con ellos aceites para motores de dos tiempos refrigerados por aire y clasificados para JASO FB/ISO EGB.
MANIPULACION DEL COMBUSTIBLE
| Gasolina, litres | Aceite para motores de dos tiempos, litres | |
| 2% (1:50) | 3% (1:33) | |
| 5 0,10 0,15 | ||
| 10 0,20 0,30 | ||
| 15 0,30 0,45 | ||
| 20 0,40 0,60 | ||
Mezcla
- Siempre haga la mezcla de gasolina y aceite en un recipiente limpio, homologado para gasolina.
- Primero,pongla mitad de la gasolina que se va a mezclar.Luego,añada todo el aceite y agite la mezcla.A continuación,añada el resto de la gasolina.
- Agite bien la mezcla de combustible antes de ponerla en el deposito de combustible de laquina.


- No mezcle mas combustible que el besoino para utiliser un mes como maximo.
- Si no se ha utilisé laquina por un tiempo prolongado, vacie el deposito de combustible y limpielo.
Repostaje


ATENCLl! Las siguientes medidas preventivas reducen el riesgo de incendio:
No fume ni ponga objetos calientes,.
cerca del combustible.
No haga nunca el repostaje con el motor en marcha.
Apache el motor ycede que se enfrie unos minutos antes de repostar.
Para repostar, abra despacio la tapa del deposito de combustible para evacuar lentamente la eventual sobrepresion.
Despues de repostar, apriete bien la tapa del deposito de combustible.
Antes de arrancar,除去此番的 laquina del lugar y de la fuente de repostaje.
- Utilice un recipiente de combustible con proteccion antirebose.
- Limpie alrededor de la tapa del deposito. Los residuos en el deposito occasionan problemas de funcionaimiento.
- Asegürese de que el combustible está bien mezclado SACudiendo el recipiente antes de llenar el deposto.


ARRANQUEYPARADA
- Compruebe las cucillas. No utilise nunca cucillas romas, agrietadas o danadas.

- Controle que laquina está en excellentes conditiones de funciona bajo. Verifique que todas las tuercas y tornillos estén apretados.
- Compruebe que el equipo de corte siempre se detenga en ralenti.
- Utilice laquina solamente para el uso al que está destinada.
- Controle que los mangos y las functiones de seguridad estén en buena conditiones. No utilise nunca unaquina que carece de una pieza o que ha sido modificada fuera de las specifications.
- Todas las cubiertas deben estar correctamente montadas y en buena conditiones antes de arrancar laquina.
Arranque y parada


ATENCLION! Aparte siempre laquina unos 3 metros del lugar donde cargo de combustible antes de arrancar. Coloque laquina sobre una base firme. Controle que el equipo de corte no pueda atascarse en algoj的对象. Asegurese de que no haya personas desautorizadas en la zona de trabajo, de lo contrario se corre lresgo de occasionar graves danos personales.
Motor frio
Encendido: Coloque el mando de detencion en posicion de arranque.
Bomba de combustible: Presione varias vezes la burbuja de goma de la bomba de combustible hasta que
comience ahlenarse de combustible. No es necessario llenarla totalmente.

Estrangulador: Ponga el estrangulador en la posicion de estrangulamento.

Aceleración de arranque:
Para Obtener la posicion de aceleracion de arranque, presione primero el acelerador y afteres el boton de aceleracion de arranque (A). A continuacion, suele el acelerador y afteres el boton de aceleracion de arranque. Ahora está activada la function de aceleracion de arranque. Para reponer el motor en ralent, presione de nuevo el acelerador.

Motor caliente
Siga el mesmo procedimiento de arranque que para el motor frío, pero sin poder el estrangulador en la posicion de estrangulamento.
Arranque

ATENCLON! Cuando el motor es arrancado con el estrangulador en la posicjion activada o de aceleracion de arranque, el equipo de corte comienza a girar inmediamente.
Mantenga laquina en posicón vertical con la mano izquierda. Agarre la empuñadura de arranque y tire despacio de la性和 con la mano derecha, hasta sentir una resistencia (los dientes de arranque engranan), y después tire rápido y con fuerza.
ARRANQUEYPARADA
Al encender el motor, vuelva a colocar rápidamente el mando del estrangulador en su posición inicial y repita el intento de arranque hasta que el motor arranque.
!NOTA! No extraiga el cordón de arranque al máximo, y no suele la empūñadura de arranque si ha extraido todo el cordón. Illo pueda occasionar averías en laquina.

iNOTA! No poner ninguna parte del cuero en la superficie marcada. El contacto pueda causar quemaduras en la piel o sacudidas electricas si el excitador de ignacion es defectuoso. Utilice sempre guantes protectores. No emplee nunca unaquina con un excitador de ignacion defectuoso.

Parada
El motor se para poniendo el contacto de parada en la posicion de parada.

TECNICA DE TRABAJO
Instrucciones generales de trabajo
IMPORTANTE!
Este apartado contiene las precauiones de seguidad bfaces para utiliser una barrena para tierra.
Cuando se vea en una situacion insegura para
continuar el trabajo,debbe consultar a un experto.
Pongase en contacto con su distribuidor o taller de
servicio.
Evite todo uso para elrial no se sienta suficientemente calificado.

ATENCLl La maquina suepe occasionar lesiones graves. Lea atentamente las instrucciones de segurdad. Aprenda a utilizez la maquina.

ATENCLI! Herramienta cortante. No toque la herramienta sin apagar antes el motor.
Instrucciones de seguridad para el entorno
- No permittednucque que los niñosutilicen laquina.
- Controle que nadie se acerque a menos de 5 metros durante el trabajo.
- Nunca deje que terceros utiliser laquina sin asegurar se primo de que hayan entendido el contenido de este manual de instrucciones.
Instrucciones de seguridad durante el trabajo

-
Cercórese siempre de tener una posición de trabajo segura y firme.
-
Utilice siempre ambas manos para sujarar laquina.

- Utilice la mano derecha para manejar el acelerador.
Cerciorese de Maintener las manos y los pies alejados del equipo de corte cuando el motor está en marcha.

- Comience taladrando con una acceleracion media yurrente el regimen del motor gradualmente para que el taladro penetre en la tierra sin dificultad.
- Si el taladro se ha enganchado en la tierra y nogue extraerlo, detenga el motor y gire la barrena en sentido contrario a las agujas del reloj.
- Apague sempre el motor cuando haya acabado de taladrar.
- Al apagar el motor, mantenga las manos y los pies alejados del equipo de corte hasta que el motor se detenga por completeo.
- Siecha con algoj objecto o si se producen vibraciones fuertes, pare laquina. Desconecte el cable de encendido de la bujia. Controle que laquina no estdana. Repare posibles averias.
TECHNICA DE TRABAJO

ATENCLl Si al taladrar la maquina toca o perfora cables electricos,gue provocar la muerte o lesiones graves. La maquina noiene aislawiento electrico Para evitar el riesgo de electrocuncion, compruebe silempre antes de taladrar que no haya tuberias o cables subterraneos.Pongase en contacto con la Empresa local de servicios publicos para Obtener mas informacion sobre laubicacion de las tuberias y los cables.Sis必需arlo, confirmre su ubicacion real utilizing aparatos como detectives de cables o excavando con cuidado.

ATENCLl Si Ilega a golpear algo duro en la tierra, como rocas o las raices de un arbol, el taladro pueda detenerse repentinamente. Esto peut conllevar un movimiento de reacion en la barrena, lo que haria que el usuario perdlese el control de la maquina o Cayese al suelo, con lo que podria sufir daños graves. Sujete la barrena con firmeza para controlar dicho movimiento y reducir el riesgo de lesiones.

ATENCL La sobreexpacion a las vibraciones可以使 produir lesiones vasculares o nervosas en personas que padecen de trastornos circulatorios. Si advlerte sintomas que podan relacionarse con la sobreexpacion a las vibraciones, consulte a un medico. Ejemplos de这些东西 sintomas son entumecimiento, falta de sensibilityd, "hormigueo", "puntadas", dolor, perdida o reduccion de la fuerza normal, cambios en el color o la superficie de la piel. Generalmente,这些东西 sintomas se presentan en los dedos, las manos y las muñecas. El riesgo peut ser mayor a bajas temperatas.
Instrucciones de seguridad.after del trabajo



-
Antes de la limpieza, reparacion o inspeccion, cerciorese de que el equipo de corte se haya detenido. Desconecte el cable de encendido de la bujia.
-
Utilice siempre guantes protectores al sustituir las cuchillas. Las cuchillas estar muy afiladas y pueda cortarse con calidad.

- Guarde laquina的最后一 alcance de los niños.
- Para las reparaciones, utilise solamente repuestos originales.
MANTENIMIENTO
Carburador
Regulación de la marcha en ralenti (T)
Controle que el filtro de aire está limpio. Cuando la marcha en ralenti está correctamente regulada, el equipo de corte no debe rotar. Si esnecessaryajustar, cierre (sentido horario)el tornillo T con el motor en marcha hasta que el equipo de corte comience a girar.Abra (sentido antihorario)el tornillo hasta que el equipo de corte se detenga. Se ha logrado el regimen correcto de marcha en ralenti cuando la marcha del motor sea uniforme en todas las posiciones, con un amplio margen hasta el regimen en que el equipo de corte comienza a girar.


ATENCLON! Si nogue regular el regimen en ralenti para que el equipo de corte deje de girar, consulte a su distribuidor/taller de service. No utilise laquina hasta que no estecorrectamente regulada o reparada.
Silenciador

El silenciador está Diseño para amortiguar el ruido y para partir del usuario los gases de escape. Los gases de escape están calientes y;puede contener chispas que;puede occasionar incendios si se dirigen los gases a materiales secos e inflamables.
Algunos silenciadores incorpocran una rejilla apagachispas. Si el silenciador de suquina行业内va rejilla apagachispas, limpiela cadamana. Lo mejor es'utilizar un cepillo de acero.
En silenciadores sin catalizador, el apagachispas se debe limpiar y embarir una vez por semifana, si esnecessary. Si el apagachispas presente daños, se debe embarir.
Si el apagachispas se obstruye con fecuencia,esto suepe ser signal de que el catalizador no funciona correctamente.Consulte a su distribuidor para un control.
Si el apagachispas se obstruye, laquina se recalienta y se dan an el cilindro y el pistón.
!NOTA! No utilise nunca laquina con un silenciador en mal estado.
Filtro de aire

El filtró de aire debe limpiarse regularmente de polvo y sueidad para evaporar:
- Fallos del carburador
- Problemas de arranque
- Reducción de la potencia
- Desgaste innecesario de las piezas del motor.
- Un consumo de combustible excessivo.

Limpie el filtro cada 25 horas de funciona o más seguido si trabajo en un entorno muy polvoriento.
Limpieza del filtró de aire
Desmonte la cubierta del filtro de aire y retire el filtrto. Limpielo con aire comprimido.
Un filtró正常使用 durante mucho tiempo no pueda limpiarse del todo. Por tanto, hay que cambiarlo a intervalos regulares. Un filtró de aire averiado deben camblarse.
Filtro de combustible


1
1 Filtro de combustible
MANTENIMIENTO
Cuando el motor se quede sin suministro de combustible, compruebe la tapa y el bajo del combustible para verificar si está obstruidos.
Engranaje

Compruebe el nivel de aceite de la caja de engranajes cada 50 horas de uso y cámbielo por aceite nuevo cuando seanecessary (SAE 80-90).


- Asegürese de que la barrena está en posición vertical.
- Quite el tapón para la recarga de aceite A y el tornillo B.
Recargue el aceite de la caja de engranajes. Se habra alcanzado el nivel de aceite correcto cuando vea que sale una gota de aceite por el orificio del tornillo B. - Apriete el tornillo B y cierra el tapón para la recarga de aceite A.
Bujía

Los factoresSIGUIENTESaffectanal estado de la bujía:
- Carburador mal regulado.
- Mezcla de aceite inadequada en el combustible (demasiado aceite o aceite inadequado).
- Filtró de aire sucio.
Estos factores producen revestimientos en los electrodos de la bujía que pueda occasionar perturbaciones del funciona y dificultades de arranque.
Si la potencia de laquina es demasiado bajo, si es dificil arrancar laquina o si el ralenté es irregular: revise primero la bucía antes deayarlas medidas. Si
la bujía está muy sucia, limpiela y compruebe que la separación de los electrodos sea de 0,9-1,0 mm. La bujía debe cambiarse aproximamente afterwards de un mes de funcionaimiento o más a bajo si es necessitieso.

!NOTA! !Utilice sempre el tipo de bujía recomendado! Una bujía incorrecta pueda arruinar el pistón y el cilindro. Asegúrese de que la bujíaonga supresión de perturbacionesradioeléctricas.
MANTENIMIENTO
Programa de mantenimiento
A continuación incluyos una lista con los+puntos deostenimiento a efectuar en laquina. La mayoria de los+puestos se describes en el capitulo "Mantenimiento". El usuario solo pueda efectuar los trabajo deostenimiento y servicios descritos en este manual. Los trabajo de mayor envergadura deben efectuarlos un taller de service oficial.
| Mantenimiento | Mantenimlent o diario | Mantenimlent o semanal | Mantenimlent o mensual |
| Limpie la parte exterior de laquina. X | |||
| Compruebe que la empuñadura y el manillar estén intactos y bien fjitos. | X | ||
| Controle que el mando de detencion funciona. X | |||
| Controle que el equipo de corte no gire en ralentí. X | |||
| Limpie el filtro de aire. Cambio si es besoino. X | |||
| Compruebe las cucillas. No utilise nunca cucillas romas, agrietadas o dañadas. | X | ||
| Compruebe que los tornillos y las tuercas estén apretados. X | |||
| Controle que no haya fugas de combustible del motor, del depuesto o de los conductos de combustible. | X | ||
| Controle el mecanismo de arranque y la cuerda del本身就是. X | |||
| Compruebe que estén intactos los aisladores de vibraciones. X | |||
| Limpie la bujía por fuera. Quitela y controlle la distancia entre los electros. Ajuste la distancia a 0,9-1,0 mm o cambie la bujía. Controle que la bujíaonga supresión de perturbaciones radioeléctricas. | X | ||
| Limpie el exterior del carburador y la zona alrededor del本身就是. X | |||
| Compruebe el nivel de aceite de la caja de engranajes y llénelo, en caso besoino. | X | ||
| Algunos silenciadores incorpocran una rejilla apagachispas. Si el silenciador de suquina leva rejilla apagachispas, limpiela cadamana. Lo mejor es utiliser un cepillo de acero. | X | ||
| Compruebe que el filtró de combustible no está sucio y que la manguera de combustible noiene gritas nithers defectos. Cambie el componente que sea besoino. | X | ||
| Revise todos los cables y conexiones. X | |||
| Compruebe si está desgastados el embrague, los muelles de embrague y el tambor embrague. Cambie los componentes que sea besoino en un taller de service oficial. | X | ||
| Cambie la bujía. Controle que la bujíaonga supresión de perturbaciones radioeléctricas. | X |
DATOSTECNICOS
Datasétécnicos
543 AE15
Motor
Cilindrada, cm3 40,1
Diametro del cilindro, mm 40,5
Carrera, mm 31,1
Régimen de langenti, r.p.m. 3000
Régimen maximalo de embalamento recomendado, r.p.m. 12000
Potencia maxima del motor segun ISO 8893, kW/ r.p.m. 1,5/9000
Silenciador con catalizador No
Sist. de encendido con reg. de veloc. Si
Sistema de encendido
Fabricante/tipo de sist. de encendido CDI
Bujia NGK CMR7H-10
Distancia de electrodos, mm 0,9-1,0
Sistema de combustible y lubricacion
Fabricante/tipo de carburador Walbro WTEA
Capacidad del deposito de gasolina, litros 0,75
Peso
Peso sin combustible y herramienta de corte, kg 9,3
Emissions de ruldo
(ver lanota 1)
Nivel de potencia acústica medido dB(A) 106
Nivel de potencia acústica garantizo L_WAdB(A) 108
Niveles acusticos
(vea lanota 2)
Nivel de presión sonora equivalente en la oreja del usuario, medido según EN ISO 22868, dB(A):
Nivel de efecto sonoro equivalente, medido segun ISO 3744, dB(A) 101
Niveles de vibraciones
(vea lanota 3)
Niveles de vibración equivalentes (ahv, eq) en las empuñadas, medidos según la norma EN ISO 22867, m/s².
mango izquierdo/derecho: 9,5/11,1
Note 1: Emisiones sonoras en el entorno medidas como potencia acustica (L_WA) segun la directiva CE 2000/14/CE. El nivel referido de potencia sonora de laquina se ha medido con el equipo de corte original que produce el nivel mas elevado. La diferencia entre la potencia sonora garantizada y medida es que la potencia sonora garantizada también incluye la dispersion en el resultado de la medicacion y las variaciones entre differentes MQinas del mesmo modelo, segun la Directiva 2000/14/CE.
Note 2: Los datos referidos del nivel de presión sonora equivalente de laquina tienen una dispersion estadística habitual (desviación típica) de 1 dB (A).
Nota 3: Los datos referidos del nivel de vibracion equivalente poseen una dispersion estadistica habitual (desviacion típica) de 1m / s^2

DATOS TECNICOS
Declaración CE de conformidad (Rige sólo para Europa)
Husqvarna AB, SE-561 82 Huskvarna (Suecia), tel. +46-36-146500, declara bajo su exclusiva responsabilidad que la barrena Husqvarna 543 AE15, a partir de los nombres de série del ano 2012 (el ano se indica claramente en la plaza de identificacion jusqu con el numero de series), cumple con las dispositions de las Directivas del Consejo:
- 2006/42/CE «relativa a migunas» del 17 de mayo de 2006.
-
2004/108/CEE, "referente a compatibilitad electromagnética", del 15 de novembre de 2004.
-
2000/14/CE, "sobre emisiones sonoras en el entorno" del 8 de mayo de 2000. Declaracion de conformidad efectuada segun el anexo V. Para mas informacion sobre las emisiones sonoras, consulte el capitulo Datos tecnicos.
Se han aplicado las siguientes normas:
EN ISO 12100:2010, ISO 5349-1:2001, EN ISO 3744:2010, EN ISO 22868:2011
SMP Svensk Maskinprovning AB, Box 7035, SE-750 07 Uppsala, Suecia, ha efectuado un ensayo de tipo voluntario para Husqvarna AB.
El certificado tiene el número: 543 AE15 - SEC/13/2365
Huskvarna, 11 de enero de 2013

Bengt Frogelius, Jefe de Desarrollo (Presente autorizzato de Husqvarna AB y responsable de laoothementacion tectnica.)
SYMBOLERKLÄRUNG
Symbole
Igno; estrangulador: Ponha o commande na posicao de estrangular.









Bomba de combustivel.
Prezado cliente! 194
COMO SE CHAMA?
Como se chama? 195
INSTRUÇÉS GERAIS DE SEGURANÇA
Important 196
MANEJO DE COMBUSTIVEL
Seguranga no manejo de combustivel 200
Combustivel 200
Abastecimento 201
ARRANQUE E PARAGEM
Providencia para que ninguem esteja a menos de 5 m do local de trabajo.
MANEJO DE COMBUSTIVEL
Segurarca no manejo de combustivel
Nunca arranque com a�quina:
MANEJO DE COMBUSTIVEL
Aceleracao de arranque:
Silenciador com catalisador Nao
Fabricante/tipo de sistemas de ignicao CDI
Vela de ignicao NGK CMR7H-10
Folga dos electrados, mm 0,9-1,0
Sistema de combustivel/lubrificacao
Fabricante/tipo de carburador Walbro WTEA
OBUHCTPYKUN 3A BE3OJACHA PABOTA
3anomheTe
3ANOMHETE!
MaHHaTa e npdeHa3NaYeHa eHnHCTBeHo 3a npo6uBaHe B nouBa.
HaHnHaJIHnTe 3aKOH MoHe da peryJIpaT nIIOJI3BaHeTO Ha Ta3n MaUnHa. OTKpNlTe KaKBn 3aKOH Ca IIpNJIOHXIMn Ha MAcTOTO, KbJeTo pa6oTnTe, npEi Da 3anOuHHeTe Da nI3NoJI3BaTe MaunHaTa.
HnKora He n3no3BaTMe MaunHa C n3MeHeHnBOpunHaHaTa PpBoHaaJaHa KOHCTpyKUy.
He pa6oTe HkOra c MaunHaTa, aKo CTe yMopeHn, nJn cTe yNoTpe6nJn aJIkoXoJn Jn JekapCTBa, KOITNOBJIyBaT 3peHneTo, Cb6pa3nTeJIHOCTTa N KoOpdNHaCnJaTa Ha DInHeHnTa.
N3noJI3BaIe IInuHaTa 3aunTHa eknnpOBKa. BnH yKa3aHnra Ta B pa3JeI JInuHa 3aunTHa eknnpOBKa.
Hikora He n3no3BaTe MaunHa, KOrTo e Hn3npaBHa. N3BpWbAte OnncAHte B TOBa pKoBOJCTBO 3a ekCnIooTaLny peIOBHN npOBepKn 3a 6e3onacHocT, NOdPbHKa N cepBN3.
OnpeJeHn onepaun no noDpBHKKaTa n cepBn3a ce n3BbPWBaT eINHCTBeHO OT KBaIuNpuHa n cneuaJInctn. BnHTe yka3AHra Ta Bpa3JeI'NoDpBHKa'.
Ipei n CTapTnpaHe BCnKn Kanaun 3aunTu Tp6Ba Da 6bDaT MoHTnpaHn. YBepTe ce daN Kanaykata Ha 3anaJIteJHaTa CBeu N 3anaBauNrT Ka6eJ ca n3npaBHn, 3a da n36erHete onachocCTta ot eJeKtpueckn ydap.
Y6eTe ce,Ye HIKoH Ce npn6JnHaBa no- 6Jn30 ot 5m no BpeMe Ha pa6Ota.
HanpaBete TnocHa HnCneKuHa MaunHaTa npdeyn ynoTpe6a, Bn. rpaNka 3a TexHuecko 06cnyhBaHe.

IPEDYNPENDEHNE! Ta3n MaunHa
c3daBa eJNkTpOMaHHTHO NOJe No
BpeMe Ha pa6oTa. Pn HAKOIN
OBCToRTeJIcTBa TOBa NOJe MOHe Da
UNTEPΦeepuca KaTbHN NnN pACNBHn
MeIMUHckn IMnlaHTaHTN. 3a Da
HaMaJIte pNCKa O T cepNo3Ho IN
ΦaTALHO HapaHbAHe, Hne
IPenOpbYBaMe JnCaTa C MeINuHckn
IMNJaHTaHTN Da ce KOHCyJTnpaTc
JIeKapr cN npOn3BOJNTeJHa
MeINuHckn IMnlaHTaHT, IpeNi Da
3aOnuHaT da pa6oTATc Ta3n MaunHa.

PPEyIPEHDEHNE!Pa6oTaHa
DIBrAteJ B 3aTBOpEHO IIN
IOWOnpOBeTpRAHo NOMEeHne MOHe
DaIOBedeIO CMBPTT NopADN
3aNyBaHa He IIN OTPABHe C
BbIpeoJeH OKc.
OBUHCTPYKUN 3A BE3OJACHA PABOTA
Ako aycnybT Ha MaunHaTa Bn e Cha6deH C nckporacnteHa MpeHa, T Ta Tp8Ba Da ce nouchTba peoBHO. 3ambpceHaTa MpeHa npEIN3BkBA ppeprBaHe Ha DnIgTaTeJa MoKe Da DoBeDe Do cepno3Hn NobpeN.


PNEyPENDEHNE!BbTpewHocTtHa Wymo3arLywnTeIe CbDbpKaXMMKajN, KOITo MoHe Da caKaHcpeoreHH. B cnyauye Wymo3arLywnTeJIe T e nobpeH, 136raBaiTe Donnp C Te3n eJemeHTN.

PNEyPENHEHNE! He 3a6paBraTe,
Ye: Otpa6oTeHNTE ra3OBe ot
DnBaTaeJa ca RopeuN B TAX MoRat
Da CbDbPbHaT NcKpN, KOnTO da
npEni3BnKaT noHap. He cTApTuPaTe
HnKOra MaunHaTa B NomEeHne Nnn
6Jn3o Do rOpBnMaTePnaJI!
HoxoBe

PpOBepaBaiTe HOHOBeTe. HIKoRa He N3noJI3BaIeHoHIOBE, KOINTO ca 3axa6eHN, HanyKaHN nnIOBpeDeHN.
YBepete ce, ye HOHOBeTe ca 3dpaBO 3aKpeHn.

Pn npOn3BOcTBoTo Ha ocTpneTo ce n3noJI3Ba
HOBaTHBEH MeToI 3a HatoBaHe. ToBa O3HaUba,
Ye ocTpneTo He MoKe Da CE HatoBa No
KOHBeHIOHOHaJIHtE HaHHN. N3HOceHInTe
ocTpneTa Tp6Ba Da CE NOIMeHrT C HOBn, 3a Da Ce
raPAHTnpa 3aIOBOJNTeJIHaTa pa6Ota Ha
MaHHaTa.


STARTOVÁNÍ A VYPÍNÁNÍ
Kontrola préd startem

ManualFácil