543AE15 - Matkap HUSQVARNA - Ücretsiz kullanım kılavuzu
Cihazın kılavuzunu ücretsiz bulun 543AE15 HUSQVARNA PDF formatında.
Sık sorulan sorular - 543AE15 HUSQVARNA
Cihazınız için talimatları indirin Matkap PDF formatında ücretsiz! Kılavuzunuzu bulun 543AE15 - HUSQVARNA ve elektronik cihazınızı yeniden ele alın. Bu sayfada cihazınızın kullanımı için gerekli tüm belgeler yayınlanmaktadır. 543AE15 markasının HUSQVARNA.
KULLANIM KILAVUZU 543AE15 HUSQVARNA
UYARI! Toprak matkabi, dikkatsiz veya yanligh kullanlhrsa tehlikeli bir aarctir ve ciddi, hatta olumcuil yaralanmalara sebeb olabilir. Bu kullanim kulavuzunun icerigini okumaniz ve anlamaniz son derecede onemlidir.
Makineyi kullanmadan once kullanim kilavuzunu iyice okuyarak icerigini kavrayiniz.
Her zaman kullanilmasif gereken malzemeler:
- Onanmíg koruyucu kulaklík
Gözlerin koruması onaylanm,stir
Bu tirin geerli CE direktiflerine uygundur.
Elektrik kabolarini veya tellerini delmek ya da bunlarla temas etmek olime veya ciddi yaralanmalara nden olabilir. Makine elektrige karsi yaltilmamistr.
Toprak aktinda kaya veya aagc kokü gibi sert bir cisme carpilrsa matkap aniden durabilir. Bu, matkapta tepki hareketi olusmasina neden olabilir, bu yizden operatör makinenin kontrlunu kaybedebilir veya makine tarafindan yere dusurulebilir ve ciddi yaralanmalar gereklesebilir.
Her zaman onanmis koruyucu eldivenler kullanilmalidir.
Dayanikli, kaymayan bot veya ayakkabi giyin.
Ate sleme; jikle: Jikleyi jikle durumuna getiriniz.









Yakut pompasi.
Cevreyc verdigi gurilti emisyonlar Avrupa Birigi'in direktiflerine uygundur. Makinen imesyonlari Teknik bilgiler bollimunde ve etikette belirtilmistir.
Vucudunuzun tum bolimlerini sicak yüseylerden uzakta tutun.



Makina üzerindeki diger semboller/etiketler kimi pazarlarda onay almak icin gerekli özel kosullarla ilgilidir.
Kontrol ve/veya bakim, motor durdurulduktan ve STOP durumuna getirildikten sonra yapilmalfir.
Her zaman onanmis koruyucu eldivenler kullanilmalidir.
Düzenli araliklarla temizlik gerekmektedir.
Gözle bakarak kontrl.




ICINDEKILER
Içindekiler Başlamadanforcesağidaki konulara
SEMBOLLERIN ACIKLANMASI
Semboller 436
ICINDEKILER
Icindekiler 437
Balamadan once asagfdaki konular dikkat ediniz: 437
GIRIS
Degerli Musterimiz. 438
NE NEDIR?
Ne neder? 439
GENEL GÜVENLIK AÇIKLAMALARI
Onemli 440
Kisiclkoruyucuaraclar 440
Makinenin guvenlik donanimi 441
MONTAJ
Elcigi takma 443
Matkabin takilmasi 443
YAKIT KULLANIMI
Yakit givenligi 444
Calisturié 444
Yakitikmali 445
CALISTIRMA VE DURDURMA
Balamadan once kontrol yapiniz. 446
Calistirma ve durdurma 446
CALISMA TEKNIKLERI
Genel calisma aciklamarli 448
BAKIM
Karbürator 450
Susturucu 450
Hava filtresi 450
Yakut filtresi 450
Disli kovani 451
Buji 451
Bakim semasi 452
TEKNIK BILGILER
Teknik bilgiler 453
Uygunluk konusunda AB deklarasyonu 454
dikkat ediniz:
Kullanim kiflavuzunu dikkatte okuyunuz.

UYARI! Kesme islemini yaparken uzun sure gurültüye maruz kalma, duyma bozukluguna yol acabilir. Bu nedenle daima onaylanmuls bulunan, gurültüye karı korum cihazi kullanmiz.

UYARI! Imalatçınin izni olmaksın makinınin original yapisiışıbicir bogimdedehyi. Her zaman original yedek paraça kullanilmaldir. Yetkili olmayan kılıter tarafindan yapilandehyişiklikler ve/veya original olmayan parçalar, kullançınin yaralanmasinya da olümüne neden olabilir.

UYARI! Toprak matkabi, dikkatsiz veya yanlş kullamhrsa tehlikel bir araqtr ve ciddi,atta olumciil yaralanmalar sebep olabilir. Bu kullanim kulavuzunun icerigini okumanz ve anlamanz son derecede onemlidir.


GIRIS
Degerli Musterimiz,
Bir Husqvarna urunu aligiz icin sizi kutlariz. Husqvarna, Isvec Krah XI. Karl'm aigizdan dolma tufek yapim icin Husqvarna nehri kiyisinda bir fabrika kurulmasini emrettigi 1689 yllndan bu yana olan birikimin ve gelenegin urunudur. Su gucuyle calisan bir fabrika icin Huskvarna nchrinin sularindan yararanmak amacyla yaplan yer seci me son derece mantikliydi. 300 yi h askin omrui siresince Husqvarna fabrikasi, odun sobasindan modern mutfak malzemelerine, diki makinerline, bisiklctere, motosikletcre kadar bircok farklu irun imal etmistir. Ik motorlu cim bieme makinerleri 1956 yilunda uretilmeye baslandi ve bunun ardindan 1959'da zincirli testcrler geldi; Husqvarna'mn bugun uzmanlaigi alan da bu oldu.
Günümüzde artik Husqvarna, en buyuk onceligi kalite olan, dinyanin en onde gelen orman ve bahçec ekipmani tireticisdir. Misyonumuz, ormancilik ve bahçcciliğin yani sira inaat sektür injn de motorla calşan ekipmanlar gelistirmek, treetmek ve pazarlamaktur. Husqvarma'nin amaci, ergonomik, kullanilabilirlik, guvenlik ve cevre korumas konularinda da her zaman en onde olmaktur. İste bu nedenle, calistigimiz bu alanlarda sizlere farkli özellikleri olan urinler gelistirmis bulunmaktayiz.
Urunlerimizi kalite ve performans acisindan buyuk bir memnuniyete uzun yllar kullanacaginiza inancimiz tamdir. Urinlerimizden herhangi birini satin almaniz, gerektiginde profesyonel onarim ve servis hizmetlerine ulagmanizi saglar. Makinenizi satin aldiginiz yer yetkili bayilerimizden biri degilse, size en yakin servis istasyonunun adresini isteyin.
Dilegimiz, urunumuzden memnun kalmaniz ve uzun yllar kullanmanizdir. Bu kullanim kilavuzunu degerli bir beige olarak koruyun. 'Icinde onerenleneri (kullanim, servis, bakim, vs.) yerine getirerek makinenizin omrunu uzatabilir ve elden duisme satis degerini aritabilirsiniz. Bir gin makinenizi satarsaniz, yen sahibine kullanim kilavuzunu da vermeyi ihmal etmeyin.'
Husqvarna urinlerini kullandigmiz icin tesekkurd eridiz.
Husqvarna AB turtinerini sturekli olarak gelistirmye calismaktadir, bu yizden turtinerin biigim ve gortintisleri konusunda onceden haber vermeksizin degisiklik yapma hakkimiz saklidir.


NE NEDIR?

Ne neder?
1 Yag doldurma
2 Hava filtresi
3 Sok ayar kolu
4 Gaz ayari
5 Dislikovani
6 Matkap (Aksesuar olarak mevcut.)
7 Kesiciler (Akesesuar olarak mevcut.)
8 Kesici gereçler
9 Motor calstma diugmesi
10 Stop diugmesi
11 Calistirma tutacagi
12 Yakit pompasi.
13 Yakít deposu
14 Buji kapagi ve buji
15 Silindir kapagi
16 Kullanim kflavuzu
17 Anahtar
GENEL GÜVENLIK AÇIKLAMALARI
Önemli Kisisel koruyucu araclar
ONEMLI!
Makine yalnizca topragi delmek icin tasarlanmistir.
Ulusal mevzuatta, bu makinenin kullanilmasina iliskin yasalar bulunabilir. Bu makineyi kullanmaya baslamadan once calistigiz yerde gecerli mevyatu ogrenin.
Artik original imalatina benzerligi kalmayacak bicimde yapisal degisiklige ugratifmisi bir makineyi asla kullanmayiniz.
Yorgun ya da iqkili iken ya da gorus, karar verme ve bedensel denctim yeteneklerinizi etkileyebilecek olan bir ilac almiisanz makineyi asla kullanmayiniz.
Kisisel koruyucu araclar kullaniniz. Kisisel koruyucu araclar bolumine bakiniz.
Hiçbir zaman arizali bir makincyi kullanmayin. Bu kulavuzda belirtilen guvenlik kontrolleri ile bakim ve servis talimatlarina uyun. Bazı bakim ve servisi erlinin sadece yetkili ve kalifiye tekniysenler tarafindan yapilması gerekir. Bakim basligi altundaki talimatlara bakim.
Calisturmadan once tum kapak ve siperler takilmaldir. Elektrik seku riskini engelleyebilmek icin buji kapaginn v atesleme kablosunun hasarsiz oldugundan emin olun.
Calusrken hiq kimsenin 5 m'den fazla yaklasmasina izin vermeyin.
Kullanmadan once makineyi genel olarak kontrl edin ve bakim qiselgesini inceleyin.

UYARI! Bu makine, calismasi sirasinda bir elektromanyetak alan olusturur. Bu alan, baza kosullarda aktif veya pasif tibi implantarda girisime neden edebilir. Ciddi veya oulmcul yaralanna riskini azaltmak icin, tibi implantar takli kisilerin, bu makineyi calsturmadan once doktorlarna ve tibi implant ureticisine danismanlarini oneririz.

UYARI! Motorun kapali veya
havalandirması ilmayan yerlerde
çalşırulması havaszizlktan bogulmaya veya
karbon monoksit zehirlenmesine yol acabilir.
ONEMLI!
Toprak matkabi, dikkatsiz veya yanlis kullanlirsa tehlikeli bir atractir ve ciddi, hatta olumul yaralanmalara sebep olabilir. Bu kullanim kilavuzunun icerigini okumaniz ve anlamaniz son derecede onemlidir.
Makineyi her kullandiginzida, onaylanmis kisisel koruyucu araclar kullanmalisiniz. Kisisel koruyucu araclar sakatlanma tehlikesini ortadan kaldirmasalar da, herhangi bir kazanin meydana gelmesi durumunda yaralanma derecesini azaltirlar. Uygun kisisel koruyucu araclar segemke saticinizin yardiministeyiniz.

UYARI! Gürültüye karı sümura cihazı kullanlrken, uyari sinyallerine ve seslerine karı daima dikkatli olunuz. Motor durdurulduktan hemen sonra, gürültüye karı koruma cihazimi qıkartıniz.
GURULTUYE KARSI KORUMA CIHAZI
Gurultiye karı korum cihazi, yeterli bir susturucu etkisi saghyorsa kullamlmahr.

GOZ KORUMA CIHAZI (GÖZLÜK)
Koruma gozlugu ve yuz siperi kullanlmalidir.


ELDIVENLER
Eldivenler ihtiay duyuldugu zaman kullanilabilir, Orn:kesme cihazlarinn monte islemlerinde mutlaka kullamlmahdir.

CIZMELER
Dayanikli, kaymayan bot vya ayakkabi giyin.

GENEL GÜVENLIK AÇIKLAMALARI
ELBISELER
Asla bol kiyafetler, esarplar, takilar veya matkaba takilabilecek benzeri cysalar kullanmayin. Saclarinizin omuz hizasindan asagiya sarkmamasina dikkat edin.
ILK SARGI
Irk yardim cantasif her zaman kolay ulasifir bir yerde olmalidfr.

Makinenin güvenlik donanímí
Bu bolumde, makinenin givenvlik donanimi konusunda ayrintiflarin neler oldugu, bunlarin hangi isleviere sahip bulundugu ve dogru calisip calismadigina emin olmak icin kontrl ve bakimin nasil gereklestirilecegi aciklanmaktadir. Bu techizatin makinenin neresinde oldugunu gormek icin Ne nedir? bolumine bakinz.
Makine dokru bir sekilde kullanilmaz veGPCkli onarimlar ve bakimlar yetkili servis ve bilirksiler tarafindan yapilmazsa, o taktirdc makinenin omrttinuzunluku kusalibilir ve kaza riski artabilir. Eger daha fazla bilgiye ihtiay duyuyorsaniz, en yakin servis istasyonuna basvuruda bulununuz.
ONEMLI!
Makinenin her turlu servis ve onarimi ozel egitim gerektirmektedir. Bu, ozellikle makinenin guvenlik donanimyla ilgilidir. Eger makineniz asagidaki listede yer alan denetimlerden herhangi birinde taklrira, servis atelyenize basvurunuz. Ürunlerimizden herhangi birini satin aldiginzida, profesyonel tamir ve servis sunacagimizi garant iederiz. Makineyi size satan satici servis satici degelse, en yakin servis temsilcisinin adresini vermesini isteyiniz.

UYARI! Bozuk güvenlik gereçlerine sahip bir makineyi asla kullanmayıniz. Bu böümnde belirtilen kontrolleri ve bakim önlemlerini uygulayıniz. Makineniz bu denetimlerden herhangi birisinde takırı onarim icin servis ajanıniza basvurunuz.
Stop Dügmesi
Stop diugmesi, motoru durdurmak icin kullanilir.

Motoru calistiriniz ve stop dugmesi stop durumuna getirildiginde motorun durduugunu denetleyiniz.
Susturucu


Susturucu, olanak elverdigince, motor saqintilarindan kullanicify korumak üzere ve sesin duzeyini duşurmek icin yapilmistir.


Sicak ve kuru iklimlere sahip ülkelerde yanma riskinin (yukarida adiGPCen makine icin) oldugu aciktr. Bu nedenle boyle bir susturucu donatmayuygun bulduk.Kivicim odasi agt.Makinenizin susturucusunun, yukarida adiGPCen boyle bir kivicim odasi agnin olup olmadigiin kontrl ediniz.
Susturucular acisindan, kullanim kilavuzunda belirtlen denetim, bakim ve servisi yerine getirmeniz buyuk onem tasimaktadir.
Susturucusu asinmis bir makineyi asla kullanmayiniz.
Susturucunun makinenin icine oturmus oldugunu duzenli olarak denctleyiniz.
Eger makinenizin susturucusu kivflicim tutma agina sahip isc o da duzenli olarak temizlenmelidir. Yanlis yerlesterilmis bir ag motorun isinmasina ve ciddi biçimde arizalanmasina yol acar.


UYARI! Susturucunun icinde kanserojen olabilecek kimyasal maddeler bulunmaktadir. Susturucunun hasar gormesi durumunda bu maddelere temas etmeyin.

UYARI! Düşünkı: Egzos dumanlari sicutir ve yangina neden olabilecek kivlcimlar da taşiyabilmektedir. Bu nedenle higbir bicomde makineyi kapal yerde ve kolay tutusabilir maddelerin yakıninda calistirmayıniz!

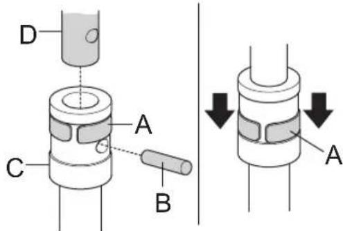
MONTAJ
Elcigi takma

- Sol tutma yerini sasi tizerindeki brakete vidalayin ve iyice sikin.

Matkabn takilmasi

Halka klipsi (A) kaydurin ve kilit pimini (B) matkaptan cikarin.

- Matkab (C) cik mline (D) tak.
- Kilit pimini takin ve halka klipsi kilit pimini kapatacak bicimde kaydirin.
YAKIT KULLANIMI
Yaküt guvenligi
Aşagidaki durumlarda makineyi asla calistırmayınüz:
1 Eger motorun yakit tankina doldurdugunuz yakittan, yakit dokuntusi para: Dokilen butin yakiti siliniz ve kalan benzinin buharlasmasini bekleyiniz.
2 Eger yakit doktintisu size veya elbisenize bulasirsa, hemen elbisenizi degistiriniz. Yakit dokuntusii te temas eden vucudunuzun bolumlcerini hemen yikayimz. Yakit dokuntisii te temas eden vucudunuzun bolumlcerini sabun ve suyla yikayimz.
3 Yakit sizdiriyorsa. Depo kapagi ve yakit kabolarinda sizma olup olmadisin duzenli olarak denetleyiniz.
Tasima ve saklama
- Makineyi ve yakiti, kivilcim ve alev sizintisi riskinin olmadigi, orn: elektrik makinerinin, elektrik motorlinin, elektrik kontagini/elektrik digmesinin vya 1s dagtim merkezlerinin bulunmadigi ortamlarda muhafaza ediniz ve tasyiniz.
Yakitin tasinmasi ve korunmasinda yalmizca ozel olarak tavyiye edilen ve onaylanmig bulunan araclar kullanilacaktir. - Makinenin uzun surek koruması durumunda, yakı tankı, mutlaka boşaltilmaldir. En)yakindaki benzin istasyonyu ile temasa geleçerek elinizdeki benzin fazlosim ne yapmaniz gerektigini sorunuz.
- Makinenin iyice temizlenmis olmasina ve onu uzun sureli koruma alta almadan once tumüyle yetkili servisin denetiminden减免mis olmasina özen gocteriniz.
- Makinenin istenmeden calismasim onlemek icin uzun sure kullanilmadiginda, yakin gozetim aktnda olmadiginda ve sarcvis icin bakim yapilirken buji kapagimin ickarilmasti gerekir.

UYARI! Yakitı taşırken;cok dikkatli olunuz. Patlama ve yanma riskinin olabileceğini dinsuninuz.
Calistirici
DIKKAT! Makine, iki zamanl bir motorla donatilmis olup, her zaman benzin ve iki zamanl motor yagi kariim kullamilarak calistirilmahdir. Dogru kariimin elde edilebilmesi icin karihiracak yag miktarinin hassas sekilde olcilmesi onemlidir. Az miktarda yakit kariunliyorsa, kucik yanishklar bile kariumdaki oranlan beligin sekilde etkileyebilir.

UYARI! Yakit ve yakit buhari kolay ates alr ve teneffus edildiginde veya cildinizle temas ettiginde ciddi yaralanmalaru yol acabilir. Bu nedenle yakit islemlerinde azami derecede dikkatli olmali ve yetleri havalandirma olmasina ozen gostemelisiniz.
Benzin

DIKKAT! Her zaman en az 90 oktanlik (RON) kaliteli benzin/ yag karişumlari kullan. Makinenizde katalitik donustürü (Teknik veriler böllumünc bakin) mevcutsa her zaman iyi kalitede kursunsuz benzin/yag karişimi kullan. Kursunlu benzin katalitik donustürüciyu bozar.
Buncvereye uyumlu benzin orak adlandirabiliriz soguk durumdaki benzinden de yararlaniabilir.

Etanol karısmü l yakit E10 kullanilabilir (maks %10 etanol karıstırilabilir). E10'un üzerindeki etanol karısmilarin n kullamlmasi, motorun zarar gormesine yol acabilecek sekilde yetersiz calismaya neden olabilir.
- Onerilen en duşik oktan 90'dir (RON). Motoru 90'dan daha duşik oktanl yakutla calistirrsaniz, motor tekler. Bu nedenle motor cok fazla isinir, bu da motorda ciddi zarara yol acabilir.
- Särekli yüksek devirde yapilan calhsmalarda yüksek sayida oktan bulunan yakit kullanlmasi tavyisi edilir.
Iki-strok yagi
- En iyisonuc ve performans icin hava sogutmali, iki zamanl motorlar icin ozel olarak utreten HUSQVARNA iki zamanl motor yaglarini kullann.
Su sogutmalti harici motorlar icin uretilmis, harici yag (TCW) olarak da anlan iki zamanl motor yaglarini asla kullanmayim.
Dortc cekisli motorlar icin imal edilmis olan yaglar kesinlikle kullanmayiniz.
Dusik yag kalitesi veya fazla zengin yag/yakit kariismi katalitik donusturucinun islevine zarar verir ve hizmet omrunu azaltur.
Karifirma orani HUSQVARNA iki zamanl yag iceren 1:50 (% 2) JASO FB/ISO EGB olarak sinflandirlm hava soogutmalti, iki zamanl motorlar icin tasarlanmig yaglar ile 1:33 (% 3)
| Benzin, litre | İki-strok yarı, litre | |
| 2% (1:50) | 3% (1:33) | |
| 5 0,10 0,15 | ||
| 10 0,20 0,30 | ||
| 15 0,30 0,45 | ||
| 20 0,40 0,60 | ||
YAKIT KULLANIMI
Karisim
- Benzin ve yagi her zaman, benzin icin uygunluğ onanmis, temiz bir kapa karistirinz.
Her zaman, karistirfacak olan benzinin yarisini karistirarak ise baslayin. Daha sonra yagin tumunü dokunuz. Yakit karisimini katistiriniz (çalkalayiniz). Daha sonra geri kalan benzini dokunuz. - Makinenin yakit deposu dolmadan once yakit karisiminif ozenle katistiriniz (çalkalayiniz).


- Bir aylík bir ihtiyaçtan daha fazla yakı karişirmayınüz.
Eger makine uzun bir sire kullanilmayacaksa yakit deposu boşaltıp temizlenmelidir.
Yakit ikmali

UYARI! Asagidaki onlemler yangin olasilgini azaltir.
Yakitin yakininda sigara igmeyiniz ve/veya sicak bir cism bulundurmayiniz.
Motor calisirken yakit ikmali yapmayiniz.
Yakiti doldurmadan once motoru durdurun ve motorun sogumasimi bekleyiniz.
Yakit doldururken, olasi bir fazla basincin yavasca kaybolmasi icin depo kapagini yavasca aciniz.
Yakit ikmalinden sonra depo kapagini iyice sikistirarak kapatiniz.
Baslamadan once mutlaka makineyi doldurma alanindan ve kaynagundan uzaklasturn.
Yakit tankim, doldurucu koruyucusu ile beraber kullaniniz.
Yakit deposunun kapagini kurulayiniz ve temizleyiniz. Yakit deposunun cevresindeki kirler cevre kirliligine neden olur.
Yakut deposunu tam olarak doldurmadan once kabisi sallayarak tam olarak karistigindan emin olunuz.


Turkish - 445
CALISTIRMA VE DURDURMA
Baslamadan once kontrl yapiniz.

Kesicileri kontrl edin. Koremis, Çatlak veya hasarl kescicileri kullanmayin.

- Makinenin iyi calsr durumda oldugunu kontrl edin. Tum somunlarin ve civatalarin sik oldugunu kontrl edin.
- Motor bosta oldugunda her zaman kesme donamminn durduugunu kontrol edin.
- Makineyi sadece tasarlandi amaç ∈n kullanin.
- Elciklerin ve güvenlik onlemlerinin calşir durumda oldugundan emin olun. Hiçbir zaman parçasi eksik vya gartnamesine aykiri olarak degisiklik yapilmş makinerleri kullanmayin.
- Kapaklarda ayin zamanda somut bir sekilde monte edilmis olacak ve makine calismaya baslamadan once hatasiz olacaktir.
Calistirma ve durdurma


UYARI! Makineyi calisturmadan once daima, yakit doldurdugunuz yerden en az 3 metre uzaklastirn. Makineyi sabit bir zemin üzerine yerleştiniriz. Kesme cihazinn icine herhangi bir seyin kacmamasna vya girmemesine ozen gosterizin. Yetkili olmayan kisi yeva kisilerin calisma alanna girmemesine ozen gosterizin, aksi takdirde bu insanlarin yaralanmaları risik almis olursunuz.
Soguk motor
Ateşleme: Başlangıncoktasiyla "stop" iliskisini kurunuz.
Yakit pompasi: Yakit pompasinin kauçuk torbası, yakit dolmaya stelltayıncaya kadar defalarca basıniz. Kauçuk torbanin tamamen dolması gerek yoktur.

Jikle: Jikleyi jikledurumunagetiriniz.

Calistirma gazı:
Once gaz tetigine basarak ve sonra gaz acma dugmesine (A) basarak gaz ayarim calistirma konumuna getirin. Daha sonra gaz tetigini ve arindan gaz acma dugmesini brakin. Gaz verme fonksiyonu boylece aktive edilmistir. Motoru rolantiye geri almak icin gaz tetigine yeniden basin.

Sicak motor
Soguk motor icin baslatma talimatinin aynisini kullanin, ancak jikleyi jikle konumuna getirmeyin.
Calistirma

UYARI! Motor jikle ayar kolu veya gaz baslangic kolu ile calismaya basladiginda kesme cihazi hemen donmeye baslar.
Makineyi sol elinizle dik tutun. Blasma kolunu tutunuz, Blasma halatm sag elinizle size bir karsi koyma hissedinceye kadar yavasca disaniya dokru cekiniz (blasma cengelleri iceri dokru tutulur) ve daha sonra ani ve sert hareket ediniz.
Motor calisir calismaz jikleyi tekrar original konumuna getirin ve calisana kadar motoru calistirmay dencyin.
CALISTIRMA VE DURDURMA
DIKKAT! Calstirma ipini tumuyle disarif dogru cekmeyiniz ve tumuyle disarif dogru cekilmis durumdayken elinizden birakmayiniz. Bu durum, makacenin arizalanmasina yol acabilir.

DIKKAT! Isarelti alana hiçbir sekilde dokunmayin. Bu alanla temas, yaniklar veya buji kapağ hasarlysa, elektrik carpmasina neden olabilir. Her zaman oldugu gibi eldiven kullanim. Buji kapağ hasarl makineyi kullanmayin.

Stop
Motor, anaatur durdurma konumuna getirilerek kapatilir.

CALISMA TEKNIKLERI
Genel calisma açiklamaları
ONEMLI!
Bu bolim toprak matkabinin kullanimiyla ilgili temel guvenlik onlemlerini aqiklar.
Cihazin kullanlmasi esnasinda, emin olmadigiiniz herhangi bir durumla karilasiransanz bir bilirkiisye danisiniz. Bu durumda satciyla veya servisinizle temasa geciniz.
Yeterli derecede kaliteli olmayan ve cok zor ustahk gerektiren urinleri kullanmaktan kaciniz.

UYARI! Makine ciddi yaralanmalara neden olabilir. Güvenlik talimatlarmi dikkatlc okuyun. Makinenin{nasil kullanilacagmi ögrenin.

UYARI! Kesici araç. Motoru kapatmadan
ocene alete dokunmayin.
Cevreye iliskin guvenlik talimatlari
Hicbir zaman makineyi cocuklarin kullanmasina izin vermeyin.
Calisrken hiq kimsenin 5 m'den fazla yaklasmasina izin vermeyin.
Kullanum kulavuzu icerigini anladigindan emin olmadan hicbir kimsin makineyi kullanmasina izin vermeyin.
Calismaya iliskin guvenlik talimatlari

Her zaman guvenli ve saglam bir calisma pozisyonunda oldugunuzdan emin olun.
- Makineyi her zaman iki elinizle tutun.

Gaz ayarin kontrk etmek icin sag elinizi kullan.
Motor calsrken ellerinizin ve ayaklarinizin kesme donananimin yakinuna gelmemesine dikkat edin.

- Matkabin yere dizgün girmesi icin delmeye yarim gaz ayarıla baslayin ve motor devrini kademeli artin.
- Matkap yerin alinda takil kaldysa ve disari cekilemiyorsa motoru durdurun ve matkabi saatin aksi yonde dondurun.
- Delme islemi bitirdiginizde motoru mutlaka kapatn.
- Motor kapandiktan sonra kesme donanimi tam olarak durana kadar ellerinizi ve ayaklarinizi donanima yaklastrupayin.
- Makine yabanci bir maddeye gelirse veya titresim olursa hemen makineyi durdurun. Buji kablosunu bujiden cikarin. Makinenin hasar gorp gormedigini konrol edin. Hasar varsa onarn.

UYARI! Elektrik kabolarim vya tellerini delmek ya da bunlarla temas etmek olume veya ciddi yaralanmalara neden olabilir. Makine elektrige karsi yaltilmamustir. Elektrik carpmasi riskini azaltmak icin delme isleminden once yeralti borulari, kabolari ve telleri olup olmadigi mutlaka kontrl edin. Kablo ve boru konumlarna iliskin bilgi almak icin yerel kamu hizmeti sirketine vya konum bulma hizmetine dansin. Gerekirse kablo detektorig gibi cihazlar kullanarak ve dokkatlice qukur açarakGPC konumlari dokrulayin.

UYARI! Toprak aktnda kaya vya agac kokü gibi sert bir cisme carpilursa matkap aniden durabilir. Bu, matkapta tepki hareketi olusmasma neden olabilir, bu yuzden operatör makinenin kontrlunii kaybedebilir veya makine tarafunden yere dusurulebilir ve ciddi yaralanmalar gereklesebilir. Yaralanna riskini azaltmak icin matkabi her zaman sik tutarak hareketini kontrl edin.
CALIŞMA TEKNİKLERİ

UYARI! Titresimlere maruz kalmak, kan dolasimi bozukluu bulunan kisilerde, kan damari veya sinirsel hastaliklara neden olabilir. Titresimden meydana gelen herhangi bir rahtatsizhk durumunda, dokora gadiniz. Ornn: bu tur semptomlar, uyusukluk, duyarhligi yitirme, gadiklanmalar, batmalar, agrilar veya normal gucinü yitirme, derinin yizeyin vya renginin degisi imi gibi ortaya cikabilmektedir. Bu tur semptomlar alsa geldigi sekilde, pharmaklarda, ellere vya bileklerde gorilur. Dusuk isda riskler daha fazla artabilir.
Isin bitirilmesinden sonraki güvenlik talimatlari

- Temizlemeden, onarimdan veya kontrolden once kesme donanimin durduğundan emin olun. Buji kablosunu bujiden qikarin.
Kesicileri degistirken her zaman kalin eldiven giyin. Kesiciler cok keskindir ve vucudunuzu kolayca kesebilir.

- Makineyi tocuklarin ulasamayacagi bir yerde saklayin.
- Onarim için yalnizca originalyedek parçalar kullann.
BAKIM
Karbüratör
Rölanti devrini ayarlama (T)
Hava filtresinin temiz olup olmadigiin kontrl edin. Rolanti devri dokru oldugunda kesicinin donnmemesi gerekir. Ayar yapilmasi gerektiginde, motor calisirken, T vidasini kesici donmeye baslayana kadar saat yonunde sikustirn. Vidayi, kesici durana kadar saatin tersi yonunde acin. Motor her turlu konumda dizgnt calisip kesicinin donmeye baslamasimi saglayacak devir hizima yeterli bir aralik oldugunda dokru rolanti devri saglanmis olur.


UYARI! Kesme cihaziniz calismamasindand dolayi bos devir ayari yapilamiyorsa satimnzla/servisinizle iliski kurunuz. Somut bir kurma veya onarim olmadigi sirece makinenizi kesinlikle kullanmayinz.
Susturucu


Susturucu, gurtutduzeyini azaltmak ve gaz artiklarfin kullanicidan uzak tutmak izere yapilmstir. Gaz artiklar yuksek isiya sahiptir ve egzosun kuru ya da yanabilir bir materyale cevrilmesi durumunda, yangin tehlikesine nden olabilecek kivfcimlar tasir.
Kimi susturucular, ozel bir kivfim tutucu ag ile donatflmslardir. Eger makineniz boylesi bir donanima sahipse, sozkonusu aughtada bir kez temizlenmelidir. Bu islem, en iyibicimde, celik telli bir fircayla yapifabilir.
Katalitik donustirucus olmayan susturucularda, ag kism gerekirse haftada bir defa temizlenmeli veya degistirilmelier. Ag zarar gormisse, yenisiyle degistirilmelier.
Eger sebeke aigok sik bozuluyorsa, bu, katalizor sisteminin fonksiyonunun cok asaglya ditmiis olmasina isarettir. Bu durumla ilgili kontrl icin satimizla gortusunuz. Sebeke aginn ylersteirilmesinden sonra makinede yuksek 1s meydana gelyorsa bu durum silindire zarar verebilir.
DIKKAT! Makineyi, kotu bir durumda bulunan bir eksozla asla beraber kullanmayimiz.
Havafiltresi

Asagidakilerden kaginmak icin hava filtresi toz ve kirden arindirilmalfe duizenl olarak temizlenmelidir:
- Karbürator arízaları
- Calistirma sorunlari
- Motor gucünun azalması
- Motor parçalarinda gereksiz asinmasi
- Anormal olcude fazla yakit tiketimi.

Her 25 saatlik calismadan sonra filtreyi temizleyiniz veya bu islemi tozlu calisma kosullarina gore daha sik uygulayiniz.
Hava filtresinin temizlenmesi
Hava filtresi kapagimi sökup filtreyi ökartin. Basinç hava ile temizleyin.
Uzun sure kullanilmis bir hava filtresinin busbttin temizlenmesi olanaksizdir. Bundan oturil ftre, duzenli aralfklarda yenisilye degistirilmelidir. Bozuk bir hava filtresi kesinlikle degistirilmek zorundadir.
Yakitfiltresi


1
1 Yakit filtresi
Motora giden yakit azalirsa, yakit kapaginda ve yakit filtresinde tikanma olup olmadigiin kontrol edin.
BAKIM
Disli kovani

Her 50 saatlik kullanimda bir disli kutusunun yag seviyesini kontrl edin ve gerektiginde yeni yağla degistirin (SAE 80-90).


- Matkabin dik konumda durduğundan emin olun.
Yag doldurucu kapagimi A ve vidayi B acin. - Disli kutusunu yagla doldurun. Vida B deliginden bir damla yag icktigim gordugunuzdeogruga seviyesine ulasilmis olur.
Vidayi B takin ve yas doldurucu kapagimi A kapatin.
Buji

Asagidaki durumlar bujinin kondisyonunu etkiler:
- Yanlis ayarlanmisi bir karbaturor.
Yakittaki hatalbir yag (az veyacok) karismimotorara zarar verir.
Kiri bir hava filtresi.
Bu faktörler bujinin elektrotlarinda artiklara yol açar ve çekis bozkuklárı ile calistirma zoruklarına neden olabilir.
Bicin tcklinigi duiksc, calstrmada zorlaniyorsa ya da motor bosca calirken tekliyorsa: baska onlemlere bavurmadan, onclicke bujiyi denetleyiniz. Buji kiriysy, temizleyiniz ve elektrot aralginin 0,9-1,0 mm oldugunu
denetleyiniz. Buji bir ay kadar calistuktan sonra veya gerekirse daha once degistirilmelidir.

DIKKAT! Her zaman onerilen buji tipini kullaniniz! Yanlis buji, komur/silindir tahribine neden olur. Bujye supresor takih oldugundan emin olun.
BAKIM
Bakim Şemasi
Asagida makinede yapilmasi gereken bakim islemlerinin listesi vardur. Konularin cogu Bakim bolumunde anlatlmsti. Kullanicinn, Kullanim Kilavuzu'nun yaliniz bu bolumunde belirtilen bakim ve servisi yapmasi gerekir. Daha kapsamlislerin yetkili bir servis tarafindan yapilmasi zorunludur.
| Bakın Günlük开荒ı Haftalık开荒ı Aylık开荒ı | |||
| Makinenin Dennis kılımnı temizleyin. X | |||
| Makinenin tutamayoı ve dilemeninin tam ve dilezenl oturduguşundan cmin olunuz. | X | ||
| Makinenin dururma Dennisavin Çalıp Çalısmad�能i kontrl ediniz. X | |||
| Kesme cihazın boşa devir yapıp yapmad�能i kontrl ediniz. X | |||
| Hava filtresini temizleyiniz. Gerektigiindedehyiftiriniz. X | |||
| Kesicileri kontrl edin. Kördmiş, çatlak vya hasarlı kescileri kullanmayın. | X | ||
| Vidaların ve somunarı sikişma durumlarin detetleyiniz. X | |||
| Motordan, depodan vya yakit hatlarindan yakuşkıntı olup olmad�能i kontrl edin. | X | ||
| Motor�能iirma cihazi (halatylba beraber) kontrl ediniz. X | |||
| Titreşimyalıçilarinı arizalı olup olmadikların dénetleyiniz. X | |||
| Bujileri Dennis kılımtdaki temizligini yapı n.z. Bujileri sekserek elektrik mesafesini kontrl ediniz. Mesafeyi 0,9-1,0 mm ye ayarlayı n.z vya bujileridehyiftiriniz. Bunun ilgin bujileri Dennis na baki n.z radyo ari zasi. | X | ||
| Karbüratorı Dennis kılımda temizleyiniz ve kırlerini boşaltız. X | |||
| Disli kutusunun yüz seviyesini kontrl edin ve gerekiyorsa yüz ilave edin. | X | ||
| Kimi susturucular, özel bir kılıçirm tutucu ağ ile donatilmalıkır. Eşer makineniz böylesi bir donanı sahipse, sözkonusu ağ haftada bir kez temizlenmeldir. Bu islem, en iyi biçimde, çelik telli bir fırçayla yapilabilir. | X | ||
| Yakit filtresinde kırlenme olup olmad�能i ve yakuşkırtumunda Çatlak vya baska kusurlar olup olmad�能i kontrl edin. Gerekirsedehyiftirin. | X | ||
| Tüm kaboları ve böglantılarıdenetleyiniz. X | |||
| Dcbriyaju, dcbriyaj,yaylarıncı ve dcbriyaj kampanası kontrl cdekrek,assistantdcbriyaj, dcbriyaj,yaylarıncı ve dcbriyaj kampanası kontrl cdekrek,assistantdcbriyaj, dcbriyaj,yaylarıncı ve dcbriyaj kampanası kontrl cdekrek, | X | ||
| Bujileridehyiftiriniz. Bunun ilgin bujiler kılımna bakiniz radyo arizası. X |
TEKNIK BILGILER
Teknik bilgiler
543 AE15
Motor
Silindir haemi, cm3 40,1
Silindir capi, inc/mm 40,5
Hortum uzunlugu, inç/mm 31,1
Bosta calisma deviri, rpm 3000
Önerilen en yüksek devir, rpm 12000
ISO 8893 uyarinca azami motor cikisi, kW/dev/dak 1,5/9000
Katalizator cksoz Hayir
Devir sayisi duzenleyicisi, dis sistemi Evet
Ateşlemesi sistemi
Uretici/atesleme sistimi tipi CDI
Buji NGK CMR7H-10
Elektrot araligf, inc/mm 0,9-1,0
Yakı yalıkama sistemi
Uretici/karbatur tipi Walbro WTEA
Benzin deposu haymi, litre 0,75
Agrlik
Yakitsiz ve kesme aracı olmadan ağırkı, kg 9,3
Gürültü emisyonlari
(1 nolu dipnota bakíniz)
Ses gucu duzeyi, olcilmus dB(A) 106
Ses gucu duzeyi, garantiL WdA 108
Ses duzeyi
(2 nolu dipnota bakíniz)
Kullanicin kulagina gelen ses basincin n karslig olculmus ve EN ISO 22868, dB(A) olarak uygunluqu tespit edilmistir.
ISO 3744e gore olculen esdeger ses guci duizeyi, dB(A) 101
Titreşim duzyleri
(3 nolu dipnota bakíniz)
EN ISO 22867ogrultusunda, kulplarda olcuilen denk vibrasyon duzeyleri (a_hv,eq) .. m / sn^2
sol/sag tutamak: 9,5/11,1
Not 1: Cevreye verilen gurulti emisyonu AB direktif 2000/14/EC uyarinca ses gucu (L_W) olarak olulmustir. Makine icin bildirilen ses gucu duzeyi, en yuksek duzeyi veren orijinal kesme atasmanilya olulmustir. Garanti edilen ve olclilen ses gucuarasindaki fark, garantili ses gucunun, 2000/14/AT Sayil Direktifogrultusunda, olum sonucundaki daglimi ve ayni modeldenfarkl makinelarasindaki degisimleri de icermesidir.
Not 2: Makinenin denk gurtluta basinezyi iin bildirilen verilerdeki tipik istatistik dagihm (standart sapma) 1 dB (A) sekllindedir.
Not 3: Denk vibrasyon duzeyi icin bildirilen verilerin tipik istatistik daglimi (standart sapmasi) 1m / sn^2 sklindedir.

Turkish-453




TEKNIK BILGILER
Uygunjuk konusunda AB deklarasyonu (Sadece Avrupa icin geleirlidir)
Husqvarna AB, SE-561 82 Huskvarna, Isvec, Tel: +46-36-146500, yegane sorumlu olarak, 2012 yil ve sonrast tarihli seri numarah (yil ve seri numarası, tip plakasinda açikca belirtilmistir) Husqvarna 543 AE15 toprak matkabinin KONSEY YÖNERGELERİ gereksinimleri ilc uyumlulu oldugu n bildirir:
- 17 May 2006 tarihli, "makinclerle ilgili", 2006/42/AT
- "elettromanyetak uygunluk hakkinda" baslikli, 15 arakh 2004 tarih ve 2004/108/EEC sayil KONSEY DIFREKTIFI ve gecerli ekler.
- "cevreye gurultu emisyonlar hakinda" baslikli, 8 May is 2000 tarih ve 2000/14/EC sayil KONSEY DIRKTI FI. Ek V'egre uygunluk degerlendirmesi. Gurultu emisyonlar hakinda bilgi icin, Teknik bilgiler baslikl bolime bakiniz.
Uygulanan standartlar:
EN ISO 12100:2010, ISO 5349-1:2001, EN ISO 3744:2010, EN ISO 22868:2011
SMP Svensk Maskinprovning AB, Box 7035, SE-750 07 Uppsala, Isveç, Husqvarna AB adna gönüllı sinamayı gerekleşirmişir.
Sertifikanin numarasi: 543 AE15 - SEC/13/2365
Huskvarna, 11 Ocak 2013

Bengt Frögelius, Gélistirme Müdürü (Husqvarna AB yetkili temsilcisi ve teknik dokumantasyon sorumlusu.)


Original instructions Bruksanvisning i original Originale instruktioner Alkuperaset ojeet Originale instruksjoner Instructions d'origine Originele instructies Istruzioni originali
Instrucciones originales Originalanweisungen Instruções originais ÖpınHaJIH NHCtpyKUIn Eredeti utmutatas Instrukcja oryinalna Originaaljuhend Instrukcijas originalvaloda
Originalios instrukcijos Povodné pouny Originalne upute Izvirna navodila Puvodní pouny Instructiuni initiale Apxikéc odnyinc Original talimatlar
1155558-26

2013-01-28


KolayKılavuz