KSK 6300 - Réfrigérateur MIELE - Notice d'utilisation et mode d'emploi gratuit
Retrouvez gratuitement la notice de l'appareil KSK 6300 MIELE au format PDF.
| Caractéristiques | Détails |
|---|---|
| Type de réfrigérateur | Réfrigérateur combiné |
| Capacité totale | 300 litres |
| Classe énergétique | A++ |
| Dimensions (HxLxP) | 185 x 60 x 65 cm |
| Système de refroidissement | No Frost |
| Nombre de tiroirs | 3 tiroirs de congélation |
| Éclairage intérieur | LED |
| Fonctionnalités supplémentaires | Contrôle de la température électronique |
| Entretien | Nettoyage intérieur régulier recommandé |
| Sécurité | Verrouillage de sécurité pour enfants |
| Garantie | 2 ans |
FOIRE AUX QUESTIONS - KSK 6300 MIELE
Téléchargez la notice de votre Réfrigérateur au format PDF gratuitement ! Retrouvez votre notice KSK 6300 - MIELE et reprennez votre appareil électronique en main. Sur cette page sont publiés tous les documents nécessaires à l'utilisation de votre appareil KSK 6300 de la marque MIELE.
MODE D'EMPLOI KSK 6300 MIELE
Grâce au kit de montage côte à côte, il est possible de relier deux modèles identiques parmi les modèles suivants :
- KWT 6312 UGS
- KWT 6321 UG
- KWT 6322 UG
Il est également possible de relier les modèles KWT 6312 UGS et KWT 6322 UG entre eux.
Avant l'installation
Lisez impérativement cette notice de montage, ainsi que la notice d'utilisation de vos appareils avant l'installation et la mise en service cet appareil.
Vous veillerez ainsi à votre sécurité et éviterez tout dommage à vos appareils.
Attention !
Un appareil non encastré peut bas- culer.
Procédez impérativement au montage des appareils avec l'aide d'une deuxième personne.
En fonction de la niche d'encastrement, vous avez besoin des pièces de montage suivantes pour l'installation côte à côte :
- Équerre de raccordement avec bride de fixation ① (relie les appareils sous un plan de travail en bois)
- Équerre de raccordement sans bride de fixation ② (relie les appareils sous un plan de travail non vissable)
- Équerre de raccordement ③ (relie les appareils sur la partie avant dans la zone inférieure)
- Clips de raccordement ④ (relie les appareils à l'arrière)
- Vis pour clips de raccordement ⑤
- Vis pour fixation de l'équerre de raccordement ⑥.

Pour le montage côte à côte, vous aurez besoin des outils suivants :
- des tournevis de différentes tailles ;
- des embouts bits de différentes tailles ;
- un niveau à bulle ;
- un mètre-ruban ;
- une clé plate (fournie).
Changement de la butée de porte

■ Procédez à un changement de la butée de porte pour l'appareil de gauche. (Voir : mode d'emploi de l'appareil, changement de la butée de porte)

Les charnières de porte sont situées à l'extérieur.
Préparez les appareils, alignez-les et reliez-les
■ Placez les appareils l'un à côté de l'autre devant la niche d'encastrement.
Pour pouvoir travailler confortable-ment au dos des appareils, faites de la place entre le dos de l'appareil et la niche d'encastrement.
■ Préparez les appareils. (Voir : mode d'emploi de l'appareil, encastrement sous le plan de travail)
■ Dévissez les pieds réglables dans le sens des aiguilles d'une montre jusqu'à 4 mm en dessous de la hauteur de niche.

■ Ajustez les appareils en hauteur et à l'horizontale à l'aide de la clé plate. (Voir : encastrement sous le plan de travail)
Un appareil placé en biais peut se déformer.
Si vous souhaitez ajuster la combinaison aux façades hautes :
■ Suivez le mode d'emploi de l'appareil. (Voir : Ajustement de l'appareil à des portes de meubles plus hautes)

text_image
4 x 14 TX 15 4 x 14 TX 15■ Vissez les appareils l'un à l'autre au dos, à l'aide de deux clips de fixation ④.

■ Enlevez les caches.
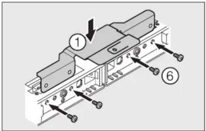
■ Vissez les appareils sur la partie avant supérieure et inférieure à l'aide d'équerres de raccordement :
Pour un montage sous un plan de travail en bois

■ Placez l'équerre de raccordement à l'aide de la bride de fixation ①.
■ Vissez l'équerre de fixation à l'aide de quatre vis ⑥ sur les appareils.
Pour un montage sous un plan de travail en matériau non vissable

■ Fixez l'équerre de fixation sans bride de fixation ②.
■ Vissez l'équerre de fixation à l'aide de quatre vis ⑥ sur les appareils.
Relier les appareils par le bas

■ Placez l'équerre de fixation ③.
■ Vissez l'équerre de fixation à l'aide de quatre vis ⑥ sur les appareils.

■ Remontez les caches.
Glisser la combinaison dans la niche
Le câble d'alimentation ne doit pas être endommagé.
Poussez la combinaison délicatement dans la niche afin d'éviter d'endommager les sols délicats.

■ Glissez la combinaison dans la niche, jusqu'à ce que les portes des appareils dépassent encore de 2 mm devant les façades de meubles.
Fixez la combinaison dans la niche
Les vis sont jointes aux appareils.
■ La combinaison dépasse uniformément de 2 mm de la façade du meuble.

■ Vissez la combinaison à gauche et à droite en bas avec les meubles avoisinants.
La combinaison se prolonge à gauche pour s'adapter à la niche.
La façade de porte est alignée avec la façade du meuble.
■ Placez l'alignement latéral des portes des appareils.
(Voir : mode d'emploi de l'appareil, encastrement sous le plan de travail)
Pour un plan de travail en bois

text_image
4 x 14 TX 15■ Vissez la combinaison à l'aide de bride de fixation sur le plan de travail.
■ Terminez l'encastrement sous le plan de travail en suivant le mode d'emploi des appareils. (Voir : mode d'emploi de l'appareil, encastrement sous le plan de travail)
La grille d'aération fournie doit être impérativement installée selon les instructions jointes à l'appareil et utilisée en plus avec le bloc de mousse joint.
Grâce au kit de montage côte à côte, il est possible de relier deux modèles identiques parmi les modèles suivants :
- KWT 6312 UGS
- KWT 6321 UG
- KWT 6322 UG
Il est également possible de relier les modèles KWT 6312 UGS et KWT 6322 UG entre eux.
Avant l'installation
Veuillez lire impérativement le mode d'emploi et les instructions de montage avant l'installation et la mise en service des appareils. Vous éviterez ainsi de vous blesser et d'endommager vos appareils.
Attention !
Un appareil qui n'est pas encastré risque de basculer.
Procédez impérativement au montage des appareils avec l'aide d'une deuxième personne.
En fonction de la niche d'encastrement, vous avez besoin des pièces de montage suivantes pour l'installation côte à côte :
- cornière de jonction avec bride de fixation ① (relie les appareils sous un plan de travail en bois)
- cornière de jonction sans bride de fixation ② (relie les appareils sous un plan de travail non vissable)
- cornière de jonction ③ (relie les appareils sur la partie avant dans la zone inférieure)
- clips de raccordement ④ (relie les appareils à l'arrière)
– vis pour clips de raccordement ⑤ - vis pour fixation de la cornière de jonction ⑥

Pour le montage côte à côte, vous aurez besoin des outils suivants :
- des tournevis de différentes tailles,
- des embouts de différentes tailles,
- un niveau à bulle d'air,
- un mètre à ruban,
- une clé à fourche (fournie avec l'appareil).
Changement de la butée de porte

■ Procédez à un changement de la butée de porte pour l'appareil de gauche. (Voir : mode d'emploi de l'appareil, changement de la butée de porte)

Les charnières de porte sont situées à l'extérieur.
Préparez les appareils, alignez-les et reliez-les
■ Placez les appareils l'un à côté de l'autre devant la niche d'encastrement.
Pour pouvoir travailler confortable-ment au dos des appareils, faites de la place entre le dos de l'appareil et la niche d'encastrement.
- Préparez les appareils. (Voir : mode d'emploi de l'appareil, encastrement sous le plan de travail) - Dévissez les pieds dans le sens des aiguilles d'une montre, jusqu'à 4 mm en dessous de la hauteur de la niche.

■ Ajustez les appareils en hauteur et à l'horizontale à l'aide de la clé à four-che. (Voir : encastrement sous le plan de travail)
Un appareil placé en biais peut se déformer.
Si vous souhaitez aligner l'appareil sur des façades de meuble de hauteur supérieure :
■ Suivez le mode d'emploi de l'appareil. (Voir : Alignement de l'appareil sur des portes de meubles de hauteur supérieure)

text_image
4 x 14 TX 15 4 x 14 TX 15■ Vissez les appareils l'un à l'autre au dos, à l'aide de deux clips de fixation ④.

■ Enlevez les caches.
■ Vissez les appareils sur la partie avant supérieure et inférieure à l'aide de cornières de jonction :
Pour un montage sous un plan de travail en bois

■ Placez la cornière de jonction à l'aide de la bride de fixation ①.
■ Vissez la cornière de jonction à l'aide de quatre vis ⑥ sur les appareils.
Pour un montage sous un plan de travail en matériau non vissable

■ Fixez la cornière de jonction sans bride de fixation ②.
■ Vissez la cornière de jonction à l'aide de quatre vis ⑥ sur les appareils.
Relier les appareils par le bas

■ Placez la cornière de jonction ③.
■ Vissez la cornière de jonction à l'aide de quatre vis ⑥ sur les appareils.

■ Mettez en place les caches.
Glisser la combinaison dans la niche
Le câble d'alimentation ne doit pas être endommagé.
Poussez la combinaison précautionneusement dans la niche afin d'éviter d'endommager les sols délicats.

■ Glissez la combinaison dans la niche, jusqu'à ce que les portes des appareils dépassent encore de 2 mm devant les façades de meubles.
Fixez la combinaison dans la niche
Les vis sont jointes aux appareils.
■ La combinaison dépasse la façade de meuble de façon homogène de 2 mm.

■ Vissez la combinaison à gauche et à droite en bas avec les meubles avoisinants.
La combinaison se prolonge à gauche pour s'adapter à la niche. La façade de porte est alignée avec la façade du meuble.
■ Placez l'alignement latéral des portes des appareils.
(Voir : mode d'emploi de l'appareil, encastrement sous le plan de travail)
Pour un plan de travail en bois

text_image
4 x 14 TX 15■ Vissez la combinaison à l'aide de bride de fixation sur le plan de travail.
■ Terminez l'encastrement sous le plan de travail en suivant le mode d'emploi des appareils. (Voir : mode d'emploi de l'appareil, encastrement sous le plan de travail)
La grille d'aération fournie doit être impérativement installée selon les instructions jointes à l'appareil et utilisée en plus avec le bloc de mousse joint.
Grâce au kit de montage "side-by-side", il est possible de relier deux modèles identiques des modèles suivants :
- KWT 6312 UGS
- KWT 6321 UG
- KWT 6322 UG
Il est également possible de relier les modèles KWT 6312 UGS et KWT 6322 UG entre eux.
Avant l'installation
Veuillez impérativement lire la notice de montage avant d'installer et de mettre en service cet appareil. Vous vous protégerez ainsi et éviterez de détériorer l'appareil.
Attention!
Un appareil non encastré peut se renverser.
Procédez impérativement au montage des appareils avec l'aide d'une deuxième personne.
En fonction de la niche d'encastrement, vous avez besoin des pièces de montage suivantes pour l'installation en "side-by-side" :
- Equerre de fixation avec bride de fixation ① (relie les appareils sous un plan de travail en bois)
- Equerre de fixation sans bride de fixation ② (relie les appareils sous un plan de travail non vissable)
- Equerre de fixation ③ (relie les appareils sur la partie avant dans la zone inférieure)
- Clips de raccordement ④ (relie les appareils au dos)
- Vis pour clips de raccordement ⑤
- Vis pour fixation de l'équerre de fixation ⑥.

Pour le montage side by side (côte à côte) vous aurez besoin des outils suivants :
- des tournevis de différentes tailles
- d'embouts bits de différentes tailles
- un niveau à bulles
- un mètre-ruban
- une clé à fourche (jointe à l'appareil).
Inversion du sens d'ouverture de porte

■ Procédez à une inversion du sens d'ouverture de porte pour l'appareil de gauche. (Voir : mode d'emploi de l'appareil, inversion du sens d'ouverture de porte)

Les charnières de porte sont situées à l'extérieur.
Préparez les appareil, alignez-les et reliez-les
■ Placez les appareils l'un à côté de l'autre devant la niche d'encastrement.
Pour pouvoir travailler confortable-ment au dos des appareils, faites de la place entre le dos de l'appareil et la niche d'encastrement.
■ Préparez les appareils. (Voir : mode d'emploi de l'appareil, encastrer l'appareil)
■ Dévissez les pieds réglables dans le sens des aiguilles d'une montre jusqu'à 4 mm en dessous de la hauteur de niche.

■ Ajustez les appareils en hauteur et à l'horizontal à l'aide de la clé à four-che. (Voir : encastrer l'appareil)
Un appareil placé en biais peut se déformer.
Si vous souhaitez ajuster les deux modèles d'appareils aux façades hautes :
■ Suivez le mode d'emploi de l'appareil. (Voir : ajustement de l'appareil aux portes hautes)

text_image
4 x 14 TX 15 4 x 14 TX 15■ Vissez les appareils l'un avec l'autre au dos, à l'aide de deux clips de fixation ④.

■ Retirez les couvercles.
■ Vissez les appareils sur la partie avant supérieure et inférieure à l'aide d'équerres de fixation :
Pour un montage sous un plan de travail en bois

■ Placez l'équerre de fixation à l'aide de la patte de fixation ①.
■ Fixez l'équerre de fixation à l'aide de quatre vis ⑥ sur les appareils.
Pour un montage sous un plan de travail en matériau non vissable

■ Fixez l'équerre de fixation sans patte de fixation ②.
■ Fixez l'équerre de fixation à l'aide de quatre vis ⑥ sur les appareils.
Relier les appareils par le bas

■ Placez l'équerre de fixation ③.
■ Fixez l'équerre de fixation à l'aide de quatre vis ⑥ sur les appareils.

■ Remontez les caches.
Glisser les deux modèles d'appareils dans la niche
Le câble d'alimentation ne doit pas être endommagé.
Poussez les deux modèles d'appareil avec précaution sur les sols délicats dans la niche d'encastrement, pour éviter d'endommager le revêtement de sol.

■ Glissez les deux modèles d'appareils dans la niche, jusqu'à ce que les portes des appareils dépassent encore de 2 mm devant les façades de meubles.
Fixez les deux modèles d'appareil dans la niche
Les vis sont jointes aux appareils.
■ Les deux modèles d'appareils dépasse uniformément de 2 mm de la façade du meuble.

■ Vissez les deux modèles en bas à gauche et à droite en dessous des meubles avoisinants.
Les deux modèles d'appareils se prolongent à gauche pour s'adapter à la niche. La façade de porte est alignée avec la façade du meuble.
■ Placez l'alignement latéral des portes des appareils. (Voir : mode d'emploi de l'appareil, encastrer l'appareil)
Pour un plan de travail en bois

text_image
4 x 14 TX 15■ Vissez les deux modèles d'appareil à l'aide de patte de fixation sur le plan de travail.
■ Terminez l'installation sous plan, en suivant le mode d'emploi des appareils. (Voir : mode d'emploi de l'appareil, encastrer l'appareil)
La grille d'aération fournie doit être impérativement installée selon les instructions jointes à l'appareil et utilisée en plus avec le bloc de mousse joint.
Notice Facile